Информационная система
«Ёшкин Кот»

XXXecatmenu

ДЕПАРТАМЕНТ МОРСКОГО ТРАНСПОРТА
МИНТРАНСА РФ

РЕКОМЕНДАЦИИ
ПО ПРОЕКТИРОВАНИЮ МОРСКИХ ПОРТОВЫХ
ГИДРОТЕХНИЧЕСКИХ СООРУЖЕНИЙ В СЕЙСМИЧЕСКИХ
РАЙОНАХ ПРИ НАЛИЧИИ В ОСНОВАНИИ СЛАБЫХ ГРУНТОВ

(ПОСОБИЕ К ИНСТРУКЦИИ ПО ПРОЕКТИРОВАНИЮ МОРСКИХ ПРИЧАЛЬНЫХ И БЕРЕГОУКРЕПИТЕЛЬНЫХ СООРУЖЕНИЙ РД 31.31.55-93)

Р 31.3.02-98

ВЛАДИВОСТОК 1998

РАЗРАБОТАН            Акционерным обществом открытого типа «Дальневосточным научно-исследовательским, проектно-изыскательским и конструкторско-технологическим институтом морского флота» АООТ «ДНИИМФ»

Руководитель темы, ответственный исполнитель, кандидат технических наук, доктор транспорта

Л. Ф. Штанько

Исполнитель

З. П. Андреева

СОГЛАСОВАН И

РЕКОМЕНДОВАН К

ПРИМЕНЕНИЮ        Государственным проектно-изыскательским и научно-исследовательским институтом морского транспорта «Союзморниипроект» (письмо от 02.01.98г №8/110) как пособие к РД 31.31.55-93 «Инструкция по проектированию морских причальных и берегоукрепительных сооружений»

УТВЕРЖДЕН И

ВВЕДЕН В ДЕЙСТВИЕ Главным инженером АООТ «ДНИИМФ» Г. Я. Серебрянским распоряжением от 10.04.98г. № 2

СОДЕРЖАНИЕ

1 общие положения. 2

2 рекомендации по конструкциям портовых гидротехнических сооружений. 3

3 расчеты на сейсмические воздействия. 5

4 контрольно-исследовательские работы на стройплощадке. 9

Перечень нормативно-технических документов, на которые имеются ссылки в рекомендациях. 10

Приложение а Характеристика способов повышения несущей способности оснований. 11

Приложение б Портовые сооружения, построенные на площадках со слабыми грунтами. 12

Приложение в Пример расчета общей устойчивости причального сооружения по круглоцилиндрическим поверхностям скольжения. 18

 

РЕКОМЕНДАЦИИ ПО ПРОЕКТИРОВАНИЮ МОРСКИХ ПОРТОВЫХ ГИДРОТЕХНИЧЕСКИХ СООРУЖЕНИЙ В СЕЙСМИЧЕСКИХ РАЙОНАХ ПРИ НАЛИЧИИ В ОСНОВАНИИ СЛАБЫХ ГРУНТОВ

Р 31.3.02-98

Вводится впервые

Срок введения в действие

установлен с «15» апреля 1998г.

Настоящие Рекомендации составлены в развитие РД 31.31.55-93 и распространяются на проектирование морских портовых гидротехнических сооружений в сейсмических районах при наличии в основании слабых грунтов.

К слабым относятся водонасыщенные глинистые грунты, характеризующиеся наличием хотя бы одного из перечисленных ниже признаков:

- степень влажности Sr ³ 0,8 и модуль общей деформации Е £ 5000 кПа;

- показатель текучести IL ³ 0,75;

- коэффициент вязкости h< 105 кПа×сут, при нормальном напряжении s ³ 100 кПа.

К слабым относятся также рыхлые водонасыщенные мелкие и пылеватые пески, относящиеся к грунтам III категории по сейсмическим свойствам согласно СНиП II-7-81*.

При строительстве сооружений на слабых грунтах без проведения мероприятий по их укреплению в них при обычных условиях эксплуатации будут развиваться недопустимые затухающие или незатухающие деформации, а при землетрясении могут произойти резкие осадки и смещения, приводящие сооружение в неработоспособное состояние.

1 ОБЩИЕ ПОЛОЖЕНИЯ

1.1 При проектировании морских портовых гидротехнических сооружений в сейсмических районах при наличии в основании слабых грунтов необходимо предусматривать мероприятия по уменьшению деформаций оснований как при обычных условиях эксплуатации, так и при землетрясении. Указанные мероприятия следует принимать по СНиП 2.02.01-83, СНиП 2.02.02-85 и СНиП II-7-81*. К ним относятся:

- передача нагрузок от сооружения на плотный естественный грунт, расположенный под слабым грунтом, прорезкой толщи слабого грунта сваями, оболочками большого диаметра, опускными колодцами и т.д.;

- полная или частичная замена слабых грунтов песком, гравием, щебнем и т.д.;

- уплотнение слабых грунтов статической пригрузкой (с устройством при необходимости ускорения процесса консолидации основания дрен - песчаных, песчаных в оболочке из геотекстиля, картонных, алидрен и т.п.) (РД 31.31.06-79);

- уплотнение слабых грунтов трамбованием тяжелыми трамбовками (с устройством при необходимости дрен), устройством песчаных набивных свай, вибрационными машинами и катками и т.д.;

- закрепление слабых грунтов буросмесительным или вибрационным способом с введением в толщу грунта отвердителя (цемента, извести и др.) и перемешивании его с грунтом (РД 31.31.29-82).

1.2 При выборе типа сооружения и способа повышения несущей способности слабых грунтов следует учитывать:

- имеющийся опыт проектирования, строительства и эксплуатации сооружений в сходных инженерно-геологических, гидрологических и сейсмических условиях;

- технико-экономические характеристики конкурирующих вариантов;

- степень освоенности варианта строительства в регионе и возможности строительных организаций;

- запланированные (установленные) сроки строительства.

Краткая характеристика наиболее освоенных способов улучшения строительных свойств грунтов приведена в приложении А. Данные по портовым сооружениям, построенным на площадках со слабыми грунтами, приведены в приложении Б.

1.3 Возможность использования слабых грунтов в качестве оснований гидротехнических сооружений без дополнительных (специальных) предпостроечных мероприятий по повышению их несущей способности должна обосновываться положительным опытом эксплуатации сооружений-аналогов, расчетами и специальными исследованиями. При этом в проекте особо оговариваются вопросы технологии и темпов строительства, обеспечивающих эксплуатационную надежность сооружения.

1.4 При разработке проекта в случае необходимости укрепления оснований рекомендуется рассмотреть варианты реализации мероприятий по повышению несущей способности слабых грунтов (закладка дрен, устройство илоцементных или известковых свай буросмесительным методом, устройство песчаных свай и др.) как до начала возведения сооружения (предпостроечные методы), так и в процессе возведения (например, после образования территории до отметок выше уровня воды в акватории).

1.5 В проектах сооружений следует предусматривать выполнение контрольно-исследовательских работ на стройплощадке в процессе строительства и в первые годы эксплуатации. Программа таких работ составляется проектной организацией, является неотъемлемой частью проекта и может уточняться в процессе возведения сооружения.

2 РЕКОМЕНДАЦИИ ПО КОНСТРУКЦИЯМ ПОРТОВЫХ ГИДРОТЕХНИЧЕСКИХ СООРУЖЕНИЙ

2.1 В сейсмических районах при наличии в основании строительной площадки слабых грунтов рекомендуются следующие конструкции портовых гидротехнических сооружений:

- причальные заанкеренные стенки из стального шпунта (корытного, таврового, трубошпунта и др.) (рисунок 2.1);

- причальные эстакады на стальных трубчатых и коробчатых сваях, на железобетонных центрифугированных сваях-оболочках и призматических сваях (рисунок 2.2);

- причальные и оградительные сооружения из оболочек большого диаметра (рисунок 2.3);

- оградительные сооружения шатрового типа на козловых свайных опорах (рисунок 2.4);

- оградительные сооружения набросного типа (рисунок 2.5).

Допускается использование и других конструкций, по которым имеется положительный опыт эксплуатации в сейсмических районах.

2.2 При наличии в основании заанкеренного больверка слабых грунтов последние должны быть полностью или частично заменены на более качественные крупнообломочные грунты, либо укреплены. Необходимость замены или укрепления грунтов устанавливается на основании расчетов прочности и устойчивости с учётом сейсмических воздействий. Грунт замены либо закрепленный грунт рекомендуется располагать на плотных подстилающих грунтах за лицевой стенкой и перед ней. Ширина участка замены или укрепления грунта устанавливается расчетами устойчивости сооружения с учетом сейсмических воздействий. За лицевой стенкой рекомендуется грунт заменять или укреплять на всем участке между лицевой и анкерной стенками.

2.3 Способ строительства заанкеренного больверка (последовательность отсыпки грунта) должен исключать смещение оставляемых слабых грунтов при работах по образованию территории и скопление их у лицевой стенки. Для этого необходимо отсыпку грунта производить со стороны стенки вглубь территории. Целесообразно также предусматривать уплотнение отсыпаемых грунтов перед лицевой и анкерной стенками.

Описание: лот

1 - качественный грунт засыпки; 2 - слабый грунт; 3 - плотный грунт

Рисунок 2.1 - Причальная стенка из шпунта (заанкеренный больверк)

Описание: лот1

1 - скальный грунт засыпки; 2 - песок; 3 - слабый грунт; 4 - плотный грунт

Рисунок 2.2 - Причальная эстакада на стальных трубчатых сваях

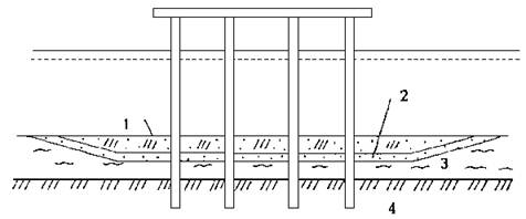
Описание: лот3

1 - качественный грунт засыпки; 2 - песок; 3 - слабый грунт; 4 - плотный грунт

Рисунок 2.3 - Причальное сооружение из оболочек большого диаметра

Описание: лот2

1 - скальный грунт засыпки; 2 - песок; 3 - слабый грунт; 4 - плотный грунт;

Рисунок 2.4 - Оградительное сооружение шатрового типа на козловых свайных опорах

Описание: лот4

Описание: лот5

1 - качественный грунт засыпки; 2 - песок; 3 - слабый грунт; 4 - плотный грунт

Рисунок 2.5 - Оградительное сооружение набросного типа при посадке на плотные подстилающие грунты(а) и при возведении на «плавающей» песчаной подушке (б)

2.4 Оболочки большого диаметра следует опирать на плотные подстилаемые грунты. Слабые грунты внутри оболочек целесообразно заменять на более прочные, либо укреплять их способами, указанными в п. 1.1 настоящих Рекомендаций.

2.5 Свайные опоры должны быть погружены в прочные, устойчивые к сейсмическим воздействиям грунты.

2.6 Для повышения горизонтальной жесткости пирсов эстакадного типа рекомендуется: поверх слабых грунтов отсыпать последовательно песчаную подушку и слой крупнообломочного грунта и уплотнять этот грунт. Рекомендуется также на сваях в этом слое устанавливать (закреплять) уширители, вовлекающие больший объем грунта в работу при горизонтальных нагрузках. Рекомендуется также устройство козловых опор.

2.7 Оградительные сооружения набросного типа допускается возводить на «плавающей» песчаной подушке, укладываемой на поверхности слабого грунта или в специальную выемку. Размеры песчаной подушки устанавливаются по результатам расчетов прочности слабого грунта под подушкой, прочности подушки на продавливание и сейсмоустойчивости сооружения по линиям обрушения, проходящим по слабому грунту.

3 РАСЧЕТЫ НА СЕЙСМИЧЕСКИЕ ВОЗДЕЙСТВИЯ

3.1 При проектировании портовых гидротехнических сооружений, возводимых на слабых грунтах оснований, следует руководствоваться РД 31.31.55-93 и РД 31.31.34-85. Расчеты портовых гидротехнических сооружений на сейсмические воздействия следует производить в соответствии с требованиями СНиП II-7-81*, СНиП 2.06.01-86, РД 31.31.55-93, РД 31.31.26-81, РД 31.31.39-86 и рекомендациями настоящего раздела. Расчеты должны включать:

- оценку сейсмичности площадки строительства;

- определение сейсмических нагрузок;

- проверки устойчивости сооружения или его частей на сдвиг при учете действия сейсмических нагрузок;

- определение внутренних усилий в несущих элементах конструкции с учетом действия сейсмических нагрузок и проверки прочности.

3.2 Сейсмичность площадки строительства в баллах устанавливается по СНиП II-7-81* (или территориальным строительным нормам) в зависимости от сейсмичности района и уточняется по данным микросейсморайонирования или в зависимости от категории грунтов (по сейсмическим свойствам), залегающих в основании сооружения. При этом, если сейсмические нагрузки, действующие на сооружение, определяются при использовании динамических расчетных схем, включающих и массив грунта основания, расчетная сейсмичность устанавливается по категории грунтов, расположенных в основании динамической расчетной схемы.

3.3 Сейсмические нагрузки следует определять по динамическому методу согласно СНиП II-7-81*. В динамические расчетные схемы сооружений, используемые для определения сейсмических нагрузок, необходимо включать несущие конструктивные элементы сооружения и окружающий массив грунта. При наличии в основании сооружения слабых грунтов, последние рекомендуется включать в динамическую расчетную схему. Размеры массива грунта, включаемого в динамическую расчетную схему, необходимо принимать такими, чтобы границы динамической расчетной схемы не оказывали существенного влияния на сейсмические колебания грунта в районе образования возможных поверхностей скольжения при потере устойчивости, и в районе расположения несущих конструктивных элементов сооружения.

3.4 Выбор динамических моделей и расчеты на сейсмостойкость необходимо производить:

- для заанкеренных больверков - согласно РД 31.31.26-81 и РД 31.31.55-93;

- для причальных эстакад - согласно РД 31.31.39-86 и РД 31.31.55-93;

- для причальных и оградительных сооружений из оболочек большого диаметра, блочных конструкций другой формы - согласно РД 31.31.55-93;

Примечание - При необходимости расчета на сейсмические воздействия причальных и оградительных сооружений, упомянутых в п. 3.4, а также сооружений со сложным взаимодействием конструктивных элементов и грунта (например, оградительных сооружений шатрового типа) рекомендуется обращаться в организации, специализирующиеся на таких расчетах, например, АООТ ДНИИМФ.

3.5 При определении сейсмических нагрузок от грунта, расположенного ниже уровня воды в акватории, в расчете необходимо принимать массу водонасыщенного грунта (массу грунта с учетом массы воды в порах).

3.6 Для заанкеренных больверков необходимо выполнить следующие виды проверок устойчивости:

- на поворот вокруг точки крепления анкера (активное и пассивное давление грунта на стенку принимается с учетом сейсмического воздействия);

- сдвиг по круглоцилиндрическим поверхностям скольжения (учитываются сейсмические нагрузки, действующие на сдвигаемый массив грунта);

- сдвиг по фиксированным поверхностям скольжения (учитываются сейсмические нагрузки, действующие на сдвигаемые блоки грунта);

- сдвиг анкерной плиты (активное и пассивное давление на плиту принимается с учетом сейсмического воздействия, анкерное усилие принимается из расчета лицевой стенки с учетом сейсмических воздействий).

Следует рассмотреть и другие возможные формы сдвига грунтовых массивов с учетом реального расположения прослоек слабых грунтов, например, сдвиг по смешанным поверхностям (комбинации прямолинейных и криволинейных участков поверхностей).

3.7 Активное и пассивное давление грунта на лицевую стенку больверка с учётом сейсмического воздействия определяются по формулам

;                                     (3.1)

,                                     (3.2)

где Раj, Ррj - интенсивность горизонтальных составляющих соответственно активного и пассивного статических давлений, обусловленных внутренним трением грунта, кПа;

Рас, Ррс - интенсивность горизонтальных составляющих соответственно активного и пассивного статических давлений, обусловленных сцеплением грунта, кПа;

Аэа, Аэр - эффективные коэффициенты сейсмичности соответственно для зон активного и пассивного давлений грунта;

eа, eр - углы отклонения от вертикали равнодействующей сил веса и сейсмической силы соответственно для зон активного и пассивного давлений (сейсмические углы), град.;

j - угол внутреннего трения грунта, град.

Углы отклонения eа и eр определяются по формулам

;                                                        (3.3)

,                                                        (3.4)

3.8 Эффективные коэффициенты сейсмичности для зон активного и пассивного давления Аэа и Аэр с учетом водонасыщенности грунта и динамического характера сейсмического воздействия определяются по РД 31.31.55-93 или РД 31.31.26-81 на основе динамического расчета по спектральному методу. Для предварительных расчетов заанкеренных больверков допускается принимать

;                                                     (3.5)

,                                                    (3.6)

где К1 - коэффициент, учитывающий допускаемые повреждения сооружения, принимаемый согласно СНиП II-7-81 для портовых гидротехнических сооружений равным 0,25;

А - коэффициент сейсмичности, значения которого согласно СНиП II-7-81 принимаются равным 0,1; 0,2 и 0,4 соответственно для расчетной сейсмичности 7, 8 и 9 баллов;

Ка, Кр - коэффициенты увеличения эффективной сейсмичности для массивов сдвигаемого грунта соответственно в зонах активного и пассивного давлений, учитывающие динамический характер сейсмического воздействия и водонасыщенность грунта.

Для предварительных расчетов допускается принимать Ка = 2,7; Кр = 2,2.

3.9 Проверку общей устойчивости сооружения рекомендуется выполнять по вычислительным программам, в которых предусмотрен учет сейсмических сил. При использовании вычислительных программ, в которых учет сейсмических сил не предусмотрен, допускается использовать приближенный способ поворота расчетной схемы сооружения на сейсмический угол, в результате чего равнодействующая сил веса и сейсмической силы становится вертикальной.

Примечание - Далее в тексте основные положения расчета по указанному приближенному способу изложены применительно к расчету устойчивости по круглоцилиндрическим поверхностям скольжения. При расчете устойчивости по плоским ломанным поверхностям изложенный прием учета сейсмических сил аналогичен.

3.10 Согласно способу поворота расчетной схемы сооружения на сейсмический угол производится переформирование расчетной схемы сооружения и корректировки характеристик грунтов и грузов на причале согласно пп. 3.11-3.13. Дальнейший расчет производится по вычислительной программе для изменённой расчетной схемы. При использовании для проверки общей устойчивости вычислительной программы «KREJ», разработанной Ленморниипроектом, лицевая стенка условно принимается вертикальной.

3.11 Поверхности причала и дна, а также слои грунтов получают наклон на сейсмический угол eу (рисунок 3.1), определяемый по формуле

,                                                  (3.7)

где Аэу - осреднённый по массиву сдвигаемой части сооружения эффективный коэффициент сейсмичности, определяемый в соответствии с РД 31.31.55-93 или РД 31.31.26-81.

Для предварительных расчетов устойчивости Аэу допускается определять по формуле

,                                                 (3.8)

где Ку - коэффициент увеличения эффективной сейсмичности для сдвигаемого массива грунта, учитывающий динамический характер сейсмического воздействия и водонасыщенность грунта и принимаемый равным 2,4.

3.12 Веса грунтов и грузов на причале корректируются по формуле

.                                                     (3.9)

3.13 Производится уменьшение углов внутреннего трения грунтов, обусловленное снижением сопротивления сдвигу при динамических воздействиях: для расчетной сейсмичности 7 и 8 баллов - на 1°; для расчетной сейсмичности 9 баллов - на 2°.

Описание: лот6

Рисунок 3.1 - Схема к расчету общей устойчивости при повороте расчетной схемы на сейсмический угол eу;

а) исходный разрез; б) переформированный (повернутый на угол eу) разрез (лицевая стенка условно принята вертикальной)

3.14 При замене слабого грунта в основании лицевой стенки больверка отпор от отсыпанной призмы следует определять как наименьший из расчетов: либо пассивного давления в предположении бесконечной длины отсыпанной призмы (при условии перерезания отсыпанной призмы) с использовании формулы (3.2), либо сопротивления сдвигу отсыпанной призмы по основанию с использовании формулы (3.10)

,                            (3.10)

где Еsp1 - сила сопротивления сдвигу прямоугольного элемента призмы, обусловленная внутренним трением грунта, кН;

Esp2 - сила сопротивления сдвигу треугольного элемента призмы, обусловленная внутренним трением грунта, кН;

d - угол трения материала отсыпки по плоскости восприятия отпора лицевой стенкой, град;

j0 - угол внутреннего трения грунта основания, град;

C0 - сцепление грунта основания, кПа;

b1, b2, h - размеры прямоугольного и треугольного элементов отсыпанной призмы грунта (рисунок 3.2,а).

Силы сопротивления сдвигу Еsp1 и Esp2 определяются по формулам

;                                          (3.11)

;                                     (3.12)

где G1, G2 - веса соответственно прямоугольного и треугольного элементов отсыпанной призмы грунта, кН;

Q - угол наклона откоса котлована, который следует назначать меньшим угла выпора грунта основания при сейсмическом воздействии, град. Эпюра пассивного давления по высоте призмы принимается треугольной (рисунок 3.2,б).

Описание: лот7

Рисунок 3.2 - Схема расчета сопротивления сдвигу элементов отсыпанной призмы грунта (а) и эпюра пассивного давления грунта (б)

3.15 Для блочных гравитационных стенок необходимо выполнить проверки устойчивости оснований при следующих поверхностях скольжения грунтового основания:

- плоский сдвиг стенки по основанию в направлении действия сейсмической силы;

- глубинный сдвиг стенки вместе с грунтом по криволинейной (круговой или смешанной) поверхности скольжения в направлении действия сейсмической силы и в противоположном направлении.

3.16 Проверки устойчивости блочных гравитационных стенок необходимо производить при учете сейсмических моментов, обусловленных инерцией вращения, соответствующих каждой из двух первых форм колебаний (рисунок 3.3), а также при результирующем моменте.

G - вес сооружения; S1 и e1 - соответственно сейсмическая сила и сейсмический момент, обусловленные массой блока, при колебаниях по первой форме; S2 и e2 - то же, но при колебаниях по второй форме

Рисунок 3.3 - схема действия нагрузок на сооружение блочной конструкции и возможные поверхности скольжения

3.17 При определении несущей способности свай по грунту в случае, если по высоте сваи имеются слои сжимаемых грунтов, необходимо учитывать силы «отрицательного трения» от грунтов, расположенных выше сжимаемого слоя. Учет сил «отрицательного трения» необходимо производить согласно СНиП 2.02.03-05.

4 КОНТРОЛЬНО-ИССЛЕДОВАТЕЛЬСКИЕ РАБОТЫ НА СТРОЙПЛОЩАДКЕ

4.1 Контрольно-исследовательские работы выполняются проектной организацией, разрабатывающей проект. Состав контрольно-исследовательских работ на стройплощадке зависит от конструкции сооружения, технологии его строительства, а также от выбранного способа улучшения строительных свойств грунтов и включает:

- контроль соблюдения проектной технологии строительства;

- контроль качества замены, уплотнения или закрепления слабых грунтов, осуществляемый с помощью бурения, отбора и испытания грунтов;

- контроль осадок территории и послойных деформаций грунтов и уточнение на основании этого сроков консолидации грунтов:

- предсдаточные контрольные испытания сооружения.

Программа контрольно-исследовательских работ составляется проектной организацией, разрабатывающей проект, и согласовывается с заказчиком и подрядной организацией.

4.2 В программе контрольно-исследовательских работ, выполняемых на стадии строительства, указываются:

- перечень параметров технологии строительства, которые подлежат контролю, а также количественные и качественные характеристики этих параметров;

- места контрольных бурений и отбора образцов, перечень физико-механических характеристик грунтов, подлежащих определению, методики испытаний, а также значения физико-механических характеристик грунтов, которые приняты в проекте и должны быть достигнуты;

- места закладки реперов и марок для измерения осадок территории и послойных деформаций грунтов, конструкции реперов и марок, мероприятия по их сохранности в процессе строительства и эксплуатации, инструменты и способы измерений, периодичность измерений, методика обработки результатов измерений, а также проектный срок консолидации грунтов.

Конструкцию реперов и марок и схему закладки их на портовых гидротехнических сооружениях следует принимать по РД 31.3.3-97. Наблюдения за осадками и деформациями грунтов следует выполнять согласно ГОСТ 24846-81.

4.3 В случае, если окажется, что прогнозируемый по результатам наблюдений за осадками территории срок консолидации слабых грунтов недопустимо превышает проектный срок консолидации, могут быть рекомендованы:

- временная огрузка сооружения дополнительным грузом, укладываемым на территории сооружения с целью ускорения сроков консолидации;

- эксплуатация сооружения по временной схеме (без устройства жесткого покрытия территории) вплоть до достижения консолидации слабых грунтов и затухания осадок территории,

Работы по огрузке сооружения необходимо выполнять в соответствии с требованиями РД 31.35.06-81.

4.4 Предсдаточные контрольные испытания сооружения должны включать:

- экспериментальные определения динамических характеристик сооружения (периодов, декрементов и форм горизонтальных колебаний);

- предсдаточную контрольную огрузку сооружений распорного типа временной нагрузкой.

4.5 Динамические характеристики сооружения следует определять возбуждением свободных колебаний: с помощью микровзрывов; путем навала судна на причал (ударная нагрузка); путем разрыва калиброванной на расчетное усилие вставки, соединяющей причал с отходящим от него судном; и т.д. Регистрирующими приборами являются сейсмоприемники, расставленные в различных точках по длине и ширине сооружения, и шлейфовые осциллографы.

Установленные экспериментально динамические характеристики сооружения заносятся в паспорт сооружения, а также сопоставляются с принятыми в расчете. Если расхождение теоретических и экспериментальных значений периодов и декрементов колебаний превышает 20%, и это расхождение может привести к увеличению сейсмических нагрузок, делается поверочный расчет сейсмостойкости при использовании экспериментальных значений периодов и декрементов.

4.6 Предсдаточной контрольной огрузке следует подвергать сооружения, опираемые на сжимаемые грунты. Цели предсдаточной огрузки:

- для сооружений распорного типа - уплотнить сжимаемые грунты на стадии строительства с тем, чтобы уменьшить осадки территории в процессе эксплуатации и при землетрясении, а также чтобы проверить эксплуатационную надежность построенного сооружения;

- для причальных эстакад - уплотнить поверхностный слой грунта и, таким образом, повысить горизонтальную жесткость сооружения.

Примечание - Предсдаточная огрузка производится по специальной программе и под контролем проектной организации, разработавшей проект сооружения.

4.7 Величина контрольной нагрузки при предсдаточной огрузке для заанкеренных больверков и подпорных стен другой конструкции принимается в зависимости от расчетной сейсмичности района (площадки) строительства по таблице 4.1

Таблица 4.1

Сейсмичность, баллы

Контрольная нагрузка, в долях от нормативной

7

1,0

8

1,3

9

2,4

4.8 Капитальное покрытие территории причала рекомендуется выполнять после стабилизации осадок территории, устанавливаемой по результатам инструментальных наблюдений.

ПЕРЕЧЕНЬ НОРМАТИВНО-ТЕХНИЧЕСКИХ ДОКУМЕНТОВ, НА КОТОРЫЕ ИМЕЮТСЯ ССЫЛКИ В РЕКОМЕНДАЦИЯХ

1. СНиП 2.06.01-86. Гидротехнические, сооружения. Основные положения проектирования/ Госстрой СССР. - М.: ЦИТП Госстроя СССР, 1987. - 32 с

2. СНиП II-7-81*. Строительство в сейсмических районах/Минстрой России. - М.: ГП ЦПП, 1995. - 52 с

3. СНиП 2.02.02-85. Основания гидротехнических сооружений/Госстрой СССР. - М.: ЦИТП Госстроя СССР, 1986. - 48 с

4. СНиП 2.02.01-83. Основания зданий и сооружений/Минстрой России. - М.: ГП ЦПП, 1995. - 48 с

5. СНиП 2.02.03-85. Свайные фундаменты/Госстрой СССР. - М.: ЦИТП Госстроя СССР, 1986. - 48 с

6. ГОСТ 24846-81. Грунты. Методы измерения деформаций оснований зданий и сооружений. - М.: Изд. стандартов, 1986. - 26 с

7. РД 31.31.55-93. Инструкция по проектированию морских причальных и берегоукрепительных сооружений. Минморфлот, М., 1993, 352с

8. РД 31.31.26-81. Руководство по учету сейсмических воздействий при проектировании морских гидротехнических сооружений типа «больверк». Минморфлот, М., 1981, 90 с

9. РД 31.31.39-86. Руководство по проектированию свайных пирсов и набережных для строительства в сейсмических районах. Минморфлот, М.: В/О «Мортехинформреклама», 1986. - 72 с

10. РД 31.3.3-97. Руководство по техническому контролю гидротехнических сооружений морского транспорта. Союзморниипроект, М., 1997. - 185 с

11. РД 31.35.06-81. Руководство по установлению норм эксплуатационных нагрузок на причальные сооружения распорного типа путем их испытания опытными статическими огрузками. Ленморниипроект, Л., 1983. - 70 с

12. РД 31.31.06-79. Руководство по расчету предпостроечного уплотнения слабых грунтов для портового гидротехнического строительства. Черноморниипроект, М.: В/О «Мортехинформреклама», 1983. - 72 с

13. РД 31,31.29-82. Руководство по проектированию илоцементных оснований и фундаментов портовых сооружений. НИИ оснований им. Н. М. Герсеванова, М.: В/О «Мортехинформреклама», 1983. - 16с

14. РД 31.31.34-85. Инструкция по проектированию причальных сооружений распорного типа на слабых грунтах. Ленморннипроект, М.: В/О «Мортехинформреклама», 1986. - 103 с

ПРИЛОЖЕНИЕ А

(справочное)

ХАРАКТЕРИСТИКА СПОСОБОВ ПОВЫШЕНИЯ НЕСУЩЕЙ СПОСОБНОСТИ ОСНОВАНИЙ

Таблица А. 1

Способ консолидации

Рекомендуемые условия применения

Требуемая техника

Достоинства

Недостатки

1

2

3

4

5

1 Полная или частичная замена слабого грунта

Мощность заменяемого слоя не превышает 5-6 м; слабый грунт залегает с поверхности; качественный грунт находится недалеко от места укладки; имеется место складирования заменяемого грунта

Одно- и многочерпаковые земснаряды, грунтоотвозные шаланды

Простота и освоенность способа; минимальные сроки стабилизации

Нарушение экологии моря при отвалах грунта; необходимость в повторных черпаниях после штормов; большой объем работ по перевалке грунтов замены

2 Временная пригрузка поверхности грунта без применения дрен

Мощность слоя слабого грунта не превышает 5-6 м; грунт залегает с поверхности

Техника для доставки и укладки пригрузки, а также её удаления

Простота и освоенность способа

Длительные сроки стабилизации осадок; большой объем работ по перевалке грунтов пригрузки

3 Временная пригрузка поверхности грунта с применением дрен

Мощность слоя слабого грунта более 5 м

Оборудование для устройства песчаных или картонных Дрен; техника для доставки и укладки пригрузки, а также ее удаления

Простота и освоенность способа; сокращенные сроки стабилизации осадок по сравнению со способом №2

Большой объем работ по перепалке грунтов пригрузки

4 Трамбование грунтов

Слабый грунт залегает с поверхности

Грузоподъёмные устройства (краны), трамбовки

Снижение затрат труда; значительное сокращение сроков уплотнения грунтов оснований; повышение сейсмической устойчивости слабых грунтов

5 Трамбование грунтов с применением вертикальных дрен

Оборудование для устройства дрен; техника для доставки и укладки верхнего дренирующего слоя; краны; трамбовки

Снижение затрат труда; ускорение уплотнения грунтов оснований; повышение сейсмической устойчивости слабых грунтов

6 Метод глубинного перемешивания

Нет ограничений

Агрегаты для глубинного перемешивания

Экологическая чистота; отсутствие неблагоприятных воздействий на близко расположенные сооружения; сокращение сроков строительства; многократное увеличение несущей способности грунта и его сейсмостойкости

ПРИЛОЖЕНИЕ Б

(справочное)

ПОРТОВЫЕ СООРУЖЕНИЯ, ПОСТРОЕННЫЕ НА ПЛОЩАДКАХ СО СЛАБЫМИ ГРУНТАМИ

(по материалам научно-технической информации)

Таблица Б. 1

Конструкция

Местоположение, сейсмичность

Тип слабого грунта ч глубина залегания

Метод усиления основания сооружения

Страна, фирма (проект и строительство)

Год строительства, стоимость

1

2

3

4

5

6

1 Больверк из металлических трубчатых пакетов Æ 1420 мм

Порт Рени на реке Дунай. Судоремонтная набережная,

L= 165 м; 8 баллов

Ил суглинистый, h = 3 м;

r =0,79т/м3; j = 9°;

С =8 кПа; Е =3 МПа; IL = 1,2

Замена ила на песчаный грунт j =26°

ЧМНИИП, трест «Черноморгидрострой»

1987 г. - окончание строительства.

В ценах 1984 г.

1 п.м. - 7876 руб.

2 Больверк из металлического шпунта FSP V1L

Порт Латакия (CAP). Причалы №17 - 19, L=632м;

7, 8 баллов

Ил супесчаный, h=3,5 м;

r =1,82 т/м3; j =12°; С =5 кПа.

Ил суглинистый оставлен.

h =5 м; r =1,80 т/м3; j =12°; С =5 МПа

Замена ила супесчаного на песчаный грунт j =30°; r = 1,8 т/м3

СМНИИП

1980 г. - проект разработан.

В ценах 1984 г.

1 п.м. - 6248 руб.

3 Больверк из ж/б свай оболочек Æ 1,6 м

Порт Измаил па реке Дунай.

Причалы №21 и 22,

L=230 м; 8 баллов

Ил суглинистый слаботекучий,

h = 2,0 м оставлен в тылу;

r =0,71 т/м3; j =8°; С =7 кПа;

Е =1,5 МПа; IL =1,1

Замена ила на песчаный грунт j =28°

ЧМНИИП, трест «Черноморгидрострой»

1980 г. - начато строительство.

В ценах 1984 г.

1 п.м. - 7376 руб.

4 Больверк из частокола ж/б свай 45х45 см

Новороссийский лесной порт.

Причал №28-а,

L=77,9 м; 7 баллов

Ил, h =1 м; r =0,45 т/м3;

j =5°; С =3 кПа

Частичная замена ила песчаным грунтом j =28°

ЧМНИИП, трест «Новороссийскморстрой»

1987 г. - год разработки проекта.

В ценах 1984г.

1 п.м. - 3500 руб.

5 Заанкеренная ж/б монолитная «стена в грунте»

Порт Гавр (Франция). Причальная набережная, L=750 м

Ил, h =2 м; j =20°

Замена ила насыпным грунтом

Проектные и строительные работы - консорциум фирм SGE/SIF и Bochv

1977 г. - год окончания строительства

6 Заанкеренный больверк из металлических труб Æ 299 мм

Порт Килия на реке Дунай.

Грузовой причал СРЗ, L=80 м; 7 баллов

Ил суглинистый слаботекучий,

h =4 м; r =0,80 т/м3; j =9°;

С =6 кПа

Замена ила песчаным грунтом

j =25°

ЧМНИИП, СУ-433 треста «Черноморгидрострой»

1979 г. - год окончания строительства.

В ценах 1984 г.

1 п.м. - 6295 руб.

7 Заанкеренный больверк из шпунта Ларсен V

Порт Владивосток. Причал АСПТР,

L=255 м; 6 баллов

Ил от мягкопластичного до текучего, h >3 м;

r =0,70 т/м3; j =8°; С =10 кПа

Полная замена слабых грунтов основания песчано-гравийной смесью j =30°

ДНИИМФ,

трест «Примортрансстрой»

1984г. - год разработки проекта.

В ценах 1984 г.

1 п.м. - 3283 руб.

8 Больверк из ж/б оболочек Æ 1,6 м

Порт Измаил на реке Дунай.

Причалы №17, 18,

L=204 м; 8 баллов

Текучие суглинки, мягкопластичные суглинки и слаботекучие илы, h > 2м;

r =0,66 т/м3; j =9°; С =6 кПа

Замена слабого грунта песчаным грунтом j =28°; r = 1,80 т/м3

ЧМНИИП, СУ-433 треста «Черноморгидрострой»

1983 г. - год окончания строительства.

В ценах 1984 г.

1 п.м. - 3608 руб.

9 Оторочка из коробчатых шпунтовых свай перед существующим больверком

Порт Петропавловск-Камчатский.

Причал №3,

L = 86 м; 9 баллов

Ил суглинистый r =0,56 т/м3;

j =14°; С=3 кПа

Пригрузка илов насыпным грунтом r =0,60 т/м3; j =28°

ДНИИМФ трест «Камчатморгидрострой» РСУ Камчатского морского пароходства

1983 г. - год разработки проекта.

В ценах 1984 г.

1 и.м. - 620 руб.

10 Взаимозаанкеренный больверк из шпунта Ларсен V

Порт Талин (Эстония) Паромный пирс южной гавани п/п Рахукула, L =116 м

11л суглинистый h =3,5 м;

r =080т/м3; j =12°;

С =5 кПа; Е =4 МПа.

Ил супесчаный, h =1 м;

r=090т/м3; j =14°;

С =1 кПа; Е=7 МПа

Сваи прорезают илы

ЛМНИИП, РСУ Таллинского порта

1985 г. - год разработки проекта.

В ценах 1984 г.

1 п.м. - 3094 руб.

11 Взаимозаанкеренный больверк из шпунта Ларсен V

Порт Баку (Азербайджан). Островной причал СРЗ

L =50 м; В =35 м; 8 баллов

Ил, h =3 м; j =13°;

С =6 кПа; IL =1,25

Ил оставлен внутри взаимозаанкеренного больверка

КМНИИП ПСМО треста «Азербайджан - трансстрой»

1985 г - год разработки проекта.

В ценах 1984 г.

1 п.м. - 598810 руб.

12 Заанкеренный больверк из шпунта Ларсен V, внутри существующая массивовая стенка

Порт Поти. Реконструкция

причалов № 1, 2,

L =383 м, 7 баллов

Ил суглинистый слаботекучий,

h > 6м; r =0,80 т/м3;

j =12°, С =8 кПа

В основании сооружения илы; шпунт забивается в илы

ЧМНИИП,

ПСО-20 треста «Новороссийскморстрой»

1978 г. - год окончания строительства.

В ценах 1984 г.

1 п.м. - 5712 руб.

13 Оторочка из стального шпунта Ларсен V на расстоянии 1,0 м перед существующей стенкой

Порт Петропавловск-Камчатский.

Причал №6 (капремонт), L=150 м; 9 баллов

Галечниково-щебенистые грунты с песчаным и илистым заполнителем,

h > 6 м; j =35°

В основании сооружения естественные грунты

ДНИИМФ,

РСУ Камчатского морского пароходства

1976 г. - год разработки проекта. В ценах 1984 г.

1 п.м. - 1351 руб.

14 Заанкеренный больверк из шпунта Ларсен V

Порт Пластун.

Причал №1 для перегрузки круглого леса, L =150 м; 6 баллов

Ил, h =1 м; r =055 т/м3;

j=8°; C =18 кПа

В основании оставлена прослойка илов

ДНИИМФ,

ПСМО-29;23

треста «Дальморгидрострой»

1980 г, - год окончания строительства.

В ценах 1984 г.

1 п.м. - 2147 руб.

15 Больверк на ж/б сваях сечением 45х45 см

Порт Килия на реке Дунай. Причал генгрузов, L =166 м; 7 баллов

Ил суглинистый слаботекучий,

h =4 м; r =080 т/м3; j =12°;

С =7 кПа. Ил супесчаный слаботекучий, h =4 м, r = 0,85 т/м3; j =20°, С =4 кПа

В основании сооружения оставлены илы

ЧМНИИП,

СУ-433 треста «Черноморгидрострой»

1984 г - год разработки проекта.

В ценах 1984 г.

1 п.м. - 5904 руб.

16 Оторочка из стального бельгийского шпунта на расстоянии 0,92 - 1,95 м от существующей стенки

Порт Магадан.

Причал №3

(капремонт),

L= 134 м; 7 баллов

Мелкозернистый заиленный песок,

h >5 м; r =0,90 т/м3; j =34°; С =0 кПа

В основании сооружения оставлены слабые грунты

ДНИИМФ,

трест «Магаданморстрой»

1983 г. - год разработки проекта.

В ценах 1984 г.

1 п.м. - 2412 руб.

17 Массивовая кладка

Порт Батуми.

Причал №5,

L= 166,0 м; 7 баллов

Ил суглинистый текучий,

h >2м; r =0,52 т/м3; j =5°;

С =3 кПа; Е=1,0 МПа.

В основании толща ила глинистого текучего,

r =0,46 т/м3; j =16°;

С =15 кПа; Е=2,0 МПа; IL =0,94

Замена суглинистого ила

ЧМНИИП,

трест «Новороссийскморстрой»

1987 г. - год разработки проекта.

В ценах 1984г.

1 п.м. - 1112 руб.

18 Узкий пирс мостового типа на основании из ж/б цилиндрических массивов - гигантов Æ 14 м

Порт Шижиу (провинция Шаньдун, Китай). Угольный причал,

L =452 м

Наносы, суглинок, крупнозернистый песок

Слабый грунт убран; каменная постель отсыпана на выветрелый гранит

Нет данных

1985 г. - год окончания строительства

19 Гравитационного типа из массивов гигантов размером в м 33,5х19,8х19,2

Порт Пор-Картье (Канада)

Илистый грунт и слабая глина

Замена 6-ти метрового слоя слабого грунта камнем

Нет данных

1971 г. - год окончания строительства

20 Вертикальная стенка и ячейка Æ 13 м из шпунта Ларсен

Порт Куксхафен на реке Эльбе (Германия). Оградительные молы L = 150 м и 50 м

Ил, h >5 м

Поверх ила отсыпан слой песка толщиной 2 м в месте установки ячейки

Нет данных

1982 г. - год окончания строительства

21 Ячеистая конструкция и больверк из металлического шпунта

Порт Зельзат (Бельгия).

Причальная набережная

Иловатые пески ниже которых слой илов

Динамическое уплотнение тяжелыми трамбовками с энергией удара 375 тм/м2

Нет данных

Нет данных

22 Гравитационного типа из массивовой кладки

Порт Констанца (Румыния).

Причалы нефтяного района L=328 м

Каменная постель под массивы толщиной 2 м. Перед уплотнением отсыпан слой бутового камня толщиной 1 м

Подводное уплотнение грузом массой 12 т с высоты 10 м

Нет данных

Уплотнение 300 лей за 1 м2 при производительности 10 м2

23 Оторочка гравитационного типа из массивов-гигантов

Порт Пасахес (Испания).

Причалы Transatlantic и Ancho L =615 м

Глинисто-известковый ил с песком, h =8 м.

Отсыпается каменная постель толщиной 4 м под массивы - гиганты

До выемки илистого грунта у основания стенки установлены бетонные сваи Æ 1 м; под постелью грунт укреплен гравийными сваями

Нет данных

» 3,2 млн. песет

24 Набережная из ячеек Æ 24,2 м из стального шпунта с песчаным заполнением

Порт Вердон (Франция).

Контейнерные причал № 1, 2 L=415 м

Нет данных

Укрепление грунта раствором на глубину 0,9 - 1,5 м

Нет данных

1977 г. - год окончания строительства

25 «Стена в грунте» из монолитного ж/б арочного профиля с контрфорсами

Порт Марсель-Фос (Франция). Причальная набережная в бассейне №3 L =240 м

Ил, h =11 м.

Прорезка слабых грунтов ж/б стенками

Soletanche

1978 г. - год окончания строительства

26 Двухрядная монолитная «стена в грунте»

Порт Джизан (Саудовская Аравия).

Причальная набережная, L =550 м

Заиленный песок

Стена прорезает илы погружаясь на 5 м в галит. Илы сохранены внутри стены

Soletanche

(Франция)

1980 г. - год окончания строительства

27 Ограждающая массивовая стенка

Порт Дайкоку

г. Иокогама

(Япония)

Слабая заиленная глина,

h =6 - 35 м в естественном состоянии выдерживает давление 19 - 40 кПа.

После обработки новое основание выдерживает давление 1960 - 4000 кПа

Глубокое перемешивание слабых грунтов с раствором морской воды, портландцемента и химической добавки «пуццолит», разработанной в США

Tokyo based

Takenaka

Komutedm

Group

Работы велись с 1976 г. Стоимость работ по укреплению слабого грунта 24 - 27 долл./м3

28 Набережная-эстакада на ж/б колоннах - оболочках Æ 1,6 м

Порт Севастополь. Грузовой причал в районе Малого Инкермана,

L =112 м; 7 баллов

Ил суглинистый и глинистый слаботекучий, h >1м;

r =0,65 т/м3; j =13°; С = 9 кПа

Замена ила песчаным грунтом и каменной призмой

ЧМНИИП,

ПСО-13 треста «Крымморгидрострой»

1984 г, - год окончания строительства.

В ценах 1984 г.

1 п.м. - 12736 руб.

29 Набережная-эстакада на ж/б сваях сечением 45х45 см

Порт Рени на реке Дунай.

Причал №21,

L =110 м; 8 баллов

Ил суглинистый и глинистый слаботекучий, h >5 м;

r =0,76 т/м3; j =8°; С =6 кПа;

Е=3 МПа, IL =1,0.

Ил супесчаный слаботекучий

h =3м; r =0,88т/м3; j =18°;

С =9 кПа; Е=4 МПа; IL =1,3

Полная замена илов на песчаный грунт j =28°; r =1,1 т/м3

ЧМНИИП,

ПСО-16 треста «Черноморгидрострой»

1983 г - год окончания строительства.

В ценах 1984 г.

1 п.м. - 6045 руб.

30 Эстакада на стальных трубчатых сваях Æ 660 мм и Æ 530 мм

Порт Таранаки (Новая Зеландия).

Нефтяной пирс,

L=250 м; 7, 8 баллов

Смесь ила с песком, гравием и вулканической лавой со значительным количеством валунов

Сваи прорезают слабые грунты

Нет данных

1976 г. - год разработки проекта;

1979 г. - год окончания строительства

31 Мол эстакадного типа с волнозащитным экраном из ж/б блоков

Порт Новороссийск

Оградительный мол СРЗ, L=886 м; 7 баллов

Ил суглинистый слаботекучий,

h =4м; r =0,74 т/м3, j=11°;

С =5 кПа

Пригрузка илов щебнем и камнем

ЧМНИИП,

ПСО-1 треста «Новороссийскморстрой»

1984 г - год разработки проекта В ценах 1984 г 1 п.м. - 13508 руб.

32 Эстакада на ж/б сваях

Порт Брест (Франция).

Ремонтный причал

Намывной грунт (ил и песок); аллювиальные отложения (ил и песок)

Уплотнение тяжелыми трамбовками с целью повышения устойчивости подпричального откоса

Нет данных

Нет данных

33 Эстакада с задней стенкой из заанкеренного сплошного ряда ж/б свай 45х45 см

Порт Измаил на

реке Дунай.

Причал портофлота,

L =116 м; 8 баллов

Ил суглинистый текучий,

h =1,5м; r =0,80 т/м3; j =11°;

С =8 кПа; IL =1,1.

Ил глинистый, h =3 м;

r =0,65 т/м3; j =11°;

С =10 кПа; Е=2 МПа; IL =0,9

Сваи прорезают илы; применен нетканный материал дорнит

ЧМНИИП,

трест «Черноморгидрострой»

1988 г. - год окончания строительства.

В ценах 1984 г.

1 п.м. - 4340 руб.

34 Эстакада на ж/б колоннах-оболочках Æ 1,6 м

Порт Батуми.

Судоспускное устройство, L =242 м; 7 баллов

Ил суглинистый, h = 3 м;

r =0,74 т/м3; j =7°; С =4 кПа;

Е=2 МПа; IL =0,4

Оболочки прорезают слабые грунты

ЧМНИИП,

трест «Новороссийскморстрой»

1988 г. - год разработки проекта.

В ценах 1984 г.

1 п.м. - 6277 руб.

35 Эстакада на стальных трубчатых сваях Æ 1118 мм и Æ 711 мм

Порт Субарая (Индонезия).

Контейнерный пирс L=500 м, эстакада, L= 1425м; 9 баллов

Очень мягкая заиленная глина с линзами заиленного песка

Укрепление грунта (дноуглубление и отсыпка)

Институт Rendel Palmer & Tritton

Весь объект (включая инфраструктуру) 150 млн. $.

Дноуглубление и отсыпка 18 млн. $

36 Эстакада на ж/б сваях сечением 35х55 см и 50х50 см

Порт Тяньцзинь (КНР).

Причалы №27, 28, 29

на пирсе №4 контейнерного  терминала,

L =895 м

Мягкий водонасыщенный грунт с несущей способностью 0,04 МПа

Уплотнение грунта пригрузкой и вакуумным методом с использованием дренажных труб из различного материала (пластмассы, строительного картона)

Нет данных

1985г. - год окончания строительства

37 Эстакада на разных типах свай

Порт Нью-Орлеан (США).

Причалы №4, 5 терминала

Jourdan Road

Слабая пластичная глина,

h =18м, не поддается виброуплотнению

Каменные колонны и текстильные дрены для увеличения сопротивления грунтов сдвигу

«Парсонс. Бринкерхоф. Куэйд энд Дуглас» «Виброфлотэйшен компани»

Стоимость устройства каменных колонн 8614,6 тыс. $

38 Пирс эстакадного типа на металлических трубчатых сваях Æ 0,63 м

Порт Сантьяго-де Куба.

Нефтепирс НПЗ,

L =245 м; 7 баллов

Ил очень текучий,

r =0,56 т/м3; j =0°; IL >1;

ил слаботекучий,

r =0,56 т/м3; j =0°; IL >1; С =10 кПа;

ил глинистый с органическими включениями, j =0°; r = 0,56 т/м3; IL >1

Сваи прорезают илы общей толщиной h =10 - 15м

ЧМНИИП,

управление морских работ Министерства строительства Кубы

1982 г/ - год разработки проекта, 1984 г/ - начато строительство.

В ценах 1984 г.

1 п.м. - 4001 руб.

39 Узкий пирс эстакадного типа на стальных трубчатых сваях Æ 800/10 мм

Порт Биела

(СФРЮ).

Ремонтный пирс судоверфи Veljko Vlahovic, L=300 м

Ил и заиленный песок,

h >20 м

Сваи прорезают илы с заглублением на 3 м в слой глины. Полости свай заполнялись бетоном

Проект и строительство Ivars Milutinovic. Испытание конструкции - Center zaispitivanje konstrukcija IMS

1975 г. - год окончания строительства.

1 п.м. - 70 тыс. динар

40 Набережная-оторочка на ж/б сваях сечением 45х45 см

Порт Поти.

Причал базы техобслуживания флота,

L =118 м; 7 баллов

Ил супесчаный слаботекучий с прослойками песка,

r =0,85 т/м3; j =16°; С =5 кПа

Сваи прорезают толщу илов

ЧМНИИП, ПСО-20 треста «Новороссийскморстрой»

1984 г. - год разработки проекта.

В ценах 1984 г.

1 п.м. - 5071 руб.

41 Эстакада на козловых опорах из стальных труб Æ 914 мм

Остров Ридли около порта Принц Руперт (Канада, провинция Британская Колумбия).

Причальные сооружения угольного терминала;

8 баллов

Морской ил

Сваи прорезают ил и погружены в выветрелый сланец

Нет данных

1983 г. - год окончания строительства

42 Эстакада на основании из шести рядов стальных труб Æ 700 мм

Порт Сянган.

Причалы № 2, 3 контейнерного терминала Квайчунг

Морской ил, под ним плотные коллювиальные отложения и растрескавшийся гранит

Замена грунта

Институт - Consulting Engineers (Scott Wilson Kirk-patrick & Partners). Строительная организация - Nishimatsu Construction Co Ltd. Субподрядчик Maruiso Gumi Waikee

33 млн. фунтов стерлингов или 400 млн. гонконгских долларов

43 Пирс из унифицированных элементов на колоннах-оболочках Æ 1,6 м с ледорезами

Порт Вилково на реке Дунай.

Грузовой пирс Вилковского РОФ,

L =60 м; 7 баллов

Ил глинистый слаботекучий,

h >12 м; j =5°; r =0,55 т/м3; С =2кПа

Колонны-оболочки прорезают толщу илов, погружены в глину полутвердую

ЧМНИИП, СУ-433 треста «Черноморгидрострой»

1983 г - год разработки проекта.

В ценах 1984 г.

1 п.м. - 6781 руб.

44 Пирс из унифицированных элементов на колоннах-оболочках Æ 1,6м

Порт Рени.

Нефтепирс №2,

L =98 м; 8 баллов

Ил супесчаный текучий,

h >3 м; r = 0,70 т/м3; j =10°; С=3 кПа

Колонны-оболочки прорезают толщу илов, погружены в плотные пески

ЧМНИИП, СУ-433,

ПСО-17 треста «Черноморгидрострой»

1978 г - год разработки проекта.

В ценах 1984 г.

1 п.м. - 3190 руб.

45 Откосного типа из каменной наброски

Порт Латакия

(CAP).

Берегоукрепление

L =1740 м; 7, 8 баллов

Ил супесчаный суглинистый.

h >8 м; r =0,77 т/м3; j =12°; С =10 кПа;

Е =2,5 МПа

По илу отсыпан песок крупный j =28°; Е =18 МПа; песок мелкий j =26°; Е =9 МПа

СМНИНП,

фирма «Тоек»

1979 г. - год разработки проекта.

В ценах 1984 г.

1 п.м. - 62000 руб.

46 Откосного типа из каменной наброски с защитой тетраподами

Порт Латакия

(CAP).

Северный мол,

7, 8 баллов

Ил супесчанпый, r =0,86 т/м3, j =12°, С= 10 кПа, Е=30 МПа,

Ил суглинистый,

r = 0,77 т/м3, j =12°,

С =10 кПа, Е =20 МПа

По илу отсыпается песок мелкозернистый, карьерная мелочь, камень разный

СМНИИП

1980 г. - год разработки проекта

47 Откосного типа из каменной наброски с защитой тетраподами

Порт Латакия

(CAP).

Южный мол,

L =1310 м;

7; 8 баллов

Ил супесчаный, r =0,86 т/м3;

j =12°; С =10 кПа; Е=30 Па;

Ил суглинистый,

r =0,77 т/м3; j =12°;

С =10 кПа; Е =20 МПа

По илу отсыпается песок мелкозернистый, карьерная мелочь, камень разный

СМНИИП

1982 г. - год разработки проекта

48 Основание 20 резервуаров Æ 16 м, h =18м нефтебазы

Порт Ботлек (Нидерланды).

Нефтебаза

Намывные грунты, h =5 м,

аллювиальные отложения (заиленные суглинки), h =5 - 7 м

Уплотнение грунта тяжелыми трамбовками

Нет данных

Нет данных

49 Ячеистая конструкция из примыкающих друг к другу грунтоцементных колонн шестиугольного поперечного сечения

Озеро Джексон

(США, штат Вайоминг).

Нет данных

Динамическое уплотнение грузом массой 32 т, с высоты 30 м; дополнительно дренажные фитили на глубину 10,5 м с шагом 1,5 м

Технология применена в США фирмой National Project Inc. Буровое оборудование изготовлено фирмой S М Seiko Inc

40 млн долларов США

50 Насыпные участки курортной зоны

Рималь (Ливан)

Курорт

Насыпные грунты из глины, песка и гравия, h = 5 м

Уплотнение грунта ж/б бабой массой 8 т с высоты 8 - 10 м

Нет данных

Нет данных

51 Автомагистраль

Эвансаль

(США, штат Индиана)

Свалка мусора, бетонных блоков и камней

Глубинное динамическое уплотнение грузом массой 20 т с высоты 30 м

Грузоподъемное оборудование  фирмы Traylor Bros Inc.

Уплотнение с устройством насыпи 6,7 млн. $ США

52 Пересечение дорог в разных уровнях Saint-Lambert на автодороге Urbaine Sud

Г. Ницце

(Франция)

Нет данных

Инъектирование раствора (песок, вяжущее и добавка пуццолана) в 94 скважины на общей площади 1200 м2; было инъектировано 1083 м3 раствора

Работы вела фирма SIF Bachy

Нет данных

53 Станция очистки сточных вод

Г. Ницце (Франция)

Насыпная земляная площадка с неоднородными грунтами

Инъектирование раствора (песок, вяжущее и добавка пуццолана) в 614 скважины на общей площади 10 тыс. м2 (в одну скважину 1 - 35 м3 раствора)

Работы вела фирма SIF Bachy

Нет данных

54 Насыпные дамбы

Остров Крейн вблизи Норфолка

(США, штат Вирджиния).

Тягучепластичный грунт дноуглубления судоходных каналов и акваторий

Применение геотекстиля с последующей отсыпкой песка

Нет данных

Нет данных

55 Основание под металлический резервуар Æ 19 м,

h =11,8 м

Россия

Суглинки тягучепластичные до тягучих с супесью

Использование песчаных свай Æ 325 мм, в количестве 312 шт.; в последствии поверхность уплотнялась тяжелыми трамбовками

Проект - СибЦНИИС; работы - СУ-18 Запсибтрансстроя

Эксплуатация начата в 1973 г. Применение песчаных свай на одном резервуаре дало экономию:

арматурной стали 19 т,

цемента 68 т,

щебня 167 м3

56 Образование территории порта и припортовой промышленной зоны

Порт Ла-Рошель (Франция)

Удаление » 3,2 млн. м3 илов для образования нового аванпорта, который намывался для образования территории порта

Уплотнение и консолидация намывных илов при помощи дренажной системы из пластмассовых труб Æ 65/80 мм и вертикальных плоских дренажных лент с дальнейшей пригрузкой

Нет данных

Стоимость 1 м2

этой намывной территории с учетом дальнейшей пригрузки качественным грунтом в 1,6 раза выше чем обычным способом

57 Основание под стальные резервуары

Æ 50,0 м, h =18,0 м - 4 шт.;

Æ 39,9м, h =17.9 м - 4 шт.;

Æ 28,5м, h =17,9 м - 4 шт.;

Æ 20,9 м, h= 14,9 м - 2 шт.;

 Æ 10,4 м, h =11,9 м - 6 шт.;

Æ 28,5м, h =14,0 м - 2 шт.;

Порт Восточный. Бункеровочная нефтебаза;

7 баллов

Ил суглинистый с прослоями супесчаного скрытотекучий,

h =8 - 12 м; r =1,б5 т/м3

Ж/б плита на свайном фундаменте из ж/б свай длиной 20 м сечением 40х40 см. Сваи погружены в галечниковые грунты

ДН11ИМФ,

ПСМО-23 треста «Дальморгидрострой»

1992 г. - начато строительство

ПРИЛОЖЕНИЕ В

(справочное)

ПРИМЕР РАСЧЕТА ОБЩЕЙ УСТОЙЧИВОСТИ ПРИЧАЛЬНОГО СООРУЖЕНИЯ ПО КРУГЛОЦИЛИНДРИЧЕСКИМ ПОВЕРХНОСТЯМ СКОЛЬЖЕНИЯ

B.1 Исходные данные

B.1.1 Сооружение выполнено в виде заанкеренного больверка из стального шпунта. Исходные геометрические параметры сооружения, эксплуатационные нагрузки и геологический разрез, необходимые для расчета общей устойчивости, приведены на рисунке B.1. Класс сооружения - III.

Описание: лот9

1 - 4 -     шифр слоя грунта по таблице В.1;

О1, О2 -   центры круглоцилиндрических поверхностей соответственно для статического и сейсмического расчетов

- - - -       положение переформированной схемы и круглоцилиндрическая поверхность вращения для расчета на сейсмическое воздействие

Рисунок B.1 - Расчетная схема сооружения к программе «KREJ» (эксплуатационные нагрузки условно не показаны)

В.1.2 Наименование грунтов и их расчетные характеристики приведены в таблице B.1

Таблица В.1 - Расчетные характеристики грунтов

Шифр слоя

Наименование грунта

Объемный вес, кН/м3

jII

CII

g нас.

g взв.

град.

кПа

1

Скальный гравийно-песчаный грунт выше уровня воды

18,0

-

35

0

2

То же, ниже уровня воды

-

10,0

35

0

3

Гравийный грунт с галькой, битой ракушей, с песчаным заполнителем

-

10,0

34

0

4

Ил с гравием, галькой, ракушей до 20%

-

5,6

14

3

Как следует из рисунка B.1 и таблицы B.1, в основании сооружения расположен слой слабых грунтов - илов.

Необходимо отметить, что согласно СНиП 2.02.02-85 «Основания гидротехнических сооружений» и РД 31.31.55-93 «Инструкция по проектированию морских причальных и берегоукрепительных сооружений» при расчете общей устойчивости по круглоцилиндрическим поверхностям скольжения коэффициенты надежности по нагрузке, грунту и материалу принимаются равными единице. Т.е. расчет производится при нормативных значениях нагрузок и характеристик грунтов.

В.2 Расчет общей устойчивости сооружения при основном сочетании нагрузок

В.2.1 Расчет выполняется по вычислительной программе «KREJ», разработанной Ленморниипроектом. Были выполнены расчеты по режимам «KREJ-L», «KREJ-AK» и при совместном использовании указанных режимов. Наименьшие коэффициенты устойчивости были получены при расчете по режиму «KREJ-L», что согласуется с рекомендациями об использовании режима «KREJ-L» при наличии в основании сооружения слоя слабого грунта, изложенными в инструкции по использованию программы «KREJ». Расчеты выполнялись при различных координатах начального центра вращения и координатах точки, через которую должны проходить все кривые скольжения. Ниже приведены распечатки исходных данных (таблицы В.2 - В.7) и результатов расчета по режиму «KREJ-L» (таблицы В.8 - В.9) для наиболее невыгодного случая.

Таблица В.2 - Комментарии

ПРИМЕР РАСЧЕТА

СТАТИКА

KREJ-L

Таблица В.3 - Общие данные

Позиция

Наименование величины

Размерность

Величина

1

Шаг изменения положения центра вращения

м

1

2

Минимально требуемый коэффициент устойчивости

б/р

0

3

Срок службы сооружения

год

0

4

Абцисса кордона

м

0

5

Отметка кордона

м

3,30

6

Отметка дна

м

-9,25

7

Абцисса начального центра вращения

м

0

8

Отметка начального центра вращения

м

-5,00

9

Координаты точки, выше которой кривые скольжения проходить не могут:

- абцисса

м

0

- отметка

м

-14,40

10

Координаты точки, через которую должны проходить все кривые скольжения:

- абцисса

м

-25,00

- отметка

м

-3,30

Таблица В.4 - Координаты скважин

Позиция

Наименование величины

Размерность

Величина

1

Абцисса 1-й скважины со стороны территории

м

-10,0

2

Абцисса 2-й скважины со стороны территории

м

-20,0

3

Абцисса 1-й скважины со стороны акватории

м

7,5

4

Абцисса 2-й скважины со стороны акватории

м

15,0

Таблица В.5 - Описание геологического разреза на территории

Шифр слоя

Отметка слоя грунта (м)

Характеристики слоев

полиции кордона

по 1-й скважине

по 2-й скважине

угол внутреннего трения (град.)

сцепление (кПа)

объемный вес (кН/м3)

1

3,30

3,30

3,30

35

0

18,0

2

0,50

0,50

0,50

35

0

10,0

3

-9,25

-7,30

-5,40

34

0

10,0

4

-19,00

-19,00

-19,00

14

3

5,6

Таблица В.6 - Описание геологического разреза на акватории

Шифр слоя

Отметка слоя грунта (м)

Характеристики слоев

по линии

кордона

по 1-й скважине

по 2-й скважине

угол внутреннего трения (град.)

сцепление (кПа)

объемный вес (кН/м3)

3

-9,25

-9,25

-9,25

34

0

10,0

4

-19,00

-19,00

-19,00

14

3

5,6

Таблица В.7 - Равномерно распределенные нагрузки

Интенсивность нагрузки (кН/м2)

Полоса нагрузки (м)

Расстояние от кордона(м)

15

6,25

0

30

10,50

6,25

40

6,00

16,75

60

1е3

22,75

Таблица В.8 - Результаты расчета

Коэффициент устойчивости

Момент удерживающий (кН×м)

Момент поворачивающий (кН×м)

Координаты центра вращения

абцисса (м)

отметка (м)

радиус (м)

1,110

71980

64837

0,00

-5,00

26,34

1,097

70855

64615

0,32

-4,05

26,36

1,102

71075

64524

0,63

-3,10

26,42

1,092

70501

64557

0,95

-2,15

26,51

1,087

70345

64721

1,26

-1,20

26,64

1,096

71265

64995

1,58

-0,25

26,81

1,107

72366

65377

1,89

0,69

27,02

1,120

73738

65858

2,21

1,64

27,26

1,134

75343

64429

2,52

2,59

27,53

1,155

77496

67078

2,84

3,54

27,84

1,176

79580

67687

3,15

4,49

28,18

1,201

81513

67878

3,47

5,44

28,55

Таблица В.9 - Координаты точки, через которую проходят все кривые скольжения

Координаты точки, через которую проходят все кривые скольжения

абцисса (м)

отметка (м)

-25,00

3,30

В.2.2 Проверка общей устойчивости сооружения выполняется по формуле

;                                                    (В.1)

где Мt и Мr - соответственно моменты сдвигающих и удерживающих сил относительно центра круглоцилиндрической поверхности;

g1c - коэффициент сочетаний нагрузок;

gc - коэффициент условий работы;

gn - коэффициент надежности по ответственности сооружения;

gdc - дополнительный коэффициент условий работ.

При расчете на основное сочетание нагрузок g1c = 1,00; gc = 1,15; gn = 1,15; gdc = 1,05.

Из формулы (В.1) следует, что общая устойчивость сооружения по круглоцилиндрическим поверхностям скольжения при основном сочетании нагрузок обеспечивается, если выполняется условие K = 0,95, где K = Mr/Mt коэффициент устойчивости.

Как следует из результатов расчета (таблица В.8), полученный наименьший коэффициент устойчивости К = 1,087 превышает минимально требуемый К = 0,950. Общая устойчивость причала обеспечивается.

В.3 Расчет общей устойчивости сооружения при особом сочетании нагрузок

8.3.1 Расчетная сейсмичность для сооружения - 9 баллов. Сейсмические воздействие принято горизонтальным и направленным в сторону акватории.

8.3.2 Расчет общей устойчивости с учетом сейсмических нагрузок выполняется по способу поворота расчетной схемы сооружения на сейсмический угол eу в соответствии с п. 3.10 настоящих Рекомендаций.

Эффективный коэффициент сейсмичности определяется по формуле (3.8)

Аэу = 0,25×0,4×2,4 = 0,24.

Сейсмический угол eу определяется по формуле (3.7)

eу = arctg0,24 = 14°.

Производится наклон поверхности причала и дна у причала на сейсмический угол eу (п. 3.11), а также корректировка веса грунта, веса грузов на причале (п. 3.12) и углов внутреннего трения грунтов (п. 3.13).

Переформированная расчетная схема сооружения представлена пунктиром на рисунке B.1. По сравнению с расчетом на основное сочетание изменены таблицы В.5 (В.13), В.6 (В.14) и В.7 (В.15), Ниже приведены распечатки исходных данных (таблицы В.10-В.15) и результатов расчета по режиму «KREJ-L» (таблицы В.16 - В.17).

Таблица В.10 - Комментарии

ПРИМЕР РАСЧЕТА

СЕЙСМИКА 9 БАЛЛОВ

KREJ-L

Таблица В.11 - Общие данные

Позиция

Наименование величины

Размерность

Величина

1

Шаг изменения положения центра вращения

м

1

2

Минимально требуемый коэффициент устойчивости

б/р

0

3

Срок службы сооружения

год

0

4

Абцисса кордона

м

0

5

Отметка кордона

м

3,30

6

Отметка дна

м

-9,25

7

Абцисса начального центра вращения

м

0

8

Отметка начального центра вращения

м

-5,00

9

Координаты точки, выше которой кривые скольжения проходить не могут:

- абцисса

м

0

- отметка

м

-14,40

10

Координаты точки, через которую должны проходить все кривые скольжения:

- абцисса

м

-25,00

- отметка

м

3,30

Таблица В.12 - Координаты скважин

Позиция

Наименование величины

Размерность

Величина

1

Абцисса 1-й скважины со стороны территории

м

-10,0

2

Абцисса 2-й скважины со стороны территории

м

-20,0

3

Абцисса 1-й скважины со стороны акватории

м

7,5

4

Абцисса 2-й скважины со стороны акватории

м

15,0

Таблица В.13 - Описание геологического разреза на территории

Шифр слоя

Отметка слоя грунта (м)

Характеристики слоев

по линии кордона

по 1-й скважине

по 2-й скважине

Угол внутреннего трения (град.)

сцепление (кПа)

объемный вес

(кН/м3)

1

3,30

5,70

8,10

33

0

18,55

2

0,50

2,90

5,30

33

0

10,31

3

-9,25

-4,90

-0,.60

32

0

10,31

4

-19,00

-16,60

-14,20

12

3

5,77

Таблица В.14 - Описание геологического разреза на акватории

Шифр слоя

Отметка слоя грунта (м)

Характеристики слоев

по линии кордона

по 1-й скважине

по 2-и скважине

Угол внутреннего трения (град.)

сцепление (кПа)

объемный вес

(кН/м3)

3

-9,25

-11,05

-12,85

32

0

10,31

4

-19,00

-20,80

-22,60

12

3

5,77

Таблица В.15 - Равномерно распределенные нагрузки

Интенсивность нагрузки (кН/м2)

Полоса нагрузки (м)

Расстояние от кордона (м)

15,46

6,25

0,00

30,92

10,50

16,25

41,22

6,00

16,75

61,84

1е3

22,75

Таблица В.16 - Результаты расчета

Коэффициент устойчивости

Момент удерживающий (кН×м)

Момент поворачивающий (кН×м)

Координаты центра вращения

абцисса (м)

отметка (м)

радиус (м)

0,914

57215

62623

0,00

-5,00

26,34

0,892

56030

62788

0,32

-4,05

26,36

0,880

55555

63095

0,63

-3,10

26,42

0,864

54890

63527

0,95

-2,15

26,51

0,854

54695

64040

1,26

-1,20

26,64

0,847

54764

64661

1,58

-0,25

26,81

0,838

54821

65384

1,89

0,69

27,02

0,834

55217

66168

2,21

1,64

27,26

0,835

55992

67018

2,52

2,59

27,53

0,831

56449

67917

2,84

3,54

27,84

0,845

58102

68787

3,15

4,49

28,18

0,862

59996

69634

3,47

5,44

28,55

0,876

61731

70465

3,78

6,39

28,95

0,898

64006

71262

4,10

7,34

29,37

0,940

67733

72030

4,41

8,29

29,83

0,968

70436

72774

4,73

9,24

30,31

1,023

74741

73081

5,04

10,18

30,82

1,102

80233

72830

5,36

11,13

31,35

Таблица В.17 - Координаты точки, через которую проходят все кривые скольжения

Координаты точки, через которую проходят все кривые скольжения

абцисса (м)

отметка (м)

-25,00

3,30

В.3.3 При расчете на особое сочетание нагрузок g1c = 0,90; gc = 1,15; gn = 1,15; gdc = 1,05. Из формулы (В.1) следует, что общая устойчивость сооружения по круглоцилиндрическим поверхностям скольжения при особом сочетании нагрузок обеспечивается, если выполняется условие К ³ 0,857.

Как следует из результатов расчета (таблица В.16), полученный наименьший коэффициент устойчивости К = 0,831 меньше минимально требуемого К = 0,857 примерно на 3%, что находится в пределах точности использованных способов расчета. Допустимо считать, что общая устойчивость причала обеспечивается.



© 2013 Ёшкин Кот :-)