Информационная система
«Ёшкин Кот»

XXXecatmenu

Министерство химического и нефтяного машиностроения СССР

НПО "Волгограднефтемаш"

ВСЕСОЮЗНЫЙ НАУЧНО-ИССЛЕДОВАТЕЛЬСКИЙ И ПРОЕКТНЫЙ ИНСТИТУТ ТЕХНОЛОГИИ ХИМИЧЕСКОГО И НЕФТЯНОГО АППАРАТОСТРОЕНИЯ

РУКОВОДЯЩИЙ ДОКУМЕНТ

СОЕДИНЕНИЯ СВАРНЫЕ.
МЕХАНИЧЕСКИЕ ИСПЫТАНИЯ

РД 26-11-08-86

Волгоград

УТВЕРЖДЕН И ВВЕДЕН В ДЕЙСТВИЕ ПИСЬМОМ Министерства химического и нефтяного машиностроения от 10 марта 1966 г. № 11-10-4/217

ИСПОЛНИТЕЛИ:

В.А. Крошкин, Е.П. Рублев, Ф.С. Кузнецов, В.В. Агафонов, О.Н. Моргунова

СОГЛАСОВАНО:

с НИИХИММАШем

с ЦКБН

с ВНИИНЕФТЕМАШем

с ЦК профсоюзов работников тяжелого машиностроения

РУКОВОДЯЩИЙ ДОКУМЕНТ

СОЕДИНЕНИЯ СВАРНЫЕ.
МЕХАНИЧЕСКИЕ ИСПЫТАНИЯ

РД 26-11-08-86

Взамен РТМ 26-336-79

Срок введения установлен

с 1 января 1987 г.

Настоящий руководящий документ устанавливает основные виды механических испытаний, порядок и методы отбора проб, изготовления образцов, проведения испытаний, а также оценку механических свойств сварных соединений сосудов, аппаратов, трубопроводов и деталей трубопроводов в химическом, нефтяном и газовом машиностроении.

1. ОБЩИЕ ПОЛОЖЕНИЯ

1. Контроль качества сварного соединения в целом и его отдельных участков, а также наплавленного металла методами механических испытаний осуществляется в соответствии с действующей нормативно-технической документацией и "Правилами устройства и безопасной эксплуатации сосудов, работающих под давлением", утвержденными Госгортехнадзором СССР, СТ СЭВ 798-77, СТ СЭВ 799-77, СТ СЭВ 800-77.

1.2. Контроль качества сварного соединения, а также наплавленного металла методами механических испытаний или измерением твердости осуществляется в объеме, указанном в нормативно-технической документации на контролируемое изделие.

1.3. Механические испытания проводятся с целью определения качества изделия и сварочных материалов, показателей свариваемости металлов и сплавов, пригодности способов и режимов сварки при установлении квалификации сварщиков. Конкретная цель испытаний указывается в технических условиях на контролируемое изделие.

2. МЕТОДЫ МЕХАНИЧЕСКИХ ИСПЫТАНИЙ

2.1. Виды испытаний

2.1.1. Основными методами определения характеристик механических свойств сварного соединения в целом и его отдельных участков, а также наплавленного металла являются:

испытание металла различных участков сварного соединения и наплавленного металла на статическое растяжение;

испытание металла различных участков сварного соединения и наплавленного металла на ударный изгиб (на надрезанных образцах);

испытание сварного соединения на статическое растяжение;

испытание металла различных участков сварного соединения на стойкость против механического старения;

испытание сварного соединения и наплавленного металла на (технологическая проба с наплавленным валиком) статический изгиб (загиб);

измерение твердости различных участков сварного соединения и наплавленного металла.

2.1.2. Выбор метода и температуры испытаний, типа образца предусматривается в нормативно-технической документации на контролируемое изделие, устанавливающей технические требования на нее.

2.1.3. При определении характеристик механических свойств сварного соединения в целом и его отдельных участков, а также наплавленного металла в качестве испытательных машин и приборов применяется испытательное оборудование всех систем при условии соответствия их требованиям ГОСТ 7855-74.

2.2. Проведение испытаний на статическое растяжение

2.2.1. Испытание на статическое растяжение при пониженной, комнатной и повышенной температурах проводится для определения следующих характеристик механических свойств материалов:

предела текучести (физического) sТ, кгс/мм2(Н/м2);

предела текучести (условного) s0,2, кгс/мм2(Н/м2);

временного сопротивления sВ, кгс/мм2(Н/м2);

относительного удлинения после разрыва d, %;

относительного сужения после разрыва y, %.

Физический предел текучести оценивают при растяжении как частное от деления нагрузки РТ (соответствует площадке текучести или явно выраженной остановке стрелки шкалы силоизмерительного устройства испытательной машины) к начальной площади поперечного сечения образца (F0):

Условный предел текучести оценивают при растяжении как частное от деления нагрузки Р0,2 (нагрузка, отвечающая пределу текучести при допуске 0,2% на величину остаточного удлинения) к начальной площади поперечного сечения образца (F0):

Временное сопротивление разрыву при растяжении оценивают как частное от деления наибольшей нагрузки РВ, отнесенной условно к начальной площади поперечного сечения образца (F0):

Относительное удлинение после разрыва (d) оценивают как отношение приращения длины образца (после разрыва) к его первоначальной длине, выраженное в процентах:

где lK - конечная расчетная длина образца после разрыва, мм;

l0 - начальная расчетная длина, мм.

Относительное сужение после разрыва (y) оценивают как отношение уменьшения площади поперечного сечения образца в месте разрыва к начальной площади поперечного сечения образца, выраженное в процентах:

где F0 - начальная площадь поперечного сечения образца, мм;

FK - площадь поперечного сечения образца в месте разрыва (шейке), мм.

Определение характеристик механических свойств (sТ, sВ, d, y) проводят для наплавленного металла, металла шва и различных участков околошовной зоны.

При испытании сварного соединения на статическое растяжение определяют только временное сопротивление (sВ) наиболее слабого участка.

2.2.2. Для испытания на статическое растяжение приняты цилиндрические образцы диаметром 3 мм и более и плоские толщиной 0,5 мм и более с начальной расчетной длиной (короткие пропорциональные образцы) или  (длинные пропорциональные образцы).

Применение коротких пропорциональных образцов предпочтительнее. Допускается применять образцы с расчетной длиной , которая должна быть указана в нормативно-технической документации на контролируемое изделие.

2.2.3. Границы начальной расчетной длины наносят на образце с точностью до 1% от ее величины неглубокими кернами, рисками или иными метками.

На образцах из хрупкого материала границы расчетной длины наносят электроискровым методом или другими способами, исключающими повреждение поверхности образца.

Начальную расчетную длину округляют в большую сторону. Для коротких пропорциональных образцов округляют до ближайшего числа, кратного 5 мм; для длинных пропорциональных образцов - до ближайшего числа, кратного 10 мм.

2.2.4. Измерение начальной и конечной расчетных длин образцов до испытания производят с точностью до 0,1 мм.

Поперечное сечение цилиндрических образцов диаметром 6 мм и менее, плоских образцов толщиной 2 мм и менее до испытания измеряют с точностью до 0,01мм, поперечное сечение цилиндрических образцов диаметром более 6 мм и плоских образцов толщиной 2 мм и более - до 0,05 мм.

Диаметр по рабочей части цилиндрического образца, толщина и ширина плоских образцов измеряются не менее чем в трех местах (в середине и по краям рабочей части образца) при помощи микрометра. По наименьшим из полученных размеров вычисляют площадь поперечного сечения образца с округлением в следующих пределах:

площадь до 100 мм2 округляют до 0,1 мм2;

площадь свыше 100 мм2 до 200 мм округляют до 0,5 мм2;

площадь свыше 200 мм2 округляют до 1,0 мм2.

Расчетная длина измеряется штангенциркулем с ценой деления не более 0,05 мм. Измерение образцов после испытания производят с точностью до 0,1 мм.

2.2.5. Испытание на статическое растяжение при комнатной температуре (20+10-5°С) производят с соблюдением требований ГОСТ 1497-84, при повышенной температуре - ГОСТ 9651-84, при пониженной температуре - ГОСТ 11150-64, сварных соединений - ГОСТ 6996-66 (изменения №1 и 2).

2.2.6. Для проведения испытаний на статическое растяжение при пониженной, комнатной и повышенной температурах допускается применение разрывных и универсальных машин всех систем, рабочее пространство которых позволяет устанавливать нагревательное устройство или сосуд с охлаждающей жидкостью.

2.2.7. При проведении испытаний на статическое растяжение должны соблюдаться следующие основные условия:

надежное центрирование образца в захватах испытательной машины;

плавность нагружения;

скорость перемещения подвижного захвата при испытании до предела текучести не более 0,1, за пределом текучести - не более 0,4 длины расчетной части, мм/мин;

возможность приостанавливать нагружение с точностью до одного наименьшего деления шкалы силоизмерителя;

плавность разгрузки.

2.2.8. При проведении испытаний на статическое растяжение при повышенной температуре должны соблюдаться следующие основные условия:

надежное центрирование образца в удлинительных штангах и захватах испытательной машины;

нагревательное устройство должно обеспечивать равномерный нагрев образца по всей его рабочей длине и поддержание заданной температуры в установленных пределах в течение всего времени испытания;

общая длина или высота рабочего пространства нагревательного устройства должна составлять, как минимум, в пять раз больше начальной расчетной длины образца;

для измерений температуры на образце устанавливаются две термопары (на границах расчетной длины) - при l0 £ 100 мм, три термопары (на границах и в середине расчетной длины) - при l0>100 мм, одна термопара (в средней части образца) - при l0£50 мм;

отклонения от заданной температуры испытания не должны превышать при температуре нагрева до 600°С … ±3°С, при температуре нагрева от 600°С до 900°С ... ±4°С, при температуре нагрева от 900°С до 1200°С ... ±C;

скорость нагрева до заданной температуры и время выдержки при температуре испытания должны быть указаны в нормативно-технической документации на контролируемое изделие. При отсутствии подобных указании продолжительность нагрева до температуры испытания от 20 до 30 мин;

измерение температуры должно проводиться приборами класса точности - не ниже 0,5.

2.2.9. При проведении испытаний на статическое растяжение при пониженной температуре должны соблюдаться основные условия:

надежное центрирование образца в удлинительных штангах (или реверсоре) и захватах испытательной машины;

устройство с теплоизолирующими стенками (приложение 1), содержащее охлаждающую жидкость, должно обеспечивать равномерное охлаждение образца по всей его рабочей длине и сохранение заданной температуры в установленных пределах на протяжении всего испытания;

для охлаждения образцов до температуры минус 60°С (213K) применяется смесь этилового спирта или ацетона с сухим льдом, в интервале температур от минус 60°С (213K) до минус 100°С (173К) - смесь этилового спирта с жидким азотом, использование жидкого азота без этилового спирта позволяет получить температуру минус 196°С (77К);

изменение температуры охлаждающих смесей достигается соотношением компонентов;

отклонения от заданной температуры испытания не должны превышать следующих величин:

±2° для температур до минус 60°С (213К);

±5° для температур ниже минус 60°С (213К);

температуру охлаждающей жидкости измеряют термометрами любого типа (спиртовыми, толуоловыми и др.) с погрешностью не более 0,5° на шкалу измерения или термопарами (медно-константановыми);

время выдержки образца при заданной температуре указывается в нормативно-технической документации на контролируемое изделие. Если указание отсутствует, то выдержку образца в жидкой охлаждающей среде следует установить для круглых цилиндрических образцов диаметром до 6 мм и плоских образцов толщиной до 4 мм - не менее 10 мин, для круглых цилиндрических образцов диаметром более 6 мм и для плоских образцов толщиной более 4мм - не менее 15 мин.

2.2.10. Термопары, применяемые для контроля температуры, подлежат периодической поверке в соответствии с инструкцией Государственного комитета стандартов при Совете министров СССР.

2.2.11. Результаты испытания образцов на статическое растяжение считаются недействительными:

при разрыве образца по кернам (рискам), если при этом какая-либо характеристика по своей величине не отвечает установленным требованиям;

при разрыве образца в захватах испытательной машины или за пределами расчетной длины (при определении относительного удлинения);

при разрыве образца по дефектам металлургического или сварочного производства (расслой, газовые или шлаковые включения, раковины, плены и т.д.);

при образовании двух или более мест разрыва (шеек);

при обнаружении ошибок в проведении испытаний;

в случае нарушения температурного режима испытаний.

В указанных случаях испытание на статическое растяжение должно быть повторено на том же количестве новых образцов, отобранных от той же партии или контрольного соединения.

2.2.12. Исходные данные и результаты испытания записываются в протоколе (журнале) испытания (приложение 2).

2.3. Проведение испытаний на статический изгиб

2.3.1. Испытание на статический изгиб проводится для определения способности металла выдерживать заданную пластическую деформацию, характеризуемую углом изгиба, или для оценки предельной пластичности металла при изгибе. Предельная пластичность характеризуется углом изгиба до образования первой трещины.

2.3.2. испытание на изгиб проводят на универсальных испытательных машинах или прессах.

Образцы толщиной менее 4 мм разрешается испытывать на изгиб вокруг жестко закрепленной на тисках оправки.

2.3.3. Отбор заготовок для изготовления образцов на статический изгиб производится в соответствии с ГОСТ 7564-73, ГОСТ 6996-66, а испытание образцов - с ГОСТ 14019-80.

2.3.4. При изготовлении образца на его гранях после механической обработки не должно быть поперечных рисок от режущего инструмента. Шероховатость поверхности образца после механической обработки - не ниже требований ГОСТ 14019-80, ГОСТ 6996-66.

2.3.5. Испытание на статический изгиб может проводиться:

до определенного угла (черт.1);

до параллельности сторон (черт.2);

вплотную до соприкосновения сторон (черт.3).

Вид изгиба должен быть оговорен в нормативно-технической документации на контролируемое изделие.

2.3.6. Обязательным условием проведения испытаний на статический изгиб является плавность нарастания нагрузки на образец. Испытания проводят со скоростью деформации не более 15 мм/мин.

СХЕМА ИСПЫТАНИЯ НА ИЗГИБ ДО ОПРЕДЕЛЕННОГО УГЛА

Черт. 1

СХЕМА ИСПЫТАНИЯ НА ИЗГИБ ДО ПАРАЛЛЕЛЬНОСТИ СТОРОН

Черт. 2

СХЕМА ИСПЫТАНИЯ НА ИЗГИБ ВПЛОТНУЮ ДО СОПРИКОСНОВЕНИЯ СТОРОН

Черт. 3

СХЕМА ИСПЫТАНИЯ НА ИЗГИБ ДО СОПРИКОСНОВЕНИЯ СТОРОН С ПРОКЛАДКОЙ

Черт. 4

2.3.7. При испытании на статический изгиб до определенного угла образец, лежащий в горизонтальной плоскости на двух параллельных цилиндрических опорах, при помощи оправки изгибают до заданного угла a (внешний угол между одной стороной образца и продолжением другой). При установке на опоры продольная ось образца должна быть перпендикулярна оси изгиба. Угол изгиба измеряют без снятия нагрузки.

Ширина оправки и опор должна быть больше ширины образца. Расстояние между опорами, если оно не оговаривается в нормативно-технической документации на изделие, принимает равным D+2,5 с округлением до 1 мм в большую сторону.

2.3.8. Испытание на статический изгиб до появления первой трещины проводят по той же методике, что и изгиб до определенного угла. Угол изгиба измеряют после снятия нагрузки на специальном приспособлении (приложение 3).

2.3.9. Испытание на статический изгиб до параллельности сторон производят после предварительного изгиба образца на угол не менее 150°. Догиб продолжают между параллельными плоскостями до соприкосновения сторон образца с прокладкой толщиной, равной толщине (диаметру) оправки (черт.4).

2.3.10. Определение результатов испытаний на статический изгиб производят в соответствии с требованиями нормативно-технической документации на контролируемое изделие. Если таких указаний не имеется, то признаком того, что образец выдержал испытание на изгиб, служит отсутствие излома, а также расслоений, надрывов и трещин, видимых невооруженным глазом.

2.4. Проведение испытаний на ударный изгиб

2.4.1. Испытание на ударный изгиб призматических образцов с надрезом при пониженной, комнатной и повышенной температурах металлов и сплавов, а также сварных соединений регламентировано ГОСТ 9454-78, ГОСТ 6996-66.

2.4.2. Метод испытания на ударный изгиб основан на разрушении образца с концентратором посередине одним ударом маятникового копра. Работа удара (К) определяется по шкале маятникового копра. Ударная вязкость (КС) оценивается как частное от деления работы удара к начальной площади поперечного сечения образца в месте концентратора.

2.4.3. Испытание на ударный изгиб при пониженной, комнатной (20±10°С) и повышенной температурах проводят на маятниковых копрах с энергией маятника, достаточной для разрушения образца с надрезом (ГОСТ 10708-82).

Копер должен быть укомплектован шаблонами и приспособлениями для регулировки положения опор относительно маятника, установки образца на опорах.

2.4.4. Температурой испытания на ударный изгиб считается температура образца в момент удара. Температуру испытания указывают в нормативно-технической документации на контролируемое изделие.

2.4.5. Охлаждение образцов на ударный изгиб производят в сосуде с термоизолирующими стенками (приложение 4). Емкость сосуда должна обеспечить достаточно быстрое и равномерное охлаждение образцов, а также возможность контроля и поддержания заданной температуры.

2.4.6. Рабочей жидкостью для охлаждения является до температуры минус 60°С (213К) смесь этилового спирта или ацетона с сухим льдом, до минус 100°С (173К) смесь этилового спирта с жидким азотом. Использование жидкого азота позволяет получить температуру в интервале от минус 100°С (173К) до минус 180°С (93К) в зависимости от времени нахождения охлажденного образца на воздухе (приложение 5).

2.4.7. Контроль температуры охлаждаемых образцов в термостате осуществляется термометрами (спиртовыми, толуоловыми и др.) с погрешностью измерения не более ±0,5°C.

2.4.8. Нагрев образцов на ударный изгиб в интервала температур от плюс 20°С до плюс 100°С производят в воде, а в интервале температур выше плюс 100°C - в муфельных печах.

2.4.9. Контроль температуры нагрева образцов осуществляется термометрами или термопарами.

Погрешность измерения температуры не должна превышать:

±3°С - при температуре нагрева до плюс 600°С;

±8°С - при температуре нагрева свыше плюс 600°С.

2.4.10. Для обеспечения требуемой температуры испытания образцы перед установкой на копер должны быть переохлаждены (при температуре испытания ниже комнатной) или перегреты (при температуре испытания выше комнатной). Температура переохлаждения или перегрева образцов, при условии, что они могут быть испытаны не позднее чем через 3-5 с после извлечения из охлаждающего сосуда или нагревательного устройства, указана в приложении 6.

2.4.11. Выдержка образцов при заданной температуре (с учетом необходимого переохлаждения или перегрева) должна быть не менее 15 мин.

2.4.12. Установка образца производится с помощью шаблона (приложение 7), обеспечивающего симметричное расположение концентратора относительно опор с погрешностью не более ±0,5 мм.

2.4.13. Ударную вязкость (КС) в Дж/м2 (кгс×м/см2) оценивают по формуле:

где К - работа удара, Дж (кгс×м);

S0 - начальная площадь поперечного сечения образца в месте концентратора, м2(см2), вычисляемая по формуле:

S0=НВ,

где Н - начальная высота рабочей части образца, м(см);

В - начальная ширина образца, м(см).

Н и В измеряют с абсолютной погрешностью не более ±0,05 мм.

Ударная вязкость обозначается сочетанием букв и цифр. Например, KCU-40300/2/1 - ударная вязкость, определенная на образце с концентратором вида "U" при температуре минус 40°С. Максимальная энергия маятника 300 Дж, глубина концентратора 2 мм, ширина образца 10 мм.

2.4.14. Если в результате испытания образец не разрушился полностью, то показатель ударной вязкости материала считается неустановленно большим. В протоколе испытания указывается, что образец при максимальной энергии удара маятника имеет ударную вязкость больше конкретной величины (получаемой расчетом применительно к данным условиям испытаний).

2.4.15. Исходные данные и результаты испытания записываются в протоколе (журнале) испытания (приложение 8).

3. ОПРЕДЕЛЕНИЕ ХАРАКТЕРИСТИК МЕХАНИЧЕСКИХ СВОЙСТВ СВАРНОГО СОЕДИНЕНИЯ

3.1. Отбор проб и заготовок

3.1.1. Определение характеристик механических свойств сварного соединения в целом и его отдельных участков, а также наплавленного металла методами механических испытаний производится на образцах, отбираемых непосредственно из контролируемого изделия или из специально сваренных контрольных соединений.

Если форма сварного соединения исключает возможность изготовления образцов данного типа (деталей сложной конфигурации, труб и т.д.), то образцы могут быть отобраны от специально сваренных плоских контрольных соединений.

3.1.2. Сварка контрольных соединений производится в условиях, тождественных условиям сварки контролируемого изделия с применением тех же способов подготовки под сварку, химического состава, основного металла и сварочных материалов, режимов сварки.

Если контролируемое изделие после сварки подлежит термообработке, все контрольные соединения перед разрезкой их на образцы должны быть подвергнуты той же термической обработке, что и основное контролируемое изделие.

3.1.3. Размеры контрольного соединения должны быть достаточными для проведения испытаний и для повторения этих испытаний на удвоенном количестве образцов в случае получения неудовлетворительных результатов на отдельных образцах. В случае невозможности изготовления из одного контрольного соединения требуемого количества образцов количество свариваемых контрольных соединений должно быть соответственно увеличено.

Примечание. Контрольная пластина при сварке продольных швов обечаек по возможности должна быть продолжением шва обечайки.

3.1.4. Для контрольных соединений, выполняемых дуговой, электрошлаковой и газовой сваркой из плоских элементов, ширина каждой свариваемой пластины, если нет иных указаний в нормативно-технической документации, должна быть не менее:

50 мм - при толщине металла до 4 мм;

70 мм - при толщине металла свыше 4 до 10 мм;

100 мм - при толщине металла свыше 10 до 20 мм;

125 мм - при толщине металла свыше 20 до 40 мм;

150 мм - при толщине металла свыше 40 до 80 мм;

200 мм - при толщине металла свыше 80 мм.

Размеры пластин для контрольных соединений, выполняемых другими способами сварки, не указанными выше, устанавливаются соответствующей нормативно-технической документацией.

Размеры проб, вырезаемых из контролируемой конструкции, определяются количеством и размерами образцов.

3.1.5. Сварка контрольных соединений производится под наблюдением контролера ОТК. На контрольное соединение сварщик наносит свое клеймо, а контролер, присутствующий при сварке, заверяет пластину своим клеймом. Клейма наносятся со стороны сварки последнего прохода.

3.1.6. При разметке сварного контрольного соединения должны быть учтены припуски на последующую механическую обработку образцов и ширину реза. Разметка контрольных соединений производится в соответствии со схемами вырезки заготовок образцов на каждый тип контролируемого изделия.

3.1.7. Разделка контрольных сварных соединений на заготовки может производиться механическим способом (на металлорежущих станках, механических пилах, штампах), а также газокислородной резкой с припуском на механическую обработку для удаления зоны термического влияния. Припуск должен составлять от 5 до 10 мм на сторону при газовой резке углеродистых сталей, 15 мм - при кислородно-флюсовой резке нержавеющих сталей и 5 мм - при плазменной резке.

3.1.8. Поле разметки (до вырезки заготовок образцов) в присутствии контролера ОТК на каждую заготовку переносится с маркировки контрольного соединения марка стали, номер чертежа изделия, номер заготовки или образца, номер заявки для ЦЗЛ и личное клеймо сварщика.

Клейма ставятся по продольной оси заготовки образца вне рабочей его части при обязательном сохранении сторон клеймения (сторона наложения последнего прохода шва). Остаток контрольного соединения клеймится этим же клеймом и хранится цехом на случай повторного проведения испытаний.

3.2. Форма и размеры образцов на статическое растяжение и изгиб

3.2.1. Разрезка сварного контрольного соединения толщиной основного металла менее 50 мм и изготовление образцов для определения характеристик механических свойств производится по схеме черт. 5.

3.2.2. Испытание на статическое растяжение сварного соединения производится не менее чем на двух образцах типа XII или XIII, ГОСТ 6996-66, которые представлены на черт. 6 и 7. Для сварного соединения из основного металла толщиной более 20 мм при недостаточной мощности испытательных машин допускается изготовление образцов типа ХV, ГОСТ 6996-66. Размеры плоских образцов на статическое растяжение приведены в табл. 1.

Допускается испытание на статическое растяжение сварного соединения производить на круглых цилиндрических образцах типа II, III, ГОСТ 6996-66.

3.2.3. Испытание на статический изгиб сварного соединения производится не менее чем на двух образцах типа ХХVII, ГОСТ 6996-66 (черт. 8). Толщина образцов при этом равна:

толщине основного металла для металла толщиной до 20 мм;

20 мм для металла толщиной свыше 20 мм.

Испытание на статический изгиб производится по схеме, приведенной на черт.9.

3.2.4. Требования по изготовлению плоских образцов для испытания на статическое растяжение (см. черт. 6, 7) состоят в следующем:

припуск по ширине образца снимается равномерно с обеих сторон;

усиление шва снимается до уровня основного металла;

основной металл разрешается сострагивать на глубину не более 1 мм с каждой стороны;

СХЕМА РАЗРЕЗКИ КОНТРОЛЬНЫХ ПЛАСТИН СВАРНЫХ СОЕДИНЕНИЙ ТОЛЩИНОЙ ОСНОВНОГО МЕТАЛЛА МЕНЕЕ 50 мм

*Длина контрольной пластины сварного соединения зависит от толщины свариваемого металла, метода сварки, типа и количества одновременно вырезаемых образцов, способа вырезки и остатка пластины для проведения повторных испытаний.

Черт. 5

ОБРАЗЕЦ ПЛОСКИЙ ДЛЯ ИСПЫТАНИЯ НА СТАТИЧЕСКОЕ РАСТЯЖЕНИЕ.

Черт. 6

ОБРАЗЕЦ ПЛОСКИЙ ДЛЯ ИСПЫТАНИЯ НА СТАТИЧЕСКОЕ РАСТЯЖЕНИЕ.

Примечание. Допускается образец типа XV изготавливать без головки

Черт.7

ТАБЛИЦА 1

РАЗМЕРЫ ОБРАЗЦОВ ПЛОСКИХ ДЛЯ СТАТИЧЕСКОГО РАСТЯЖЕНИЯ

мм

Толщина основного металла

Ширина рабочей части образца

Ширина захватной части образца

Длина рабочей части образца

Общая длина образца

До 6 вкл.

15±0,5

25

50

200

От 6 до 10

20±0,5

30

60

210

" 10 " 20

25±0,5

35

100

250

Более 20

10±0,5

20

100

280

ОБРАЗЕЦ НА СТАТИЧЕСКИЙ ИЗГИБ СВАРНОГО СОЕДИНЕНИЯ ТОЛЩИНОЙ ОСНОВНОГО МЕТАЛЛА ДО 60 мм. ТИП XХVII

Черт. 8

СХЕМА ИСПЫТАНИЯ НА СТАТИЧЕСКИЙ ИЗГИБ СВАРНОГО СОЕДИНЕНИЯ

K=2,5D - расстояние между опорами (для образца типа ХХVII);

D - диаметр оправки, мм (принимается в зависимости от марки стали, толщины металла, способа термообработки и должен оговариваться в нормативно-технической документации на контролируемое изделие. При отсутствии специальных указании D=2a);

r=25 мм - радиус закругления опор

Черт.9

при испытании сварного соединения из металла разной толщины более толстый лист путем механической обработки на металлорежущих станках должен быть доведен до толщины более тонкого листа;

разность наибольшего и наименьшего размера b на длине l:

±0,05 мм - при а = 10 мм;

±0,10 мм - при а от 10 мм до 15 мм;

±0,15 мм - при а от 15 мм до 20 мм;

±0,20 мм - при а более 20 мм;

снимать утолщение следует поперек шва. Поперечные риски не допускаются;

закругление кромок на гранях образца следует удалять легким заглаживанием вдоль образца радиусом не более 1 мм;

маркировка наносится на нерабочей части образца.

3.2.5. Требования по изготовлению образцов на статический изгиб (см. черт. 8) состоят в следующем:

ширина образца b равна 1,5×а, но не менее 10 мм;

припуск по ширине образца снимается равномерно с обеих сторон;

усиление шва снимается до уровня основного металла;

при испытании сварного соединения из металла разной толщины более толстый лист путем механической обработки на металлорежущих станках должен быть доведен до толщины, более тонкого листа;

основной металл разрешается сострагивать на глубину не более 1 мм с каждой стороны;

на длине L/3 округлить кромки радиусом 0,2а, но не более 3 мм;

зачистку шва производить вдоль образца. Поперечные риски не допускаются;

при испытании сварных соединений с односторонним швом в растянутой зоне образца должны располагаться поверхностные слои шва;

при испытании сварного соединения с двусторонним швом в растянутой зоне образца должны располагаться поверхностные слои шва;

маркировка наносится только со стороны последнего прохода шва вне расчетной части (L/3) образца.

3.3. Форма и размеры образцов на статическое растяжение и изгиб из сварных контрольных соединений толщиной более 50 мм

3.3.1. При недостаточной мощности испытательных машин испытание на статический изгиб сварных образцов толщиной основного металла 50 мм и более практически невозможно. ГОСТ 6996-66 предусматривает в таких случаях проводить испытание по специальным техническим условиям.

3.3.2. Сварное контрольное соединение при толщине основного металла более 50 мм разделывается на заготовки для образцов (черт. 10, 11, 12). Размеры сварного контрольного соединения принимаются по табл. 2, 3.

3.3.3. При разметке сварного контрольного соединения должны быть учтены припуски на последующую механическую обработку и ширину реза, которые представлены в табл. 4, 5. Размеры образцов на статическое растяжение и изгиб по схеме разрезки черт. 11 приведены в табл. 6, а по схеме черт. 12 - в табл. 7.

3.3.4. При толщине основного металла сварного контрольного соединения от 50 до 65 мм испытание на статический изгиб производится на двух образцах.

Со стороны последнего прохода шва заподлицо с основным металлом вдоль образца разрешается сострагивать основной металл на глубину не более 1 мм. С противоположной стороны образец сострагивается до толщины 40 мм (но не менее 30 мм). По ширине образец сострагивается в размер В = 1,5а, как указано на схеме черт. 10.

3.3.5. При толщине основного металла сварного соединения от 70 до 100 мм испытание на статический изгиб производится на трех образцах, отображаемых в соответствии со схемой черт. 11.

3.3.6. При толщине основного металла сварного контрольного соединения от 110 до 150 мм испытание на статический изгиб производится на трех образцах в соответствии со схемой черт. 12.

3.3.7. Ширина образца дли испытания на статический изгиб во всех случаях равна В=1,5а.

3.3.8. Заготовку для образцов на статический изгиб строгать равномерно с двух строи по ширине до размера, равного полутора толщинам образца В=1,5а, где а - толщина образца, вычисляемая для толщины основного металла от 70 до 100 мм по формуле:

и для толщины основного металла от 110 до 150 мм по формуле:

где d - толщина основного металла, мм;

b' - ширина реза, мм (не более 15 мм).

СХЕМА РАЗРЕЗКИ КОНТРОЛЬНЫХ ПЛАСТИН СВАРНЫХ СОЕДИНЕНИЙ ПРИ ТОЛЩИНЕ ОСНОВНОГО МЕТАЛЛА 50-65 мм

ОБРАЗЕЦ ДЛЯ ИСПЫТАНИЯ НА СТАТИЧЕСКОЕ РАСТЯЖЕНИЕ

а = 40 мм - толщина образца на статический изгиб;

В = 1,5а = 60 мм - ширина образца на статический изгиб

Черт. 10

СХЕМА РАЗРЕЗКИ КОНТРОЛЬНЫХ ПЛАСТИН СВАРНЫХ СОЕДИНЕНИЙ ПРИ ТОЛЩИНЕ ОСНОВНОГО МЕТАЛЛА 70-100 мм

Толщина образца

где d - толщина листа, мм;

b' - ширина реза, мм (не более 15 мм);

а - толщина образца на изгиб, мм;

В=1,5а - ширина образца на изгиб, мм;

b=10 - ширина разрывного образца, мм

Черт. 11

СХЕМА РАЗРЕЗКИ КОНТРОЛЬНЫХ ПЛАСТИН CBAPHЫX СОЕДИНЕНИЙ ПРИ ТОЛЩИНЕ ОСНОВНОГО МЕТАЛЛА 110-150 мм И БОЛЕЕ

Толщина образца

где d - толщина листа, мм;

b' - ширина реза, мм (не более 15 мм);

а - толщина образца на изгиб, мм;

В=1,5а - ширина образца на изгиб, мм;

b=10 - ширина образца на растяжение, мм

Черт. 12


Таблица 2

РАЗМЕРЫ СВАРНЫХ КОНТРОЛЬНЫХ СОЕДИНЕНИЙ ИЗ УГЛЕРОДИСТЫХ СТАЛЕЙ ДЛЯ ТОЛЩИН МЕТАЛЛА БОЛЕЕ 50 мм

мм

Толщина металла

Длина контрольных пластин

Ручная сварка

Автоматическая и электрошлаковая сварка

В том числе отходы

Вид испытаний

Ручная сварка

Автомат. и электрошлаковая сварка

Растяжение, изгиб

Растяжение, изгиб, ударный изгиб

Растяжение, изгиб, металлография

Растяжение, изгиб, ударный изгиб металлография

Растяжение, изгиб

Растяжение, изгиб, ударный изгиб

Растяжение, изгиб, металлография

Растяжение, изгиб, ударный изгиб металлография

А

С

А

С

50-65

750

1150

900

1250

900

1250

1000

1350

30

30

60

100

70

750

850

850

950

850

950

950

1100

 

 

 

 

80

750

850

900

1000

850

1000

1000

1100

30

30

60

100

90

800

900

900

1000

900

1000

1000

1100

 

 

 

 

100

850

950

950

1100

950

1100

1100

1200

 

 

 

 

110

400

500

500

650

500

600

600

750

 

 

 

 

120

400

550

550

650

500

650

650

750

30

30

60

100

130

450

550

550

650

550

650

650

800

 

 

 

 

140

450

550

550

700

550

650

650

800

 

 

 

 

150 и более

450

600

600

700

550

700

700

800

 

 

 

 

Таблица 3

РАЗМЕРЫ СВАРНЫХ КОНТРОЛЬНЫХ СОЕДИНЕНИЙ ИЗ НЕРЖАВЕЮЩИХ И ДВУХСЛОЙНЫХ СТАЛЕЙ ДЛЯ ТОЛЩИН МЕТАЛЛА БОЛЕЕ 50 мм

мм

Толщина металла

Длина контрольных пластин

 

Ручная сварка

Автоматическая и электрошлаковая сварка

Ручная сварка

Автоматическая и электрошлаковая сварка

 

Вид испытаний

 

Растяжение, изгиб

Растяжение, изгиб, ударный изгиб

Растяжение, изгиб, металлография

Растяжение, изгиб, ударный изгиб, металлография

Растяжение, изгиб, ударный изгиб, МКК, металлография

МКК

Растяжение, изгиб

Растяжение, изгиб, ударный изгиб

Растяжение, изгиб, металлография

Растяжение, изгиб, ударный изгиб, металлография

Растяжение, изгиб, ударный изгиб, МКК, металлография

МКК

А

С

А

С

Нержавеющая сталь

Двухслойная сталь

Нержавеющая сталь

Двухслойная сталь

 

50-65

850

950

950

1100

1200

350

450

850

1050

1050

1150

1250

430

550

30

30

60

100

 

70

800

950

950

1100

1150

300

360

900

1050

1050

1150

1250

370

460

 

 

 

 

 

80

850

1000

1000

1100

1200

300

360

950

1100

1100

1200

1300

370

460

 

 

 

 

 

90

000

1000

1000

1150

1200

300

360

1000

1100

1100

1250

1300

370

460

30

30

60

100

 

100

950

1100

1100

1200

1250

300

360

1050

1200

1150

1300

1350

370

460

 

 

 

 

 

110

450

550

550

700

750

300

360

550

650

650

800

850

370

460

 

 

 

 

 

120

450

600

600

700

800

300

360

650

700

700

800

900

370

460

 

 

 

 

 

130

450

600

600

750

800

300

360

550

700

700

850

900

370

460

30

30

60

100

 

140

500

600

600

750

800

300

360

600

700

700

850

900

370

460

 

 

 

 

 

I50 и более

500

650

650

750

850

300

360

600

750

750

850

950

370

460

 

 

 

 

 

Таблица 4

РАЗМЕРЫ ЗАГОТОВОК И ЧИСТОВЫЕ РАЗМЕРЫ ОБРАЗЦОВ ДЛЯ ИСПЫТАНИЯ СВАРНЫХ СОЕДИНЕНИЙ ИЗ УГЛЕРОДИСТЫХ СТАЛЕЙ ДЛЯ ТОЛЩИН МЕТАЛЛА БОЛЕЕ 50 мм

мм

Толщина металла

Образец на растяжение

Образец на загиб

Образец на ударный изгиб

Металлография

Ширина заготовки с припуском на обе стороны

Ширина образца (чистовой размер)

Ширина заготовки с припуском на обе стороны

Ширина образца (чистовой размер)

Ширина заготовки

Ширина образца (чистовой размер)

Длина образца (чистовой размер)

Ширина заготовки

Ширина образца (чистовой размер)

50-65

40/15

10

80

60

40/15

10

55

40/15

10

70

 

 

70

45

 

 

 

 

 

80

 

 

75

50

 

 

 

 

 

90

40/15

10

80

58

40/15

10

55

40/15

10

100

 

 

90

64

 

 

 

 

 

110

 

 

70

45

 

 

 

 

 

120

 

 

75

48

 

 

 

 

 

130

40/15

10

80

54

40/15

10

55

40/15

10

140

 

 

85

60

 

 

 

 

 

150 и более

 

 

90

63

 

 

 

 

 

Примечания: 1. Размеры заготовок даны с учетом вырезки и должны быть не менее указанных в таблице. В знаменателе указаны размеры заготовок, отобранных механическим способом. Количество образцов на растяжение и загиб принимать по схемам черт. 10, 11, 12.

Таблица 5

РАЗМЕРЫ ЗАГОТОВОК И ЧИСТОВЫЕ РАЗМЕРЫ ОБРАЗЦОВ ДЛЯ ИСПЫТАНИЙ СВАРНЫХ СОЕДИНЕНИЙ ИЗ НЕРЖАВЕЮЩИХ И ДВУХСЛОЙНЫХ СТАЛЕЙ ДЛЯ ТОЛЩИНЫ МЕТАЛЛА БОЛЕЕ 50 мм

мм

Толщина металла

Образец на растяжение

Образец на изгиб

Образец на ударный изгиб

Образец на МКК

Металлография

Ширина заготовки с припуском на обе стороны

Ширина образца (чистовой размер)

Ширина заготовки с припуском на обе стороны

Ширина образца (чистовой размер)

Ширина заготовки

Ширина образца (чистовой размер)

Ширина заготовки

Ширина образца (чистовой размер)

Высота образца (чистовой размер)

Длина образца (чистовой размер)

Ширина заготовки

Ширина заготовки (чистовой размер)

Нержавеющ. сталь

Двухслойная сталь

Нержавеющ. сталь

Двухслойная сталь

Нержавеющ. сталь

Двухслойная сталь

50-65

40/15

10

90

60

40/15

10

30/10

50/30

3

20

20

Толщина плакировочного слоя

80

40/15

10

70

 

 

80

45

 

 

 

 

 

 

 

 

.

 

80

 

 

85

50

 

 

 

 

 

 

 

 

 

 

90

40/15

10

90

58

40/15

10

35/15

50/30

3

20

20

80

45/15

10

100

 

 

100

64

 

 

 

 

 

 

 

 

 

 

110

 

 

80

45

 

 

 

 

 

 

 

 

 

 

120

 

 

85

48

 

.

 

 

 

 

 

 

 

 

130

40/15

10

90

54

40/15

10

35/15

50/30

3

20

20

80

45/15

10

140

 

 

95

60

 

 

 

 

 

 

 

 

 

 

150 и более

 

 

100

63

 

 

 

 

 

 

 

 

 

 

Примечания: 1. Размеры заготовок даны с учетом вырезки и должны быть не менее указанных в таблице. В знаменателе указаны размеры заготовок, отобранных механическим способом.

2. Количество образцов на растяжение и изгиб принимать по схемам черт.10, 11, 12.


Таблица 6

РАЗМЕРЫ ОБРАЗЦОВ НА СТАТИЧЕСКОЕ РАСТЯЖЕНИЕ И ИЗГИБ

мм

Толщина основного металла

Образец на изгиб

Образец на растяжение

Толщина образца

Ширина образца

Толщина образца

Ширина образца

70

28

42

28

10

80

32

48

32

10

90

Ж

57

38

10

100

42

63

42

10

Таблица 7

РАЗМЕРЫ ОБРАЗЦОВ НА СТАТИЧЕСКОЕ РАСТЯЖЕНИЕ И ИЗГИБ

мм

Толщина основного металла

Образец на изгиб

Образец на растяжение

Толщина образца

Ширина образца

Толщина образца

Ширина образца

110

28

42

28

10

120

30

49

30

10

130

34

51

34

10

140

36

64

36

10

180

40

60

40

10

160 и более

42

63

42

10

3.3.9. После обработки боковых поверхностей заготовки и разметки на ней образцов на каждый образец наносится маркировка согласно принятой на заводе инструкции. Маркировка производится методом ударного клеймения или электрографом.

На образцах 1, 2, 3 (см. черт. 10, 11, 12) основание маркировки должно указывать на плоскость, где сварные швы выполнялись в последнюю очередь.

3.3.10. После маркировки производят снятие усиления шва, резку и окончательную обработку в соответствии с ГОСТ 6996-66. После изготовления образцы на статический изгиб подвергают травлению для выявления сварного шва.

3.3.11. При испытании на статический изгиб образец на опоры устанавливают так, чтобы в растянутой зоне образца располагался слой или шов, заваренный последним.

При отсутствии специальных указаний в нормативно-технической документации на контролируемое изделие диаметр оправки при испытании на статический изгиб принимают равным двум толщинам испытуемого образца.

3.3.12. Образцы для испытания на статическое растяжение вырезаются из сварного соединения по схемам черт. 10, 11 и 12. При этом толщина образца на статическое растяжение во всех случаях равна 10 мм, ширина - равна толщине соответствующего образца на статический изгиб, т.е. величине а. Количество испытуемых образцов на статическое растяжение равно количеству образцов на статический изгиб и составляет по схеме черт. 10 два образца, а по схемам черт. 11 и 12 - три образца.

3.3.13. В журнале испытаний указывается номер образца и соответствующие ему результаты испытаний.

Если произошло разрушение образца, в журнале и протоколе испытания указываются дефекты сварного соединения и место появления трещины или разрушения.

3.4. Форма и размеры образцов для определения временного сопротивления металла шва в стыковом соединении

3.4.1. Для определения временного сопротивления металла шва в стыковом соединении применяется плоский образец типа XXIV, ГОСТ 6996-66 (черт. 13). При недостаточной мощности испытательной машины допускается использовать образец типа XXV, ГОСТ 6996-66 (черт. 14). Размеры образцов указаны в табл. 8 и 9.

3.4.2. Требования по изготовлению образцов для определения временного сопротивления металла шва в стыковом соединении состоят в следующем:

толщина или диаметр образца должны равняться толщине или диаметру основного металла;

поперечная ось образца должна совпадать с осью шва. Для односторонних швов разметка поперечной оси производится по узкой части шва. Для двусторонних швов разметку поперечной оси производят после шлифовки и травления боковых поверхностей образца или посередине утолщения шва, сваренного со второй стороны;

утолщение шва снять до уровня основного металла;

утолщение шва строгать поперек направления;

острые кромки плоского образца должны быть закруглены радиусом не более 1 мм путем сглаживания напильником вдоль кромки;

маркировка наносится на нерабочей части образца.

3.5. Форма и размеры образцов для испытания металла шва и различных участков околошовной зоны

3.5.1. Для испытания металла шва, а также металла различных участков околошовной зоны на статическое растяжение при нормальной температуре изготавливается цилиндрический образец (черт. 15), размеры которого приведены в табл. 10 (ГОСТ 6996-66).

3.5.2. Для испытания металла шва, а также металла различных участков околошовной зоны на статическое растяжение при повышенной или пониженной температурах изготавливается цилиндрический образец (черт. 16). Допускается применение пропорционального короткого цилиндрического образца с резьбовой головкой М7 (тип IV, ГОСТ 1497-84).

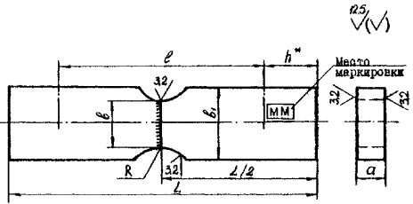
ОБРАЗЕЦ ПЛОСКИЙ НА СТАТИЧЕСКОЕ РАСТЯЖЕНИЕ ДЛЯ ОПРЕДЕЛЕНИЯ ВРЕМЕННОГО СОПРОТИВЛЕНИЯ МЕТАЛЛА ШВА В СТЫКОВОМ СОЕДИНЕНИИ. ТИП ХХIV.

*Длину захватной части образца устанавливают в зависимости от конструкции испытательной машины.

Черт. 13

Таблица 8

РАЗМЕРЫ ПЛОСКИХ ОБРАЗЦОВ НА СТАТИЧЕСКОЕ РАСТЯЖЕНИЕ ДЛЯ ОПРЕДЕЛЕНИЯ ВРЕМЕННОГО СОПРОТИВЛЕНИЯ МЕТАЛЛА ШВА В СТЫКОВОМ СОЕДИНЕНИИ. ТИП ХХIV

мм

Толщина основного металла а

Ширина захватной части образца b1

Ширина рабочей части образца b

Радиус закругления R

Длина рабочей части образца l

Общая длина образца L

До 6

25

15±0,5

6±1

40

180

От 6 до 10

30

20±0,5

12±1

60

200

" 10 " 25

38

25±0,5

20±1

70

230

" 25 " 40

45

30±0,5

25±1

90

300

" 40 " 50

55

35±0,5

30±1

110

300

ОБРАЗЕЦ ЦИЛИНДРИЧЕСКИЙ НА СТАТИЧЕСКОЕ РАСТЯЖЕНИЕ ДЛЯ ОПРЕДЕЛЕНИЯ ВРЕМЕННОГО СОПРОТИВЛЕНИЯ МЕТАЛЛА ШВА В СТЫКОВОМ СОЕДИНЕНИИ. ТИП XXV

Черт. 14

Таблица 9

РАЗМЕРЫ ЦИЛИНДРИЧЕСКИХ ОБРАЗЦОВ НА СТАТИЧЕСКОЕ РАСТЯЖЕНИЕ ДЛЯ ОПРЕДЕЛЕНИЯ ВРЕМЕННОГО СОПРОТИВЛЕНИЯ МЕТАЛЛА ШВА В СТЫКОВОМ СОЕДИНЕНИИ. ТИП ХХV

мм

Диаметр захватной части образца d1

Диаметр рабочей части образца d

Радиус закругления R

Длина рабочей части образца l

Общая длина образца L

До 6

d=0,6d1

R=0,5d1

40

140

От 5,1 до 10

60

160

От 10,1 до 15

70

210

От 15,1 до 30

d=0,7d1

90

230

От 30,1 до 50

110

270

ОБРАЗЕЦ ЦИЛИНДРИЧЕСКИЙ НА СТАТИЧЕСКОЕ РАСТЯЖЕНИЕ

Черт. 15

ОБРАЗЕЦ ЦИЛИНДРИЧЕСКИЙ НА СТАТИЧЕСКОЕ РАСТЯЖЕНИЕ ПРИ ПОВЫШЕННОЙ И ПОНИЖЕННОЙ ТЕМПЕРАТУРАХ. ГОСТ 9651-84; ТИП I, ГОСТ 11150-84; ТИП IV, ГОСТ 6996-66

Черт. 16

Таблица 10

Тип образца

d0

D

h

h1

R

l0

l

L

I

3±0,1

6

4

2,0

1,0

15

18

30±1

II

6±0,1

12

10

2,5

1,5

30

36

61±1

III

10±0,2

16

10

3,0

3,0

50

60

86±1

3.5.3. Требования по изготовлению цилиндрических образцов на статическое растяжение (см. черт 15, 16) состоят в следующем:

допускается разность наибольшего и наименьшего диаметра на длине рабочей части образца: ±0,03 мм - при d0 до 10 мм; ±0,04 мм - при d0 от 10 мм до 20 мм; ±0,05 мм - при d0, равном 20 мм и более;

переход от диаметра d0 к головке образца должен быть плавным;

глубина резания последнего прохода на более 0,3 мм;

рабочее сечение образцов всех типов должно состоять из металла испытуемого участка. В головках образца допускается наличие металла других участков сварного соединения;

на поверхности головки допускается наличие необработанной поверхности шва или основного металла;

разметку места вырезки образцов производить по макрошлифам, изготовленным на торцах заготовки в соответствии с табл. 11;

образцы располагать вдоль продольной оси испытуемого участка;

маркировка наносится только на головках образца с двух концов.

3.5.4. Для испытания на статическое растяжение при повышенной и пониженной температурах сварного соединения толщиной основного металла до 10 мм применяется плоский образец (черт. 17). Размеры и предельные отклонения размеров плоских образцов приведены в табл. 12 и 13.

3.5.5. Требования по изготовлению плоских образцов на статическое растяжение (см. черт. 17) состоят в следующем:

припуск по ширине образца снимать равномерно с обеих сторон;

поперечные риски и вмятины на длине l не допускаются;

глубина резания последнего прохода не более 0,3 мм;

заусенцы на гранях образцов следует удалять легким заглаживанием вдоль образца радиусом закругления не более 1 мм;

маркировка наносится на головках образца.

3.5.6. Для испытания металла шва, а также металла различных участков околошовной зоны на статическое растяжение при нормальной, пониженной и повышенной температурах на каждую ступень температуры изготавливается не менее трех образцов (см. черт. 15, 16).

Таблица 11

СХЕМА ОТБОРА ОБРАЗЦОВ НА СТАТИЧЕСКОЕ РАСТЯЖЕНИЕ ИЗ СВАРНОГО ШВА

Тип металла

а, мм

Н, мм

Схема расположения образцов

Металл стыковых односторонних и двусторонних симметричных и несимметричных однопроходных и многопроходных швов и металл односторонних и двусторонних угловых швов с полным проваром одного из элементов

От 5 до 15

Дуговая сварка

Дуговая сварка с принудительным формированием

Дуговая сварка

Металл стыковых односторонних и двусторонних симметричных и несимметричных, однопроходных швов с полным проваром одного из элементов. При электрошлаковой сварке металл любых угловых швов

От 16 до 35

Дуговая сварка

С<D/2+2

Электрошлаковая сварка

От 36 до 60

Дуговая сварка

Электрошлаковая сварка

С³D/2+2

Металл стыковых односторонних и двусторонних симметричных и несимметричных, однопроходных швов с полным проваром одного из элементов. При электрошлаковой сварке металл любых угловых швов

От 41 до 60

Дуговая сварка

С£D/2+2

Металл стыковых односторонних однопроходных и многопроходных швов и металл угловых швов с полным проваром одного из элементов. При электрошлаковой сварке металл любых угловых швов

От 61 до 150

С£D/2+2

Дуговая сварка

С³D/2+5

Электрошлаковая сварка

ОБРАЗЕЦ ПЛОСКИЙ НА СТАТИЧЕСКОЕ PACTЯЖЕНИE ПРИ ПОВЫШЕННОЙ И ПОНИЖЕННОЙ ТЕМПЕРАТУРАХ. ТИП I, ГОСТ 9651-84; ТИП I, ГОСТ 11150-84

Черт. 17

Таблица 12

РАЗМЕРЫ ПЛОСКИХ ОБРАЗЦОВ НА СТАТИЧЕСКОЕ РАСТЯЖЕНИЕ ПРИ ПОВЫШЕННОЙ И ПОНИЖЕННОЙ ТЕМПЕРАТУРАХ

мм

ГОСТ

Тип образца

Толщина

а0

Ширина

b0

Ширина головки

b

Длина головки

h*

Расчетная длина

l0

Рабочая длина

l

Длина

L1

Длина

L

ГОСТ 9651-84

7

От 3,1 до 4,0

10

40

40

35

40

120

170

8

" 4,1 " 5,0

10

40

40

40

45

125

175

9

" 5,1 " 6,0

15

50

50

55

65

145

195

10

" 6,1 " 7,0

15

50

50

55

65

145

195

ГОСТ 11150-84

14R

От 3,0 до 4,0

10

40

50

35

40

120

170

2Бк

" 4,0 " 5,0

10

50

50

40

45

125

175

16к

" 5,0 " 6,0

10

50

60

45

50

130

180

*Длина головки указана минимальной.

Таблица 13

ПРЕДЕЛЬНЫЕ ОТКЛОНЕНИЯ РАЗМЕРОВ ПЛОСКИХ ОБРАЗЦОВ НА СТАТИЧЕСКОЕ РАСТЯЖЕНИЕ

мм

Номинальная ширина рабочей части образца

Предельные отклонения по ширине

Допускаемая разность наибольшей и наименьшей ширины по длине рабочей части образца

До 10 вкл.

±0,2

0,05

Св. 10

±0,6

0,15

3.5.7. Для испытания на ударный изгиб металла шва, а также различных участков околошовной зоны при нормальной, повышенной и пониженной температурах применяются образцы черт. 18, 19, ГОСТ 9454-78, ГОСТ 6996-66, тип и размеры которых указами в табл. 14. Образцы сечением 10´10 мм применяют при толщине основного металла 12 мм и более, а сечением 5´10 мм - при толщине основного металла от 6 до 12 мм. Утолщение шва при всех условиях снимают до уровня основного металла.

3.5.8. В зависимости от цели испытания по требованию, оговоренному в нормативно-технической документации на контролируемое изделие, надрез в образце может располагаться по металлу шва (см. табл. 15), по зоне сплавления (черт. 20), в пограничном и других участках околошовной зоны на расстоянии t от границы сплавления (черт. 21 и 22).

3.5.9. Для испытания на ударный изгиб зоны сплавления контрольного соединения при толщине основного металла более 50 мм разметка расположения образцов на сварном шве с прямоугольной разделкой кромок производится по схеме черт. 23, а для сварного шва с V-образной разделкой кромок - по схеме черт. 24. Приведенные схемы разметки расположения образцов (см. черт. 23, 24) распространяются на швы, сваренные электрошлаковой (ЭШС), автоматической дуговой (АДС) и ручной дуговой (РДС) сваркой.

3.5.10. Разметку для нанесения надреза производят по макрошлифам, изготовленным на боковых гранях заготовки толщиной 10±0,05 мм. Макрошлиф подвергается действию травильного раствора (состав: 25 см3 - дистиллированной воды; 50 см3 - концентрированной соляной кислоты; 3 г - аммиачной хлорной меди (CuCl2×2NH4Cl×2H2O), 15 г хлорида железа (FeCl4), позволяющего получить качественную картину сварного соединения, в котором различают три зоны: плавления в сварном шве; термического влияния в основном металле, примыкающему к сварному шву; основного металла, на который выделившееся тепло при сварке не оказывает влияния.

3.5.11. Для образца на ударный изгиб с U-образным надрезом надрез наносить на расстоянии 1,0 мм от линии сплавления. Для образца на ударный изгиб с V-образным надрезом надрез наносят на расстоянии 0,5 мм от линии сплавления (черт. 25).

3.5.12. Требования по изготовлению образцов на ударный изгиб (см. черт. 18, 19) состоят в следующем:

углы в поперечном сечении образца равны 90°±0,5°;

ОБРАЗЕЦ НА УДАРНЫЙ ИЗГИБ С КОНЦЕНТРАТОРОМ ВИДА "U"

Черт. 18

ОБРАЗЕЦ НА УДАРНЫЙ ИЗГИБ С КОНЦЕНТРАТОРОМ ВИДА "V"

Черт. 19

Таблица 14

РАЗМЕРЫ ОБРАЗЦОВ НА УДАРНЫЙ ИЗГИБ

мм

Вид концентратора

Радиус концентратора

Тип образца

Длина (пред. откл. ±0,6)

L

Ширина

В

Высота (пред. откл)

Н

Высота рабочего сечения

Н1

"U"

1±0,07

1

55

10±0,1

10±0,10

8±0,1

2

7,5±0,1

3

5±0,05

"V"

0,25±0,025

11

55

10±0,1

10±0,10

8±0,05*

12

7,5±0,1

13

5±0,05

*При контрольных массовых изготовлениях допускается изготовление образцов с предельным отклонением±0,10 мм.

Таблица 15

СХЕМА ОТБОРА ОБРАЗЦОВ НА УДАРНЫЙ ИЗГИБ ИЗ СВАРНОГО ШВА

мм

Тип металла сварных швов

Толщина основного металла

Схема расположения образцов на ударный изгиб по сечению сварного шва

Металл стыковых швов всех типов

От 12

до 17

Дуговая и газовая сварка

Дуговая сварка с принудительным формированием

От 18

до 40

Дуговая сварка

Электрошлаковая сварка

Металл односторонних однопроходных и многопроходных стыковых швов

От 41

до 60

Дуговая сварка

Электрошлаковая сварка

От 61

до 350

Дуговая сварка

Электрошлаковая сварка

Металл двусторонних симметричных и несимметричных однопроходных и много проходных стыковых швов

От 18

до 40

Дуговая сварка

 

От 41

до 60

Дуговая сварка

От 61

до 150

Дуговая сварка

Примечание. Образцы вырезаются из стороны, сваренной последней.

СХЕМА НАДРЕЗА ПО ЗОНЕ СПЛАВЛЕНИЯ ОБРАЗЦА НА УДАРНЫЙ ИЗГИБ

Электрошлаковая и дуговая сварка с принудительным формированием

Черт. 20

СХЕМА НАДРЕЗА НА УЧАСТКЕ ОКОЛОШОВНОЙ ЗОНЫ ОБРАЗЦА НА УДАРНЫЙ ИЗГИБ

Черт. 21

СХЕМА НАДРЕЗА НА УЧАСТКЕ ОКОЛОШОВНОЙ ЗОНЫ ОБРАЗЦА НА УДАРНЫЙ ИЗГИБ

Электрошлаковая сварка с принудительным формированием

Дуговая сварка с принудительным формированием

Черт. 22

СХЕМА РАСПОЛОЖЕНИЯ ОБРАЗЦОВ НА УДАРНЫЙ ИЗГИБ

Черт. 23

СХЕМА РАСПОЛОЖЕНИЯ ОБРАЗЦОВ НА УДАРНЫЙ ИЗГИБ

Черт. 24

СХЕМА НАНЕСЕНИЯ НАДРЕЗА ПО ЛИНИИ СПЛАВЛЕНИЯ

Черт. 25

отклонение оси надреза к продольной оси образца равно 90°±2°;

на поверхности образца не допускаются поперечные риски, подрезы, вмятины;

надрез делают сверлением, фрезерованием или при помощи абразивного камня. На поверхности надреза не должно быть рисок, видимых невооруженным глазом. Допускается доводка и шлифовка дна надреза;

контроль линейных размеров образца и высоты рабочего сечения производить штангенциркулем с острыми губками и ценой деления не более 0,05 мм;

при изготовлении надреза необходимо следить, чтобы образец не нагрелся до температуры, оказывающей влияние на механические свойства;

маркировка наносится только на боковых сторонах образца с двух сторон не далее 15 мм от конца, но не на опорной поверхности.

3.6. Форма и размеры образцов для испытания наплавленного металла

3.6.1. Проверка характеристик механических свойств наплавленного металла производится на образцах, отбираемых непосредственно из контролируемого изделия или из специально сваренных для проведения испытаний контрольных соединений.

3.6.2. На пластину, ширина которой должна быть не менее 80 мм и толщина не менее 12 мм, производят предварительную пятислойную наплавку, на поверхность которой в продольном направлении наплавляют основной слой металла общей толщиной от 20 до 24 мм. Наплавку, если нет специальных требований, производят с остыванием между наложением отдельных слоев. Температура, до которой должен остывать металл, устанавливается нормативно-технической документацией на контролируемое изделие.

3.6.3. Размеры контрольного соединения зависят от количества, типа и способа отбора образцов. Использование для отбора образцов начального и конечного участков наплавки длиной 30 мм и продольных краев наплавки шириной по 5 мм не допускается.

3.6.4. Заготовки образцов должны быть отобраны из слоев наплавки без захвата металла предварительной пятислойной наплавки.

3.6.5. Заготовки образцов для испытания наплавленного металла на статическое растяжение следует вырезать вдоль направления наплавки, а заготовки для испытания на ударный изгиб поперек указанного направления (черт. 26). На участке вырезки образцов для испытания на ударный изгиб ширина наплавки должна быть не менее 65 мм. На участке вырезки образцов на статическое растяжение ширина наплавки может быть уменьшена до 35 мм.

3.6.6. Для проверки характеристик механических свойств наплавленного металла при нормальной температуре изготавливается не менее трех образцов на статическое растяжение типа II или III по ГОСТ 6996-66 (см. черт. 15).

3.6.7. Для определения характеристик механических свойств наплавленного металла на статическое растяжение при пониженной и повышенной температурах изготавливаются не менее трех образцов (см. черт. 16): № 2к по ГОСТ 9651-84, тип I по ГОСТ 11150-84, тип IV по ГОСТ 6996-66.

3.6.8. Для испытания на ударный изгиб наплавленного металла при различных температурах изготавливаются на заданную температуру не менее трех образцов (см. черт. 18, 19) по ГОСТ 9454-78, ГОСТ 6996-66. Тип образца для испытания на ударный изгиб принимают в соответствии с требованием нормативно-технической документации на контролируемое изделие.

3.7. Форма и размеры образцов для испытания двухслойных сталей

3.7.1. Двухслойная коррозионностойкая сталь в состоянии поставки должна удовлетворять требованиям ГОСТ 10885-75.

3.7.2. Контроль механических свойств сварных соединений из двухслойных сталей осуществляется в соответствии с требованием ГОСТ 6996-66 и предусматривает следующие виды испытаний:

на статическое растяжение;

на статический изгиб;

на ударный изгиб.

3.7.3. Проверка характеристик механических свойств сварных соединений из двухслойных сталей производится на образцах, отбираемых из контрольного соединения, сваренного одновременно с изготовлением контролируемого изделия, с соблюдением всех требований по сварке контрольных соединений.

СХЕМА ВЫРЕЗКИ ОБРАЗЦОВ ИЗ НАПЛАВЛЕННОГО МЕТАЛЛА

1 - образцы на статическое растяжение; 2 - образцы на ударный изгиб; q - не менее пяти слоев

Черт. 26

Размеры сварных контрольных соединений из двухслойных сталей для толщин более 50 мм приведены в табл. 3.

Размеры заготовок и чистовые размеры образцов приведены в табл. 5.

3.7.4. Для определения характеристик механических свойств сварного соединения двухслойных сталей из сварного контрольного соединения вырезают и изготавливают не менее двух образцов на статическое растяжение типа XII или XIII, ГОСТ 6956-66 (см. черт. 6, 7).

Для сварного соединения толщиной основного металла более 30 мм при недостаточной мощности испытательных машин допускается изготовление образцов типа ХV, ГОСТ 6996-66. Размеры образцов приведены в табл. 1.

3.7.5. Испытание на статический изгиб сварного соединения двухслойных сталей производится не менее чем на двух образцах типа ХХVII, ГОСТ 6996-66.

3.7.6. Для проверки соответствия состава присадочных материалов и выбранных режимов сварки требованиям, предъявляемым к сварным швам плакировочного слоя, рекомендуется применять предварительную технологическую пробу на продольный изгиб. Для этого на коррозионностойкую или углеродистую сторону двухслойного проката производится автоматическая или ручная наплавка валика с применением присадочных материалов, режимов и техники сварки, принятых для данного метода сварки плакировочного слоя. Технологическая проба производится путем продольного загиба с наплавленным валиком по схеме (черт. 27).

3.7.7. Для испытания на ударный изгиб сварного соединения двухслойных сталей при нормальной, пониженной и повышенной температурах на любую заданную температуру изготавливается не менее трех образцов (см. черт. 18, 19) по ГОСТ 9454-76, ГОСТ 6996-66. Температуру испытания, тип образца (тип VI или IX по ГОСТ 6996-66, тип I или тип II по ГОСТ 9454-78) принимают в соответствии с указаниями нормативно-технической документации на контролируемое изделие. Расположение надреза на образцах, вырезаемых из сварного соединения двухслойной стали, по схеме черт. 28.

ТЕХНОЛОГИЧЕСКАЯ ПРОБА С НАПЛАВЛЕННЫМ ВАЛИКОМ

Черт. 27

РАСПОЛОЖЕНИЕ НАДРЕЗА НА ОБРАЗЦАХ НА УДАРНЫЙ ИЗГИБ ИЗ ДВУХСЛОЙНЫХ СТАЛЕЙ

Черт. 28

3.8. Испытание сварного соединения на стойкость против механического старения.

3.8.1. Испытание основного металла и различных участков сварного соединения на стойкость против механического старения характеризуется изменением ударной вязкости металла, подвергнутого старению по сравнению с ударной вязкостью его в исходном состоянии и нормирован ГОСТ 7268-80.

3.8.2. Для проведения испытания на чувствительность к механическому старению из проката толщиной 12 мм и более вырезают полосы размером 12´12´(300-400) мм, из проката толщиной от 7 до 12 мм - размером а´12´(300-400) мм, где а - толщина проката. Допускается изготовление полос размерами 12´30´(300-400) мм (черт. 29) и а´30´(300-400) мм.

Полосы, отобранные из проката толщиной более 12 мм, должны иметь одну необработанную поверхность.

3.8.3. Механическому старению подвергают заготовки, отбираемые от стыкового сварного соединения по схеме черт. 30, 31. Ось симметрии заготовки должна совпадать с продольной осью шва или с осью будущего надреза, если испытание проводят не для металла шва. Расположение надреза по схеме черт. 31 применяют при электрошлаковой сварке. Схема отбора образцов при расположении надреза в других участках сварного соединения (зона сплавления, зона термического влияния) оговаривается нормативно-технической документацией на контролируемое изделие.

Заготовки и расположение надреза по схеме черт. 32 применяют при испытании сварных соединений толщиной основного металла менее 12 мм.

3.8.4. Заготовки подвергают искусственному старению по методике: деформация растяжения из расчета получения 10±0,5% остаточного удлинения в пределах расчетной длины l, ограниченной кернами или рисками. Длину захватной части h устанавливают в зависимости от конструкции испытательной машины.

После удлинения заготовку подвергают равномерному нагреву до 250°С (523К) с выдержкой в течение 1 часа при этой температуре и с последующим охлаждением на воздухе.

СХЕМА ВЫРЕЗКИ ОБРАЗЦОВ НА УДАРНЫЙ ИЗГИБ ИЗ ОСНОВНОГО МЕТАЛЛА

Черт. 29

СХЕМА ВЫРЕЗКИ ОБРАЗЦОВ НА УДАРНЫЙ ИЗГИБ ИЗ СВАРНОГО СОЕДИНЕНИЯ

Черт. 30

СХЕМА ВЫРЕЗКИ ОБРАЗЦОВ НА УДАРНЫЙ ИЗГИБ ИЗ СВАРНОГО СОЕДИНЕНИЯ (ЭЛЕКТРОШЛАКОВАЯ СВАРКА)

Черт. 31

СХЕМА ВЫРЕЗКИ ОБРАЗЦОВ НА УДАРНЫЙ ИЗГИБ ИЗ СВАРНОГО СОЕДИНЕНИЯ ТОЛЩИНОЙ ОСНОВНОГО МЕТАЛЛА МЕНЕЕ 12 мм

Черт. 32

3.8.5. После деформирования и искусственного старения из заготовок изготавливают не менее трех образцов на ударный изгиб сечением 10,5´10,5´55 мм при толщине основного металла более 12 мм, или сечением 10,5´10,5´55 мм при толщине основного металла менее 12 мм, так чтобы место расположения образцов находилось на участке расчетной длины l, а на одной из граней сохранилась черновая поверхность. На этой грани наносят маркировку на расстоянии 10 мм от концов образца. Затем образцы окончательно обрабатывают до размеров, предусмотренных ГОСТ 9454-73, ГОСТ 6996-66.

3.8.6. Показатель чувствительности стали и сварного соединения к механическому старению подсчитывается по формуле:

где КСИСХ - среднее арифметическое значение ударной вязкости в исходном состоянии;

КССТ - среднее арифметическое значение ударной вязкости после старения.

4. ОПРЕДЕЛЕНИЕ ХАРАКТЕРИСТИК МЕХАНИЧЕСКИХ СВОЙСТВ СВАРНЫХ ТРУБ

4.1. Испытание на статическое растяжение

4.1.1. Для испытания металлических бесшовных и сварных труб по ГОСТ 10006-80 применяют два вида стандартных образцов: продольные и поперечные. Вид образца должен быть указан в нормативно-технической документации на трубы.

4.1.2. Продольные образцы изготавливают в виде отрезка трубы полного сечения (черт. 33) без ограничения наружного диаметра. При недостаточной мощности испытательных машин для труб с наружным диаметром более 16 мм изготавливают продольные образцы в виде полосы (черт. 34), вырезанной вдоль оси трубы (сечение в виде сегмента) с шириной рабочей части:

b0=8 мм при D0 от 16 до 20 мм;

b0=10 мм при D0 свыше 20 мм;

для труб с толщиной стенки а0 более 10 мм - b0=12мм.

4.1.3. Предельные отклонения по ширине рабочей части образца на статическое растяжение неполного (сегментного) сечения при их изготовлении должны соответствовать значениям, указанным в табл. 16.

ОБРАЗЕЦ НА СТАТИЧЕСКОЕ РАСТЯЖЕНИЕ ПОЛНОГО СЕЧЕНИЯ

Черт. 33

ОБРАЗЕЦ НЕПОЛНОГО СЕГМЕНТНОГО СЕЧЕНИЯ НА СТАТИЧЕСКОЕ РАСТЯЖЕНИЕ

Черт. 34

Таблица 16

ПРЕДЕЛЬНЫЕ ОТКЛОНЕНИЯ ПО ШИРИНЕ РАБОЧЕЙ ЧАСТИ ОБРАЗЦОВ НЕПОЛНОГО (СЕГМЕНТНОГО) СЕЧЕНИЯ

мм

Номинальная ширина

b0

Предельные отклонения

Допустимая разность наибольшей и наименьшей ширины по длине рабочей части образца

8-10

±0,2

0,05

12

0,10

Продольные образцы неполного (сегментного) сечения в виде полосы должны сохранять поверхностные слои нетронутыми. Заусенцы на гранях образцов должны быть удалены легкой запиловкой радиусом закругления не более 0,5 мм.

4.1.4. Цилиндрические продольные образцы (тип III, ГОСТ 1497-84) черт. 15 отбирают от труб c толщиной стенки 7 мм и более. Ось цилиндрического образца должна совпадать со средней линией стенки трубы.

Диаметр рабочей части образца принимают:

5 мм - при а0 от 7 до 10 мм;

8 мм - при а0 от 10 до 13 мм;

10 мм - при а0 более 13 мм.

4.1.5. Поперечные образцы изготавливают цилиндрическими пропорциональными (тип IV, ГОСТ 1497-84), отобранными из тела трубы перпендикулярно ее продольной оси с размерами, указанными в табл. 17.

Таблица 17

РАЗМЕРЫ ПОПЕРЕЧНЫХ ОБРАЗЦОВ НА СТАТИЧЕСКОЕ РАСТЯЖЕНИЕ

мм

Диаметр трубы

Толщина стенки трубы, не менее

Диаметр рабочей части образца

От 120 до 160 вкл.

14

3,0

" 160 " 250

20

5,0

" 250 " 290

17

5,0

" 220 " 290

32

8,0

" 290 " 320

26

10,0

Свыше 320

24

10,0

Примечание. На головках цилиндрических продольных и поперечных образцов на статическое растяжение допускаются плоские участки, обусловленные геометрией труб.

4.1.6. Образцы измеряют до и после испытания. У образцов в виде отрезка трубы наружный диаметр измеряют в трех местах: у краев и посередине рабочей части образца по двум взаимно перпендикулярным направлениям. Наименьшее среднее арифметическое трех пар измерений заносят в протокол испытаний. Толщину стенки измеряют на расстоянии не менее 10 мм от торца в четырех точках по двум взаимно перпендикулярным направлениям. В протокол заносят среднее арифметическое четырех измерений.

У образцов в виде продольной полосы толщину образца (стенки трубы) измеряют в трех точках рабочей длины. Среднее арифметическое трех измерений толщины стенки и трех измерений ширины образца заносят в протокол испытаний. Площадь поперечного сечения образца (мм) в виде отрезка трубы определяется по формуле:

F=p×а0(D00).

Площадь поперечного сечения образца в виде полосы определяется по формуле:

F×а0b0,

где К - коэффициент, величина которого зависит от диаметра и толщины стенки трубы, который определяют по формуле:

Испытание на статическое растяжение цилиндрических и неполного сегментного сечения образцов, обработка полученных результатов и определение характеристик механических свойств производят по ГОСТ 1497-84.

4.1.7. Для контроля временного сопротивления сварных соединений труб применяют образцы типа ХVIII по ГОСТ 6996-66 в виде отрезка трубы полного сечения (черт. 35) без ограничения наружного диаметра.

При испытании сварного соединения, изготовленного из труб разного диаметра, применяют образец типа ХIХ по ГОСТ 6996-66 в виде отрезка трубы (черт. 36).

ОБРАЗЕЦ ДЛЯ ИСПЫТАНИЯ ПО ОПРЕДЕЛЕНИЮ ВРЕМЕННОГО СОПРОТИВЛЕНИЯ СВАРНОГО СОЕДИНЕНИЯ ТРУБЫ. ТИП XVIII

Черт. 35

ОБРАЗЕЦ ДЛЯ ИСПЫТАНИЯ ПО ОПРЕДЕЛЕНИЮ ВРЕМЕННОГО СОПРОТИВЛЕНИЯ СВАРНОГО СОЕДИНЕНИЯ ИЗ ТРУБ РАЗНОГО ДИАМЕТРА. ТИП XIX

Черт. 36

СХЕМА РАСПОЛОЖЕНИЯ СВАРНОГО ШВА НА ЦИЛИНДРИЧЕСКИХ ОБРАЗЦАХ

Черт. 37

При испытании образцов типа ХIII и XIX концы образцов, захватываемые зажимами испытательных машин, плотно закрывают цилиндрическими металлическими пробками с радиусом закругления

R=2DВН.

Длина захватной части образца устанавливается в зависимости от типа испытательной машины.

4.1.8. При недостаточной мощности испытательных машин, а также в зависимости от конструкции захватов испытательных машин, испытание стыкового сварного соединения производится на образцах неполного (сегментного) сечения (см. черт. 34). Разрешается применение цилиндрических образцов (см. черт. 15, 16). Сварной шов располагают посередине рабочей части образца (черт. 37).

4.2. Испытание на сплющивание

4.2.1. Для испытания труб на сплющивание применяется образец длиной от 20 до 50 мм по ГОСТ 8695-75, отбираемый от конца трубы. Испытание может производиться непосредственно на трубе с предварительным надрезом перпендикулярно оси на глубину не менее 0,8D0. Плоскость реза должна быть перпендикулярна оси трубы. Заусенцы на кромках образца должны быть удалены.

4.2.2. Испытание сварных труб с внутренним диаметром менее 100 мм с поперечными (круговыми) и продольными швами проводят на образцах типа ХXIХ, XXX по ГОСТ 6996-66, приведенных на черт. 38, 39. Длина образца принимается равной наружному диаметру трубы. Утолщение шва с наружной стороны трубы снимается механической обработкой до уровня основного металла.

На образцах, отобранных из труб, выполненных стыковкой контактной сваркой, грат должен быть снят с наружной и внутренней сторон трубы до уровня основного металла.

4.2.3. Скорость сплющивания образца не более 25 мм/мин. Для испытания образец помещают между двумя гладкими жесткими и параллельными плоскостями и плавно сплющивают его, сближая сжимающие плоскости до заданного расстояния Н (черт. 40, 41).

Расстояние Н, мм, определяется по формуле:

где а - номинальная толщина стенки, мм;

D0 - номинальный диаметр трубы, мм.

ОБРАЗЕЦ НА СПЛЮЩИВАНИЕ С ПОПЕРЕЧНЫМ ШВОМ. ТИП - XXIХ

Черт. 38

ОБРАЗЕЦ НА СПЛЮЩИВАНИЕ С ПРОДОЛЬНЫМ ШВОМ. ТИП ХХХ

Черт. 39

СХЕМА ИСПЫТАНИЯ НА СПЛЮЩИВАНИЕ ОБРАЗЦОВ С ПРОДОЛЬНЫМ СВАРНЫМ ШВОМ

Черт. 40

СХЕМА ИСПЫТАНИЯ НА СПЛЮЩИВАНИЕ ОБРАЗЦОВ С ПОПЕРЕЧНЫМ СВАРНЫМ ШВОМ

Черт. 41

4.3. Испытание на раздачу

4.3.1. Для испытания труб на раздачу по ГОСТ 8694-75 применяется образец длиной L=2D0, если угол оправки до 30°, и L=1,5D0, если угол оправки более 30°, но не менее 50 мм. Плоскость реза должна быть перпендикулярна к продольной оси трубы. Заусенцы на кромках должны быть удалены.

4.3.2. Допускается удаление внутреннего грата на образцах, отобранных от сварных труб, методом, не изменяющим свойств материала труб сварного шва.

4.3.3. При проведении испытания на раздачу применяют оправки с углом конусности 30; 45; 60; 90; 120°. Рабочая поверхность оправки должна иметь твердость НRС³50 и при испытании на раздачу оправку покрывают консистентной смазкой. Параметры шероховатости поверхности оправки должны быть не ниже RZ=20 мкм по ГОСТ 2789-73.

Испытание проводят плавной раздачей конца образца оправкой с заданным углом конусности до получения у торца заданного наружного диаметра (черт. 42). Скорость испытаний от 20 до 50 мм/мин. Величину раздачи X в процентах вычисляют по формуле:

4.4. Испытание на бортование.

4.4.1. Для испытания на бортование по ГОСТ 8693-60 применяется образец длиной не менее 0,5D0, отрезаемой от конца трубы. Испытание заключается в отбортовке трубы или отрезка от нее с образованием фланца заданного диаметра D.

4.4.2. Плоскость реза должна быть перпендикулярна к продольной оси трубы с допускаемым отклонением не более 1,0 мм. Кромки образца должны быть закруглены радиусом не более 1 мм.

4.4.3. Испытания производится путем плавной отбортовки конца образца на 90 или 60° со скоростью от 20 до 50 мм/мин при помощи оправки до получения заданного диаметра D (черт. 43).

Величину отбортовки в процентах Х вычисляют по формуле:

4.4.4. Рабочая поверхность оправки должна быть шлифованной и иметь твердость НRС³60, при испытании покрыта консистентной смазкой.

СХЕМА РАЗДАЧИ ТРУБЫ

Черт. 42

СХЕМА ИСПЫТАНИЯ ТРУБЫ НА БОРТОВАНИЕ

Черт. 43

При испытании не допускается вращательное движение оправки.

4.5. Испытание на загиб

4.5.1. Для испытания на загиб по ГОСТ 3728-78 труб с наружным диаметром D0 до 60 мм отбирают образцы в виде отрезка трубы полного сечения, труб с наружным диаметром свыше 60 мм - образцы в виде поперечных или продольных полос.

4.5.2. Длина образца в виде отрезка трубы должна быть достаточной для загиба на заданный угол и радиус (черт. 44). Ширина продольных и поперечных образцов должна быть:

10 мм - при толщине стенки трубы а0£5 мм;

2а мм - при толщине стенки трубы а0³5 мм.

Угол загиба a=90°, если в нормативно-технической документации на трубы не установлен другой угол. Радиус загиба образца в виде отрезка трубы указывается в нормативно-технической документации на трубы.

4.5.3. Испытание на загиб металла шва и металла зоны термического влияния проводят по ГОСТ 6996-66.

4.5.4. Испытание на загиб продольных образцов проводят по ГОСТ 14019-80. Испытание на загиб поперечных образцов проводят по схеме черт. 45, ГОСТ 14019-80.

4.5.5. Радиусы оправки для загиба продольных и поперечных образцов в зависимости от толщины стенки трубы берутся по ГОСТ 3728-78. При толщине стенки трубы более 7,5 мм радиус загиба принимается r=2а.

Растягивающим усилиям подвергается сторона образца, являющаяся наружной поверхностью трубы.

5. ОПРЕДЕЛЕНИЕ ТВЕРДОСТИ МЕТАЛЛА ШВА СВАРНОГО СОЕДИНЕНИЯ

5.1. Общие положения

5.1.1. При испытании металла на твердость определяют его сопротивление деформированию при вдавливании наконечника (индентора) в испытуемый объект. Твердость металла находится в соотношении с характеристиками механических свойств металлов. Поэтому в ряде случаев ограничиваются (особенно при контроле швов готовых крупногабаритных аппаратов и сосудов) определением твердости, не производя испытании на статическое растяжение.

1 - образец; 2 - цилиндрическая оправка; R - радиус загиба трубы по средней линии

Черт. 44

ЗАГИБ ПОПЕРЕЧНОГО ОБРАЗЦА

1 - оправка; 2 - поперечный образец; 3 - опора; l0 - расстояние между опорами

Черт. 45

5.1.2. Методы испытания твердости металлов разделяются на статические и динамические.

5.1.3. Статический метод измерения твердости заключается в том, что к индентору нагрузка прилагается плавно, постепенно и выдерживается в течение определенного времени.

Измерение твердости статическими методами осуществляется на приборах типа Бринелля, Роквелла, Виккерса. Для измерения твердости крупногабаритных аппаратов в цеховых или полевых условиях применяются различные приборы переносного типа.

5.1.4. Динамический метод измерения твердости заключается в том, что индентор вдавливается в материал, имея определенную величину кинетической энергии.

К динамическим методам измерения твердости относят переносные приборы, принцип действия которых заключается в том, что индентор под действием наносимого удара одновременно вдавливается в испытуемую поверхность и эталонный образец с известной твердостью. Результаты испытания получаются тем точнее, чем ближе по твердости образец и эталон (контрольный брусок).

Метод используют для контроля крупногабаритных изделий и деталей, установка которых на стационарных приборах затруднительна.

5.1.5. Анализ процесса испытания на твердость позволяет распределить встречающиеся источники погрешностей на три группы, обусловленные:

материалом. Причина погрешностей заключается в поведении испытуемого объекта в процессе внедрения в него индентора. Они могут быть вызваны неоднородностью структуры объекта испытаний, качеством поверхности;

приборами. Под погрешностями, обусловленными приборами, понимают неточную установку испытательных нагрузок, дефекты устройств для обработки результатов испытания, отклонения формы инденторов, которые устраняются с помощью текущего контроля приборов для оценки твердости, контроля ступеней нагрузки, а также с помощью средств измерения;

испытанием. Погрешности при испытании можно объяснить недостаточной профессиональной подготовкой и небрежностью испытателя.

5.1.6. Основные области применения для наиболее часто используемых способов испытания на твердость следующие:

по Бринеллю - металлические материалы и сварные швы твердостью до HВ450;

по Виккерсу - металлические материалы от очень низкой до очень высокой твердости; пригоден для твердых материалов и пленок, а также для тонких слоев;

по Роквеллу (шкала С) - закаленные стали в диапазоне твердости HRC от 20 до 67;

по Роквеллу (шкала В) - материал средней твердости, стали с низким и средним содержанием углерода, латуни в диапазоне твердости НRВ от 35 до 100.

5.1.7. Требования к приборам для определения твердости, правила их поверки и методика измерения твердости по Бринеллю, Роквеллу, Виккерсу изложены в ГОСТ 9012-59, ГОСТ 9013-59, ГОСТ 2999-75, в инструкции 235-56 Государственного комитета стандартов, мер и измерительных приборов ССОР.

5.2. Правила производства испытаний на твердость

5.2.1. Повышение точности и достоверности определяемых значений твердости способствует соблюдение следующих условий:

при подготовке к испытанию на твердость рекомендуется проводить проверку работоспособности прибора путем промера эталонных образцов различной твердости. Проверить индентор на пригодность и плотность посадки. При отсутствии эталонных образцов необходимые испытательные нагрузки можно проверить с помощью динамометра сжатия;

при подготовке испытываемой поверхности образца. Испытываемая поверхность должна иметь металлический блеск. Обрабатывать испытываемую поверхность следует так, чтобы обработка не приводила к изменению состояния материала, а вместе с тем к изменению твердости. Рекомендуется производить обработку с помощью шлифовальной бумаги таким образом, чтобы не происходило нагрева поверхности. Места для измерения твердости должны иметь шероховатость поверхности не ниже RZ от 20 мкм до 10 мкм;

при проведении испытания на твердость образец устанавливается на опорном столике или зажимается в приспособлении так, чтобы испытываемая плоскость была расположена перпендикулярно направлению действия испытательной нагрузки. На испытательную нагрузку не должны оказывать влияния толчки и вибрация.

5.2.2. При получении отпечатков инденторов должны выполняться следующие указания по оценке твердости:

По Бринеллю. Расстояние центра отпечатка от края образца при испытании черных металлов, меди и ее сплавов должно быть в 2,5 раза больше среднего диаметра отпечатка, а в случае испытаний легких металлов - в 3 раза. Расстояние между центрами двух соседних отпечатков при испытании черных металлов, меди и ее сплавов должно быть равно четырем средним диаметрам отпечатка, а в случае легких металлов - шести диаметрам;

Диаметр отпечатка измеряется с точностью до 0,05 мм при испытании шариками Æ5 и 10 мм. Толщина испытуемого металла должна быть не менее десятикратной глубины отпечатка.

По Виккерсу. Расстояние центра, т.е. точки пересечения диагоналей индентора, от края образца или от края соседнего отпечатка должна быть в 2,5 раза больше средней длины обеих диагоналей;

По Роквеллу. Расстояние между центрами двух соседних отпечатков или расстояние центра отпечатка индентора от края образца должна составлять не менее 3 мм.

5.2.3. Оценка результатов испытания на твердость:

при испытании по Бринеллю после снятия нагрузки и удаления шарика замеряются два взаимно перпендикулярных диаметра оставшегося отпечатка. В случае анизотропных материалов величина этих диаметров отпечатка может быть различной. Разность измерений диаметров одного отпечатка не должна превышать 2% от меньшего из них. Твердость по Бринеллю НВ определяется при этом для среднего диаметра с учетом диаметра шарика и величины нагрузки по таблице твердости;

при испытании по Виккерсу после снятия нагрузки и удаления индентора замеряют диагонали оставшегося отпечатка. Твердость по Виккерсу определяется для средней диагонали с учетом выбранной испытательной нагрузки по таблице твердости;

при испытании по Роквеллу после снятия испытательной нагрузки на испытательном приборе считывается глубина отпечатка под действием предварительной нагрузки и выводится твердость по Роквеллу.

5.2.4. Переносные приборы твердости ударного действия предназначены для приближенного определения твердости сварных швов на сосудах и аппаратах преимущественно в цеховых или полевых условиях. Испытание производится ударом молотка любой силы по прибору или в результате энергии сжатой пружины. При этом удар передается стальному закаленному шарику, вдавливающемуся одновременно в поверхность испытуемого изделия и в контрольный брусок (эталон) с заранее установленной твердостью НВ, близкой к предполагаемой твердости испытываемого металла.

Твердость определяется путем сравнения величины диаметров отпечатков, полученных на испытуемой поверхности металла и контрольном бруске. Контрольный брусок должен иметь равномерную величину твердости по всей длине. Допустимый разброс твердости - 1,5% от среднего значения. На торце контрольного бруска наносится значение средней твердости, полученной в результате испытания бруска в нескольких точках на приборах Бринелля типа ТШ-2М, поверенного Государственной метрологической службой. Размеры контрольного бруска 150´12´12 мм. Шероховатость поверхности не ниже. Отпечатки на контрольном бруске располагают на расстоянии не менее 10 мм один от другого.

5.3. Основные требования по замеру твердости металла шва сварных соединений из двухслойных и хромомолибденовых сталей

5.3.1. Замеру твердости должен подвергаться металл шва:

сварных соединений сосудов, аппаратов из хромомолибденовых сталей (12МХ, 12ХМ, 15ХМ, Х5М, 20Х2М), a также металл шва основного слоя из вышеуказанных сталей сосудов, аппаратов и их элементов, изготовленных из двухслойных сталей;

плакирующего слоя (как разделительного по мере доступности, так и коррозионностойкого) сварных соединений сосудов, аппаратов и их элементов из двухслойных сталей;

наплавленных поверхностей (как в разделительном по мере доступности, так и в коррозионностойком слое) патрубков, штуцеров, фланцев, обечаек, крышек и других деталей.

5.3.2. Замер твердости швов производится в доступных местах. При внутреннем диаметре цилиндрического сосуда менее 800 мм замеры твердости плакирующих швов производятся в крайних точках на каждой царге, штуцере, обечайке, патрубке и т.д.

При невозможности осуществления замера твердости на готовом изделии, а также измерения твердости кольцевых, угловых, тавровых сварных швов (приварка штуцеров, патрубков, люков и т.д.) и металла шва коррозионностойкого слоя в сварных соединениях из двухслойных сталей замер твердости производится на контрольных сварных соединениях.

5.3.3. Измерение твердости металла шва производится не менее чем в трех точках для каждого участка сварного соединения.

5.3.4. Методика испытаний на твердость должна регламентироваться соответствующими инструкциями, действующими на предприятии.

5.3.5. Измерение твердости металла сварных швов необходимо производить после полного остывания изделия.

5.3.6. Результаты измерений твердости заносятся в таблицы, которые прикладываются к паспорту сосуда наряду со схемой и данными о рентгенконтроле или УЗК и хранятся в экземпляре паспорта, который остается на предприятии. Примеры составления схем и таблиц приведены в приложении 9.

6. ОЦЕНКА МЕХАНИЧЕСКИХ СВОЙСТВ

6.1. Порядок выполнения сварных контрольных соединений и проверка их на отсутствие недопустимых дефектов должны соответствовать требованиям нормативно-технической документации на контролируемое изделие.

6.2. Качество сварных соединений считается неудовлетворительным, если в них при любом виде контроля будут обнаружены внутренние или наружные дефекты, выходящие за пределы норм, установленных нормативно-технической документацией на изготовление контролируемого изделия и производственными инструкциями по сварке и контролю соединений.

6.3. При выполнении испытании по определению характеристик механических свойств контрольных сварных соединений на отдельных образцах, вырезка заготовок для изготовления образцов должна производиться в соответствии со схемами, установленными производственными инструкциями по сварке и контролю сварных соединений (в зависимости от специфики сварных соединений и положения сварки на различных участках шва).

6.4. Все вырезаемые заготовки (для изготовления образцов) должны быть замаркированы по системе, позволяющей определить номер (клеймо, шифр) контрольного соединения и положение, в котором выполнялась сварка на данном участке (система маркировки заготовок должна быть установлена соответствующей производственной инструкцией).

6.5. Образцы, имеющие коробление, трещины, возникающие в результате механической или термической обработки, расслоение, поверхностные дефекты в виде инородных включений (песчаных, шлаковых, газовых раковин и т.д.), плен и механических повреждений, испытаниям не подвергаются.

6.6. Готовые образцы передаются вместе с сопроводительным документом в лабораторию механических испытаний. Данные о результатах испытаний заносятся в лабораторный журнал установленного образца. Одновременно производится оформление результата испытаний по определению характеристик механических свойств на бланках установленного образца для выдачи ОТК или цеху.

6.7. До начала испытаний все изготовленные образцы должны быть проконтролированы на соответствие формы, размеров, шероховатости поверхностей. Все забракованные образцы, в том числе с выявленными сварочными дефектами, должны быть заменены новыми, вырезанными из этого же контрольного соединения. В случае обнаружения дефектов в металле шва (непровара, шлака и т.д.) после проведения испытаний образец также заменяется новым.

6.8. Качество сварного соединения при испытании на статическое растяжение и ударный изгиб считается неудовлетворительным, если полученные при испытании показатели механических свойств будут ниже требований, указанных в ОСТ 26-291-79. Показатели характеристик механических свойств должны определяться как среднее арифметическое из результатов, полученных при испытании 2-3 образцов.

Общий результат испытаний считается неудовлетворительным, если хотя бы один из образцов показал результат, отличающийся от установленных норм (в сторону снижения):

по временному сопротивлению разрыву - более чем на 10%;

по ударной вязкости - более чем на 0,5 кгс×м/см2 (0,05 МДж/м2). Указанные положения сохраняют силу и в том случае, когда среднее арифметическое результатов испытаний соответствует нормативным показателям.

6.9. Показатели характеристик механических свойств сварных соединений элементов из сталей разнородных марок должны удовлетворять требованиям к однородным сварным соединениям тех же элементов (из стали соответствующих марок) с более низкими нормативными показателями характеристик механических свойств.

6.10. При испытании на статический изгиб образцов различных сталей, а также двухслойных сталей, угол загиба должен быть не ниже требований, указанных в ОСТ 26-291-79.

6.11. При испытании труб на сплющивание признаком того, что образец выдержал испытание, служит отсутствие после сближения сжимающих поверхностей до величины Н на внешней и внутренней поверхностях трещин или надрывов, определяемых визуально.

6.12. При испытании труб на раздачу признаком того, что образец выдержал испытание, служит отсутствие на нем после раздачи на заданную величину трещин или надрывов, определяемых визуально.

6.13. При испытании труб на бортование признаком того, что образец выдержал испытание, служит отсутствие на нем после отбортовки трещин или надрывов.

6.14. При испытании труб на загиб, образец считается выдержавшим испытание, если после загиба на нем не будет визуально обнаружено нарушение целостности металла (изломов и надрывов) с металлическим блеском. Если в нормативно-технической документации на трубы оговорена допустимость гофров, образование последних в процессе испытания на загиб не является браковочным признаком.

6.15. При контроле сварных соединений на твердость средние значения твердости металла шва должны удовлетворять нормам, приведенным в ОСТ 26-291-79. Среднее значение твердости металла шва определяется как среднее арифметическое результатов отдельных замеров, при которых значения твердости не должны более чем на 5% отличаться от величины соответствующего предела.

6.16. При получении неудовлетворительных результатов по какому-либо виду механических испытании разрешается повторное проведение испытаний на удвоенном количестве образцов, вырезанных из тех же контрольных сварных соединений. В случае невозможности вырезки требуемого количества образцов из тех же контрольных соединений, повторные механические испытания (в удвоенном объеме) должны быть проведены на выполненных производственных стыках, вырезаемых непосредственно из контролируемых изделий.

Если при повторном испытании хотя бы на одном из образцов были получены результаты, не отвечающие установленным нормам, то общий результат механических испытаний считается неудовлетворительным.

6.17. Результаты механических испытаний сварных соединений должны быть зафиксированы в специальных журналах (приложение 2, 8, 9) и в сопроводительных справках о результатах механических испытаний (приложение 10), которые должны быть подписаны заведующим (начальником) лаборатории механических испытаний и выполнявшим испытания лаборантом (техником, инженером).

Журнал регистрации результатов испытаний механических свойств должен храниться в лаборатории в течение 6 лет.

7. ОФОРМЛЕНИЕ ЗАЯВОК НА ИЗГОТОВЛЕНИЕ И ИСПЫТАНИЕ ОБРАЗЦОВ ИЗ СВАРНЫХ КОНТРОЛЬНЫХ СОЕДИНЕНИЙ

7.1. Заявку на изготовление и испытание образцов из сварных контрольных соединений оформляет старший контрольный мастер цеха или работник ОТК, ответственный за приемку контролируемого изделия.

7.2. В заявках на изготовление и испытание образцов должны заполняться (приложение 11):

номер и дата заполнения заявки;

номер цеха-изготовителя;

тип контролируемого изделия (сварного соединения);

номер заказа и комплекта изделий;

фамилия и клеймо сварщика;

способ сварки (ручная дуговая, ручная газовая, ручная аргонодуговая, полуавтоматическая или автоматическая аргонодуговая, автоматическая под флюсом, электрошлаковая и т.д.);

марка используемых сварочных материалов (электродов, сварочной и присадочной проволоки или прутков, флюсов, защитных газов), диаметры или сечения электродов, проволоки и прутков;

вид термообработки сварного соединения;

вид испытания, температура испытания и количество образцов для каждого вида испытаний;

подпись и штамп представителя технического контроля цеха, оформляющего заявку.

7.3. При оформлении заявок на повторные испытания, в случае неудовлетворительных результатов первых испытаний, последним присваивается номер первичной заявки с надписью "Повторно". В заявке на повторные испытания должны приводиться все вышеназванные данные.

8. ТРЕБОВАНИЯ БЕЗОПАСНОСТИ

8.1. Общие требования безопасности

8.1.1. При обслуживании испытательного оборудования основными видами опасности являются:

травмирование подвижными элементами;

воздействие вредных веществ;

поражение электрическим током;

действие вибрации и шума;

термические ожоги;

пожароопасность.

8.1.2. При обслуживании испытательных машин и приборов работающий должен строго соблюдать следующие правила безопасности:

не пускать машину в работу при снятых или неисправных ограждениях;

не заходить за ограждения, не стоять вблизи вращающихся и движущихся частей и механизмов работающих машин;

не производить обтирку, чистку или смазку работающих машин;

не приступать к ремонту, наладке или осмотру машины, не убедившись в том, что машина надежно отключена от электросети, а предохранители сняты;

во всех случаях после окончания осмотра, наладки или ремонта машина пуск ее допускается только после установки на место ограждении и уборки посторонних предметов;

8.1.3. Во избежание поражения электрическим током следует соблюдать следующие правила безопасности согласно ГОСТ 12.1.019 ССБТ:

не прикасаться к электропроводам, рубильникам, корпусам электромоторов и другим частям электрооборудования, которые могут находиться под напряжением;

постоянно следить за исправностью заземлений испытательных машин и приборов.

При создании аварийной обстановки или угрозы несчастного случая с людьми электрорубильник может быть выключен любым человеком, но при обязательном соблюдении правил личной безопасности.

8.1.4. Перед уходом с работы следует проверить, все ли электромоторы испытательных машин и приборов отключены от сети.

8.2. Работа на испытательных машинах и приборах

8.2.1. Запрещается работать на испытательных машинах лицам, незнакомым с "Техническим описанием и инструкцией по эксплуатации на испытательную машину".

8.2.2. Не разрешается производить испытание на универсальных машинах образцов, требующих нагрузки больше, чем указано в технической характеристике на испытательную машину.

8.2.3. При испытании на статическое растяжение, сжатие, изгиб необходимо следить за правильностью выбора приспособления для захвата и установки образцов. Необходимо соблюдать основное правило: ось образца должна возможно точно совпадать с осью зажимного приспособления машины.

8.2.4. Перед испытанием образцов на ударный изгиб на маятниковом копре необходимо проверить:

тормозное устройство;

соосность маятника с раздвижными опорами.

Установку образца на опоры производить с правой стороны копра. Маятник, взведенный на заданный угол, должен быть поставлен на предохранитель. Категорически запрещается производить работу на копре без предохранителя.

8.2.5. При испытании образцов на ударный изгиб необходимо обязательно ставить ограждение, предохраняющее от возможного разлета частей поломанного образца.

8.2.6. При работе с нагревательными устройствами, устанавливаемыми на испытательных машинах, необходимо соблюдать следующее меры безопасности:

регулировка, настройка, сборка цепочки "верхний захват - образец - нижний захват" и ремонт должны производиться в обесточенном состоянии;

на корпусе машины и трубчатой печи должны быть установлены болты заземления по ГОСТ 12.1.030-81 ССБТ.

8.2.7. При работе с нагревательными устройствами необходимо остерегаться поражающего действия электрического тока, воздействия теплового излучения, ожогов.

8.2.8. При порезах, ожогах и другие травмах необходимо немедленно обратиться за помощью в ближайший медицинские пункт или к старшему по работе.

8.2.9. В помещении лаборатории механических испытаний должна быть аптечка, комплектность которой определяется медицинской службой.

8.3. Правила безопасной работы с химическими веществами при проведении механических испытаний

8.3.1. Легковоспламеняющиеся и горючие жидкости (ацетон, спирт, бензин, растворители и т.п.) должны храниться в толстостенных банках с надежными пробками и четкими надписями.

8.3.2. Общий запас одновременно хранящихся в комнате огнеопасных жидкостей не должен превышать трех литров.

8.3.3. Запрещается нагревание огнеопасных жидкостей в печах и термостатах (ГОСТ 12.1.004-76 ССБТ).

8.3.4. Запрещается выливать отработанные жидкости в общую канализацию.

8.3.5. Используемый в качестве охладителя жидкий азот должен храниться в сосуде Дьюара типа СДС-50. Горловину сосуда Дьюара закрывать только штатной пробкой.

8.3.6. При испытании на минусовые температуры и заполнении термостата жидким азотом посредством выливания его через горловину, работающий персонал должен иметь одежду, полностью закрывающую кожный покров тела, на руках перчатки или рукавицы, на глазах - очки или пластмассовый налобный щиток, на ногах закрытую обувь.

8.3.7. Следует избегать прикосновения оголенными участками тела к металлическим образцам, охлажденным азотом.

8.3.8. При использовании в качестве охладителя углекислоты, поставляемой в баллонах, следует соблюдать меры предосторожности при транспортировке, хранении и отборе углекислоты из баллона. Все работы по отбору углекислоты необходимо производить в перчатках или рукавицах.

ПРИЛОЖЕНИЕ 1

Справочное

ПРИСПОСОБЛЕНИЕ ДЛЯ ИСПЫТАНИЯ НA СТАТИЧЕСКОЕ РАСТЯЖЕНИЕ ПРИ НИЗКИХ ТЕМПЕРАТУРАХ

1 - захват верхний; 2 - траверса верхняя; 3 - материал теплоизолирующий; 4 - стенка внутренняя; 5 - стенка внешняя; 6 - захват нижний; 7 - траверса нижняя; 8 - тяга; 9 - образец


ПРИЛОЖЕНИЕ 2

Справочное

ПРИМЕРНАЯ ФОРМА ЖУРНАЛА РЕГИСТРАЦИИ РЕЗУЛЬТАТОВ ИСПЫТАНИЙ ПЛОСКИХ И ЦИЛИНДРИЧЕСКИХ ОБРАЗЦОВ НА СТАТИЧЕСКОЕ РАСТЯЖЕНИЕ

Испытательная машина (мощность)

Заказчик (цех)

Номер заказа, изделия

Тип образца, ГОСТ

Температура испытания, °С

Маркировка образца

Диаметр d0 (размер плоского образца а0, b0) до разрыва, мм (м)

Площадь F0, мм22)

Диаметр dК (размер плоского образца аК, bК) после разрыва, мм (м)

Площадь FК, мм22)

Начальная расчетная длина l0, мм (м)

Длина после разрыва lК, мм (м)

Разрушающее усилие PMAX, кгс (Н)

Усилие при пределе текучести РТ, Р0,2, кгс (Н)

Временное сопротивление sВ, кгс/мм2 (Н/м2)

Предел текучести sТ, s0,2, кгс/мм2 (Н/м2)

Относительное удлинение d, %

Относительное сужение y, %

Угол загиба

Примечание

 

 

 

 

 

 

 

 

 

 

 

 

 

 

 

 

 

 

 

 

 

 

 

 

 

 

 

 

 

 

 

 

 

 

 

 

 

 

 

 

 

 

 

 

 

 

 

 

 

 

 

 

 

 

 

 

 

 

 

 

 

 

 

 

 

 

 

 

 

 

 

 

 

 

 

 

 

 

 

 

 

 

 

 

 

 

 

 

 

 

 

 

 

 

 

 

 

 

 

 

 

 

 

 

 

 

 

 

 

 

 

 

 

 

 

 

 

 

 

 

 

 

 

 

 

 

 

 

 

 

 

 

 

 

 

 

 

 

 

 

 

 

 

 

 

 

 

 

 

 

 

 

 

 

 

 

 

 

 

 


ПРИЛОЖЕНИЕ 3

Справочное

ПРИСПОСОБЛЕНИЕ ДЛЯ ЗАМЕРА УГЛА ЗАГИБА

1 - полка для образца; 2 - шкала; 3 - указатель (стрелка)

ПРИЛОЖЕНИЕ 4

Справочное

КРИОСТАТ ДЛЯ ОХЛАЖДЕНИЯ УДАРНЫХ ОБРАЗЦОВ

1 - металлический сосуд с двойными стенками, заполненными теплоизоляцией; 2 - охлаждающая жидкость; 3 - мешалка для равномерного охлаждения; 4 - термометр; 5 - образец; 6 - решетка

ПРИЛОЖЕНИЕ 5

Справочное

ВРЕМЯ НАХОЖДЕНИЯ НА ВОЗДУХЕ И ТЕМПЕРАТУРА ИСПЫТАНИЯ ОБРАЗЦОВ НА УДАРНЫЙ ИЗГИБ

Профиль образца, мм

Первоначальная температура, °С (К)

Время нахождения на воздухе, с

Температура испытания, °С (К)

Призматический образец на ударный изгиб

10´10´55

Температура жидкого азота - 196°С (77К).

После прекращения бурного кипения жидкого азота, образцы выдерживаются в азоте не менее 10 минут

8

-180(93К)

14

-170(103К)

19

-160(113К)

26

-150(123К)

35

-140(133К)

44

-130(143К)

55

-120(153К)

67

-110(163К)

83

-100(173К)

Примечания. Массовая доля кислорода в жидком азоте в процессе охлаждения образцов в термостате не должна быть более 10%.

2. Соприкасающаяся с образцом часть приспособления для извлечения его из термостата не должна изменять температуру образца при установке его на опоры копра.

ПРИЛОЖЕНИЕ 6

Справочное

ТЕМПЕРАТУРА ПЕРЕОХЛАЖДЕНИЯ И ПЕРЕГРЕВА В ЗАВИСИМОСТИ ОТ ТЕМПЕРАТУРЫ ИСПЫТАНИЯ (ГОСТ 9454-78)

Температура, °С

испытания

переохлаждения

перегрева

Св. - 100 до - 60

4-6

-

От - 60 " - 40

3-4

-

Св. 30 " 200

-

3-6

От 200 " 400

-

5-10

" 400 " 500

-

10-15

" 500 " 600

-

15-20

" 600 " 700

-

20-25

" 700 " 800

-

25-30

" 800 " 900

-

30-40

" 900 " 1000

-

40-50

ПРИЛОЖЕНИЕ 7

Справочное

ШАБЛОН ДЛЯ УСТАНОВКИ ОБРАЗЦА НА УДАРНЫЙ ИЗГИБ НА ОПОРЫ МАЯТНИКОВОГО КОПРА

ПРИЛОЖЕНИЕ 8

Справочное

ПРИМЕРНАЯ ФОРМА ЖУРНАЛА РЕГИСТРАЦИИ РЕЗУЛЬТАТОВ ИСПЫТАНИЙ НА УДАРНЫЙ ИЗГИБ

Тип, марка копра

Заказчик (цех)

Номер заказа, изделия

Марка стали, ГОСТ, толщина

Температура испытания, °С

Тип образца, ГОСТ

Маркировка образца

Ширина образца

В

Высота образца

Н

Высота рабочего сечения

Н1

Площадь поперечного сечения,

м2, (см2)

Работа удара К, Дж×(кгс×м)

Ударная вязкость КС,

Дж/м2 (кгс×м/см2)

Примечание

м (см)

ПРИЛОЖЕНИЕ 9

Рекомендуемое

СХЕМА ЗАМЕРА ТВЕРДОСТИ НА ШВЕ ЦАРГИ

Номер детали, узла

Наименование шва

Значение твердости по Бринеллю, НВ

Примечание

в точке 1

в точке 2

в точке 3

1

П1

 

 

 

 

2

П2

 

 

 

 

СХЕМА ЗАМЕРА ТВЕРДОСТИ СВАРНЫХ ШВОВ НА ЦАРГЕ

Ñ - точка замера твердости;

П - швы продольные

Черт. 1

Таблица 2

РЕЗУЛЬТАТЫ ЗАМЕРА ТВЕРДОСТИ СВАРНЫХ ШВОВ СОСУДА*

Номер детали, узла

Наименование шва

Значение твердости по Бринеллю, НВ

Примечание

в точке 1

в точке 2

в точке 3

 

П1

П2

ПП

Продольные швы

 

 

 

 

 

К1

К2

КП

Кольцевые швы

 

 

 

 

 

КШ1

КШ2

КШП

Кольцевые швы штуцеров

 

 

 

 

 

ПД1

ПД2

ПДП

Швы днищ

 

 

 

 

* См. черт. 2 приложения 9.

СХЕМА ЗАМЕРА ТВЕРДОСТИ СВАРНЫХ ШВОВ СОСУДА

Черт. 2

ПРИЛОЖЕНИЕ 10

Справочное

СПРАВКА
результатов механических испытаний

Цеху __________ заказ № __________________ от аппарата _______________________

Наименование _____________________________________________________________

Испытание __________________________ Тип образца ___________________________

Марка стали ___________________ по ГОСТ _______________ толщина ____________

Журнал № __________________ стр. ________________ Дата _____________________

Маркировка образца

Температура испытания, °С

Временное сопротивление sВ, кгс/мм2 (Н/м2)

Предел текучести sТ, кгс/мм2 (Н/м2)

Относительное удлинение d, %

Относительное сужение y, %

Ударная вязкость КС, кгс×м/см2 (Дж/м2)

Угол загиба a

Твердость

Примечание

 

 

 

 

 

 

 

 

 

 

 

 

 

 

 

 

 

 

 

 

 

 

 

 

 

 

 

 

 

 

 

 

 

 

 

 

 

 

 

 

 

 

 

 

 

 

 

 

 

 

 

 

 

 

 

 

 

 

 

 

 

 

 

 

 

 

 

 

 

 

Зав. лабораторией ________________________ лаборант _________________________

ПРИЛОЖЕНИЕ 11

Справочное

В лабораторию механических испытаний

" _____ " _______________ 19 ___ г.

от цеха № ________

ЗАЯВКА

По заказу № ______________________________ от аппарата № ____________________

Наименование _________________________ категория ___________________________

Образец ______________________________ толщина _____________________________

Марка стали ___________________________ по ГОСТ ____________________________

Вид сварки _________________________________________________________________

Сварочные материалы _______________________________________________________

Сварщик _____________________________ Клеймо ______________________________

Прошу произвести следующие испытания:

1. _________________________________________________________________________

2. _________________________________________________________________________

3. _________________________________________________________________________

4. _________________________________________________________________________

Мастер БТК

ПРИЛОЖЕНИЕ 12

Справочное

ОПРЕДЕЛЕНИЕ ПЕРЕХОДНОЙ ТЕМПЕРАТУРЫ ТПЕР ПО ИСПЫТАНИЮ СВАРНОГО СОЕДИНЕНИЯ НА УДАРНЫЙ ИЗГИБ НАДРЕЗАННОГО ОБРАЗЦА

1. ОСНОВНЫЕ ПОЛОЖЕНИЯ

В практике эксплуатации нефтяного и химического оборудования часто встречаются многоосные нагрузки и столь же часто многоосные ударные нагрузки. Для оценки характера разрушения сталей и сварных соединений в этих условиях проводятся испытания на ударный изгиб надрезанных образцов.

Как правило, определяется зависимость ударной вязкости от температуры и положение переходного температурного интервала (по критической температуре ТПЕР).

Критическая температура характеризует переход от матового (волокнистого) излома к хрупкому и является сравнительным параметром для характера хрупкого разрушения различных материалов.

На основании критической температуры заключение о характере разрушения можно сделать лишь в том случае, когда одновременно указаны тип напряженного состояния и скорость нагружения.

Для определения критической температуры перехода используется температура:

1) при которой доля поверхности хрупкого разрушений составляет 50% общей поверхности излома;

2) при которой поверхность хрупкого разрушения составляет 70% общей поверхности излома;

3) при которой происходит абсолютно хрупкое разрушение;

4) соответствующая ударной вязкости 35 Дж/см2;

5) соответствующая ударной вязкости 21 Дж/см2;

6) соответствующая половине разности между максимальной и минимальной ударной вязкости.

Наиболее широкое применение для определения критической температуры с помощью испытания на ударный изгиб надрезанных образцов находят критерий 1 и 4.

Критическая температура сталей и сварных соединений зависит в значительной степени от структуры (например, от величины зерна). Поэтому при оценке критической температуры необходимо обязательно учитывать структуру и предварительную обработку материала.

2. МЕТОДИКА ПРОВЕДЕНИЯ ИСПЫТАНИЙ

2.1. Испытание стали и сварных соединений проводится на маятниковых копрах с запасом энергии 300 Дж и выше.

2.2. Размеры поперечного сечения образца на ударный изгиб в месте надреза определяются с точностью до 0,1 мм.

2.3. Путем визуального осмотра основания надреза необходимо проверить, изготовлен ли образец в соответствии с ГОСТ 9454-79 (невооруженным глазом должны быть неразличимы трещины и риски). Измеренные значения записываются в журнал испытаний.

2.4. Температура образцов в момент разрушения не должна более чем на ±2°С отклоняться от температуры испытания. Измерение температуры должно проводиться с точностью ±0,5°С.

2.5. В качестве хладагента используется смесь жидкого азота и этилового или гидролизного спирта. Образцы охлаждаются на несколько градусов ниже заданной температуры испытания.

2.6. Время выдержки при заданной температуре с учетом необходимого переохлаждения должно составлять по меньшей мере 10 мин.

2.7. Образец устанавливается на опоры копра так, чтобы расстояние между линией надреза и осевой линией опор составляло не более 0,5 мм. Маятниковый копер должен наносить удар по образцу в плоскости симметрии надреза.

3. ОЦЕНКА РЕЗУЛЬТАТОВ ИСПЫТАНИЯ

3.1. По установленным размерам поперечного сечения и работы удара рассчитывается ударная вязкость (Дж/см2) и заносится в протокол испытания. Вычисленные значения округляются до целых единиц Дж/см2. Если образец без разрушения изгибается между контроопорами, то это отмечается в протоколе.

3.2. Найденные значения ударной вязкости представляются графически в метрических координатах в зависимости от температуры испытания. По точкам измерения проводится усредненная кривая. Для значения ударной вязкости 35 Дж/см2 (» 3,5 кгс×м/см2) по кривым "аК-Т" определяется критическая температура ТПЕР (см. чертеж).

3.3. По визуальной оценке поверхности излома определяются критические температуры для 50%-й площади кристаллического излома.

3.4. Найденные для исследованных сталей и зон сварного соединения критические температуры записываются в таблицу и обсуждается их зависимость от формы надреза и критерия определения.

1 - для верхней кривой ТПЕР.=-70°С; 2 - для нижней кривой ТПЕР.=-54°С; 3 - для средней кривой ТПЕР.=-42°С; 4 - для 50%-й площади кристаллического излома ТПЕР.=-52°С

ПРИЛОЖЕНИЕ 13

Справочное

ОПРЕДЕЛЕНИЕ ПАРАМЕТРОВ МЕХАНИКИ РАЗРУШЕНИЯ ПО СТАТИЧЕСКОМУ ТРЕХТОЧЕЧНОМУ ИЗГИБУ

1. ОСНОВНЫЕ ПОЛОЖЕНИЯ

Опыт показывает, что в деталях конструкций нельзя избежать трещин. Они могут возникнуть как при изготовлении конструкций, так и в процессе их эксплуатации.

Трещины снижают несущую способность конструкции тем сильнее, чем выше временное сопротивление материалов. Этого раньше не учитывали, что приводило к катастрофическим разрушениям резервуаров высокого давления, нефте- и газопроводов и других конструкций. С увеличением нагрузки и размеров конструкций частота появления таких поломок возрастает.

Значительный прогресс в оценке надежности деталей был достигнут с развитием механики разрушения. Основная формула механики разрушения:

где К - коэффициент интенсивности (концентрации) напряжений;

s - номинальное напряжение детали;

l - длина трещины;

С - размерный фактор.

При применении положений механики разрушения для оценки надежности детали исходят из длины трещины, которую можно точно определить, а напряжение разрушения рассчитывается по имеющимся значениям вязкости разрушения. При этом должен учитываться медленный стабильный рост трещины, субкритический рост трещины под действием динамической нагрузки или коррозии. С течением времени длина трещины должна достичь критического значения, которое приводит к разрушениям детали под действием постоянного внешнего напряжения.

Достоверными параметрами механики разрушения являются:

КIС - вязкость разрушения (плоское напряженное состояние);

показатель критической интенсивности напряжений КС (плоское напряженное состояние);

dС - показатель критического раскрытия трещины.

Выбор метода механики разрушения для оценки кривых "нагрузка - перемещение" (P-V), a также выбор температуры, при которой следует проводить испытание, зависят от величины предела текучести металла, толщины образца или от предусмотренной температуры эксплуатации. При разрушении между точками О и А (черт. 1) справедлива линейно-упругая механика разрушения, между точками А и В - метод вязкого разрушения, а между точками В и С - обычный расчет на пластическую нестабильность, обусловленную недопустимо-высокой пластической деформацией.

Применение линейно-упругой механики требует учета различных краевых условий, одно из которых - наличие плоского напряженного состояния при статическом растяжении.

Определение действительного (не зависящего от толщины) значения КIC возможно лишь в том случае, когда выполняются условия:

при толщине образца t³2,5 (КIC/s0,2)2;

при длине трещины l³2,5 (КIC/s0,2)2.

Применение линейно-упругой механики разрушения возможно лишь для толстостенных конструкций или для материалов, характеризующихся высоким пределом текучести (больше 1000 Н/мм2). Пример: для KIC = 2000 Н/мм3/2 и s0,2 = 1000 Н/мм2 получается t = l = 10 мм.

Применение образцов таких размеров удобно с точки зрения техники измерения. Для свариваемых конструкционных сталей средней прочности в виде толстого листа, а также для сварных соединений для оценки надежности используется коэффициент критической интенсивности и показатель критического раскрытия трещины dС.

Вязкость разрушения KIC играет определенную роль лишь при очень большой толщине листа и очень низких температурах. Так как KC зависит от геометрических размеров образца (черт. 2), то для испытания в условиях, близких к реальным условиям эксплуатации, толщина образца должна соответствовать минимальной толщине конструкции.

Выбор оптимальной формы образца производится с учетом затрат материалов и с учетом имеющихся испытательных машин.

ОБЛАСТИ ПРИМЕНЕНИЯ ЛИНЕЙНО-УПРУГОЙ МЕХАНИКИ РАЗРУШЕНИЯ И МЕХАНИКИ ВЯЗКОГО РАЗРУШЕНИЯ

I - упругая деформация; II - пластическая деформация; III - пластическая нестабильность; IV - плоское напряженное состояние (механика вязкого разрушения); V - плоское напряженное состояние (линейно-упругая механика разрушения)

Черт. 1

ОБРАЗЕЦ ДЛЯ ИСПЫТАНИЯ НА СОСРЕДОТОЧЕННЫЙ (ТРЕХТОЧЕЧНЫЙ) ИЗГИБ

Соотношение размеров: t=0,5b; l=(0,45 - 0,55); h=(0,2-0,45)b; K=0,06b; если b=25 мм, то К=1,5 мм.

Непараллельность наружных плоскостей не более 0,1 мм на длине 100 мм. При t£25 мм надрез может быть прямым

Черт. 2

Применяются следующие образцы: цилиндрический образец с кольцевой выточкой для испытаний на осевое растяжение или изгиб; плоский образец для испытаний на осевое растяжение, образец для испытаний на сосредоточенный изгиб (трехточечный); дисковый образец для испытаний на внецентренное растяжение, прямоугольный образец (компактный образец на внецентренное растяжение), плоский образец для испытания на осевое растяжение и дисковый образец для разгонных испытаний.

Для образца на сосредоточенный изгиб при испытании требуются небольшие нагрузки.

По сравнению с существующими способами испытания для оценки характера разрушения металлических материалов (испытание на растяжение, ударный изгиб и т.д.), для проведения экспериментов механики разрушения требуются не только специальное оборудование, но и повышенные затраты на изготовление образцов.

2. МЕТОДИКА ПРОВДЩШЯ ИСПЫТАНИЙ

2.1. Подготовка образцов к испытанию на трехточечный изгиб

2.1.1. Образцы механически обрабатывают до необходимых размеров в состоянии после окончательной термической обработки. При назначении технологии изготовления образцов необходимо сводить к минимуму наклеп металла, остаточные напряжения и другие факторы в зоне разрушения.

2.1.2. Усталостную трещину создают от исходного надреза. Создание усталостной трещины от исходного механического надреза осуществляют с применением испытательных машин, позволяющих задавать и регистрировать минимальные и максимальные усилия цикла нагружения и число циклов. Способ нагружения образцов должен обеспечивать получение заданной глубины и фронта усталостной трещины.

2.1.3. Для нанесения усталостной трещины в образцах для испытания на сосредоточенный (трехточечный) изгиб образец устанавливается на вращающиеся опоры (черт. 3) диаметром 0,5b. Ролики устанавливают на равных расстояниях от оси надреза с погрешностью до 0,02b. Плоскость надреза устанавливается с погрешностью до 2° относительно осей роликов.

2.1.4. На образцах (черт. 2) нанесение начальной усталостной трещины от механического надреза осуществляют при максимальном усилии переменного нагружения, которому соответствует Kfmax£0,75KIC (Kfmax - коэффициент интенсивности напряжения при максимальном усилии в условиях циклического нагружения). Конечный участок длиной не менее 0,3 от всей длины усталостной трещины должен создаваться при Kfmax£0,6KIC. При создании усталостных трещин в условиях знакопостоянных циклов растяжения рекомендуется коэффициент асимметрии цикла напряжений выбирать в пределах 0,1-0,25. Если невозможно измерить нагрузку, число циклов нагружения при создании усталостной трещины должно быть не менее 5×104.

2.1.5. Длина усталостной трещины по всей ширине сечения должна находиться в пределах до 0,025t, но не менее 1,2 мм для плоских образцов.

2.1.6. Вблизи основания трещины измерить толщину образца t и его ширину b с точностью до 0,025 мм и снять форму усталостной трещины при выборочном испытании на изгиб. Неравномерность глубины трещины не должна превышать 5% от заданной глубины l. Отклонение плоскости усталостной трещины от плоскости надреза на всех образцах не должно превышать 10°.

2.1.7. Предварительный расчет максимальной нагрузки с целью определения необходимой мощности испытательной машины для разрушения образца на трехточечный изгиб производят по формуле:

.

2.1.8. Испытательная машина должна быть оборудована встроенными или переносными двухкоординатными самописцами (черт. 3), предназначенными для записи диаграмм "Р-V" (сила Р - перемещение берегов надреза V) и "Р-V "(сила Р - перемещение по оси действия силы). При испытании на трехточечный изгиб используются два самописца: один для записи диаграмм "Р-V" и один для записи диаграмм "Р -f".

2.1.9. Измерение усилий выполняется с помощью силоизмерительной системы испытательной машины или датчиком сопротивления, установленным на тяге в системе нагружения испытательной машины. Устройство для измерения силы должно иметь линейную характеристику с погрешностью ±1%.

2.1.10. Для измерения смещения берегов надреза на образцах применяют датчики смещения тензорезисторного, индукционного или емкостного типа. Датчик смещения должен иметь линейную характеристику во всем диапазоне рабочего хода от 1 до 5 мм. Допускается погрешность измерения и регистрации смещения ±2%. Тарировка датчика производится с точностью 0,01 мм.

2.1.11. Испытания при температуре ниже комнатной проводят в охлаждающей камере. В качестве хладагентов используют жидкий азот. При умеренно низкой температуре (до минус 100°С) используют жидкости: этиловый или гидролизный спирт, изопентан уже предварительно охлажденные до заданной температуры жидким азотом.

2.1.12. Испытания при температурах выше комнатной проводят в термокамерах с применением специальных электронагревательных устройств.

2.1.13. Измерение и регистрацию температуры образца осуществляют термоэлектрическими термометрами, установленными в зоне предполагаемого разрушения. Погрешность измерения температур не должна превышать ±5% от заданной при температурах ниже минус 100°С и выше плюс 100°С или ±2°С при температурах в диапазоне от минус 100°С до плюс 100°С.

2.2. Порядок проведения испытаний

2.2.1. На устройстве для испытания на изгиб установить расстояние между опорами.

2.2.2. Для находящегося в районе надреза датчика снять с помощью калибратора точностью до 0,025 мм зависимость действительного расширения надреза f (зарегистрированное расширение трещины) до величины 3 мм и изобразить ее графически. Параметры двухкоординатного самописца и усилителя при этом следует выбрать таким образом, чтобы чувствительность при измерении расширения надреза была не менее 25 мВ/мм, а увеличение при регистрации не менее 100 мм. Необходимо следить за тем, чтобы во время проведения испытания не изменялись выбранные для построения калибровочной кривой параметры приборов.

2.2.3. С помощью силоизмерителя испытательной машины прокалибровать ось у двухкоординатного самописца для предварительно выбранных усилий.

2.2.4. Испытуемый образец установить надрезом нa роликовые опоры таким образом, чтобы нагружение происходило в плоскости трещины. Угол между плоскостью приложения нагрузки и плоскостями торцов образца не должен превышать 2°. Кроме того, отклонение точки приложения нагрузки от оси надреза не должно составлять более 0,5% расстояния между роликовыми опорами.

2.2.5. Датчик для измерения расширения надреза с обоими его изгибными пружинами, располагаемыми по обе стороны от надреза, подвижно установить на образце для испытания на изгиб. Измерительные ножи для снятия перемещений изгибных пружин должны быть расположены таким образом, чтобы этот датчик можно было предварительно нагрузить по меньшей мере на величину ожидаемого расширения надреза.

2.2.6. После контроля устанавливаемых параметров испытания нагрузить образец со скоростью 0,5-1,0 мм/мин. Если в процессе нагружения происходит раскрытие трещины, то датчик расширения надреза выдает сигналы, которые являются мерой перемещения точки его установки.

2.2.7. На поверхностях излома исследованных образцов с помощью измерительного микроскопа измеряется глубина усталостных трещин, начиная от основания надреза в точках 0,25t; 0,5t; 0,75t, и указывается средняя глубина трещины, которая рассчитывается как среднее арифметическое измеренных в названных трех точках глубин l1, l2, l3 (черт. 4а).

Кроме того, определяется глубина полученных механическим способом надрезов h. Эффективная длина трещины l (механический надрез + усталостная трещина) образцов записывается в журнал испытаний. Если в процессе испытания наблюдается стабильный рост трещины, то его следует учитывать при определении ее эффективной длины (черт. 4б).

3.ОЦЕНКА РЕЗУЛЬТАТОВ ИСПЫТАНИЙ

3.1. По данным испытаний образцов производят определение сил РQ и РC. Для этого используют диаграммы "Р-V" расширения берегов надреза, записанные при испытании образцов вплоть до разрушения. Возможные типы диаграмм показаны на черт. 5 и 6.

СХЕМА УСТАНОВКИ ДЛЯ СНЯТИЯ КРИВЫХ "НАГРУЗКА-ПЕРЕМЕЩЕНИЕ"

1 - образец для испытания на сосредоточенный изгиб; 2 - датчик перемещения; 3 - усилитель измерительного сигнала; 4 - двухкоординатный самописец; 5 - испытательная машина с электроизмерителем

Черт. 3

СХЕМА ОПРЕДЕЛЕНИЯ ГЛУБИНЫ УСТАЛОСТНОЙ ТРЕЩИНЫ

а - при нестабильном росте трещины; б - при наступлении стабильного роста трещины; 1 - поверхность остаточного излома; 2 - субкритический рост (распространение) трещины; 3 - усталостная трещина; 4 - механический надрез

Черт. 4

Усилия РQ и РС необходимы для вычисления величин КIC и КС. Сила РQ равна разрушающей нагрузке РС, если диаграмма "Р-V" оканчивается внутри угла, тангенс которого нa 5% меньше, чем тангенс угла касательной к начальной части диаграммы (черт. 5а). Для диаграммы черт. 5б, имеющая скачек внутри этого угла, сила PQ соответствует максимуму нагружения при скачке. По диаграммам черт. 6а и 6б силу РQ определяют в месте пересечения диаграмм с указанной 5%-й секущей. Если при испытаниях удается зафиксировать нагрузку Р0, соответствующую началу докритического подрастания трещины, то для диаграммы черт. 6б допускается принимать РQ= Р0.

3.2. Вычисление величины КQ для образцов, испытываемых на трехточечный изгиб, производят по формуле:

Безразмерная функция Y3, зависящая от относительного размера трещины l/b, равна

3.3. Для определения критического раскрытия трещины необходимо точно знать расширение надреза в момент распространения трещины. Измеренное на поверхности образца расширение надреза следует определять по снятой диаграмме "нагрузка-перемещение" (расширение надреза черт. 5а, б; 6а). Расчет критического раскрытия трещины dС (мм) у основания производится по формуле:

где VC - расширение надреза в точках установки датчика;

n = 3 - ротационный фактор (для образцов на трехточечный изгиб);

l - длина трещины (механический надрез + усталостная трещина);

Z - расстояние точек установки датчика расширения надреза от поверхности образца;

b - ширина образца, мм.

Если форма кривой "нагрузка-перемещение" соответствует форме кривой черт. 6б, то вместо VC можно использовать происходящее при максимальной нагрузке Рmax расширение надреза VMAX и рассчитать условное критическое раскрытие трещины.

ОЦЕНКА КРИВЫХ "НАГРУЗКА-ПЕРЕМЕЩЕНИЕ" ПО ЛИНЕЙНО-УПРУГОЙ МЕХАНИКЕ РАЗРУШЕНИЯ (СЕКУЩАЯ ОТКЛОНЕНА ОТ КРИВОЙ ГУКА НА 5%)

а - в области упругих напряжений; б - при небольших пластических перемещениях; V - перемещение

Черт. 5

ОЦЕНКА КРИВЫХ "НАГРУЗКА-ПЕРЕМЕЩЕНИЕ" ПО МЕХАНИКЕ ВЯЗКОГО РАЗРУШЕНИЯ

Черт. 6

4. Критическое раскрытие трещины dС связано с коэффициентом критической интенсивности напряжений КС плоского напряженного состояния уравнением:

КС=(s0,2×dС×Е)1/2,

где s0,2 - предел текучести;

Е - модуль упругости I рода.

По найденному критическому раскрытию трещины dС стали, используя ее предел текучести и модуль упругости, рассчитывается значение КС. Найденные значения КIC, КС и dС сравнивают с литературными данными и производят оценку.

ПРИЛОЖЕНИЕ 14

Справочное

СПОСОБ ОПРЕДЕЛЕНИЯ ТРЕЩИНОСТОЙКОСТИ (KIC) СТАЛЕЙ, ИХ СВАРНЫХ СОЕДИНЕНИЙ ПРИ РАЗЛИЧНЫХ ТЕМПЕРАТУРАХ*

Способ позволяет определять корректные значения трещиностойкости стали средней и низкой прочности (и их сварных соединений), соответствующих величине KIC, полученной в условиях реализации микромеханизма разрушения скола, на образцах малых (приемлемых) размеров при любых температурах (до плюс 250°С).

*Разработчик: Институт металлургии им. Байкова АН CСCP, проф. д.т.н. Иванова В.С., м.н.с. Бурба В.И.

Определение трещиностойкости производится в два этапа.

На первом этапе испытывают призматический образец с нанесенной заранее усталостной трещиной при температуре Т0 ниже второй критической температуры хрупкости. Фиксируют максимальную разрушающую нагрузку и определяют величину трещиностойкости .

На втором этапе определяют пределы текучести по ГОСТ 1497-84 на гладких цилиндрических образцах, один при той же температуре, что и величина , другой - при любой заданной температуре Т.

Требуемую величину трещиностойкости при заданной температуре определяют по формуле:

где  и  - трещиностойкость при заданной температуре и температуре ниже второй критической;

 и  - пределы текучести при тех же температурах.

Этот способ основан на постоянстве произведения s0,2×КС=const при различных температурах в условиях подобия микромеханизма разрушения, позволяет определять КIC при температурах, когда невозможно получить корректное значение трещиностойкости другими методами на образцах малых размеров.

Пример: Определить трещиностойкость стали  при температуре Т.

1. Малый образец толщиной 15 мм и выше с заранее выращенной усталостной трещиной подвергают внецентренному растяжению до полного разрушения. Температура образца во время испытаний Т0 должна быть ниже второй критической температуры хрупкости. Например, для ферритоперлитных сталей малой и средней прочности выбирают температуру Т0, равной минус 196°С (температура жидкого азота). В процессе испытания фиксируют максимальную разрушающую нагрузку РС и рассчитывают величину трещиностойкости при температуре Т0 - :

где t - толщина образца;

b - характерный размер образца;

l - длина трещины (с механическим надрезом).

2. Гладкий цилиндрический образец диаметром от 8 до 10 мм статически нагружают (растяжением) до разрушения при той же температуре Т0. В процессе испытания записывают диаграмму разрушения в координатах "нагрузка-удлинение" и определяют нагрузку , соответствующую остаточной деформации образца, равной 0,2%. Рассчитывают предел текучести стали при температуре Т.

3. Аналогично п.2 определяют предел текучести при любой заданной температуре, например Т ().

4. Определяют трещиностойкость при температуре Т - KIC:

.

ЛИТЕРАТУРА

1. Шевандин Б.М., Разов И.А. Хлaдoлoмкocть и предельная пластичность металлов в судостроении. -/Л.: Судостроение, 1965.

2.Тимошук Л.Т. Механические испытания металлов. -/М.: Металлургия, 1973.

3. Нитцше К. Испытания металлов. -/М.: Металлургия, 1967.

4. Авдеев Б.А. Техника определения механических свойств материалов. -/М. Машиностроение, 1965.

5. Фридман Л.Б. Механические свойства металлов. -/М.: Машиностроение. 1974. - Т.1.2.

6. Беккер З. Практические вопросы испытания металлов. -/М.: Металлургия, 1979.

7. Иванова В.С., Бурба В.И. Анализ сопротивления хрупкому разрушению конструкционных сталей при низких температурах в условиях подобия механизма разрушения в книге "Прочность конструкций, работающих в условиях низких температур". -/М.: Металлургия, 1985.

8. ГОСТ 1497-84 (СТ СЭВ 471-77). Металлы. Методы испытания на растяжение. Взамен ГОСТ 1497-73: введен с 01.01.86 до 01.01.91. +/М.: Издательство стандартов, 1985.

9. ГОСТ 2999-75. Металлы. Метод измерения твердости алмазной пирамидой по Виккерсу. Взамен ГОCT 2999-59: введен с 01.07.76 до 01.07.86.-/М.: Издательство стандартов, 1979.

10. ГОСТ 3728-78 (СТ СЭВ 430-77). Трубы. Метод испытания на загиб. Взамен ГОСТ 3728-66: введен с 01.07.79 до 01.07.84, срок действия продлен до 01.07.89. -М.: Издательство стандартов, 1981.

11. ГОСТ 6996-66. Сварные соединения. Методы определения механических свойств. Взамен ГОСТ 6996-54: введен с 01.07.67.-/М.: Издательство стандартов, 1979.

12. ГОСТ 7268-82 (СТ CЭВ). Сталь. Метод определения склонности к механическому старению по испытанию на ударный изгиб. Взамен ГОСТ 7268-67: введен с 01.01.83 до 01.01.88 -/М.: Издательство стандартов, 1985.

13. ГОСТ 7564-73. Общие правила отбора проб, заготовок и образцов для механических и технологических испытаний. Взамен ГОСТ 7564-64: введен с 01.01.75 до 01.01.80, срок действия продлен до 01.07.90. -/М.: Издательство стандартов, 1973.

14. ГОСТ 7855-74. Машины разрывные и универсальные для статических испытаний металлов. Взамен ГОСТ 7855-74: введен с 01.01.76 до 01.01.81, срок действия продлен до 01.07.86. -/М.: Издательство стандартов, 1974.

15. ГОСТ 8693-80(CT СЭВ 480-77). Трубы металлические. Метод испытания на бортование. Взамен ГОСТ 8693-58: введен с 01.07.80 до 01.07.85, продлен до 01.07.90. -М/.: Издательство стандартов, 1981.

16. ГОСТ 8694-75. Трубы. Метод испытания на раздачу. Взамен ГОСТ 8694-58: введен 01.07.77 до 01.07.82, срок действия продлен до 01.07.87.-/М.: Издательство стандартов, 1978.

17. ГОСТ 8695-75. Трубы. Метод испытания на сплющивание. Взамен ГОCT 8695-58: введен с 01.07.77 до 01.07.82, срок действия продлен до 01.07.87. -/М.: Издательство стандартов, 1976.

18. ГОСТ 9012-59. Металлы. Методика испытания. Измерение твердости по Бринеллю. Взамен ОСТ 10241-40: введен с 01.01.60, продлен до 01.07.90. -/М.: Издательство стандартов, 1972.

19. ГОCT 9013-59. Металлы. Метод испытания. Измерение твердости по Роквеллу. Взамен ОСТ 10242-40: введен с 01.01.60. Переиздание с изменением №1.-/М.: Издательство стандартов, 1972.

20. ГОCT 9454-78 (СТ СЭВ 472-77, СТ СЭВ 473-77). Металлы. Метод испытания на ударный изгиб при пониженной, комнатной и повышенной температурах. Взамен ГОСТ 9454-60, ГОСТ 9455-60 и ГОСТ 9456-60: введен с 01.01.82 до 01.01.89, в части испытания образцов с концентратором вида Т (п.1.1) с 01.01.82 до 01.01.89.-/М.: Издательство стандартов, 1978.

21. ГОСТ 9466-75. Электроды покрытые металлические для ручной дуговой сварки и наплавки. Взамен ГОСТ 9466-86: введен с 01.01.77 до 01.01.82, срок действия продлен до 01.01.84.-/М.: Издательство стандартов, 1978.

22. ГОСТ 9651-84 (СТ СЭВ 1194-78). Металлы. Методы испытаний на растяжение при повышенных температурах. Взамен ГОСT 9651-73: введен с 01.01.86 до 01.01.91.-/М.: Издательство стандартов, 1985.

23. ГОСТ 10006-80 (СТ СЭВ 476-77). Трубы металлические. Методы испытания на растяжение. Взамен ГОСТ 10066-73: введен с 01.07.80 до 01.07.85, срок действия продлен до 01.07.90.-/М.: Издательство стандартов, 1978.

24. ГОСТ 10708-82. Копры маятниковые. Технические условия: Взамен ГОСТ 10708-76: введен с 01.07.83 до 01.07.88.-/М.: Издательство стандартов, 1982.

25. ГОСТ 10885-75. Сталь листовая горячекатаная двухслойная коррозионностойкая. Взамен ГОСТ 10885-64: введен с 01.01.83 до 01.01.88.-/М.: Издательство стандартов, 1985.

26. ГОСТ 11150-84. Металлы. Методы испытания на растяжение при пониженных температурах. Взамен ГОСТ 11150-75: введен с 01.01.86 до 01.01.91.-/М.: Издательство стандартов, 1985.

27. ГОСТ 14019-80 (СТ CЭВ 474-77). Металлы и сплавы. Методы испытания на изгиб. Взамен ГОСТ 14019-68: введен с 01.07.80 до 01.07.85, срок действия продлен до 01.07.90.-/М.: Издательство стандартов, 1980.

28. ГОСТ 18661-73. Сталь. Измерение твердости методом ударного отпечатка. Разработан впервые: введен с 01.01.74 до 01.01.79, срок действия продлен до 01.07.89.-/М.: Издательство стандартов, 1973.

29. ГОСТ 12.1.019-79. ССБТ. Электробезопасность. Общие требования. -/М.: Издательство стандартов, 1978.

30. ГОCT 12.1.030-81. ССБТ. Электробезопасность. Общие требования. Защитное заземление, зануление. -/М.: Издательство стандартов, 1980.

31. ГОСТ 12.1.004-76. ССБТ. Пожарная безопасность. -/М.: Издательство стандартов, 1975.

32. ОСТ 26-291-79. Сосуды и аппараты стальные сварные. Технические требования. Взамен ОСТ 26-292-71: введен с 01.01.82 до 01.01.87. -/М.: Издательство стандартов, 1981.

33. РТМ 26-168-81. Сварка сосудов н аппаратов из двухслойной коррозионностойкой стали. Взамен РТМ 26-168-73: введен с 01.01.82. -/Волгоград: ВНИИПТхимнефтеаппаратуры, 1981.

34. РД 50-260-81. Методические указания. Расчеты и испытания на прочность в машиностроении. Методы механических испытаний металлов. Определение характеристик (трещиностойкости) при статическом нагружении. Разработан впервые. -/М.: Издательство стандартов, 1982.

СОДЕРЖАНИЕ

1. Общие положения. 1

2. Методы механических испытаний. 2

2.1. Виды испытаний. 2

2.2. Проведение испытаний на статическое растяжение. 2

2.3. Проведение испытаний на статический изгиб. 5

2.4. Проведение испытаний на ударный изгиб. 6

3. Определение характеристик механических свойств сварного соединения. 8

3.1. Отбор проб и заготовок. 8

3.2. Форма и размеры образцов на статическое растяжение и изгиб. 9

3.3. Форма и размеры образцов на статическое растяжение и изгиб из сварных контрольных соединений толщиной более 50 мм.. 11

3.4. Форма и размеры образцов для определения временного сопротивления металла шва в стыковом соединении. 17

3.5. Форма и размеры образцов для испытания металла шва и различных участков околошовной зоны.. 18

3.6. Форма и размеры образцов для испытания наплавленного металла. 25

3.7. Форма и размеры образцов для испытания двухслойных сталей. 26

3.8. Испытание сварного соединения на стойкость против механического старения. 28

4. Определение характеристик механических свойств сварных труб. 30

4.1. Испытание на статическое растяжение. 30

4.2. Испытание на сплющивание. 32

4.3. Испытание на раздачу. 34

4.4. Испытание на бортование. 34

4.5. Испытание на загиб. 35

5. Определение твердости металла шва сварного соединения. 35

5.1. Общие положения. 35

5.2. Правила производства испытаний на твердость. 36

5.3. Основные требования по замеру твердости металла шва сварных соединений из двухслойных и хромомолибденовых сталей. 37

6. Оценка механических свойств. 38

7. Оформление заявок на изготовление и испытание образцов из сварных контрольных соединений. 39

8. Требования безопасности. 40

Приложение 1 Приспособление для испытания нa статическое растяжение при низких температурах. 41

Приложение 2 Примерная форма журнала регистрации результатов испытаний плоских и цилиндрических образцов на статическое растяжение. 43

Приложение 3 Приспособление для замера угла загиба. 44

Приложение 4 Криостат для охлаждения ударных образцов. 44

Приложение 5 Время нахождения на воздухе и температура испытания образцов на ударный изгиб. 45

Приложение 6 Температура переохлаждения и перегрева в зависимости от температуры испытания (гост 9454-78) 45

Приложение 7 Шаблон для установки образца на ударный изгиб на опоры маятникового копра. 45

Приложение 8 Примерная форма журнала регистрации результатов испытаний на ударный изгиб. 46

Приложение 9 Схема замера твердости на шве царги.. 46

Приложение 10 Справка результатов механических испытаний. 47

Приложение 11 Заявка. 47

Приложение 12 Определение переходной температуры тпер по испытанию сварного соединения на ударный изгиб надрезанного образца. 48

Приложение 13 Определение параметров механики разрушения по статическому трехточечному изгибу. 49

Приложение 14 Способ определения трещиностойкости (kic) сталей, их сварных соединений при различных температурах. 55

Литература. 56

 



© 2013 Ёшкин Кот :-)