Информационная система
«Ёшкин Кот»

XXXecatmenu

ГОСУДАРСТВЕННЫЙ КОМИТЕТ СОВЕТА МИНИСТРОВ СССР
ПО ДЕЛАМ СТРОИТЕЛЬСТВА
(ГОССТРОЙ СССР)

ВРЕМЕННАЯ
ИНСТРУКЦИЯ
ПО ПРОЕКТИРОВАНИЮ
СТЕН СООРУЖЕНИЙ
И ПРОТИВОФИЛЬТРАЦИОННЫХ
ЗАВЕС, УСТРАИВАЕМЫХ
СПОСОБОМ
«СТЕНА В ГРУНТЕ»

СН 477-75

Москва Стройиздат 1976

Временная инструкция по проектированию стен сооружений и противофильтрационных завес, устраиваемых способом «стена в грунте» (СН 477-75) разработана НИИОСП им. Герсеванова Госстроя СССР, ВНИИГС и институтом «Фундаментпроект» Минмонтажспецстроя СССР, институтом «Гидроспецпроект» Всесоюзного объединения «Гидроспецстрой» с участием ВНИИГ им. Веденеева Минэнерго СССР, НИИСК Госстроя СССР, ЦНИИС Минтрансстроя, НИИСП Госстроя УССР и проектно-изыскательской конторы «Укрспецстройпроект» треста «Укргидроспецфундаментстрой» Минмонтажспецстроя УССР.

Редакторы - инж. Л.Е Темкин (Госстрой СССР), кандидаты техн. наук Б.С. Федоров, А.С. Снарский и инж. А.А. Арсеньев (НИИОСП им. Герсеванова Госстроя СССР) и канд. техн. наук В.Ф. Раюк (ВНИИГС Минмонтажспецстроя СССР).

Государственный
комитет
Совета Министров
СССР
по делам
строительства
(Госстрой СССР)

Строительные нормы

СН 477-75

Временная инструкция
по проектированию
стен сооружений
и противофильтрационных завес,
устраиваемых способом
«стена в грунте»

-

1. ОБЩИЕ ПОЛОЖЕНИЯ

1.1. Требования настоящей Инструкции должны выполняться при проектировании подземных и заглубленных в грунт стен сооружений, а также противофильтрационных завес, устраиваемых способом «стена в грунте».

1.2. Проектирование стен и противофильтрационных завес, устраиваемых способом «стена в грунте», допускается для сооружений и зданий, возводимых на площадках с любыми геологическими и гидрогеологическими условиями, за исключением площадок с геологически неустойчивыми условиями (карст, оползни и т.п.), также когда основания сложены крупнообломочными грунтами с незаполненными пустотами между зернами грунта либо сложены илами текучей консистенции.

1.3. Стены и противофильтрационные завесы, устраиваемые способом «стена в грунте», наиболее рационально предусматривать для строительства:

в сложных гидрогеологических условиях и при высоком уровне грунтовых вод, причем наиболее эффективно в водонасыщенных грунтах при возможности заглубления стены в водоупорный слой;

подземных помещений и ограждений котлованов в городских условиях вблизи существующих зданий, сооружений, коммуникаций, а также подземных сооружений на территории бульваров, скверов, широких улиц и т.д.;

на свободных территориях при необходимости ограждения больших котлованов.

Внесена
НИИОСП
им. Герсеванова
Госстроя СССР

Утверждена
Государственным
комитетом

Совета Министров
СССР
по делам строительства
17 октября 1975 г.

Срок введения
в действие
1 июля 1976 г.

1.4. Применение стен и противофильтрационных завес, выполняемых в соответствии с требованиями настоящей Инструкции, допускается предусматривать в проектах:

сооружений и зданий промышленных предприятий и объектов гражданского назначения (подземные этажи и фундаменты производственных, общественных и жилых зданий, скиповые ямы, установки непрерывной разливки стали, колодцы для дробильных цехов и горно-обогатительных предприятий, бункерные ямы, подземные технологические галереи, подземные гаражи и помещения другого назначения);

транспортных сооружений (подземные переходы и переезды под улицами и дорогами, станции и туннели метрополитенов мелкого заложения, подземные автомагистрали);

гидротехнических сооружений (водозаборы и насосные станции, противофильтрационные завесы плотин и дамб, сухие доки, шлюзы, набережные, причальные стены и др.);

защиты котлованов и карьеров от притока подземных вод.

При этом применение стен и противофильтрационных завес, устраиваемых способом «стена в грунте», должно быть обосновано технико-экономическими расчетами путем сравнения: стен со стенами подземных сооружений, устраиваемых в открытых котлованах, в том числе с использованием шпунтовых ограждений, с применением опускных колодцев и другими способами, а противофильтрационных завес - с завесами других конструкций и другими средствами защиты от притока подземных вод.

1.5. Инженерно-геологические изыскания, необходимые для проектирования стен сооружений и противофильтрационных завес, устраиваемых способом «стена в грунте», должны производиться в соответствии с общими требованиями главы СНиП по инженерным изысканиям для строительства; при этом в отчетных материалах изысканий должны содержаться дополнительные данные, характеризующие вид, состояние фундаментов и их оснований, расположенных вблизи зданий и сооружений, а также данные о нагрузках, передаваемых на основания.

1.6. При проектировании стен сооружений и противофильтрационных завес, устраиваемых способом «стена в грунте», должны быть определены и в проекте указаны основные данные по технологии производства работ (длина захватки, удельные веса тиксотропного раствора и бетона, продолжительность выполнения бетонных работ и др.).

1.7. Стены сооружения (здания), устраиваемые способом «стена в грунте», допускается предусматривать прямолинейного, криволинейного или ломаного очертания в плане; при этом такие стены допускается проектировать монолитными с бетонированием, осуществляемым методом вертикально-перемещающейся трубы (ВПТ) или нагнетанием бетонной смеси насосом с вытеснением глинистого раствора, либо сборными из железобетонных элементов заводского изготовления.

Стены следует проектировать из тяжелого бетона плотной структуры проектной марки, по прочности на сжатие не ниже М 200 для монолитных и не ниже М 300 для сборных конструкций. Проектную марку бетона или раствора для замоноличивания стыков сборных конструкции следует принимать не ниже проектной марки бетона соединяемых элементов.

Бетон для стен сооружений (зданий), устраиваемых в обводненных грунтах, должен иметь проектную марку по водопроницаемости не ниже В2 и марку по морозостойкости не ниже Мрз 50.

1.8. Требования к бетону и арматуре устанавливаются по соответствующим главам СНиП по проектированию бетонных и железобетонных конструкций. Дополнительные требования к бетону, укладываемому в конструкции методом ВПТ, устанавливаются в соответствии с главой СНиП на производство и приемку работ по возведению монолитных бетонных и железобетонных конструкций.

В стенах, выполняемых из монолитного бетона, укладываемого методом ВПТ, в качестве рабочей арматуры должна применяться стержневая арматура периодического профиля. Применение гладкой арматуры для указанных целей не допускается.

1.9. Глинистый раствор для заполнения траншей или буровых скважин при их проходке должен иметь состав, удельный вес и другие показатели качества, обеспечивающие устойчивость стенок траншей или скважин до полного окончания работ по устройству стен или противофильтрационных завес. Данные по подбору состава глинистого раствора должны содержаться в проекте производства работ в соответствии с требованиями главы СНиП по производству и приемке работ по устройству оснований и фундаментов. Удельный вес раствора при использовании для его приготовления бентонитовых глин следует принимать 1,05 - 1,15 гс/см3 и при использовании глин других видов - 1,10 - 1,30 гс/см3.

1.10. Для заполнения траншей противофильтрационных завес допускается предусматривать твердеющие материалы (бетон, глиноцементные растворы - пп. 1.7, 1.8 и 1.11 настоящей Инструкции) или нетвердеющие материалы (комовая глина, заглинизированный грунт - пп. 1.12 и 1.13 настоящей Инструкции) и другие материалы, удовлетворяющие требованиям качества и технологии сооружения противофильтрационных завес.

1.11. Глиноцементный раствор для заполнения траншей или скважин должен отвечать следующим требованиям:

удельный вес 1,5 - 1,8 гс/см3;

проектная прочность при сжатии затвердевшего раствора не более 30 кгс/см2;

выход камня при затвердении не менее 98 %.

Для приготовления глиноцементного раствора должны применяться:

глины и суглинки с содержанием не более 30 % частиц размером менее 0,005 мм;

цементы любой марки, стойкие к химическому составу подземных вод;

заполнители - пески мелкие и средней крупности в соотношениях, при которых достигаются указанные требования к глиноцементным растворам.

Состав глиноцементных растворов должен подбираться в лабораторных условиях.

1.12. Комовая глина, используемая в качестве нетвердеющего материала для заполнения траншей, должна в процессе ее укладки в траншею отвечать следующим требованиям:

быть плотной и медленно размокаемой в воде; иметь явно выраженную комовую структуру в насыпи: основная масса комьев должна быть размером не менее 10 см, а максимальный размер комьев не должен превышать 1/3 ширины траншеи;

природная влажность должна быть близка к пределу раскатывания, консистенция твердая, полутвердая или тугопластичная (т.е. с показателем консистенции IL £ 0,50).

Подбор глины, пригодной для устройства противофильтрационных завес, должен обосновываться специальными лабораторными исследованиями или, в особых ответственных случаях, опытными работами.

1.13. Заглинизированный грунт, т.е. смесь извлеченного из траншеи грунта с глинистым раствором, образуемый главным образом в процессе проходки траншей, должен содержать (по весу) не менее 10 - 15 % глинистых частиц с равномерным их распределением по всему объему смеси. При необходимости допускается предусматривать обогащение извлеченного из траншеи грунта глинистым раствором и дополнительное его перемешивание.

Консистенция заглинизированного грунта (смеси) должна быть такой, при которой обеспечивается качественная укладка его в траншею по заданной технологической схеме.

2. НАГРУЗКИ И ВОЗДЕЙСТВИЯ

2.1. При проектировании стен подземных сооружений, устраиваемых способом «стена в грунте», должны учитываться действующие на них нагрузки и воздействия, возникающие в условиях строительства и эксплуатации, а также от сооружения или здания, опирающегося на эти стены; для сборных элементов стен должны . учитываться также нагрузки, возникающие при их изготовлении, транспортировании и монтаже.

2.2. Нормативные нагрузки, коэффициенты перегрузки и сочетания нагрузок должны приниматься в соответствия с требованиями глав СНиП по нагрузкам и воздействиям и по проектированию оснований зданий и сооружений с учетом дополнительных требований, приведенных в пп. 2.3 - 2.19 настоящей Инструкции.

2.3. Нагрузки и воздействия, возникающие в условиях строительства стен, устраиваемых способом «стена в грунте», и соответствующие им коэффициенты перегрузки должны приниматься по табл. 1.

Таблица 1

Нагрузки и воздействия

Единица измерения

Обозначение нагрузок и воздействий

Коэффициент перегрузки

n

Номера пунктов настоящей Инструкции, по которым определяются нагрузки и воздействия

Постоянные

1. Вес строительных конструкций

тс

Gc

1,1(0,9)

2.4

2. Основное давление грунта (горизонтальное) на стены

тс/м2

РГ

1,1(0,9)

2.5

3. Боковое давление, возникающее в грунте при заполнении траншеи бетоном и передаваемое грунтом на стены после затвердения бетона

»

РГ.б

1,1(0,9)

2.6

4. Дополнительное давление грунта на стены (горизонтальное), вызываемое наклоном пластов грунта

»

РГ.1

1,1(0,9)

2.8

5. Гидростатическое давление грунтовых вод (горизонтальное) на стены

»

pW

1,1(0,9)

2.9

6. Дополнительное неравномерное давление грунта (горизонтальное) на стены круглых в плане подземных сооружений, вызываемое неоднородностью грунта в плане

»

РГ.З

1,0

2.10

7. Усилия трения стен по грунту

тс

Т

1,0

2.11

8. Усилия натяжения анкеров

»

Qa

1,1

2.12

9. Пригрузка днища сооружения анкерами против всплывания

»

Qпр. а

1,0

2.13

Кратковременные

10. Дополнительное давление грунта (горизонтальное) на стены, вызываемое нагрузками, расположенными на поверхности грунта

тc/м2

РГ.2

1,0

2.14

11. Нагрузки на перекрытия от погрузочных и транспортных средств и нагрузки на поверхности грунта

»

РГ.4

1,1

2.15

Примечания: 1. При расчете стен и их оснований на нагрузки, возникающие в стадии возведения, расчетные значения кратковременных нагрузок следует снижать на 20 %.

2. Значения коэффициентов перегрузки, указанные в скобках, должны приниматься при расчете конструкций и оснований в случаях, когда при этих значениях ухудшается работа конструкций или основания.

3. При расчете стен и их оснований по деформациям коэффициенты перегрузки следует принимать равными единице.

2.4. Нормативные значения веса строительных конструкций  следует определять по проектным размерам элементов, принимая объемный вес железобетонных конструкций в соответствии с требованиями главы СНиП по проектированию бетонных и железобетонных конструкций.

2.5. Нормативное значение основного давления грунта (горизонтального)  на стены на глубине z следует определять как давление грунта с горизонтальной поверхностью в состоянии покоя по формулам:

выше водоупорного слоя

;                                                               (1)

в водоупорном слое

,                                             (2)

где - нормативное значение природного (бытового) давления грунта на глубине z от поверхности грунта с учетом взвешивающего действия грунтовых вод;

- коэффициент бокового давления грунта в состоянии покоя, принимаемый: для крупнообломочных грунтов ; для песков и супесей ; для суглинков ; для глин ;

- разность отметок поверхности грунта и водоупорного слоя, м;

- разность отметок поверхности грунта и уровня грунтовых вод, м;

- нормативное значение объемного веса воды, равное 1 тс/м3.

При определении давления  на стены ниже дна котлована (со стороны выемки) по формулам (1) и (2) отсчет глубины z следует вести от отметки дна котлована.

2.6. Нормативное значение бокового давления , возникающего в грунте при заполнении траншеи бетоном (для монолитных стен) и передаваемое грунтом на стены после затвердения его, следует определять по формуле

=,                                    (3)

где  - высота столба бетонной смеси (или цементного раствора), определяемая в соответствии с требованиями главы СНиП на производство и приемку работ по возведению бетонных и железобетонных конструкций, м;

gН - нормативное значение объемного веса бетонной смеси (или цементного раствора), принимаемое в соответствии с требованиями главы СНиП на производство и приемку работ по возведению бетонных и железобетонных конструкций, тс/м3;

 - нормативное значение объемного веса тиксотропного раствора, принимаемое в соответствии с указаниями п. 1.9 настоящей Инструкции, тс/м3;

z - расстояние от поверхности грунта до глубины, на которой определяется давление , м;

 - разность отметок поверхности грунта и уровня тиксотропного раствора, принимаемая со знаком минус в случае, когда уровень тиксотропного раствора находится выше поверхности грунта (при наличии форшахты), м;

h - коэффициент, учитывающий взаиморасположение отметки, на которой определяется давление , уровня грунтовых вод и отметки водоупорного слоя, принимаемый: при  < z £ h = 1; при z £  или z > h = 0;

, ,  - обозначения те же, что в формуле (2).

2.7. При определении величины нормативного бокового давления грунта на стены из двух значений, полученных по формулам (2) и (3) или (1) и (3), следует принимать большее.

2.8. Дополнительное давление грунта на стены, вызываемое наклоном пластов грунта , следует определять в соответствии с требованиями «Инструкции по проектированию опускных колодцев, погружаемых в тиксотропной рубашке» (СН 476-75).

2.9. Нормативное значение гидростатического давления грунтовых вод на стены  следует определять по формулам:

выше дна котлована<

=                                                         (4)

ниже дна котлована

=,                                                  (5)

где - глубина котлована, м;

b - коэффициент, учитывающий взаиморасположение дна котлована по отношению к уровню грунтовых вод и к отметке водоупорного слоя, принимаемый: при  b = 1; при Hc>b = 0;

, z, и  значения те же, что в формулах (2) и (3).

2.10. Нормативное значение дополнительного неравномерного давления грунта  на стены круглых в плане подземных сооружений, вызываемое неоднородностью грунта в плане, следует определять по формулам:

при                                                                                 =0,25;      (6)

при                                                                                 =0,25,    (7)

где a - полярный угол.

2.11. Нормативные значения усилий трения стен по грунту Тн, учитываемые в расчетах по первой группе предельных состояний, следует определять по формуле

Тн = FсfH,

где Fс - площадь боковой поверхности стены, примыкающей к грунту, м2;

fH - нормативное значение удельного средневзвешенного сопротивления сдвигу прилегающего грунта, принимаемое по данным изысканий, но не более 4 тс/м2.

2.12. Нормативные значения усилий натяжения анкеров  следует назначать равными величинам реакций (в точках крепления анкеров к стене), получаемым в результате расчета, выполненного в соответствии с требованиями, изложенными в пп. 3.1 и 3.2 настоящей Инструкции.

2.13. Нормативные значения пригрузки днища сооружения анкерами  против всплывания следует определять расчетом по первой группе предельных состояний в соответствии с требованиями, изложенными в пп. 3.12 - 3.14 настоящей Инструкции.

2.14. Нормативные значения дополнительного давления грунта на стены, вызываемого нагрузками, расположенными на поверхности грунта  следует определять в соответствии с требованиями Инструкции СН 476-75. При этом для стен криволинейных в плане следует вычислять составляющие давлений, нормальные к поверхности стен.

2.15. Нормативные значения кратковременных нагрузок в строительный период , расположенных на перекрытиях сооружения и на поверхности грунта возле стен подземного сооружения, должны определяться проектом производства работ.

2.16. Нагрузки и воздействия, возникающие в условиях эксплуатации стен, устраиваемых способом «стена в грунте», и опирающегося на них сооружения или здания и соответствующие им коэффициенты перегрузки должны приниматься по табл. 2.

Таблица 2

Нагрузки и воздействия

Единица измерения

Обозначение нагрузок и воздействий

Коэффициент перегрузки,

n

Номера пунктов настоящей Инструкции, по которым определяются нагрузки и воздействия

Постоянные

1. Вес строительных конструкций

тс

Gc

1,1(0,9)

2.4

2. Основное давление грунта (горизонтальное) на стены

тс/м2

РГ

1,1(0,9)

2.5

3. Боковое давление, возникающее в грунте при заполнении траншеи бетоном и передаваемое грунтом на стены после затвердения бетона

»

РГ.6

1,1(0,9)

2.6

4. Дополнительное давление грунта на стены (горизонтальное), вызываемое наклоном пластов грунта

»

РГ .1

1,1(0,9)

2.8

5. Гидростатическое давление грунтовых вод (горизонтальное) на стены

»

pW

1,1(0,9)

2.9; 2.17

6 Дополнительное неравномерное давление грунта (горизонтальное) на стены круглых в плане подземных сооружений, вызываемое неоднородностью грунта в плане

»

РГ.З

1,0

2.10

7. Дополнительное давление грунта (горизонтальное) на стены, вызываемое постоянными нагрузками, расположенными на поверхности грунта

»

РГ.2

1,0

2.14

8. Усилия трения стен по грунту

тс

Т

1,0

2.11

9. Усилия натяжения анкеров

тс

Qа

1,1

2.12

10. Пригрузка днища сооружения анкерами против всплывания

»

1,0

2.13

Временные длительные

11. Дополнительное давление грунта (горизонтальное) на стены, вызываемое временными длительными нагрузками, расположенными на поверхности грунта и весом стационарного оборудования

тс/м2

РГ.2

1,0

2.14

Кратковременные

12. Нагрузки от подвижного подъемно-транспортного оборудования

»

РГ.4

1,2

2.18

Особые

13. Сейсмическое инерционное давление грунта на стены

»

qc

2.19

14. Давление грунта на стены, вызываемое деформацией земной поверхности при подработке территории

»

qп

В соответствии с требованиями главы СНиП по проектированию зданий и сооружений на подрабатываемых территориях

2.19

15. Силы морозного пучения грунта

тс/м2

qм

В соответствии с требованиями главы СНиП по проектированию оснований зданий и сооружений

2.19

Примечания:

1. Значения коэффициентов перегрузки, указанные в скобках, должны приниматься при расчете конструкций и оснований в случаях, когда при этих, значениях ухудшается работа конструкций или основания.

2. При расчете стен и их оснований по деформациям коэффициенты перегрузки следует принимать равными единице.

2.17. Нагрузки, приведенные в поз 1 - 11 табл. 2 для условий эксплуатации, следует определять в соответствии с требованиями, предъявляемыми для определения аналогичных нагрузок, возникающих в условиях строительства, с учетом следующего дополнительного требования: при определении нормативного значения гидростатического давления грунтовых вод р (поз. 5 , табл. 2 ), определяемого в соответствии с требованиями п. 2.9 настоящей Инструкции, следует принимать прогнозируемый повышенный средний уровень грунтовых вод.

2.18. Нормативные значения нагрузок от подвижного подъемно-транспортного оборудования  должны определяться на основании задания на проектирование.

2.19. Величины особых нагрузок, возникающих при сейсмических воздействиях qс, при подработке территории  и при воздействии морозного пучения  следует определять в соответствии с требованиями глав СНиП по проектированию зданий и сооружений в сейсмических районах, по проектированию зданий и сооружений на подрабатываемых территориях и по проектированию оснований зданий и сооружений, а также в соответствии с Инструкцией СН 476-75.

3. ОСНОВНЫЕ ПОЛОЖЕНИЯ РАСЧЕТА

НЕСУЩИЕ СТЕНЫ

3.1. Несущие стены, устраиваемые способом «стена в грунте», и основания таких стен должны рассчитываться по первой и второй группам предельных состояний с учетом взаимодействия стен с прилегающим грунтом на нагрузки, предусмотренные в разделе 2 настоящей Инструкции, при их наиболее невыгодном сочетании. Стены должны рассчитываться по прочности, устойчивости, деформациям и раскрытию трещин, а основания их - по устойчивости и деформациям.

В расчетах несущих стен пространственных конструкции, выполняемых по схеме с условным расчленением на отдельные плоские элементы, должна учитываться совместная работа смежных элементов.

3.2. Монолитные и сборные элементы железобетонных стен, устраиваемых способом «стена в грунте», должны, рассчитываться в соответствии с требованиями главы СНиП по проектированию бетонных и железобетонных конструкций, а основания их - в соответствии с требованиями главы СНиП по проектированию оснований зданий и сооружений.

3.3. Глубину заделки h стены в грунт, считая от дна котлована, следует определять расчетом, выполняемым в соответствии с требованиями, изложенными в пп. 3.1, 3.4 и 4.4 настоящей Инструкции; при этом в глинистых грунтах должно соблюдаться условие

,                                               (9)

где  - глубина котлована (подземного сооружения), м;

 и  - соответственно расчетные значения сцепления, тс/м3, и объемного веса грунта, тс/м3;

p = 3,14.

3.4. Расчет оснований прямолинейных в плане стен по устойчивости должен производиться методами круглоцилиндрических поверхностей скольжения в соответствии с требованиями главы СНиП по проектированию оснований зданий и сооружений. При этом коэффициент надежности kн определяется по формуле (10) и должен быть не менее 1,2:

,                                                             (10)

где МУД и МСД соответственно суммы моментов всех удерживающих (т.е. препятствующих сдвигу) и сдвигающих сил относительно предполагаемого центра вращения. Центр и радиус поверхности скольжения для определения максимального значения коэффициента надежности следует находить путем подбора.

Для консольных стен должен быть также рассмотрен вариант потери устойчивости в случае, когда центр вращения совпадает с краем подошвы стены, а для стен, закрепленных анкерами, - вариант потери устойчивости в случаях, когда центры вращения совпадают с точками закрепления.

3.5. Расчет, оснований прямолинейных в плане стен по деформациям должен производиться с целью проверки условия

,                                                        (11)

где  - максимальная величина горизонтального или вертикального перемещения, получаемая в результате расчета стены как балки (плиты), взаимодействующей с грунтом;

 -      предельно допустимая величина горизонтального или вертикального перемещения стены, устанавливаемая в задании на проектирование из условия нормальной эксплуатации самой стены (как части подземного сооружения) и примыкающих зданий, сооружений и коммуникаций либо оборудования, связанного со стеной.

3.6. Расчет временных несущих стен по раскрытию трещин производить не следует.

3.7. Расчет несущих стен круглых в плане подземных сооружений, устраиваемых способом «стена в грунте», должен производиться по первой группе предельных состояний как пространственных конструкций в соответствии с требованиями п. 3.1 настоящей Инструкции. При этом расчет стен по прочности должен производиться с учетом возможной неравномерности бокового давления грунта по периметру сооружения, определяемой по формуле (6) или (7) настоящей Инструкции.

3.8. Для несущих стен круглых в плане подземных сооружений водопроводно-канализационных систем при наличии вертикальной перегородки, заделанной в днище, расчет по прочности от эксплуатационных нагрузок должен производиться с учетом нагрузок, предусмотренных в разделе 2 настоящей Инструкции, а также давления воды, заполняющей один отсек.

3.9. Расчет на устойчивость формы стен круглых в плане сооружений (монолитных и сборных - в случае жестких стыковых соединений) должен производиться как оболочки в соответствии с требованиями Инструкции СН 476-75

3.10. При шарнирных стыковых соединениях сборных элементов стен круглых в плане сооружений критическую нагрузку на 1 м высоты стены q, тс/м из условия устойчивости следует определять как для арки по формуле

,                                                           (12)

где EI - жесткость арки при изгибе;

p = 3,14;

r - радиус срединной оси арки;

a - половина центрального угла (рад), соответствующего длине дуги арки.

3.11. Расчет криволинейных и ломаных в плане несущих стен подземных сооружений, устраиваемых способом «стена в грунте», следует выполнять как для пространственных конструкций в соответствии с требованиями п. 3.1 настоящей Инструкции.

3.12. Расчет анкеров и тяжей (виды применяемых анкеров и тяжей приведены в п. 4.20) должен производиться по первой группе предельных состояний по прочности на расчетные усилия Qа натяжения анкеров и тяжей в соответствии с требованиями глав СНиП по проектированию бетонных и железобетонных, а также стальных конструкций.

3.13. Расчет оснований анкеров должен производиться по первой группе предельных состояний в соответствии с требованиями глав СНиП по проектированию оснований и свайных фундаментов, а также дополнительными требованиями, изложенными в п. 3.14 настоящей Инструкции.

3.14. Несущая способность оснований анкеров определяется:

для анкерных устройств из плит - сопротивлением грунта по лобовой поверхности плиты;

для цилиндрических анкеров и анкеров с уширением - суммой сопротивлений грунта основания по лобовой и боковой поверхностям.

Расчетную величину несущей способности оснований анкеров следует назначать после проведения опытных (не менее трех) натурных испытаний анкеров.

3.15. Расчет устойчивости против всплытия подземных сооружений со стенами, устраиваемыми способом «стена в грунте», должен производиться в соответствии с требованиями Инструкции СН 476-75.

ПРОТИВОФИЛЬТРАЦИОННЫЕ ЗАВЕСЫ

3.16. Для противофильтрационных завес, устраиваемых способом «стена в грунте», должны выполняться фильтрационные расчеты с целью:

обоснования наиболее рациональных и экономичных размеров и конструкций - завес и сооружений, сопрягаемых с завесами и зависящих от параметров фильтрационного потока;

обеспечения устойчивости и фильтрационной прочности завес, а также откосов и сооружений, расположенных в зоне их влияния.

Расчет противофильтрационных завес на силовые воздействия в случаях необходимости (например, при расположении завесы на откосе) должен выполняться в соответствии с требованиями, изложенными в пп. 3.1 - 3.6 настоящей Инструкции для несущих стен, устраиваемых способом «стена в грунте».

3.17. Фильтрационными расчетами, а в необходимых случаях экспериментальными исследованиями (п. 3.18 настоящей Инструкции) должны определяться следующие параметры фильтрационного потока:

фильтрационный расход;

напоры и градиенты напора на гранях противофильтрационных завес и расположенных в грунте сооружений, а также на характерных участках фильтрационного потока (подошва сооружений, на контакте разнородных слоев грунта, в местах выхода потока в нижний бьеф или дренаж и др.) в зависимости от требований, предъявляемых к проектируемому сооружению, сопрягаемому с противофильтрационной завесой;

положение пьезометрической или свободной поверхности фильтрационного потока (депрессионной поверхности) у граней противофильтрационной завесы или расположенного в грунте сооружения, а также на характерных участках области фильтрации (на участках выхода потока на откосы, на участках сопряжения с другими сооружениями и др.).

3.18. Для предварительных фильтрационных расчетов, а также для окончательных фильтрационных расчетов при несложных гидрогеологических условиях площадки строительства допускается пользоваться приближенными способами решения плоской или пространственной задачи теории фильтрации.

При сложных гидрогеологических условиях площадки строительства и сложной конструкции сооружения, сопрягаемого с противофильтрационными завесами, параметры фильтрационного потока следует определять экспериментальным путем, например по методу электрогидродинамических аналогий (ЭГДА).

3.19. Расчет фильтрационной прочности материала заполнения противофильтрационной завесы (при заданной толщине завесы) должен производиться с учетом фильтрационных и деформативных свойств вмещающего грунта. При этом должно соблюдаться условие

I < Iд,                                                                   (13)

где I - градиент напора на противофильтрационной завесе, определяемый фильтрационным расчетом;

Iд - допустимый градиент напора, определяемый экспериментальным путем; при отсутствии таких данных допускается ориентировочные значения (по опыту проведенных работ) принимать по табл 3.

Таблица 3

Материал заполнения противофильтрационных завес

Допустимый градиент напора IД для сооружений

постоянных

временных

Бетон

150

200

Глиноцементный раствор

100

150

Комовая глина

30

50

Заглинизирозанный грунт

20

30

4. ТРЕБОВАНИЯ К КОНСТРУИРОВАНИЮ

НЕСУЩИЕ СТЕНЫ

4.1. Стены сооружений, устраиваемые способом «стена в грунте», должны располагаться от существующих зданий или сооружений на расстоянии, равном:

при                                                                     ,   (14)

при                                                                     ,  (15)

где B - длина захватки, т.е. длина одновременно бетонируемого участка монолитной стены или одновременно монтируемого участка сборной стены;

H - глубина траншеи;

jI - расчетное значение угла внутреннего трения грунта. При разнородных напластованиях грунта принимается средневзвешенное значение jI.

4.2. Конструктивные схемы стен подземных сооружений выбираются в зависимости от размеров сооружений, их конфигурации в плане, характера и величин расчетных нагрузок, геологических и гидрогеологических условий площадки строительства и других факторов. Конструктивные схемы стен подземных сооружений прямоугольных в плане приведены на рис. 1

4.3. В случаях, если устойчивость стен сооружения не обеспечивается заделкой их в грунт, должны применяться распорные или анкерные конструкции. При расстоянии между параллельными несущими стенами подземных сооружений до 15 м устойчивость стен должна обеспечиваться, как правило, применением распорных конструкций, устанавливаемых между стенами, или конструкций постоянных междуэтажных перекрытий. В случае ограждения несущими стенами котлованов больших размеров, при которых затруднительна установка распорных конструкции, для обеспечения устойчивости стен следует предусматривать соответствующие анкеры.

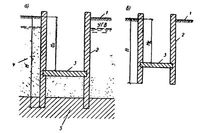
4.4. Глубина заложения (высота) Н стен в грунте (рис. 2) назначается исходя из гидрогеологических условий строительной площадки, принятой конструкции стен, технологии производства работ по их возведению с учетом технико-экономического сравнения возможных вариантов.

Рис. 1. Конструктивные схемы стен подземных сооружений прямоугольных в плане

а - консольная стена; б, в - стены с одно- и многоярусным креплением распорками; е, д - стены с одно- и многоярусным креплением анкерами; 1 - стена, 2 - распорка; 3 - анкер, 4 - уровень земли

4.5. Днища подземных сооружений, стены которых устраиваются способом «стена в грунте», должны выполняться аналогично днищам опускных колодцев, руководствуясь при этом требованиями Инструкции СН 476-75.

4.6. Толщина несущих монолитных стен должна определяться расчетом. При этом должна учитываться ширина рабочего органа оборудования, применяемого для устройства траншеи.

Рис. 2. Конструктивные схемы подземных сооружений

а - глубина заложения стены Н принята по расчетным данным и в зависимости от глубины заложения водоупорного слоя грунта, б - глубина заложения стены Н принята только по расчетным данным,
1 - уровень земли; 2 - стены сооружений; 3 – днище; 4 - водоносный слой грунта; 5 - водоупорный слой грунта; Нс - глубина подземного сооружения

4.7. В проекте должна предусматриваться возможность устройства монолитных стен отдельными захватками длиной от 3 до 6 м. Длина захваток назначается из условий необходимости обеспечения устойчивости стен траншеи и соблюдения сроков продолжительности бетонирования. Между захватками должна предусматриваться установка ограничителей, с помощью которых формируются рабочие вертикальные стыки (швы) бетонирования.

4.8. Ограничители между захватками должны, как правило, предусматриваться извлекаемыми, инвентарными. Конструкция ограничителей должна исключать возможность попадания бетонной смеси из одной захватки в другую и обеспечивать достаточную водонепроницаемость рабочих стыков бетонирования.

4.9. Стыки стен в местах соединения смежных захваток должны устраиваться следующих конструкций:

а) в виде криволинейного сопряжения, достигаемого при помощи инвентарной трубы, устанавливаемой при бетонировании предыдущей захватки и извлекаемой перед бетонированием следующей смежной захватки. Применяется при глубине заложения стен Н £ 18 м;

б) в виде вибронабивной сваи, устраиваемой с помощью инвентарной трубы, извлекаемой после бетонирования и схватывания бетона двух соседних захваток. Полость, образуемая после извлечения инвентарной трубы заполняется бетонной смесью, уложенной вибронабивным методом. Применяется при глубине заложения стен Н £ 18 м;

в) в виде плоской металлической диафрагмы, приваренной к арматурному каркасу, в торце которого привариваются два швеллера, образующие вертикальные направляющие, предназначенные для установки следующего арматурного каркаса (рис 3) Применяется при глубине заложения стен Н £ 25 м.

Рис. 3. Рабочий стык бетонирования монолитной стены

а - забетонированная первая захватка; б - забетонированные соседние захватки; 1 - металлическая диафрагма; 2 – швеллер; 3 – уголок; 4 - арматурный каркас

Конструкцию ограничителей между захватками следует проверять по прочности и устойчивости на давление свежеуложенной бетонной смеси в соответствии с требованиями главы СНиП по производству и приемке работ по возведению бетонных и железобетонных конструкций из монолитного железобетона.

4.10. Сопряжения (примыкания днища, перегородок, балок и перекрытий) с монолитными стенами следует предусматривать в виде свободно опирающихся конструкций, что достигается при помощи образования штраб в бетонируемой стене либо в виде жестких соединений.

Для образования штраб должна быть предусмотрена закладка деревянных коробов, извлекаемых после выемки грунта из подземного сооружения.

Жесткое же соединение элементов подземного сооружения достигается при помощи стальных закладных деталей или выпусков арматуры, соединяемых с помощью сварки (рис. 4).

Арматурные выпуски должны выполняться из стали класса A-I.

Рис. 4. Конструкции сопряжений днища со стенками

а - свободное опирание днища на стены; б - жесткая заделка днища в стены; 1 - арматурный каркас; 2 - деревянный короб; 3 - стенка траншеи; 4 - днище; 5 - стена в грунте; 6 - отгибаемые выпуски арматуры

4.11. Арматурные каркасы монолитных стен (рис. 5) должны иметь длину, равную глубине траншеи, ширину на 10 - 15 см менее длины захватки, а толщину на 12 - 15 см менее ширины траншеи.

Расстояние между арматурными стержнями в каркасах должно быть не менее 150 мм; в арматурных каркасах должны быть предусмотрены проемы для пропуска бетонолитных труб и ограничителей, фиксирующих проектное положение арматурного каркаса в траншее для создания требуемой толщины защитного бетонного слоя.

4.12. При проектировании стен из сборных и сборно-монолитных железобетонных конструкций размеры сборных элементов должны назначаться из условий:

а) глубины заложения стены в грунте;

б) результатов расчета на нагрузки, возникающие при изготовлении, транспортировании, монтаже и эксплуатации;

в) вида применяемого оборудования для разработки траншей;

г) грузоподъемности монтажных кранов и транспортных средств;

Рис. 5. Конструкция арматурных каркасов

а - каркас прямолинейных стен; б - каркас стен криволинейного очертания; 1 - арматурный каркас; 2 - направляющие; 3 - места установки бетонолитных труб; 4 - стенка траншеи

д) максимально допустимых размеров из условий технологии изготовления.

4.13. Сборные стены должны выполняться в виде панелей, устанавливаемых в траншею.

Допускаемые типы сборных стен и стыковых соединений панелей приведены на рис. 6.

4.14. Сборно-монолитные железобетонные стены должны проектироваться в верхней части (на высоту 10 - 12 м) из сборных элементов, образующих стены подземного сооружения, а в нижней части (до расположения водоупорного слоя грунта) монолитными, причем сборные элементы нижним концом должны быть заглублены в монолитный бетон.

Рис. 6. Конструкции сборных стен

а - конструкции стен из панелей; б - конструкции стен типа панели-стойки; в - стеновая панель;
1 - закладные детали; 2 - выпуски арматуры; 3 - монтажные петли; 4 - инъекционная трубка; 5 - стойка;
6 - стеновая панель; 7 - плита днища; 8 - тампонажный материал; 9 - форшахта; 10 - анкер

4.15. В сборных элементах должны предусматриваться монтажные петли и стальные детали для крепления панелей к форшахте, соединения панелей между собой и сваркой с внутренними конструкциями. Кроме того, должны быть предусмотрены соответствующие стыковые соединения, штрабы и выпуски арматуры по аналогии с применяемыми в рабочих стыках бетонирования монолитных стен (рис. 7).

4.16. Стыки между панелями и пространство между панелями и стенами траншеи должны заполняться тампонажными материалами, вид и состав которых следует назначать из условий обеспечения требуемой прочности и водонепроницаемости.

4.17. Допускаемые отклонения от проектных размеров панелей и других сборных элементов должны назначаться в соответствии с требованиями государственных стандартов на сборные железобетонные конструкции, а для нестандартизованных конструкций - в соответствии с требованиями технических условий на их изготовление.

4.18. Анкеры для крепления ограждений котлованов и стен подземных сооружении должны предусматриваться с целью обеспечения устойчивости ограждений и стен и уменьшения величин изгибающих моментов.

4.19. Применение анкеров, допускается во всех грунтах, за исключением: глинистых текучей и текучепластичной консистенции, торфов, илов. При наличии указанных грунтов крепление стен подземных сооружений, выполняемых способом «стена в грунте», следует производить при помощи распорных конструкций.

4.20. Анкеры различаются:

по наклону к поверхности грунта - вертикальные, наклонные, горизонтальные;

по способу погружения в грунт - буровые, забавные, винтовые;

по конструкции рабочей части - цилиндрические; с уширением, устраиваемым разбуриванием, комуфлетированием, с помощью инъекции;

по конструкции анкерной тяги - стержневые, трубчатые, из проволочных прядей, арматурных канатов и буровых труб;

по сроку службы - временные и постоянные.

4.21. Вид анкеров следует назначать исходя из гидрогеологических условий строительной площадки, условий производства работ, обеспеченности строительной организации необходимыми материалами и оборудованием, а также с учетом результатов технико-экономического сравнения различных вариантов.

Для постоянных анкеров должна быть предусмотрена антикоррозионная защита.

4.22. Анкеры следует располагать за пределами возможной зоны обрушения грунта, т.е. за пределами призмы, наклонная грань которой, проходящая через основание стены, составляет с горизонталью угол 45° + (jI - угол внутреннего трения грунта).

ПРОТИВОФИЛЬТРАЦИОННЫЕ ЗАВЕСЫ

4.23. Противофильтрационные завесы, устраиваемые способом «стена в грунте», в зависимости от метода сооружения и материала заполнения подразделяется на:

а) свайные (в виде пересекающихся буровых свай);

б) секционные траншейные;

в) непрерывные траншейные;

г) тонкие бестраншейные.

Конструкция противофильтрационной завесы должна назначаться при проектировании исходя из геологических и гидрогеологических условий площадки проектируемого объекта, результатов фильтрационных расчетов и при необходимости расчетов на силовые воздействия, требуемого оборудования для сооружения завесы, а также технико-экономических сравнений различных вариантов.

4.24. В зависимости от вида грунтов необходимо применять следующие конструкции противофильтрационных завес:

а) свайные с твердеющим материалом заполнения - в связных и несвязных грунтах с крупнообломочными включениями (при глубине завес до 40 - 50 м);

б) секционные траншейные и непрерывные траншейные с твердеющим материалом заполнения - в связных и несвязных грунтах без крупнообломочных включений (при глубине завес до 40 - 50 м и преимущественно для завес постоянного назначения);

в) непрерывные траншейные с нетвердеющим материалом заполнения - в связных и несвязных грунтах без крупнообломочных включений (при глубине завес до 30 м);

г) тонкие бестраншейные с твердеющим материалом заполнения (п. 4.31 настоящей Инструкции) - в несвязных грунтах без крупнообломочных включений (при глубине завес до 15 м).

4.25. Глубина противофильтрационных завес определяется их назначением и гидрогеологическими условиями площадки проектируемого объекта. Наиболее целесообразно устройство противофильтрационных завес, полностью прорезающих водоносные слои и частично заглубленных в водоупорный слой грунта; при глубоком залегании водоупорного слоя и невозможности или нецелесообразности полного прорезания водоносных слоев грунта глубина противофильтрационной завесы должна определяться на основании фильтрационных расчетов.

4.26. При назначении глубины противофильтрационных завес, выполняемых способом «стена в грунте», следует учитывать возможность образования в траншее (скважинах) грунтово-глинистого осадка.

4.27. Длина захваток противофильтрационных завес с твердеющим материалом заполнения должна определяться из условия необходимости образования монолитного (без горизонтальных швов) тела завесы исходя из производительности оборудования, подающего материал заполнения (в соответствии с требованиями п. 4.7 настоящей Инструкции).

Untitled-1

Рис. 8. Схемы сопряжения захваток противофильтрационных завес с твердеющим материалом заполнения

а - завесы из пересекающихся свай; б - завесы из пересекающихся траншейных захваток; в- завесы в соединяющихся траншеях с временными разделительными шаблонами (ограничителями); г - завесы из отдельных траншейных захваток, пересекающихся буронабивными сваями; д - завесы в непрерывной траншее с временными разделительными шаблонами (ограничителями); е - завесы в непрерывной траншее с постоянными разделительными шаблонами (ограничителями); 1, 2, 3 - очередность заполнения противофильтрационных завес; 4 - временный разделительный шаблон (ограничитель);
5 -разделительная буронабивная свая; 6 - постоянный разделительный шаблон (ограничитель)

4.28. Стыки (сопряжения) между захватками противофильтрационных завес с твердеющим материалом заполнения должны обеспечивать сплошность завесы по всей её глубине и быть прочными и устойчивыми против фильтрационных деформаций. Схемы наиболее характерных конструкций сопряжений (стыков) приведены на рис. 8.

4.29. Сопряжения противофильтрационных завес с другими сооружениями (инъекционными завесами, земляными и бетонными сооружениями и пр.) должны удовлетворять требованиям фильтрационной и статической (прочности и устойчивости, предъявляемым к самой противофильтрационной завесе при расчетном напоре подземных вод и целостности контакта при возможных деформациях как самого тела противофильтрационной завесы, так и находящихся с ней в контакте сооружений.

4.30. Сопряжение противофильтрационной завесы с водоупорным слоем грунта должно предусматриваться врезкой в него противофильтрационной завесы. Глубину врезки следует назначать с учетом состояния водоупорного грунта на контакте с водоносным слоем грунта и требуемой фильтрационной прочности и устойчивости контакта. Глубина врезки должна быть, как правило, не менее 1 м.

4.31. Тонкие бестраншейные противофпльтрационные завесы, образуемые с помощью вибропогружения и последующего виброизвлечения инвентарной металлической конструкции с одновременным заполнением образуемой полости твердеющим материалом заполнения (например, глиноцементным раствором), следует проектировать (с учетом характеристик грунтов, в которых устраивается противофильтрационная завеса) толщиной 10 - 20 см.

СОДЕРЖАНИЕ

 



© 2013 Ёшкин Кот :-)