Информационная система
«Ёшкин Кот»

XXXecatmenu

МИНИСТЕРСТВО МОНТАЖНЫХ И СПЕЦИАЛЬНЫХ СТРОИТЕЛЬНЫХ РАБОТ СССР

НПО «ТЕПЛОМОНТАЖ»

 

ОКП 48 4577

УДК ________________________

Группа Ж15

 

УТВЕРЖДАЮ

Главный инженер НПО «Тепломонтаж»

___________________ С.С. Егоров

___________________ 02.04.1990 г.

 

ОБОЛОЧКИ ЗАЩИТНЫЕ
ТЕПЛОВОЙ ИЗОЛЯЦИИ ТРУБОПРОВОДОВ

 

ТЕХНИЧЕСКИЕ УСЛОВИЯ

ТУ 36.16.22-37-90

Взамен ТУ 36.16.22-28-88

Срок введения 10.04.90 г.

Срок действия до 10.04.2000 г.

 

СОГЛАСОВАНО

Главный инженер треста
Сибтеплоизоляция

__________ А.А. Шишов

__________ 16.10.1989 г.

РАЗРАБОТАНО

Главный инженер ВНИПИТеплопроект

(базовая организация по стандартизации)

________________ Ю.В. Есаков

________________ 25.09.1989 г.

Главный инженер треста
Стройтермоизоляция

__________ Е.Л.Блох

__________ 20.11.1989 г.

Начальник отдела
стандартизации

________________ В.С. Панкратов

________________  20.09.1989 г.

 

Настоящие технические условия (ТУ) распространяются на оболочки защитные тепловой изоляции трубопроводов (в дальнейшем по тексту - оболочка - ОЗ). Оболочки применяют для покрытия теплоизоляции трубопроводов, расположенных на открытом воздухе и в помещениях с учетом агрессивности окружающей среды и ее температуры.

Оболочка представляет собой изделие плоской или криволинейной формы и соответствующее по размерам наружной поверхности изоляции трубопроводов с учетом величины нахлеста по месту сопряжения швов в смонтированном покрытии.

Оболочки изготавливаются:

ОЗ.П - оболочки защитные прямых участков трубопроводов;

ОЗ.О - оболочки защитные отводов;

ОЗ.ФС - оболочки защитные фланцевых соединений;

ОЗ.А - оболочки защитные арматуры;

ОЗ.Т -  оболочки защитные торцов.

В зависимости от применяемого материала ОЗ делятся на следующие виды:

1. Металлические:

А - из ленты и листов алюминия и алюминиевых сплавов;

АФ - из фольги алюминиевой;

ЭОЦ - из проката тонколистового холоднокатаного электролитически оцинкованного;

ЭОЦП, ЭОЦПп - из проката тонколистового холоднокатаного электролитически оцинкованного с полимерными покрытиями;

МП - из металлопласта.

2. Неметаллические, на основе синтетических полимеров:

РСТ - из рулонного стеклопластика;

АПМ - из армопластмассового материала;

СТПЛ - из стеклотекстолита покровного листового;

СЦТ - из стеклоцемента текстолитового;

ПВХ - из пленки огнестойкой из вторичного ПВХ;

КПО - из пленки винипластовой каландрированной.

3. Дублированные:

ФД - из фольги алюминиевой дублированной (пергамином, стеклотканью, стеклосеткой, камированной);

ФИ - из фольгоизола;

ФР - из фольгорубероида.

Оболочки из мателла могут изготавливаться гладкими и гофрированными.

Примеры записи при заказе оболочек:

ОЗ для прямого участка трубопровода из листа алюминиевого сплава с диаметром изоляции (ДИЗ) 319 мм, толщиной листа 0,3 мм;

ОЗ.П.А 319/0,3 ТУ 36.16.22-37-90

То же из рулонного стеклопластика РСТ:

ОЗ.П.РСТ 319 ТУ 36.16.22-37-90

ОЗ отвода гофрированного из фольги алюминиевой ДИЗ 319 мм:

ОЗ.О.Г.АФ 319 ТУ 36.16.22-37-90

1. ТЕХНИЧЕСКИЕ ТРЕБОВАНИЯ

1.1. Оболочки тепловой изоляции трубопроводов должны соответствовать требованиям настоящих ТУ, СНиП 2.04.14-88 «Тепловая изоляция оборудования и трубопроводов», типовой конструкторской документации серии: 3.903-II; 3.903-14 вып. 1 часть 1,2; 3.903-12; 7.903.9-2 вып. 1,2; 7.903.9-3 вып.1; 7.906.9-2 вып. 0,1,2 и других конструкторских разработок для нетиповых промышленных объектов.

1.2. Материалы, применяемые для изготовления оболочек должны соответствовать требованиям следующих нормативных документов:

1.2.1. Металлические:

листы из алюминия и алюминиевых сплавов ГОСТ 21631-76;

лента из алюминия и алюминиевых сплавов ГОСТ 13726-78;

лента алюминиевая для предприятий Минмонтажспецстроя и Минэнерго СССР ТУ 15-06-297-88;

листы алюминиевые для предприятий Минмонтажспецстроя и Минэнерго СССР ТУ 15-06-298-88;

лента из алюминиевых сплавов ТУ 15-06-300-88;

сталь тонколистовая оцинкованная с непрерывных линий ГОСТ 14918-90;

фольга алюминиевая для технических целей ГОСТ 618-73;

сталь рулонная холоднокатаная с полимерным покрытием (металлопласт) ТУ 14-1-1114-74;

прокат тонколистовой холоднокатаный электролитически оцинкованный ТУ 14-1-4766-90;

прокат тонколистовой холоднокатаный электролитически оцинкованный с полимерными покрытиями ТУ 14-1-4696-89;

прокат тонколистовой кровельный ОСТ 14-11-196-86.

1.2.2. Неметаллические, на основе синтетических полимеров:

материалы армопластмассовые АПМ-I, АПМ-2, АПМ-К ТУ 36-2168-85;

стеклопластик рулонный РСТ ТУ 6-11-145-80;

стеклоцемент текстолитовый ТУ 36-940-85;

стеклотекстолит покровный листовой ТУ 36-1583-88;

пленки огнестойкие из вторичного ПВХ ТУ 63-032-3-88;

пленка винипластовая каландрированная ГОСТ 16398-81.

1.2.3. Дублированные:

фольга алюминиевая дублированная ТУ 36-1177-77;

фольгизол ГОСТ 20429-84;

фольгорубероид ТУ 21ЭССР 69-83;

1.3. Основные параметры и размеры

1.3.1. Оболочки для прямых участков должны изготавливаться длиной (L) до 1500 мм, в зависимости от ширины исходных листа, рулона, полосы.

1.3.2. Длина развертки оболочек L1 мм для прямых участков трубопроводов принимается равной (П×Диз. + 40):

Диз. - наружный диаметр трубопровода с изоляцией, мм;

40 - величина нахлеста, мм.

Для гофрированных оболочек длина развертки заготовки принимается равной (П×Диз. + 40) ´ 1,2, мм:

1,2 - коэффициент, учитывающий сокращение длины листа при гофрировании. Допускаемые отклонения по длине (L1) не должны превышать ± 5 мм.

1.3.3. Размеры развертки прямых участков оболочек по ширине (по длине теплоизоляционной конструкции) - Н, размеры зигзагов, высота гофры в гофрированных оболочках прямых участков и отводов, размер нахлеста и допускаемые отклонения по размерам должны соответствовать нормам, приведенным в таблице:

Таблица

Наименование показателя

Номинальные размеры, мм

Допускаемые отклонения, мм

1. Ширина (Н)

500-1500

± 10

2. Размеры зигов

 

 

для оболочек диаметром до 600 мм:

 

 

внутренний радиус (R)

3

± 1

ширина

6

± 2

для оболочек диаметром свыше 600 мм:

 

 

внутренний радиус (R)

5

± 1

ширина

10

± 2

3. Размеры мелкой гофры для отводов и прямых участков:

 

 

шаг, не более

9,4

- 1,0

высота, не более

3,5

- 0,5

4. Размеры крупной гофры для отводов:

 

 

шаг, не более

38,0

- 1,0

высота, не более

19,0

- 0,5

5. Величина нахлеста оболочек

 

 

по продольному шву,

40

± 5

по поперечному шву

30

± 5

Примечание. Размеры шага и высоты гофр для отводов после упаковки (сжатии) и транспортное положение или монтаж на отводах трубопроводов не лимитируется.

 

1.4. Оболочки из металла:

1.4.1. Из металла изготавливаются оболочки прямых участков трубопроводов, отводов, фланцевых соединений, арматуры, тройников, переходов, торцов.

1.4.2. Толщину металлических листов, применяемых для изготовления оболочек в зависимости от диаметра трубопровода с изоляцией, следует принимать по таблице:

Таблица

Диаметр изолированного трубопровода, мм

до 350

св. 350
до 600

св. 600
до 1600

св. 1600

Материал

Толщина, мм

Листы из алюминия и алюминиевых сплавов

0,3*

0,5

0,8

0,8-1,0

Лента из алюминия и алюминиевых сплавов

0,25*-0,3*

0,3*-0,5

-

-

Сталь тонколистовая кровельная, оцинкованная, электролитически оцинкованная

0,5

0,5

0,6-0,8

0,7-0,8

Примечания: 1. * Листы и ленту из алюминия и алюминиевых сплавов толщиной 0,25-0,3 мм для оболочек диаметром более 89 мм применять гофрированными.

2. Оболочки гофрированные для отводов изготавливать из отожженной алюминиевой фольги толщиной 0,15-0,2 мм.

 

1.4.3. Оболочки, изготовленные из металла толщиной более 0,3 мм должны быть провальцованы.

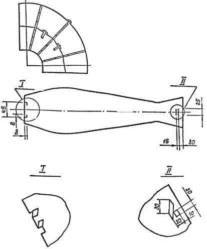
1.4.4. Металлические оболочки прямых участков трубопроводов должны иметь форму гладкого или гофрированного цилиндра, разрезанного вдоль образующей (черт. 1,2).

При креплении винтами на поверхности вдоль верхней продольной кромки оболочки выполняют зиг и отверстия радиусом 2,8 - 3,1 мм, расположенные через 150 мм с отступлением от поперечной кромки оболочки на 50 мм и от кромки с зигом на 20 - 30 мм.

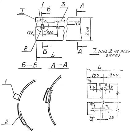
При диаметре изолированного трубопровода более 600 мм на одной из поперечных кромок оболочки должны быть выполнены отверстия под винт с шагом 300 - 350 мм (черт. 3).

При замковом креплении оболочек на нижней и верхней продольной кромках при изготовлении оболочек формируются детали замка в виде приварной или вырубной планки шириной 130 мм с шагом 250 мм и сплошного лежачего фольца (черт. 4) или в виде П-образного вырубного зажима и закрепленных соосно зажимам в специальных прорезях язычков из бандажной ленты 0,7´20 мм (черт. 5). При язычковом креплении на одной стороне оболочки вдоль реза пробиты щели, а на другой стороне, соосно, просечены трапецеидальные язычки. Шаг язычкового крепления 300 мм (черт. 6).

1.4.5. Оболочки для отводов трубопроводов могут быть составлены из отдельных секций, на винтах или сварные, штампованными, гофрированными.

1.4.6. Оболочки отводов, составленные из отдельных секций следует применять для трубопроводов всех диаметров (черт. 7, , , ).

Штампованные оболочки отводов металлические следует применять для трубопроводов диаметром с изоляцией до 300 мм (черт. 8, 9). Гофрированные оболочки отводов следует применять для трубопроводов диаметром с изоляцией от 150 до 450 мм (черт. 10). Поверхность отводов гофрирована во взаимно перпендикулярных направлениях - перпендикулярно оси крупными и вдоль оси мелкими гофрами.

1.4.7. Оболочки трубопроводов врезанных под углом должны иметь форму тройника (черт. 11).

1.4.8. Оболочки для сопряжения трубопроводов с разными диаметрами должны иметь форму усеченного конуса (черт. 12).

1.4.9. Оболочки для отделки торцов изоляции представляют собой диафрагму, плоскую или гофрированную, имеющую форму торцевого кольца. Типы диафрагмы представлены на черт. 13, 14, 14а, 14б.

1.4.10. Оболочки фланцевых соединений и вентилей должны иметь форму цилиндров или полуцилиндров (черт. 15, 16, 17).

1.4.11. Оболочки задвижки должны иметь форму тройника (черт. 18, 19).

1.5. Оболочки неметаллические на основе синтетических полимеров и дублированные.

1.5.1. Неметаллические оболочки изготавливаются в основном для прямых участков трубопроводов.

1.5.2. Оболочки, изготовленные из стеклопластика, армопластмассового материала, стеклотекстолита обрамляются планкой из алюминиевого листа и крепятся винтами (черт. 20) шагом 150 мм. Оболочки неокантованные крепятся бандажами с пряжкой или замком (черт. 21) шагом 500 мм или пластмассовыми кнопками ГОСТ 17563-80.

1.5.3. Оболочки отводов пластмассовые по ТУ 36.16.22-24-88 следует применять для трубопроводов диаметром с изоляцией до 345 мм (черт. 22, 23).

1.6. Характеристики (свойства)

1.6.1. Поверхность оболочки из металла должна быть чистой, ровной, без трещин, расслоений, пятен коррозионного происхождения. На поверхности оболочки допускаются дефекты прокатного происхождения металлургического производства.

1.6.2. Поверхность оболочки из металлопласта должна быть однородного цвета, со сплошным покрытием полимерной пленкой, без ее местных отслоений.

1.6.3. Оболочки из неметаллов и дублированных материалов должны быть без трещин, изломов, вздутий, пузырей, бугров, складок, борозд, дыр, непропитанных участков, наплывов, с равномерным распределением вяжущего вещества.

1.6.4. Оболочки из черных металлов должны быть окрашены по наружной поверхности краской БТ-177 ОСТ 6-10-426-79, масляной или химически стойкой перхлорвиниловой краской. Внутренняя поверхность листов должна быть соответственно окрашена лаком БТ-577 ГОСТ 5631-79, проолифена или покрыта специальным грунтом. При соприкосновении алюминиевых листов со стальными деталями (кольцами, сеткой, опорными бандажами) необходимо алюминиевое покрытие с внутренней стороны окрасить лаком БТ-577 или краской БТ-177; стальные детали должны быть окрашены краской, лаком или антикоррозионным покрытием.

1.6.5. Металлические оболочки не должны иметь разрывов и заусенец на кромках; торцы оболочек должны быть равными, не смятыми.

1.6.6. Бандажные металлические ленты не должны иметь заусенцев, они должны свободно продеваться через пряжку и выдерживать тройной перегиб на 180°.

1.6.7. Оболочки для прямых участков трубопроводов в собранном виде должны иметь форму правильного цилиндра с учетом нахлеста 40 мм. По наружным продольным и поперечным кромкам гладких оболочек из металла должны быть расположены зиги в соответствии с чертежами.

1.6.8. Гофрированные оболочки должны иметь правильную геометрическую форму и свободно растягиваться, а при сжатии приобретать форму «шайбы».

1.6.9. Крепежные детали (бандажные, замковые, язычковые, винтовые, кнопки, заклепки - пластмассовые и металлические) должны обеспечивать надежность крепления оболочек тепловой изоляции на трубопроводах.

1.6.10. Винты самонарезающие с полукруглой головкой для металла и пластмассы ГОСТ 10621-80 должны быть аннодированными или оцинкованными. Заклепки применять по ГОСТ 10299-80 или ТУ 36-1598-77.

1.6.11. Шаг между отдельно расположенными креплениями (бандажами, замковыми, язычковыми) должен быть выполнен в соответствии с конструкторской документацией и требованиями настоящих ТУ.

1.6.12. Смежные секции металлических оболочек отводов, состоящих из отдельных секций, должны иметь зиги по кромкам:

с наружной стороны выпуклый;

с внутренней - вогнутый;

по продольной кромке зиг с наружной стороны.

1.6.13. Оболочки для тройников должны иметь форму повторяющую форму тройника, состоящую из 2-х цилиндрических звеньев, соединенных между собой под заданным углом.

1.6.14. Металлические оболочки в местах сопряжения переходов трубопроводов разных диаметров должны иметь правильную форму усеченного конуса, имеющего зиги по продольной и торцевой кромке.

1.6.15. Диафрагмы для торцов теплоизоляции трубопроводов должны быть плоскими, состоящими из двух частей или гофрированными.

1.6.16. Зиги на металлических оболочках должны быть полного профиля, без искривления и извилин и расположены параллельно кромкам оболочки на расстоянии 40 мм от кромки.

1.6.17. Гофры на гофрированных цилиндрических оболочках прямых участков должны быть расположены параллельно длине оболочки.

1.6.18. Маркировочные знаки на оболочках из листов алюминиевых сплавов и оцинкованной стали наносят масляными красками или лаком с внутренней стороны. Запрещается использовать для маркировки стальные инструменты, а также краски, содержащие свинцовые пигменты и свинцовый сурик, вызывающие сильную коррозию.

1.6.19. Маркировочные знаки на неметаллические оболочки выполняются в виде ярлыка или штампа.

1.7. Комплектность

1.7.1. В комплект поставки входят:

1) оболочка (гофрированные - сжатие в шайбы);

2) крепежные детали;

3) этикетка (одна на упаковочное место), оформленная по ГОСТ 2.601-68;

4) паспорт (один на партию), оформленный по ГОСТ 2.601-68

1.8. Маркировка

1.8.1. На каждой оболочке в месте, указанном на чертеже, нанести величину внутреннего диаметра оболочки.

1.8.2. Транспортную маркировку грузовых мест следует производить в соответствии с ГОСТ 14192-77.

1.9. Упаковка

1.9.1. Оболочки отправляют потребителю в контейнерах, деревянной таре или уложенными в пакеты. Вес упакованного места не должен превышать 20 кг.

1.9.2. Упакованные оболочки при транспортировании не должны перемещаться относительно друг друга.

1.9.3. Гофрированные оболочки отводов упаковывают «шайбами»в контейнеры или решетчатые ящики.

 

Примечание. При небольших разовых заказах и транспортировании на небольшие расстояния допускается развозка оболочек без специальной упаковки.

 

1.9.4. Бандажные ленты оснащают пряжками и упаковывают по 50 шт. в пакеты, перевязанные вязальной проволокой, винты поставляют в ящиках.

1.9.5. В каждую упаковку вкладывают упаковочный лист с указанием предприятия-изготовителя, общего количества изделий в одной упаковке, фамилия, номер упаковщика, дата упаковки.

1.9.6. Маркировка упаковочных мест производится в соответствии с ГОСТ 14192-77.

 

6. ГАРАНТИИ ИЗГОТОВИТЕЛЯ

6.1. Предприятие-изготовитель гарантирует соответствие оболочек требованиям настоящих ТУ при соблюдении потребителем правил транспортирования, хранения и эксплуатации.

6.2. Срок гарантии устанавливается 2 года. Срок гарантии исчисляется со дня окончания монтажа оболочек, но не позднее 6 месяцев со дня получения их потребителем.

 

Защитная оболочка прямых участков трубопроводов

Черт. 1

 

Защитная оболочка прямых участков трубопроводов гофрированная

 

Черт. 2

 

Защитная оболочка прямых участков трубопроводов с креплением винтами (в сборе)

Черт. 3

 

Защитная оболочка прямых участков трубопроводов с замковым креплением (приварная планка)

1 - защитная оболочка;

2 - планка;

3 - фальц лежачий

Черт. 4

 

Защитная оболочка прямых участков трубопроводов с П-образным зажимом

I - П - образный зажим;

2 - язык;

3 - защитная оболочка

Черт. 5

 

Защитная оболочка прямых участков трубопроводов с язычковым креплением

 

1 - защитная оболочка;

2 - язык

Черт. 6

 

Защитная оболочка отводов трубопроводов, состоящая из отдельных секций на винтах

Черт. 7

 

Сварная защитная оболочка отводов, состоящая из отдельных секций с замковым соединением на бандаже с пробивной пряжкой

Черт. 7А

 

Сварная защитная оболочка отводов, состоящая из отдельных секций с замковым соединением на приварных планке и пряжке

 

Черт. 7Б

 

Сварная защитная оболочка с замковым соединением на вырубной пряжке и бандаже

Черт. 7В

 

Штампованная защитная оболочка с замковым вырубным соединением для отводов трубопроводов

Черт. 8

 

Штампованная защитная оболочка отводов трубопроводов на винтах

 

Черт. 9

 

Гофрированная защитная оболочка для отводов трубопроводов

Черт. 10

 

Защитная оболочка изоляции тройника

Черт. 11

 

Защитная оболочка изоляции перехода в сборе

Черт. 12

 

Диафрагма тип I

Черт. 13

 

Диафрагма тип II

 

 

Черт. 14

 

Диафрагма тип III (коническая)

1, 2, 4 - элементы диафрагмы;

3 - винт 4´12-011 ГОСТ 10621-80

Черт. 14а

 

Диафрагма тип IV (нарезная)

 

 

1 - диафрагма; 2- винт 4´12-011 ГОСТ 10621-80

Черт. 14б

 

Смонтированная защитная оболочка изоляции
фланцевого соединения

1- защитная оболочка; 2 - диафрагма; 3 - бандаж;
4 - замок; 5 - теплоизоляционный слой

Черт. 15

 

Смонтированная защитная оболочка изоляции вентиля

1, 2 - защитная оболочка; 3 - диафрагма; 4 - бандаж;
5 - замок; 6 - теплоизоляционный слой 

Черт. 16

 

Элемент кожуха (оболочки) изоляции фланцевого
соединения, вентиля

1 - стенка боковая; 2 - стенка торцевая

Черт. 17

 

Смонтированная защитная оболочка изоляции задвижки

1, 2 -  защитная оболочка; 3 - диафрагма; 4 - бандаж;
5 - замок; 6 - теплоизоляционный слой

Черт. 18

 

Элемент кожуха (оболочки) задвижки

1, 2 - стенка боковая; 3, 4 - стенка торцевая;
5 - заклепка 4´8.37 ГОСТ 10299-80

Черт. 19

 

Защитная оболочка прямых участков трубопроводов
с креплением винтами (в сборе)

1 - защитная оболочка (РСТ, АПМ, СТПЛ);
2 - планка; 3 - винт 4´12-011 ГОСТ 10621-80

Черт. 20

 

Защитная оболочка прямых участков трубопроводов
с креплением бандажами с пряжкой

1 - защитная оболочка; 2 - бандаж с пряжкой;
3 - планка (L = 1000 для РСТ, АПМ, СТПЛ)

Черт. 21

 

Штампованная защитная оболочка отвода пластмассовая

Примечание. Размеры смотри ТУ 36.16.22-24-88.

Черт. 22

 

Штампованная защитная оболочка отвода пластмассовая

Примечание. Размеры смотри ТУ 36.16.22-24-88.

Черт. 23



© 2013 Ёшкин Кот :-)