Информационная система
«Ёшкин Кот»

XXXecatmenu

ОРДЕНА ТРУДОВОГО КРАСНОГО ЗНАМЕНИ

АРЕНДНОЕ ПРЕДПРИЯТИЕ ПРОМСТРОЙПРОЕКТ

ПОСОБИЕ 5.91 к СНиП 2.04.05-91

Размещение вентиляционного оборудования

Главный инженер института            И.Б. Львовский

Главный специалист                          Б.В. Баркалов

Рекомендовано к изданию решением секции Технического Совета арендного предприятия Промстройпроект.

Пособие 5.91 к СНиП 2.04.05-91 (далее СНиП) «Размещение вентиляционного оборудования» разработано институтом Промстройпроект (канд. техн. наук Б.В. Баркалов) при участии института Сантехниипроект (Т.И. Садовская).

В Пособии изложены требования раздела СНиП «Размещение оборудования», которые иллюстрируются рисунками и комментариями. Варианты размещения оборудования не регламентированные СНиП и не запрещенные для применения рекомендуются к использованию, если это экономически целесообразно и удобно для обслуживания установок.

Пособие предназначено для специалистов в области отопления и вентиляции.

Рецензент доктор технических наук             В.П. Титов

Редактор инженер                                          Н.В. Агафонова

1. Согласно п. 4.82 СНиП вентиляционное оборудование, кроме оборудования воздушных и воздушно-тепловых завес (с рециркуляцией и без рециркуляции воздуха), не допускается размещать в обслуживаемых помещениях:

а) складов категории А, Б и В;

б) жилых, общественных и административно-бытовых зданий, кроме оборудования с расходом воздуха 10 тыс.м3/ч и менее.

Оборудование систем аварийной вентиляции и местных отсосов допускается размещать в обслуживаемых ими помещениях.

2. Оборудование систем приточной вентиляции и кондиционирования, согласно п. 4.83 СНиП, не следует размещать в помещениях, в которых не допускается рециркуляция воздуха.

Оборудование воздушных и воздушно-тепловых завес допускается размещать у наружных ворот и дверей в помещениях категорий А и Б, см. п. 4.47 г СНиП.

3. Вентиляционное оборудование систем помещений категорий А и Б, а также оборудование систем местных отсосов взрывоопасных смесей согласно п. 4.84 СНиП не допускается размещать в помещениях подвалов. Следовательно в подвалах нельзя выгораживать или специально устраивать помещения для приточного и вытяжного оборудования обслуживающего помещения категорий А и Б.

4. СНиП пунктами 4.87 - 4.90 ограничивает размещение пылеуловителей, предназначенных для очистки воздуха от взрывоопасной и пожароопасной пыли. Для пылеуловителей негорючей пыли в СНиП ограничений по размещению не приводится.

5. Размещение приточного оборудования связано с размещением устройств для приема наружного воздуха. Размещение этих устройств нормируется п. 4.41 СНиП, согласно которому все приточное оборудование, размещенное в общем помещении, может присоединяться к общему устройству для приема наружного воздуха.

6. Пункты 1 - 5 относятся к размещению вентиляционного оборудования внутри обслуживаемых ими помещений. Основным препятствием к такому размещению оборудования является шум и вибрация, что требует проверки возможности осуществления разрешенного по СНиП II-12-77 «Защита от шума». Проверка на шум и вибрации требуется также и для оборудования с расходом 10 тыс.м3/ч и менее, размещение которого допущено п. 4.82б; не требует проверки на шум и вибрации только по п. 1.1в СНиП оборудование аварийных систем, если этого не потребуют технологи.

Запрещение рециркуляции воздуха из помещений, перечисленных в п. 4.47 СНиП и в п. 4 приложения 18 к СНиП, блокируют возможность размещения в этих помещениях вентиляционных установок приточных систем.

7. Согласно п. 4.91 СНиП Оборудование систем приточной вентиляции, кондиционирования и воздушного отопления (далее - оборудование приточных систем), обслуживающих производственные помещения категорий А и Б, не допускается размещать в общем помещении для вентиляционного оборудования вместе с оборудованием вытяжных систем, а также приточно-вытяжных, систем с рециркуляцией воздуха или воздушными теплоутилизаторами, см. рис. 1.

8. Не запрещается согласно п. 4.91 СНиП, размещать вместе с приточным оборудованием для помещений категорий А и Б, другое приточное оборудование без рециркуляции, поэтому на рис. 1 показано совместное размещение приточного оборудования для помещений категорий А, Б, В, Г, Д, и приточного оборудования для административно-бытовых помещений и тамбур-шлюзов.

9. В соответствии со 2-м абзацем п. 4.91 и п. 4.97 СНиП, на рис. 1 в общем помещении с приточным оборудованием размещена приточная часть воздуховоздушной установки, использующей теплоту воздуха помещений категорий А или Б. Вытяжная часть этой установки размещена в другом помещении для вентиляционного оборудования; вместе с ней могут быть размещены другие вытяжные установки, как показано на рис. 5 в соответствии с п. 4.95 СНиП.

10. На приточных воздуховодах, обслуживающих помещения категорий А и Б, включая комнаты администрации, отдыха и обогрева работающих, расположенные на площади этих помещений, п. 4.91 СНиП требует предусматривать взрывозащищенные обратные клапаны в местах пересечения воздуховодами ограждений помещений для вентиляционного оборудования, как показано на рис. 1.

Взрывозащищенные обратные клапаны следует также устанавливать на вытяжном воздуховоде теплоутилизатора, соединяющего помещения приточных установок с помещением вытяжных установок (рис. 1).

11. «Оборудование приточных систем с рециркуляцией воздуха, обслуживающих помещения категории В, не допускается размещать в общих помещениях для вентиляционного оборудования вместе с оборудованием систем для помещений других категорий взрывопожарной опасности» (п. 4.92 СНиП).

В соответствии с этим требованием на рис. 2 показано оборудование приточно-рециркуляционной одновентиляторной системы 1, приточно-рециркуляционной двухвентиляторной системы 2 и вытяжной системы 3, размещенных в общем помещении для вентиляционного оборудования, обслуживающих два или больше помещений категорий В. В этом помещении для вентиляционного оборудования могут быть также размещены вытяжные установки систем местных отсосов и общеобменной вентиляции, обслуживающих помещения категорий В. Оборудование, обслуживающее помещения других категорий на рис. 2 показано в отдельном помещении. В отдельном помещении должно быть размещено и оборудование, обслуживающее вытяжную вентиляцию из помещений, с резкими или неприятным запахом по требованию п. 4.94.

12. В общем помещении для вентиляционного оборудования п. 4.95 СНиП запрещает размещать оборудование вытяжных систем для помещений категории В и Г.

13. «Оборудование приточных систем, обслуживающих жилые помещения, не допускается размещать в общем помещении для аентиляционного оборудования вместе с оборудованием приточных систем, обслуживающих помещения для бытового обслуживания населения, а также с оборудованием вытяжных систем», (рис. 3 п. 4.93 СНиП).

14. На рис. 4 показано размещение приточного и вытяжного оборудования, обслуживающего помещения общественных и административно-бытовых зданий, на которые СНиП не наложил особых требований или запрещений. Втяжное оборудование, обслуживающее помещения с резким или неприятным запахом, размещено в отдельном помещении, но в соответствии с п. 4.94 СНиП может быть размещено вместе с другими вытяжными установками.

15. Воздухо-воздушные и другие теплоутилизационные установки в жилых, общественных и административно-бытовых зданиях могут быть размещены в приточной части любой из показанных двухвентиляторных приточно-рециркуляционных установок, если это не противоречит разделу 8 СНиП.

16. «Оборудование вытяжных систем общеобменной вентиляции, для помещений категорий А и Б допускается размещать в общем помещении для вентиляционного оборудования вместе с оборудованием систем местных отсосов взрывоопасных смесей без пылеуловителей или с мелкими пылеуловителями, если в воздуховодах исключены отложения горючих веществ», рис. 5.

17. Воздухо-воздушные теплоутилизаторы, согласно п. 4.97 СНиП следует размещать в помещениях для оборудования приточных систем, работающих с рециркуляцией воздуха по двухвентиляторной схеме, как показано на рис. 2 и 5.

СНиП не накладывает ограничений на размещение теплоутилизаторов, использующих теплоту жидкостей и газов, циркулирующих по замкнутому циклу, соблюдая требования раздела 8 СНиП.

18. Оборудование вытяжных систем общеобменной вентиляции, обслуживающих помещения категории В и Д, а также административно-бытовые помещения СНиП не запрещает размещать в общем помещении для вентиляционного оборудования. В том же помещении можно установить оборудование систем местных отсосов невзрывоопасных смесей, обслуживающих эти помещения, рис. 6.

19. Оборудование вытяжных систем общеобменной вентиляции и местных отсосов, обслуживающих категории В и Д, а также административно-бытовые помещения, не запрещено размещать в общем помещении для вентиляционного оборудования. В этом помещении можно установить оборудование систем местных отсосов невзрывоопасных смесей, обслуживающих эти помещения, п. 4.95 СНиП.

Рис. 1, Схема размещения оборудования приточных систем без рециркуляции воздуха в помещении для вентиляционного оборудования в производственном здании:

1 - оборудование приточных систем; 2 - обратный взрывоопасный клапан; 3 - тамбур-шлюз; 4 - помещение категории А или Б; 5 - комната администрации, отдыха и обогрева работающих, размещенная на площади помещения 4 или 6; 6 - помещение категории В; 7 - помещение категории Г; 8 - помещение категории Д; 9 - административно-бытовое помещение; 10 и 10а - помещение для вентиляционного оборудования; 11 - пол; 12 - покрытие или перекрытие; 13 - перегородка; 14 - транзитный воздуховод с нормируемым пределом огнестойкости; 15 - приточная часть воздуховоздушной теплоизолирующей установки; 16 - вытяжная часть воздуховоздушной теплоизолирующей установки отсасывающей воздух из помещения 4, размещаемая в помещении 10а; 17 - помещения, которые допускается обслуживать вытяжными установками 18 и другими вытяжными установками согласно рис. 5; 19 - общее приемное устройство для наружного воздуха для всех приточных установок, по п. 1.41 СНиП.

Рис. 2. Схема размещения оборудования приточных систем с рециркуляцией воздуха к п. 4.92 СНиП.

1 - оборудование приточно-вытяжной одновентиляторной системы; 2 - оборудование приточно-вытяжной двухвентиляторной системы; 3 - оборудование общеобменной вытяжной системы или системы местных отсосов; 4 - оборудование приточной прямоточной системы; 5 - помещение категории В; 6 - помещение категории Г; 7 - помещение категории Д; 8 - административное или бытовое помещение; 9 - помещение категории В, Г или Д; 10 - перегородка; 11 - помещение для вентиляционного оборудования; 12 - пол; 13 покрытие или перекрытие здания.

Рис. 3. Схема размещения оборудования в предназначенном для него помещении, в жилом здании, в соответствии с п.п. 4.93 и 4.94 СНиП

1 - оборудование приточно-рециркуляционной одновентиляторной системы; 2 - оборудование приточно-рециркуляционной двухвентиляторной системы с общеобменной вытяжной вентиляцией или с системой местных отсосов невзрывоопасных смесей; 3 - оборудование вытяжной системы; 4 - жилое помещение; 5 - производственное помещение для бытового обслуживания населения; 6 - помещение ресторана, магазина, сберегательной кассы и подобное; 7 - помещение для вентиляционного оборудования; 8 - пол помещения; 9 - перекрытие; 10 - перегородка; 11 - приемное устройство для наружного воздуха систем обслуживающих помещение 4; 12 - приемное устройство для наружного воздуха систем обслуживающих помещения 5 и 6 (п. 4.41 СНиП).

Рис. 4. Схема размещения оборудования в предназначенном для него помещении, в общественном или административно-бытовом здании, в соответствии с п.п. 4.93 и 4.94 СНиП.

1 - оборудование приточно-рециркуляционной системы; 2 - оборудование приточно-рециркуляционной двухвентиляторной системы с общеобменной вытяжной системой или с системой местных отсосов невзрывоопасных смесей; 3 - оборудование вытяжной системы; 4 - производственное помещение для бытового обслуживания населения; 5 - производственное помещение категории Д, например, множительной техники, мастерские и др.; 6 - помещение общественного назначения - административное, зал, аудитория, проектное или конструкторское бюро, др.; 7 - помещение категории В; 8 - кухни, моечные, курительные, парикмахерские, уборочные и другие помещения с резкими или неприятным запахом; 9 - приемное устройство для наружного воздуха для помещений 4, 5 и 6; 10 - приемное устройство для наружного воздуха для помещения 7; 11 - помещение для вентиляционного оборудования; 12 - перекрытие или покрытие; 13 - пол; 14 - перегородка.

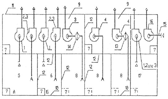
Рис. 5. Схема размещения оборудования систем вытяжной общеобменной вентиляции для помещений категорий А или Б и систем местных отсосов взрывоопасных смесей:

1 - оборудование вытяжной системы общеобменной вентиляции; 2 - оборудование системместных отсосов невзрывоопасных смесей; 3 - то же, взрывоопасных смесей, не образующих отложений в воздуховодах или в вентиляционном оборудовании; 4 - то же, образующих отложения в воздуховодах или в вентиляционном оборудовании; 5 - помещение категории А; 6 - помещение категории Б; 7 - тамбур-шлюз; 8 - помещения любой категории В, Г или Д, в которых имеются местные отсосы взрывоопасных или горючих веществ; 9 - помещение для вентиляционного оборудования; 10 - пол; 11 - покрытие; 12 - перегородка; 13 - сухой пылеуловитель или фильтр; 14 - мокрый пылеуловитель; 15 - от воздуховоздушного теплоутилизатора; 16 - вытяжная часть воздуховоздушной теплоиспользующей установки, отсасывающей воздух из помещения категории А или Б (см. рис. 1); 17 - помещение категории А или Б.

Примечание. Тамбур-шлюзы устраиваются у помещений категорий А и Б, согласно п. 2.11 СНиП 2.09.02-85. Тамбур-шлюзы у помещений с выделением вредных газов или паров 1-го или 2-го классов опасности, которые упоминаются в п. 4.6 СНиП 2.01.05-91, устраиваются по технологической части проекта.

Рис. 6. Схема размещения оборудования систем вытяжной вентиляции помещений вентиляционного оборудования для помещений категорий В, Г и Д и административно-бытовых помещений:

1 - оборудование вытяжной системы общеобменной вентиляции; 2 - оборудование систем местных отсосов невзрывоопасных смесей; 3 - помещение категории Г; 4 - помещение категории Д; 5 - помещение категории В; 6 - административно-бытовое помещение; 7 - помещение для вентиляционного оборудования; 8 - пол; 9 - покрытие; 10 - перегородка.

 



© 2013 Ёшкин Кот :-)