Информационная система
«Ёшкин Кот»

XXXecatmenu

ГОСУДАРСТВЕННЫЙ ИНСТИТУТ
ПО ПРОЕКТИРОВАНИЮ ОСНОВАНИЙ И ФУНДАМЕНТОВ
(ФУНДАМЕНТПРОЕКТ) ГОССТРОЯ СССР

ПОСОБИЕ
ПО ПРОЕКТИРОВАНИЮ ЗАЩИТЫ
ГОРНЫХ ВЫРАБОТОК
ОТ ПОДЗЕМНЫХ И ПОВЕРХНОСТНЫХ ВОД
И ВОДОПОНИЖЕНИЯ
ПРИ СТРОИТЕЛЬСТВЕ И ЭКСПЛУАТАЦИИ
ЗДАНИЙ И СООРУЖЕНИЙ

(к СНиП 2.06.14-85
и СНиП 2.02.01-83)

Утверждено
приказом
ГПИ Фундаментпроект
Госстроя
СССР
от
11 августа 1988 г. 228

Москва

Арендное производственное
предприятие ЦИТП

1991

Содержит положения по выбору систем защиты, карьерного и шахтного водоотлива, дополнительные данные для выполнения проектных работ. Приведены примеры расчетов водопонижений.

Для инженерно-технических работников проектных, изыскательских и строительных организаций.

При пользовании Пособием следует учитывать утвержденные изменения строительных норм и правил и государственных стандартов, публикуемые в журнале «Бюллетень строительной техники», «Сборнике изменений к строительным нормам и правилам» и информационном указателе «Государственные стандарты СССР» Госстандарта СССР.

ПРЕДИСЛОВИЕ

Настоящее Пособие детализирует положения СНиП 2.06.14-85 «Защита горных выработок от подземных и поверхностных вод» (в дальнейшем «защита») в части выбора систем защиты, карьерного и шахтного водоотлива, требований к изысканиям инженерных наблюдений при строительстве и эксплуатации горных предприятий и положения разд. 18 СНиП 2.02.01-83 «Проектирование водопонижения», а также общие для указанных СНиП положения по водопонизительным и водоотводящим устройствам, расчетам водопонижения и водоотвода.

Примеры, приведенные в Пособии, - абстрактные, однако они в основном базируются на апробированных на практике решениях. При этом не соблюдается строгое следование ни природным условиям объекта прототипа, ни осуществленным на нем проектным решениям.

Издание материалов к СНиП 2.06.14-85 и СНиП 2.02.01-83 в данном Пособии позволяет избежать лишних повторений и облегчает следование ссылкам на данные, приведенные в разных частях.

Пособие разработано:

Фундаментпроектом Госстроя СССР (М.Л. Моргулис - разд. 1 - 9, 11, 14, Н.В. Баранова - разд. 1, Н.Н. Воденко - разд. 5, Г.Г. Голубков - разд. 8, 14, В.К. Демидов - разд. 1, 5 - 8, 14, Д.П. Ефимович - разд. 1 - 3, 5 - 11, В.Н. Иванов - разд. 14, А. В. Ильин - разд. 2, 4, 8, Н.В. Карякина - разд. 11, Е.А. Киселева - разд. 7, 8, 14, М.Н. Пинк - разд. 2, 5 - 8, 11, 14, И.С. Рабинович - разд. 2 - 4, 7 - 9, 12, 14, 15, канд. техн. наук Г.А. Разумов - Лучевые скважины и водозаборы в разд. 9, 14, Н.М. Уткина - разд. 1, 2, 4, 5, 14, Б.Н. Фомин - разд. 8, 11);

- с участием ВИОГЕМа Минмета СССР (В.Е. Анпилов - Лучевые скважины и водозаборы в разд. 9, 14, Б.П. Воропаев - разд. 2, 3, кандидаты техн. наук Г.И. Гензель - разд. 16, Е.С. Гладченко - разд. 2, 9, 16, Е.Б. Добровольский - разд. 9, Ю.И. Ляпин - разд. 2, В.П. Петриченко, Ю.В. Пономаренко, В.М. Чуйко - Лучевые скважины и водозаборы в разд. 9); Гипроцветмета Минмета СССР (Л.А. Березуцкая - разд. 2, В.Е. Лурье - разд. 4, С.Н. Максимов - разд. 4, С.В. Пармузин - разд. 2, 4); ВНИИОСПа им. Н.М. Герсеванова Госстроя СССР (А.Б. Мещанский - разд. 6, 7, 9, 10, Иглофильтры в разд. 14); ВНИИ ВОДГЕО Госстроя СССР (канд. техн. наук К.С. Боголюбов - разд. 15); ВНИИВО Госкомприроды СССР (кандидаты техн. наук М.С. Коваленко, В.И. Мухопад - разд. 13); Южгипрошахта Минуглепрома СССР (В.К. Деньгуб, А.В. Курманаевский - Подземные насосные станции в разд. 4).

Пособие разработано под общей редакцией М.Л. Моргулиса.

ЧАСТЬ I. СИСТЕМЫ ЗАЩИТЫ ГОРНЫХ ВЫРАБОТОК ОТ ПОДЗЕМНЫХ И ПОВЕРХНОСТНЫХ ВОД (К СНиП 2.06.14-85)

1. ТРЕБОВАНИЯ К ИЗЫСКАНИЯМ

Общие положения

1.1. Общее инженерно-геологическое изучение месторождений полезных ископаемых, включая гидрогеологические исследования, ведется с начала геологоразведочных работ. Оно должно быть направлено на получение исходных данных для проектирования горных предприятий, в том числе защиты горных выработок, и должно отвечать требованиям нормативов Мингео СССР, а также СНиП 2.06.14-85.

1.2. В общем случае для проектирования защиты горных выработок должны быть изучены все стороны природной обстановки на месторождении - физико-географические, гидрометеорологические, геологические, гидрогеологические и инженерно-геологические условия.

При изучении природных условий должны быть использованы фондовые и литературные источники, а также материалы систематических наблюдений станций и постов в районе месторождения.

1.3. В материалах изысканий должны быть освещены экологические особенности района месторождения и определены условия сохранения окружающей среды.

Материалы изысканий должны способствовать прогнозированию влияния на окружающую среду искусственного понижения уровня подземных вод и устройства противофильтрационных завес.

1.4. Природные условия должны быть освещены в пределах ожидаемой зоны депрессии подземных вод, областей их питания и бассейна питания поверхностных вод.

Физико-географические данные

1.5. Физико-географическое изучение должно отражать особенности рельефа территории месторождения, географические факторы, влияющие на климат района, распространение грунтов с особыми свойствами, подверженность территории опасным геологическим процессам.

1.6. В результате изучения рельефа должны быть отмечены его характерные формы (хребты, возвышенности, котловины), расчлененность, характеристика и глубина вреза речных долин, характеристика овражной сети и другие данные, определяющие условия поверхностного стока.

1.7. Географические факторы, влияющие на климат, - широта и высота местности, близость ее к морю, растительный покров, распространение горных пород с особыми свойствами (просадочные, набухающие, вечномерзлые и т.п.), места сброса рудничных вод - должны изучаться в процессе изысканий и составлять предмет специальных очерков или разделов общих отчетов по изысканиям.

1.8. В случае подверженности территории месторождения опасным геологическим процессам - оползням, обвалам, селям, лавинам, карсту, землетрясениям, вулканизму - в материалах изысканий должны содержаться подробная характеристика таких проявлений и прогнозы их влияния на эксплуатацию месторождения.

Климат и гидрометеорологические данные

1.9. При изучении климата необходимо устанавливать: количество атмосферных осадков (твердых, жидких), их распределение по сезонам, интенсивность выпадения осадков, максимальное количество за сутки, толщину и длительность снегового покрова, интенсивность снеготаяния; среднемесячную температуру воздуха, амплитуды колебания температур за сутки; преобладающие направления ветра; максимальную скорость ветра; глубину сезонного промерзания и оттаивания грунтов; влажность воздуха по сезонам.

При изучении гидрологических условий следует выявить:

состав коренных и аллювиальных пород, слагающих дно и берега водотоков и водоемов, их мощность, фильтрационные свойства, наличие водоупорных пород, отделяющих водотоки от рудной зоны;

расход и сток рек и других водотоков, их режим, условия питания по временам года, характеристику водосборных бассейнов, испарение с водной поверхности; химический состав поверхностных вод; взаимосвязь поверхностных водных объектов с водоносными слоями горных пород, карстовыми полостями и тектоническими зонами.

Геологическое строение

1.10. К геологическим факторам, имеющим важное значение для проектирования защиты горных выработок, относятся:

геологическая структура района, особенности геологического разреза, условия и глубина залегания полезного ископаемого, простирание и падение слоев горных пород;

литолого-петрографический состав пород, их изменчивость в плане и разрезе, мощность слоев;

наличие ослабленных прослоев, рыхлых песчаных пород, текучих и мягкопластичных глинистых пород, сильно трещиноватых и выветрелых пород; пород с особыми свойствами (просадочных, набухающих и др.);

тектоническое строение месторождений, наличие зон крупных тектонических нарушений, зон дробления пород, простирание, падение и ширина разломов, характер и амплитуда смещений; трещиноватость пород, число и генезис трещин, характер заполнителя, закарстованность и кавернозность горных пород.

Изучение гидрогеологических и инженерно-геологических условий

1.11. При изучении гидрогеологических условий следует отмечать:

общие гидрогеологические условия района, характер водоносности пород, глубину залегания, условия питания и разгрузки подземных вод, статические и динамические запасы их;

число водоносных слоев, их толщину и распространение, литологический состав водосодержащих и водоупорных пород, распространение по площади, близость к полезным ископаемым;

статические и пьезометрические уровни подземных вод в водоносных слоях, характеристику водоносных слоев, размеры гидростатического давления на кровлю и почву полезного ископаемого, гидравлическую взаимосвязь между отдельными водоносными слоями, связь подземных вод с поверхностными водотоками и водоемами;

гидрогеологические параметры водоносных слоев, влияющие на размер притока воды в горные выработки - коэффициенты фильтрации, водопроводимость, водоотдачу;

химический состав и температуру подземных вод, их минерализацию и агрессивность, пригодность для водоснабжения;

физико-механические свойства, характеристики горных пород и инженерно-геологические характеристики всех аномальных зон (зон сдвижения горных пород, дробления, кавернозности, закарстованности, выветрелости тектонических разломов и т.п.).

1.12. В составе гидрогеологических и инженерно-геологических изысканий следует предусматривать:

гидрогеологическую и инженерно-геологическую съемку месторождения;

бурение гидрогеологических, инженерно-геологических скважин и при необходимости проходки горных выработок (шурфов, шахт, штолен, расчисток) с отбором образцов для лабораторного определения физико-механических свойств горных пород из основных литологических разностей;

гидрогеологическую документацию инженерно-геологических выработок (режим бурения, наблюдения за промывочной жидкостью, описание состава и состояния пород, замеры уровней воды);

лабораторное изучение физико-механических свойств горных пород;

полевые исследования прочностных свойств горных пород в условиях их природного залегания;

изучение химического состава подземных вод, режимные наблюдения за уровнями подземных вод по сети наблюдательных скважин в течение не менее 1-1,5 лет;

опытные кустовые и одиночные откачки, нагнетания, наливы для определения гидрогеологических параметров (коэффициента фильтрации, водоотдачи, пьезопроводности и др.);

геофизические исследования для решения инженерно-геологических и гидрогеологических задач.

1.13. Гидрогеологическую и инженерно-геологическую съемку следует производить на основе данных вышеперечисленных физико-геологических исследований.

В состав гидрогеологической и инженерно-геологической съемки входят маршрутные обследования, проходка одной, двух разведочных выработок на каждом геоморфологическом элементе обследуемой территории, картирование выходов на поверхность коренных пород.

Съемка проводится в пределах изучаемой территории (см. п. 1.4.) в масштабе 1:5000 или 1:10000 для получения предварительного представления о районе исследований.

При картировании физико-геологических явлений необходимо отмечать площадь их проявления, приуроченность к определенным формам рельефа и видам горных пород, условия и причины их возникновения, формы проявления и развития.

1.14. Буровые и горнопроходческие работы выполняются в целях:

уточнения геологического разреза на отдельных участках месторождения, состава, мощности, особенностей залегания горных пород;

отбора образцов горных пород и проб подземных вод для лабораторных исследований, установления глубины залегания подземных вод и их режима;

проведения опытных откачек (наливов, нагнетаний), полевых исследований горных пород, геофизических и зондировочных работ;

уточнения данных о зонах дробления, тектонических разломов, карста, оползней и других неблагоприятных явлений;

создания сети скважин для режимных наблюдений.

1.15. В состав буровых и горнопроходческих работ входит бурение специальных гидрогеологических и инженерно-геологических скважин, проходка шахт, шурфов, расчисток.

В случаях необходимости изучения условий залегания пород и зон трещиноватости следует предусматривать горные выработки - шахты, штольни, шурфы, прорези, расчистки.

1.16. Основным требованием к методам бурения инженерно-геологических скважин является обеспечение максимального выхода керна (не менее 80 %) минимальным диаметром 85 - 90 мм и сохранение естественной влажности и сложения образцов грунта, отбираемых для определения физико-механических и прочностных свойств лабораторными способами.

Бурение гидрогеологических скважин должно проводиться, как правило, способами, исключающими глинизацию стенок скважины.

Применение глинистой промывки допускается только при обеспечении надежной разглинизации скважин.

При изучении отдельного водоносного слоя в скважине должна быть обеспечена надежная изоляции изучаемого слоя от других путем перекрытия их обсадными трубами с применением тампонажа затрубного пространства.

В процессе бурения скважин и проходки горных выработок ведутся тщательные записи в документации: описывается литологический состав и физическое состояние грунтов, отмечается уровень появления и установления подземных вод, проводятся наблюдения за выходом керна, потерей промывочной жидкости, устойчивостью пород в стенках скважины.

1.17. Планомерный отбор образцов горных пород производится из основных литологических разностей, выделенных инженерно-геологических элементов, из ослабленных зон и контактов пластов.

Отбор образцов из горных выработок и естественных обнажений, их упаковку и доставку в лабораторию следует производить в соответствии с ГОСТ 12071-84.

Число отбираемых образцов с ненарушенной структурой должно позволить изучить с достаточной полнотой физико-механические свойства грунтов каждого выделенного инженерно-геологического элемента, ослабленных зон и контактов пластов для получения нормативных и расчетных характеристик.

1.18. Прочностные и деформационные свойства грунтов должны изучаться на образцах ненарушенной структуры.

Лабораторные исследования состава, свойств и состояния горных пород должны проводиться методами, предусмотренными государственными стандартами с учетом условий работы грунта в горных выработках в периоды их строительства и эксплуатации.

При выборе методики исследований необходимо учитывать статические и динамические нагрузки в природном состоянии и при эксплуатации горных выработок, степень увлажнения пород, ориентировку основных напряжений по отношению к напластованию и слоистости пород.

1.19. Число испытаний для каждой литологической разности пород может меняться в зависимости от изменчивости свойств грунта в плане и по глубине.

В соответствии с ГОСТ 25100-82 для разных классов нескальных и скальных грунтов необходимо определять:

для песчаных пород - минералогический и гранулометрический составы, удельный вес, естественную влажность, пористость, максимальную молекулярную влагоемкость, водоотдачу, коэффициент фильтрации, угол внутреннего трения, удельное сцепление (если оно обнаружено);

для глинистых нескальных пород - минералогический состав, пластичность, удельный вес, естественную влажность, пористость, угол внутреннего трения, удельное сцепление, модуль деформации, набухание, размокание, усадку;

для скальных пород - минералогический состав, удельный вес, сжимаемость, временное сопротивление сжатию, размягчаемость, морозостойкость, водопоглощение, водонасыщение.

Для скальных трещиноватых пород определяется ориентировка трещин, их густота, ширина, состав и характер заполнителя.

Для горных пород с особыми свойствами дополнительно определяются:

для просадочных грунтов - величина относительной просадочности, общее содержание и состав воднорастворимых солей, содержание гумуса;

для засоленных грунтов - состав и количественное содержание легко- и среднерастворимых солей;

для набухающих грунтов - величина относительного набухания или усадки, величина свободного набухания, давление и влажность набухания;

для вечномерзлых грунтов - температура, льдистость, теплофизические свойства, величина относительной осадки при оттаивании, определяемые по СНиП 2.02.04-88.

1.20. Обработку опытных данных лабораторных исследований следует проводить с помощью математической статистики (ГОСТ 20522-75).

Нормативные и расчетные значения характеристик грунта вычисляются для каждого выделенного инженерно-геологического элемента с учетом данных полевого изучения горных пород.

1.21. В задачи полевых испытаний входят:

получение дополнительных данных, которые позволяют принимать поправочные коэффициенты к расчетным характеристикам горных пород, получаемым по материалам лабораторных определений (например, коэффициент ослабления в натуре для удельного сцепления);

определение характеристик горных пород в случаях, когда отобрать образцы для лабораторных исследований затруднительно, и в случаях, когда целесообразнее исходить из данных полевых, а не лабораторных испытаний;

получение дополнительных данных для выделения инженерно-геологических элементов;

выявление и оконтуривание линз и прослоев слабых горных пород (например, рыхлых песков);

определение глубины залегания кровли скальных и обломочных пород.

Полевые испытания включают испытания горных пород прессиометрами и штампами в скважинах и в горных выработках, статическое и динамическое зондирование, срезы целиков в горных выработках.

Полевые испытания грунтов следует предусматривать с учетом предполагаемых статических и динамических нагрузок в условиях проходки и эксплуатации горных выработок.

1.22. Полный объем лабораторных и полевых исследований физико-механических свойств горных пород должен быть установлен с учетом требований СНиП 2.06.14-85 и нормативных материалов по проектированию соответствующих видов сооружений и мероприятий по обеспечению устойчивости горных выработок.

1.23. Отбор проб воды осуществляется из специальных гидрогеологических скважин, оборудованных фильтрами на определенные водоносные слои. Скважины рекомендуется располагать по створам, достигающим гидрогеологических границ водоносного слоя. Отбор проб воды производится поинтервально после установления уровня и осветления воды в скважине.

Подземные воды, содержащиеся в слоях горных пород большой толщины и однородного состава, опробуют в верхней и нижней частях слоя. Пробы воды рекомендуется отбирать из разных слоев и прослоев водосодержащих пород. Для определения агрессивного воздействия и коррозионной активности подземных вод пробы воды отбираются в соответствии с ГОСТ 9.015.-74.

1.24. Изучение химического состава подземных вод в комплексе изысканий для проектирования защиты горных выработок имеет следующие цели:

определение необходимых мероприятий для использования откачиваемых вод и обеспечения охраны окружающей среды при необходимости их сброса;

выявление вредных воздействий подземных вод на защитные сооружения и устройства (зарастание фильтров, агрессивность по отношению к бетону и металлам и др.);

установление (в совокупности с другими данными) условий питания и разгрузки водоносных слоев, наличия взаимосвязи между водоносными слоями и поверхностными водами;

изменения химического состава подземных вод по площади месторождения, глубине и во времени.

1.25. Опытные откачки, наливы, нагнетания предназначаются для определения:

фильтрационных характеристик водоносных слоев - коэффициента фильтрации, водопровода-моста, водоотдачи, уровнепроводности, пьезопроводности, параметров перетекания;

взаимосвязи между водоносными слоями и связь их с поверхностными водами.

По сравнению с наливами и нагнетаниями опытные откачки более эффективны, так как они точнее характеризуют водоносные слои и процесс водопонижения.

1.26. Опытные откачки следует назначать кустовые и одиночные. При кустовых откачках используется опытный куст, состоящий из одной или нескольких центральных и ряда наблюдательных скважин. Из центральных скважин производится откачка, отбор проб на химические анализы и замеры уровня воды, из наблюдательных - ведутся наблюдения за изменениями в процессе откачек уровней, а иногда также за химическим составом и температурой воды.

Центральные скважины, если их несколько, располагаются, как правило, по многоугольнику (или кругу), имитируя кольцевую систему, рассматриваемую как «большой колодец», наблюдательные - по лучам от центра системы в разные стороны, чаще всего по направлению потока и перпендикулярно к нему.

Одиночные откачки из отдельных скважин (без наблюдательных) позволяют получить лишь приближенные значения фильтрационных характеристик горных пород. Однако их применение (из-за мобильности и небольших затрат) в большом количестве позволяет осветить изменчивость фильтрационных свойств горных пород на большой территории.

Опытные наливы и нагнетания рекомендуется применять (с той же целью, что и откачки) при отсутствии необходимого оборудования для опытных откачек: наливы - в основном при изучении фильтрационных свойств трещиноватых скальных пород, нагнетания (под повышенным давлением) - при низких фильтрационных свойствах пород.

С помощью откачек (наливов, нагнетаний) можно изучать водоносный слой или его отдельные зоны (участки, интервалы) по высоте. Однако данные зонного изучения недостаточно точны, и их использование целесообразно, в основном, для сравнительных оценок изменения фильтрационных свойств горных пород по высоте (толщине) водоносного слоя.

1.27. В результате геофизических исследований в комплексе с буровыми, горнопроходческими, лабораторными и полевыми следует выявлять:

дифференциацию геологического разреза в зависимости от состава, состояния и условий залегания грунтов;

глубину залегания подземных вод, мощность водоносной толщи, скорость и направления движения, области питания и разгрузки;

зоны тектонических нарушений, повышенной трещиноватости, карстовых пустот, древних долин;

характеристики оползневых процессов, зон мерзлых пород, развития таликов, подземного льда.

1.28. В состав геофизических исследований следует включать электроразведку, сейсморазведку, резистивиметрию, каротаж и др. (табл. 1).

Выбор методов определяется конкретными условиями исследований и поставленными задачами. Наиболее эффективно применение нескольких геофизических методов. Интерпретация геофизических материалов проводится с учетом данных» бурения скважин, проходки горных выработок, лабораторных и полевых исследований свойств и состава горных пород.

Таблица 1

Задачи исследований

Геофизические методы

Определение строения массива

 

Определение рельефа поверхности скальных и мерзлых пород. Установление толщины слоя нескальных (немерзлых) пород

Вертикальное электрическое зондирование (ВЭЗ), метод преломленных волн (МПВ), электропрофилирование (ЭП), электропрофилирование методом кажущегося сопротивления (ЭПКС), электропрофилирование методом двух составляющих (ЭП МДС)

Расчленение разреза. Установление литологических границ и глубины залегания скальных, песчаных, глинистых и мерзлых грунтов, толщины коры выветривания

МПВ, ВЭЗ, акустический каротаж (АК), каротаж сопротивления (КС), гамма-каротаж (ГК), гамма-гамма-каротаж (ГГК)

Местоположение, глубина залегания:

уровня грунтовых вод, зон трещиноватости, тектонических нарушений, карстовых полостей и подземных выработок

МПВ, ВЭЗ ЭПКС, ЭП, МДС, МПВ

погребенных останцев льдов и сильнольдистых пород, линз соленых и пресных вод, межмерзлотных вод и таликов

Нейтронно-гамма-каротаж (НГК), ГГК, КС, ЭПКС, ЭП МДС, ВЭЗ, резистивиметрия, термометрия

Изучение физико-механических свойств горных пород

 

Скальных пород:

пористости, трещиноватости, модуля деформации, сопротивления сжатию, напряженного состояния

ГГК, НГК, МПВ, сейсмическое и акустическое просвечивание методами вертикального сейсмического профилирования (ВСП), АК, акустической эмиссии (АЭ)

Песчаных и глинистых немерзлых пород:

влажности, удельного веса, пористости

ГГК, НГК, ВЭЗ, боковое каротажное зондирование (БКЗ)

удельного сцепления, угла внутреннего трения, модуля деформации коррозионной активности

ВЭЗ, ЭП

Песчаных и глинистых мерзлых пород:

литологического состава, влажности, льдистости, пористости, удельного веса, временного сопротивления одноосному сжатию

ВЭЗ, ГГК, НГК, термометрия

Изучение современных геологических и инженерно-геологических процессов:

динамики уровня подземных вод, направления, скорости течения и места разгрузки подземных вод.

Режимные наблюдения, ВЭЗ, МПВ, резистивиметрия, расходометрия, метод заряженного тела (МЗТ), электрокаротаж методом потенциала сопротивлений (ПС)

изменения влажности глинистых и лёссовых пород

ВЭЗ, НГК, вызванная поляризация (ВП) в режимной модификации, т.е. несколько циклов наблюдений

загрязнения подземных вод

ВЭЗ, резистивиметрия, ВП

изменения напряженного состояния и уплотнения горных пород

МПВ, ВСП, ГГК, АК, АЭ, НГК, ЭП, ВЭЗ, БКЗ, режимные наблюдения методами эманационной и газовой съемки

изменения толщины слоя протаивания, температуры и свойств мерзлых пород

МПВ, ВСП, АК, АЭ, ВЭЗ, ЭП МДС, термометрия, ГГК, НГК в режимной модификации

1.29. В задачи режимных наблюдений при гидрогеологических и инженерно-геологических изысканиях входят: установление закономерностей изменения режима и условий питания подземных вод во времени от природных и техногенных факторов; изучение состояния горных пород в горных выработках и в обнажениях, в зависимости от условий залегания (экспозиции, их состава, анизотропности, водоносности).

1.30. Состав режимных наблюдений:

метеорологические - за атмосферными осадками, температурой на метеопостах, оборудованных непосредственно на месторождении;

гидрологические - за режимом поверхностных вод, их расходами на различных участках водотоков, на гидрологических постах, установленных на реках и водоемах;

гидрогеологические - за режимом подземных вод по сети специально оборудованных скважин на разные водоносные слои;

инженерно-геологические - за грунтами в обнажениях в горных выработках, развитием процессов выветривания, оползней, обвалов, карста.

Режимные наблюдения зависят от продолжительности изыскательских работ (не менее одного - двух лет).

1.31. При необходимости получения исходных характеристик природных условий на основе сложных исследований, доказательств выбора параметров способа водопонижения и устройства противофильтрационных завес целесообразно проектировать опытно-производственное водопонижение или опытно-производственные противофильтрационные завесы (иногда и опытный карьер или опытную шахту), предусматриваемые проектной организацией как этап строительно-монтажных работ (см. п. 2.4).

Особенности изучения специфически усложненных гидрогеологических условий

1.32. Подземный поток отличается особой спецификой на месторождениях, приуроченных к антиклинальным поднятиям с наклонным залеганием скальных водоносных пород, к мульдам, зонам развития карста и районам распространения мерзлых горных пород.

1.33. Месторождения полезных ископаемых с наклонно залегающими водоносными скальными породами (черт. 1) с углами наклона, достигающими 60 - 80°, разбитые неоднородно развитыми различно заполненными трещинами, тектоническими разломами и зонами дробления, отличаются неоднородной водопроницаемостью горных пород и неодинаковой водообильностью пород в лежачем и висячем боках пласта полезного ископаемого.

Питание водоносных слоев происходит в местах их выходов на поверхность или через покровные отложения.

Описание: 1

Черт. 1. Геологический разрез месторождения

1 - суглинки, пески, галечники; 2 - породы коры выветривания; 3 - руда; 4 - кварцево-карбонатные породы; 5 - известняки; 6 - зона интенсивного рассланцевания пород; 7 - зона дробления

В таких условиях первостепенное значение имеет изучение тектоники, трещиноватости контактных зон, условий взаимосвязи наиболее водопроводимых зон с поверхностными водотоками, характера и материала заполнения трещин, а также выполнение опытных водопонижения и противофильтрационных завес с прогнозированием размыва и выноса материала, кольматирующего трещины.

Необходимо самое широкое использование геофизических способов разведки.

1.34. Месторождения, приуроченные к мульдам (см. разд. 2, черт. 21), представляют собой артезианские бассейны с заполнением мульды переслаивающимися нескальными породами. Синклинальная структура и переслаивание водоносных и водоупорных слоев способствуют образованию напорных вод.

В таких условиях необходимо установить литологический состав слоев, заполняющих мульду и подстилающих полезное ископаемое, взаимосвязь водоносных слоев между собой и условия их питания поверхностными водами, изучить контакт кровли полезного ископаемого с налегающими породами, опытным путем определить эффективность водопонижения при отборе воды из пониженного участка мульды.

1.35. Месторождения в карстовых районах характерны специфическими формами рельефа поверхности земли, на которой наблюдаются разнообразные замкнутые впадины, а в глубине массива - различные полости, пещеры, каналы, придающие своеобразие режиму подземных вод (черт. 2).

Описание: 2

Черт. 2. Карстовые полости

Карст развит в районах распространения растворимых пород: каменной соли, гипса, ангидрита, известняков, доломита, мела, мергеля. Наибольшее распространение на территории СССР имеют карбонатные породы - известняки и доломиты.

В этих условиях особенно необходимо изучение распространения на территории месторождения и в глубине массива карстующихся пород и области развития карста, их залегания по отношению к полезному ископаемому и взаимосвязи с поверхностными водными объектами, химического состава поверхностных и подземных вод, трещиноватости скальных пород, их минералогического и петрографического состава, характера и состава заполнения трещин и карстовых полостей; при изысканиях должны быть широко использованы геофизические методы; следует выполнять опытные водопонижения и противофильтрационные завесы.

1.36. В зонах развития вечной мерзлоты должны быть изучены:

условия распространения вечномерзлых и сезонномерзлых грунтов, их состав, свойства, криогенное строение;

участки распространения и размеры залежей подземного льда;

особенности распространения и формирования таликов;

глубина сезонного промерзания и протаивают пород, изменение температуры пород по площади и в разрезе, режим смежных отложений;

физико-механические свойства (для каждой литологической разности) талых и мерзлых грунтов, изменение текстуры, плотности и влажности по сезонам;

глубина залегания уровней межмерзлотных и подмерзлотных вод, сезонные колебания их уровней, фильтрационные характеристики талых грунтов; температурный режим, связь с поверхностными водами; прогноз изменения режима подземных вод в связи с освоением месторождения и изменением геокреологических условий;

характер, особенности и прогноз развития криогенных и посткриогенных процессов, в зависимости от природных условий и способа отработки месторождения (пучение, термокарст, солифлюкция, заболоченность, наледи).

Должна быть составлена схематическая карта криогенных явлений.

Техническое задание на изыскания

1.37. Во многих случаях после окончания геологоразведочных работ для проектирования защиты горных выработок требуются дополнительные изыскания, которые выполняются по заданиям проектных организаций иногда теми же геологоразведочными экспедициями, которые вели разведку месторождения, а иногда специализированными изыскательскими организациями.

1.38. Задание на изыскания должно содержать: цели изысканий, примерный их состав, требования к методикам полевых исследований и к лабораторным работам (см. примеры 1 и 2).

Пример 1. Месторождение полиметаллических руд расположено в долине большой реки на ее левом пологом берегу в 30 км от ее устья. Часть месторождения находится непосредственно под руслом реки (черт. 3).

Река протекает в широтном направлении и под прямым углом к геологической структуре района месторождения.

Ширина реки в районе месторождения в межень 2,5 км, глубина 2 - 4 м. Максимальный паводковый расход реки 16000 м3/с при уровне воды в реке +10 м (над «местным нулем»). По месторождению протекают также небольшие ручьи и речки. Рельеф поверхности земли представляет собой слабо всхолмленную равнину, расчлененную долинами рек и ручьев с отметками поверхности - в береговой полосе +8 м, на водоразделах - до +44 м.

Черт. 3. Месторождение полиметаллических руд у реки

1 - рудное тело; 2 - водоносные карбонатно-терригенные породы

Климат района резко континентальный с продолжительной морозной зимой и коротким умеренно теплым летом. Среднегодовая температура воздуха (наиболее высокая летняя температура 35 °С, наиболее низкая зимняя - минус 57 °С), среднегодовое количество осадков 432 мм. Снеговой покров достигает 1 - 1,2 м, глубина сезонного промерзания 1,5 - 2 м.

В геологическом строении месторождения (см. черт. 1) основу составляют скальные осадочные породы с крутопадающими (близкими к вертикали) пластами. В верхней части породы выветрены и прикрыты повсеместно распространенными и залегающими практически горизонтально гравийно-галечными, песчано-галечными и супесчаными отложениями, а у самой поверхности земли - суглинками.

Скальные породы, прослеженные на месторождении до глубины 1200 м, подразделяются на три пачки - верхнюю, среднюю и нижнюю, сложенные глинистыми и слюдистыми известняками с прослоями карбонатных и слюдистых сланцев (встречаются и почти чистые известняки); к известнякам верхней пачки приурочены рудные тела.

Комплекс скальных пород имеет меридиональное простирание и разбит тектоническими нарушениями, среди которых выделяются зоны повышенной трещиноватости, интенсивного рассланцевания известняков и зоны дробления.

Тектонические зоны повышенной трещиноватости неравномерно заполнены материалом разрушения коренных пород и тоже относятся к зоне дробления; в зонах интенсивного рассланцевания известняков коренные породы сильно деградированы и превращены в супеси и суглинки.

Толщина покровных отложений колеблется от 5 м в русле реки до 28 м на склонах долины реки.

Гидрогеологические условия месторождения характеризуются наличием двух основных водоносных комплексов: в покровных отложениях и в скальных коренных породах. Породы вышеуказанных комплексов обладают различными фильтрационными свойствами, но подземные воды взаимосвязаны, имеют общий (единый) уровень с выраженным уклоном 0,02 - 0,03 в сторону реки и отметками 55 - 65 м на водоразделах.

Породы покровной толщи характеризуются следующими значениями коэффициентов фильтрации, м/сут: покровные суглинки - 0,1, супеси - 0,5, мелко- и среднезернистые пески - 10 - 15, гравелистые пески - 25, гравийно-галечниковые грунты - 50.

Воды покровной толщи имеют минерализацию менее 0,5 г/л и относятся к пресным гидрокарбонатно-кальциевым и магниевым. Покровные суглинки создают затруднения для инфильтрации поверхностных вод, однако подземные воды питаются в основном за счет атмосферных осадков через покровную толщу и из мелких речек и ручьев.

Большая река служит областью разгрузки подземных вод. На это указывает общий уклон подземного потока в ее сторону. В связи с разработкой месторождения и понижения уровня подземных вод река превратится в основной их источник питания.

Подземные, воды коренных пород приурочены к неравномерно трещиноватым карбонатным породам и зонам тектонических нарушений. Воды пресные, аналогичные водам покровной толщи, через которую они питаются.

Водоносный комплекс коренных скальных пород характеризуется неоднородными фильтрационными свойствами по площади и глубине и основным тектоническим элементам массива.

На основании данных геологоразведочных работ отмечается:

слабая водопроницаемость пород, окружающих месторождение;

в пределах водообильной области (черт. 4), вмещающей рудоносную толщу, наибольшая водопроницаемость верхней части зон тектонических нарушений, где значения коэффициентов фильтрации местами измеряются десятками метров в сутки;

низкая водопроницаемость пород в блоках - менее 1 м/сут;

с глубиной водообильность пород снижается.

Требуется определить задачи и состав необходимых изысканий по гидрогеологическому доизучению скального комплекса.

Дополнительное изучение гидрогеологии скального комплекса наиболее актуально для проектирования защиты горных выработок, так как общее геологическое строение месторождения, физико-географические и гидрометеорологические условия изучены подробно.

Необходимость дополнительного изучения гидрогеологических условий скального комплекса вытекает из того, что водопроницаемость пород освещена в основном по данным одиночных откачек. Недостаточно определены состав пород, заполняющих зоны тектонических нарушений и их физико-механические свойства, инженерно-геологическая характеристика скальных пород в массиве (в блоках) между тектоническими зонами.

Задачи первоочередных дополнительных исследований:

уточнение фильтрационных характеристик отдельных литологических разновидностей пород скального комплекса в массиве (в блоках) между тектоническими зонами и в зонах тектонических нарушений;

изменение фильтрационных свойств горных пород по глубине скального комплекса;

составление инженерно-геологической характеристики скальных пород в блоках между зонами тектонических нарушений и заполняющих их пород.

Кроме дополнительных изысканий в подобных условиях необходимы опытно-производственные работы. Однако их выполнение возможно лишь после принятия принципиального решения о способе разработки месторождения и о защите горных выработок.

Для изучения фильтрационных свойств горных пород опытными откачками намечаем 37 точек (участков) опробования (см. черт. 4), из них 9 - для кустовых откачек и 28 - для одиночных. Одиночные откачки с определением удельного дебита должны быть выполнены и из скважин кустов. Сравнительные данные одиночных и кустовых откачек на участках гидрогеологических кустов должны быть использованы для интерпретации одиночных откачек (в том числе и ранее произведенных) на остальной территории месторождения.

Участки кустовых откачек намечаем: в пределах зоны дробления - два, в зоне интенсивного рассланцевания известняков - три, в центральной части рудоносной толщи - один; 28 скважин для одиночных откачек размещаем так, чтобы охватить основные цитологические разновидности и тектонические зоны.

При разработке рабочей программы изысканий должны быть определены конкретное местоположение и количество центральных и наблюдательных скважин для кустовых откачек (с учетом частичного использования в качестве наблюдательных скважин, намеченных для одиночных откачек), интервалы опробования и глубины скважин.

Поставленные выше инженерно-геологические задачи решаем с помощью скважин, предназначенных для опытных откачек, и работ, выполненных в соответствии с пп. 1.16 - 1.20, т.е. надлежащего инженерно-геологического надзора при бурении скважин, отбора образцов горных пород и исследований их состава и свойств в лаборатории, а также с использованием полевых испытаний горных пород прессиометром и статическим зондированием (в частности, в зоне интенсивного рассланцевания горных пород).

Описание: 1

Черт. 4. Гидрогеологическая карта месторождения

1 - породы висячего бока рудной зоны; 2 - рудная зона; 3 - зона интенсивного рассланцевания пород; 4 - известняки лежачего бока зоны рассланцевания; 5 - зона дробления пород; 6 - зона повышенной трещиноватости; 7 - ранее выполненные геолого-разведочные скважины; 8 - намечаемые скважины для одиночных откачек; 9 - опытные кусты с одной центральной скважиной; 10 - куст с тремя центральными скважинами (групповая откачка)

Кроме того, для решения поставленных гидрогеологических и инженерно-геологических задач необходимо полное использование геофизических методов в соответствии с пп. 1.27, 1.28 и табл. 1.

Составленная изыскательской организацией рабочая программа должна быть согласована с проектировщиками.

Пример 2. Составить задание на изыскания при следующих условиях и обстоятельствах. Разрабатываемое железорудное месторождение, разработка которого уже ведется, расположено в предгорье, в сложном тектоническом районе, характеризующемся образованием чешуи и надвигов, осложненных крупными сбросами и рядом более мелких тектонических нарушений (черт. 5, 6).

Климат района умеренно континентальный. Среднегодовая температура 9,8 °С. Среднее выпадение осадков 576 мм.

Отметки поверхности от 600 до 505 м с общим падением к югу. Район месторождений пересекает много мелких речек, впадающих в одну главную реку, протекающую с востока на запад в 5 км от месторождения.

Покровные отложения - пески и суглинки, переслаивающиеся слоями разной толщины с прослоями лигнитовых углей - залегают с наклоном к югу согласно падению поверхности, и общая их толща изменяет свои размеры от нуля в верхней части месторождения до 260 м в его южной части.

Рудоносная толща, залегающая под покрывающими их песками и суглинками, представляет собой надвинутое эллипсовидное тело, состоящее из известняков и руды, длина его (в широтном направлении) достигает 1700 м, ширина - 760 - 1100 м, толщина от нескольких метров до 260 м. Они подстилаются также надвинутыми, перетертыми до состояния глин, филлитами и аргиллитами с блоками, обломками и перетертым материалом других коренных пород, надвинутые породы залегают на коренных песчаниках, филлитах, аргиллитах и известняках, в различной мере нарушенных сложными тектоническими процессами и неоднородно трещиноватыми. Все эти скальные породы имеют выходы на поверхность выше месторождения, а в других местах прикрыты так же, как и породы надвига, покровной толщей.

Подземные воды получают питание в местах выхода скальных пород на поверхность, а также в 7 км восточнее месторождения, где выходят на поверхность пески покровной толщи, а в районе речки, протекающей в 18 км западнее месторождения, происходит некоторая разгрузка подземного потока.

Воды песков покровной и рудоносной толщ связаны между собой, их связь с наиболее водообильными коренными известняками и песчаниками затруднена и активно осуществляется лишь в отдельных местах восточнее и северо-западнее месторождения контактом песчаных грунтов покровных отложений с трещиноватыми и водообильными коренными скальными породами, а также на отдельных участках через тектонические зоны и рудоносную толщу. В остальной части коренные известняки прикрыты слабопроницаемыми аргиллитами, филлитами, мергелями.

Месторождение изучено, кроме геологоразведочных работ, специальными изысканиями, выполненными по заданию проектной организации для проекта защиты горных выработок. Однако результаты опытных откачек оказались неполноценными, отбор образцов горных пород и их лабораторное изучение также не отвечали поставленным задачам.

Это требует бурения на юге и востоке месторождения некоторых контрольных инженерно-геологических скважин. Однако в повторении кустовых откачек нет необходимости, так как уточнение данных о фильтрационных свойствах пород и условиях развития понижения уровня подземных вод в различных водоносных слоях будет получено в процессе первоочередного водопонижения. Целесообразно выполнить откачки из одиночных скважин, предназначенных в основном для инженерно-геологических исследований, что позволит уточнить общую оценку водопроницаемости пород, отделяющих водоносные слои скальных пород от рудоносной и покровной толщ.

Описание: 5

Черт. 5. Геологический разрез железорудного месторождения в предгорье

1 - переслаивающиеся глинистые породы и пески; 2 - мергели; 3 - известняки; 4 - песчаники; 5 - рудовмещающие известняки; 6 - песчаники с мусковитом; 7 - сланцы; 8 - тектоническая зона; 9 - разрушенные песчаники, мергели, сланцы, известняки; 10 - железная руда; 11 - линии разломов

В проекте защиты карьера (месторождение принято разрабатывать открытым способом) предусмотрена первоочередная дренажная система из южного полукольца водопонизительных скважин для откачки подземных вод из покровной толщи, дренажного штрека в рудоносной зоне на отметке 400 м с насосной станцией и шахтным стволом на севере месторождения. В связи с этим возникла необходимость уточнения инженерно-геологических условий на участках этих сооружений. Аналогичное уточнение необходимо на участках предполагаемой взаимосвязи подземных вод покровной толщи с водообильными породами подстилающего скального комплекса.

Задачи изысканий: 1. В районе установленного в процессе рабочего проектирования местоположения подземной насосной станции и по линии дренажного штрека следует уточнить литологический состав, физико-механические свойства и получить общую (сравнительную) оценку водопроницаемости пород на горизонте сооружений и подстилающих пород, в том числе разделяющего слоя.

2. На востоке и северо-западе от месторождения, в районе предполагаемой взаимосвязи покровных отложений и водоносных скальных пород должны быть изучены: геологическое строение участка, литологический состав и физико-механические свойства нескальных и скальных водоносных пород; должны быть получены общая оценка фильтрационных свойств и водообильности скальных пород, через которые происходит питание подземных вод, и оценка проницаемости вскрываемых разделяющих пород.

Описание: 6

Черт. 6. Железорудное месторождение в предгорье

1 - конуса выноса; 2 - песчаники; 3 - известняки; 4 - рудовмещающие известняки; 5 - контур рудного тела; 6 - контур карьера на конец отработки; 7 - дренажный штрек; намечаемые инженерно-геологические скважины; 8 - в разделяющих породах - до отм. 320; 9 - в разделяющих породах - до отм. 380; 10 - прорезающие покровную толщу, водообильные скальные породы и заглубляемые на 10 м в плотные водоупорные породы; 11 - прорезающие покровную толщу и заглубляемые на 10 м в скальные породы; 12 - прорезающие покровную толщу, разделяющие породы и заглубляемые в скальные водообильные породы до отм. 320; 13 - ранее выполненные инженерно-геологические скважины

3. На южном и восточном бортах карьера необходимо пробурить контрольные инженерно-геологические скважины для уточнения геологического строения, физико-механических свойств нескальных пород покровной толщи и выяснения достоверности характеристик физико-механических свойств пород, определенных для образцов, отобранных без грунтоноса при обычном колонковом бурении.

Примерный состав изысканий. Для решения поставленных задач должны быть выполнены инженерно-геологические скважины, которые намечается расположить следующим образом:

1. В районе насосной станции и по линии дренажного штрека намечается пять инженерно-геологических скважин: две из них на трассе дренажного штрека должны быть пройдены в разделяющих породах примерно до отметки +320 м, а три скважины намечаются до отметки +380 м (примерно на 20 м ниже пола насосной камеры); следует уделить внимание изучению пород в наименее исследованном интервале от +380 до +320 м; с целью получения общей оценки водопроводимости разделяющих пород во всех пяти скважинах намечают одиночные откачки.

2. На северо-западе от контура месторождения предусматриваем бурение четырех инженерно-геологических скважин: три из них проектируются на правом берегу речки, одна - на левом; скважины должны пройти покровную толщу, водообильные скальные породы и войти на 10 м в плотные, водоупорные скальные породы;

во всех указанных скважинах должны быть произведены одиночные откачки из водоносных скальных пород, а в случае вскрытия слабопроницаемых разделяющих пород - откачки или наливы.

3. На восточном борту карьера намечаем бурение четырех инженерно-геологических скважин: три скважины должны пройти покровную толщу и войти на 10 м в подстилающие скальные породы, одна скважина должна вскрыть покровную толщу, разделяющую породу, и войти в скальные водоносные породы. Эта скважина бурится до отметки +320 м, в ней намечается проведение одиночных откачек (или наливов) из разделяющих пород с целью определения водопроницаемости этих пород. Примерное расположение изыскательских скважин - см. черт. 6.

Методика изысканий. Все инженерно-геологические скважины предусматривается бурить по нескальным породам грунтоносом с отбором полной колонны керна. Бурение скальных пород предусматривается с отбором сплошной колонны керна колонковым способом.

При бурении всех инженерно-геологических скважин в пределах скальных пород должны быть подробно освещены трещиноватость, закарстованность и водообильность пород. Необходимые данные, должны быть получены на основе изучения керна, наблюдений за поглощением промывочной жидкости и проведения геофизических работ.

При описании керна отмечаются: число трещин на 1 м скважины, их ширина, углы падения, минеральный состав заполнителей, размеры каверн, число каверн на 1 м скважины, минеральные образования в полостях каверн. Описание керна сопровождается зарисовками и фотографиями.

Наблюдения за водопоглощением в слаботрещиноватых породах следует вести по уменьшению воды в зумпфе. Для замера расхода воды в зумпфе следует установить мерную рейку, по которой проводятся наблюдения за изменением уровня в процессе бурения.

Расход воды во времени для различных интервалов глубин позволит дать сравнительную характеристику водопоглощения. При вскрытии сильно трещиноватых или карстовых зон, когда наблюдается значительное или почти полное поглощение промывочной воды, ориентировочно через десятиметровые интервалы производятся кратковременные (4 - 6 ч) опытные наливы на одно повышение. Опытный налив выполняется до стабилизации уровня и дебита. Замеры уровня осуществляются электроуровнемером, производительность насоса определяется по водомеру. На основании полученных данных определяются удельный дебит и коэффициент фильтрации.

Геофизические исследования предполагается производить с помощью электрокаротажа и резистивиметрии во всех скважинах, где планируются откачки.

Отбор образцов горных пород производится:

из нескальных пород до глубины 100 - 150 м из каждой литологической разности, но не реже чем через 3 м по высоте в каждой скважине, ниже глубины более 100 - 150 м по одному образцу из каждой литологической разности на скважину;

из рудоносной толщи - через 10 - 15 м по высоте в каждой скважине;

из разделяющих пород - через каждые 10 - 20 м и на горизонте расположения горных выработок;

из водоносных скальных пород - по 2 - 3 образца на каждую литологическую разность.

Примерные перечни лабораторных определений (даются обычно в приложении к заданию):

перечень 1 - для образцов несвязных пород (нормальный комплекс для 20 - 25 % образцов) - пористость (с определением удельного веса породы в естественных сложении и влажности), гранулометрический состав, водоотдача, максимальная молекулярная влагоемкость, сопротивление сдвигу грунтов естественного сложения, угол естественного откоса в подводном и сухом состояниях (для образцов как высушенных, так и сохранивших естественную влажность), глубина задавливания конуса в образцы ненарушенной структуры;

перечень - для образцов несвязных пород (сокращенный комплекс для 75 - 80 % образцов) - пористость (с определением удельного веса породы в естественных состоянии и влажности), гранулометрический состав, глубина задавливания конуса в образцы ненарушенной структуры;

перечень - для образцов несвязных пород (дополнительные определения выполняются для отдельных образцов) - минералогический состав коллоидной части термическим, спектрофотометрическим и другими методами, минералогический состав методом окрашивания при визуальном наблюдении, петрографо-минералогическое описание под микроскопом;

перечень 2 - для образцов связных пород (нормальный комплекс для 20 - 25 % образцов) - пористость (с определением удельного веса породы в естественных состоянии и влажности), гранулометрический состав, пластичность по стандартной методике, сопротивление сдвигу грунтов естественного сложения, максимальная молекулярная влагоемкость, размокаемость по стандартной методике при естественной влажности, проба на вскипание, глубина задавливания конуса в образцы ненарушенной структуры;

перечень - для образцов связных грунтов (сокращенный комплекс для 75 - 80 % образцов) - пористость (с определением удельного веса породы в естественных состоянии и влажности), пластичность по стандартной методике, глубина задавливания конуса в образцы ненарушенной структуры;

перечень - для образцов связных пород (дополнительные определения выполняются для отдельных образцов) - исследование механических свойств пород в приборах трехосного сжатия (стабилометрах), компрессионные испытания с наблюдением за консолидацией, набухание, объемная и линейная усадка, минералогический состав коллоидной части грунта, химический анализ водной вытяжки, петрографическое описание шлифа;

перечень 3 - для образцов полускальных пород (нормальный комплекс для 20 - 25 % образцов) - удельный вес в естественном состоянии, удельный вес сухой породы, естественная влажность, сопротивление раздавливанию сухих и водонасыщенных образцов;

перечень - для образцов полускальных пород (дополнительные определения выполняются для отдельных образцов) - сопротивление раздавливанию после трехкратного замачивания и высушивания, размокаемость после высушивания до воздушно-сухого состояния с повторением высушивания и размокания до полного распадения образца, химический анализ водной, щелочной и солянокислой вытяжки, карбонатность, минералого-петрографическое описание под микроскопом;

перечень 4 - для образцов скальных пород (число определений намечается геологом) - удельный вес, удельный вес сухой породы, сопротивление раздавливанию сухих и водонасыщенных образцов;

перечень - дополнительные определения для скальных пород - минералого-петрографическое описание (по усмотрению изыскательских организаций).

2. ВЫБОР СИСТЕМ ЗАЩИТЫ ГОРНЫХ ВЫРАБОТОК

Общие положения

2.1. Основные задачи систем защиты горных выработок:

не допускать притоков воды в размерах, при которых возникают затруднения с ее каптажем и отводом, в результате чего нарушается нормальное ведение горных работ;

не допускать разрушения водой горных пород, окружающих выработки, за исключением случаев, способствующих разработке работ в забое (например, при применении гидромеханизации);

предупреждать прорывы воды, вызывающие приостановку горных работ и являющиеся причиной несчастных случаев.

Следует учитывать необходимость сохранения окружающей среды, обеспечивая снижение до минимума причиняемого ей ущерба и предусматривая соответствующее восполнение.

Для решения указанных задач в системах осушения следует предусматривать сооружения, устройства и мероприятия по регулированию поверхностного стока, снижению напоров и притоков в выработки подземных вод, отводу всех видов рудничных вод к намеченным местам сброса с помощью:

водопонижения с применением открытых и вакуумных водопонизительных скважин, иглофильтровых установок, дренажа и водоотлива из открытых и подземных горных выработок; противофильтрационных завес (траншейных, свайных, инъекционных, льдопородных и сооружаемых с помощью струйной технологии) гидротехнических сооружений, водоотводящих устройств и необходимых мероприятий по охране окружающей среды.

2.2. При выборе решения по системе защиты горных выработок необходимо прежде всего произвести всестороннюю оценку природных условий. Эта оценка, предварительно выполняемая по литературным, рекогносцировочным и другим данным еще до начала разведки месторождения и непрерывно уточняемая в процессе его разведки, анализа материалов разведки, предпроектной и проектной проработки вопросов освоения месторождения, должна быть направлена на выявление природных факторов, определяющих рассматриваемые в комплексе целесообразные способы и системы горных работ и защиты горных выработок от подземных и поверхностных вод.

В случае расположения месторождения в зоне возможных опасных геологических процессов (вулканических, сейсмических, оползневых, обвальных, селевых, лавинных, криогенных и др.) они должны быть учтены в проекте защиты проектируемого горного предприятия.

2.3. Необходимо учитывать, что в процессе разработки месторождения и осуществления систем защиты природные условия претерпевают значительные изменения. Изменяются условия стока поверхностных вод и питание ими подземных вод.

Резко изменяется режим подземных вод. Области разгрузки превращаются в области питания; в районе месторождения изменяются не только уровни, но и скорости направления движения, температура, химический состав, газосодержание и другие характеристики подземного потока.

Все эти изменения находятся в прямой зависимости от методов защиты и применяемых сооружений и устройств.

2.4. В сложных условиях, когда в соответствии с п. 1.31 необходимо предусматривать опытно-производственные работы, их следует выполнять по специальному проекту с включением опытных защитных мероприятий (водопонижения, противофильтрационной завесы), а также осуществляемую под их защитой какую-то часть проектируемого строительства и комплекс исследований и наблюдений, намечаемых в соответствии с разд. 5.

Опытно-производственные работы предназначаются для получения полноценных данных для проектирования защиты горных выработок на длительный период их строительства и эксплуатации, ускорения и снижения стоимости строительства путем сокращения времени, материальных и трудовых ресурсов, необходимых на сложные изыскания и строительно-монтажные работы.

2.5. Опытно-производственные работы относятся к строительно-монтажным и выполняются, как правило, строительной организацией, но для выполнения гидрогеологических и инженерно-геологических наблюдений и исследований возможно привлечение изыскательских организаций. Авторский надзор при проведении опытно-производственных работ со стороны проектной организации обязателен.

2.6. В проектах следует предусматривать поэтапное выполнение защитных мероприятий с тем, чтобы на каждом последующем этапе можно было вносить коррективы в проектные решения, если данные предыдущего этапа выявят необходимость в этом.

Выбор защиты горных выработок при определении способа разработки месторождения

2.7. Методы и системы защиты должны быть взаимоувязаны с методами и системами разработки месторождения.

Выбираемые методы защиты должны быть эффективными в конкретных природных условиях, позволяющими применять целесообразные методы и системы ведения горных работ, а также ввести в действие предприятия с минимальными капитальными затратами. При выборе методов и системы разработки месторождения приоритет должны иметь такие решения, которые требуют минимальных суммарных затрат на защиту и производство горных работ.

2.8. В одних и тех же природных условиях возможности обеспечения эффективной защиты открытых и подземных выработок неодинаковы, так же, как различны в этих случаях и требования к защите. Естественно, это обстоятельство и существо различий необходимо учитывать в самом начале проектных проработок вопросов освоения месторождения - при выборе решения о том: открытым или подземным способом осваивать месторождение. В некоторых случаях может потребоваться достаточно подробная разработка двух вариантов горного предприятия и его защиты.

Пример 3. Месторождение магнетитовых руд расположено в равнинной местности с колебанием отметок от 64 до 72 м от местного нуля. В нескольких десятках километров с разных сторон месторождения протекают реки. Климат района резко-континентальный. Среднегодовое количество осадков 260 мм.

Геологическое строение на глубину 120 - 200 м характеризуется горизонтальным залеганием переслаивающихся водоупорных и водоносных пород: суглинков, супесей, песков, глин, опок, песчаников, конгломератов. Водоносными являются пески, преимущественно мелкие, глинистые, песчаники, конгломераты, опоки. Общая толщина водоносных слоев доходит до 140 м. Самый нижний, подстилающий покровную толщу слой водоносных песков и конгломератов толщиной от 1 - 2 м до 50 м распространен в основном на северо-западе и в меньшей мере на востоке месторождения. Выше малоустойчивые водоносные породы встречаются еще на трех горизонтах: в среднем на 30 и 50 м над нижним слоем и в самом верху на глубине 3 - 10 м от поверхности земли.

Породы подстилающего скального массива с поверхности подверглись выветриванию, продукты которого, составляющие кору выветривания, - в основном глины и глинистые мартиты. Общая толщина коры выветривания достигает 73 м (в среднем 20 м). Однако кора выветривания развита не повсеместно и местами нижний слой песков и конгломератов залегает непосредственно на скальных породах, поэтому подземные воды в таких породах взаимосвязаны. Складчатый скальный массив сложен песчаниками, аргиллитами, магнетитовыми рудами, порфиритами, известняками, туфами, конгломератами и туфобрекчиями этих пород.

В скальном массиве выделяются три главные антиклинальные складки: южная, центральная и северная. На южном нарушении заметное развитие получил процесс каолинизации, в результате чего трещины здесь заглинизированы. Центральное нарушение имеет общее, почти широтное направление, сопровождается мощными зонами дробления, и трещиноватость здесь в основном открытая. В зоне северного нарушения трещины преимущественно заполнены кальцитом и цеолитом. Наиболее водообильными породами являются известняки, наименее - порфириты, фильтрационные свойства пород в общем не высоки. Значения коэффициентов фильтрации в надрудной толще - от 0,2 до 3, в рудоносной скальной толще - от 0,15 в верхней части до 0,02 на глубине ниже отметки 275 м. Однако необходимо учитывать, что в зонах тектонических нарушений и в карстовых может быть встречена высокая водообильность пород.

Ввиду того, что водоносные пласты разобщены, подземные воды повсеместно имеют напорный характер, связь подземных вод с поверхностными водами очень отдаленная, и подземные воды отличаются высокой минерализацией от 3 до 19,6 г/л. Уровень воды на отметках в надрудной толще от +48 до +60 м, в рудоносной - от +27 до +50 м.

Освоение этого месторождения связано с необходимостью преодоления значительных трудностей как при открытом, так и при подземном способе работ. Выбрать один из них можно лишь на основе всестороннего рассмотрения достоинств и недостатков обоих способов разработки в конкретных условиях.

Рассмотрим решения защиты при двух вариантах разработки месторождения исходя из того, что на базе этого месторождения должно быть создано горное предприятие большой мощности - свыше 20 млн. т руды в год.

Вариант открытых работ. Принимаем, что разработка ведется уступами высотой 16 - 25 м с применением высокопроизводительных экскаваторов, в том числе и роторных комплексов с конвейерным транспортом.

В этих условиях необходимо считаться с тем, что разработку пород придется вести при некоторой фильтрации воды через откосы, так как затруднительно полностью осушить породы, залегающие между двумя водоупорными слоями. Особенные трудности представляет осушение глинистых песков. В покровной толще исключение составляют самые верхние водоносные слои, для которых возможно применение передовых дренажных траншей, и нижний, по-видимому, наиболее водообильный слой песков и конгломератов, понижение уровня подземных вод в котором может быть достигнуто с помощью водопонизительных скважин, пройденных с поверхности или в виде восстающих скважин из подземных выработок в сочетании с самими подземными дренажными выработками в скальных породах.

Следует отметить, что применение подземных выработок с восстающими скважинами и скважинами, забуриваемыми в зоны разломов, весьма целесообразно для водопонижения в рудоносной толще, так как ее осушение приведет к созданию благоприятных условий для высокоэффективной разработки руды и облегчит организацию водоотлива для удаления вод поверхностного стока в самом карьере.

Взаимосвязь подземных вод в скальных породах и нижних песках и конгломератах будет способствовать осушению надрудных пород при водопонижении в рудоносной зоне.

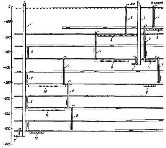
Учитывая все вышеизложенное, принимаем систему защиты карьера в следующем виде (черт. 7, 8):

дренажный штрек с восстающими скважинами до нижних песков, вдоль участка их распространения на севере и северо-западе (образующие северную внешнюю неполнокольцевую водопонизительную систему);

дренажный штрек, примерно, вдоль широтного разлома (проходящий через северное и южное рудные тела) с самоизливающимися скважинами в трещиноватых зонах, используемый для водопонижения в рудоносной толще и для сброса в него карьерных вод;

передовые траншеи для осушения самых верхних водоносных слоев;

вспомогательные иглофильтровые установки, применяемые на рабочих бортах по мере выявления необходимости в них (если фильтрация через откосы в глинистых песках вызовет нежелательные последствия), а на постоянных бортах - дренажи и дренажные пригрузки на участках высачивания подземных вод;

системы внутрикарьерной дождевой сети и водосборников.

Описание: 7

Черт. 7. Система защиты карьера

1 - пески; 2 - конгломерат; 3 - глины; 4 - подземные дренажные выработки горизонта - 175 м с восстающими самоизливающимися скважинами; 5 - подземные дренажные выработки горизонта - 175 м для карьерного водоотлива; 6 - подземные дренажные выработки горизонта - 305 м; 7 - подземные насосные станции; 8 - контур карьера на конец отработки; 9 - промежуточный контур карьера

Первый дренажный горизонт принимаем на отметке - 175 м. На этом горизонте устраиваются подземные насосные станции. Так как карьер будут заглублять и ниже этой отметки, то соответственно потребуется устройство последующих дренажных горизонтов (примерно через 120 - 150 м по глубине).

Для проходки дренажных выработок и устройства подземных насосных станций предусматриваем три шахтных ствола.

Описание: 8

Черт. 8. Система защиты карьера. Разрез 1-1 (см. черт. 10)

1 - суглинки; 2 - глины; 3 - опоки; 4 - песчаники; 5 - пески; 6 - конгломерат; 7 - глины коры выветривания; 8 - известняки; 9 - порфириты; 10 - скарны; 11 - руды; 12 - линии тектонического нарушения; 13 - иглофильтр; 14 - подземные дренажные выработки горизонта - 175 м для карьерного водоотлива; 15 - дренажные пригрузки; 16 - ливнестоки и ливнеприемные колодцы; 17 - пониженный уровень подземных вод в надрудных водоносных слоях; 18 - пониженный (соответственно заглублению карьера) уровень подземных вод в рудоносной толще; 19 - подземные дренажные выработки горизонта - 305 м; 20 - контур карьера на конец отработки; 21 - подземные дренажные выработки горизонта - 175 м

Вариант подземного рудника. Принимаем, что вскрытие месторождения осуществляется пятнадцатью стволами: восемью главными стволами, тремя вспомогательными и четырьмя вентиляционно-водоотливными. Основная система разработки - этажного принудительного обрушения с отбойкой руды глубокими скважинами. Высота этажа 80 м. Одновременно ведется разработка на двух этажах, начиная с горизонтов - 175 и - 255 м. Горизонт - 175 м вводится на два года раньше горизонта - 255 м.

Систему защиты принимаем исходя из необходимости осушения разрабатываемого пространства в рудоносной толще и залегающих непосредственно на ней песков и конгломератов. С этой целью предусматриваем (черт. 9, 10):

северную неполнокольцевую дренажную систему, аналогичную внешней системе карьера для общего водопонижения в рудоносной толще и в надрудных песках и конгломератах;

системы дренажных штреков на выемочных участках, заглубленных на 10 м ниже откаточных горизонтов, с самоизливающимися скважинами, забуриваемыми в трещиноватые породы и в зоны разломов;

подземные насосные станции у водоотливно-вентиляционных стволов:

соответствующие сбоечные и вспомогательные подземные выработки.

В проекте следует сравнить общие технико-экономические показатели вариантов открытого и подземного рудников.

Из приведенного примера видно, что оба приведенные технические решения в настоящих условиях возможны, и, чтобы выбрать один из них, необходим довольно глубокий технико-экономический анализ при комплексном рассмотрении проектных решений горных работ и систем защиты горных выработок.

2.9. Взаимоувязка систем защиты горных выработок с методами горных работ зависит от специфики методов добычных работ. Рассмотрим следующий пример.

Пример 4. Месторождение серы расположено в районе горных гряд на сильно расчлененной равнинной местности с отметками поверхности 300 - 550 м в 40 км от реки.

Залежи серных руд приурочены к контактам известняков и ангидритов с наибольшим развитием в зонах тектонических нарушений, которые здесь прослеживаются в большом разнообразии: от крупных региональных разломов до мелких сбросов с амплитудой в несколько метров.

На неровной поверхности ангидритов залегают глины, конгломераты, песчаники, алевролиты и в самом верху лессовидные суглинки, общей толщиной от 200 м на западе до 0 на востоке (черт. 11,а).

Описание: 9

Черт. 9. Система защиты подземного рудника

1 - конгломераты, песчаники, алевриты; 2 - известняки; 3 - порфириты; 4 - гранит-порфиры; 5 - скаполитовые породы; 6 - руды; 7 - тектонические разломы; 8 - дренажные выработки горизонта - 185 м с самоизливающимися скважинами; 9 - дренажные выработки горизонта - 265 м; 10 - подземные насосные станции горизонта - 185 м; 11 - подземные насосные станции горизонта - 265 м; 12 - вентиляционно-водоотливные стволы; 13 - главные стволы

Подземные воды содержатся в известняках и залежах руд. Наиболее водообильны сероносные известняки, коэффициент фильтрации которые 10 - 100 м/сут. Подстилающие известняки менее водообильны. Толщина слоев водоносных пород примерно 200 м.

Добыча руды производится частично открытым способом под защитой водопонижения и подземной выплавкой серы - ПВС путем нагнетания в нее горячей воды. При этом водопонижение значительно затрудняет подземную выплавку серы, так как способствует усиленной фильтрации теплоносителя в сторону водопонизительных скважин.

Описание: 10

Черт. 10. Разрез 1-1 (см. черт. 13)

1 - водонепроницаемые или слабо водопроницаемые породы; 2 - опоки; 3 - песчаники; 4 - пески; 5 - известняки; 6 - порфириты; 7 - скарны; 8 - руды; 9 - линии тектонического нарушения; 10 - откаточные и вентиляционные штреки; 11 - дренажные штреки; 12 - восстающие самоизливающиеся скважины; 13 - непониженный уровень подземных вод (НУПВ) в надрудных водоносных слоях; 14 - НУПВ в рудоносной толще; 15 - пониженный уровень подземных вод (ПУПВ) в надрудных

Описание: 11

Черт. 11. Структура месторождения серы и схемы его разработки и защиты

а - региональный разрез; б - план; в - разрез 1-1; 1 - суглинки; 2 - ангидриты; 3 - серные руды; 4 - известняки; 5 - тектонические нарушения; 6 - граница обводненных и необводненных залежей; 7 - расширение карьеров; 8 - ряды серодобычных скважин (метод подземной выплавки); 9 - водоотливные скважины; 10 - водопонизительные скважины; 11 - граница залежей серных руд

Восточнее залежи расположены высоко, в зоне неводоносных пород, и их разработка открытым способом здесь не рассматривается.

Требуется наметить рациональную систему разработки и защиты открытых выработок западной части месторождения, где имеются два карьера «Южный» и «Северный». Оба эти карьера вскрыли и уже отработали высокозалегающие сероносные тела. Развитие этих карьеров возможно лишь при их углубке, для чего необходимо водопонижение.

Для разработки месторождения двумя способами (открытым и ПВС) одновременно намечаем (см. черт. 11б, в):

в центральной части месторождения (наиболее глубокой) и на самом южном участке (южнее карьера «Южный») применение ПВС для добычи серы ниже отметок 250 м (на севере и юге при этом допускается открытая добыча серы выше отметок 250 м);

на западе центральной части - водоотливные скважины для откачки излишков воды при ПВС;

на северном и южном участках при развитии и углубке карьеров «Южный» и «Северный» - водопонизительные скважины, оборудованные погружными насосами для осушения карьеров до их конечной глубины (определяемой положением залежей, не отрабатываемых ПВС).

В случае разработки только карьера «Южный» может быть допущена разработка методом ПВС глубоких залежей и в северо-западной части месторождения.

2.10. При проектировании защиты реконструируемых горных предприятий возникают задачи, связанные с необходимостью внедрения новых высокоэффективных способов разработки при максимальном использовании достигнутого искусственного понижения уровня подземных вод и действующих защитных сооружений.

В некоторых случаях целесообразна ликвидация некоторых устаревших сооружении и устройств, например, скважин, не позволяющих применить необходимые современные мощные и высокопроизводительные насосы, старые шахты, высоко расположенные (или с прогнившим креплением) подземные горные выработки и т.п. Однако, если возможна защита реконструируемых объектов с использованием существующих устройств, то это должно рассматриваться как достоинство варианта, способствующее снижению капитальных затрат и ускорению ввода производственных мощностей. Рассмотрим возможные решения защиты горных выработок при реконструкции горного предприятия на следующем примере.

Пример 5. Месторождение каменной соли расположено на правом берегу реки в 0,5 - 1,5 км от нее с абсолютными отметками поверхности от 204 до 250 м. Поверхность холмистая, прорезанная несколькими ручьями, покрыта карстовыми воронками и углублениями, в западной части месторождения - соленые озера.

Месторождение представляет собой брахиантиклинальную складку, ядро которой сложено солью; вмещающие породы представлены аргиллитами, алевролитами, туфами и песчаниками. Эта толща перекрыта глинистыми и песчано-галечниковыми породами. Местами песчано-галечниковые породы залегают непосредственно на кровле соли и головах переслаивающихся вмещающих пород (черт. 12). Толщина покровных отложений местами достигает 60 м. Карсты приурочены к поверхности соляного тела.

Подземные воды заключены в покровных отложениях и в трещиноватых разностях вмещающих пород. Толщина водоносной части покровных отложений в западинах достигает 50 м. Коэффициент фильтрации водоносных пород покровной толщи от 6 до 220 м/сут. Наиболее высокие значения коэффициентов фильтрации присущи песчано-галечниковым отложениям, развитым в пойме реки. Коэффициент фильтрации трещиноватых скальных пород, вмещающих полезное ископаемое, - 9 - 25 м/сут.

Уровень подземных вод в западной части месторождения на глубине от 2 до 6 м, а в восточной части, где долгое время велась разработка соли и соответственно водоотлива, он снижен до глубины 14 - 17 м. Местами, где галечники, закарстованные и трещиноватые породы прикрыты глинами, подземные воды приобретают напорный характер.

Черт. 12. Разрез по месторождению каменной соли

1 - галечник; 2 - глина с валунами и галькой; 3 - глина; 4 - переслаивающиеся аргиллиты, алевролиты и песчаники; 5 - гипс; 6 - соль каменная; 7 - тектонические нарушения; 8 - контур опытно-эксплуатационного карьера; 9 - предельный контур карьера; 10 - пониженный уровень подземных вод; 11 - водопонизительные скважины; 12 - дренажная выработка

Месторождение разрабатывается уже более 200 лет. В настоящее время восточная его часть разрабатывается подземным способом, где имеется несколько действующих шахт и много заброшенных.

С целью защиты месторождения от подземных вод в подошве покровной толщи пройдено много штольневых подземных дренажных выработок, в основном по контуру месторождения, и восемь водоотливных шахт. Однако усиленный водоотлив из всех этих устройств вызвал интенсификацию от карстового процесса и принес значительный ущерб из-за откачки растворенной соли.

Это горное предприятие предполагается реконструировать с сохранением подземной добычи в восточной части и устройством карьера для открытой добычи соли в западной части месторождения.

Соответственно требуется реконструировать систему защиты горных выработок и создать благоприятные условия для эксплуатации карьера.

При проектировании защиты в условиях реконструкции данного предприятия следует учесть, что из-за легкой растворимости соли необходимо свести к минимуму питание подземных вод поверхностными водами и приток последних в карьер, а также предусматривать откачку подземных вод, способствующих развитию карстового процесса.

Решение системы защиты горных выработок:

поверхность территории месторождения должна быть спланирована с засыпкой озер, карстовых воронок и других западин; на поверхности устраивается необходимая дождевая сеть - открытые канавы с асфальтобетонным покрытием, сбрасывающие воды в ручьи;

русла ручьев расчищаются и облицовываются бетоном; ручей, протекающий с севера месторождения и попадающий в зону вновь проектируемого карьера, отводится в новое русло в обход карьера, со стороны поймы реки для защиты карьера от паводков возводится земляная дамба;

все старые дренажные выработки и водоотливные шахты, расположенные в пределах соляного тела, водоотлив из которых способствовал развитию карста, ликвидируются и закладываются, учитывая, что статические запасы воды в восточной части значительно сработаны и главной задачей защиты вообще, и особенно в восточной части месторождения, где продолжится подземная разработка соли, является перехват внешнего притока. Эту задачу можно решить с помощью контурных дренажных выработок с применением забуриваемых из них самоизливающихся скважин различного направления. Использование в защите месторождения подземных дренажных выработок целесообразно по следующим причинам: в южной и юго-восточной частях сохранились контурные подземные дренажные выработки значительной протяженности, которые можно продолжить штольневыми выработками с выпусками каптируемых вод самотеком в ручьи; выработки непосредственно не контактируют с соляным телом и будут отбирать воду в основном из покровных отложений и вмещающих пород;

со стороны реки и ее поймы, где развиты наиболее водообильные галечники, предусматривается устройство траншейной противофильтрационной завесы, заглубленной до глин, подстилающих галечники; устройство завесы возможно, в частности, путем разработки траншеи с глинистым раствором с помощью установки с гидравлическим напорным грейфером и последующей закладкой траншеи глиной;

для удаления статических запасов подземных вод в пределах территории распространения полезного ископаемого предусматриваются водопонизительные скважины в местах понижений подошвы песчано-галечниковых отложений;

для уточнения эффективности принятой системы защиты и открытого способа разработки каменной соли предусматривается опытно-производственный участок открытой добычи; разработка карьера на опытном участке начинается с устройства дренажной траншеи по контуру опытного карьера для перехвата статических запасов подземных вод на огражденной территории. В дальнейшем внутренний борт траншеи срабатывается, и на кровле глинистых пород, залегающих над полезным ископаемым, остается лоток, ложе которого должно быть покрыто асфальтобетоном.

Схема принятой системы защиты горных выработок показана на черт. 13.

В соответствии с пп. 1.2 и 13 СНиП 2.06.14-85 при проектировании подобного объекта должен быть рассмотрен также вариант с полной ликвидацией внешней дренажной системы и замены ее противофильтрационной завесой.

Системы защиты открытых выработок

2.11. При проектировании систем защиты открытых выработок (карьеров, разрезов) особое значение приобретает взаимоувязка проектных решений по организации поверхностного стока на прикарьерной территории, защиты от подземных вод и от опасных геологических процессов из поверхностных водных объектов.

Рассмотрим комплексное решение защиты угольного разреза от подземных и поверхностных вод, селей и оползней.

Пример 6. Буроугольный разрез расположен в долине реки, протекающей с северо-востока на юго-запад между хребтами горной системы со средними высотными отметками от 2300 до 3300 м и в долине реки от 625 до 880 м. Склоны горных хребтов расчленены долинами мелких потоков, являющихся селеопасными.

Разрез заглублен до коренных скальных пород, представленных трещиноватыми кварцевыми порфирами, порфиритами и туфами, на которых залегает угленосная толща (от 50 до 100 м) - угли, песчаники, алевролиты, глины; выше - каолиновые глины, песчаники, гравелиты, алевролиты, конгломераты, известняки, мелкие кварцевые пески, валунно-галечниковые и песчано-галечниковые породы, покровные глины и суглинки (100 - 450 м). Общая глубина разреза 250 м. Вся толща, за исключением водоупорных глинистых пород, является водоносной. Наибольшей водообильностью отличаются галечниковые и распространенные со стороны нерабочего борта «горелые» породы. Питание подземных вод происходит из реки и ее правобережных притоков, а также за счет выпадающих здесь атмосферных осадков.

Описание: 13

Черт. 13. План месторождения каменной соли. Система защиты при реконструкции горного предприятия

1 - существующие дренажные выработки; 2 - русло ручья; 3 - намечаемые дренажные выработки; 4 - противофильтрационная завеса; 5 - опытный карьер; 6 - предельный контур карьера; 7 - горизонтали; 8 - карстовые воронки и озера; 9 - контур соляного тела на отметке - 30 м; 10 - то же, на отметке - 50 м; 11 - предусматриваемые водопонизительные скважины; 12 - существующие водоотливные шахты; 13 - девствующие шахты; 14 - насосные станции

Месторождение разрабатывается около 40 лет. Подвигание фронта работ параллельно-западное. В связи с необходимостью увеличения производительности разреза до 10 млн. т в год проектируется его реконструкция. При этом предусматривается увеличение скорости подвигания фронта работ до 50 - 75 м в год за счет внедрения нового вскрышного и добычного оборудования, и закладка выработанного пространства.

Защита карьера находится в примитивном состоянии - имеют место фильтрация через откосы и оползневые явления.

Для обеспечения эффективной работы нового оборудования необходимого существу, заново организовать систему защиты разреза и создать благоприятные условия для эксплуатации карьера. В связи с этим предусматриваем (черт. 14):

для защиты карьера от затопления - прокладку вдоль восточного нерабочего борта разреза обводного тоннеля для отвода реки;

для защиты нерабочих бортов разреза от подземных вод и предотвращения развития оползней - сооружение двух штолен в северном и южном концах нерабочих бортов и в примыкающих к ним участках восточного борта; из штолен задаются восстающие (наклонные) скважины, а с поверхности бурятся сквозные фильтры; вода из штольни сбрасывается в зумпф; кроме того, на участке центральной части нерабочего (восточного) борта разреза, в районе распространения «горелых пород» - водопонизительные скважины, оборудуемые погружными насосами со сбросом откачиваемой воды по специальному трубопроводу в реку;

для защиты рабочего борта карьера от поверхностных вод и селевых потоков - устройство нагорной канавы и селеловушки; для перехвата подрусловых потоков - дренажные траншеи.

Описание: 14

Черт. 14. Общий план системы защиты угольного разреза

1 - дренажные штольни; 2 - вентиляционные шурфы; 3 - вентиляционные скважины; 4 - перекачная насосная станция; 5 - угольный разрез; 6 - селеловушки; 7 - водопонизительные скважины; 8 - водосбросной трубопровод; 9 - сквозные фильтры; 10 - нагорная канава; 11 - плотины селехранилищ; 12 - дренажные траншеи; 13 - нижняя граница «горелых пород»

Согласно принятой системе разработки карьера выработанное пространство, прилегающее к нерабочему борту разреза, заполняется внутренними отвалами.

Для отвода поверхностных вод с внутренних отвалов предусматриваем планировку и укатку поверхности отвалов. Для дренажа воды, проникающей в отвалы, в их основании предусматриваем отсыпку фильтрующего слоя из гравийно-галечникового материала, специальные канавки с дренажными водоотводящими трубами и канавы-коллекторы, отводящие воду в водосборники разреза.

Для удаления воды из понижений в подошве разреза перед фронтом нижнего добычного уступа предусматриваем передвижные (на салазках) насосы, перекачивающие воду к водосборникам. Число насосов в карьере определяется протяженностью фронта добычных работ (не менее двух-трех агрегатов).

Черт. 15. Схематический план железорудного месторождения

1 - контур железистых кварцитов; 2 - контур кварцитного карьера первой очереди; 3 - последующее развитие карьера; 4 - нагорная канава; 5 - плотина; 6 - накопитель

Кроме того, предусматриваем возможность применения горизонтальных самоизливающихся скважин и дренажных пригрузок при обнаружении фильтрации через откосы.

2.12. В условиях месторождений полезных ископаемых, прикрытых значительными толщами малоустойчивых водоносных пород, повышаются требования по защите выработок от подземных вод.

Общей задачей защиты карьера в таких условиях является создание в нем водного режима, позволяющего с минимальными затратами добиться обеспечения устойчивости бортов карьера и благоприятного для применения наиболее эффективных методов разработки, горного оборудования и транспортных средств. К системе защиты предъявляются следующие требования:

открытая фильтрация подземных вод через откосы постоянных бортов карьера в пределах малоустойчивых пород должна быть полностью предотвращена:

фильтрация подземных вод через откосы рабочих бортов должна быть снижена до размеров, не препятствующих эффективному ведению вскрышных и добычных работ;

избыточные напоры в напорных водоносных слоях должны быть своевременно сняты;

в части защиты от поверхностных вод требования те же, что перечислены в п. 2.11, но в малоустойчивых породах возрастает актуальность дождевой сети: более капитальной - на долго существующих (постоянных) бортах карьера, и несколько упрощенной - на рабочих бортах (см. разд. 3).

Весьма существенным являются различия в защитных мероприятиях на разных этапах разработки карьера, характеризующихся различиями в обстановке и методах горных работ.

Пример 7. Месторождение железных руд (черт. 15) расположено в равнинной местности, изрезанной овражно-балочной сетью, отметки поверхности изменяются от нулевой до 70 м.

В северной части месторождения протекает река с меженным расходом 1 м3/с и паводковым - 90 м3/с. Климат - умеренно континентальный; среднегодовая температура воздуха 5,5 °С; среднегодовые осадки - 500 мм.

Полезное ископаемое представлено круто падающими и простирающимися на многие сотни метров в глубину железистыми кварцитами, переслаивающимися со сланцами и песчаниками, и залегающими на головах кварцитов богатыми железными рудами (до 60 м).

Богатые руды, в бóльшей своей части (до 2/3) нескальные, мучнистые, в остальной части скальные трещиноватые, прикрыты толщей до 150 м (в среднем 70 м), сложенной внизу глинами с прослойками песка, песчанистыми глинами, песками, меломергелями, а в самом верху - песками и суглинками.

Нижняя часть покровной толщи (в среднем 60 м), руды и верхняя часть скальных пород (на глубину до 90 м от их кровли) - водоносные.

В покровной толще подземные воды - со свободным зеркалом (безнапорные), в рудно-кристаллической толще, прикрытой глинистыми породами, воды - напорные. Однако глинистые породы, залегающие на кровле руды, имеют разрывы сплошности и воды обеих толщ, связаны между собой и имеют близкие пьезометрические уровни.

В надрудной толще водопроницаемость водоносных пород к низу (до глин, непосредственно залегающих на кровле руды) возрастает, поэтому среднее значение коэффициента фильтрации с возрастанием глубины понижения уровня подземных вод принимается разным: от 12 м/сут - при понижении до 20 м, до 20 м/сут - при понижении более 40 м; в рудно-кристаллической толще среднее значение коэффициента фильтрации 1 м/сут.

Требуется определить рациональный комплекс защитных мероприятий для периода эксплуатации месторождения открытым способом и условия производства вскрышных работ, позволяющие решить защиту вскрывающих выработок в период строительства с минимальными затратами в сроки, необходимые для создания постоянной системы защиты карьера, разработка которого предусматривается длительный период.

При выборе защитных мероприятий и устройств исходим из того, что месторождение будет эксплуатироваться с применением буровзрывных работ (в пределах скальных пород), экскаваторов, автомобильного и железнодорожного транспорта, с внешними отвалами пустых пород.

В подобных случаях со стороны рабочих бортов целесообразно применять внешние защитные устройства, в качестве которых на этом месторождении вполне уместно применение водопонизительных скважин. При этом необходимость во внутрикарьерных защитных устройствах и мероприятиях будет сведена к минимуму и представится возможность организовать эффективную разработку горных пород.

На постоянных бортах целесообразно выполнять внутрикарьерные дренажи, но при этом необходимо решить, нужны ли внешние устройства и со стороны постоянных бортов?

На месторождении в основании 100 - 150-метрового откоса в нескальных породах залегают сравнительно слабые глинистые грунты. Полностью убрать воду с кровли этих пород затруднительно. Однако снижение напора в покрывающих водоносных песках, выполняемое с помощью внешних водопонизительных скважин, будет иметь существенное значение в обеспечении устойчивости откосов постоянных бортов карьера. Учитывая это обстоятельство, в намечаемой системе защиты предусматриваем в качестве условно оптимального решения внешние водопонизительные устройства как со стороны рабочих бортов, так и со стороны постоянных бортов карьера. В проектах вопрос о необходимости внешних защитных от подземных вод устройств, в частности, со стороны постоянных бортов карьера, необходимо рассматривать каждый раз и принимать решение в каждом отдельном случае, учитывая все особенности инженерно-геологических условий постоянных бортов, основываясь на расчетах их устойчивости и технико-экономическом сопоставлении вариантов.

Аналогично, т.е. на основе технико-экономического анализа, должен рассматриваться вопрос о целесообразности применения подземных дренажных выработок. Наряду с тем, что их использование требует значительных капитальных затрат, они весьма эффективны для осушения трещиноватых скальных пород. В сочетании с самоизливающимися или вакуумными скважинами и сквозными фильтрами дренажные выработки могут быть также эффективно применены для водопонижения в покровных нескальных породах, для дренажа тектонических зон и карьерного водоотлива. Применение подземных дренажных выработок в сочетании со сквозными фильтрами и восстающими скважинами зачастую целесообразнее при их технико-экономическом сравнении с долго эксплуатируемыми водопонизительными скважинами, оборудуемыми скважинными насосами. Принимаемая для периода эксплуатации система защиты представится в следующем виде:

внешние устройства и мероприятия по регулированию поверхностного стока на территории, прилегающей к карьеру: перенос реки к северу от месторождения с устройством защитной дамбы вдоль ее нового русла, нагорные канавы и отвод паводковых вод оврагов путем перегораживания их плотинами с устройством перекачных насосных станций;

внешние защитные устройства от подземных вод, в качестве которых принимаем кольцевую систему из подземных дренажных выработок в сочетании со сквозными фильтрами и восстающими скважинами с центральными подземными насосными станциями;

внутрикарьерные защитные устройства, в составе которых необходимо предусмотреть: внутрикарьерные дренажи, дренажные пригрузки откосов, дождевую сеть, водосборники, скважины для сброса каптируемых в карьере вод в подземные выработки и специальные подземные выработки для приема вод, сбрасываемых из карьера, и для отвода их к центральным подземным насосным станциям.

Необходимое время для сооружения принятой системы, требующей проходки шахтных стволов с применением замораживания грунтов и других сложных горнопроходческих и строительных работ, не менее 4 - 5 лет, т.е. равно продолжительности строительства карьера. В связи с этим существенное значение имеет защита открытых выработок в строительный период. В этот период, когда возникает необходимость быстрого понижения уровня подземных вод на большой площади разрабатываемого карьера, важно решить, в какой мере может быть допущена фильтрация воды через откосы и водоотлив непосредственно из горных выработок. Это следует решать одновременно с решением вопроса о методах разработки вскрывающей выработки.

При экскаваторной разработке открытая фильтрация в забой снижает эффективность работ и должна быть сведена к минимуму.

Надлежащая организация горных работ с устройством передовых траншей, выполняющих роль горизонтальных дрен, позволит несколько повысить размеры допускаемой фильтрации подземных вод в карьер и при экскаваторной разработке.

Более широкие возможности для применения водоотлива из основных открытых горных выработок (что позволяет получить весьма экономичное решение по их защите) создаются при разработке водоносных пород методами гидромеханизации, эффективность которой при фильтрации подземных вод в выработку не только не снижается, но даже возрастает. В этом случае требования к допускаемой фильтрации определяются исключительно соображениями, касающимися общей устойчивости бортов карьера.

Описание: 16

Черт. 16. Технологическая схема разработки карьера в период строительства

1 - суглинки; 2 - мел; 3 - пески; 4 - глина; 5 - богатые руды; 6 - кварциты; 7 - гидромонитор; 8 - землесосная станция; 9 - буровой станок; 10 - экскаватор гусеничный «прямая лопата»; 11 - экскаватор шагающий «Драглайн»; 12 - земснаряд при разработке I подводного уступа; 13 - земснаряд при разработке II подводного уступа

Наиболее благоприятные условия для применения водоотлива из открытых выработок создаются при подводной разработке пород с помощью плавучих земснарядов, которая вполне возможна при вскрытии месторождений типа рассматриваемого в этом примере. Когда глубина открытой выработки превосходит возможности черпания земснаряда, разработка ведется с постепенным понижением зеркала воды в карьере (черт. 16). Если при этом скорости понижения зеркала воды в котловане не превосходят допускаемых в табл. 1 СНиП 2.06.14-85 (п. 3.14), то внешние водопонизительные устройства для защиты выработки в период ее подводной разработки могут и не потребоваться. Однако из-за возможных отклонений при производстве работ и учитывая значительную глубину требуемого понижения уровня воды в открытой выработке (в среднем 60 м), следует при проектировании подводной разработки предусмотреть резервную внешнюю систему из водопонизительных скважин, оборудованных глубинными насосами, которые можно будет включать в работу по мере необходимости.

Описание: 17

Черт. 17. Система защиты карьера от подземных вод

1 - железорудные кварциты; 2 - сланцы филитоподобные; 3 - песчаники кварцитовые; 4 - контур распространения богатых железных руд; 5 - контур первоочередной выработки, вскрывающей руду земснарядом; 6 - контур кварцитного карьера I очереди; 7 - контур карьера последующего развития; 8 - прибортовой дренаж; 9 - ствол дренажной шахты; 10 - дренажные выработки I очереди; 11 - дренажная система последующего развития; 12 - водопонизительные скважины; 13 - резервные водопонизительные скважины при работе земснаряда; 14 - водопонизительные скважины, переоборудуемые в сквозные фильтры; 15 - сквозные фильтры; 16 - сбросные скважины; 17 - вентиляционные скважины

В дальнейшем водопонизительные скважины могут быть переоборудованы в сквозные фильтры.

Принимая вышеуказанные решения по защите карьера для периодов эксплуатации и строительства с учетом применения при разработке вскрывающей выработки плавучего земснаряда, определим в соответствии с п. 1.14 СНиП 2.06.14-85 порядок сооружения и ввода устройств системы защиты (черт. 17, 18):

до начала строительства карьера должны быть введены в действие все запроектированные внешние устройства по регулированию поверхностного стока;

до начала подводной разработки вскрывающей выработки должны быть подготовлены и оборудованы погружными насосами резервные водопонизительные скважины по контуру вскрывающей выработки, размеры которой определяются в горной части проекта рудника; эти резервные водопонизительные скважины используются при появлении признаков оползневых явлений, угрожающих устойчивости постоянных бортов карьера или рабочих бортов в размерах, препятствующих нормальному ведению горных работ;

к моменту окончания подводной разработки - ввод в действие контурной системы водопонизительных скважин, которые по мере готовности подземных выработок переустраиваются в сквозные фильтры с одновременным вводом дополнительных восстающих скважин;

к моменту сдачи карьера в эксплуатацию - готовность внутрикарьерной дождевой сети и дренажей на постоянных бортах карьера, дренажных пригрузок на рабочих бортах карьера;

к моменту достижения проектной производительности карьера - готовность подземной дренажной системы и всего комплекса защитных сооружений, устройств и мероприятий согласно проекту.

Кроме соблюдения указанной очередности ввода в действие устройств системы защиты, целесообразно, в соответствии с п. 1.6 СНиП 2.06.14-85 применять еще большее поэтапное деление. Так, из водопонизительных скважин первой очереди следует вначале ввести в действие не более половины их расчетного числа с тем, чтобы по данным наблюдений за их работой уточнить общее требуемое их число и не производить лишних затрат.

Описание: 18

Черт. 18. Система осушения карьера. Разрез 1-1

1 - суглинки; 2 - мел; 3 - пески; 4 - глины песчаные; 5 - песчаники; 6 - глины с брекчией; 7 - сланцы; 8 - богатые железные руды; 9 - железистые кварциты; 10 - уровень подземных вод в надрудной толще; 11 - уровень подземных вод в рудно-кристаллической толще; 12 - контур карьера выработки, вскрывающей руду земснарядом; 13 - контур карьера последующего развития; 14 - ствол дренажной шахты; 15 - сквозные фильтры последующего развития дренажной системы; 16 - сквозные фильтры первой очереди; 17 - восстающие скважины; 18 - резервные водопонизительные скважины при работе земснаряда; 19 - сбросные скважины; 20 - дренажные выработки

Пример 8. Месторождение железной руды, прикрытой значительной толщей малоустойчивых пород, осваивается с помощью экскаваторов и автотранспорта (применение гидромеханизации исключено из-за дефицита электроэнергии при недостаточной изученности гидрогеологических условий).

Район месторождения представляет собой слабо всхолмленную равнину с отметками поверхности 170 - 180 м с общим уклоном к реке, протекающей в широтном направлении в 8 км южнее месторождения, где отметки снижаются до 120 - 127 м у уреза реки. Климат - резко континентальный; среднегодовая температура воздуха 2 °С с амплитудой колебания до 90°; среднегодовые осадки - 250 мм.

Скальная железная руда приурочена к комплексу круто падающих пластов горных пород (черт. 19). В лежачем боку мощных рудных тел, простирающихся на большую глубину, измеряемую сотнями метров, преобладают диориты, а в висячем боку - известняки и порфириты. В верхней своей части скальные породы подверглись эрозии, в результате которой образовалась кора выветривания, представленная глинистой и дресвяно-щебенистой породами; над рудой (более крепкой скальной породой, чем окружающие) кора выветривания, как правило, отсутствует, и рудная зона к тому же возвышается над окружающим рельефом скальных пород.

Описание: 19

Черт. 19. Система осушения карьера. Разрез 2-1 (см. черт. 20)

1 - суглинки; 2 - глины песчанистые; 3 - глины сланцеватые; 4 - глины опоковые; 5 - песчаники; 6 - пески; 7 - оолитовые руды; 8 - глины лигнитовые; 9 - глины коры выветривания; 10 - туфы и лавобрекчии базальтовых порфиритов; 11 - туфобрекчии андезитовых порфиритов; 12 - туффиты; 13 - известняки; 14 - роговики; 15 - диориты и диорит-порфириты; 16 - рудная залежь; 17 - зоны тектонических нарушения; 18 - дренажный штрек со сквозными фильтрами; 19 - водопонизительные скважины II очереди; 20 - опытные скважины; 21 - водопонизительные скважины I очереди; 22 - подуступ с дренажной пригрузкой откоса и канавкой на рабочем борту (выполняется при необходимости); 23 - дренажная пригрузка на постоянном борту; 24 - уровень подземных вод в верхних песках; 25 - непониженный уровень подземных вод в надрудных песках и руде; 26 - пониженный уровень подземных вод; 27 - контур карьера на конец отработки

Рудоносный комплекс покрыт толщей (в среднем 110 - 120 м) нескальных пород, представленных внизу глинами бокситовыми и лигнитовыми, выше - 40 - 60-метровый слой песков с выраженным двухметровым прослойком глинистых оолитовых руд. Над песками залегают последовательно снизу вверх песчаники, опоки и опоковидные глины, сланцеватые глины, пески, глины с тонкими прослойками песков и в самом верху - лёссовидные суглинки.

Уровень подземных вод отмечен не глубоко от поверхности земля.

Специальные изыскания по требуемому дополнительному изучению гидрогеологических условий месторождения вызвали бы значительные затраты, связанные с бурением глубоких скважин, производством глубоких опытных водопонижений и других сложных работ для получения необходимых характеристик, с выяснением значимости всех водоносных и водоупорных слоев и прослойков, их гидрогеологических параметров и других данных, позволяющих выбрать обоснованные решения защиты горных выработок.

В таких случаях целесообразно проведение опытно-производственных работ (см. п. 1.31 и 2.4).

Принимая решения о проведении опытно-производственных работ наметим предварительное решение по защите горных выработок, выделим в нем первоочередную часть, которая и будет опытной, но в то же время позволит развернуть строительство и выявит необходимые данные для уточнения предварительного решения и составления окончательного проекта.

При этом исходим из того, что целесообразно начать разработку с возвышающейся части рудных тел, примыкающей к их лежачему боку, что позволит ограничиться минимальными объемами первоначальной вскрыши и сразу в какой-то части образовать постоянный борт карьера;

первоначальное кольцо водопонизительных скважин должно быть по возможности минимальных размеров, чтобы достичь быстрого эффекта понижения уровня подземных вод вскрывающей выработки;

следует проверить необходимость водопонизительных скважин для защиты от фильтрации подземных вод через откосы постоянного борта после его образования и устройства на нем внутрикарьерных дренажей; а также необходимость систематических дополнительных мероприятий (дренажных пригрузок, канавок применения иглофильтровых установок и др.) над прослойком оолитовых руд в толще песков и целесообразность из-за этого ведения горных пород с подуступом на рабочем борту.

Предварительно принимаем (черт. 19, 20):

первоочередное кольцо водопонизительных скважин по контуру вскрывающей выработки и конечное кольцо водопонизительных скважин по контуру карьера на конец отработки; по первоочередному кольцу водопонизительных скважин подземных выработок в предварительном решении не предусматриваем, так как его восточная ветвь (со стороны постоянного борта) может быть отключена, если защита постоянного борта от подземных вод с помощью внутрикарьерных дренажей окажется достаточной, а западная ветвь вскоре будет сработана при подвигании рабочего борта. Поэтому водопонизительные скважины по первоочередному кольцу должны быть оборудованы погружными насосами;

подземные дренажные выработки - только по конечному контуру карьера со стороны висячего бока рудных тел (западная ветвь внешнего дренажа), имея в виду, что водопонизительными скважинами вдоль нее будут служить сквозные фильтры и восстающие самоизливающиеся скважины.

Кроме того, должны быть предусмотрены специальные подземные выработки для приема воды от карьерных дренажей, зумпфов и других устройств.

Ввиду большого расстояния между восточной ветвью первоочередного кольца и конечным контуром внешней дренажной системы следует предусмотреть дополнительно промежуточную ветвь водопонизительных скважин, оборудованных погружными насосами, главным образом из-за необходимости длительного срока подготовки системы по конечному контуру и достижения с ее помощью необходимого понижения уровня подземных вод в пределах карьера.

Описание: 20

Черт. 20. Система осушения карьера. План (к примеру 8)

1 - туффиты; 2 - известняки; 3 - туфы и лавобрекчии базальтовых порфиритов; 4 - туфобрекчии андезитовых порфиритов; 5 - андезитовые порфирит; 6 - диориты и диорит-порфириты; 7 - скарны; 8 - роговики; 9 - рудные залежи; 10 - зоны тектонических нарушений; 11 - водопонизительные скважины I очереди; 12 - опытные скважины; 13 - водопонизительные скважины II очереди; 14 - водопонизительные скважины II очереди, переоборудуемые в сквозные фильтры; 15 - дренажный штрек со сквозными фильтрами; 16 - шахтный ствол; 17 - наблюдательные скважины в скальных породах; 18 - наблюдательные скважины в песках

Предполагается, что осушение надрудных песков не вызовет особых осложнений из-за взаимосвязи их с рудоносной толщей в местах разрывов в глинистых породах, подстилающих пески, а также из-за понижения почвы песков в сторону к периферии, где намечаются водопонизительные скважины. В проекте опытно-производственного водопонижения необходимо указать, что в процессе разработки может выявиться целесообразность устройства подуступа над прослойком оолитовых руд, как показано на черт. 19. Начать разработку допускается без подуступа.

В состав опытно-производственных работ следует включить изучение состояния закарстованности известняков и влияние откачки из карстов на развитие депрессии в рудоносной и надрудных толщах. При этом исходим из того, что участки, где наблюдаются понижения кровли скальных известняков, отвечают наиболее слабым (неустойчивым к размыву и выветриванию) их разновидностям, и на этих участках можно ожидать развития карста и в глубине массива. На четырех таких участках располагаем глубокие опытные скважины и намечаем откачки из них.

Общее число водопонизительных скважин по контуру первоочередного кольца должно быть определено по имеющимся данным и с учетом аналогов из условия понижения уровня подземных вод, позволяющего вскрыть руду и даже начать ее разработку. Однако устройство и ввод в действие водопонизительных скважин должны быть постепенными, причем первоначально должно быть выполнено не более половины расчетного числа первоочередных скважин.

Для наблюдений при опытно-производственном водопонижении намечаем 16 первоочередных наблюдательных скважин: 11 - в надрудных песках и 5 - в рудоносной зоне. Их располагаем по лучам в направлениях: на юг (к реке) и на запад: по три - в надрудных песках - на контуре, в 200 и 600 м от контура, по две - в рудоносной толще - на контуре и в 600 м от контура; на север и на восток: по две - в надрудных песках - на контуре и в 600 м от контура; в пределах карьера по одной - в рудоносной зоне и в надрудных песках.

В задачи опытно-производственных работ должно входить, кроме проверки и изучения всех вышеуказанных вопросов, определение гидрогеологических и инженерно-геологических характеристик горных пород. Поэтому в проекте необходимо предусмотреть также отбор образцов горных пород, лабораторные исследования и достаточно широкий комплекс наблюдений (см. разд. 5).

2.13. При мульдообразном строении месторождения целесообразно применять водопонизительные системы из скважин, расположенных в понижениях водоносных пластов. При этом экономично решается задача полного осушения карьера (разреза).

Пример 9. Буроугольное месторождение, приуроченное к синклинальной складке, предусмотрено осваивать открытым способом. Верхний угольный пласт, который предполагается разрабатывать, образует мульду, заполненную песчаниками, протяженностью около 2 км, шириной 800 м и общей толщиной (песчаников и угольного пласта) в вершине складки 85 м. Эта толща подстилается переслаивающимися трещиноватыми аргиллитами, песчаниками и тонкими слоями углей, а вверху прикрыта глинистыми породами.

Все трещиноватые породы - водоносные, но повсеместно развитый чехол покровных глинистых пород ограничивает питание подземных вод атмосферными осадками.

Требуется наметить систему защиты разреза.

В этих условиях, естественно, необходимо использовать благоприятные условия залегания горных пород, позволяющие организовать отбор подземных вод с самых низких отметок разрабатываемой толщи, т.е. расположить водозаборные устройства по оси синклинали. В качестве водозаборных устройств могут быть использованы водопонизительные скважины, оборудованные насосами, или подземные дренажные выработки. Последние, требующие значительных капитальных затрат, могут оказаться целесообразнее при длительном сроке службы, необходимости организовать карьерный водоотлив при больших притоках поверхностных вод, при разработке части месторождения подземным способом и наличии шахтных стволов и подземных насосных станций.

Учитывая сравнительно небольшие размеры разреза и ограниченное питание подземных вод, когда в основном предстоит осушение статических запасов воды в горных породах, принимаем систему защиты разреза из линейного ряда водопонизительных скважин, оборудованных насосами (черт. 21).

Описание: 21

Черт. 21. Схема осушения буроугольного месторождения

1 - глинистые породы; 2 - песчаники; 3 - уголь; 4 - аргиллиты; 5 - контуры карьера; 6 - водопонизительные скважины; 7 - контур пласта угля; 8 - непониженный уровень подземных вод; 9 - сниженный уровень подземных вод

2.14. При расположении месторождений вблизи поверхностных водных объектов (или под ними), кроме опасности непосредственного затопления выработок поверхностными водами, возможны также значительные притоки подземных вод и осложнения при их откачке.

В таких условиях от правильной оценки природных факторов и предвидения возможных осложнений практически зависит успех освоения месторождения и безопасность ведения горных работ.

Пример 10. Требуется определить систему защиты карьера по разработке полиметаллических руд в условиях примера 1.

Выполнение намеченных в нем изысканий и дополнительная обработка материалов ранее произведенных геологоразведочных работ с использованием данных одиночных откачек сопоставлением их с данными кустовых откачек позволили установить следующие средние значения коэффициентов фильтрации k пород по участкам (черт. 22).

Породы между двумя основными тектоническими зонами (в среднем на всю глубину до 400 м):

со стороны висячего бока рудоносной зоны - = 0,4 м/сут;

со стороны лежачего бока рудоносной зоны - = 0,8 м/сут;

в зоне интенсивного рассланцевания пород - = 0,29 м/сут.

Породы основных тектонических зон (в разломах и зонах дробления) до глубины:

70 м - 30    м/сут

140 « - 12      «

220  « - 5       «

400  « - 0,5    «

На глубине 400 м может быть принят относительный водоупор.

Наибольшая водообильность пород в верхней части объясняется большей подверженностью этой зоны выветриванию, особенно в русловой части месторождения.

Скальные осадочные породы за пределами месторождения и окружающей его водообильной зоны (см. черт. 3) слабо водопроницаемы:

юго-западнее месторождения развиты в основном сланцевидные породы с коэффициентом фильтрации 0,1 м/сут;

толща карбонатно-глинистых и песчано-глинистых осадочных пород, залегающих с юга, юго-востока и северо-востока месторождения, имеет коэффициент фильтрации порядка 0,5 м/сут.

Открытые работы предусматривается вести до глубины 400 м, ниже предполагается вести разработку подземным способом.

Для защиты карьера первостепенное значение приобретает организация поверхностного стока и в первую очередь отвод или оттеснение реки от территории разработок. Река, протекающая по территории месторождения, примерно в 30 км от него впадает в другую большую реку, поэтому можно рассматривать перехват речного стока выше месторождения и переброс его по системе каналов и с использованием местной гидрографической сети в отдаленное от месторождения русло. Такое решение потребовало бы весьма значительных капитальных затрат - реальнее оттеснение реки с помощью ограждающей дамбы и устройство с береговой стороны соответствующих нагорных канав.

Исходя из вышеуказанного решения по организации поверхностного стока, рассмотрим целесообразные решения по защите карьера от подземных вод.

В этой связи необходимо учитывать, что рудоносная толща окружена, в общем, слабопроницаемыми породами, создающими естественную преграду для потока подземных вод. Следовательно, подземные воды могут проникать в горные выработки в основном по зонам тектонического дробления горных пород и по тектоническим разломам, особенно при их раскольматации. При таких обстоятельствах необходимо максимально снизить градиент напора фильтрационного потока и свести до минимума интенсивность откачки подземных вод для того, чтобы максимально снизить опасность раскольматации трещин и пор горных пород в зонах, где они представлены раздробленными разновидностями. Этому будет способствовать оттеснение реки. Разведанные зоны повышенной проницаемости горных пород целесообразно перекрыть противофильтрационными завесами. К таким зонам относятся тектонические разломы, направленные с северо-запада на юго-восток, и восточная зона дробления горных пород.

Описание: 22

Черт. 22. Система защиты карьера

1 - зона рассланцевания; 2 - зона дробления; 3 - зона разлома; 4 - рудные тела; 5 - контур заболоченности; 6 - засыпка понижений рельефа; 7 - противофильтрационная завеса I очереди (выполняется с поверхности до отм. -220,0 м); 8 - конечный контур карьера; 9 - контур карьера I очереди; 10 - контур дна карьера I очереди на отм. -115,0 м; 11 - дренажные выработки на горизонтах -125,0, -260,0, -390,0 м; 12 - самоизливающиеся скважины; 13 - шахтные стволы; 14 - противофильтрационная завеса II очереди (выполняется с отметок -115,0 до -335,0 м при установлении необходимости в ней в процессе разработки карьера I очереди); 15 - осушительные (дренажные) канавы; 16 - нагорная канава

Противофильтрационные завесы должны быть выполнены на глубину не менее 220 м. На большей глубине, как это следует из вышеприведенных данных, фильтрационные свойства пород в этих зонах примерно такие же, как и других пород, окружающих рудную зону.

Борта карьера сложены в основном скальными устойчивыми породами, поэтому может быть допущена открытая фильтрация через них в карьер. Однако организация водоотлива непосредственно из карьера при значительном притоке подземных вод (даже при наличии противофильтрационных завес будет сложной. Поэтому целесообразно предусмотреть подземные выработки для приема карьерных вод и подземные насосные станции для их откачки. Подземные выработки будут в известной мере, служить и в качестве дренажных, и приток воды непосредственно в карьер уменьшится.

Разработка карьера с водоотливом в скальной толще приведет к осушению и покровных отложений. Не исключено, что в начале работ окажется целесообразным применить систему водопонизительных скважин для понижения уровня подземных вод в пределах покровной толщи.

Система защиты карьера представится в следующем виде (см. черт. 22):

река оттесняется дамбой с отметкой верха примерно 12 м; между карьером и дамбой предусматриваем две завесы, перекрывающие фильтрационный поток со стороны реки по зонам повышенной проницаемости; завесы предусматриваем глубиной 220 м, ниже которой коэффициент фильтрации горных пород в среднем равен 0,5 м/сут; положение дамбы и этих двух завес следует проектировать на основе фильтрационных расчетов (технико-экономического сопоставления вариантов).

Намечаем вести разработку таким образом, чтобы северо-западный борт карьера частично совпадал с его конечным положением, и предусматриваем резервную завесу, выполняемую у этого борта на глубине 100 - 125 м; в случае выявления значительной фильтрации по тектоническим разломам в обход основной завесы (см. черт. 28); в проекте следует предусмотреть также соответствующие средства для тампонажа горных пород в случае выявления необходимости в этом на других участках;

воду, поступающую в карьер, предусматриваем сбрасывать в подземные выработки с отводом по ним воды к водосборникам соответствующих подземных насосных станций;

подземные горные выработки предусматриваем не менее чем на двух горизонтах - примерно через 120 - 200 м по глубине. Эти выработки, предназначенные в основном для приема воды из карьера, будут также служить и дренажом. Для этого из выработок при подходе к тектоническим зонам, не доходя до них на расстояние, определяемое по данным опережающего бурения, следует проходить рассечки, параллельные разломам, из которых забуривать самоизливающиеся скважины в тектонические зоны. Снижение напоров подземных вод с помощью этих скважин облегчит проходку подземных выработок. Однако должна быть предусмотрена возможность проходки подземных выработок через тектонические зоны с применением цементации или замораживания горных пород;

для проходки подземных выработок намечаем два шахтных ствола, которые можно расположить с разных сторон карьера, чтобы проходить выработки из каждого ствола навстречу один к другому, ускоряя этим создание системы; выработки должны пересекать тектонические зоны по возможности под прямым углом, и их расположение должно обеспечивать удобства сброса в них карьерных вод;

в зависимости от сроков создания подземной дренажной системы и начала разработки карьера должно быть принято решение о необходимости (или отсутствии необходимости) системы водопонизительных скважин для осушения покровных отложений.

В подобных условиях очень важно при проектировании определить рациональный порядок работ по освоению месторождения. В данном случае необходимо, чтобы дамба, противофильтрационные завесы и подземная дренажная система были сооружены до начала разработки карьера.

При рассмотрении каких-либо других вариантов следует выполнить тщательный анализ всех промежуточных ситуаций для устранения излишних непроизводительных затрат и аварийной обстановки на месторождении.

2.15. Специфические осложнения для защиты горных выработок возникают в условиях вечной мерзлоты, засоленности и газоносности подземных вод.

В таких условиях все основные технологические решения по устройству системы защиты должны быть проработаны и определены в основном проекте, иначе не может быть доказана реальность и эффективность проектируемых защитных устройств и мероприятий.

Пример 11. Месторождение минерального сырья расположено в зоне распространения вечномерзлых пород. Для района характерен слегка расчлененный равнинный рельеф, гидрографическая сеть развита слабо.

Климат района резко континентальный с продолжительной суровой зимой и коротким жарким летом. Среднегодовая температура - 73 °С.

Вечномерзлые породы развиты на всей площади. Нулевая изотерма располагается на глубине порядка 700 м. Наибольшая глубина сезонного протаивания приходится на август и составляет 2 - 3 м в целом по району и 6 - 8 м по бортам открытых горных выработок.

Толща вечномерзлых вмещающих пород сложена (сверху вниз) мергелями с прослоями глинистых доломитов, доломитами и глинистыми известняками (107 - 146 м), а ниже сильно трещиноватыми алевролитистыми мергелями, известковистыми алевролитами и глинистыми доломитами с трещинами, загипсованными на 15 - 20 % (133 - 172 м).

Ниже залегает слой относительно водоупорных глинисто-карбонатных пород (17 м), прикрывающих водоносные известняки и доломиты, переслаивающиеся (книзу чаще) с линзами и слоями (не имеющими сплошного развития) водоупорных гипсоангидритовых пород.

Описание: 23

Черт. 23. Геологический разрез по месторождению

1 - мергель; 2 - известняк; 3 - доломит; 4 - алевролит; 5 - ангидрит; 6 - долерит; 7 - полезное ископаемое; 8 - глинистость; 9 - известковистостъ; 10 - гипсованность; 11 - битуминозность; 12 - водопонизительные скважины; 13 - непониженный уровень подземных вод; 14 - пониженный уровень подземных вод; 15 - промежуточный контур карьера; 16 - зона развития карьера

Все водоносные слои связаны между, собой и образуют единую подмерзлотную водоносную толщу, имеющую кровлю на глубине 280 - 320 м, подстилающуюся на глубине около 500 м долеритами и характеризующуюся средней водопроводимостью kh = 70 м2/сут и напором на кровлю, примерно равным 190 м. В пределах толщи наблюдаются газо-нефте-битумопроявления.

Подмерзлотные воды имеют хлоридно-натриевый состав, минерализацию, возрастающую с глубиной от 85 до 130 г/л и содержат растворенные газы - 0,4 м3 на 1 м3 воды: азот (70 - 90 %), метан (около 5 %), сероводород (2 - 3 %) и др.

Месторождение до глубины 450 м предусматривается разрабатывать открытым способом (черт. 23).

Требуется определить защиту карьера и технические решения специальных мероприятий при ее создании и эксплуатации, отвечающих особым природным условиям месторождения.

Требования к системе защиты могут быть сформулированы в следующем виде:

должно быть обеспечено снятие на первом этапе высоких гидростатических напоров до размеров, исключающих возможность внезапных прорывов напорных подземных вод при подходе открытых горных работ к кровле подмерзлотной водоносной толщи;

опережающее снижение уровня подземных вод ниже горизонта горных работ, исключающее фильтрацию воды через борта карьера.

Удовлетворение этим требованиям может быть достигнуто с помощью кольцевой системы водопонизительных скважин глубиной 480 - 500 м, оборудуемых соответствующими погружными насосами (черт. 24).

Для создания и эксплуатации такой системы в условиях мощной толщи вечной мерзлоты, высокой минерализации и газоносности подземных вод необходимо прежде всего проработать соответствующую технологию устройства водопонизительных скважин и определить необходимые средства и мероприятия, обеспечивающие возможность их осуществления и безопасность при строительстве и эксплуатации системы защиты.

Намечаем следующие решения.

Бурение скважин следует выполнять с помощью агрегатов турбинного бурения типа РТБ, которые должны подбираться (так же, как и долота) соответственно требуемым диаметрам скважин и крепости пород (см. разд. 9), и буровой установки БУ-75БРЭ.В качестве породоразрушающего инструмента при бурении в зоне распространения многолетнемерзлых пород до кровли водоносного горизонта может быть применен агрегат РТБ-760 с долотами 41Д-394С. Привод турбобуров типа РТБ осуществляется от трех насосов БРН-1. При бурении водопонизительных скважин в зоне водоносного горизонта следует применять агрегат РТБ-590 с долотами В-269С с приводом от двух насосов БРН-1.

В качестве промывочной жидкости может быть использован раствор, образуемый в процессе бурения карбонатных пород. Вследствие того, что температура разбуриваемых пород составляет в среднем -2 °С, во избежание замерзания промывочной жидкости к ней добавляют 4 % по массе поваренной соли. Для стабилизации раствора и предотвращения обрушения стенок скважин в связи с низкой водоустойчивостью мерзлых пород в промывочную жидкость следует добавлять 3 % высоковязкой карбоксиметилцеллюлозы (КМЦ-600).

Цементирование остающихся на период эксплуатации обсадных колонн следует производить до устья с целью полной замены в затрубном и межтрубном пространстве промывочной жидкости цементным камнем. Эта замена необходима для предупреждения смятия обсадной колонны замерзающей жидкостью в период восстановления мерзлоты после растепления стенок скважины.

Описание: 24

Черт. 24. Система водопонижения. План

1 - водопонизительная скважина, оборудуемая погружным насосом; 2 - трубопровод, подающий раствор; 3 - трубопровод, отводящий шлам; 4 - трубопровод отвода воды от водопонизительных скважин; 5 - трубопровод промышленного водоснабжения; 6 - напорный трубопровод от станции перекачки до накопителя; 7 - групповая насосная станция; 8 - накопитель; 9 - станция перекачки; 10 - конечный контур карьера по поверхности

Для цементационных работ следует предусматривать раствор с добавками хлоридов натрия и кальция, которые обеспечивают образование цементного камня нормального качества при температурах от -2 до -5 °С. Состав раствора должен уточняться в процессе работ путем постановки соответствующих контрольных опытов. Цемент для анализа должен быть взят из той же партии, которой будет производиться цементирование. Температура при опыте должна соответствовать наиболее низкой температуре, при которой будет происходить схватывание цемента за колонной. Для улучшения температурного режима в скважине следует нагревать промывочную жидкость до температуры от 20 до 30 °С и осуществлять подогрев ею затрубного пространства в период схватывания и твердения цементного раствора.

На черт. 33 показана водопонизительная система в период устройства с использованием двух групповых насосных станций и растворных узлов, причем каждая из насосных станций обеспечивает одновременную работу двух буровых установок. Таким образом, система защиты предусматривает применение следующих узлов: буровой установки без блока буровых насосов; групповой насосной станции; растворного узла.

В период эксплуатации откачиваемые из скважин воды предусматриваем подавать по трубопроводам к насосной станции перекачки, с помощью которой они подаются по напорным трубопроводам в накопитель. Перед сбросом откачиваемых вод в накопитель должна быть предусмотрена их очистка от вредных примесей.

В проекте следует предусмотреть под все временные сооружения (площадки буровых установок, групповые насосные и др.) двухметровую подсыпку, которая может быть выполнена из скальных пород вскрыши с щебеночным покрытием. Постоянные здания и сооружения (помещения трансформаторных подстанций, насосная станция перекачки) целесообразно проектировать на свайных основаниях с продуваемым подпольем.

Также необходимо предусмотреть осуществление ряда мероприятий, направленных на обеспечение безопасных условий при газопроявлениях. К наиболее опасным местам, где возможны скопления токсичных и взрывоопасных газов в период бурения скважин, относятся укрытия буровых установок и привышечных сооружений, укрытия циркуляционной системы, здания групповых насосных станций. Во всех этих помещениях должна быть установлена контрольно-измерительная аппаратура с систематическим замером содержания сероводорода и метана. На устье скважин следует предусматривать систему принудительной вентиляции.

В проекте необходимо исходить из следующего:

концентрация газов в атмосфере помещений и мест, прилегающих к устью скважин, не должна превышать по сероводороду 10 мг/м3, по метану от 0,5 до 2 % в зависимости от вида работ. При больших концентрациях газов работы должны быть остановлены, а люди выведены из этих зон;

отвод промывочной жидкости и откачиваемой из скважин воды должен осуществляться в закрытых лотках (желобах) или трубах;

при подъеме бурового инструмента должен осуществляться долив раствора в скважину без снижения его уровня;

ведение работ с применением открытого огня, электросварки газосварки и пайки, ремонтных и монтажных работ, связанных с нагреванием деталей оборудования и коммуникаций открытым огнем и т.д., разрешается выполнять при содержании метана менее 0,5 %. В составе проекта должны быть определены также мероприятия по защите от пожаров и оказанию первой доврачебной помощи в случае отравления сероводородом.

Основное механо-технологическое оборудование и запорная арматура насосной станции перекачки должны быть приняты в химически стойком исполнении, а электрооборудование - во взрывозащищенном исполнении. В помещении машинного зала контрольно-измерительная аппаратура (КИА) должна быть со световой и звуковой сигнализацией при превышении содержания сероводорода в атмосфере помещения 10 мг/м3. Кроме рабочей, следует предусмотреть аварийную сигнализацию вентиляции машинного зала, обеспечивающую 8-кратный обмен воздуха в час.

Другие технические решения по системе защиты месторождения от подземных вод принимаются обычными для строительства промышленных объектов в районах Крайнего Севера.

Системы защиты подземных рудников

2.16. При проектировании систем защиты подземных рудников необходимо обеспечить охрану рудников от поверхностных водных объектов и водных объектов от вредного влияния подземных разработок.

Решение этих задач приобретает особую актуальность, когда происходит активная связь поверхностных водных объектов с подземными водами.

Пример 12. Месторождение бокситов расположено на склоне горного хребта; отметки поверхности колеблются от 150 до 195 м.

По поверхности протекает ряд речек.

Климат района резко континентальный с суровой затяжной зимой (до -52 °С) и коротким дождливым летом; годовые осадки - 480 мм.

Рудная пластообразная залежь простирается в меридиональном направлении по длине 25 км, при средней толщине рудных тел 6-7 м. Она залегает в толще известняков, с запада и востока контактирующих с туффитами, диоритами, песчаниками. Ширина полосы известняков от 2-3 км на юге, до 10-15 км на севере.

Известняки в различной мере закарстованы и трещиноваты, поглощают почти все выпадающие на территорию атмосферные осадки (за исключением некоторой части - испаряющейся) и значительную часть речного стока, временами достигающую 25 - 30 тыс. м3/ч. Некоторое питание известняки получают (при откачке из них) и из некарстующихся пород.

Месторождение эксплуатируется. Верхние горизонты месторождения разрабатывались открытым способом и мелкими шахтами, затем были применены наклонные стволы до глубины 250 - 300 м. Более глубокие горизонты вскрывались вертикальными стволами. Разработка велась в основном с обрушением кровли. На глубинах свыше 300 м частично применялась разработка с закладкой выработанного пространства. В качестве защиты применялось водопонижение с помощью основных горных выработок, самоизливающихся скважин, забуриваемых из них в различных направлениях в зависимости от гидрогеологической обстановки, и в последнее время с помощью водопонизительных скважин, забуриваемых с поверхности и оборудуемых скважинными насосами. Значительный эффект; в части уменьшения притока воды в выработки получен на одном участке после изоляции (бетоном) русла речки, протекающей на этом участке.

Тем не менее при развитии горных работ притоки возросли до значительных размеров (свыше 10000 м3/ч).

В связи с необходимостью разработки глубже залегающих рудных тел, основываясь на опыте предыдущих лет, требуется определить эффективные способы защиты горных выработок (включая и шахтные стволы) для глубин свыше 500 м.

Глубокие горизонты вскрываются с помощью вертикальных стволов; разработка руды на глубине свыше 400 м производится с закладкой выработанного пространства.

Перед защитой ставятся следующие задачи:

обеспечить безопасные условия проходки горно-капитальных и подготовительных выработок;

полностью предотвратить или свести до минимума поступление воды в добычные забои.

Для решения поставленных задач предусматриваем:

принимая во внимание, что в лежачем боку известняков (на западе) залегают слабопроницаемые породы, все стволы следует располагать с этой западной стороны месторождения; в случае встречи при проходке стволов трещиноватых пород с повышенной проницаемостью, целесообразно применение цементации:

учитывая, что поглощение известняками речного стока в значительной мере определяет высокие притоки воды в выработки, первостепенной задачей является отвод рек с территории месторождений или гидроизоляции речных русел. Поскольку отвод рек практически невозможен из-за характера рельефа земной поверхности, предусматриваем гидроизоляцию русел путем устройства железобетонных каналов в сочетании с водохранилищами, сооружаемыми перед входом рек в карстовую область и предназначенными для регулирования расхода речного стока (черт. 25).

Черт. 25. Система защиты подземных выработок рудника

1 - закарстованные известняки; 2 - водоупорные диориты, туффиты, песчаники; 3 - тектонические нарушения; 4 - шахта; 5 - канализация рек I очереди; 6 - канализация рек II очереди; 7 - групповые установки водопонизительных скважин I очереди; 8 - групповые установки водопонизительных скважин II очереди

С целью сокращения инфильтрации атмосферных осадков осуществляется ликвидация на поверхности карстовых воронок, а на участках формирования временных водотоков (суходолов) - строительство железобетонных каналов.

В связи со значительной площадью распространения известняков и развитием депрессионной воронки на десятки километров притоки воды в шахты даже после выполнения гидротехнических работ по изоляции речных русел и временных водотоков останутся весьма значительными. Поэтому для перехвата потока подземных вод, формирующегося за пределами месторождений, предусматривается сооружение групповых систем водопонизительных скважин, закладываемых на флангах эксплуатируемой части бассейна. Эти системы состоят из водопонизительных скважин глубиной до 650 м, оборудуемых погружными насосами типа ЭЦВ 16-375-17Х, ЭЦВ 14-210-300Х и ЭЦВ 14-120-540. Для увеличения захватной способности из основных стволов некоторых водопонизительных скважин целесообразно бурить по 2 - 5 наклонных скважин длиной от 50 до 200 м. Заложению водопонизительных скважин должно предшествовать контрольно-разведочное бурение и геофизические исследования с целью выявления расположения зон повышенной водообильности в плане и разрезе.

Для осушения глубоких горизонтов возможна замена осуществляемых с поверхности групповых водопонизительных систем на южном, северном и северо-восточном флангах бассейна на подземные дренажные системы, включающие в себя специальные шахтные стволы, горизонтальные выработки, сквозные фильтры и наклонно восстающие самоизливающиеся скважины.

Кроме перечисленных внешних общебассейновых защитных сооружений и мероприятий, для каждого шахтного поля предусматриваем внутришахтные устройства и мероприятия:

специальные дренажные подземные горные выработки, направленные в зоны повышенной водообильности;

самоизливающиеся скважины, забуриваемые из основных и дренажных выработок (черт. 26);

опережающие скважины, применяемые при проходке горизонтальных выработок.

Для своевременного принятия дополнительных мер и корректировки при необходимости проектных решений, как в пределах шахтных полей, так и в районе всего бассейна, должны быть предусмотрены наблюдательные скважины, гидропосты и другие устройства, намечаемые в соответствии с разд. 5.

Наряду с применением водопонижения, не исключая обязательной изоляции поверхностного стока, в проекте защиты должны быть рассмотрены варианты с применением противофильтрационных завес, ограждающих шахтное поле или выемочные участки от водообильных зон, а также варианты заполнения карстовых полостей и тампонажа трещиноватых пород глино-цементно-песчаными, глино-цементными и другими смесями и растворами.

2.17. При глубоком залегании полезного ископаемого и наличии над ним нескольких водоносных слоев, разобщенных выдержанными слоями водоупорных пород, необходимо прежде всего оценить степень разобщенности водоносных слоев и возможные изменения их гидравлической взаимосвязи в периоды строительства и эксплуатации месторождения.

Большое значение при этом рассмотрении будут иметь способ и система разработки полезного ископаемого. В частности, принимая подземный способ разработки и системы с закладкой выработанного пространства, можно свести к минимуму нарушения в покровной толще горных пород, а это позволит ограничить требования к системе защиты в период эксплуатации месторождения областью распространения лишь тех водоносных слоев, которые имеют достаточно активную гидравлическую связь с толщей, содержащей полезное ископаемое.

Пример 13. Богатые железные руды залегают среди кварцитов на глубине 480 - 590 м. Они образуют мощную (до 300 м) полосообразную в плане залежь с выступами кварцитов средней шириной 440 м клинообразного поперечного сечения. Висячий и лежачий бока рудной залежи представлены филлитовидными сланцами. На периферии развиты плагиограниты, серые граниты, гранодиориты, мета-песчаники.

Описание: 26

Черт. 26. Разрез 1-1 (см. черт. 25)

1 - закарстованные известняки; 2 - некарстующиеся водоупорные известняки; 3 - водоупорные диориты, туффиты, песчаники; 4 - рудная залежь; 5 - тектонические нарушения; 6 - самоизливающиеся скважины; 7 - шахтные стволы; 8 - горные выработки

Богатые железные руды подразделяются на скальные, имеющие прочность на сжатие 10 - 60 МПа, и нескальные глиноподобные разновидности. Скальные околорудные породы в различной мере трещиноватые с временным сопротивлением сжатию 30 - 200 МПа. Кора выветривания скальных пород, представленная глиноподобными и глыбовощебеночными разновидностями развита на глубину 30 - 100 м от кровли массива.

На размытой поверхности дислоцированных и сильно выветрелых пород скального рудоносного массива залегает толща (до 550 м) осадочных образований, сложенная чередующимися водоносными (в различной мере водообильными) и водоупорными слоями. Водоносным является и неоднородный рудоносный скальный массив.

Сланцы и кварциты характеризуются слабой водообильностью, коэффициент фильтрации их в среднем составляет соответственно 0,014 и 0,003 м/сут.

Фильтрационные свойства богатых железных руд характеризуются коэффициентом фильтрации 0,04 - 0,18 м/сут; водоотдачей - μg = 0,03 - 0,15; напор над кровлей рудоносного массива составляет в среднем 460 м; подошва водоносных пород на глубине, превышающей 1000 м (от поверхности земли), при разведке не достигнута.

Непосредственно на кровле скального рудоносного массива залегают известняки. Средняя толщина слоя известняков 50 м: в надрудной части - 35 м, а в сторону к лежачему и висячему бокам увеличивается до 80 м (главным образом за счет понижения отметок подошвы слоя). Водообильность и проницаемость слоя известняков неоднородна и зависит от степени трещиноватости, закарстованности и наличия глинистых прослойков; значения коэффициента фильтрации слоя изменяются от 0,002 до 7,05 м/сут. В вертикальном разрезе более проницаемые разновидности приурочены к верхней и средней частям слоя; внизу они монолитнее и содержат большее количество сланцеватых глин и поэтому менее проницаемы. В плане наиболее проницаемые разновидности известняков приурочены к надрудной части слоя и к участку вдоль русла протекающей на поверхности реки. Установлена активная взаимосвязь вод известняков и рудоносного массива. Практически слой известняков и рудоносный скальный массив могут рассматриваться как единый комплекс, хотя и неоднородный по проницаемости; на черт. 27 показано, как может быть охарактеризована на территории распространения руды водообильность этого комплекса размером водопроводимости kh, м2/сут.

Описание: 27

Черт. 27. Гидрогеологическая карта месторождения с наблюдательными скважинами опытно-производственного водопонижения

1 - горные выработки; 2 - контур рудного тела; 3 - границы различной водопроводимости; 4 - граница зоны расположения водопонизительных скважин; 5 - тектонический разлом; 6 - шахтные стволы; 7 - наблюдательные скважины в верхней толще; 8 - наблюдательные скважины в водоносных слоях над известняками; 9 - наблюдательные скважины в известняках; 10 - наблюдательные скважины в рудоносной толще

Над известняками залегают слои глин с прослойками и линзами песков и слои мелких песков с прослойками глин, составляющие в общем 60 - 80-метровую толщу, воды которой связаны с водами известняков и рудоносного массива. Коэффициент фильтрации песков 0,3 - 2,2 м/сут. Связь вод этих слоев с водами известняков и рудоносного массива в общем замедленная и неоднородная: там, где пески залегают непосредственно на известняках, гидравлическая связь несколько более активная, а с водами песков, залегающими среди глин и в верхних слоях, - весьма замедленная.

Выше залегает имеющий региональное распространение 30-метровый слой плотных, практически водоупорных глин. Этот пласт по существу отделяет все вышележащие водоносные породы от нижележащих, гидравлически связанных с рудоносной зоной, и является разделяющим слоем. 350 - 400-метровая толща над разделяющим слоем представлена: песчаниками с прослоями песков (k = 0,024 - 0,4 м/сут); разнозернистыми песками (k = 0,14 - 2,6 м/сут); меломергелями (k до 15,6 м/сут) с прослоями неводоносных водоупорных разновидностей; песками с линзами глин и песчаников; песчано-глинистыми породами и покровными суглинками.

При групповых откачках из известняков и рудоносной зоны и понижении уровня воды в них более чем на 100 м, уровни воды в слоях горных пород над разделяющим слоем не реагировали.

Таким образом, в районе месторождения можно выделить две отдельные, не взаимосвязанные водоносные толщи: верхнюю - над разделяющим слоем глин и нижнюю - под ними.

Богатые железные руды решено добывать подземным способом, что, собственно, в данных условиях является безальтернативным решением.

Следует отметить, что наличие разделяющего водоупорного слоя, разобщающего водоносные слои горных пород, является несколько облегчающим обстоятельством для подземной разработки богатых железных руд, но и при этом освоение такого месторождения сопряжено с огромными трудностями, причинами которых являются:

высокие напоры подземных вод: до 50 атм над кровлей руды и 60 атм над самым верхним добычным горизонтом;

залегание на кровле руды водообильного слоя известняков, воды которого имеют активную связь с водами рудоносной толщи и менее активную связь с водами песчано-глинистых пород, залегающих непосредственно на известняках;

содержание в толще известняков глинистых прослойков, затрудняющих осушение этого слоя;

неустойчивый характер мучнистых разновидностей руды, могущих при недостаточном осушении проявлять свойства плывунов и составляющих более 50 % всех запасов богатых руд;

необходимость проходки почти половины горно-капитальных выработок в породах с малой прочностью Rc 10 МПа;

водоносность верхней, хотя и отделенной толщи малоустойчивых пород, представляющей весьма серьезное осложнение для устройства глубоких шахтных стволов и водопонизительных скважин.

Поэтому принята система разработки, позволяющая ожидать минимальных нарушений в надрудной толще покровных отложений, но тем не менее не снимающая требования практически полного осушения в зоне разработок.

Решено разработку богатых железных руд вести слоями толщиной по 3 м с закладкой выработанного пространства твердеющими смесями. Вскрытие первоочередного участка намечено осуществить с помощью трех шахтных стволов со стороны лежачего бока рудоносной зоны, направленных к ней квершлагов и штреков, пройденных вдоль рудной залежи на глубине 600 м от поверхности земли; на 20 м выше проходятся вентиляционно-закладочные выработки, а ниже - через 60 - 80 м намечаются следующие добычные горизонты.

Требуется определить необходимую систему защиты горных выработок от подземных вод, позволяющую обеспечить:

безопасные условия ведения горных работ;

сохранность горно-капитальных выработок и предотвращение прорывов в них и в очистные выработки подземных вод и породы;

благоприятные условия работы горного и транспортного оборудования;

полное извлечение полезного ископаемого.

Учитывая все это, основные положения по защите горных выработок от подземных вод принимаем в следующем виде:

осуществить водопонижение в нижней водоносной толще;

проходку шахтных стволов в пределах всей покровной толщи и выветрелых пород скального массива, окружающего рудоносную зону (примерно на глубину 600 - 620 м) вести с применением замораживания горных пород, а на большей глубине - обычным способом и при необходимости - с применением цементации; при проектировании подготовительных выработок, часть из которых потребуется проводить по слабым породам, следует предусматривать применение цементации, а при необходимости и замораживание горных пород или щитовой способ проходки.

Водопонизительная система рудника должна обеспечить:

снятие напора подземных вод в толще известняков и в руде до кровли известняков к началу проходки верхних вентиляционно-закладочных горных выработок;

осушение известняков и снятие напора подземных вод в рудном теле до кровли руды к началу проходки выработок первого эксплуатационного горизонта;

осушение руды в пределах верхнего - первого, эксплуатационного горизонта - до начала очистных работ и в дальнейшем осушение руды с опережением добычных работ.

Для достижения вышеуказанных целей наиболее эффективна система, защиты рудника от подземных вод, предусматривающая:

снижение напора в известняках и рудоносной толще с помощью водопонизительных скважин, устраиваемых с поверхности и оборудуемых погружными насосами;

осушение известняков с помощью вертикальных самоизливающихся скважин, забуриваемых из откаточных и вентиляционных выработок;

осушение рудного тела с помощью вертикальных, наклонных и горизонтальных самоизливающихся скважин, забуриваемых из выработок основных откаточных горизонтов.

Для первоочередного водопонижения в известняках и в рудоносной зоне предусматриваем систему водопонизительных скважин, оборудованных погружными насосами. Вследствие значительной неоднородности известняков и больших различий на отдельных участках их фильтрационных свойств было бы нецелесообразно применять в подобных условиях строго геометрические (контурные или линейные) схемы размещения водопонизительных устройств. На этом месторождении большего эффекта можно ожидать при групповом расположении скважин в зонах максимальной водообильности горных пород (черт. 28). Целесообразность применения групповых систем водопонизительных скважин, сосредоточенных в таких зонах, т.е. на участках шахтного поля с минимальным содержанием среди известняков глинистых пород, определяется еще и тем, что это позволит исключить осложнения, возникающие при бурении неустойчивых разновидностей глин.

Водопонизительные скважины в зависимости от требуемой производительности можно оборудовать погружными электронасосами типа ЭЦВ 14-120-540ХТрГ или ЭЦВ 12-63-520ХТрГ с номинальной производительностью, соответственно 120 и 63 м3/ч, но в дальнейшем для этого рудника должны быть выработаны оптимальные параметры требуемых насосов, и они должны быть специально заказаны.

Описание: 28

Черт. 28. Расположение водопонизительных скважин для снижения напора в известняках и рудоносной толще

1 - руда; 2 - железистые кварциты; 3 - сланцы; 4 - тектонические разломы; 5 - горные выработки; 6 - водопонизительные скважины в надрудных известняках опытно-производственного водопонижения; 7 - водопонизительные скважины в рудоносной толще опытно-производственного водопонижения; 8 - дополнительные водопонизительные скважины первоочередного участка в надрудных известняках; 9 - дополнительные водопонизительные скважины первоочередного участка в рудоносной толще

Последующее осушение известняков и рудного тела будет осуществляться восстающими скважинами, забуриваемыми из подземных выработок.

В проекте рудника должно быть предусмотрено первоочередное строительство главных водоотливных комплексов у шахтных стволов, предшествующее проходке первых вскрывающих квершлагов и откаточных штреков в лежачем боку рудной залежи на глубине более 600 м. Строительство таких комплексов должно опережать развитие горных работ на вентиляционно-закладочном горизонте, расположенном на 90 м выше.

Для обеспечения безопасных условий проходки выработок вентиляционно-закладочного горизонта предусматриваем бурение с заглублением в известняки из квершлагов и откаточных выработок вертикальных самоизливающихся скважин глубиной 165 м. Скважины сооружаются из специальных камер, размеры которых выбираются из условия размещения буровой установки и технологической оснастки, обеспечивающих бурение скважин при гидростатическом напоре на устье 250 - 300 кПа. Из каждой камеры сооружается узел из 3 - 4 скважин (черт. 29, 30), ввод которых в эксплуатацию предусматривается после сооружения главных водоотливных установок.

Для полного перехвата воды, перетекающей из известняков в рудоносную толщу, предусматриваем бурение также и из выработок вентиляционно-закладочного горизонта узлов наклонных и вертикальных самоизливающихся скважин. Узлы скважин предусматриваем на расстоянии примерно 50 м один от другого.

Описание: 29

Черт. 29. Подземные устройства водопонизительной системы

1 - рудная залежь; 2 - тектонические разломы; 3 - шахтные стволы; 4 - горные выработки с самоизливающимися скважинами первоочередного участка; 5 - дальнейшее развитие рудника; 6 - водоотливной комплекс

Для дальнейшего осушения руды предусматриваем сооружение выработок каждого последующего горизонта и выполнение из них по аналогичной схеме самоизливающихся скважин до начала очистных работ на вышележащем горизонте. Такое опережение позволит осушать рудную зону ниже горизонта добычи полезного ископаемого и создавать условия безопасного ведения горных работ.

В период эксплуатации рудника система защиты развивается по простиранию рудной залежи.

Приведенное решение системы защиты подземного рудника требует серьезного обоснования гидрогеологическими и технико-экономическими расчетами и сравнениями с другими возможными решениями. Необходимо также выполнить опытно-производственное глубокое водопонижение. В подобных условиях решение поставленных задач по защите рудника от подземных вод с помощью намеченных методов не может быть убедительно доказано на основе геологоразведочных данных. Необходимо проверить в производственных условиях и уточнить конструкции водопонизительных скважин глубиной до 600 м и конечным диаметром 500 - 600 мм, а также технологию и необходимое оборудование для их осуществления; следует также испытать в конкретных эксплуатационных условиях имеющиеся отечественные и зарубежные насосы с подачей 60 - 200 м3/ч и напором до 550 м.

Описание: 30

Черт. 30. Система водопонижения первоочередного участка. Разрез 1-1 (см. черт. 29)

1 - пески; 2 - пески глинистые; 3 - глина; 4 - глина песчаная; 5 - мел; 6 - мергель; 7 - песчаник; 8 - известняк; 9 - боксит; 10 - руда осадочная; 11 - каолинит; 12 - гидрослюдизированные платограниты; 13 - неизменные платограниты; 14 - гидрослюдизированные сланцы; 15 - сланцы; 16 - конгломераты и гравелиты; 17 - кварциты; 18 - руда; 19 - тектонические разломы; 20 - узел самоизливающихся скважин; 21 - шахтные стволы; 22 - водопонизительные скважины, оборудуемые насосами; 23 - непониженный уровень подземных вод; 24 - сниженный уровень подземных вод в нижней водоносной толще к началу проходки вентиляционно-закладочных выработок; 25 - сниженный уровень подземных вод к началу очистных работ; 26 - вентиляционно-закладочный горизонт; 27 - I добычной горизонт; 28 - II добычной горизонт

Кроме этого, необходимо получить ряд дополнительных данных, уточняющих гидрогеологическую характеристику водоносных слоев нижней толщи, и при глубоком понижении в ней уровня подземных вод (более 200 м) убедиться в действительной ее изоляции от верхних водоносных слоев, т.е. требуют уточнения:

расчетные гидрогеологические параметры основного водоносного комплекса (известняки - рудная зона);

гидравлическая взаимосвязь известняков с вышележащими водоносными слоями;

характер развития депрессии в слоях нижней водоносной толщи.

Для решения всех этих задач предусматриваем выполнить из числа намеченных водопонизительных скважин в первую очередь 10 - в известняках и 2 - в рудной зоне (см. черт. 28), а также примерно 90 наблюдательных скважин: 46 - в известняках, 16 - в рудоносной зоне, 22 - в водоносных слоях над известняками и 6 - в верхней толще (над разделяющим слоем глин), располагая все эти скважины на обширной территории (см. черт. 27).

Опытно-производственное водопонижение должно быть выполнено в период проходки шахтных стволов.

Пример 14. Шахтное поле месторождения бурого угля расположено на водоразделе двух небольших рек, отметки поверхности 200 м.

На глубине 50 м от поверхности залегает продуктивная пачка толщиной 5 - 6 м, состоящая из двух слоев угля, разделенных одно-, двухметровым слоем глин; в кровле и подошве углей также залегают глины, ниже глин, подстилающих угли, - водоносные известняки, выше, над глинами, образующими кровлю углей, - надугольные, также водоносные пески в виде нескольких слоев толщиной от 0,4 до 15 м, разделенных линзами и не имеющих сплошного распространения прослойками глин.

Надугольные пески прикрыты выдержанным слоем глин (толщиной не менее 5 м), над которыми чередуются слои известняков (толщиной 1 - 4 м), содержащие подземные воды, выше - до поверхности земли - залегают песчано-глинистые породы.

Воды в подстилающих известняках и в надугольных песках - напорные. Напор на подошву углей составляет 12 м, над их кровлей в надугольных песках - 12 - 20 м. В известняках, залегающих выше надугольных песков, подземные воды, как правило, безнапорные, столб воды над подошвой известняков - 2 - 4 м.

Требуется выбрать систему защиты горных выработок от подземных вод исходя из того, что шахтное поле нужно вскрыть двумя центральными вертикальными стволами глубиной 60 м, проходимыми с применением замораживания грунтов. Разработка угля намечена лавами, нарезаемыми от центра к границам шахтного поля.

Непосредственную угрозу при разработке углей представляют напорные воды в подстилающих известняках и воды надугольных песков. В этих водоносных слоях необходимо понизить уровень подземных вод: в подстилающих известняках следует понизить напор на 2 - 3 м ниже подошвы угля с таким расчетом, чтобы даже при аварийном отключении водопонизительной системы были исключены прорывы напорных вод в горные выработки снизу; в надугольных песках понижение уровня подземных вод должно быть практически полным.

В то же время в понижении уровня в известняках, залегающих выше надугольных песков, на этом шахтном поле нет необходимости. Это понижение было бы неэффективной мерой, так как полного осушения достигнуть не удалось бы; к тому же столб воды над разделяющим слоем незначительный по сравнению с расположенной ниже осушаемой толщей (всего около 10 % высоты, измеряемой от уровня воды над разделяющим слоем до кровли разрабатываемого пласта угля). В этом случае нарушения разделяющего слоя при посадке лав не повлекут значительного увеличения притока воды к водозаборным устройствам и не создадут опасности для горных выработок. Исключение составляют участки у стволов, пройденных с применением замораживания горных пород, так как при их проходке возможны значительные нарушения разделяющих слоев и после оттаивания горных пород - прорывы подземных вод в руддворы.

Поэтому на участках околоствольных выработок необходимо предусматривать дополнительные мероприятия, например, сброс воды из верхних известняков в подземные выработки или в поглощающие пласты.

В системе защиты шахтного поля предусматриваем (черт. 31):

водопонизительные скважины, оборудованные погружными насосами для снятия напора в подугольных известняках;


Описание: 31

Черт. 31. Водопонизительная система шахтного поля

а - лава; б - подготовительные выработки; в - околоствольный двор; 1 - суглинки; 2 - пески; 3 - глина; 4 - сланцы; 5 - уголь; 6 - известняк; 7 - уровень подземных вод в известняках надугольной толщи; 8 - непониженный уровень подземных вод в надугольных песках; 9 - пониженный уровень подземных вод в надугольных песках; 10 - непониженный уровень подземных вод в подугольных известняках; 11 - пониженный уровень подземных вод в подугольных известняках; 12 - шахтный ствол; 13 - водопонизительные скважины в подугольных известняках; 14 - водопоглощающие скважины; 15 - восстающие самоизливающиеся скважины, забуриваемые из ниш в горных выработках; 16 - горные выработки


часто расположенные самоизливающиеся скважины, забуриваемые или выполняемые путем забивки фильтровых колонн в надугольные пески, из ниш в подземных горных выработках;

дополнительные водопоглощающие скважины в районе шахтных стволов, забуриваемые с поверхности и оборудованные фильтровыми звеньями в верхних и нижних известняках, что позволит значительно осушить верхние известняки и предотвратить опасность прорывов воды из них в околоствольные выработки.

2.18. К значительным затруднениям при подземной добыче полезного ископаемого приводит отсутствие в его кровле надежного водоупора и перекрытие нескальными водоносными породами. Необходимость осушения покровной толщи становится весьма актуальной, и требования к системе осушения в определенных условиях могут быть максимальными. Характерным является следующий пример.

Пример 15. Месторождение железной руды расположено в пределах слаборасчлененной равнины с отметками от 40 до 50 м от условного нуля реки, протекающей в 6 км южнее в широтном направлении. Климат района резко континентальный, сухой, с суровой продолжительной зимой и коротким жарким летом. Среднегодовое количество осадков 260 мм.

С поверхности залегает 100-метровая толща нескальных (частично полускальных) отложений, представленных супесями, суглинками и песками, глинами с прослойками песков, опоками и песчаниками, песками и глинистыми породами коры выветривания коренных скальных пород.

Рудоносная толща приурочена к комплексу скальных пород, залегающих на глубине 100 м от поверхности земли с общим падением на восток под углом от 55 до 85°.

В лежачем боку рудоносной толщи залегают туфы и туфобрекчии андезитовых порфиритов с прослоями андезитовых порфиритов и непосредственно контактирующие с рудными телами известняки, кавернозные и закарстованные.

Рудоносная толща сложена скарнированными и скаполитовыми породами и магнетитовыми рудами в виде расчлененных рудных тел, редких и мелких вверху и более крупных на глубинах 300 - 800 м, где сосредоточены основные запасы руды.

В висячем боку залегают туффиты, диабазовые порфириты, туфы и туфобрекчии андезитовых и базальтовых порфиритов.

В верхней части скальные породы разрушены и трещиноваты; в толще наблюдаются многочисленные субширотные и субмеридиональные тектонические нарушения скального массива.

Подземные воды верхней части покровной толщи (над опоками) пресные; они практически не связаны с минерализованными водами, заключенными в опоках, песчаниках и нижних песках, имеющими общее свободное зеркало ниже кровли опок. Водоносные породы верхней части покровной толщи маловодообильны и подстилаются не менее чем десятиметровым слоем (в среднем 20 м) глин.

Воды опок, песчаников и нижних песков имеют весьма отдаленную область питания, что обусловливает их высокую минерализацию, но при глубоком водопонижении они будут питаться из реки, и это обеспечит их стабильный приток к руднику. Уровень подземных вод в опоковой толще на отметке +10 м со свободным зеркалом, средний коэффициент фильтрации этих водоносных пород (опок, песчаников, песков), залегающих над глинистой корой выветривания k = 10 м/сут.

Воды рудоносной толщи в общем имеют напорный характер: верхним водоупором являются глины коры выветривания, но в них имеются «окна», в частности, над рудой (где пески непосредственно лежат на скальных породах), через которые осуществляется гидравлическая связь подземных вод обеих толщ. Породы палеозоя характеризуются большой трещиноватостью и в некоторой части существенной водообильностью; по фильтрационным свойствам выделяются три зоны: полоса известняков - k = 1 м/сут; рудная зона - k = 0,3 м/сут; вулканогенные породы - k = 0,1 м/сут.

В пределах толщи установлена вертикальная градация, связанная с уменьшением с глубиной трещиноватости и закарстованности:

от -55 до -65 м - зона скальных пород, затронутых выветриванием, с низкими фильтрационными свойствами, обусловленными кольматацией трещин (за исключением зон известняков); среднее значение k = 0,2 м/сут;

от -65 до -110 м - зона максимальной водообильности (наибольшее количество карстовых полостей, открытых трещин); среднее значение k = 0,7 м/сут;

от -110 до -175 м - зона пониженной водообильности; среднее значение k = 0,1 м/сут;

глубже -175 м - зона низкой водообильности.

Основные запасы руды, залегающей на глубине более 300 м, необходимо разработать подземным способом, в то же время недопустимо терять верхние, хотя и не очень крупные запасы руд, а их разработка открытым способом нерентабельна. Поэтому на первый план выдвигается проектное решение об освоении и эксплуатации всего месторождения на всю высоту подземным способом.

Рассмотрим защиту подземного рудника при разработке руды с обрушением налегающих и вмещающих пород. Рудник разбивается на этажи через 60 - 70 м. Горизонты подготовительных выработок определены: -140 м (вентиляционный), -200, -260, -330, -400 м и далее через 70 м.

Границы шахтного поля по простиранию - 2 км, по падению - 1 км.

По площади порядок отработки определен с юга на север, по вертикали - сверху вниз.

Вскрытие месторождения осуществляется со стороны лежачего бока двумя центральными стволами: главным и вспомогательным и двумя фланговыми стволами: южным и северным вентиляционными.

Очистные работы предусматриваются с применением, в основном, системы этажного принудительного обрушения (на рудных телах толщиной более 20 м) и системы подэтажных штреков (на рудных телах толщиной менее 20 м).

Применение указанных систем разработки полезного ископаемого представляется наиболее экономичным в данных условиях и облегчается тем, что крепость вмещающих пород выше, чем руды.

В подобных условиях принудительное обрушение пород может быть допущено лишь при условии полного осушения вовлекаемых в разработку и обрушение водоносных пород рудоносного комплекса и нижней части покровной толщи, включая надрудные пески, песчаники и опоки. Необходимости осушения самых верхних водоносных слоев в данных условиях не имеется - водоносность верхней части покровной толщи не представляет опасности при разработке, руды подземным способом даже с обрушением налегающих и вмещающих пород.

Практически полного осушения водоносных пород, непосредственно залегающих на рудоносной толще в условиях, подобных рассматриваемым в настоящем примере, как показывает опыт, можно достигнуть с помощью внешних и внутрирудничных водопонизительных устройств. С помощью внешней кольцевой водопонизительной системы можно снизить напор подземных вод на удаленном расстоянии от рудника - на контуре системы и снизить градиенты напора и расход фильтрационного потока в сторону к внутрирудничным водопонизительным устройствам, предназначенным для ускорения сработки статических запасов подземных вод и в пространстве, ограниченном контуром внешней водопонизительной системы. Отбор воды следует осуществлять из надрудных песков и водоносных пород рудоносного комплекса.

Учитывая, что месторождение вскрывается четырьмя стволами и большим количеством подготовительных выработок, целесообразную систему защиты намечаем в следующем виде.

Вдоль контура зоны сдвижения горных пород на конец отработки месторождения предусматриваем кольцевую систему из подземных дренажных выработок и сквозных фильтров (черт. 32). Дренажные выработки предусматриваем из двух стволов (южного и северного вентиляционных) в подошве наиболее водообильной зоны палеозойских пород на горизонте -110 м. Внутри рудного контура предусматриваем систему забуриваемых с поверхности водопонизительных скважин, располагаемых вдоль подготовительных выработок на горизонтах -200 и -260 м и вентиляционной выработки на горизонте -140 м. Эти скважины вначале будут работать с насосами, а по мере готовности подготовительных выработок будут с ними сбиты и переоборудованы в сквозные фильтры. Кроме всех этих основных водопонизительных устройств, в проекте должны быть предусмотрены самоизливающиеся скважины, забуриваемые:

из дренажных штреков - восстающие на надрудные пески (черт. 33), располагаемые в промежутках между сквозными фильтрами;

из подготовительных выработок - опережающие забой - в направлении проходки, а также направленные на установленные разведкой зоны водообильных скальных пород (см. черт. 33);

из нарезных выработок - направленные в различные стороны в соответствии с местной гидрогеологической обстановкой для осушения разрабатываемых рудных тел и обрушаемых затем окружающих выработки пород (черт. 34).

Описание: 32

Черт. 32. Общая схема системы осушения

1 - известняки; 2 - железные руды; 3 - диабазовые порфирита; 4 - андезитовые порфириты; 5 - вулканические брекчии; 6 - туфы и туфобрекчии; 7 - туфобрекчии андезитовых и базальтовых порфиритов; 8 - туффиты; 9 - участки, где надрудные пески залегают на скатных породах; 10 - линии тектонического нарушения; 11 - контур зоны сдвижения по поверхности подземного рудника; 12 - вентиляционные дренажные стволы; 13 - главный и вспомогательный шахтные стволы; 14 - дренажные выработки горизонта -110 м со сквозными фильтрами и восстающими скважинами; 15 - вентиляционные выработки горизонта -140 м с дренажными устройствами; 16 - подготовительные выработки горизонта -200 м с дренажными устройствами; 17 - подготовительные выработки горизонта -260 м с дренажными устройствами; 18 - центральная насосная станция горизонта -400 м; 19 - насосные станции горизонта -110 м

Описание: 33

Черт. 33. Разрез 1-1 (см. черт. 41)

1 - супеси; 2 - опоки и опоковые глины; 3 - пески; 4 - глины; 5 - песчаники; 6 - кора выветривания палеозойских пород; 7 - порфириты; 8 - туфы и туфобрекчии; 9 - вулканические брекчии; 10 - туффиты; 11 - известняки; 12 - диабазовые порфирита; 13 - руды; 14 - тектонические нарушения; 15 - горные выработки с восстающими скважинами; 16 - уровень подземных вод в верхних песках; 17 - уровень подземных вод в надрудных песках и в руде; 18 - пониженный уровень подземных вод; 19 - шахтные стволы; 20 - сквозные фильтры

Черт. 34. Система самоизливающихся скважин вокруг камеры перед началом взрывов

1 - пониженный уровень подземных вод перед обрушением потолочины камеры; 2 - самоизливающиеся скважины; 3 - линия, отделяющая потолочину, обрушаемую во II очередь; 4 - перемычки; 5 - вентиляционные выработки; 6 - откаточные выработки; 7 - камера (очистное пространство); 8 - скважины для размещения взрывных веществ, используемые для стока воды из рудного тела

Должно быть предусмотрено также устройство вспомогательных перемычек, предотвращающих в случае прорывов воды и песчано-глинистых пород, поступление их на другие горизонты. Подземные насосные станции целесообразно предусматривать: у каждого ствола, из которого ведется проходка дренажных штреков на горизонте -110 м, а у вспомогательного ствола - на горизонте -400 м - главную и при необходимости на других откаточных горизонтах - участковые.

Внутрирудничные устройства и мероприятия в период строительства рудника и в начальный период его эксплуатации играют важную роль и должны выполняться с повышенной интенсивностью. По мере осушения и сработки уровней в надрудных водоносных слоях - в песках, песчаниках, опоках и соответственно в рудной зоне, потребность во внутрирудничных средствах будет снижаться. Особенно это станет заметным после отработки верхних этажей, когда возрастет связь между водами надрудной и рудоносной толщ и усилится дренирующая роль самих подземных выработок.

Защита рудника от поверхностного стока на этом месторождении должна заключаться в устройстве нагорных канав, местных водотоков и в соответствующих планировочных работах на участках шахтных стволов, где поверхностные воды должны быть отведены от сооружений.

Порядок ввода в действие сооружений и устройств выбранной системы защиты, отвечающий требованиям п. 1.19 СНиП 2.06.14-85, следующий:

1) должны быть организованы и соответственно защищены от поверхностного стока площадки шахтных стволов, а затем должны быть выполнены и другие защитные от поверхностных вод мероприятия; поскольку стволы на этом месторождении целесообразно проходить с применением замораживания грунтов, то до начала проходки шахтных стволов должны быть выполнены необходимые льдопородные завесы; в первую очередь (причем заблаговременно) должны быть пройдены три шахтных ствола, из которых будут проходиться подземные дренажные выработки, южный и северный вентиляционные и вспомогательный;

2) водопонизительные скважины следует вводить группами, равномерно распределенными по контуру площади территории рудника, из расчета:

для скважин внешней системы - на достижение понижения на контуре в надрудной и рудной толщах до глубины, на 5 - 7 м превышающей подошву песков - к началу очистных работ;

для скважин над подземными выработками рудника - на сработку к этому же сроку статических запасов подземных вод в надрудной толще, в контуре внешней системы;

учитывая срок строительства рудника до начала очистных работ (5 лет), а также необходимость некоторого времени на организацию строительной площадки и устройство водопонизительных скважин, контрольный срок продолжительности откачки для достижения требуемого понижения составит примерно 3 года; первые водопонизительные скважины на контуре потребуется вводить в действие с погружными насосами, в дальнейшем они могут выполняться сразу как сквозные фильтры; поэтапность ввода водопонизительных скважин и последующих мероприятий позволит корректировать определенные расчетом объемы водопонизительных работ и, в частности, число водопонизительных скважин и расходы откачек;

3) в период проходки подготовительных выработок, которые следует вести одновременно на трех горизонтах: -140, -200 и -260 м (с опережением верхних горизонтов в зависимости от производственных возможностей) следует выполнять и вводить в действие самоизливающиеся скважины, забуриваемые из дренажных и подготовительных выработок; в проекте должна быть предусмотрена возможность переоборудования, при необходимости (с учетом требований п. 4), восстающих скважин, забуриваемых на пески и на руду в вакуумные, путем подключения к ним вакуумных установок типа УВВ или других для ускорения осушения песков и руды;

4) к моменту начала очистных работ может быть допущен разрыв уровней подземных вод в надрудных песках и рудоносной зоне, при этом уровень подземных вод в надрудных песках (над первоочередными камерами) не должен превышать их подошву свыше 5 - 7 м, а в рудной зоне перед взрывами должны быть осушены от гравитационной воды взрываемые руда и окружающие ее породы.

Остаточный уровень в надрудных песках (5 - 7 м) в данных условиях не предъявляет опасности: при взрывах порода разрыхляется, и то количество воды, которое попадет в выработанное пространство выше горизонта -140 м, лишь несколько повысит влажность заполнившей его породы, а со временем уровень подземных вод над рудой сработается полностью.

При проектировании следует рассматривать и другие возможные проектные решения, в частности, использование для контурной системы водопонизительных скважин, оборудованных насосами, взамен дренажных штреков со сквозными фильтрами, восстающими скважинами и подземными насосными станциями на горизонте -110 м.

3. ОРГАНИЗАЦИЯ ВНУТРИКАРЬЕРНОГО СТОКА И КАРЬЕРНЫЙ ВОДООТЛИВ

Общие положения

3.1. Организация внутрикарьерного стока преследует следующие цели:

а) предотвратить обычно сопутствующие неорганизованному стоку размыв и разрушение откосов карьера (разреза);

б) сократить инфильтрацию воды в горные породы и фильтрацию ее к водопонизительным устройствам или в сторону к откосам на более низких горизонтах;

в) создать условия, при которых попадающие в карьер воды не препятствуют эффективному ведению горных работ;

г) организовать централизованный водоотлив и сосредоточенный водоотвод, облегчающие дальнейшее удаление, использование или сброс рудничных вод в отведенное место.

3.2. Карьер (разрез) должен быть огражден нагорными канавами и, при необходимости, защитными дамбами для сведения к минимуму возможности попадания в него поверхностного стока с прилегающей территории и вод из поверхностных водоемов и водотоков 5 %-ной обеспеченности.

3.3. Система организации внутрикарьерного стока и карьерного водоотлива в общем случае включает дождевую сеть, насосные станции с водосборниками, отдельные насосные установки с зумпфами, трубопроводы.

В некоторых случаях можно отводить воды из карьера или с части его уступов к местам сброса самотеком.

3.4. При проектировании организации внутрикарьерного стока и карьерного водоотлива должны быть учтены:

а) подземные воды, высачивающиеся в карьер (разрез), приток которых определяется на основании гидрогеологических расчетов (см. разд. 14);

б) утечки технологических, хозяйственных и бытовых вод в карьере (разрезе); размеры утечек принимаются по данным горной части проекта предприятия;

в) воды, образующиеся из атмосферных осадков, выпадающих на площадь, ограниченную защищающими карьер (разрез) нагорными канавами и дамбами; в случае отсутствия с одной из сторон выработки опасности проникновения в нее поверхностных вод и, нет защитных ограждающих устройств, граница рассматриваемой площади на неогражденном участке карьера (разреза) принимается вдоль его бровки; величина расчетного карьерного стока, образующегося из атмосферных осадков, определяется расходами дождевых вод обеспеченностью, устанавливаемой для различных расчетных случаев в соответствии с рекомендациями пп. 3.5 - 3.7.

3.5. При проектировании дождевой сети расчетный приток дождевых вод следует определять методом предельных интенсивностей, исходя из периода однократного превышения расчетной интенсивности дождя, равного 5 годам, а для особо ответственных объектов или опасных в отношении устойчивости бортов выработок (в случаях, специально оговоренных в задании на проектирование) - 10 годам (см. п. 5.5. СНиП 2.06.14-85), что соответствует в первом случае - 20 %-ной, а во втором - 10 %-ной обеспеченности интенсивности дождя.

3.6. При проектировании главной (и участковой) насосной станции, согласно требованиям Единых правил безопасности при разработке месторождений полезных ископаемых открытым способом (п. 482), необходимо предусматривать подачу рабочих насосов, обеспечивающую откачку в течение не более 20 ч максимально ожидаемого суточного притока воды, который рекомендуется принимать с учетом вод по п. 3.4,а, б и притока дождевых вод, определяемого исходя из суточного слоя осадков при периоде его однократного превышения 0,33 года, а для особо ответственных объектов (см. п. 3.5) - 1 год.

3.7. При проектировании водосборников согласно п. 3.12 СНиП 2.06.14-85 должна быть обеспечена их вместимость (с использованием по возможности выработанного пространства) у главной и каждой участковой насосной станции, как правило, равная объему расчетного стока, который рекомендуется принимать за время 1 сут с учетом вод по п. 3.4,а, б и притока дождевых вод, определяемого исходя из суточного слоя осадков при периоде его однократного превышения 5 лет, а для особо ответственных объектов (см. п. 3.5) - 10 лет за вычетом воды, откачиваемой за это же время (1 сут) насосной станцией; при невозможности выполнения этого требования в проекте должны быть предусмотрены необходимые мероприятия, позволяющие временное затопление нижних рабочих горизонтов, и водосборники вместимостью, равной не менее 3-часового нормального притока вод (по п. 3.4,а, б).

Предусматриваемые мероприятия (в основном, в части размещения оборудования систем и методов разработки) должны исключать возникновение существенных затруднений при производстве горных работ и допускать нормальную эксплуатацию карьера (разреза) и при дождях, превышающих расчетную интенсивность, а также при таянии снега. В необходимых случаях следует допускать откачку повышенных притоков карьерных вод не только рабочими, но и резервными насосами.

Расчет поверхностного стока в карьере

3.8. Расчетный приток дождевых вод qr, л/с, к лоткам и канавкам на уступах карьера (разреза) по методу предельных интенсивностей следует определять по формуле

                                                      (1)

где zmid - среднее значение коэффициента, характеризующего поверхность бассейна стока, которое рекомендуется определять как средневзвешенную величину исходя из значений z, приведенных в табл. 2.

Таблица 2

Поверхность

z

ψmt

Все грунтовые поверхности, кроме задернованных и открытых песчаных пород

0,064

0,15

Задернованные поверхности

0,038

0,09

Обнаженные в карьере поверхности песчаных пород

0,032

0,075

Примечание. Приведенные значения коэффициентов z и ψmt можно уточнять по местным условиям на основании соответствующих исследований.

А - параметр, определяемый по формуле

                                                         (2)

здесь q20 - интенсивность дождя, л/с на 1 га, для данной местности продолжительностью 20 мин при Р = 1 год, определяемая по черт. 35;

п - показатель степени, определяемый по табл. 3;

P - период однократного превышения интенсивности дождя, принимаемый в соответствии с п. 3.5 и заданием на проектирование;

mr - среднее число дождей за год, принимаемое по табл. 3;

γ - показатель степени, принимаемый по табл. 3;

F - расчетная площадь стока, га, принимаемая в соответствии с п. 3.4,в;

tr - расчетная продолжительность дождя, равная продолжительности протекания дождевых вод по поверхности и водостокам до расчетного участка, мин, определяемая по формуле

tr = tcon + tcan +tp,                                                           (3)

tcon - продолжительность протекания дождевых вод до канавы на первом (верхнем) уступе, принимаемая равной 5 - 10 мин, а для канав на остальных уступах - 2 - 3 мин;

tcan - то же, по канавам до сбросной линии, мин, определяемая по формуле

                                                           (4)

lcan - длина расчетного участка канавы от водораздела до сбросной линии, м;

vcan - расчетная скорость течения в канаве на участке, м/с;

tp - продолжительность протекания дождевых вод по трубам сбросной линии до рассчитываемого сечения, мин, определяемая по формуле

                                                             (5)

lp - длина расчетного участка сбросной линии, м;

νp - расчетная скорость течения на участке, м/с;

при tr = 5 мин в формулу (1) вводится поправочный коэффициент, равный 0,8;

K - коэффициент, учитывающий неравномерность выпадения дождя по площади и принимаемый по табл. 4.

Таблица 3

Район

Значение п при

mr

γ

Значение μ при

Р 1

Р < 1

P = 0,33

Р = 1

Побережья Белого и Баренцева морей

0,40

0,35

130

1,33

0,48

0,68

Север европейской части СССР и Западной Сибири

0,62

0,48

120

1,33

0,47

0,68

Равнинные области запада и центра европейской части СССР

0,71

0,59

150

1,54

0,44

0,65

Равнинные области Украины

0,71

0,64

110

1,54

0,42

0,64

Возвышенности европейской части СССР, западный склон Урала

0,71

0,59

150

1,54

0,44

0,65

Восток Украины, низовье Волги и Дона, Южный Крым

0,67

0,57

60

1,82

0,31

0,55

Нижнее Поволжье

0,66

0,66

50

2,0

0,26

0,50

Наветренные склоны возвышенностей европейской части СССР и Северное Предкавказье

0,70

0,66

70

1,54

0,39

0,60

Ставропольская возвышенность, северные предгорья Большого Кавказа, северный склон Большого Кавказа

0,63

0,56

100

1,82

0,35

0,58

Южная часть Западной Сибири, среднее течение р. Или, район оз. Але-Куль

0,72

0,58

80

1,54

0,40

0,62

Центральный и Северо-Восточный Казахстан, предгорья Алтая

0,74

0,66

80

1,82

0,34

0,56

Северные склоны Западных Саян, Заилийского Алатау

0,57

0,57

80

1,33

0,45

0,66

Джунгарский Алатау, Кузнецкий Алатау, Алтай

0,61

0,48

140

1,33

0,48

0,68

Северный склон Западных Саян

0,49

0,33

100

1,54

0,41

0,63

Средняя Сибирь

0,69

0,47

130

1,54

0,43

0,64

Хребет Хамар-Дабан

0,48

0,35

130

1,82

0,37

0,59

Восточная Сибирь

0,60

0,52

90

1,54

0,40

0,62

Бассейны Шилки и Аргуни, долина Среднего Амура

0,65

0,54

100

1,54

0,41

0,63

Бассейны Колымы и рек Охотского моря, северная часть Нижнеамурской низменности

0,36

0,48

100

1,54

0,41

0,63

Побережье Охотского моря, бассейны рек Берингова моря, центр и запад Камчатки

0,35

0,31

80

1,54

0,40

0,62

Восточное побережье Камчатки южнее 56° с. ш.

0,28

0,26

110

1,54

0,42

0,64

Побережье Татарского пролива

0,35

0,28

110

1,54

0,42

0,64

Район оз. Ханка

0,65

0,57

90

1,54

0,40

0,62

Бассейны рек Японского моря, о. Сахалин, Курильские о-ва

0,45

0,44

110

1,54

0,42

0,64

Юг Казахстана, равнина Средней Азии и склоны гор до 1500 м, бассейн оз. Иссык-Куль до 2500 м

0,44

0,40

40

1,82

0,27

0,51

Склоны гор Средней Азии на высоте 1500 - 3000 м

0,41

0,37

40

1,54

0,33

0,56

Юго-Западная Туркмения

0,49

0,32

20

1,54

0,25

0,51

Черноморское побережье и западный склон Большого Кавказа до Сухуми

0,62

0,58

90

1,54

0,40

0,62

Побережье Каспийского моря и равнина от Махачкалы до Баку

0,51

0,43

60

1,82

0,31

0,55

Восточный склон Большого Кавказа, Кура-Араксинская низменность до 500 м

0,58

0,47

70

1,82

0,33

0,55

Южный склон Большого Кавказа выше 1500 м, южный склон выше 500 м, ДагАССР

0,57

0,52

100

1,54

0,41

0,63

Побережье Черного моря ниже Сухуми, Колхидская низменность, склоны Кавказа до 2000 м

0,54

0,50

90

1,33

0,45

0,66

Бассейн р. Куры, восточная часть Малого Кавказа, Талышский хребет

0,63

0,52

90

1,33

0,45

0,66

Северо-Западная и центральная части Армении

0,67

0,53

100

1,33

0,46

0,67

Ленкорань

0,44

0,38

171

2,2

0,32

0,55

Описание: 35

Черт. 35. Значения величин интенсивности дождя q20

Таблица 4

Площадь стока, га

500

500

1000

2000

4000

Значение коэффициента K

1

0,95

0,90

0,85

0,8

Пример 16. Определить расчетные расходы водоотводной канавы на участке B1А, расположенной на первом (верхнем) уступе карьера, при средней скорости течения в канаве 0,70 м/с и сбросной линии АБ, отводящей воду из примыкающих к ней водоотводных канав (черт. 36) исходя из средней скорости воды в трубах 5 м/с. Карьер расположен в районе Курской обл.

Расчетная площадь стока для рассчитываемого участка водоотводной канавы от водораздельной точки B1 до сопряжения со сбросной линией в точке А слагается из территории между нагорной канавой и бровкой карьера с задернованной грунтовой поверхностью (3,5 га) и обнаженной в верхнем откосе поверхностью песчаных пород (0,5 га); длина расчетного участка канавы (от наиболее удаленной точки B1 до рассматриваемого сечения в точке А) составляет 350 м.

Расчетная площадь стока для рассчитываемого участка сбросной линии включает площадь одернованной территории между нагорной канавой и бровкой карьера на участке B1B2 (между двумя водоразделами) и участка борта карьера между этими же водоразделами B1 и В2, бровкой карьера и лотком на кровле скальных пород, представленного поверхностью песчаных пород (0,5 + 0,9 + 2,3 + 1,0 + 1,5 = 6,2 га) и поверхностью прочих пород (1,1 + 3,2 + 0,7 + 2,5 = 7,5 га); длина расчетного участка сбросной линии (от примыкающей водоотводной канавы на первом уступе до лотка на кровле скальных пород составляет 220 м).

Определяем среднее значение коэффициентов стока zmid в зависимости от принимаемых по табл. 2 коэффициентов z, характеризующих поверхность стока:

для водосборной площади участка канавы

для водосборной площади участка сбросной линии

Описание: 36

Черт. 36. Участок борта карьера (к примеру 16)

1 - задернованная поверхность; 2 - обнажения в карьере поверхности песчаных пород; 3 - прочие породы; 4 - нагорная канава; 5 - водоотводные канавы; 6 - сбросная линия; 7 - водосбросной лоток на уровне скальных пород

Принимаем продолжительность протекания дождевых вод до канавы на первом (верхнем) уступе, tcon, равной 10 мин.

Определяем по формуле (4) продолжительность протекания дождевых вод по канаве на первом (верхнем) уступе карьера от наиболее удаленной точки (точка B1) до сбросной линии при vcan = 0,7 м/с

Определяем по формуле (5) продолжительность протекания дождевых вод по трубам сбросной линии до лотка на кровле скальных пород (до точки Б) при vp = 5 м/с

Продолжительность протекания дождевых вод до рассчитываемых сечений tr определяем по формуле (3):

в точке А водоотводной канавы

tr = 10 + 10,5 = 20,5 мин;

в точке Б сбросной линии

tr = 10 + 10,5 + 0,75 = 21,25 мин.

Определяем значения величин, входящих в формулу (2):

интенсивность дождя, л/с на 1 га, продолжительностью 20 мин при P = 1 год (< q20) для района Курской обл. находим по карте черт. 44: q20 = 90 л/с;

период однократного превышения расчетной интенсивности дождей, P, принимаем в соответствии с п. 3.5 - P = 5 лет;

показатели степени n и γ среднее число дождей за год mr, находим по табл. 3 как для района равнинных областей запада и центра европейской части СССР: n = 0,71; γ = 1,54; mr = 150.

По формуле (2) определяем параметр А

Определяем по формуле (1) расчетные расходы дождевых вод qr в рассчитываемых сечениях, принимая согласно табл. 4 коэффициент K равным 1:

в точке А водоотводной канавы

в точке Б сбросной линии

3.9. Суточный приток дождевых вод в карьер (разрез) Qp, м3/сут, определяют по формуле

Qp = 10KψmtHpF,                                                 (6)

где ψmt - среднее значение общего коэффициента суточного стока, вычисляемое как среднее взвешенное для расчетной площади по частным значениям ψ, приведенным в табл. 2 или определяемое по формуле

                                                     (7)

Hp - слой суточных осадков при периоде его однократного превышения Р, лет; значения Hp принимаются по данным ближайших метеостанций; при отсутствии данных метеостанций допускается принимать значения Hp при Р = 5 годам и 10 годам по табл. 5; а для P = 0,33 года и P = 1 году вычислять по формуле

Hp = μpH5;                                                                      (8)

                                                         (9)

Значения μ0,33 и μ1 для различных районов СССР приведены в табл. 3.

Пример 17. Для карьера, расположенного в районе Самарканда, определить суммарные притоки поверхностных вод, необходимую подачу рабочих насосов карьерной насосной станции и требуемую вместимость водосборников. Приток в карьер подземных вод, фильтрующих в обход дренажных устройств - 400 м3/ч; потери бытовых и технологических вод в карьере - 100 м3/ч. Площадь водосбора F = 1000 га, 30 % водосборной площади - вскрытые в карьере пески с общим коэффициентом стока ψ = 0,075, для остальной части водосборной площади ψ = 1,15.

В соответствии с п. 3.6 приток поверхностных вод для подбора оборудования насосной станции определяем из периода однократного превышения P = 0,33 года.

Значение коэффициента μ0,33 находим по табл. 3, как для юга Казахстана, равнин Средней Азии и склонов гор высотой до 1500 м - μ0,33 = 0,27.

Слой осадков при P = 5 лет для района Самарканда согласно табл. 5 H5 = 33 мм.

Расчетный слой осадков при P = 0,33 года определяем по формуле (8)

H0,33 = 0,27·33 = 8,91.

Коэффициент K, учитывающий неравномерность выпадения осадков по площади F = 1000 га, согласно табл. 4 К = 0,9.

Средний коэффициент стока

ψmt = 0,075·0,3 + 0,15·0,7 = 0,1275.

Расчетный суточный сток дождевых вод в карьере для подбора оборудования насосной станции по формуле (6)

Q0,33 = 10·0,9·0,1275·8,91·1000 = 10224,2 м3/сут.

Суммарный расчетный суточный сток поверхностных вод в карьере:

ΣQ = 10224,2 + 400·24 + 100·24 ≈ 22224 м3.

Необходимая подача рабочих насосов Qp насосной станции:

Расчетный суточный приток к карьеру для определения вместимости водосборников согласно п. 3.7 определяем по формуле (6) при Р = 5 лет и суточном слое осадков (по табл. 5) H5 = 33 мм:

Q5 = 10·0,9·0,1275·33·1000 = 37868 м3/сут.

Суммарный расчетный сток в карьере для расчета водосборников:

ΣQ = 37868 + 400·24 + 100·24 = 49868 м3.

Необходимая вместимость Qc, м3, водосборника, принимая подачу рабочих и резервных насосов 1500 м3/ч получим

Qc = 49868 - 1500·24 ≈ 14000 м3.

Таблица 5

Республика, край, область, пункт

Суточный максимум осадков, мм, при P, лет

Республика, край, область, пункт

Суточный максимум осадков, мм, при P, лет

5

10

5

10

РСФСР

 

 

Чита

39

46

Алтайский край

 

 

Чувашская АССР

 

 

Алейск

32

39

Порецкое

43

56

Барнаул

37

46

Чебоксары

40

50

Бийск

36

41

Якутская АССР

 

 

Змеиногорск

40

52

Алдан

38

45

Родино

26

33

Верхоянск

20

25

Тогул

30

34

Вилюйск

35

46

Амурская обл.

 

 

Витим

33

43

Гош

60

71

Зырянка

32

36

Тында

53

60

Казачье

26

37

Усть-Нюкжа

51

65

Кюсюр

27

33

Архангельская обл.

 

 

Ленск

45

56

Архангельск

37

43

Нюрба

38

61

Варандей

25

30

Олекминск

31

37

Индига

28

34

Саскылах

23

25

Онега

32

38

Среднеколымск

20

24

Яренск

39

47

Сюрен-Кюель

38

44

Астраханская обл.

 

 

Томпо

23

25

Астрахань

31

40

Чульман

44

54

Верхний Баскунчак

29

35

Шелагонцы

33

44

Харабали

25

31

Якутск

30

35

Башкирская АССР

 

 

Ярославская обл.

 

 

Белорецк

36

42

Ростов

44

53

Бирск

34

37

Некрасовское

38

46

Мелеуз

36

42

Украинская ССР

 

 

Уфа

35

40

Винницкая обл.

 

 

Янаул

38

49

Крыжополь

56

70

Белгородская обл.

 

 

Жмеринка

49

57

Белгород

45

54

Волынская обл.

 

 

Брянская обл.

 

 

Луцк

46

58

Брянское лесничество

43

51

Днепропетровская обл.

 

 

Бурятская АССР

 

 

Днепропетровск

44

52

Бабушкин

64

81

Донецкая обл.

 

 

Баргузин

36

44

Мариуполь, порт

48

59

Кяхта

42

53

Волноваха

43

52

Монды

39

45

Житомирская обл.

 

 

Улан-Удэ

42

52

Житомир

44

54

Владимирская обл.

 

 

Закарпатская обл.

 

 

Владимир

45

53

Ужгород

53

59

Муром

41

48

Берегово

42

48

Волгоградская обл.

 

 

Запорожская обл.

 

 

Волгоград

37

46

Бердянск

46

55

Камышин

34

41

Запорожье

52

63

Котельниково

38

42

Ивано-Франковская обл.

 

 

Урюпинск

40

50

Ивано-Франковск

50

60

Эльтон

36

45

Киевская обл.

 

 

Вологодская обл.

 

 

Киев

51

61

Вытегра

40

49

Кировоградская обл.

 

 

Тотьма

41

45

Кировоград

48

58

Воронежская обл.

 

 

Крымская обл.

 

 

Воронеж

44

54

Евпатория

44

58

Дагестанская АССР

 

 

Симферополь

57

72

Ахты

36

43

Феодосия

45

57

Дербент

50

66

Ялта

71

89

Махачкала

47

57

Львовская обл.

 

 

Ивановская обл.

 

 

Рава-Русская

50

57

Иваново

41

49

Стрый

52

62

Кинешма

38

44

Турка

59

69

Иркутская обл.

 

 

Николаевская обл.

 

 

Бодайбо

40

46

Николаев

56

71

Братск

40

52

Одесская обл.

 

 

Илимск

33

39

Любашевка

50

60

Иркутск

49

58

Одесса

46

56

Киренск

40

50

Полтавская обл.

 

 

Невон

36

43

Полтава

50

64

Орлинга

38

46

Ровенская обл.

 

 

Перевоз

41

46

Сарны

56

66

Слюдянка

57

73

Сумская обл.

 

 

Тайшет

40

49

Сумы

43

52

Кабардино-Балкарская АССР

 

 

Тернопольская обл.

 

 

Нальчик

60

71

Тернополь

48

58

Калининградская обл.

 

 

Харьковская обл.

 

 

Калининград

51

64

Харьков

45

54

Калининская обл.

 

 

Херсонская обл.

 

 

Калинин

40

48

Херсон

44

52

Калмыцкая АССР

 

 

Хмельницкая обл.

 

 

Элиста

43

48

Шепетовка

49

56

Калужская обл.

 

 

Каменец-Подольский

52

59

Калуга

50

63

Черкасская обл.

 

 

Камчатская обл.

 

 

Умань

52

65

Ключи

41

48

Черниговская обл.

 

 

Козыревск

34

38

Чернигов

43

52

Мильково

36

42

Черновицкая обл.

 

 

Начики

62

76

Черновцы

54

62

Петропавловск-Камчатский

133

160

Белорусская ССР

 

 

Соболево

65

79

Брестская обл.

 

 

Усть-Камчатск

39

46

Брест

50

60

Карельская АССР

 

 

Витебская обл.

 

 

Кемь

40

48

Витебск

48

59

Кондопога

33

38

Гомельская обл.

 

 

Олонец

34

42

Гомель

48

58

Паданы

30

37

Гродненская обл.

 

 

Петрозаводск

40

50

Гродно

50

66

Кемеровская обл.

 

 

Минская обл.

 

 

Кемерово

32

37

Минск

42

49

Кондома

49

54

Могилевская обл.

 

 

Мариинск

38

46

Могилев

43

49

Тайга

39

48

Узбекская ССР

 

 

Кировская обл.

 

 

Андижанская обл.

 

 

Киров

41

48

Андижан

29

34

Савали

36

43

Бухарская обл.

 

 

Коми АССР

 

 

Навои

26

30

Петрунь

27

31

Джизакская обл.

 

 

Сыктывкар

36

42

Джизак

41

48

Усть-Шугор

34

40

Каракалпакская АССР

 

 

Костромская обл.

 

 

Муйнак

24

28

Кострома

39

43

Нукус

23

31

Краснодарский край

 

 

Чимбай

18

21

Кропоткин

43

49

Кашкадарьинская обл.

 

 

Новороссийск

73

90

Мубарек

26

31

Сочи

105

126

Карши

29

34

Староминская

56

68

Наманганская обл.

 

 

Темрюк

51

62

Наманган

26

32

Туапсе

109

132

Самаркандская обл.

 

 

Красноярский край

 

 

Самарканд

33

38

Ачинск

37

49

Каттакурган

32

39

Боготол

42

53

Сурхандарьинская обл.

 

 

Богучаны

38

45

Денау

41

49

Верхнеимбатск

33

37

Термез

22

25

Канск

36

45

Сырдарьинская обл.

 

 

Кежма

26

30

Мирзачуль

28

34

Красноярск

44

58

Ташкентская обл.

 

 

Минусинск

32

38

Ташкент

35

40

Курганская обл.

 

 

Чарвак

53

62

Курган

37

45

Ферганская обл.

 

 

Курская обл.

 

 

Фергана

24

30

Курск

49

64

Хорезмская обл.

 

 

Ленинградская обл.

 

 

Ургенч

18

21

Ленинград

38

47

Казахская ССР

 

 

Свирица

40

50

Актюбинская обл.

 

 

Липецкая обл.

 

 

Актюбинск

32

38

Липецк

40

50

Челкар

26

33

Магаданская обл.

 

 

Эмба

28

34

Анадырь

27

33

Алма-Атинская обл.

 

 

Атка

29

35

Алма-Ата

47

53

Нагаева бухта

51

59

Восточно-Казахстанская обл.

 

 

Омсукчан

21

26

Зайсан

32

38

Усть-Олой

23

32

Катон-Карагай

33

38

Ямск

38

46

Усть-Каменогорск

35

41

Марийская АССР

 

 

Зыряновское

36

42

Йошкар-Ола

36

44

Гурьевская обл.

 

 

Мордовская АССР

 

 

Гурьев

28

36

Саранск

43

55

Джамбульская обл.

 

 

Московская обл.

 

 

Джамбул

36

42

Павловский Посад

47

58

Джезказганская обл.

 

 

Москва

39

46

Джезказган

20

24

Мурманская обл.

 

 

Карсакпай

20

24

Мончегорск

32

39

Карагандинская обл.

 

 

Мурманск

28

32

Каркаралинск

32

39

Хибины

31

36

Кзыл-Ординская обл.

 

 

Нижегородская обл.

 

 

Аральское море

23

28

Нижний Новгород

38

47

Казалинск

24

30

Новгородская обл.

 

 

Кзыл-Орда

20

26

Новгород

40

48

Кокчетавская обл.

 

 

Новосибирская обл.

 

 

Кокчетав

34

40

Кочки

39

47

Кустанайская обл.

 

 

Купино

44

53

Кустанай

35

43

Новосибирск

38

48

Мангышлакская обл.

 

 

Чулым

36

43

Форт-Шевченко

33

42

Омская обл.

 

 

Павлодарская обл.

 

 

Омск

31

44

Михайловка

42

51

Тара

42

53

Северо-Казахстанская обл.

 

 

Оренбургская обл.

 

 

Явленка

42

51

Оренбург

32

39

Семипалатинская обл.

 

 

Орловская обл.

 

 

Кокпекты

29

37

Орел

45

52

Талды-Курганская обл.

 

 

Пензенская обл.

 

 

Панфилов

21

26

Заметчино

38

46

Тургайская обл.

 

 

Пенза

43

51

Тургай

28

36

Пермская обл.

 

 

Уральская обл.

 

 

Бисер

43

51

Уральск

30

35

Кизел

44

56

Целиноградская обл.

 

 

Кудымкар

35

41

Атбасар

32

41

Пермь

40

50

Целиноград

34

42

Приморский край

 

 

Чемкентская обл.

 

 

Владивосток

120

142

Туркестан

23

28

Терней

110

134

Грузинская ССР

 

 

Фурманово

66

80

Ахалкалаки

36

43

Псковская обл.

 

 

Поти

132

162

Идрица

46

52

Тбилиси

56

70

Гдов

40

45

Абхазская АССР

 

 

Ростовская обл.

 

 

Сухуми

94

110

Каменск-Шахтинский

42

52

Аджарская АССР

 

 

Миллерово

43

49

Батуми

162

185

Ростов-на-Дону

50

62

Азербайджанская ССР

 

 

Таганрог

51

68

Астара

140

175

Рязанская обл.

 

 

Баку

33

41

Рязань

43

53

Кировабад

32

40

Самарская обл.

 

 

Нуха

74

102

Самара

40

49

Нахичеванская АССР

 

 

Саратовская обл.

 

 

Нахичевань

24

28

Привольск

39

48

Литовская ССР

 

 

Саратов

40

48

Вильнюс

48

58

Ртищево

37

44

Клайпеда

42

51

Сахалинская обл.

 

 

Шяуляй

38

44

Долинск

84

104

Молдова

 

 

Курильск

70

82

Кишинев

53

71

Оха

45

54

Комрат

46

52

Северо-Осетинская АССР

 

 

Сороки

48

60

Алагир

72

86

Латвийская ССР

 

 

Владикавказ

68

90

Вентспилс

38

43

Свердловская обл.

 

 

Рига

39

44

Алапаевск

37

42

Киргизская ССР

 

 

Верхотурье

37

43

Кетмень-Тюбе

25

27

Свердловск

50

63

Сусамыр

28

32

Смоленская обл.

 

 

Фрунзе

37

43

Смоленск

43

52

Иссык-Кульская обл.

 

 

Ставропольский край

 

 

Пржевальск

37

42

Арзгир

39

46

Чолпон-Ата

31

34

Кисловодск

49

58

Нарынская обл.

 

 

Прикумск

45

53

Кочкорка

22

25

Тамбовская обл.

 

 

Нарын

27

31

Тамбов

40

46

Ошская обл.

 

 

Татарская АССР

 

 

Гульча

51

59

Казань

39

51

Ош

34

40

Мензелинск

39

46

Сары-Таш

22

25

Томская обл.

 

 

Хайдаркен

43

48

Колпашево

33

40

Таджикская ССР

 

 

Средний Васюган

38

44

Душанбе

48

56

Томск

38

46

Мургаб

16

19

Усть-Озерное

35

43

Хорог

26

31

Тувинская АССР

 

 

Кулябская обл.

 

 

Кызыл

28

34

Куляб

46

52

Тульская обл.

 

 

Пархар

36

43

Тула

41

47

Курган-Тюбинская обл.

 

 

Тюменская обл.

 

 

Курган-Тюбе

28

32

Березово

39

46

Ленинабадская обл.

 

 

Демьянское

38

43

Исфара

18

21

Салехард

36

42

Ленинабад

25

31

Тобольск

41

47

Пенджикент

32

38

Тюмень

44

54

Армянская ССР

 

 

Удмуртская АССР

 

 

Горис

57

69

Глазов

32

38

Ереван

28

32

Ижевск

35

42

Раздан

42

49

Сарапул

36

44

Туркменская ССР

 

 

Ульяновская обл.

 

 

Ашхабадская обл.

 

 

Сингилей

40

52

Ашхабад

30

58

Сурское

37

44

Зеагли

20

26

Хабаровский край

 

 

Красноводская обл.

 

 

Биробиджан

72

84

Казанджик

28

33

Охотск

50

59

Кизыл-Арват

32

39

Им. Полины Осипенко

52

63

Марыйская обл.

 

 

Советская Гавань

84

100

Байрам-Али

28

34

Челябинская обл.

 

 

Тенджен

26

30

Челябинск

40

48

Ташаузская обл.

 

 

Чечено-Ингушская АССР

 

 

Ташауз

20

24

Грозный

61

77

Чарджоуская обл.

 

 

Читинская обл.

 

 

Дарган-Ата

21

24

Агинское

49

58

Кушка

40

47

Борзя

49

57

Тахта-Базар

37

42

Красный Чикой

42

50

Чарджоу

25

32

Могоча

54

66

Эстонская ССР

 

 

Нерчинск

39

45

Таллинн

37

47

Сретенск

44

53

Тарту

40

49

Дождевая сеть

3.10. В составе дождевой сети следует предусматривать открытые канавы и лотки на бермах и по дну карьера, дождеприемники и сбросные линии - трубчатые или в виде быстротоков (черт. 37).

В проекте следует предусматривать самотечный отвод воды по дождевой сети к внешним водоотводящим устройствам и далее к установленным местам сброса карьерных вод. При отсутствии такой возможности должен быть предусмотрен отвод воды по дождевой сети к водосборникам, откуда вода откачивается с помощью насосных станций.

На бермах прочных и неразмываемых пород допускается не предусматривать канав и лотков, если в них нет необходимости для отвода вод с вышележащих уступов и если неорганизованный сток поверхностных вод с этой части борта не может вызвать осложнений для разработки и транспортировки пород в карьере (разрезе).

Вид сечения, размеры и уклоны канав следует определять в соответствии с разд. 12.

3.11. Прием воды в сбросную линию из открытых канав дождевой сети следует осуществлять через дождеприемные колодцы (черт. 38), оборудованные решеткой для защиты сбросной линии от мусора.

Открытые канавы, примыкающие к дождеприемному колодцу, следует устраивать с облицовкой по длине 2 - 5 м.

3.12. Сбросные линии для сброса воды из канав на уступах в сторону к карьерным водосборникам рекомендуется выполнять из труб (черт. 39) и располагать, как правило, по откосу нерабочего борта карьера, подлежащего длительной эксплуатации.

Диаметр труб сбросных линий должен быть не менее 200 мм.

3.13. Скорость движения воды в трубах сбросных линий должна быть не менее 0,7 м/с и не более 10 м/с в металлических, 7 м/с - в неметаллических.

Гидравлический расчет труб сбросных линий следует выполнять при их полном расчетном наполнении.

Описание: 37

Черт. 37. Дождевая сеть в карьере

1 - канава для отвода поверхностных вод на постоянном борту; 2 - водосбросная труба; 3 - сбросные скважины; 4 - кювет на железнодорожном съезде; 5 - канава для отвода поверхностных вод на временном борту карьера; 6 - труба под железнодорожным съездом

Описание: 38

Черт. 38. Сопряжение водоотводной канавы со сбросной линией

1 - дождеприемный колодец; 2 - водосбросная труба; 3 - канава с облицовкой

Описание: 39

Черт. 39. Разрез по сбросной линии

1 - суглинки; 2 - мел; 3 - пески; 4 - глины; 5 - скальные породы; 6 - канава и дождеприемные колодцы; 7 - водосбросная труба; 8 - водосборник

Скорость движения воды в трубопроводе сбросной линии следует определять по формуле

                                                (10)

где g - ускорение силы тяжести, м/с2;

h - напор, равный разности уровней воды перед входом и выходом из трубопровода, м;

ξ - коэффициент местного сопротивления трубопровода сбросной линии, определяемый по табл. 6;

λ - коэффициент сопротивления трубопровода по длине, определяемый по формуле

                                                     (11)

l - длина трубопровода, м;

d - диаметр трубопровода, м;

п - коэффициент шероховатости материала трубопровода, принимаемый для трубопровода из труб:

металлических - 0,013;

неметаллических - 0,014.

Пропускная способность трубопровода Q, м3/с, в рассчитываемом сечении определяется по формуле

Q = vw,                                                                (12)

где w - площадь сечения потока (трубопровода), м2.

Пример 18. Определить диаметр трубопровода сбросной линии исходя из необходимости пропуска по нему заданного расхода дождевых вод Q = 0,25 м3/с, напора h = 7 м и длины трубопровода l = 65 м. Трубопровод сооружается из неметаллических труб. На трубопроводе имеются следующие виды местных сопротивлений, коэффициенты которых принимаем по табл. 6:

вход в трубу без расширения             - ξ1 = 0,5;

выход из трубы под уровень воды    - ξ2 = 1,0;

два колена, каждое с углом α = 15°   - ξ3 = 0,1.

Сумма коэффициентов местных сопротивлений трубопровода составляет

Σξ = 0,5 + 1 + 2·0,1 = 1,7.

Принимаем диаметр трубопровода равным 0,3 м.

Для выбранного диаметра определяем по формуле (11) коэффициент сопротивления трубопровода по длине при n = 0,014:

Определяем по формуле (10) скорость движения воды в трубопроводе сбросной линии:

Пропускная способность трубопровода сбросной линии, определяемая по формуле (12), составляет:

Выбранный диаметр обеспечивает пропуск заданного расхода дождевых вод.

Таблица 6

Местное сопротивление

Схема

Значения коэффициента ξ

Вход в трубу без расширения

0,5

Плавно очерченный вход в трубу

0,1 - 0,2

Приемная сетка без клапана

2,0 - 3,0

Приемный клапан с сеткой

5,0 - 8,0

Обратный клапан

1,7

Колено с углом 90° (по нормальному сортаменту)

ξk = 0,5 - 0,6

Колено с углом α

Выход из трубы в резервуар или в канал под уровнем

1,0

Переход сужающийся (по нормальному сортаменту)

0,1

Переход расширяющийся (по нормальному сортаменту)

0,2

Тройник в направлении ответвления

1,5

Ответвление при косом тройнике

1,0

Ответвление при входе в магистраль

0,5

Магистраль при отсутствии расхода в ответвлении

0,1

Ответвление при соединении и разделении потоков

1,5

Водосборники и карьерные насосные станции

3.14. В проекте должна быть рассмотрена целесообразность организации водоотлива как с помощью насосных станций, располагаемых в карьере (разрезе), так и с помощью подземных насосных станций.

Применение вынесенных из карьера (разреза) подземных насосных станций удобно в эксплуатации, однако их применение требует значительных капитальных затрат.

Достоинства применения подземных насосных станций существенно проявляются, когда допускается значительная фильтрация в карьер (разрез) подземных вод, а также при разработке карьера (разреза) с использованием выработанного пространства для размещения внутренних стволов, что приводит к необходимости частого перемещения насосных станций в случае их расположения в открытой выработке.

Устройство подземных насосных станций для удаления карьерных вод также целесообразно в случаях, когда подземная дренажная система используется и для защиты горных выработок от подземных вод.

Однако организация водоотлива непосредственно из карьера требует меньших капитальных затрат и расхода энергетических ресурсов при эксплуатации.

3.15. Независимо от выбора метода удаления карьерных вод, не отведенных за пределы выработки самотеком, водосборники для их приема, как правило, следует предусматривать в карьере. При этом необходимо по возможности использовать выработанное пространство.

В случаях, когда по условиям залегания полезного ископаемого и принятой технологии горных работ затруднительно содержать в карьере водосборники значительной вместимости для приема поверхностного стока, допускается при надлежащем обосновании предусматривать в карьере лишь сравнительно небольшие емкости. Основные водосборники должны быть подземными, которые в таких случаях должны удовлетворять всем требованиям, предъявляемым как к подземным (см. разд. 4), так и к карьерным (см. п. 3.7) водосборникам.

3.16. При проектировании размещения водосборников в карьере следует исходить из условия залегания полезного ископаемого, погоризонтных притоков подземных и поверхностных вод, технологии горных работ, принятого способа удаления карьерных вод.

3.17. Сброс воды из карьерных водосборников и осветляющих емкостей в подземные выработки должен осуществляться сбросными скважинами, оборудованными задвижками и мерными устройствами, позволяющими регулировать объем воды, сбрасываемой в подземные выработки (черт. 40 и 41).

Описание: 40

Черт. 40. Карьерный водосборник

1 - сбросные скважины; 2 - водосборник; 3 - дренажная выработка сквозная проветриваемая; 4 - плавучий земснаряд для чистки водосборника

Сбросные скважины в зависимости от пород, в которых они устраиваются, следует предусматривать с применением крепления обсадными трубами (в неустойчивых породах) или без применения крепления (в устойчивых породах). При применении крепления сбросных скважин обсадными трубами затрубное пространство, как правило, должно быть зацементировано на всю высоту скважин.

Гидравлический расчет сбросных скважин аналогичен расчету сбросных линий в карьере (см. п. 3.12).

3.18. При удалении воды из карьера (разреза) с помощью карьерных насосных станций размещение их и водосборников в неглубоких карьерах (разрезах), как правило, приурочивается к пониженным участкам дна карьера.

В сложных условиях выбирать схему карьерного водослива необходимо на основе соответствующего технико-экономического анализа.

В частности, при разработке глубоких карьеров без внутренних отвалов основных притоков подземных и поверхностных вод на верхних горизонтах целесообразно устройство главной насосной станции с водосборниками на относительно высоких отметках - в подошве водообильной зоны, а небольшие притоки с нижних горизонтов - перекачивать в водосборники главной насосной станции.

Описание: 41

Черт. 41. Сбросная скважина

1 - оголовок сбросной скважины с предохранительной сеткой; 2 - сбросная скважина; 3 - сальник; 4 - задвижка; 5 - выпуск из сбросной скважины; 6 - стальная пластина - гаситель; 7 - мерный водослив; 8 - дренажный штрек; 9 - водоотводная канава

3.19. В случае быстрого образования в карьере постоянного борта в проекте можно предусматривать устройство стационарной главной насосной станции.

3.20. Максимальный уровень воды в водосборнике следует принимать на 0,5 м ниже поверхности уступа, на котором располагается насосная станция, а минимальный - в соответствии с допустимой высотой всасывания насосных агрегатов, установленных на станции; минимальный уровень воды должен быть выше дна водосборника не менее чем на 1 м.

Стенки водосборников, располагаемых в неустойчивых грунтах, следует укреплять фильтрующей обсыпкой или (при длительной эксплуатации) облицовкой монолитным или сборным бетоном или железобетоном.

Очистку водосборников следует предусматривать грязевыми насосами или землесосами.

3.21. Для карьерного водоотлива следует проектировать, как правило, незаглубленные насосные станции с установкой насосных агрегатов в один ряд с параллельным расположением их продольных осей.

3.22. При проектировании размещения насосных агрегатов в насосной необходимо учитывать следующие основные требования:

насосные агрегаты и вспомогательное оборудование должны размещаться таким образом, чтобы были обеспечены свободный доступ к ним, удобство и безопасность их обслуживания;

профилактический ремонт насосного агрегата должен производиться на месте при работающих соседних агрегатах;

компановка оборудования должна осуществляться исходя из минимальной протяженности внутристанционных коммуникаций;

визуальное наблюдение за работающими агрегатами должно обеспечиваться с одного пункта (от щита управления).

3.23. При выборе типа насосов и определении числа рабочих агрегатов необходимо учитывать совместную работу насосов и трубопроводов, а также руководствоваться следующими соображениями:

число агрегатов в насосных станциях должно быть не менее двух;

необходимо устанавливать как можно меньше рабочих насосов, так как экономически выгодна установка крупных насосов, имеющих более высокие КПД, чем несколько средних и малых, и, кроме того, суммарная подача нескольких насосов при параллельной работе на общие трубопроводы всегда меньше, чем сумма их подач при раздельной работе на данную систему;

при длительной подаче насосы должны работать в области наивысших КПД, кратковременные расходы могут подаваться с более низким КПД;

целесообразно на насосных станциях устанавливать насосы одного типа, что обеспечивает их взаимозаменяемость и значительно упрощает их эксплуатацию;

число резервных насосов следует принимать при числе рабочих насосов до четырех - не менее одного, при числе рабочих насосов более четырех - не менее 25 % числа рабочих насосов. При установке на станции разнотипных насосов резервные насосы следует принимать с характеристикой, соответствующей наибольшему насосу.

3.24. Для обеспечения свободного доступа к насосным агрегатам и безопасного их обслуживания следует предусматривать проходы шириной, м, не менее:

между агрегатами                                                                                   - 1,0

«      агрегатами и стенами помещения                                            - 1,0

между неподвижными выступающими частями оборудования        - 0,7

между агрегатами и электрораспределительным щитом                    - 2,0

Насосы с неразъемным корпусом по горизонтальной плоскости, у которых вал с рабочим колесом при демонтаже выдвигается наружу по направлению оси насоса, следует устанавливать на расстоянии от стен или других агрегатов не менее чем на длину вала насоса плюс 0,25 м (но не менее 0,8 м). Такое же расстояние должно быть установлено и для удобства демонтажа электродвигателей с горизонтальным валом.

В насосных станциях, оборудованных насосными агрегатами с диаметром нагнетательного патрубка до 100 мм включ., допускается установка агрегатов у стен или на кронштейнах на стенах машинного зала, а также на одном фундаменте без прохода между ними, но с проходом вокруг них шириной не менее 0,7 м.

Щиты и пульты управления насосными агрегатами и задвижками следует, как правило, располагать на балконах или на площадках вдоль стен.

3.25. Для монтажа, ремонта и демонтажа технологического оборудования, арматуры и трубопроводов в помещении машинного зала стационарных насосных станций следует предусматривать следующее подъемно-транспортное оборудование с ручным приводом при массе узлов, т:

до 1 (включ.)                     - кошку и таль по монорельсу

св. 1 до 5                           - подвесную кран-балку

Для перемещения оборудования и арматуры массой до 0,3 т допускается применение такелажных средств.

3.26. В помещении машинного зала с крановым оборудованием следует предусматривать монтажную площадку, располагаемую обычно в торце здания насосной станции на уровне поверхности земли.

Доставку оборудования и арматуры на монтажную площадку следует производить такелажными средствами или талью на монорельсе, выходящем из здания, а в обоснованных случаях - транспортными средствами.

Размеры монтажной площадки в плане определяются габаритами оборудования и транспортных средств, а также расстоянием максимального приближения крюка грузоподъемного механизма к боковым и торцевым стенам.

Вокруг оборудования и транспортных средств, устанавливаемых на монтажной площадке в зоне обслуживания кранового оборудования, должен быть обеспечен проход шириной не менее 0,7 м.

3.27. Высоту помещения, оборудованного стационарными грузоподъемными механизмами, следует определять в соответствии с правилами устройства и безопасной эксплуатации грузоподъемных кранов.

При отсутствии грузоподъемных механизмов высоту помещений следует принимать согласно СНиП 2.09.02-85.

Размеры ворот или дверей следует определять исходя из габаритных размеров оборудования или транспортного средства с грузом.

3.28. Насосные агрегаты, как правило, должны устанавливаться на фундаменты, размеры которых определяются по заводским установочным чертежам. Высоту фундамента над уровнем чистого пола машинного зала следует назначать в зависимости от удобства монтажа всасывающих и напорных трубопроводов, но не менее 150 - 200 мм. Ширину и длину фундамента следует принимать на 100 - 150 мм больше ширины и длины плиты или рамы, на которой монтируется насос с приводным электродвигателем.

Для удаления воды от мытья полов и аварийных разливов полу машинного зала следует придавать уклон к водоотводному лотку, отводящему воду в сборный приямок.

3.29. На насосных станциях карьерного водоотлива всасывающие трубопроводы, как правило, следует подводить отдельно к каждому насосу. Устройство самостоятельной всасывающей линии для каждого насоса улучшает гидравлические условия работы насоса на всасывание, исключает влияние соседних насосов и значительно упрощает систему коммуникации.

Для уменьшения потерь всасывающий трубопровод должен быть меньшей длины и иметь минимальное число фасонных частей.

Во избежание образования воздушных мешков всасывающий трубопровод следует прокладывать с подъемом в сторону насоса (уклон не менее 0,005).

По этой же причине при переходе с одного диаметра на другой на горизонтальных участках трубопровода следует применять переходы с горизонтальной верхней образующей (косые переходы).

Диаметр всасывающих трубопроводов следует назначать исходя из скорости движения воды в них 0,7 - 1,5 м/с.

3.30. Диаметр напорных трубопроводов в пределах насосной станции следует назначать в зависимости от скорости движения воды в них, принимаемой 1,2 - 2 м/с, а на коротких участках - до 3 м/с.

Напорная линия каждого насоса должна быть оборудована запорной арматурой и, как правило, обратным клапаном, устанавливаемым между напорным патрубком насоса и запорной арматурой.

3.31. Размещение запорной арматуры на внутристанционных коммуникациях должно обеспечивать возможность замены или ремонта любого из насосов, обратных клапанов и основной запорной арматуры с обеспечением непрерывной требуемой подачи работающими насосами.

При установке монтажных вставок их следует размещать между запорной арматурой и обратным клапаном.

3.32. Трубопроводы внутри насосной станции должны выполняться, как правило, из стальных труб, соединяемых на сварке с применением фланцев для присоединения к арматуре и насосам, и прокладываться таким образом, чтобы они были доступны для осмотра и ремонта, а в местах соединений с арматурой должна быть обеспечена возможность свободной сборки и разборки.

Укладку трубопроводов следует предусматривать, как правило, над поверхностью пола (на опорах или кронштейнах) с устройством над ними мостиков, которые могут быть также использованы для установки вспомогательного электротехнического оборудования и подвески кабелей. Допускается укладка трубопроводов ниже уровня пола в каналах, перекрываемых съемными плитами. Размеры каналов должны обеспечивать возможность монтажа и демонтажа отдельных участков трубопроводов, а в местах установки фланцевой арматуры следует предусматривать уширения каналов.

3.33. Всасывающие и напорные коллекторы с запорной арматурой следует располагать в здании насосной станции, если это не вызывает увеличения размеров здания.

3.34. Задвижки (затворы) на трубопроводах любого диаметра при дистанционном или автоматическом управлении должны быть с электроприводом. Допускается применение пневматического, гидравлического или электромагнитного привода.

При отсутствии дистанционного или автоматического управления запорную арматуру диаметром 400 мм и менее следует предусматривать с ручным приводом, диаметром свыше 400 мм - с электрическим или гидравлическим приводом; в отдельных случаях при обосновании допускается установка арматуры диаметром свыше 400 мм с ручным приводам.

3.35. При откачке воды, обладающей повышенной кислотностью (рН ≤ 5), в насосных станциях необходимо предусматривать установку насосов, арматуры и трубопроводов, изготовленных из кислотоупорных материалов.

3.36. В насосных станциях следует предусматривать заливку насосов одним из следующих способов:

из напорного трубопровода с установкой на всасывающем трубопроводе приемного клапана с сеткой;

отсасыванием воздуха эжектором, присоединенным к самой верхней части корпуса насоса (с использованием воды из напорного трубопровода);

отсасыванием воздуха вакуум-насосом;

установкой заливного насоса.

3.37. Для обеспечения нормальной эксплуатации основного оборудования насосных станций следует предусматривать установку контрольно-измерительной аппаратуры. Состав приборов, их типы, места установок должны определяться в зависимости от основного оборудования станции, характера ее работы и принятой системы управления (автоматическое, диспетчерское, местное). Число приборов должно быть минимальным, но достаточным для управления и контроля.

Устанавливаемая в насосных станциях аппаратура должна контролировать давление в напорных трубопроводах и у каждого насосного агрегата, расходы воды в напорных трубопроводах, температуру подшипников агрегатов (при необходимости), уровень воды в водосборнике.

3.38. Насосные станции следует проектировать, как правило, с управлением без постоянного присутствия обслуживающего персонала: автоматическим - в зависимости от технологических параметров (уровня воды в водосборнике, давления или расхода воды в напорных трубопроводах); дистанционным (телемеханическим) - из пункта управления; местным - периодически присутствующим персоналом с передачей необходимых сигналов на пункт управления или пункт с постоянным присутствием обслуживающего персонала.

При автоматическом или дистанционном (телемеханическом) управлении необходимо предусматривать также местное управление.

На автоматизированных насосных станциях следует предусматривать:

дистанционное или автоматическое включение и отключение рабочих насосов в зависимости от уровня воды в водосборнике;

автоматическое включение резервных насосов при аварии рабочих насосов;

автоматическую заливку насосов;

аварийную, звуковую и световую сигнализацию на щите управления;

автоматический контроль температуры подшипников в соответствии с требованиями завода-изготовителя насосов;

автоматический контроль подачи насосов.

Черт. 42. Передвижная насосная установка с одним насосом ЦНС 300-120

1 - насос; 2 - электродвигатель; 3 - плита фундаментная; 4 - бак заливочный с подставкой; 5 - здание насосной на полозьях; 6 - клапан обратный поворотный; 7 - вентиль; 8 - рукав; 9 - деревянная подкладка; 10 - клапан обратный приемный

Для передвижных насосных станций и насосных установок, не имеющих линий связи, следует, как правило, предусматривать автоматическое управление насосами и аварийную сигнализацию с помощью звукового или светового сигналов, устанавливаемых снаружи помещения.

3.39. В помещении машинного зала насосной станции следует предусматривать устройство приточно-вытяжной вентиляции. При избыточном выделении тепла от двигателей количество подаваемого воздуха определяется расчетом. При отсутствии избытков тепла принимается однократный обмен воздуха.

3.40. Объемно-планировочные и конструктивные решения зданий насосных станций надлежит принимать согласно СНиП 2.09.02-85 и СНиП 2.01.02-85.

3.41. Число напорных трубопроводов от насосной станции следует, как правило, принимать не менее двух. Допускается предусматривать один трубопровод от участковых и вспомогательных насосных станций, а также от главной насосной станции, перекачивающей воду из карьера, в котором допускается подтопление нижних горизонтов.

Проектирование напорных трубопроводов от насосной станции следует осуществлять в соответствии с указаниями разд. 12.

Описание: 42

Черт. 43. Передвижная водоотливная установка на два насоса

1 - насос заливочный; 2 - всасывающий трубопровод; 3 - электродвигатель; 4 - насос ЦНС 180-128; 5 - напорный трубопровод; 6 - задвижка; 7 - сбросной трубопровод; 8 - напорный трубопровод заливочного насоса; 9 - всасывающий трубопровод заливочного насоса; 10 - таль с ручным приводом

3.42. Передвижные насосные станции целесообразно комплектовать из инвентарных насосных станций с одним (черт. 42) или двумя (черт. 43) насосными агрегатами, смонтированными в вагоне на салазках.

На черт. 44 приведена схема передвижной водоотливной установки, составленной из двух вагонов с двумя насосными агрегатами в каждом.

3.43. При необходимости устройства глубоких водосборников рекомендуется устраивать плавучие насосные станции на понтонах или поплавках (черт. 45).

3.44. В проекте следует предусматривать также вспомогательные передвижные (черт. 46) или переносные насосные агрегаты для откачки воды из локальных пониженных участков карьера.

Описание: 44

Черт. 44. Карьерная насосная станция из двух передвижных насосных установок

а - план; б - гидравлическая схема; 1 - насосная установка; 2 - трубопроводы

Описание: 45

Черт. 45. Плавучая насосная станция

1 - понтон; 2 - насосный агрегат; 3 - вакуум-насос; 4 - рама опорная; 5 - задвижка; 6 - клапан обратный; 7 - навес; 8 - опора; 9 - шарнирное соединение; 10 - опора береговая; 11 - мостик переходной; 12 - клапан обратный приемный

Описание: 46

Черт. 46. Передвижной насосный агрегат

1 - бак вместимостью 0,1 м3; 2 - агрегат электронасосный 3К-64; 3 - салазки; 4 - кронштейн; 5 - напорный трубопровод

4. ПОДЗЕМНЫЕ ДРЕНАЖНЫЕ ВЫРАБОТКИ, ШАХТНЫЙ ВОДООТЛИВ

Общие положения

4.1. Подземные дренажные выработки можно предусматривать в системах защиты горных предприятий, как при подземной, так и при открытой разработке полезного ископаемого.

4.2. При проектировании защиты подземного горного предприятия (шахты, рудника) следует предусматривать использование основных горных выработок в качестве дренажных. В них необходимо предусматривать водоотводные канавки, все необходимые подземные устройства (насосные станции, водосборники и др.) для надлежащей организации шахтного водоотлива или самотечный сброс рудничных вод через штольни.

Во многих случаях дренирующего действия основных выработок и соответствующего шахтного водоотлива достаточно для бесперебойного ведения горных работ. В противных случаях следует предусматривать забуривание из специальных камер различного вида водопонизительных скважин, устройство сквозных фильтров и, при необходимости, специальных дренажных выработок (как показано в примерах 3, 5, 15).

4.3. При проектировании защиты карьера (разреза) с внешней дренажной системой следует учитывать, что подземные дренажные выработки весьма эффективны в отборе воды из трещиноватых скальных пород. Их эффективность может быть повышена, а возможности использования расширены и на водопонижение в нескальных породах в сочетании с водопонизительными скважинами (см. п. 4.2.).

Кроме этого, применение подземных дренажных выработок позволяет создать систему централизованного водоотлива как дренажных, так и всех собирающихся в карьере поверхностных вод с помощью средств и устройств, расположенных вне карьера, что создает благоприятные условия для ведения горных работ наиболее эффективными методами.

4.4. При открытых разработках полезного ископаемого допускается рассматривать подземную дренажную систему вместе с шахтными стволами (или штольнями) как самостоятельную административно-производственную единицу, получившую название дренажная шахта.

В проекте следует предусматривать возможность приема в выработки дренажной шахты как подземных вод, так и всего карьерного поверхностного стока.

Дренажная шахта может быть выделена и на подземном горном предприятии, если проектом предусматривается обособленная дренажная система (см. пример 15, в котором для подземного рудника предусмотрена внешняя кольцевая дренажная система).

4.5. В общем случае для строительства и нормальной эксплуатации подземной дренажной системы необходимы:

линейные и контурные, как правило, горизонтальные (практически с небольшим уклоном) дренажные выработки с ходками и камерами для водопонизительных скважин (см. п. 4.2);

водосборники и зумпфы;

насосные станции с комплексом вспомогательных выработок (коллекторов, приемных колодцев, трубных ходков и др.);

электровозные депо, аккумуляторные, электроподстанции;

герметические перемычки с дверями и трубами;

скважины (и восстающие) для трубопроводов и шахтные стволы или штольни.

4.6. Дренажные системы должны иметь не менее двух выходов на дневную поверхность и вентиляцию, обеспечивающую полную безопасность работающих от воздействий вредных газов.

При открытой разработке месторождения необходимо предусматривать нагнетательное проветривание. При этом проветривание главных насосных станций следует предусматривать свежей (входящей) струей воздуха, и поэтому главные насосные станции должны быть расположены у тех стволов, через которые подается воздух.

Вентиляция выработок, в которые поступает вода из карьера через сбросные скважины, должна быть проточной, т.е. выработки, в которых устраиваются для сбросных скважин ниши, не могут быть тупиковыми, и их следует проектировать со сквозным сообщением с вентиляционным стволом. Длина тупиковой ниши для сбросной скважины должна быть не более 10 м.

4.7. Для дренажной системы могут быть использованы шахтные стволы (или штольни) горного предприятия, если они предусмотрены в горной части проекта, и проходка из них, а затем и эксплуатация дренажных выработок не внесут осложнений в технологию основных работ. Те же требования предъявляются к проектированию камер (электровозное депо, аккумуляторная и др.).

Если же для подземной дренажной системы предусматривается самостоятельное сообщение с поверхностью, то в проекте необходимо рассмотреть различные варианты выходов: один ствол и второй выход в карьер; два (или несколько) ствола с различных сторон дренажной системы - фланговое расположение; два ствола в центре (с одной стороны) дренажной системы (центральное расположение) с применением спаренных дренажных штреков.

Выбор должен быть сделан на основе всестороннего технико-экономического сравнения вариантов. При этом следует учитывать:

стоимость сооружения, условия проходки и эксплуатации системы, сроки ввода ее в действие.

4.8. Шахтные стволы и штольни дренажных систем должны иметь сечение, позволяющее передвижение людей, транспортировку породы и необходимого проходческого и эксплуатационного оборудования, размещение, монтаж, демонтаж и ремонт водоотливных и вентиляционных трубопроводов и кабелей. Оборудование, отвечающее требованиям единых правил безопасности, должно быть надежно закреплено соответственно сроку службы и армировано.

4.9. Все горные выработки, подземные сооружения и установки дренажных систем и шахтного водоотлива должны отвечать требованиям СНиП II-94-80 и их следует предусматривать с учетом типовых решений и государственных стандартов.

4.10. Водоотливные установки шахтного водоотлива должны быть оборудованы аппаратурой автоматизации, контроля и дистанционного управления, обеспечивающей нормальную работу без постоянного присутствия обслуживающего персонала.

На водоотливных установках с автоматическим управлением разрешается работать с постоянно открытыми неуправляемыми задвижками.

При ожидаемом химическом составе откачиваемых вод с показателем рН ≤ 5 в проекте следует предусматривать насосы, арматуру и трубопроводы в кислотоупорном исполнении.

4.11. При проектировании подземных дренажных выработок и шахтного водоотлива необходимо иметь данные, позволяющие определить размеры нормального и максимального притоков вод; в проекте должны быть приведены прогнозы: изменения притоков подземных вод в паводковые периоды; возможных изменений проницаемости пород в результате действия дренажа; потери технологических и бытовых вод в горных выработках; химический состав шахтных вод.

В определенных случаях, в частности, при проведении подземных выработок в трещиноватых и закарстованных породах, связанных с поверхностными водами, а также в дренажных шахтах карьеров максимальные притоки могут существенно превышать нормальные притоки. В таких условиях прогнозы максимальных притоков приобретают особую актуальность, и они могут стать определяющими при проектировании подземных водоотливных установок.

4.12. Прогнозы изменения притоков вод в паводковые периоды следует выполнять на основании данных изысканий и режимных наблюдений, выполнявшихся в период, предшествующий проекту, анализа материалов наблюдений ближайших метеостанций и постов, а также по данным аналогов - разработок полезных ископаемых в сходных условиях.

Данные о потерях технологических и бытовых вод принимаются по материалам горной части проекта предприятия.

Приток подземных вод определяется по результатам гидрогеологических расчетов (см. ч. IV).

Дренажные выработки

4.13. Подземные дренажные выработки имеют целью максимально возможный перехват воды из соприкасающихся с ними водоносных пород, зон тектонических нарушений, карстовых зон и из выработанного пространства, заполненного обрушенными породами. Такие выработки также служат для приема и отвода к подземным насосным станциям или через штольни в самотечную водоотводящую сеть воды из скважин, забуриваемых с поверхности, из карьеров и из самих дренажных выработок.

По своему назначению и характеру работы подземные дренажные выработки представляют собой галерейный дренаж. Однако вследствие специфических особенностей горных предприятий, соответствующей их оснащенности горнопроходческим оборудованием и расположения дренажных выработок (обычно на значительной глубине), они имеют существенные конструктивные отличия от галерейных дренажей, применяемых в промышленном и гражданском строительстве (см. ч. III, разд. 11). В то же время в соответствующих условиях различные виды галерейных дренажей возможно предусматривать в разных областях строительства (т.е. и на предприятиях или в гражданском строительстве возможно применение подземных дренажных выработок, применяемых на горных предприятиях, а на горных предприятиях возможно использование дренажных галерей, аналогичных приведенным в разд. 11).

4.14. В крепких породах следует предусматривать дренажные выработки без крепления (черт. 47,а, б). При необходимости в креплении дренажных выработок, его следует предусматривать водопроницаемым: из деревянных окладов (черт. 47,в), из стальных опорных элементов с досчатой забиркой (черт. 47,г), из сборных железобетонных элементов (черт. 47,д) и др. Как правило, не следует использовать те виды крепления, которые могут препятствовать поступлению воды в дренажную систему (например, сплошное бетонное или железобетонное крепление). При необходимости в таком креплении следует предусматривать за крепью дренажную засыпку и выпуск из нее воды в выработку через отверстия в обделке (черт. 47,е) или через специальные окна с сетками.

На участке водонепроницаемых пород допускается применять сплошное бетонное или железобетонное крепление, а также торкретбетонную обделку с анкерами (черт. 47,ж, з).

Черт. 47. Сечения дренажных выработок

а - однопутной без крепления; б - двухпутной без крепления; в - с деревянным креплением; г - с металлическим креплением; д - со сборным железобетонным креплением; е - с бетонным креплением с отверстиями; ж - с торкретбетонным креплением с анкерами; з - сбоечная выработка с торкретбетонным креплением с анкерами; 1 - водоотводная канавка; 2 - дерево; 3 - забирка; 4 - металлическая крепь; 5 - пустотелые стойки; 6 - металлический верхняк; 7 - распорки; 8 - железобетонные плиты; 9 - дренажная засыпка; 10 - отверстия; 11 - торкретбетон; 12 - анкера

4.15. Выбор размеров и формы сечения дренажных выработок следует производить соответственно характеру горных пород, в которых выработки проходятся с учетом необходимости размещения требуемых канавок, кабелей, вентиляционных трубопроводов, наличного горнопроходческого оборудования, объемов работ, требуемых сроков ввода в действие подземного дренажа, проектируемой продолжительности его эксплуатации и др. Размеры и формы дренажных выработок, приведенные на черт. 47, следует рассматривать как примерные.

4.16. Водоотводные канавки в дренажных выработках, а также в подготовительных и других протяженных подземных горных выработках, каптирующих подземные, технологические, бытовые, хозяйственные и другие воды, допускается предусматривать в соответствии с гидравлическим расчетом (см. разд. 12).

4.17. В трещиноватых закарстованных высоко-водообильных породах, когда ожидаются весьма значительные притоки воды, следует рассматривать целесообразность устройства спаренных дренажных выработок на разных уровнях с тем, чтобы нижняя выработка служила одновременно водосборником. Обе выработки должны быть соединены сбойками и иметь (учитывая их уклон) такую разность отметок, при которой вода по сбойкам поступала бы в верхнюю выработку лишь после полного заполнения нижней выработки.

В проекте должна быть предусмотрена возможность подтопления и верхних выработок (а также и системы неспаренных одиночных дренажных выработок) в случаях внезапных прорывов или при длительных повышенных притоках. Для этого дренажные выработки должны быть отделены от руддвора и насосной железобетонной перемычкой с водонепроницаемыми дверями, которые в таких случаях закрываются герметически и вода пропускается к насосной через трубу, а размер притока регулируется задвижкой.

4.18. При проектировании дренажных выработок в водообильных трещиноватых и закарстованных породах, а также в районе тектонических зон и старых затопленных выработок необходимо учитывать, что их следует проходить с опережающим бурением.

Длина опережения должна быть не менее 5 м. Целесообразно вести опережающее бурение пучком (веером) скважин (черт. 48), обеспечивая достаточный разведанный целик не только впереди забоя, но и в боках выработки. Для этого в проекте должны быть предусмотрены соответствующие камеры, из которых будет выполняться бурение опережающих скважин.

В дренажных выработках, которые должны пересечь тектонический разлом или предназначены для его дренажа, необходимо предусматривать, не доходя разлома, рассечки, из рассечек - орты, из ортов - скважины: опережающие и водопонизительные, самоизливающиеся (черт. 49).

Рассечка должна быть достаточно длинной, а водопонизительные скважины - отстоять от основной выработки на таком расстоянии, чтобы тампонаж, который может потребоваться при пересечении дренажной выработкой разлома, не зацементировал скважины.

4.19. В проекте можно предусматривать использование камер опережающих скважин для забуривания водопонизительных скважин в других направлениях.

При необходимости следует предусматривать специальные камеры для различных водопонизительных скважин из подземных выработок, а также для сбросных скважин, забуриваемых с одного подземного горизонта на другой нижерасположенный. Размеры таких камер зависят от применяющегося оборудования, числа, направления и глубины запроектированных водопонизительных скважин.

На черт. 50,а показана камера для установки дренажного бурения УДБ-8, предназначенной для бурения скважин начальным диаметром 190 мм на глубину до 150 м под углом к вертикали от 0 до 3,14 рад; на черт. 50,б - для бурения восстающих скважин диаметром до 155 мм, на глубину до 100 м; на черт. 50,в - для бурения опережающих скважин станком СКБ-4 диаметром до 100 мм на глубину до 300 м.

Описание: 48

Черт. 48. Схема расположения опережающих скважин

1 - дренажный штрек; 2 - опережающие скважины; 3 - камера для бурения скважин станком НКР-100М

Описание: 49

Черт. 49. Схема расположения дренажных выработок, направленных к тектоническим зонам

1 - рассечка вдоль разлома; 2 - законченный орт с самоизливающимися водопонизительными скважинами; 3 - орт в проходке с опережающими скважинами

Описание: 50

Черт. 50. Камеры для бурения скважин в горных выработках

а - для станка УДБ-8; б - для бурения опережающих скважин; в - для бурения восстающих скважин станком НКР-100М

В проекте должны быть также предусмотрены ходки для сбойки выработок со сквозными фильтрами и сбросными (с одного подземного горизонта на другой) скважинами (черт. 51).

Описание: 51

Черт. 51. Ходок к сквозному фильтру

1 - скважина; 2 - сальниковое уплотнение; 3 - задвижка; 4 - труба dy = 100 мм; 5 - выпуск; 6 - бетонная подушка; 7 - шланг; 8 - водоотводной лоток

4.20. Подземные дренажные выработки могут быть использованы также для выполнения из них тампонажа горных пород, заполнения карстовых полостей, для проведения в них гидрогеологических и инженерно-геологических исследований и других целей, отвечающих проектным решениям защиты. Все это и требуемые для указанных целей вспомогательные выработки следует предусматривать в проекте.

Схемы шахтного водоотлива и насосное оборудование

4.21. В проекте должна быть определена схема шахтного водоотлива на весь охватываемый проектом период строительства и действия горного предприятия (шахты, карьера).

При этом должны быть выбраны:

а) местоположение шахтных стволов и штолен, через которые дренажные воды откачиваются или отводятся к местам сброса или сбора для водопользования;

б) горизонты устройства насосных (ступени водоотлива);

в) расположение всех основных насосных станций, к которым относятся:

центральные насосные станции - расположенные у водоотливных шахтных стволов (штолен, скважин), принимающие воду со всего или части шахтного поля и откачивающие воду непосредственно или с помощью перекачных станций на поверхность;

участковые насосные станции, собирающие воду с участка шахтного поля (месторождения) и перекачивающие воду в водосборник главной насосной станции;

зумпфовые насосные станции, расположенные у зумпфа шахтного ствола и откачивающие воду, стекающую в зумпф ствола из самого ствола и руддвора;

насосные станции перекачки - насосные станции второго и последующего подъемов, применяемые в случаях, когда у насосов насосных станций нижележащих горизонтов не хватает напора;

временные насосные станция, применяемые в период устройства (до ввода в действие) центральной или участковой насосной станции.

4.22. Выбор схемы водоотлива должен основываться на соответствующих технико-экономических расчетах с сопоставлением капитальных затрат на устройство водоотливных комплексов с затратами на их эксплуатацию и учетом создаваемых условий для безопасного ведения основных горных работ. При этом необходимо иметь в виду следующие удобные в эксплуатации схемы:

а) устройство центральной насосной станции на самом нижнем рабочем горизонте и сброс воды со всех промежуточных горизонтов на нижний горизонт (черт. 52,а). Эта схема особенно целесообразна при невысокой водообильности горных пород и относительно небольшой (в пределах высоты подъема имеющихся насосов) глубине залегания полезного ископаемого.

При понижении на отдельных участках гипсометрии почвы полезного ископаемого возможно устройство на этих участках (или на одном из них) участковых насосных станций, откачивающих воды на горизонт центральной насосной станции.

Во всех этих случаях центральная насосная станция является главной водоотливной установкой шахты (рудника);

б) устройство центральной насосной станции - главной водоотливной установки - на верхних горизонтах и откачка вод с нижележащих горизонтов в водосборники главной водоотливной установки участковыми насосными станциями (черт. 52,б).

Эта схема особенно выгодна, когда вверху залегают высоководообильные породы, а внизу - маловодообильные и ожидается устойчивый приток подземных вод на верхних горизонтах; тогда главной водоотливной установкой, устроенной в подошве водообильной зоны, будет откачиваться основной объем притекающих вод с минимальными энергетическими затратами;

в) если водообильные породы простираются на большую глубину, то целесообразно устройство центральных насосных станций на промежуточных горизонтах.

Это оказывается, в частности, необходимым при продолжительной эксплуатации верхних горизонтов, так как сброс значительных количеств воды на протяжении длительного периода на глубокие горизонты влечет за собой повышенные энергетические затраты.

Если ожидается по мере развития работ и соответственно водоотлива на нижних этажах снижение притока на верхних этажах, то в проекте может быть предусмотрено постепенное отключение верхних насосных станций и осуществление шахтного водоотлива по одноступенчатой схеме (черт. 52,в) со сбросом сниженных притоков воды с верхних этажей на самый нижний этаж.

Наряду с этим в проекте может быть установлена необходимость в насосных станциях перекачки. Тогда для этой цели могут быть использованы некоторые насосные станции промежуточных горизонтов, которые могут быть оставлены и для одновременной откачки остаточного притока с вышележащих горизонтов (см. пример 19).

В этих случаях требованиям, предъявляемым к главным водоотливным установкам, на каждом этапе должны удовлетворять насосные станции, откачивающие воды на поверхность, остальные действующие насосные станции выполняют роль участковых и станций перекачки;

г) одноступенчатая схема в большинстве случаев наиболее экономична и удобна в эксплуатации. Но ее применение ограничено имеющимися трубами для напорных трубопроводов и высоконапорными насосами. Поэтому для глубоких шахт при откачке воды с одного горизонта может быть применена схема с последовательным включением насосов, установленных на разных горизонтах (черт. 52,г);

д) при наличии обособленных притоков на разных горизонтах из несвязанных между собой водоносных слоев и при этом на одном из горизонтов ожидается приток кислотных вод, требующих специального оборудования, можно предусматривать схему раздельного водоотлива (черт. 52,д).

Описание: 52

Черт. 52. Схемы шахтного водоотлива

а - одноступенчатый водоотлив; б - расположение главной водоотливной установки в подошве верхней водообильной зоны; в - схема с постепенно отключаемыми промежуточными насосными станциями; г - установка с последовательным соединением насосов; д - схема раздельного водоотлива; 1 - главная водоотливная установка; 2 - участковая насосная станция; 3 - отключенные насосы; 4 - перекачные насосы

При сбросе воды с верхних этажей на нижний энергию сбрасываемого потока можно частично использовать, в частности, подключением сбросного трубопровода к всасывающему трубопроводу действующего насоса (черт. 53), что повысит его энергетические показатели.

4.23. В дренажной шахте при фланговом расположении стволов и проходке дренажных выработок из двух (или более) стволов с уклонами к ним водоотлив может быть организован (у каждого ствола) по одной из вышеуказанных схем (см. п. 4.22) в зависимости от особенностей месторождения, характера и условий развития дренажной системы.

4.24. Для шахтного водоотлива следует, как правило, применять многоступенчатые секционные, одноступенчатые с полуспиральным подводом жидкости к двустороннему рабочему колесу и спиральные многоступенчатые центробежные насосы с горизонтальным валом.

Описание: 53

Черт. 53. Схема шахтного водоотлива при использовании напора воды верхних горизонтов

1 - насадка; 2 - смеситель; 3 - насос

Данные по основным из них приведены:

по секционным насосам типа ЦНС - в табл. 7;

по спиральным насосам двустороннего входа типа Д - в табл. 8;

по спиральным многоступенчатым насосам типа ЦН - в табл. 9.

Таблица 7

Марка насоса

Допустимая высота всасывания, м

Мощность, кВт

Марка насоса

Допустимая высота всасывания, м

Мощность, кВт

Частота вращения 3000 об/мин

ЦНС 38-44

6,4

7,0

ЦНСК 60-231

5,5

53,9

ЦНСГ 38-44

7,0

ЦНС 60-264

61,6

ЦНС 38-66

10,5

ЦНСГ 60-264

61,6

ЦНСГ 38-66

10,5

ЦНСК 60-264

61,6

ЦНС 38-88

14,0

ЦНС 60-297

69,3

ЦНСГ 38-88

14,0

ЦНСГ 60-297

69,3

ЦНС 38-110

17,5

ЦНСК 60-297

69,3

ЦНСГ 38-110

17,5

ЦНС 60-330

77,0

ЦНС 38-132

20,4

ЦНСГ 60-330

77,0

ЦНСГ 38-132

20,4

ЦНСК 60-330

77,0

ЦНС 38-154

23,8

ЦНС 105-98

4,5

40,0

ЦНСГ 38-154

23,8

ЦНС 105-147

60,0

ЦНС 38-176

27,2

ЦНС 105-196

80,0

ЦНСГ 38-176

27,2

ЦНС 105-245

100,0

ЦНС 38-198

30,6

ЦНС 105-294

117,0

ЦНСГ 38-198

30,6

ЦНС 105-343

136,5

ЦНС 38-220

34,0

ЦНС 105-392

151,0

ЦНСГ 38-220

34,0

ЦНС 105-441

175,5

ЦНС 60-66

5,5

16,0

ЦНС 105-490

195,0

ЦНСГ 60-66

16,0

ЦНС 180-500

3,0

350,0

ЦНСК 60-66

16,0

ЦНС 180-600

420,0

ЦНСГ 60-99

24,0

ЦНС 180-700

490,0

ЦНС 60-99

24,0

ЦНС 180-800

560,0

ЦНСК 60-99

24,0

ЦНС 180-900

630,0

ЦНС 60-132

32,0

ЦНС 180-1050

710,0

ЦНСГ 60-132

32,0

ЦНС 180-1185

800,0

ЦНСК 60-132

32,0

ЦНС 180-1422

900,0

ЦНС 60-165

40,0

ЦНС 180-1900

1280,0

ЦНСГ 60-165

40,0

ЦНС 300-650

-2,0

700,0

ЦНСК 60-165

40,0

ЦНС 300-780

840,0

ЦНС 60-198

46,2

ЦНС 300-910

980,0

ЦНСГ 60-198

46,2

ЦНС 300-1040

1120,0

ЦНСК 60-198

46,2

ЦНС 500-1040

-6,0

1795,0

ЦНС 60-231

53,9

ЦНС 500-1090

3235,0

ЦНСГ 60-231

53,9

 

 

 

Частота вращения 1500 об/мин

ЦНС 60-50

7,0

13,0

ЦНСК 300-240

5,5

264

ЦНС 60-75

19,5

ЦНС 300-300

330

ЦНС 60-100

26,0

ЦНСК 300-300

330

ЦНС 60-125

324

ЦНС 300-360

396

ЦНС 60-150

39,0

ЦНСК 300-360

396

ЦНС 60-175

45,5

ЦНС 300-420

462

ЦНС 60-200

52,0

ЦНСК 300-420

462

ЦНС 60-225

584

ЦНС 300-480

528

ЦНС 60-250

65,0

ЦНСК 300-480

528

ЦНС 180-85

6,0

59,0

ЦНС 300-540

594

ЦНСК 180-85

59,0

ЦНСК 300-540

594

ЦНС 180-128

88,5

ЦНС 300-600

660

ЦНСК 180-128

88,5

ЦНСК 300-600

660

ЦНС 180-170

118,0

ЦНС 500-160

5,0

290

ЦНСК 180-170

118,0

ЦНСК 500-160

290

ЦНС 180-212

147,5

ЦНС 500-240

435

ЦНСК 180-212

147,5

ЦНСК 500-240

435

ЦНС 180-255

174,0

ЦНС 500-320

580

ЦНСК 180-255

174,0

ЦНСК 500-320

580

ЦНС 180-297

203,0

ЦНС 500-400

725

ЦНСК 180-297

203,0

ЦНСК 500-400

725

ЦНС 180-340

232

ЦНС 500-480

870

ЦНСК 180-340

232

ЦНСК 500-480

870

ЦНС 180-383

261

ЦНС 500-560

1015

ЦНСК 180-383

261

ЦНСК 500-560

1015

ЦНС 180-425

290

ЦНС 500-640

1160

ЦНСК 180-425

290

ЦНСК 500-640

1160

ЦНС 300-120

5,5

132

ЦНС 500-720

1305

ЦНСК 300-120

132

ЦНСК 500-720

1305

ЦНС 300-180

198

ЦНС 500-800

1450

ЦНСК 300-180

198

ЦНСК 500-800

1450

ЦНС 300-240

264

 

 

 

Примечания: 1. Основные параметры насосов соответствуют ГОСТ 10407-83.

2. Буквы в марке обозначают: Ц - центробежный, Н - насос; С - секционный; Г - для работы на горячей воде; К - исполнение кислотоупорное.

3. Числа в марке после букв обозначают: первое - подача, м3/ч, второе - напор, м.

Таблица 8

Марка насоса

Подача, м3

Полный напор, м

Допустимая высота всасывания, м

Мощность, кВт

Частота вращения 2950 об/мин

Д200-95

200

95

3,5

85

Д200-95-а

180

82

4,3

67

Д200-95-б

160

70

5,0

56

Д320-70

320

70

4,0

90

Д320-70-а

300

55

4,6

66

Д320-70-б

275

47

4,8

45

Частота вращения 1450 об/мин

Д200-95

100

23

6,5

10

Д200-95-а

100

20

8

Д200-36

200

36

4,5

35

Д200-36-а

190

29

27

Д200-36-б

180

25

5,0

22

Д320-50

320

50

5,5

76

Д320-50-а

300

39

6,0

47

Д320-50-б

300

30

36

Д500-65

500

65

5,5

135

Д500-65-а

450

55

90

Д500-65-б

420

45

68

Д630-90

630

90

3,5

265

Д630-90-а

585

79

170

Д630-90-б

520

65

127

Д800-57

800

57

6,0

177

Д800-57-а

750

48

125

Д800-57-б

660

38

85

Д1250-65

1250

65

4,0

314

Д1250-65-а

1100

54

200

Д1250-65-б

1000

42

150

Д1250-125

1250

125

5,0

620

Д1250-125-а

1100

100

425

Д1250-125-б

1000

86

340

Д1600-90

1600

90

3,0

500

Д1600-90-а

1325

84

400

Д1600-90-б

1200

66

280

Частота вращения 960 об/мин

Д630-90

500

36

5,0

94

Д630-90-а

460

30

51

Д630-90-б

420

24

38

Д1250-65

800

28

5,5

95

Д1250-65-а

750

23

55

Д1250-65-б

600

19

40

Д1600-90

1000

40

6,0

148

Д1600-90-а

975

35

102

Д1600-90-б

850

27

85

Д2000-100

2000

100

3,5

760

Д2000-100-б

1500

92

4,4

675

Д2500-62

2500

62

2,5

500

Д3200-75

3200

75

2,5

800

Частота вращения 730 об/мин

Д2500-62

2000

34

4,5

250

Д3200-75

2500

45

4,5

400

Д3200-75-б

2450

42

4,6

360

Примечания: 1. Основные параметры насосов соответствуют ГОСТ 10272-87.

2. Буквы в марке обозначают:

а - первая обточка рабочего колеса; б - вторая обточка рабочего колеса.

Таблица 9

Марка насоса

Диаметр рабочего колеса, мм

Подача, м3

Напор, м

Допустимая высота всасывания, м

Мощность электродвигателя, кВт

Частота вращения 1480 об/мин

 

445

400

105

4

-

ЦН 400-105

290 - 500

120 - 92

200

(3В-200×2)

425

290 - 450

104 - 84

160

 

400

250 - 450

94 - 69

132

 

445

400

210

4,5

-

ЦН 400-210

290 - 500

240 - 185

400

(3В-200×4)

425

290 - 450

208 - 168

320

 

400

250 - 450

188 - 138

250

 

550/575

1000

180

2

-

ЦН 1000-180

800 - 1000

202 - 180

630

(10МНК×2)

530

720 - 1000

170 - 140

500

ЦН 900-310-УЗ

 

900

310

-5

1250

ЦН 900-310-а-УЗ

(14М-12×4)

 

865

300

1000

Примечание. Буквы в марке обозначают:

а - первая обточка рабочего колеса;

У, З - соответственно климатическое исполнение и категория размещения агрегата при эксплуатации по ГОСТ 15150-69.

При необходимости для шахтного водоотлива могут быть использованы и другие насосы, в частности в случаях, когда в рудничных водах ожидаются значительные примеси грунтовых частиц (до 40 г/л; dmax = 10 мм; Т ≤ 40 °С) предусматриваются секционные грязевые насосы типа ЦНСГ (табл. 10).

Пример 19. Месторождение полиметаллических руд расположено на юго-западном склоне центральной части горного хребта, имеющего невысокие отметки: в пределах месторождения - 400 - 450 м. Восточная часть месторождения нарушена надвигом и опущена по нему на глубину до 700 м. Юго-западная часть месторождения разорвана тремя надвигами и несколькими сбросами. Эти крупные тектонические нарушения сопровождаются мощными зонами дробления и интенсивной трещиноватостью пород, в которых сильно проявляется развитие карста.

Юго-западный склон хребта пологий со средней крутизной около 8°. У подножия хребта выделяется предгорная равнина, переходящая к югу в обширную низменность.

Речная сеть на склоне представлена многочисленными реками и их притоками. Все эти реки берут начало на водоразделе хребта и почти параллельно одна другой стекают по его склону.

В верхнем течении реки протекают в узких каньонообразных долинах с крутыми и отвесными склонами, имеют большие уклоны дна с частыми перепадами.

Перед выходом из гор долины рек расширяются до 200 - 300 м, склоны выполаживаются, уклоны дна уменьшаются.

Питание рек происходит за счет таяния снега в горах и в очень небольшой степени за счет дождей. Основная часть стока приходится на период весеннего снеготаяния. За три весенних месяца на реках проходит более 70 % годового стока, а за шесть месяцев с июля по декабрь включительно - всего 8 %. В маловодные годы в течение двух - трех летних месяцев реки полностью пересыхают.

Таблица 10

Марка насоса

Допустимая высота всасывания, м

Мощность электродвигателя, кВт

Марка насоса

Допустимая высота всасывания, м

Мощность электродвигателя, кВт

Частота вращения 1500 об/мин

ЦНСГ 850-600

-1,5

2000

ЦНСГ 850-240

-1,5

800

ЦНСГ 850-720

3150

ЦНСГ 850-360

1250

ЦНСГ 850-840

3150

ЦНСГ 850-480

2000

ЦНСГ 850-960

3150

Примечания: 1. Основные параметры насосов соответствуют ТУ 8-873-79.

2. Буквы в марке обозначают: Ц - центробежный, Н - насос, С - секционный, Г - грязевой.

3. Числа, входящие в марку насосов после букв, обозначают: первое - подача, м3/ч; второе - напор, м.

Характерной особенностью рек является уменьшение расходов воды вниз по течению, начиная с высоты 600 - 700 м.

Инфильтрация руслового стока происходит на тех участках речных русел, которые находятся в пределах распространения закарстованных карбонатных пород и расположены выше уровня подземных вод.

Средняя величина поглощения из всех речных русел в пределах области питания, тяготеющей к месторождению, составляет около 15000 м3/ч. Суммарная величина инфильтрации из рек и с площади водосбора в пределах области питания потока, проходящего через месторождение, оценивается для периода максимальной инфильтрации примерно в 30000 м3/ч. Минимальный расход подземного потока составляет 9000 м3/ч.

Район месторождения сложен в основном карбонатными породами, чередующимися слоями известняков, доломитизированных известняков и доломитов, толща (700 - 750 м) которых составляет обширный бассейн трещинно-карстовых вод. Фильтрационные свойства толщи характеризуются значениями коэффициентов фильтрации от нескольких (2,2 - 14,4) до измеряемых десятками и сотнями (25 - 300) м/сут.

Рудное тело толщиной в среднем 15 м вследствие складчатой структуры пластов скальных пород имеет сложное залегание, простираясь до значительных глубин (свыше 800 м от поверхности земли). Месторождение разбито на два шахтных поля: «Восточное», на котором руды залегают в основном до глубины 150 м, и «Западное», где руды залегают глубже 300 м. Каждое шахтное поле вскрыто двумя стволами.

Вначале на предприятии применялась камерная система разработки с жесткими барьерами и поддерживающими целиками. Затем на участках, где это возможно, перешли на разработку с обрушением кровли, а в районе центрального блока - полностью на метод гидравлической закладки хвостами обогатительной фабрики.

В первый период освоения и разработки шахтного поля «Восточное» были зафиксированы значительные притоки подземных вод, но уровни их при разработке залежей до глубины 150 м практически не снижались и располагались на отметках 375 - 395 м с амплитудой колебания 12 - 15 м в зависимости от климатических факторов. Со временем депрессия стала развиваться, и в этот период был получен прогноз развития понижения уровней подземных вод и их притоков в горные выработки при вскрытии нижних горизонтов (шахтное поле «Западное»). При этом учитывалось, что мероприятий по защите от поверхностных вод, подобных принятым в примере 13, решено было не предусматривать.

Сущность произведенного прогноза сведена к следующему:

по мере заглубления рудника центр тяжести притоков подземных вод будет до некоторых пор перемещаться в глубину, однако на вышележащих горизонтах он не будет исключен и, хотя на нижних этажах размер притока будет снижаться, он в общем по руднику останется значительным. Ожидается следующая динамика притока подземных вод в горные выработки:

при разработке шахтного поля «Восточное» до глубины 145 м (горизонт +255 м) - до 3300 м3/ч;

при разработке более глубоких горизонтов притоки подземных вод будут быстро возрастать и на глубине 185 м достигнут 8000 м3/ч, а при одновременной разработке и шахтного поля «Западное» до глубины 505 м достигнут максимума: до 16000 м3/ч - нормальный и до 28000 м3/ч - максимальный приток.

В дальнейшем возрастание этих расчетных значений притоков подземных вод не предполагается, однако будет происходить их перераспределение:

на шахтном поле «Восточное» нормальный приток на горизонте 145 м сократится в два раза, но общий приток к руднику не уменьшится, а несколько возрастет - в основном ниже горизонта 145 м до глубины 500 м; вода с шахтного поля «Восточное» более чистая и используется для водоснабжения, потребность которого составляет примерно 3000 м3/ч и поэтому обособленный водоотлив с шахтного поля «Восточное» необходим;

разработка шахтного поля «Западное» будет происходить длительный период; при подготовке каждого последующего горизонта приток вначале будет возрастать, затем - снижаться; на глубине 185 м нормальный приток снизится до 2000 м3/ч; на глубине 345 м установившийся нормальный приток составит 2400 м3/ч, а ниже глубины 505 м он будет равен примерно 8000 м3/ч, в том числе ниже глубины 665 м - 3200 м3/ч.

Требуется выбрать насосное оборудование и наметить схему шахтного водоотлива.

Решая поставленную задачу, принимаем совместную для обоих шахтных полей ступенчатую схему водоотлива без отключения промежуточных насосных станций.

Насосные станции верхних этажей размещаем у водоотливного ствола шахтного поля «Восточное», а нижних - у водоотливного ствола шахтного поля «Западное». Насосы принимаем преимущественно однотипные с подачей 800 - 1200 м /ч (для некоторых насосных - 400 м3/ч) с учетом расположения насосных станций через каждые два этажа по высоте, что позволит избежать излишних энергетических затрат, неизбежных при сбросе больших объемов воды на глубокие горизонты.

Число рабочих насосов подбираем по нормальному притоку, а при определении числа резервных насосов учитываем необходимость откачки с их помощью максимальных притоков воды.

Схема шахтного водоотлива приобретает следующий вид (черт. 54):

первую главную насосную станцию № 1 на расчетный нормальный приток 3300 м3/ч предусматриваем на глубине 145 м; насосы принимаем марки ЦН 1000-180, Q = 1000 м3/ч; из расчета откачки (также как и всех других насосных) суточного притока указанной выше интенсивностью (3300 м3/ч) за 20 ч необходимо принять 4 рабочих насоса, и согласно ЕПБ - 2 резервных и 1 - в ремонте, всего 7 насосов.

Эта насосная станция будет работать и далее как главная насосная шахтного поля «Восточное»; для нижних горизонтов предусматриваем участковые насосные станции на приток по 1600 м3/ч:

на глубине 345 м (№ 3) - с 8-мью насосами ЦН 400-210 (5 + 2 + 1) с подачей к главной насосной станции на глубине 145 м;

на глубине 505 м (№ 4) - с 4-мя насосами ЦН 1000-180 (2 + 1 + 1) с подачей к насосной станции на глубине 345 м, которая (после ввода насосной на глубине 505 м) будет работать уже как станция перекачки.

Весь избыточный приток с шахтного поля «Восточное», который не смогут откачивать насосные станции № 1, 3, 4, перепускается к водоотливному стволу шахтного поля «Западное».

Максимальный приток вод, который может быть откачен на шахтном поле «Восточное» с учетом использования резервных насосов, принимаем по подаче рабочих насосов насосной станции № 1 и минимального резерва на насосных станциях № 1, 3 и 4 (так как подача резервных насосов нижерасположенных насосных меньше, чем в главной насосной станции), т.е. 1000·4 + 2·400 = 4800 м3/ч.

Описание: 1

Черт. 54. Схема шахтного водоотлива (к примеру 19)

1 - шахтный ствол; 2 - восстающий; 3 - главная насосная станция № 1; 4 - главная насосная станция № 2; 5 - участковая насосная станция № 3; 6 - участковая насосная станция № 4; 7 - зумпфовая насосная станция; 8 - участковая и перекачная насосная станция № 5; 9 - водосброс; 10 - участковая и перекачная насосная станция № 6; 11 - участковая и перекачная насосная станция № 7; 12 - участковая насосная станция № 8

Главную насосную станцию шахтного поля «Западное» (№ 2) предусматриваем на глубине 185 м. Она должна откачивать приток воды ко всему руднику за вычетом вод, откачиваемых насосной станцией № 1, т.е. 16000 - 3300 = 12700 м3/ч при нормальном притоке и 28000 - 4800 = 23200 м3/ч при максимальном.

Соответственно необходимо принять подачу рабочих насосов (12700·24):20 = 15240 м3/ч - 20 насосов марки ЦН 1000-180 с подачей 800 м3/ч и напором 202 м и (23200 - 20·800):800 = 9 резервных и 3 в ремонте, всего 32 насоса.

Ниже предусматриваем участковые станции, которые (за исключением самых нижних) с течением времени будут служить также и перекачными:

№ 5 на глубине 345 м - с подачей рабочих насосов (12700 - 2000)·24:20 = 12840 м3/ч - 22 насоса марки ЦН 1000-180 (13 + 7 + 2) (при детальном проектировании необходимо уточнять, как будут распределяться по горизонтам нормальный и максимальный притоки, последний на верхних горизонтах останется значительным, так как связан с поверхностным стоком, и соответственно необходимо принимать число резервных насосов);

№ 6 на глубине 505 м - с подачей рабочих насосов (12700 - 2000 - 2400)·24:20 = 9960 м3/ч - 17 насосов марки ЦН 1000-180 (10 + 5 + 2);

№ 7 на глубине 665 м - с подачей рабочих насосов 8000·24:20 = 9600 м3/ч - 17 насосов марки ЦН 1000-180 (10 + 5 + 2);

№ 8 на глубине 825 м - с подачей рабочих насосов 3200·24:20 = 3840 м3/ч - 7 насосов марки ЦН 1000-180 (4 + 2 + 1).

Предусматриваем также на каждом шахтном поле по зумпфовой насосной у водоотливного ствола (из другого ствола вода перепускается к водоотливному), в каждой из которых устанавливаются по 4 насоса марки Д200-36-а, Q = 180 м3/ч, откачивающие воду, попадающую в стволы из руддворов всех горизонтов.

Горные предприятия с такими притоками уникальны, однако они не единичны. Для них необходимы насосы с большими подачей и напором, чем насосы, представленные в этом примере. Для таких рудников целесообразно насосное оборудование заказывать индивидуально.

Насосные станции с водосборниками

4.25. Главные подземные насосные станции с водосборниками следует предусматривать у шахтного ствола в комплексе с околоствольными выработками.

Участковые насосные станции необходимо проектировать в пониженных участках горного объекта и в других местах, откуда вода не может поступать самотеком к главной водоотливной установке.

В случае организации самостоятельной откачки на поверхность через скважину, шурф или восстающую скважину к такой насосной станции следует предъявлять требования, как к главной.

Насосные станции промежуточных горизонтов, используемые как станции перекачки и одновременно как участковые, должны быть предусмотрены у шахтных стволов или у восстающих скважин.

4.26. Насосные станции согласно ЕПБ должны иметь водосборники, состоящие из двух или более (примерно одинаковых) емкостей общей вместимостью не менее:

объема четырехчасового нормального притока - главной насосной станции подземного горного предприятия;

объема двухчасового нормального притока - участковой насосной станции и насосных станций дренажной шахты (самостоятельной дренажной системы).

Вместимость водосборников насосной станции промежуточного горизонта рекомендуется принимать равной сумме объемов двухчасового нормального притока своего горизонта и одночасового нормального притока, поступающего с нижних горизонтов.

4.27. В проекте следует предусматривать механизацию очистки водосборников - гидравлическую, скреперную и др.

При значительном содержании в откачиваемой воде твердых примесей необходимо предусматривать перед водосборником осветляющие сооружения с механизацией извлечения и транспортировки шлама. Например, при небольших притоках до 150 м3/ч можно использовать наклонные осветлители с гидроэлеваторной чисткой; при больших - осветляющие резервуары со скреперной чисткой; при сильно загрязненной воде целесообразно предусматривать вертикальные отстойники с выходящим потоком.

4.28. Каждая насосная станция должна иметь не меньше двух выходов; насосная станция, проектируемая в блоке с подстанцией, должна иметь еще выход в подстанцию. Выходы из насосных камер в околоствольные выработки и в электроподстанцию должны быть с герметичными дверями, а наклонный ходок в шахтный ствол должен иметь разность отметок между входом и выходом не менее 7 м.

4.29. Камера насосной станции должна быть сухой, хорошо вентилируемой, удобной для ремонта оборудования и пожаробезопасной.

Как правило, насосную станцию следует комплектовать насосами одного типоразмера; исключение составляют дренажные насосы собственно насосной камеры, которые подбираются независимо от типоразмеров насосов для откачки основного притока рудничных вод.

При отсутствии притока на промежуточном горизонте допускается проектировать ступенчатый водоотлив с последовательно включенными насосами, расположенными на разных горизонтах.

4.30. В насосных станциях следует применять коммутационные схемы напорных трубопроводов с минимальным количеством запорной арматуры.

4.31. Трубопровод, соединяющий водосборник или коллектор с водозаборным колодцем, должен быть снабжен устройством (затвором, задвижкой) с ручным управлением, позволяющим регулировать поступление воды к водозабору и герметизировать насосную камеру.

4.32. Для опорожнения напорных трубопроводов и выпуска воды в водозаборную емкость должен быть предусмотрен сливной трубопровод, оборудованный задвижкой с ручным управлением.

Соединения трубопроводов и арматуры следует проектировать, как правило, быстроразъемными.

4.33. В проекте необходимо предусматривать следующие виды управления насосными агрегатами главных и участковых насосных станций без постоянного обслуживающего персонала:

автоматическое - в зависимости от уровня воды в водозаборной емкости;

дистанционное - из диспетчерского пункта в зависимости от уровня воды в водозаборной емкости и от максимума нагрузки энергосистемы;

местное - на случай ремонта, опробования и наладки.

При проектировании автоматизации главных и участковых насосных станций следует соблюдать требования ВНТП 34-84 Минуглепрома СССР «Автоматизация и управление технологическими процессами».

4.34. Главные и участковые насосные станции следует предусматривать незаглубленными - с расположением насосов выше водосборника (черт. 55,а) или заглубленными - с расположением насосов ниже уровня воды в водосборнике (черт. 55,б).

Описание: 55

Черт. 55. Схемы насосных станций

а - незаглубленная; б - заглубленная

В недостаточно крепких породах и при относительно небольших притоках, что характерно для горных предприятий промышленности стройматериалов, угольной и других, предпочтительнее применение незаглубленных насосных станций; при больших притоках воды, встречающихся в рудной промышленности, когда необходимо применение высокопроизводительных насосов и имеется возможность устройства насосных станций в достаточно прочных породах, целесообразно применение заглубленных насосных станций.

4.35. Незаглубленные насосные станции допускается проектировать с устройством водозаборных колодцев (или камер) вне помещения насосной станции и в ее пределах, а также с устройством в помещении насосной камеры общей водозаборной траншеи.

4.36. Водозаборные колодцы можно предусматривать индивидуальными для каждого насоса или общими для группы насосов, но при числе насосов более трех должно быть не менее двух колодцев.

Описание: 56

Черт. 56. Незаглубленная насосная станция с тремя насосами типа ЦНС с отдельными водозаборными колодцами для насосов

1 - фундамент под насосный агрегат; 2 - насосный агрегат; 3 - кран ручной мостовой; 4 - опора под привод задвижки; 5 - трубопровод напорный; 6 - всасывающий трубопровод; 7 - приемная сетка; 8 - приемный колодец; 9 - кабельный канал; 10 - распределительный колодец; 11 - задвижка; 12 - решетка; 13 - установка управления задвижкой; 14 - таль ручная по монорельсу; 15 - щиты управления

На черт. 56 приведена насосная станция с тремя насосами типа ЦНС незаглубленного типа с внешним распределительным колодцем, отдельными водозаборными колодцами для двух крайних насосов и водозабором среднего насоса непосредственно из распределительного колодца. Распределение воды регулируется задвижками. Вода может быть направлена к любому водозаборному колодцу.

Трубопроводы в количестве двух ставов dy = 273 мм оснащены обратными клапанами типа 19нж17бк на Py = 4,0 МПа, dy = 250 мм (обратный, поворотный, однодисковый, фланцевый).

Подключение насосов к водоотливным трубопроводам осуществляется задвижками типа ЗКЛПЭ-40 на Py = 4,0 МПа, dy = 250 мм с электроприводами.

Заливка насосов предусмотрена из специального бака в трубно-кабельном ходке. Такелажные работы в насосной осуществляются однобалочным мостовым краном с ручным управлением грузоподъемностью 5 т. Пункты управления задвижками и всеми насосными агрегатами смонтированы в насосной камере.

Компоновка комплекса околоствольных выработок с учетом использования насосной станции, организация руддвора, расположение необходимых перемычек с водонепроницаемыми дверями приведены на черт. 57.

Водосборники предусматриваются из двух ветвей, чистка которых производится из специального ходка и наклонных съездов. Транспортировка шлама при чистке водосборников производится вагонетками. Подача и откатка предусматриваются специальными лебедками.

Водосборники соединены со специальным распределительным колодцем, из которого вода поступает в водозаборные колодцы.

Описание: 57

Черт. 57. Схема водоотливного комплекса с незаглубленной насосной станцией с тремя насосами типа ЦНС

1 - камера насосной станции; 2 - камера электроподстанции; 3 - водосборник; 4 - наклонный ходок; 5 - камеры для лебедок; 6 - ходок к водосборникам; 7 - перемычка с водонепроницаемыми дверьми, рассчитанными на давление 0,12 МПа; 8 - вентиляционный шлюз; 9 - перемычка с водопроницаемыми дверьми, рассчитанными на давление 0,1 МПа; 10 - околоствольный двор; 11 - дренажный ствол; 12 - наклонный трубно-кабельный ходок

Описание: 58

Черт. 58. Незаглубленная насосная станция с пятью насосами марок ЦНС 300-650, ЦНС 300-780, ЦНС 300-910, ЦНС 300-1040 с водозаборными молодцами

1 - насосный агрегат; 2 - насос вертикальный с электродвигателем; 3 - водозаборный колодец; 4 - блок распределения; 5 - блок управления; 6 - задвижка управляемая; 7 - клапан обратный; 8 - коллектор; 9 - водотрубный ходок; 10 - маслостанция; 11 - дублер гидравлический для переключения задвижек; 12 - регулировочный водосборник; 13 - герметичный люк; 14 - аварийный водосборник; 15 - ходок в насосную; 16 - кран ручной подвесной однобалочный; 17 - затвор

4.37. При проектировании незаглубленных центральных насосных станций шахтного водоотлива для глубин свыше 500 м при нормальном притоке от 150 м3/ч и выше, числе насосов три и более рекомендуется руководствоваться схемами, приведенными на черт. 58 - 61, в которых принято:

два водозаборных колодца при пяти насосах (при трех насосах может быть один колодец) или водозаборной траншеи - в пределах насосной камеры;

два напорных трубопровода в насосной станции с учетом параллельной работы двух насосов на один трубопровод при пяти насосах в насосной камере;

применение насосов марок ЦНС 300-650-1040 совместно с подкачивающим насосом марки ВП-340;

для подключения насосов к напорным трубопроводам - гидроуправляемые задвижки типа ЗУ1020Б dy = 200 мм и типа ЗУ1025Б dy = 250 мм на Py = 10 МПа;

управление задвижками - электрогидравлическим приводом типа ПЗГЭ, в комплект которого входит маслостанция, блоки распределения, блоки управления и дублер гидравлический для переключения задвижек;

обратные клапаны - типа КОШ 100/200 на Py = 10 МПа, = 200 мм;

для подключения ветвей водосборника к водозаборным колодцам или траншее и герметизации насосной камеры - затворы поворотные дисковые типа 16ч42р на Py = 0,25 МПа, dy = 600 мм;

спуск воды из напорных трубопроводов в стволе при их ремонте - через сливной трубопровод в водозаборный колодец или траншею - с помощью задвижек ручных типа ЗКЛ2-160 на Py = 16,0 МПа, dy = 100 мм;

для монтажа оборудования и проведения текущих и планово-предупредительных ремонтов насосных агрегатов - два ручных подвесных крана грузоподъемностью по 5 т.

Описание: 59

Черт. 59. Гидравлическая схема незаглубленной насосной станции с пятью насосами марок ЦНС 300-650, ЦНС 300-780, ЦНС 300-910, ЦНС 300-1040 с водозаборными колодцами

1 - насосный агрегат; 2 - задвижка ручная; 3 - измерительная диафрагма; 4, 5 - гидроуправляемые задвижки; 6 - обратный клапан; 7 - нагнетательный трубопровод; 8 - гаситель гидравлических ударов; 9 - маслостанция электрогидропривода; 10 - сливной трубопровод; 11 - водозаборный колодец; 12 - подкачивающий насос марки ВП-340; 13 - всасывающий трубопровод

Описание: 60

Черт. 60. Незаглубленная насосная станция с пятью насосами марок ЦНС 300-650, ЦНС 300-780, ЦНС 300-910, ЦНС 300-1040 с водозаборной траншеей

1 - насосный агрегат; 2 - насос вертикальный с электродвигателем; 3 - затвор; 4 - водозаборная траншея; 5 - блок распределения; 6 - блок управления; 7 - задвижка управляемая; 8 - клапан обратный; 9 - водотрубный ходок; 10 - маслостанция; 11 - дублер гидравлический для переключения насосов; 12 - регулировочный водосборник; 13 - аварийный водосборник; 14 - герметичный люк; 15 - ходок в насосную; 16 - кран ручной подвесной однобалочный

Черт. 61. Гидравлическая схема незаглубленной насосной станции с пятью насосами марок ЦНС 300450, ЦНС 300-780, ЦНС 300-910, ЦНС 300-1040 с водозаборной траншеей

1 - насосный агрегат; 2 - задвижка ручная; 3 - измерительная диафрагма; 4, 5 - гидроуправляемая задвижка; 6 - обратный клапан; 7 - нагнетательный трубопровод; 8 - гаситель гидравлических ударов; 9 - маслостанция электрогидропривода; 10 - сливной трубопровод; 11 - затвор; 12 - всасывающий трубопровод; 13 - водозаборная траншея; 14 - подкачивающий насос марки ВП-340; 15 - водосборник

Следует учитывать, что водозаборные траншеи трудно герметизировать. Поэтому их недопустимо предусматривать в дренажных шахтах карьеров (разрезов), когда вода может поступать в водосборники (после взрывов) с некоторыми примесями газов. В таких случаях целесообразно предусматривать водозаборные герметичные колодцы.

Компоновка комплекса околоствольных выработок при насосных станциях подобного вида см. черт. 62.

4.38. Насосные станции заглубленного типа имеют значительные эксплуатационные преимущества по сравнению с незаглубленными насосными станциями, а именно:

упрощается схема автоматизации;

используются высокопроизводительные насосы с низкой высотой всасывания и высоким КПД, в том числе и вертикальных насосов, позволяющих значительно снизить объемы насосных камер.

Устраняются возможность срыва вакуума и необходимость заливки насосов.

Все это существенно повышает технико-экономические показатели системы водоотлива.

На черт. 63 приведена общая схема водоотливного комплекса дренажной шахты с заглубленной насосной станцией для откачки притока в размере до 2000 м3/ч и требуемом напоре до 180 м.

В этом решении предусмотрено поступление воды из дренажных штреков через специальную вспомогательную выработку - ходок в водосборники, из них в распределительный узел. Система затворов позволяет регулировать поступление в него воды из любого водосборника и также подачу воды к любому насосу через галереи с герметичными перегородками и производить необходимые ремонты оборудования и чистки выработок.

Чистка водосборников предусмотрена механическая - скреперами, для которых в торцах водосборников намечены специальные камеры для установки лебедок. Сообщение с водосборниками по наклонным ходкам.

Описание: 62

Черт. 62. Схемы расположения главной насосной станции

а - с ходком справа; б - с ходком слева; 1 - ствол клетьевой; 2 - камера ожидания; 3 - водотрубный ходок; 4 - камера главной насосной станции; 5 - камера электроподстанции; 6 - депо противопожарного поезда

Описание: 63

Черт. 63. Схема водоотливного комплекса с заглубленной насосной станцией с четырьмя насосами марки ЦН 1000-180

1 - клетьевой ствол; 2 - трубный ходок; 3 - насосная камера; 4 - распределительный узел (камера управления затворами); 5 - затворы; 6 - руддвор; 7 - наклонный ходок; 8 - камера электроподстанция; 9 - квершлаг; 10 - ходок к водосборникам; 11 - камера лебедок; 12 - наклонный ходок к водосборнику; 13 - водосборник

Описание: 64

Черт. 64. Заглубленная насосная станция с четырьмя насосами марки ЦН 1000-180

1 - насосный агрегат; 2 - задвижка; 3 - обратный клапан; 4 - напорные трубопроводы; 5 - водосборный приямок; 6 - приемный клапан с сеткой; 7 - насосный агрегат для откачки воды из водосборного приямка; 8 - фундамент под насосный агрегат; 9 - галерея всасывающего трубопровода; 10 - водоподводящая галерея; 11 - кран мостовой однобалочный; 12 - трубный ходок

Описание: 65

Черт. 65. Схема водоотливного комплекса дренажной шахты с заглубленной насосной станцией и центральным расположением шахтных стволов

1 - водоотливный ствол; 2 - вентиляционный ствол; 3 - правая ветвь рудничного двора; 4 - камера аккумуляторных электровозов; 5 - камера электроподстанции; 6 - вентиляционная выработка; 7 - выработка шиберных затворов; 8 - распределительный колодец; 9 - трубнокабельные ходки; 10 - камера заглубленной насосной станции с четырьмя насосами марки ЦНСГ 850-360; 11 - водосборник; 12 - наклонный подъемник; 13 - герметическая перемычка; 14 - перемычка с трубами; 15 - наклонный ходок - подъемник; 16 - камера лебедки; 17 - левая ветвь рудничного двора

В насосной станции (черт. 64) предусмотрены четыре насоса марки ЦН 1000-180, два напорных трубопровода и возможность подключения каждого насоса (через задвижку и обратный клапан) к любому трубопроводу.

Монтажные операции должны быть выполнены с помощью мостового крана.

На черт. 65 приведена компоновка водоотливного комплекса дренажной шахты с заглубленной центральной насосной станцией при центральном спаренном расположении шахтных стволов и системе спаренных дренажных выработок, позволяющих сократить вместимость водосборников у насосной станции.

При этой компоновке предусмотрено: вода из дренажных выработок по трубам диаметром 600 мм, пропущенным через глухую (без дверей) перемычку, поступает в распределительный колодец, из него - в одну из двух ветвей или в обе ветви коллектора-водосборника (регулирование производится задвижками); коллектор-водосборник имеет колодец-регулятор с задвижками, позволяющими выключать часть коллектора-водосборника при его чистке с помощью скрепера и лебедки, установленных в торце выработки; в коллекторе-водосборнике предусмотрены трубы для сжатого воздуха, которые позволяют взмучивать грунтовый осадок и удалять его при откачке воды. Поэтому чистка водосборников с помощью скреперов предполагается лишь в редких случаях. Соответственно в насосной станции, рассчитанной на откачку до 5000 м3/ч воды с примесями твердых частиц до 40 кг/м3 при требуемом напоре свыше 300 м принято (черт. 66) восемь насосов марки ЦНСГ 850-360.

К каждому насосному агрегату вода поступает из водосборника по трубам с шиберными задвижками. Управление шиберными задвижками осуществляется из специальной выработки, пройденной на горизонте околоствольного двора.

Описание: 66

Черт. 66. Заглубленная насосная станция с восемью насосами марки ЦНСГ 850-360

1 - насосный агрегат; 2 - приемная сетка; 3 - трубопровод для чистки водосборника; 4 - шибер с подъемным механизмом; 5 - таль ручная; 6 - камера управления шибер - затвором; 7 - кран мостовой однобалочный; 8 - гаситель гидравлических ударов; 9 - нагнетательные трубопроводы; 10 - задвижки ручные; 11 - насосные агрегаты для охлаждения двигателей; 12 - задвижка с электроприводом; 13 - обратный клапан; 14 - камера дренажных насосов

Выработка сообщается с галереями всасывающих труб через специальные колодцы. Водоподводящие галереи отделены от насосной камеры железобетонными перегородками, через которые пропускаются всасывающие трубы. Напорных трубопроводов диаметром 500 мм предусмотрено четыре - по одному на два насоса. Трубопроводы подводят к стволу по двум трубно-кабельным ходкам.

На случай аварийного поступления воды в насосную камеру в ней должны быть предусмотрены специальные дренажные насосы, а также специальные насосы для охлаждения электродвигателей.

На напорных трубопроводах перед началом подъема трубно-кабельных ходков предусмотрены обратные клапаны.

Грузы (детали труб и насосов) транспортируются по наклонному ходку с помощью специальных лебедок (см. черт. 65).

В камере должен быть установлен мостовой кран грузоподъемностью 8 т.

4.39. Зумпфовые насосные станции, перекачивающие воду из зумпфа шахтного ствола в водосборники центральной насосной станции, рекомендуется предусматривать в камерах у стволов с использованием консольных насосов по одной из двух смен:

а) насосы зумпфового водоотлива располагаются на горизонте рудничного двора (черт. 67), максимальная глубина зумпфа 5 - 5,5 м. Эта схема зумпфового водоотлива применяется при небольших притоках воды в зумпф и при отсутствии подъема с противовесом. Вода по нагнетательному ставу подается до выработки, уклон которой в руддворе направлен в сторону водосборника;

б) насосы зумпфового водоотлива располагаются в пределах самого зумпфа глубиной не менее 10 м. При наличии подъема с противовесом вода в зумпфе должна стоять на такой глубине, чтобы при переподъеме клети противовес и парашютная его система не оказались в воде.

В зумпфовой насосной станции должно быть два насоса: рабочий и резервный. При большом притоке число насосов может быть увеличено.

В случае расположения зумпфа ствола выше водосборников центральной насосной станции вместо зумпфовой насосной станции следует предусматривать непосредственную сбойку зумпфа ствола с водосборником.

4.40. В проекте должны быть предусмотрены у шахтных стволов временные насосные для откачки притоков воды к выработкам до готовности постоянных водоотливных установок.

Простейшее решение временных насосных установок - размещение их на перекрытии в руддворе с водозабором непосредственно из зумпфа шахтного ствола (черт. 68,а). При недостаточной вместимости зумпфа (а требования к временному водоотливу те же, что и к постоянному) можно (в прочных породах) временную насосную станцию и водосборники предусмотреть в одной камерной выработке, располагая насосные агрегаты над перекрытием емкости для водосборников (черт. 68,б).

Описание: 67

Черт. 67. Зумпфовая насосная станция

1 - насосный агрегат; 2 - нагнетательный трубопровод; 3 - задвижка; 4 - обратный клапан; 5 - всасывающий трубопровод; 6 - приемный клапан с сеткой

Описание: 68

Черт. 68. Временные насосные станции

а - без специальной водосборной камеры; б - с небольшим водосборником; 1 - насосный агрегат; 2 - зумпфовый водосборник; 3 - всасывающий трубопровод; 4 - камера временной насосной станции; 5 - шахтный ствол; 6 - камера постоянной насосной станции; 7 - водосборник постоянной насосной станции; 8 - камера электроподстанций; 9 - труба с задвижкой; 10 - электрощитовая; 11 - водосборник временной насосной станции

Описание: 69

Черт. 69. Временная насосная станция при больших расчетных притоках

1 - насосный агрегат; 2 - напорный трубопровод; 3 - водозаборный колодец; 4 - задвижка ручная; 5 - водопропускная труба; 6 - водосборник; 7 - труба для заливки насоса; 8 - заливной бак; 9 - труба для заливки бака; 10 - трубный ходок; 11 - приемный клапан; 12 - всасывавший трубопровод; 13 - обратный клапан; 14 - задвижка с электроприводом; 15 - управление задвижкой

Описание: 70

Черт. 70. Схема водоотлива при проходке глубокого шахтного ствола

1 - камера электрооборудования; 2 - камера станции перекачки; 3 - напорный трубопровод; 4 - подвесной насос; 5 - канат

При ожидающихся в начальный период значительных притоках необходимо проектировать временную насосную станцию исходя из тех же принципов, что и постоянную (черт. 69).

4.41. Для периода проходки шахтного ствола необходимо предусматривать водоотлив с использованием подвесных насосов и станций перекачки (черт. 70, 71). Кроме того, в проекте должны быть предусмотрены переносные и передвижные агрегаты для применения воды в призабойных водоотливных установках и откачки ее из отдельных пониженных мест.

Описание: 71

Черт. 71. Станция перекачки при проходке глубокого шахтного ствола

1 - насосный агрегат; 2 - всасывающий трубопровод; 3 - водосборник; 4 - сливная труба; 5 - задвижка; 6 - обратный клапан; 7 - ручная кошка; 8 - напорный трубопровод; 9 - камера электрооборудования

4.42. Напорные трубопроводы должны быть рассчитаны на максимальную подачу всех рабочих и резервных насосов. Необходим резервный трубопровод на случай ремонта одного из них (расчет напорных трубопроводов см. в разд. 12).

4.43. В водоотливном стволе должны быть предусмотрены необходимые опоры для ставов напорных трубопроводов и, как правило, отделения для трубопроводов (с обеспечением доступа для их ремонта и замены отдельных участков труб), клетьевое, для противовеса, лестничное (с ходком к нему из наклонного ходка) и для пропуска кабелей (черт. 72).

Описание: 72

Черт. 72. Водоотливный ствол дренажной шахты

1 - напорный трубопровод; 2 - промежуточная опора (расстояние между опорами ~ 120 м); 3 - компенсатор сальниковый; 4 - балка для крепления напорного трубопровода (расстояние между балками ~ 12,5 м); 5 - опорное колено; 6 - опорные балки; 7 - ходок к лестнице; 8 - растрел; 9 - противовес; 10 - лестничное отделение; 11 - трубопровод сжатого воздуха и водопровод

5. ИНЖЕНЕРНЫЕ НАБЛЮДЕНИЯ И УСТРОЙСТВА ДЛЯ НИХ НА ГОРНЫХ ПРЕДПРИЯТИЯХ

Общие положения

5.1. Задачи предусматриваемых в проекте наблюдений заключаются в получении информации об эффективности системы защиты, изучении изменений природных условий при строительстве и эксплуатации горного предприятия.

Полученные в результате наблюдений данные могут привести к корректировке проекта защиты и должны быть использованы для проведения защитных мероприятий, производства горных работ, обеспечения нормальной эксплуатации горных выработок, а также для своевременного принятия мер для восполнения ущерба природным условиям и народнохозяйственным объектам.

5.2. Согласно СНиП 2.06.14-85 необходимо вести наблюдения: за температурой воздуха, количеством выпадающих осадков, расходами и уровнями воды в реках и водоемах, за уровнями, температурой, химическим и газовым составами подземных и откачиваемых вод, за деформациями пород и земной поверхности, осадками и деформациями сооружений, расположенных в зоне влияния системы защиты.

Для проведения комплекса гидрометеорологических, гидрогеологических и геодезических наблюдений в проекте должны быть предусмотрены необходимые посты, наблюдательные скважины, репера, марки и оборудование для их выполнения.

На отдельных этапах развития горного предприятия следует изучать объем поверхностного стока в ограждающих канавах и открытых выработках, характер развития депрессионной поверхности в различных водоносных слоях, радиусы депрессионных воронок в различных водоносных слоях, характеристики фильтрационных свойств пород, взаимосвязи водоносных слоев и источников их питания, температурный режим и химический состав подземных вод, содержащихся в различных горных породах, инженерно-геологическое строение разрабатываемого месторождения и состояние горных пород в открытых и подземных выработках.

Следует предусматривать также наблюдения за нарушениями поверхности земли, развитием карста, эрозионных, оползневых и прочих инженерно-геологических процессов.

Кроме того, необходимо наблюдать за работой устройств системы защиты (водопонизительных скважин, дренажей, водоотливных средств, противофильтрационных завес и т.п.).

В проекте должен быть определен состав наблюдений (а при необходимости и методики отдельных их видов) в строительный и эксплуатационный периоды и должны быть выданы чертежи (мелкомасштабные карты, ситуационные планы) с нанесенным на них расположением всех наблюдательных точек (постов, скважин, реперов, марок и т.п.), ведомости оборудования и, при необходимости, специальные методические указания и чертежи устройств и приспособлений, которые должны быть изготовлены или сооружены при строительстве (в частности, чертежи наблюдательных скважин).

Программы наблюдений (с установлением полного объема) разрабатываются в проекте только на начальный период работ на срок от одного до трех лет. В дальнейшем они разрабатываются службой, ведущей наблюдения, и утверждаются главным инженером горного предприятия.

5.3. В строительный период материалы наблюдений необходимо обрабатывать и оформлять в виде квартальных и годовых отчетов (но не реже, чем раз в полгода) аналогично обработке и оформлению материалов изысканий и направлять в проектную организацию, которая должна принимать решения и корректировать проект. В период эксплуатации решения по материалам наблюдений принимаются руководством горного предприятия, а при необходимости - с привлечением проектной организации.

5.4. В период строительства за геодезическо-маркшейдерское обеспечение горных работ ответственна строительная организация, и она должна вести предусмотренные проектом геодезические наблюдения. Она же осуществляет инженерно-геологический надзор при бурении водопонизительных скважин. В дальнейшем по мере ввода в действие добычных мощностей геодезическо-маркшейдерская служба создается и у заказчика, к которому переходят обязанности ведения геодезических наблюдений в эксплуатационный период.

Другие наблюдения (гидрометеорологические, гидрогеологические и инженерно-геологические в горных выработках), предусмотренные проектом в периоды строительства и эксплуатации месторождения, должен выполнять заказчик. Для этого в проектах следует предусматривать соответствующие штаты гидрогеологической службы и необходимое оборудование.

Гидрометеорологические наблюдения

5.5. Гидрометеорологические наблюдения в общем по СССР ведут гидрометеорологические станции и посты Госкомгидромета СССР.

Однако для более полного и оперативного получения данных на крупных горных предприятиях следует предусматривать выполнение гидрометеорологических наблюдений.

5.6. Состав и объем гидрометеорологических наблюдений определяются в каждом отдельном случае в зависимости от природных условий месторождения, значимости гидрометеорологических данных для решения текущих задач защиты и степени их освещения станциями и постами Госкомгидромета СССР.

Например, измерения количества выпадающих осадков непосредственно в карьере и размеров притоков к карьерным водосборникам позволят уточнить коэффициенты поверхностного стока для различных вскрытых в карьере горных пород, соответственно скорректировать карьерный водоотлив и тем самым избежать излишних затрат и аварийных ситуаций. В случае протекания поблизости от горных выработок реки, измерение ее расходов выше (по течению) и ниже горного предприятия позволяет определить количество воды, притекающей к горным выработкам (или к водопонизительным устройствам) непосредственно из реки.

Описание: 73

Черт. 73. Схема реечного гидропоста на береговом откосе

1 - упор из каменной наброски; 2 - рейка (металлически или деревянная); 3 - бетонная подготовка толщиной 10 см; 4 - щебеночная подготовка толщиной 15 см; 5 - болты, закладываемые при устройстве бетонной подготовки

При небольших объемах водозащитных мероприятий и малом влиянии на них поверхностного стока можно ограничиться минимальным объемом гидрометеорологических определений: фиксацией погоды и температуры воздуха в журнале обычных гидрометеорологических наблюдений (см. п. 5.20) и наблюдениями за состоянием водных объектов, находящихся в ведении горного предприятия.

5.7. Для наблюдений за уровнями воды при пологих берегах используют реечные (черт. 73) или свайные (черт. 74) гидропосты, а при крутых берегах и больших (до 10 м) амплитудах уровня - передаточные устройства (черт. 75).

Описание: 74

Черт. 74. Схема свайного гидропоста

1 - наивысший уровень воды; 2 - минимальный уровень воды; 3 - свая; 4 - репер

Измерения высоты уровня ведутся, как правило, в теплый период года и в определенно установленное время. При промерзании или пересыхании воды в створе поста измерения прекращаются.

Описание: 75

Черт. 75. Схема устройства передаточного гидропоста

1 - сваи; 2 - вьюшка; 3 - рейка; 4 - марка на тросе; 5 - вынос; 6 - блок; 7 - трос; 8 - груз

5.8. Расходы воды водотоков определяются по гидрометрическим створам - закрепленным на месте поперечникам, разбиваемым перпендикулярно направлению течения. Измерение расходов может быть предусмотрено вертушкой, с помощью водослива, объемным и другими способами в зависимости от характера водотока, требуемой точности измерений и наличных средств.

Измерения вертушками производятся на разных глубинах на нескольких характерных для данного поперечника вертикалях, выбираемых на основании промеров и нивелировки сечения. По средним скоростям на каждой вертикали подсчитывается расход через все живое сечение водотока.

При измерении расходов в рудничных водоотводящих канавках и лотках можно применять устройство в виде водослива с тонкой стенкой. Для этого на водотоке целесообразно устроить водомерный пост, на котором весь расход пропускается через треугольный или трапецеидальный вырез в тонкой перегородке (черт. 76).

При треугольном вырезе (черт. 76,а) и высоте живого сечения в нем 6 - 65 см, при условии, что ширина потока b не менее чем в 5 раз больше высоты перелива h, а та в свою очередь должна быть в 3 (или более) раза меньше полной глубины потока перед водосливом H, т.е. при hН/3, b > 5h и наклоне боковых сторон треугольника к вертикали α = 45° расход Q, м3/с, определяется по формуле Q = 1,4 h5/2.

Описание: 1

Черт. 76. Схемы водосливов с тонкой стенкой

а - треугольный; б - трапецеидальный

Треугольным водосливом допускается пользоваться при измерении расхода менее 0,5 м3/с. При больших расходах в пределах до 2 м3/с следует применять трапецеидальный водослив (черт. 16,б). В этом случае при условии, что ширина основания трапеции, b, не менее, чем в 4 раза больше высоты перелива, т.е. при b ≥ 4h и наклоне боковых сторон трапеции к вертикали α = 14° расход определяется по формуле Q = 1,86bh3/2.

5.9. Наблюдения за температурой поверхностных вод в случае отсутствия других специальных требований ведутся лишь в период, предшествующий ледоставу.

Наблюдения за химическим составом необходимы для своевременного принятия мер против загрязнения вредными стоками водных объектов и подземных вод, а также для выявления взаимосвязи поверхностных и подземных вод.

При систематическом наблюдении за общим состоянием водного объекта необходимо вести журнал (см. форму 1).

5.10. При проектировании устройств и выборе методик наблюдений следует дополнительно руководствоваться Наставлением гидрологическим станциям и постам, выпускаемым Госкомгидрометом СССР в 11 выпусках и частях.

Гидрогеологические и инженерно-геологические наблюдения

5.11. Гидрогеологические наблюдения предназначаются для изучения режима подземных вод в условиях строительства и эксплуатации горного предприятия и осуществления водозащитных мероприятий. Это изучение является продолжением гидрогеологических исследований, начатых еще при разведке месторождения полезного ископаемого, и должно включать:

уточнение геологического строения и инженерно-геологической характеристики горных пород:

определение динамики уровней, температуры, химического состава, газоносности, взаимосвязи между собой и с поверхностными водами подземных вод различных водоносных слоев и соответствия всего этого проектным прогнозам;

уточнение фильтрационных свойств (коэффициентов фильтрации, водоотдачи, пьезо- и уровнепроводности) горных пород;

уточнение и выявление изменений условий питания и разгрузки подземных вод при строительстве и эксплуатации горного предприятия.

5.12. Для решения указанных задач в проекте должны быть предусмотрены специальные наблюдательные скважины и пьезометры в водопонизительных скважинах и других устройствах.

Кроме того, следует выполнять специальные гидрогеологические наблюдения при бурении всех скважин, используемых в системе защиты и наблюдения в самих горных выработках.

5.13. В проекте необходимо исходить из того, что при производстве работ должен быть обеспечен необходимый гидрогеологический надзор при бурении всех видов скважин в периоды строительства и эксплуатации: следует выполнять наблюдения за литологическим составом и трещиноватостью пород, изменением уровня воды в скважинах, потерей промывочной жидкости в них, самоизливом воды из скважины и выносом из них твердых частиц, провалами бурового инструмента, выходом керна, устойчивостью пород в стенках скважин, их газоносностью, скоростью бурения по породам разного литологического состава, а при бурении в термических зонах и за температурой воды в скважинах.

Форма 1

Объект наблюдений

Примечания

Дата

Время, ч, мин

Уровень воды, см, над нулем поста

Температура, °С

Осадки

Ветер

Словесное описание состояния объекта (волнение, шуга, лед и др.)

воды

воздуха

1

2

3

4

5

6

7

8

9

 

 

 

 

 

 

 

 

 

 

 

 

 

 

 

 

 

 

5.14. Наблюдательные скважины должны быть запроектированы, как правило, на все водоносные слои с учетом их значимости в общей проблеме обводнения горных выработок. В частности, обязательно следует выполнять наблюдения в первом от поверхности, наиболее водообильных и ближайших кровле и почве полезного ископаемого водоносных слоях. Зачастую наблюдается переслаивание пород, которое настолько затрудняет их расчленение на водоносные и водоупорные слои, что их рассматривают как единый комплекс. В подобных случаях следует предусматривать часть наблюдательных скважин на разных отметках по высоте разреза, располагая остальные скважины в наиболее характерном прослойке.

Кроме этого, при проектировании размещения наблюдательных скважин необходимо учитывать следующее.

Наблюдательные скважины предназначаются для проверки достижения требуемого эффекта водопонижения и получения данных, на основе которых проверяется соответствие результатов водопонизительных работ с выполненным при проектировании расчетом и при необходимости вносятся коррективы в проект.

Наблюдательные скважины должны быть намечены в проекте в расчетных точках, где требуемое понижение уровня подземных вод принимается за исходную величину или определяется расчетом.

Общим принципом расположения наблюдательных скважин является сгущение сети вблизи водо-понизительной системы и разряжение ее по мере удаления от нее и горных выработок.

Наблюдательные скважины целесообразно размещать по лучам, направленным от водопонизительной системы к выявленным или возможным источникам питания (и загрязнения) подземных вод (водоемам, водотокам хвосто- и шламохранилищам, гидроотвалам и т.п.), а также по простиранию и в крест простирания пород, в направлении соседних водозаборов.

На водопонизительном контуре наблюдательные скважины следует располагать в середине между водопонизительными. Кроме того, каждая десятая водопонизительная скважина оборудуется пьезометрами внутри фильтровой колонны и в затрубном пространстве, дополнительной задвижкой для замеров дебетов и отбора проб для проверки содержания в откачиваемой воде твердых примесей.

В районе водных объектов - возможных источников питания и загрязнения подземных вод - наблюдательные скважины следует размещать на таком расстоянии от уреза воды в объектах, при котором надежно улавливается их влияние на изменение уровня подземных вод.

В случае, если уровень подземных вод окажется ниже дна объекта, наблюдательные скважины следует располагать с обеих его сторон.

При наличии в системе защиты противофильтрационной завесы необходимо предусматривать наблюдательные скважины с обеих ее сторон.

При проектировании размещения наблюдательных скважин необходимо учитывать характер геологического строения месторождения: горизонтальное, наклонное или мульдообразное залегание водоносных слоев в некоторой мере различно влияет на пространственное развитие водопонижения. Поэтому при всяких усложненных структурах не обязательно располагать скважины по определенным прямолинейным лучам, или, кроме лучей, намечать дополнительные наблюдательные скважины на участках, требующих проверки проектных предположений. Например, при расположении водозаборных устройств на пониженных участках водоносных слоев, повышенные участки могут быть осушены раньше других и, если это требуется для решения производственных задач, фактический эффект следует проверять с помощью наблюдательных скважин.

Необходимо уточнять роль тектонических разломов. Некоторые из них - заполненные глинистым материалом - могут создавать преграду фильтрационному потоку, другие будут обладать повышенной водопроводимостью. В обоих случаях при проектировании размещения скважин следует учитывать простирание тектонических зон по отношению к устройствам систем защиты. При пересечении направленного к ним фильтрационного потока разломом следует предусматривать наблюдательные скважины с обеих его сторон.

При разобщенных водоносных слоях необходимо в характерных наблюдательных точках устанавливать пьезометры на разные водоносные слои, можно в одной скважине.

Наблюдательные скважины следует предусматривать и в подземных выработках. В частности, для наблюдения за водопонижением в слое, залегающем над горными выработками, целесообразно предусматривать восстающие наблюдательные скважины.

При проектировании размещения наблюдательных скважин следует соблюдать требования пп. 2.43 - 2.45 СНиП 2.06.14-85.

5.15. Наблюдательные скважины, предназначенные для наблюдения в одном водоносном слое (черт. 77,а), допускается осуществлять с помощью вращательного бурения, применяя в неустойчивых породах глинистую промывку. Если с глинистой промывкой пройден водоносный слой пород, в котором необходимо выполнять наблюдения, то скважина должна быть разглинизирована обратной промывкой. С этой целью фильтровая колонна скважины снабжается наконечником с шаровым клапаном, через который осуществляется обратная промывка (черт. 77,б).

Если в одной точке необходимы наблюдения за несколькими водоносными слоями или на нескольких горизонтах в слое горных пород сложной структуры, то скважины бурят на необходимые глубины в непосредственной близости одна от другой и их показания рассматриваются как данные наблюдений в одной точке или в одной скважине устанавливают несколько пьезометров на разной глубине (черт. 78).

Описание: 1

Черт. 77. Конструкции наблюдательных скважин на один водоносный слой

а - без разглинизации скважины; б - при разглинизации скважины; 1 - крышка с замком; 2 - кондуктор; 3 - надфильтровая труба; 4 - фильтр; 5 - седло; 6 - шаровой клапан; 7 - отстойник; 8 - тампон из глины или цемента высотой не менее 5 м; 9 - обсадная труба; 10 - песчано-гравийная смесь; 11 - местный песчаный грунт; 12 - направляющие фонари

Фильтры скважин и пьезометров, установленные в одной точке на разных глубинах, должны быть надежно изолированы один от другого и от другой части неоднородного слоя, а также от других водоносных слоев с помощью обсадных труб, цементных и глиняных тампонов.

Все скважины для наблюдений следует бурить с полным отбором керна, на основании изучения которого уточняется геологический разрез и высотное положение фильтровых звеньев.

5.16. При проектировании наблюдательных скважин должны соблюдаться требования обязательного приложения 2 СНиП 2.06.14-85.

Кроме специальных наблюдательных скважин, допускается предусматривать для наблюдений за режимом подземных вод использование гидрогеологических скважин, пробуренных при изысканиях, и неиспользуемые по прямому назначению другие скважины, например, водопонизительные, выключаемые из-за снижения притоков.

Устье наблюдательных скважин оформляется в виде оголовка с крышкой и замком, выступающего не менее чем на 0,5 м над поверхностью земли.

5.17. Частоту замеров уровней воды в наблюдательных скважинах и пьезометрах, установленных в действующих водопонизительных скважинах, следует предусматривать соответственно ожидаемой динамике развития депрессии и необходимости получения информации.

На начальном этапе водопонижения и в случаях неустановившегося движения (при паводках, аварийных отключениях водопонизительных устройств и т.п.) наблюдения в расчетных точках, ближайших к водопонизительной системе наблюдательных скважинах и пьезометрах водопонизительных скважин, а также замеры уровней воды следует производить не реже одного раза в сутки. В дальнейшем период между замерами увеличивается до одной недели, а в дальних скважинах - до одного месяца.

Черт. 78. Наблюдательная скважина на несколько водоносных слоев

1 - крышка с замком; 2 - кондуктор; 3 - пьезометры; 4 - тампон из глины или цемента высотой не менее 5 м; 5 - песчано-гравийная обсыпка

Измерение расходов откачиваемой воды и определение твердых примесей и газосодержания в ней необходимо вести с такой же частотой, как наблюдения за уровнями воды в скважинах; измерения температур и химанализы - не реже чем один раз в три месяца.

5.18. Для измерения уровня подземных вод в скважинах используются уровнемеры механические и электрические.

Простейшими из механических уровнемеров являются хлопушки и поплавковые уровнемеры.

Хлопушки применяются для измерения уровней воды в скважинах на глубинах до 100 м.

Поплавковые уровнемеры, состоящие из поплавка, передаточного механизма и отсчетного устройства, применяются при небольшом диапазоне колебания уровней воды.

Для получения оперативной информации об уровне воды в скважинах различного назначения во взрывобезопасной и неагрессивной среде при температуре воды от 1 до 40 °С можно предусматривать гидростатический скважинный датчик уровня типа ДУП.

Измерение уровня воды в слое, осушаемом с помощью восстающих скважин из подземных выработок, следует предусматривать с помощью манометра, которым следует оборудовать устье наблюдательной восстающей скважины (черт. 79).

Черт. 79. Оборудование устья наблюдательной восстающей скважины

1 - манометр; 2 - фланец; 3 - патрубок; 4 - прокладка; 5 - вентиль; 6 - ниппель; 7 - хомут; 8 - рукав резиновый

5.19. Определение расходов водопонизительных установок производится с помощью: мерных резервуаров (при небольших расходах достаточная точность измерения обеспечивается при наполнении емкости не менее чем за 12 - 15 с и двукратном измерении расхода); треугольных и трапециевидных водосливов, устанавливаемых на открытых водотоках (лотках, канавах - см. п. 5.8) и различных расходомеров, устанавливаемых на напорных трубопроводах.

Измерение температур подземных вод производится в скважинах на различных глубинах преимущественно с помощью «ленивых» термометров.

5.20. С момента начала работы системы защиты и далее без перерыва до конца эксплуатации горного предприятия ведется журнал гидрогеологических наблюдений (см. форму 2) и журнал работы насосных станций и установок, откачивающих воды из горных выработок и водопонизительных устройств (см. форму 3).

5.21. Гидрогеологические и инженерно-геологические наблюдения в горных выработках позволят оценить эффективность защитных мероприятий и состояние горных пород, окружающих выработки.

Поэтому в проектах необходимо предусматривать наблюдения:

отклонения от геологического строения, установленного и принятого в проекте на основании разведочных данных;

возникновение и развитие очагов фильтрации, оползневых и обвальных нарушений на бортах открытых выработок, нарушение устойчивости горных пород в подземных выработках;

размеры притоков подземных вод в выработки, измеряемыми вышеописанными методами (см. п. 5.19);

вынос породы в горные выработки;

внезапные прорывы воды и породы в выработки;

образование в зимнее время наледей на бортах открытых выработок;

химический и газовый составы вод, проникающих в выработки;

работа местных вспомогательных водоотливных средств, расположенных непосредственно в основных горных выработках по форме 3 с указанием места сброса воды.

Форма 2

Дата, смена, ч

Погода (осадки, температура воздуха)

Номера скважин, пьезометров

Статический уровень, м

Динамический уровень, м

Отметка уровня, м, отбора проб воды на химический анализ

Температура, °С

Фамилия, инициалы исполнителя (подпись)

Глубина от риски

Абсолютная отметка

Глубина от риски

Абсолютная отметка

1

2

3

4

5

6

7

8

9

10

 

 

 

 

 

 

 

 

 

 

 

 

 

 

 

 

 

 

 

 

 

 

 

 

 

 

 

 

 

 

Форма 3

1. Название и номер станции ________________________________________________

2. Оборудование (число насосов, их типы, двигатели, отметки оси, присвоенный номер агрегата) _____________________________________________________________

3. Водоприемные устройства (зумпф, водосборник, скважина, группа иглофильтров, их число и т.п.) _____________________________________________________________

4. Водоотводящие устройства (напорный трубопровод, открытый или закрытый самотечный водоотвод и т.п.) _________________________________________________

Дата, смена

Заводские номера насоса двигателя

Время пуска, остановки или промежуточного контроля, ч-мин

Работа агрегатов

Сдача-приемка, фамилия и инициалы (подпись)

Показания приборов

Продолжительность без перерыва, ч

Подача, м3

Причина остановки

Оперативные указания по эксплуатации

манометра, кПа

вакуумметра, мм рт. ст

амперметра, А

вольтметра, V

1

2

3

4

5

6

7

8

9

10

11

12

Кроме того, необходимо предусматривать отбор из выработок проб и определение физико-механических свойств горных пород, недостаточно изученных при геологоразведочных работах и изысканиях, а при необходимости и проведение испытаний для определения прочностных свойств горных пород в природном залегании. Для этих целей должно быть предусмотрено периодическое проведение инженерно-геологической съемки разрабатываемых выработок.

При съемках необходимо выбрать участки систематических наблюдений, места отбора проб и испытаний горных пород, вести дневник и наблюдаемые аномалии наносить на маркшейдерские планы, на которые должны быть нанесены участки, выбранные для систематических наблюдений отбора проб и испытания горных пород. При замеченных опасных явлениях фильтрации подземных вод и выноса породы в выработки оползневых и обвальных процессах, проникновения в выработки газов и т.п. следует немедленно принимать меры по устранению опасных последствий, для чего в проектах следует предусматривать необходимые средства (резервные насосы, вентиляторы, материалы и оборудование для выполнения дренажных пригрузок в местах очагов сосредоточенной фильтрации и для тампонажа крупных трещин и карстовых полостей и т.п.).

5.22. К инженерно-гидрогеологической съемке и систематическим наблюдениям в горных выработках предъявляются следующие требования:

съемке подлежат условия залегания полезного ископаемого, литологический состав пород, вскрытых в выработке, их физико-механические свойства, распространение малоустойчивых пород, наличие зоны открытой фильтрации воды в выработки, карсты и тектонические нарушения;

в число объектов наблюдений должны быть включены все горные выработки, шахты, включая стволы шахт;

в дневнике съемки должны быть отмечены (с приведением эскизов и привязки участков наблюдений) характер и условия выхода воды в горные выработки (сосредоточенные струи, капеж, грифоны, увлажнение), а также продолжительность их действия, размеры притоков воды и источники; в частности, должны быть выявлены и отмечены притоки в выработки из поверхностных водотоков и водоемов, внезапные прорывы воды, увеличения притоков сезонных, связанных с весенним половодьем, ливнями и т.п.;

при подработке подземными выработками поверхностных водотоков или водоемов необходимо отмечать глубину выработок от дна рек или водоемов и освещать геологический разрез;

при поступлении воды из очистного пространства необходимо установить размер притока воды, площадь и объем выработанного пространства и охарактеризовать степень обрушения кровли.

5.23. Результаты гидрогеологических и инженерно-геологических наблюдений в виде таблиц, графиков изменения уровней воды, температур и химического состава подземных и всех откачиваемых вод; карт гидроизогипс в отдельных водоносных слоях, гидрогеологических профилей, планов инженерно-гидрогеологической съемки и других материалов, прикладываемых к отчетам наблюдений (см. п. 5.3).

Геодезические наблюдения

5.24. Геодезические наблюдения, выполняемые маркшейдерским отделом горного предприятия и назначаемые в соответствии с требованиями СНиП 2.06.14-85, должны быть направлены на своевременное выявление нежелательных деформаций горных пород в горных выработках, поверхности земли и конструкций сооружений, расположенных поблизости от горных выработок и устройств систем защиты.

Описание: 80

Черт. 80. Марки для измерения осадок сооружений и деформаций грунта

а - плитная марка; б - оползневая грунтовая марка; в - опорная грунтовая марка; 1 - металлическая труба;. 2 - металлическая крышка; 3 - болт; 4 - сооружение; 5 - полукруглая головка с накерненным центром и выбитым номером; 6 - насыпной грунт; 7 - металлическая труба d = 60 мм с рассеченным и развернутым нижним концом; 8 - бетон монолитный; 9 - скважина d = 168 мм; 10 - кольцевая канава; 11 - фланец d = 200 мм; 12 - вырез в трубе размером 100×100 мм; 13 - труба металлическая d = 150 - 200 мм; 14 - болт d = 15 - 25 мм

5.25. В проекте должен быть выполнен прогноз развития осадок горных пород, вызванных понижением подземных вод. Сдвижения горных пород могут происходить также из-за их разрыхления при бурении скважин, выноса породы в скважины и в горные выработки, воздействия поверхностных вод и климатических факторов, а также по причине недоучета при проектировании отдельных особенностей инженерно-геологических и гидрогеологических условий, которые могут выявиться лишь при разработке месторождения.

В проекте определяется первоначальная программа необходимых геодезических наблюдений. В процессе строительства и эксплуатации горного предприятия программа корректируется по данным инженерно-гидрогеологических съемок горных выработок и при необходимости надзора за новыми участками и сооружениями.

5.26. В соответствии с прогнозом осадок в проекте намечаются объекты наблюдения, в состав которых должны входить:

существующие и вновь проектируемые сооружения, для которых предполагаемые осадки горных пород могут оказаться значительными; постоянные борта карьеров; выявленные в процессе обследований и съемок участки и сооружения в открытых и подземных горных выработках; прилегающая к выработкам территория.

5.27. Наблюдения необходимо вести за вертикальными и горизонтальными смещениями марок (штырей), укрепляемых на конструктивных элементах сооружений и грунтовых марок, (черт. 80,а, б, в), разбиваемых по намеченным в проекте створам наблюдательных точек на постоянных бортах карьеров, подземных выработках и на прилегающей территории.

Вне зоны деформаций устанавливаются опорные репера (черт. 81), число которых определяется удобствами наблюдений.

5.28. Перерывы между отсчетами определяются скоростью перемещения марок.

При наблюдении необходимо вести соответствующие геодезические журналы с приложением описания деформаций, зарисовок, фотографий, схематических планов и разрезов с показанием всех точек наблюдений. Материалы должны прикладываться к общим отчетам по наблюдениям (см. п. 5.3)

Описание: 81

Черт. 81. Глубинный репер

1 - реперная головка (из нержавеющего металла); 2 - реперная труба; 3 - защитная труба; 4 - два слоя толя вокруг защитной трубы; 5 - соединительная муфта; 6 - стальная шпилька; 7 - сальник; 8 - фланец; 9 - башмак (металлический); 10 - нижнее стальное кольцо сальника; 11 - верхнее стальное кольцо сальника; 12 - бетонное дно колодца; 13 - кирпичная стенка колодца; 14 - засыпка колодца (до реперной головки сухим шлаком или другими теплоизоляционными материалами); 15 - засыпка вокруг колодца плотно утрамбованным грунтом; 16 - бетонный отлив вокруг колодца; 17 - чугунный люк с крышкой; 18 - деревянная крышка, обитая войлоком; 19 - крышка защитной трубы

Методику наблюдений следует принимать по действующим инструктивным материалам ВНИМИ и ВНИИОСП им. Герсеванова.

Наблюдения, связанные с выполнением проекта защиты горных выработок, должны быть взаимоувязаны с общими маркшейдерскими наблюдениями за сдвижением горных пород в связи с подработкой территорий, а причины деформаций - строго определены и освещены в отчетах.

Проектные решения по наблюдениям в системах защиты

5.29. В проекте защиты должен содержаться раздел, освещающий требования к наблюдениям в процессе строительства и эксплуатации горного предприятия.

Пример 20. В условиях месторождения примера 2 определить состав необходимых наблюдений и наметить число и размещение наблюдательных скважин.

Для этого прежде всего установим конкретные задачи наблюдений при открытой разработке месторождения и принятой первоочередной системе водопонижения (см. черт. 6);

уточнение геологических и гидрогеологических условий района при бурении наблюдательных скважин;

изучение на отдельных этапах водопонижения характера развития депрессионной поверхности в различных водоносных слоях и пластах;

определение радиуса депрессионной воронки, создаваемой водопонизительной установкой;

уточнение фильтрационных характеристик пород;

получение необходимых данных, характеризующих влияние различных водоемов и климатических факторов на местные особенности депрессионной поверхности подземных вод;

изучение взаимосвязи подземных вод в различных водоносных слоях и пластах и источников их питания;

изучение изменений температурного режима и химического состава подземных вод.

Кроме того необходимо организовать систематическое изучение инженерно-геологической и гидрогеологической обстановки в карьере и инструментальные наблюдения за деформациями земляных масс в бортах карьера на прилегающей территории.

Для выполнения указанных задач необходимо систематически вести наблюдения как за работой самих водопонизительных скважин, так и с помощью специальных наблюдательных скважин за уровнями, температурой и химическим составом воды отдельных водоносных горизонтов на разных расстояниях от водопонизительной системы.

Предусматриваем устройство 48-ми наблюдательных скважин, каждая из которых оборудуется пьезометром на соответствующий водоносный слой. Наблюдательные скважины располагаются, в основном, по лучевым линиям. Общим принципом является сгущение сети скважин вблизи водопонизительной системы и разряжение ее по мере удаления от карьера.

Максимальное удаление наблюдательных скважин от контура водопонизительной установки достигает 8,8 км. Часть скважин находится вне основных лучей и предназначается для наблюдений за развитием водопонижения внутри контура водопонизительной системы в отдельных водоносных слоях (пластах), имеющих ограниченное распространение.

В каждом из лучей имеется от трех до девяти наблюдательных точек, состоящих из одной - трех скважин, оборудованных пьезометрами на разные водоносные слои (пласты). В каждой наблюдательной точке одна из скважин обязательно бурится с отбором керна.

Принято следующее размещение скважин (черт. 82):

Луч 1 проходит на запад - северо-запад от водопонизительной системы к области разгрузки песков покровной толщи. На этом луче находится шесть наблюдательных точек, в пяти из них располагаются скважины только на водоносные пески покровной толщи, шестая точка находится внутри контура рудного тела, здесь намечены три скважины, оборудованные пьезометрами на водоносные пески покровной толщи, на рудоносную толщу и на нижние водоносные известняки и песчаники.

Таким образом, луч состоит из девяти скважин: семь - на водоносные пески покровной толщи, одна - на рудоносную толщу, одна - на нижние водоносные известняки и песчаники.

Луч 2 имеет направление на юг - юго-запад от дренажной системы к руслу реки. На луче располагается восемь наблюдательных точек. В семи из них оборудуются пьезометры на водоносные пески покровной толщи, в восьмой точке устанавливаются пьезометры на все три водоносных слоя.

Всего на луче располагается десять наблюдательных скважин, из них: восемь - на водоносные пески покровной толщи, одна - на рудоносную толщу, одна - на нижние водоносные известняки и песчаники.

Луч 3 проходит на восток - юго-восток от водопонизительной системы и является как бы продолжением луча 1. На луче расположено шесть наблюдательных точек. Из них в пяти оборудуются пьезометры на водоносные пески покровной толщи, в шестой точке - на три водоносных слоя.

Таким образом, в луче восемь скважин: шесть - на водоносные пески покровной толщи, одна - на рудоносную толщу, одна - на нижние водоносные известняки и песчаники.

Луч 4 проходит вдоль области разгрузки нижних известняков и песчаников и состоит из четырех наблюдательных точек; в трех из них бурятся скважины на водоносные пески покровной толщи и нижние водоносные известняки и песчаники и в одной только на нижние водоносные известняки и песчаники.

Всего в луче семь наблюдательных скважин: три - на водоносные пески покровной толщи, четыре - на нижние водоносные известняки и песчаники.


Описание: 82

Черт. 82. Геологическая карта района месторождения железных руд с сетью наблюдательных скважин

1 - песчано-галечниковые речные отложения; 2 - конуса выноса; 3 - глины, суглинки с гравием и разнозернистые пески; 4 - песчано-глинистая толща с включением слоев угля; 5 - известковистая брекчия; 6 - андезиты; 7 - кварцитовидные песчаники; 8 - известняки; 9 - известковистые песчаники; 10 - рудовмещающие известняки; 11 - алевритовые песчаники; 12 - глинистые сланцы с прослоями аргиллитов; 13 - сиениты; 14 - наблюдательные скважины в водоносных песках покровной толщи; 15 - наблюдательные скважины рудоносной толщи; 16 - наблюдательные скважины в нижних водоносных известняках и песчаниках; 17 - контур рудного тела


Луч 5 расположен в возвышенной части прилегающей к карьеру территории в районе выхода на поверхность нижних известняков. В луче находится семь наблюдательных точек. Во всех наблюдательных точках оборудуются пьезометры на нижние водоносные известняки и песчаники. В местах дренирования рек оборудуются пьезометры на пески покровной толщи.

Таким образом, луч состоит из девяти скважин: две - на водоносные пески покровной толщи, семь - на нижние водоносные известняки и песчаники.

Луч 6 проходит также в районе выхода на поверхность водоносных пород, подстилающих месторождение.

Луч состоит из трех наблюдательных скважин, одна из которых общая с лучом 4.

В каждой точке имеется по одной наблюдательной скважине на нижние водоносные известняки и песчаники.

Кроме указанных шести наблюдательных лучей, предусматриваются две наблюдательные скважины.

Описание: 83

Черт. 83. Геологическая карта района месторождения железных руд с сетью наблюдательных скважин

1 - железные руды; 2 - скарны скаполитовые, пироксеновые; 3 - диабазовые порфириты; 4 - андезитовые порфириты; 5 - вулканические брекчии; 6 - туфы и туфобрекчии андезитовых и базальтовых порфиритов; 7 - альбитофиры; 8 - диориты и диорит-порфиры; 9 - альбитовые спенит-порфиры, диорит-порфиры, гранит-порфиры; 10 - известняки; 11 - туффиты; 12 - песчаники; 13 - линии тектонических нарушений; 14 - шахтные стволы; 15 - горизонтали поверхности; 16 - контур зоны сдвижения по поверхности подземного рудника; 17 - контур внешней водопонизительной системы; 18 - контур подземного рудника; 19 - наблюдательные скважины в верхних песках; 20 - то же, в опоках; 21 - то же, в надрудных песках; 22 - то же, в коренных скальных породах

Одна скважина - на рудоносную толщу, расположена внутри контура дренажной системы, другая - севернее, за пределами контура, на нижние водоносные известняки и песчаники.

В составе работ по наблюдениям за развитием водопонижения намечаем:

бурение наблюдательных скважин и оборудование их пьезометрами с ведением соответствующей технической документации;

систематические замеры уровней воды в пьезометрах, установленных на различные уровни в наблюдательных скважинах и в пьезометрах водопонизительных скважин;

наблюдения за расходами насосных установок;

определение количества твердых примесей в откачиваемой воде;

измерение температур воды на различных глубинах и в различных точках; наблюдения территории;

отбор проб воды для химических анализов;

химические анализы воды в лабораторных условиях;

наблюдения за фильтрацией через откосы карьера;

комплекс климатических и гидрогеологических наблюдений (наблюдения за выпадающими осадками, просачиванием их в почву, за расходами рек и др.).

Кроме того, следует организовать систематическое изучение инженерно-геологической обстановки всего периода разработки месторождения.

Такое изучение должно включать комплекс работ:

отбор в карьере образцов пород для определения их физико-механических свойств;

бурение инженерно-геологических скважин на участках перспективного развития карьера;

лабораторные исследования свойств пород по отобранным образцам;

инструментальные наблюдения за деформациями земляных масс (просадки территории, смещение грунтов в бортах карьера и т.п.).

В проекте должны быть указаны средства и методика организации наблюдений.

Пример 21. Для месторождения примера 15, разрабатываемого подземным способом, наметить число и размещение основных внешних наблюдательных скважин.

В этих условиях следует учитывать, что меридиональное простирание пластов коренных пород нормально к основному водотоку - реке и совпадает с природным направлением потока подземных вод. В данном случае целесообразно разместить внешние наблюдательные скважины в основном по меридиональным и широтным лучам. Соответственно предусматриваем (черт. 83) два луча наблюдательных скважин в меридиональном направлении. 1 - в сторону к реке, 2 - в противоположную сторону, два луча (3 и 4) в широтном направлении - в обе стороны от карьера и луч 5 в сторону возможного расположения накопителя, который будет необходим из-за высокой минерализации подземных вод (см. пример 15).

Наблюдательные скважины намечаем:

в четырех водоносных слоях - в верхних песках, опоках, надрудных песках и коренных скальных породах - на водопонизительном контуре и в 500 м от него на лучах 1 и 3 с обеих сторон реки (на луче 1);

в двух водоносных слоях - в верхних надрудных песках и в коренных скальных породах - на водопонизительном контуре и в конце луча 3, на расстоянии 1700 - 2000 м от водопонизительного контура на лучах 1 и 3 в конце лучей 2 и 3;

в одном водоносном слое - в надрудных песках - остальные восемь скважин.

Кроме этих скважин, в соответствии с очередностью освоения участков месторождения, в проекте должны быть предусмотрены наблюдательные скважины в пределах рудника и в его подземных выработках.

ЧАСТЬ II. ВОДОПОНИЖЕНИЕ ПРИ СТРОИТЕЛЬСТВЕ И ЭКСПЛУАТАЦИИ ЗДАНИЙ И СООРУЖЕНИЙ (К СНиП 2.02.01-83)

6. ОСОБЕННОСТИ ПРОЕКТИРОВАНИЯ ВОДОПОНИЖЕНИЯ В ПРОМЫШЛЕННОМ И ГРАЖДАНСКОМ СТРОИТЕЛЬСТВЕ

6.1. Искусственное понижение уровня подземных вод (водопонижение) в промышленном и гражданском строительстве следует предусматривать в строительный и эксплуатационный периоды для защиты котлованов, оснований, подземных и заглубленных сооружений.

6.2. Для строительного периода (строительного водопонижения) следует предусматривать использование водоотлива из котлованов и траншей, дренажей, иглофильтров для гравитационного, вакуумного и электроосмотического способов, открытых и герметических (вакуумных) водопонизительных скважин; для эксплуатационного периода - постоянные водопонизительные (дренажные) системы с использованием различных видов дренажей, в том числе с насосными станциями, и водопонизительных скважин всех видов.

6.3. Основой для проектирования водопонижения являются:

результаты инженерно-геодезических, инженерно-геологических и инженерно-гидрометеорологических изысканий;

данные, характеризующие назначение, конструктивные и технологические особенности сооружений, условия их эксплуатации, технология и сроки строительных работ;

прогноз изменений режима и состава подземных вод и условий поверхностного стока;

данные, представляемые заказчиком проекта, о предусматриваемом использовании откачиваемых вод или местах их предполагаемого сброса.

При проектировании необходимо учитывать местные условия строительства и имеющийся опыт водопонижения в аналогичных инженерно-геологических и гидрогеологических условиях.

6.4. В общем случае материалы изысканий для проектирования водопонижения должны содержать:

общие данные о природных условиях и климате района с описанием местоположения и рельефа стройплощадки, сведения об имеющихся вблизи нее открытых водоемах и водотоках;

характеристику инженерно-геологического строения площадки и физико-механических свойств грунтов, водоносных слоев, источников и областей их питания, взаимосвязи между ними, естественного дренажа подземных вод, их химического состава и температур;

коэффициенты фильтрации, пьезопроводности, уровнепроводности и водоотдачи грунтов, определенные с помощью опытных откачек, а для электроосмотического водопонижения - дополнительно коэффициент электроосмоса и омическое сопротивление грунтов;

карты распространения водоносных слоев с нанесением рельефа их кровли и подошвы, а также карты гидроизогипс и гидроизопьез;

геологические разрезы и профили на участке работ и в пределах распространения водоносных слоев до областей питания и разгрузки на глубину до основного водоупорного пласта.

При этом должно быть соблюдено основное требование СНиП 2.06.14-85 в части изысканий на глубину» охватывающую все водоносные слои, из которых возможна фильтрация воды к проектируемой водопонизительной системе или в выработку (подземное помещение).

6.5. Исходные данные о природных условиях района водопонизительных работ должны быть получены в процессе общих изысканий по изучению строительной площадки. В программах инженерно-геологических изысканий на территориях, отведенных для строительства, следует предусматривать соответствующие гидрогеологические исследования, позволяющие получить данные для проектирования строительного водопонижения и постоянных дренажных систем. Характер, состав и объем таких исследований можно назначать в соответствии с указаниями разд. 1; при этом следует учитывать масштабы предстоящих водопонизительных работ, которые в промышленном и гражданском строительстве, в общем, меньше (особенно по глубине), чем на горных предприятиях, и, соответственно, требования к изысканиям должны быть более умеренными.

Природные условия следует освещать в полном объеме независимо от числа стадий проектирования. Весь объем изысканий следует выполнять до начала проектных работ.

В программах изысканий следует предусматривать и в отчетах отражать лишь те работы, которые позволяют получить данные, недостаточно освещенные в СНиП 2.01.01-82, и необходимые для проектирования водопонижения с учетом конкретных условий строительной площадки.

Существенное значение имеют данные, характеризующие атмосферные осадки и поверхностный сток, а также гидрологические характеристики открытых водоемов и водотоков в районе будущих водопонизительных работ.

Водоемы и водотоки, служащие до начала водопонижения естественным дренажем подземных вод, при снижении их уровня становятся областью питания и ограничивают распространение депрессии. В то же время при водопонизительных работах они могут служить местом сброса откачиваемых вод (если это не противоречит санитарным требованиям) или наоборот должны быть предохранены от использования их для сброса подземных вод. Все эти возможности должны быть изучены при изысканиях и освещены в отчете.

Рельеф территории должен быть освещен более подробно в пределах водопонизительной системы, включая места сброса воды, и в несколько меньшей степени на остальной части площадки - в пределах ожидаемого развития депрессионной воронки.

При проектировании водопонижения кроме фильтрационных задач может возникнуть необходимость в решении таких вопросов, как, например, определение деформации грунтов в связи с понижением уровня воды в их толще, предотвращение суффозии грунтов, выбор способов устройства водопонизительных скважин. В связи с этим инженерно-геологическая характеристика грунтовой толщи должна быть достаточно подробной, физико-механические свойства пород должны быть освещены так же, как и для решения вопросов, касающихся оснований и фундаментов сооружений. Подробная и четкая инженерно-геологическая характеристика должна стать основой для гидрогеологического изучения площадки.

В случае применения на площадке электроосушения при ее инженерно-геологическом изучении следует дополнительно выполнить:

а) отбор проб грунтов через 0,5 м по глубине массой 2 - 5 кг для испытания на возможность электроосушения;

б) лабораторные и полевые определения удельного электрического сопротивления грунта.

Возможность и эффективность электроосушения грунтов устанавливаются в лабораторных условиях, где определяются оптимальные параметры электрического тока, расход электроэнергии и продолжительность работ.

К отчетам по изысканиям должны быть приложены результаты испытаний грунта на возможность электроосушения.

6.6. Если на разведуемой площадке не ожидается понижения уровня подземных вод более чем на 5 м, то изучение гидрогеологических условий может быть ограничено территорией, границы которой удалены от площадки на 200 - 300 м. При необходимости больших понижений в программах изысканий необходимо исходить из прогноза ожидаемого развития депрессии уровней подземных вод.

Данные об областях и источниках питания и о естественном дренаже подземных вод всех водоносных слоев и взаимосвязи между ними необходимы для выбора расчетных схем водопонизительных систем. От того, в какой мере точными будут эти сведения, во многом зависят эффективность решения водопонизительной системы и размеры сокращения затрат. Для полноценного освещения этих вопросов необходимо использовать имеющиеся литературные и фондовые материалы по гидрогеологии района и результаты инженерно-геологических изысканий. Кроме того, следует выполнить опытные откачки и в необходимых случаях провести режимные наблюдения.

Достоверное определение фильтрационных характеристик водоносных слоев может быть достигнуто только путем обработки результатов опытных откачек, которые должны быть неотъемлемой и обязательной частью гидрогеологических исследований. При таких исследованиях следует учитывать принимаемую в проекте схематизацию природных условий в соответствии с указаниями разд. 14.

6.7. Степень подробности и объем графического материала, прилагаемого к отчетам по изысканиям, зависят от сложности природных условий площадки. В простых случаях вышеприведенный перечень может быть сокращен, а в сложных - дополнен. Во всех случаях перечень графических приложений устанавливается по согласованию между изыскательской и проектной организациями.

Проектные организации должны выполнять кураторские обязанности и обеспечивать оперативное согласование вопросов, возникающих при изысканиях.

6.8. Глубину понижения уровня подземных вод следует назначать:

при снижении напора в напорных водоносных слоях, залегающих ниже дна котлована или пола заглубленного помещения, - исходя из необходимости исключения прорывов воды и обеспечения устойчивости грунтов в основании сооружений;

при защите котлованов и заглубленных помещений, не доходящих на значительную глубину до водоупора, - исходя из возможного повышения уровня воды за время аварийного отключения водопонизительной системы;

при высоком залегании водоупора или пересечении котлованом водоупорных слоев - исходя из практически достижимой глубины понижения уровня подземных вод в каждом водоносном слое, предусматривая при этом дополнительные мероприятия по защите сооружения или котлована.

6.9. Проектные решения по водопонижению должны составлять неотъемлемую часть основного проекта здания, сооружения, предприятия, гражданского комплекса и содержать:

описание исходных данных по природным условиям и согласованным местам сброса откачиваемых подземных вод;

характеристику возводимых и существующих на участке сооружений, а при проектировании строительного водопонижения - также описание методов и сроки строительных работ нулевого цикла;

обоснование принятых способов водопонижения, общее решение водопонизительной системы, изложение результатов расчетов водопонижения, чертежи водопонизительных и водоотводящих устройств, способы их сооружения и противокоррозионной защиты, спецификацию необходимого оборудования, решения по энергоснабжению, объемы и продолжительность выполнения работ; при электроосушении - указания об источнике, рабочем напряжении и силе постоянного электрического тока, подаваемого к электродам;

размещение наблюдательных скважин и постов, а также указания по наблюдениям за снижением уровня подземных вод, работой водопонизительной системы, по геодезическим и другим наблюдениям, предусматриваемым проектом;

характеристику и объемы откачиваемой воды, а также перечень мероприятий по охране окружающей среды, прогноз ожидаемого ущерба и возможное его восполнение;

мероприятия по обеспечению бесперебойной работы водопонизительной системы в зимнее время, указания по ликвидации устройств строительного водопонижения,

6.10. В пояснительной записке к проекту следует приводить краткое описание общих сведений, инженерно-геологических и гидрогеологических условий площадки по материалам изысканий с освещением исходных гидрогеологических параметров (с приложением графических материалов), принятых за основу в проекте водопонижения.

Места сброса откачиваемых вод устанавливаются основным заказчиком и генеральной проектной организацией. Прежде всего необходимо определить, возможно ли непосредственное использование откачиваемой воды для бытовых, хозяйственных или технических целей. Если такое использование невозможно, то следует решить вопрос о сбросе откачиваемой воды в канализационную сеть. При отводе воды, откачиваемой при водопонижении, в открытые водотоки, овраги, речки, водоемы и в другие пониженные места, заказчик должен согласовать места сброса с санэпидстанцией.

В пояснительной записке при изложении характеристики существующих и возводимых сооружений и работ нулевого цикла необходимо отразить влияние проектируемого водопонижения на сохранность сооружений и их оснований и взаимоувязки земляных, общестроительных и водопонизительных работ.

Для обоснования принятых проектных решений должны быть изложены соображения о возможных и рассмотренных вариантах, результаты их технико-экономического сравнения и приведены достаточно убедительные доводы в пользу принятого решения.

Общее решение водопонизительной системы и ее развития должно получить отражение в пояснительной записке и на чертежах, и содержать конкретизацию задач водопонижения по этапам строительства и эксплуатации сооружений; выбор, состав, размещение, порядок ввода в действие необходимых устройств и средств; характер, состав, объемы и порядок выполнения водопонизительных работ.

В пояснительной записке приводится описание принятого общего решения водопонизительной системы, а на чертежах даются планы и разрезы, на которых показываются все устройства, используемые для водопонижения, и защищаемые от воды котлованы и сооружения. На этих же чертежах приводятся общие требования к производству работ, ведомости оборудования, необходимых материальных и энергетических ресурсов, объемы основных работ. На разрезах должно быть показано ожидаемое понижение уровней подземных вод.

В проектах строительного водопонижения при значительной продолжительности водопонизительных работ должны быть представлены чертежи с показом развития системы водопонижения по этапам строительства. На этих чертежах следует приводить те части устройств системы водопонижения, которые должны действовать в конечный период соответствующего этапа. Следует приводить указания по производству работ, их объемы и график выполнения на данном этапе.

Методы и результаты расчетов водопонижения излагаются в пояснительной записке, а на чертежах этапов развития (или, если работы выполняются в один этап, то на общих чертежах) системы водопонижения приводятся размеры ожидаемых притоков и понижений уровней подземных вод.

6.11. Чертежи водопонизительных и водоотводных устройств включают:

строительные чертежи конструкций и сооружений, в том числе водопонизительных и наблюдательных скважин, помещений для насосных станций, водоприемников, водоотводов и др.;

чертежи механической, санитарно-технической и энергетической частей, сигнализации и автоматики водопонизительных насосных станций, установок и устройств; характеристики требуемого оборудования; чертежи трубопроводов.

6.12. Решения о способах сооружения водопонизительных и водоотводящих устройств, объемы и продолжительность работ (календарный план), а также потребности в необходимых энергетических, материальных и людских ресурсах даются в объеме проекта организации строительства в соответствии со СНиП 3.01.01-85.

Спецификация необходимого оборудования составляется в соответствии с указаниями действующей инструкции по составлению проектов и смет с учетом требований заказчика.

Решения по энергоснабжению водопонизительных систем определяются заданиями генпроектировщика или основного заказчика проекта. В проекте водопонижения должны быть даны схемы внутриплощадочной электросети и размещения электрооборудования со стороны низкого напряжения трансформаторной подстанции.

Технологическая часть проекта водопонижения, кроме работ по созданию системы водопонижения, должна охватывать содержание и ремонты сооружений и устройств; содержание и ремонты оборудования; водоотлив; инженерно-гидрогеологические, геодезические и другие наблюдения, предусмотренные проектом.

6.13. При определении видов и состава инженерных наблюдений, устройстве и работе водопонизительной системы можно руководствоваться указаниями и рекомендациями разд. 5, а в части изысканий - п. 6.5 с учетом объемов предстоящего водопонижения.

Наблюдательные скважины следует располагать так, чтобы можно было определить требуемый эффект водопонижения и получить данные, с помощью которых можно было бы проверить соответствие результатов водопонизительных работ с выполненным при проектировании расчетом, при необходимости уточнить его и внести коррективы в проект. Наблюдательные скважины следует предусматривать во всех расчетных точках, где требуемое понижение уровня подземных вод принимается в качестве исходной величины или определяется расчетом, а также вне контура водопонизительной системы по лучам, исходящим из ее центра в направлениях, по которым ожидается неодинаковое развитие депрессии. Кроме того, наблюдательные скважины устраиваются в особых точках, где по тем или иным причинам (например, из-за больших потерь промышленных вод) возможны аномалии.

Наблюдениями должны быть охвачены все водоносные слои, вовлеченные в динамику водопонижения, поэтому наблюдательные скважины должны предусматриваться в каждом из них.

Пояснительная записка к проекту должна содержать указания по проведению наблюдений и использованию их результатов.

6.14. В проектах небольших по объему водопонизительных работ, например, водопонижения с помощью иглофильтров для защиты небольших котлованов и траншей, объем проектных материалов должен быть сокращен; все пояснения и указания можно приводить на чертежах со ссылкой на исходные данные без отдельных пояснительных записок.

6.15. При двухстадийном проектировании на стадии рабочей документации по водопонижению следует составлять лишь уточненные схемы этапов работ и рабочие чертежи водопонизительных и водоотводящих устройств, наблюдательных скважин и других устройств для наблюдений.

6.16. Расчетами системы водопонижения следует определять:

понижение уровней подземных вод при установившемся режиме в расчетных точках, в том числе и в водопонизительных устройствах на различных этапах строительства;

притоки к водопонизительным устройствам;

производительность, пропускную способность, размеры, число, размещение и другие параметры водопонизительных, водосборных и водоотводящих устройств.

В необходимых случаях расчетами определяется также время достижения требуемого понижения уровня подземных вод.

6.17. Для выполнения водопонижения на территориях промышленных, гражданских и других объектов следует предусматривать отдельные водопонизительные устройства (скважины, колодцы, пластовый дренаж отдельного сооружения и т.п.), а также водопонизительные системы: линейные (одно- и двухрядные) - с расположением водопонизительных устройств по прямым линиям; контурные - с расположением водопонизительных устройств по замкнутому (кольцевые) и незамкнутому (неполнокольцевые) контурам; систематические - с расположением водопонизительных устройств по линиям с определенным шагом между ними; групповые - с распределением водопонизительных устройств по площади применительно к местным условиям без привязки к определенным геометрическим схемам; сложные, состоящие из систем двух или нескольких типов.

Схемы водопонизительных систем представлены в табл. 11.

Таблица 11

Схема системы

Условия применения

Описание: z

Индивидуальная система: а) открытый водоотлив при разработке котлованов; б) пластовый дренаж отдельных заглубленных объектов

Линейная головная система для защиты территорий и сооружений от фильтрационного потока со стороны водораздела в наклонных водоносных слоях, при применении трубчатого или галерейного дренажа, расположенного на водоупоре, при уровне воды в водоеме ниже требуемого понижения уровня подземных вод на объекте

Описание: z

Линейная система для вытянутых в плане объектов, имеющих значительную протяженность, удаленных от водоема при одностороннем притоке, при достаточно глубоком относительно требуемого понижения уровня подземных вод расположении подошвы водоносного слоя

Линейная береговая система для водопонижения на территориях при притоке со стороны водоема, для защиты территории от подтопления со стороны водоема при ожидаемом подъеме уровня воды в нем

Описание: z

Двухрядная система (из двух линейных систем) для протяженных объектов при неглубоком относительно требуемого понижения уровня подземных вод залегании водоупора и ожидаемом двустороннем притоке к объекту

Описание: z

Кольцевая система для защиты объектов различной конфигурации при всестороннем притоке подземных вод

Неполнокольцевая система для защиты объектов различной конфигурации при отсутствии притока со стороны части контура защищаемого объекта

Систематическая дренажная система для постоянной защиты объектов, расположенных на значительной площади, при наличии питания подземных вод внутри защищаемой площади

Описание: z

Групповая система (расположение водопонизительных устройств не привязано к определенному геометрическому контуру) для водопонижения на территории, где расположение водопонизительных устройств определяется условиями застройки или особенностями гидрогеологических условий

В табл. 11:

1 - котлован; 2 - непониженный уровень подземных вод; 3 - пластовый дренаж на откосах (дренажная пригрузка); 4 - водосборная канава; 5 - защищаемое сооружение; 6 - пристенный дренаж; 7 - пластовый дренаж в основании сооружения; 8 - трубчатая дрена; 9 - ось водопонизительных (дренажных) устройств; 10 - пониженный уровень подземных вод; 11 - насосная станция; 12 - горизонтали поверхности земли.

6.18. При выборе средств, устройств, типа водопонизительной системы следует учитывать природную обстановку, характер защищаемого объекта, производственные и эксплуатационные условия, размеры осушаемой зоны, продолжительность требуемого водопонижения и другие местные особенности.

Прежде всего следует исходить из эффективности проектного решения в данных природных условиях. Необходимо учитывать и их изменения в процессе работ. Изменения происходят вследствие строительных и водопонизительных работ. Изменяются условия питания и движения подземных вод: ухудшение на строительной площадке условий стока поверхностных вод приводит к повышенной инфильтрации их в грунт. Строительство подземных сооружений вносит изменения в динамику подземных вод. Кроме того, водотоки и водоемы, до начала строительства служившие дренажем для подземных вод, при глубоком понижении их уровня становятся для них дополнительными источниками питания.

В соответствии с принимаемым решением в проекте должны предусматриваться меры против нарушения природных свойств грунтов в основании существующих и вновь возводимых сооружений и меры, препятствующие нарушению устойчивости откосов и дна котлованов.

7. СТРОИТЕЛЬНОЕ ВОДОПОНИЖЕНИЕ

7.1. Проект строительного водопонижения должен предусматривать эффективное понижение уровня подземных вод и быть взаимоувязан с принятыми проектными решениями по производству земляных и других строительных работ в зоне действия водопонизительной системы.

Систему строительного водопонижения, как правило, следует приспосабливать к принятым методам и порядку производства работ нулевого цикла. При проектировании организации строительства следует учитывать необходимость создания благоприятных условий для устройства и эксплуатации водопонизительной системы.

При необходимости выполнения земляных и других строительных работ в котловане насухо в проекте должен быть предусмотрен заблаговременный ввод в действие водопонизительных устройств, установок и средств в целях обеспечения необходимого опережающего развития водопонижения по отношению к земляным и другим строительным работам.

В проектах земляных работ должна предусматриваться подготовка в первую очередь берм и площадок, с которых производится погружение иглофильтров, бурение скважин, размещение насосных установок, устройство зумпфов, водоотводных канавок и др.

Водопонизительные установки и устройства, включая сеть водостоков, зумпфов и водосборников, не должны создавать стесненных условий для работы землеройного и другого строительного оборудования и транспорта, не препятствовать строительству и эксплуатации соседних сооружений.

При проектировании съездов в котлован, транспортных коммуникаций и размещении строительного оборудования следует учитывать необходимость обеспечения эффективного расположения водопонизительных устройств.

Понижение уровня подземных вод развивается далеко за пределы того объекта, для которого оно предназначено. Это должно улучшить условия строительства соседних подземных сооружений.

Однако в некоторых случаях такое явление может и ухудшить условия строительства, если, например, будут осушены грунты, которые предусматривается разрабатывать методами гидромеханизации. Котлован, разрабатываемый подводным способом, представляющий собой открытый водоем, может послужить причиной увеличения притока в соседние котлованы, разрабатываемые насухо.

Взаимоувязка работ на соседних объектах необходима и при проектировании водоотводящих коммуникаций, водоснабжения и энергоснабжения.

7.2. При выборе способов строительного водопонижения необходимо разрабатывать и рассматривать различные варианты. Сопоставляя их, следует учитывать не только собственные показатели вариантов водопонижения, но и условия производства взаимосвязанных строительных работ.

Целесообразность применения тех или иных способов водопонижения зависит также и от технологии производства строительных работ в котловане и вблизи него. Так, при гидромеханической разработке грунта шире используется открытый водоотлив из котлована, чем при сухой разработке; при мелких уступах в котловане, а также для ярусных водопонизительных систем целесообразно применение малозаглубленных водопонизительных устройств и средств (иглофильтров, неглубоких открытых скважин, низконапорных центробежных насосов и т.п.); при высоких уступах разработки котлована задачи водопонижения легче решаются при использовании глубоких скважин и высоконапорных насосов.

При выборе способов небольших и непродолжительных водопонизительных работ предпочтение отдается мобильности установок, возможности быстрого ввода их в действие и быстрого достижения требуемого эффекта, а при необходимости понижения уровня подземных вод на длительное время большое значение приобретает КПД водоотливных установок. При этом, учитывая обычно постепенный в таких случаях ввод в Действие водопонизительных устройств, представляется возможным предусматривать (если это выгодно) и более капитальные устройства (например, глубокие скважины, лучевые водозаборы и др.).

При выборе способов строительного водопонижения следует учитывать опыт местных строительных организаций, методы защиты от подземных вод, принятые на других объектах данной стройплощадки, возможность привлечения специализированной организации, имеющееся в наличии оборудование и др.

7.3. Возникающие на практике задачи строительного водопонижения не всегда можно решить, применяя один из вышеперечисленных способов. Во многих случаях необходимо предусматривать комбинированные водопонизительные системы с использованием иногда одновременно, а иногда на разных этапах строительства двух или нескольких способов водопонижения.

Если котлован, разрабатываемый под защитой водопонизительных скважин, прорезает водоупорные прослойки или заглубляется до водоупора, то для полного перехвата подземных вод внутри него должно быть запроектировано дополнительное применение водоотлива, дренажа или иглофильтров.

7.4. Нарушения природных свойств и устойчивости грунтов (см. п. 6.12) наиболее вероятны в строительный период, так как водопонизительные работы влияют на состояние грунтов и их поведение в котловане и в окружающем пространстве. Понижение уровня воды в грунте приводит к увеличению давления от его собственного веса и к дополнительным осадкам территории и возведенных на ней сооружений. В большинстве случаев эти дополнительные осадки достаточно равномерны и не оказывают существенного влияния на работу сооружений. При относительно небольших понижениях уровня воды они к тому же невелики. Но при больших понижениях уровня подземных вод дополнительные осадки могут оказаться значительными и должны учитываться. При проектировании глубокого водопонижения необходимо составлять прогнозы возможных осадок в районе развития депрессии уровня подземных вод.

Местное уплотнение грунта может происходить в процессе бурения скважин ударным способом. Оно может вызвать дополнительные осадки рядом расположенных фундаментов. Поэтому не следует проектировать водопонизительные скважины в непосредственной близости от фундаментов.

Водопонижение может явиться причиной не только уплотнения, но и разрыхления грунтов и нарушения прочностных связей в них. Особенно опасные нарушения природных свойств грунтов происходят, если не предусматриваются надлежащие меры предосторожности при открытом водоотливе или возможна значительная фильтрация через откосы котлована. Фильтрационный поток создает дополнительное давление на грунт, ослабляет прочностные связи в нем, что может вызвать вынос частиц (суффозию) грунта. В случае фильтрации подземных вод через откосы градиенты напора вблизи их поверхности не должны достигать значений, при которых возможен вынос грунта в котлован. В связи с этим не следует допускать резких понижений уровня воды в котловане, а фильтрационный приток должен быть рассредоточен. При обнаружении сосредоточенной фильтрации для борьбы с суффозией следует предусматривать фильтрующие при-грузки; в крупных котлованах возможно рыхление грунта бульдозером, что часто дает положительные результаты по рассредоточению фильтрации и прекращению суффозии. В осушенном котловане весь фильтрационный приток должен каптироваться канавами и передовыми траншеями. Для этого они должны быть заглублены относительно дна котлована, фильтрация через которое не допускается.

При погружении иглофильтров гидравлическим способом без обсыпки грунт вокруг них разрыхляется, некоторое дополнительное разрыхление грунта происходит и при извлечении иглофильтров. Подобные разрыхления часто не оказывают существенного влияния на устойчивость отколов и на основания сооружений, но всегда их необходимо учитывать и в каждом отдельном случае определять, допустимы ли они. Как правило, следует предусматривать иглофильтры с обсыпкой. Это сводит к минимуму разрыхление грунта вокруг скважины и повышает эффективность работы иглофильтров.

Разрыхление грунта вокруг водопонизительных скважин возможно при их бурении (из-за вывалов, образования пробок и т.п.) и откачке (из-за выноса мелких частиц при плохой работе фильтров), а также при ликвидации скважины.

Предотвратить подобные явления можно только путем особой тщательности работ при бурении скважин и оборудовании их фильтрами; в малоустойчивых грунтах следует предусматривать подливку воды в скважины. Фильтры водопонизительных скважин должны строго соответствовать гранулометрическому составу, окружающему скважины грунта.

7.5. В проектах систем строительного водопонижения за исключением систем, рассчитанных на кратковременный период работы, должен предусматриваться поэтапный ввод в действие водопонизительных устройств. При этом допускается на каждом последующем этапе внесение проектной организацией (по согласованию с заказчиком и строительной организацией) изменений и дополнений в проект по данным, полученным после выполнения предыдущих этапов.

В сложных условиях, когда по материалам изысканий не представляется возможным произвести достаточно обоснованные расчеты или окончательно выбрать водопонизительную систему и типы водопонизительных устройств, следует в соответствии с пп. 1.31, 2.4, 2.5 предусматривать на ограниченном участке опытно-производственное водопонижение, результаты выполнения которого используются при составлении проекта на весь объект.

7.6. При проектировании строительного водопонижения следует предусматривать использование в период строительства наряду с временными устройствами также и устройства, проектируемые для дренажных систем эксплуатационного периода (см. п. 18.5 СНиП 2.02.01-83). При этом в проекте должны быть предусмотрены мероприятия, исключающие снижение качества дренажных систем, сдаваемых в эксплуатацию.

7.7. Строительное водопонижение с помощью водоотлива из котлованов и траншей во время их отрывки и производства строительных работ допускается предусматривать в разнообразных грунтовых условиях и на различной глубине, если при этом созданы необходимые условия для строительства, предотвращено нарушение оснований сооружений и обеспечена устойчивость откосов и дна выработок.

Водоотлив из котлованов и траншей (черт. 84) носит централизованный характер, позволяет использовать насосные установки с высоким коэффициентом полезного действия и позволяет свести к минимуму объем откачиваемых вод. Этот способ требует некоторого увеличения объема котлована за счет канавок и зумпфов, что наиболее ощутимо при разработке малых котлованов. В общем такой способ строительного водопонижения достаточно экономичен.

Черт. 84. Схема водоотлива из котлована

1 - водосборная канавка; 2 - зумпф; 3 - депрессионная поверхность; 4 - дренажная пригрузка на откосе; 5 - насосная установка

Применение водоотлива из котлованов и траншей не имеет ограничений в зависимости от характера грунтов и их фильтрационных свойств. Однако в малоустойчивых грунтах необходимы дополнительные меры по сохранению свойств грунтов в откосах и в основании сооружений и по обеспечению эффективности земляных и строительных работ, что требует значительных затрат. Опасность осложнений возрастает с глубиной котлована и увеличением притока подземных вод.

Организация водоотлива из котлована облегчается при разработке грунтов методами гидромеханизации, так как откачка подземных вод обычно совмещается с удалением из котлована пульпы, а в забое допускается разрыхление грунтов фильтрационным потоком.

7.8. При проектировании водоотлива из глубоких котлованов необходимо соблюдать определенный порядок производства земляных работ. В частности, при разработке крупных и глубоких котлованов с применением водоотлива следует предусматривать устройство передовых траншей, имеющих глубину несколько большую, чем соответствующий уступ котлована.

Разработку насухо глубоких котлованов целесообразно проектировать ярусами, начиная каждый ярус с проходки пионерной (разрезной) траншеи глубиной, несколько превышающей высоту яруса.

Направление уклона траншеи следует принимать противоположным направлению движения экскаватора. При этом в начале траншеи (вблизи съезда) должен быть запроектирован водоприемный зумпф для сбора фильтрующей воды. Насосы для откачки воды можно расположить на дне траншеи вблизи зумпфа или на верхней бровке траншеи. Последнее рекомендуется при больших притоках. Высота яруса регламентируется фактической высотой всасывания насосов и для строительных котлованов может быть равной 3 - 4 м.

На уровне дна траншеи в месте расположения зумпфа должна быть запроектирована насосная станция, устраиваемая по окончании разработки пионерной траншеи и действующая в течение всего периода разработки яруса.

При большой площади котлована в пределах одного яруса могут устраиваться дополнительные насосные станции. По окончании выемки земли из котлована по контуру дна устраиваются водосборные траншеи.

Аналогично осуществляется открытый водоотлив на последующих ярусах разработки котлована.

В больших по площади котлованах, где борта запроектированы с высокими уступами, каждый уступ разбивается на ярусы, как указано выше.

7.9. Водоотлив непосредственно из передовых траншей или из котлованов, не имеющих специальных зумпфов, может быть допущен, когда не требуется их полного осушения, например, при подводной разработке грунтов грейферами или земснарядами. При необходимости полного осушения котлована должны быть заблаговременно подготовлены зумпфы и обеспечен беспрепятственный отвод воды к ним.

Котлованы в обводненных глинистых грунтах рекомендуется разрабатывать на 20 - 40 см ниже проектных отметок и выполнять по дну втрамбовку щебня или гравия и сплошную подсыпку из этих материалов.

При подводной разработке грунтов вместе с ними удаляется из котлована то или иное (в зависимости от применяемых средств) количество воды; это приводит к соответствующему притоку в котлован подземных вод и некоторому снижению их уровня. В глубоких котлованах для обеспечения возможности разработки грунта зеркало воды в них приходится понижать с помощью дополнительного водоотлива. Необходимость в этом возникает и при осушении котлована для дальнейших строительных работ. Такая откачка должна соответствовать темпам развития водопонижения в окружающем котлован грунтовом массиве (см. п. 3.14 СНиП 2.06.14-85). При необходимости ускорения процесса осушения котлована (понижение зеркала воды в нем) во избежание нарушения устойчивости его откосов и дна следует предусматривать одновременно с откачкой из котлована водопонижение с помощью иглофильтров, вакуумных или открытых водопонизительных скважин.

7.10. Водосборники, водосборные и водосточные канавки, как правило, следует располагать за пределами основания сооружения. В условиях, когда неизбежно расположение водосборников и канавок в пределах основания, они должны быть надежно укреплены. Фильтрующие стенки и дно водосборников должны быть защищены от размыва.

7.11. В проектах насосных станций для водоотлива из котлованов и траншей следует предусматривать резервные насосы в размере 100 % при одном работающем насосе и 50 % при работающих насосах более одного.

7.12. Для водоотлива из котлованов и траншей следует предусматривать серийно выпускаемые центробежные насосы для воды, при необходимости - для загрязненной воды, или погружные электронасосы для загрязненной воды типа ГНОМ.

Технические данные насосов типа ГНОМ приведены в табл. 12.

7.13. В проектах строительного водопонижения можно предусматривать дренажи (см. разд. 11) беструбчатые в виде открытых или заполненных фильтрующим материалом канав и траншей и трубчатые с фильтрующей обсыпкой, которые при необходимости следует размещать вне котлована или внутри него.

В системах строительного водопонижения могут быть использованы пластовые дренажи на откосах и по дну котлованов. Использование в период строительства галерейных дренажей целесообразно лишь в случаях, когда они предусмотрены для постоянной эксплуатации и возможно их заблаговременное выполнение.

7.14. Простейшим видом дренажей являются канавки и передовые траншеи в котлованах, устраиваемые при открытом водоотливе с отбором воды из зумпфов.

В некоторых случаях дренажные траншеи размещаются вне котлованов, в которых производятся основные строительные работы, образуя внешний дренажный контур. Применение этого метода целесообразно при осушении значительных площадей, на которых подземные работы ведутся длительное время.

В малоустойчивых грунтах нижняя затопленная часть канав и траншей может быть заполнена фильтрующим материалом (камнем, щебнем, гравием). При необходимости использования площади, занятой канавами или траншеями, они после укладки фильтрующего материала могут быть засыпаны грунтом с постепенным переходом в материале засыпки от крупных фракций к мелким (т.е. с устройством обратного фильтра) для предохранения от засорения его водопроводящей части.

Более надежны трубчатые дренажи, состоящие из трубчатых водоводов с фильтрующей (иногда из нескольких слоев) песчано-гравийной обсыпкой или с использованием других фильтрующих материалов. Наличие трубы облегчает отвод воды. С помощью смотровых колодцев труба становится доступной для контроля и чистки. В известной мере возможна и промывка фильтров. В результате обеспечивается длительный срок службы трубчатых дренажей и их высокая эффективность.

В проектах строительного водопонижения при длительном ведении работ трубчатый дренаж целесообразно предусматривать на откосах котлована над водоупорными прослойками. Когда откос прорезают переслаивающиеся водоносные и водоупорные прослойки, трубчатый дренаж следует сочетать с пластовым дренажем на откосах.

7.15. Пластовый дренаж следует предусматривать также в основаниях сооружений при ожидаемой фильтрации подземных вид через дно котлована. При укладке такого дренажа (черт. 85) должен быть обеспечен сток из него воды к канавкам и зумпфам, из которых ведется водоотлив в период возведения сооружений и твердения бетона.

Таблица 12

Параметры

Марка насоса

ГНОМ 10-10

ГНОМ 16-15

ГНОМ 25-20

ГНОМ 40-18Т

ГНОМ 53-10Т

ГНОМ 100-25

Подача, м3

10

16

25

40

53

100

Напор, м

10

15

20

18

10

25

Мощность электродвигателя, кВт

1,1

1,7

4

5,5

4

15

Габариты, мм

278×210×450

500×240*

260×327×600

327×260×600

295×260×600

530×385×820

Масса, кг

21

31

58

76

58

180

Допустимый размер твердых включений в воде, мм

6

5

8

6

8

5

Допустимое содержание в воде механических примесей, %

10

10

-

-

-

10

Допустимая температура воды, °С

35

35

35

60

45

35

* Диаметр насоса.

Черт. 85. Пластовый дренаж, применяемый при возведении заглубленного сооружения

1 - водоотводная канавка; 2 - слой щебня толщиной 150 мм; 3 - слой песка толщиной 100 мм; 4 - железобетонная плита фундамента; 5 - два слоя рубероида; 6 - дренажная пригрузка на откосе котлована

7.16. При внешних трубчатых дренажах приходится откачивать бόльший приток подземных вод, чем при использовании внутрикотлованных дренажей и водоотливе непосредственно из котлована. Внешние дренажи не затрудняют производство земляных и других строительных работ в котловане, однако их устройство требует значительных затрат. Поэтому внешние трубчатые дренажи так же, как и галерейные, целесообразно предусматривать для строительного водопонижения в основном в случаях, когда они могут быть использованы и для постоянной эксплуатации.

Для строительного водопонижения можно предусматривать линейные и контурные (кольцевые) траншейные и трубчатые дренажи.

Пример 22. Комплекс подземных сооружений, включающий корпуса мокрой магнитной сепарации, пульпо-насосной и вакуум-насосной, имеет площадь размером 280×170 м, заглубляется на 6,8 - 18,4 м от поверхности и должен быть возведен за 2,5 года.

Площадка строительства сложена грунтами: слоем насыпного грунта толщиной 1 - 2 м, под которым залегает насыщенная водой толща переслаивающихся глинистых и тонких песчаных прослойков - 4 - 6 м, подстилающаяся на глубине 6 - 7 м от поверхности земли водоупорными глинами. Уровень подземных вод - на глубине 2 м от поверхности земли.

Требуется выбрать систему строительного водопонижения, позволяющую вести насухо разработку котлована экскаваторами с погрузкой на автомобильный транспорт. В этих условиях необходимо предотвратить фильтрацию через откосы котлована в верхней толще переслаивающихся глинистых и песчаных грунтов.

Решить эту задачу можно с помощью вакуумных иглофильтровых установок. Однако их эксплуатация на протяжении 2,5 лет потребовала бы значительных затрат. Поэтому принимается решение, обеспечивающее полный перехват фильтрационного потока через откосы с помощью горизонтального трубчатого дренажа на контакте водоносных грунтов с подстилающими глинами в сочетании с пластовым дренажем на откосах котлована.

Дренаж (черт. 86,а, б) должен быть предусмотрен по всему периметру котлована. Для отвода дренажных вод предусматриваем две автоматизированные насосные станции (черт. 87), каждая из которых укомплектована двумя насосами. Заливка насосов предусматривается по напорному трубопроводу из заливочного бака.

Описание: 84

Черт. 86. Осушение котлована с применением трубчатого дренажа

а - план трубчатого дренажа; б - конструкция трубчатого дренажа; 1 - дренажные насосные станции; 2 - смотровые колодцы; 3 - трасса трубчатого дренажа; 4 - труба под съездом; 5 - дренажная труба; 6 - гравий (щебень); 7 - местный песчаный грунт; 8 - песок

Описание: 87

Черт. 87. Автоматизированная дренажная насосная станция

1 - приемный клапан с сеткой; 2 - насосный агрегат; 3 - напорный трубопровод; 4 - заливочный бак; 5 - металлический воздуховод; 6 - крышка люка; 7 - деревянный воздуховод; 8 - подводящий коллектор; 9 - всасывающий трубопровод; 10 - датчики уровней

Особое значение имеет порядок работ по устройству дренажа. Вначале должны быть сооружены насосные станции, которые размещаются на участках понижения кровли водоупорных глин.

Сооружать насосные станции целесообразно способом опускного колодца. После опускания колодца и выполнения основных внутренних работ следует начать отрывку траншеи для дренажа с пологим наружным откосом, который будет существовать весь период производства работ в котловане, и более крутым временным откосом со стороны котлована. Разработку траншеи для дренажа следует вести с обеих сторон насосных в направлении от них к водоразделам, обеспечивая таким образом сток воды из траншеи в зумпф насосной станции, которая будет служить для откачки подземных вод с самого начала и до конца строительства подземного комплекса. Укладку трубчатого дренажа следует вести в обратном порядке, т.е. от верхних отметок к нижним, чтобы исключить сток грязной воды по дренажу.

Объем выемки траншеи полностью входит в объем котлована, который в дальнейшем разрабатывается по мере готовности дренажа, затем выполняются другие строительные работы в котловане.

Дренаж котлована можно осуществлять в период эксплуатации строящегося сооружения.

7.17. Иглофильтры, представляющие собой часто расположенные скважины с трубчатыми водоприемниками малого диаметра, соединенные общим всасывающим коллектором с центральной (для группы иглофильтров) насосной станцией, откачивающей поступающую в них воду, или имеющие индивидуальные эжекторные водоподъемники и центральную высоконапорную насосную станцию для подачи рабочей воды к эжекторам, являются важнейшим средством строительного водопонижения и могут быть предусмотрены для создания внешних и внутрикотлованных линейных (черт. 88) и контурных (черт. 89) водопонизительных систем соответственно требованиям пп. 2.20, 2.21 СНиП 2.06.14-85.

Как правило, следует предусматривать погружение иглофильтров в грунт гидравлическим способом. При этом образуется скважина, диаметр которой значительно больше диаметра иглофильтра, зазор в скважине между грунтом и иглофильтром следует, как правило, заполнять песком. В верхней части скважины целесообразно предусмотреть глиняный тампон. В крупнозернистых грунтах, не требующих применения обсыпки, допускается заполнение скважины просто оплывающим грунтом, если это не опасно для рядом расположенных сооружений.

В случае прорезания иглофильтрами трудноразмываемого грунта следует предусматривать бурение для них специальных скважин.

Извлечение иглофильтров производится с подмывом для уменьшения сил трения по боковой поверхности иглы.

При необходимости водопонижения в слабопроницаемых грунтах, ниже которых залегает более водопроницаемый слой, иглофильтры следует заглублять в нижний слой (черт. 90) с обязательным выполнением обсыпки по всей высоте скважины.

Черт. 88. Линейная система иглофильтров

1 - крепление траншеи; 2 - иглофильтры; 3 - соединительный шланг; 4 - всасывающий коллектор; 5 - гофрированный шланг; 6 - насосный агрегат ЛИУ; 7 - напорный трубопровод; 8 - сбросной трубопровод; 9 - пониженный уровень подземных вод

Описание: 89

Черт. 89. Контурная система иглофильтров

1 - насосный агрегат; 2 - иглофильтры; 3 - напорный трубопровод; 4 - сбросной трубопровод; 5 - дренажная пригрузка; 6 - пониженный уровень подземных вод

Черт. 90. Схема понижения иглофильтрами в двухслойной среде

1 - сбросной трубопровод; 2 - напорный трубопровод; 3 - насосный агрегат; 4 - всасывающий коллектор; 5 - глиняный тампон; 6 - песчано-гравийная обсыпка; 7 - иглофильтр; 8 - пониженный уровень подземных вод

При требуемых значительных глубинах понижения уровня подземных вод иглофильтры могут предусматриваться, принимая ступенчатую схему водопонижения с помощью ярусных систем (черт. 91). При этом, как правило, целесообразен следующий порядок производства работ.

Сначала вводится в действие первый самый верхний (ближайший к поверхности земли) ярус иглофильтров. Под его защитой отрывается первый (верхний) уступ котлована и монтируется второй ярус иглофильтров, после ввода в действие которого отрывается второй уступ котлована и т.д. Во многих случаях при вводе в действие каждого последующего яруса иглофильтров предыдущий ярус может быть демонтирован, но иногда (например, при больших расстояниях по горизонтали между иглофильтрами разных ярусов или при наличии водоупорных прослоек между двумя ярусами установки иглофильтров) эксплуатируются одновременно иглофильтры двух и более ярусов.

Черт. 91. Схема ярусного водопонижения иглофильтрами

1 - конечное положение депрессионной поверхности подземных вод; 2 - иглофильтры нижнего яруса; 3 - иглофильтры верхнего яруса

7.18. Выбор оборудования и числа насосных агрегатов определяется величиной ожидаемого притока подземных вод и требованиями, связанными с ограничением длины коллектора, обслуживаемого одним насосным агрегатом (см. разд. 14).

При малых понижениях уровня подземных вод и небольших коэффициентах фильтрации решающей величиной при выборе числа насосов является предельная длина коллектора, обслуживаемая одним насосом. В этом случае насосы работают с недогрузкой по производительности. Наоборот, при больших коэффициентах фильтрации и больших понижениях решающей является величина притока. Длина коллектора, приходящаяся на один насос, в этих случаях бывает меньше предельной.

Выбор расстояния (шага) между иглофильтрами, принимаемого кратным расстоянию между штуцерами коллектора, производится в зависимости от величины расчетной производительности одного, иглофильтра и разности уровней в нем и в центре котлована. Верх фильтрового звена должен быть расположен ниже расчетного уровня воды в скважине.

7.19. Аналогично применению иглофильтров могут быть использованы горизонтальные и неглубокие (до 7 - 8 м) вертикальные и наклонные буровые скважины, оборудованные фильтрами, которые можно объединять в группы и с помощью всасывающего коллектора подключать к насосным агрегатам иглофильтровых систем.

Иглофильтровые установки всех видов допускается предусматривать для гравитационного водопонижения в разных грунтовых условиях. При этом необходимо учитывать, что установки с насосными агрегатами, имеющими небольшую производительность по воздуху, часто неэффективны в грунтах с коэффициентами фильтрации меньше 2 м/сут и их можно предусматривать только при наличии положительных опытных данных.

Как правило, в грунтах с коэффициентами фильтрации менее 2 м/сут следует проектировать вакуумное водопонижение установками типа УВВ, УЗВМ, ЭИ, ЭВВУ и др.

7.20. Основной особенностью, отличающей вакуумное водопонижение от гравитационного (обычного), является создание на наружных поверхностях водоприемных устройств устойчивого вакуума.

Вакуумирование водонасыщенных грунтов применяется для усиления эффекта отбора воды в сложных гидрогеологических условиях - при малой водопроницаемости, низкой водоотдаче и неоднородном сложении грунтов, в частности, при переслаивании водоносных и водоупорных слоев.

7.21. При проектировании вакуумного водопонижения на линейно протяженных объектах (каналах, траншеях, тоннелях мелкого заложения и т.п.) иглофильтры следует располагать с обеих сторон сооружения. При защите котлованов установки УВВ размещаются по кольцевой схеме.

Коллекторы и насосные агрегаты необходимо располагать на высоте не более 7 - 7,5 м над дном котлована при залегании водоупора на глубине до 9 м от поверхности земли и на высоте 6,5 - 7 м над дном котлована при более глубоком залегании водоупора.

Вокруг иглофильтров следует предусматривать устройство обсыпки из чистого песка с частицами размерами 0,5 - 2 мм. Указания по высоте обсыпки - см. разд. 15.

7.22. Можно предусматривать строительное водопонижение с помощью иглофильтров в грунтах с коэффициентом фильтрации менее 0,1 м/сут, применяя электроосмос - электроосушение, при котором отсасывание воды из грунта происходит под действием электроосмотических сил, возникающих при пропускании через грунт постоянного тока.

Системы электроосушения состоят из двух рядов электродов (черт. 92): с внешней стороны иглофильтры (катоды), из которых производят отбор воды, а с внутренней - металлические трубы (аноды).

Черт. 92. Схема электроосушения грунтов

1 - насосный агрегат; 2 - двигатель-генератор; 3 - всасывающий коллектор; 4 - иглофильтры-катоды; 5 - трубы-аноды; 6 - пониженный уровень подземных вод

Иглофильтры (катоды) следует предусматривать по периметру котлована на расстоянии 0,75 - 1,5 м один от другого и на расстоянии 1,5 м от бровки котлована. Глубина погружения иглофильтров должна быть не менее чем на 3 м ниже проектного пониженного уровня подземных вод.

Электроды (аноды) следует предусматривать с тем же шагом, что и иглофильтры (катоды), в шахматном порядке с ними. Расстояние между рядами электродов (иглофильтров и труб) должно быть 0,8 м.

Глубина погружения электродов (анодов) должна соответствовать глубине погружения иглофильтров. Электроды должны выступать на 0,2 - 0,4 м над поверхностью земли.

Рабочее напряжение электрической установки по правилам безопасности производства работ следует принимать 40 - 60 В.

Время от начала включения электрического тока до начала проходки котлована составляет около трех суток. Дальнейший период электроосушения соответствует сроку производства строительных работ в котловане.

Электроосушение допускается предусматривать в незаселенных грунтах с удельным электрическим сопротивлением свыше 500 Ом·см при ширине котлована не более 4 м.

Перечень основного оборудования установки электроосушения приведен в табл. 13.

Таблица 13

Оборудование

Число

Легкая иглофильтровая установка УВВ-ЗА-6КМ, компл.

1

Трубы для анодов диаметром 38 мм, длиной 7 м, шт.

100

Арматурная сталь диаметром 10 - 12 мм, кг

100

Генератор постоянного тока (или выпрямитель) на 200 А при напряжении выхода до 60 В, шт.

1

Электрощит управления, шт.

1

Амперметр постоянного тока со шкалой до 1000 А, шт.

1

Вольтметр постоянного тока со шкалой до 100 В, шт.

1

7.23. Водопонизительные скважины - открытые (соединяющиеся с атмосферой), оборудованные насосами, самоизливающиеся, водопоглощающие и сквозные фильтры, а также вакуумные (герметизированные) с погружными насосами следует предусматривать для строительного водопонижения в условиях, соответствующих положениям п. 2.10 СНиП 2.06.14-85.

7.24. Открытые и вакуумные водопонизительные скважины, оборудованные насосами, как правило, целесообразны в линейных, кольцевых, неполно-кольцевых и групповых системах при требуемой глубине понижения уровня подземных вод более 4 м, но в некоторых случаях (например, при больших размерах осушаемой территории, при больших притоках и др.) могут иметь преимущества по сравнению с другими видами защиты и при меньшей глубине требуемого водопонижения.

Скважины, оборудованные насосами, являются основным средством для создания скважинных водопонизительных систем. Такие скважины можно размещать и в котловане, предусматривая их выполнение с берм или со дна котлована, но в основном их следует использовать для устройства внешних водопонизительных систем, удобных в эксплуатации и не вызывающих стеснений для производства земляных и других строительных работ на промышленных, гражданских, гидротехнических и транспортных объектах разных конфигураций в плане и различных по степени заглубления, в том числе и систем, расположенных на территориях действующих предприятий и городов.

7.25. Самоизливающиеся скважины с изливом через устье экономичны в эксплуатации, так как вода от них отводится к централизованным насосным станциям в открытых или подземных выработках. В системах строительного водопонижения они применяются главным образом для снятия избыточного напора в водоносных слоях, залегающих ниже зоны работ, и для борьбы с фильтрацией через откосы. Другие виды самоизливающихся скважин используются для строительного водопонижения, когда они предусмотрены в постоянных дренажных системах (см. разд. 8) и есть возможность их заблаговременного ввода в действие.

7.26. Самоизливающиеся скважины для снятия избыточного напора в нижележащих водоносных слоях назначаются для предотвращения опасных прорывов напорных вод в котлован, а также с целью предохранения от нарушения устойчивости грунтов и их разуплотнения в основаниях сооружений. Такие скважины бурятся с поверхности земли, с берм или со дна котлована и из горных выработок вертикально или под небольшим углом к вертикали. Они могут служить основным или резервным средством для снятия избыточного напора под дном котлована или горной выработки.

Число самоизливающихся скважин и такие их параметры, как диаметр, длина фильтрового звена, состав фильтровой обсыпки, отметка устья, определяются расчетом с учетом отметки излива воды и гидравлических потерь напора в них.

Размещение самоизливающихся скважин выбирается с учетом местных гидрогеологических условий, а также условий производства работ (конфигурации котлована, траншей, подземных выработок, размещения оборудования, трасс движения механизмов и транспорта).

Самоизливающиеся скважины должны быть заглублены в достаточно водообильную зону водоносного слоя, для снятия напора в котором они предназначены.

7.27. Самоизливающиеся горизонтальные или слабо наклонные к горизонту скважины, устраиваемые с берм на откосах, предназначаются для забора воды из глубины грунтового массива и устранения открытой фильтрации через грунт. Они применяются для защиты долго существующих откосов в котлованах и карьерах, отрытых под защитой других средств, а также природных склонов. Иногда они служат основным средством водопонижения. Это может оказаться целесообразным на природных склонах и в ряде случаев в котлованах и карьерах после их отрывки на втором этапе работ.

Устройство горизонтальных скважин в этом случае является одним из решений, сравниваемых с устройством дренажа, пригрузок на откосах и др. Горизонтальные скважины, требующие для своего содержания меньших затрат, чем водопонизительные скважины, оборудованные глубинными насосами, могут их заменить после отрывки котлована, если за период работы их устройство окажется экономически выгодным.

Применение горизонтальных скважин в котлованах возможно и как вспомогательное средство для устранения фильтрации через участки откосов над водоупорными слоями, в местах сосредоточенных выходов воды на откосы и т.п.

Применение горизонтальных скважин резко сокращает фильтрацию воды через откосы, а вместе с ней и вынос грунта фильтрующейся водой (суффозию), что способствует повышению устойчивости откосов.

Бурение горизонтальных скважин на откосах котлованов целесообразно производить гидравлическим способом с одновременным вдавливанием фильтровой колонны в грунт с помощью специальных станков.

7.28. Водопоглощающие скважины можно предусматривать в тех случаях, когда верхний водоносный слой хорошо отдает воду и имеет достаточную толщину ниже той отметки, до которой требуется понизить уровень подземных вод, а нижележащие грунты обладают достаточно высокой поглощающей способностью, и разность пьезометрических уровней воды в верхнем и нижнем слоях значительна.

При соблюдении этих условий необходимо правильно подобрать фильтры для верхнего (водоносного) и поглощающего слоев грунта с учетом разных сопротивлений на входе воды в скважину и на выходе из нее и обычно небольших градиентов напора подземных вод, отбираемых скважиной.

7.29. Сквозные фильтры устраиваются при наличии галерейного дренажа и подземных выработок и соответственно могут предусматриваться в системах строительного водопонижения, если имеется возможность использовать указанные устройства.

Пример 23. Вблизи устья реки необходимо построить гидротехническое сооружение, заглубленное на 20 м ниже поверхности земли и на 16 м ниже уровня подземных вод, практически совпадающего с уровнем воды в реке.

Геологическое строение грунтовой толщи на участке строительства следующее:

вверху залегает слой мелких песков с глинистыми прослойками высотой 7 м; ниже расположены глинистые илы, содержащие тонкие прослойки песков и подстилающиеся слоем песков средней крупности и крупных; все грунты насыщены водой; уровень подземных вод в нижних песках, активно гидравлически связанных с рекой, совпадает с уровнем воды в реке и в верхних слоях песков.

Требуется определить систему водопонижения и увязать ее с производством строительных работ в котловане, отрывка которого принята подводным способом земснарядом с глубиной черпания до 6 м (разработка толщи илов ведется уступами по 3 м), а сооружение располагается на песчаной подушке.

Задачи по защите котлована от подземных вод:

при понижении уровня воды в котловане в пределах верхнего слоя мелких, с прослойками илистых, песков необходимо снизить до минимума фильтрацию через откосы, во избежание их оплывания;

необходимо снизить напор в подстилающих песках к моменту, когда вес грунта и воды над подошвой практически непроницаемых илов уравняется с напором на нее подземных вод, заключенных в нижних песках, учитывая, что понижение уровня в котловане не повлечет за собой снижения уровня в нижних песках;

следует обезопасить котлован от суффозии при возможной фильтрации подземных вод через откосы из песчаных прослойков, расположенных в толще илов;

поступающая в котлован вода должна быть удалена.

Для решения этих задач предусматриваются (черт. 93):

контурная иглофильтровая система для перехвата фильтрационного потока в верхних песках;

контурная система водопонизительных скважин, оборудованных погружными насосами, для снятия напора в нижних песках, сооружаемая с бермы, устраиваемой на 1 м выше кровли глин;

отсыпка песка для пригрузки откосов в илах, соединяющаяся с песчаной подушкой в основании сооружения;

контурная иглофильтровая система на дне котлована для откачки воды, проникающей в песчаную отсыпку на откосах и в основании сооружения (при действии этой установки верхний ярус иглофильтров может быть отключен);

резервные самоизливающиеся скважины для снятия напора в нижних песках в случае отключения (например из-за дефицита электроэнергии) погружных насосов.

Черт. 93. Система водопонижения с применением резервных самоизливающихся скважин

1 - иглофильтры; 2 - скважины, оборудованные насосами; 3 - пригрузки из песка; 4 - самоизливающиеся резервные скважины; 5 - контур строящегося сооружения

Следует отметить, что работа одних только самоизливающихся скважин (без скважин с погружными насосами) не гарантирует от прорывов воды из нижних песков через дно котлована из-за недостаточной фильтрационной устойчивости слоя илов, содержащих песчаные прослойки.

Самоизливающиеся скважины могут быть выполнены со дна котлована после его осушения в случае бесперебойной работы водопонизительных скважин с погружными насосами. В противном случае, самоизливающиеся скважины должны быть выполнены заблаговременно, и по мере понижения уровня воды в котловане их надфильтровые трубы надо будет срезать.

8. ПОСТОЯННЫЕ ВОДОПОНИЗИТЕЛЬНЫЕ (ДРЕНАЖНЫЕ) СИСТЕМЫ

8.1. Дренажные системы, предназначенные для постоянной защиты от подземных вод зданий и сооружений, могут быть предусмотрены всех видов, указанных в п. 6.7, с учетом условий их применения при проектировании (соответственно см. табл. 12):

сооружений, заглубляемых ниже залегания подземных вод, с учетом прогнозируемого их уровня и химического состава;

мероприятий по предотвращению подтопления подземных помещений или проникновения в них воды, при изменении или прогнозе изменения гидрогеологической обстановки на застроенных территориях;

гидротехнических сооружений и противооползневых мероприятий;

во всех других случаях, когда требуется снижение и постоянное поддержание в сниженном положении уровня подземных вод.

8.2. Применение для дренажных систем траншейных дренажей (дренажных траншей) можно предусматривать лишь в случаях, когда их размещение, требующее много места и осложняющее транспортные коммуникации, не вызывает эксплуатационных затруднений.

При проектировании необходимо также учитывать, что открытые траншеи требуют при эксплуатации существенных затрат на поддержание их в рабочем состоянии.

Закрытые беструбчатые дренажи лишены вышеуказанных недостатков, но они недостаточно надежны при длительной эксплуатации, так как фильтрующий материал со временем кольматируется. Беструбчатые дренажи целесообразно предусматривать на оползневых склонах на период стабилизации оползня.

8.3. Трубчатые дренажи разных типов можно предусматривать в линейных и контурных дренажных системах в различных грунтовых условиях:

совершенного типа (расположенные на водоупорном грунте с песчаной обсыпкой, выведенной выше уровня подземных вод на 0,5 м) - во всех водоносных грунтах без ограничений;

несовершенного типа - как правило в грунтах с коэффициентом фильтрации 2 м/сут и при меньших значениях коэффициента фильтрации при наличии опытных данных, подтверждающих эффективность принимаемого проектного решения.

Пример 24. Площадка строительства металлургического завода расположена на берегу моря у устья реки. Фундаменты и подземные сооружения закладываются в толще песков мелких и средней крупности, водоносных, подстилаемых на глубине 20 - 30 м относительно водоупорным слоем песчаников. Подземные воды имеют свободное зеркало на отметке «нуль» у побережья и на 3 м выше - на расстоянии 3 км от него с сезонным колебанием в пределах 1 - 1,5 м. Средний коэффициент фильтрации песков 15 м/сут.

Требуется определить защиту от подземных вод с помощью водопонижения подземных и заглубленных сооружений группы прокатных цехов, заглубляемых до 10 м от поверхности земли и до 8 м от уровня подземных вод, расположенных на площади размером 510×550 м.

Наличие значительной толщи хорошо фильтрующих песков позволит получить значительную эффективность искусственного понижения уровня подземных вод любыми средствами. Принимая во внимание, что в данных условиях самотечный водоотвод с требуемых глубин невозможен, дренажная система для постоянного понижения уровня подземных вод должна быть запроектирована с водоотливом, который целесообразно предусматривать централизованным.

Постоянную защиту подземного хозяйства прокатных цехов целесообразно осуществлять с помощью трубчатого дренажа в виде контурных дренажных систем со специальными дренажными насосными станциями (черт. 94).

Ввиду большой площади, занимаемой цехами, следует предусматривать разделение системы на три водопонизительных контура. Это позволит выполнять строительство очередями и потребует менее глубокого (чем при одном контуре) заложения дрен.

Кроме того, необходимо предусматривать дополнительные поперечные перепускные дрены (см. черт. 94,а), чтобы при выходе из строя отдельных участков дренажа дренируемые им воды можно было временно перепускать (при подъеме уровня в дренаже на 50 - 70 см) к другой насосной станции.

Дренажная система прокатных цехов должна быть использована в системе строительного водопонижения на площадке строительства завода и в системе постоянной защиты его заглубленных сооружений. Очередность строительства и ввода в действие отдельных участков дренажной системы прокатных цехов должна быть принята с учетом сроков строительства, методов защиты других заглубленных и подземных сооружений завода, необходимого для каждого этапа строительства эффекта водопонижения и обеспечения минимальных суммарных затрат по водопонижению на строительной площадке.

8.4. Трубчатый дренаж в определенных случаях (например, при защите от подтопления существующих подземных и заглубленных сооружений из-за непредвиденного подъема уровня подземных вод в слабонепроницаемых грунтах) можно предусматривать герметизированным для осуществления вакуумного водопонижения.

Вакуумный дренаж (см. разд. 11) можно предусматривать и в хорошо проницаемых грунтах в случаях необходимости:

более глубокого снижения уровня подземных вод;

большего снижения влажности грунта;

сокращения времени осушения по сравнению с использованием гравитационного дренажа.

Описание: 1

Черт. 94. Схема водопонизительной системы на площадке металлургического завода и конструкция трубчатого дренажа

а - схема водопонизительной системы; б - конструкция трубчатого дренажа со смотровым колодцем; 1 - производственные здания; 2 - дренажные насосные станции; 3 - перепускная трубчатая дрена; 4 - тоннель; 5 - трубчатая дрена; 6 - смотровой колодец; 7 - пониженный уровень подземных вод; 8 - рабочая камера смотрового колодца; 9 - раструбные железобетонные трубы d = 700 мм; 10 - чугунный люк; 11 - пол цеха; 12 - сбросная железобетонная плита толщиной 150 мм; 13 - чугунная перфорированная труба d = 400 мм; 14 - щебень фракцией 3 - 25 мм; 15 - песок крупностью 0,6 - 3 мм

8.5. Галерейный дренаж в зависимости от местных условий в виде дренажных галерей (см. разд. 11) или подземных горных выработок (см. разд. 4) следует предусматривать при требовании особо надежной долголетней эксплуатации, если при выходе дренажа из строя его переустройство невозможно; при возможности выполнения дренажа только подземным способом; когда по природным условиям он имеет экономические преимущества по сравнению с другими водопонизительными устройствами; если по условиям залегания и по характеру водоносных слоев целесообразно сочетать дренажные галереи со сквозными фильтрами, устраиваемыми с поверхности, и со скважинами, забуриваемыми из подземных галерей под различными углами.

Дренажные галереи полупроходного сечения (высотой 0,9 - 1,2 м) допускается предусматривать, если их эксплуатация не требует частых осмотров и сложных ремонтов.

Пример 25. Территория санаторного комплекса включает развитый на морском береговом склоне активный оползень (черт. 95).

Оползневое тело длиной по склону около 1000 м, шириной от 200 м вверху до 600 м у уреза воды и толщиной 5 - 20 м представлено неоднородными суглинисто-щебеночными грунтами.

Сдвиг происходит по наклонной поверхности подстилающих оползневое тело сильно дислоцированных аргиллитов, трещиноватых и содержащих подземные воды, насыщающие также и оползающие грунты. На участках преобладания глинистых грунтов в оползневом теле воды аргиллитов приобретают напорный характер. Наряду с этим в оползне встречаются водообильные дресвяно-щебеночные линзы, имеющие непосредственную гидравлическую связь с водами трещиноватых аргиллитов.

В составе намеченного комплекса мероприятий, направленных на стабилизацию оползневого процесса, предусмотрено водопонижение. Необходимо выбрать эффективную дренажную систему для снижения напора подземных вод и фильтрационного давления на оползневое тело.

Описание: 95

Черт. 95. Галерейный дренаж на оползневом склоне

1 - оползневые суглинки с дресвой и щебнем; 2 - гравелистые пески; 3 - аргиллиты; 4 - галерейный дренаж с самоизливающимися скважинами; 5 - оползневые подвижки; 6 - водообильные зоны; 7 - граница активного оползня; 8 - непониженный уровень подземных вод; 9 - пониженный уровень подземных вод

Аргиллиты, в том числе и сильно дислоцированные, трещиноватые, как слоистые породы гораздо более проницаемы по напластованию, чем в перпендикулярном к напластованию направлении, поэтому из них легче всего отбирать воду с помощью непрерывного линейного дренажа (траншейного, трубчатого, галерейного), пройденного в крест простирания и слоистости пород. Эти аргиллиты характеризуются как слабопроницаемые породы. Как слабопроницаемые характеризуются в основном и грунты, слагающие оползневое тело, за исключением линз с преобладанием дресвяно-щебеночных фракций.

Для решения поставленной задачи необходимо снижение напора в аргиллитах и осушение оползневого тела, а для этого необходимо отбирать воду и из вышележащих грунтов.

Учитывая вышеизложенное, предусматриваем:

галерейный дренаж в виде горных выработок с водопроницаемой крепью в аргиллитах; трассы горных выработок проводим так, чтобы они пересекали напластования аргиллитов и проходили бы под оползневым телом по всей его ширине, пересекая поток подземных вод, по возможности, под линзами водообильных грунтов (см. черт. 95);

проходку горных выработок предусматриваем из двух штолен со сбойкой, обеспечивая по готовности выработок сквозную вентиляцию и два выхода из выработок; на период проходки выработок предусматриваем дополнительные вентиляционные скважины;

кроме этого, для усиления водозабора из аргиллитов и осушения покрывающих грунтов предусматриваем самоизливающиеся скважины, забуриваемые из горных выработок, и сквозные фильтры.

8.6. Пластовые дренажи следует предусматривать:

для защиты подземных и заглубленных сооружений в слабопроницаемых водоносных грунтах и в сухих грунтах, когда имеется опасность подъема уровня подземных вод и подтопления подземных помещений при их эксплуатации;

для защиты от суффозии грунта на фильтрующих откосах гидротехнических сооружений, выемок (например, для транспортных коммуникаций, карьеров и др.) и оползневых склонов;

для осушения и ускорения консолидации намывных и, при необходимости, насыпных грунтовых толщ.

Пример 26. Промышленное здание длиной 600 м имеет в своих торцевых частях заглубленные на 10 м (от поверхности земли) подвальные помещения с размерами в плане 50×80 и 50×100 м, соединенные друг с другом заглубленным тоннелем шириной 20 м. Здание проектируется на территории, сложенной следующими грунтами (сверху вниз): насыпными с толщиной слоя до 2 м; песками мелкими, пылеватыми с прослойками супесей общей толщиной слоя от 9 м на одном конце здания до 16 м - на другом, со средним значением коэффициента фильтрации 1,8 м/сут; суглинками с гравием и галькой, имеющими коэффициент фильтрации 0,3 м/сут, подстилающимися на глубине 20 - 25 м водоупорными глинами. Уровень подземных вод расположен на глубине 2 м от поверхности земли.

Требуется запроектировать рациональную дренажную систему здания.

В этих условиях большинство видов дренажей были бы недостаточно эффективны. В частности, применение трубчатого дренажа позволило бы получить обеспеченную защиту от подтопления подземных помещении при заложении трубчатых дрен на глубине 20 - 25 м на слое водоупорных глин или на меньшей глубине в виде вакуумного дренажа. Однако такой вариант потребует увеличения затрат.

Радикальное решение защиты достигается путем устройства пластового дренажа в основании сооружения и пристенных дренажей (черт. 96).

Пластовый дренаж принимаем в виде сплошной двухслойной постели, укладываемой под подвалом по дну котлована. Нижний слой дренажной постели должен быть выполнен из чистого песка средней крупности толщиной слоя 10 см. Верхний водопроводящий слой из щебня или гравия с минимальной толщиной 150 мм.

Во избежание засорения и нарушения пластового дренажа в процессе производства общестроительных работ необходимо дренажную постель прикрыть сверху двумя слоями рубероида.

С наружной стороны стен подвала, заглубленных ниже расчетного уровня подземных вод, предусматриваем устройство пристенного дренажа из фильтрующих керамзитобетонных плит.

Отвод каптируемых дренажами подземных вод принимаем по самотечной трубчатой дрене из керамических канализационных труб к приемным колодцам насосных станций. Насосные станции перекачивают дренажные воды в колодцы-гасители, откуда они самотеком поступают в дождевую канализацию.

8.7. В дренажных системах в зависимости от обстоятельств можно предусматривать использование водопонизительных скважин всех видов.

Водопонизительные скважины, оборудуемые индивидуальными насосами, целесообразно применять для периода эксплуатации промышленных и гражданских объектов:

когда необходимость защиты подземных и заглубленных сооружений выявилась на уже застроенной территории и устройство различных видов дренажей представляет значительные трудности;

при необходимости понижения уровня подземных вод до значительных глубин;

во всех других случаях, когда это устанавливается на основании соответствующего технико-экономического анализа.

Водопоглощающие скважины можно использовать для постоянной эксплуатации в тех же условиях, что и при строительном водопонижении (см. п. 7.25).

Сквозные фильтры, предназначенные для использования в сочетании с подземными дренажными выработками и галерейными дренажами, так же как и эти устройства, следует предусматривать при наличии условий, указанных в п. 8.5.

Самоизливающиеся скважины целесообразно предусматривать в дренажных системах земляных сооружений и природных склонов (см. п. 7.24) в условиях, указанных в п. 8.5, а также в так называемых системах лучевых водозаборов и сифонных дренажей.

Приведем примеры решений скважинных дренажных систем.

Пример 27. Вблизи территории промышленного объекта должно быть образовано водохранилище. Нормальный уровень воды в водохранилище будет превышать поверхность территории на 6 - 8 м.

Территория промышленного объекта площадью около 8 км2 расположена на первой надпойменной террасе левого низкого берега реки. Естественными границами его являются с одной стороны - река, с другой стороны - заболоченная лощина шириной до 100 м, окаймленная высоким (до 20 - 30 м) уступом второй надпойменной террасы.

Геологический разрез территории промышленного объекта представлен в следующем виде: в верхней части разреза распространены линзы суглинков, образующие прерывистый суглинистый покров толщиной от 0,5 до 2,0 м, ниже залегают песчаные грунты, подстилаемые на глубине 45 м коренными глинами.

Толща песчаных грунтов сложена: песками мелкими, глинистыми, местами переходящими в супеси; книзу крупность частиц песков возрастает, они переходят в средние и крупные, а непосредственно на кровле глин залегает слой крупных песков толщиной 10 - 12 м с примесью гравия и гальки.

Уровень подземных вод до образования водохранилища находился на глубине 2,5 - 3 м от поверхности земли.

Коэффициенты фильтрации водоносной толщи изменяются от 3 - 4 в верхней части до 70 - 90 м/сут - в нижней.

Описание: 96

Черт. 96. Схема дренажных устройств подвала промышленного здания

1 - сбросной трубопровод; 2 - колодец-гаситель; 3 - водоприемный колодец; 4 - трубчатый дренаж; 5 - смотровой колодец; 6 - дренажная насосная установка; 7 - пластовый дренаж; 8 - пристенный дренаж из керамзитобетонных фильтрующих плит; 9 - конструкция днища; 10 - бетонная подготовка; 11 - два слоя рубероида; 12 - щебень; 13 - песок; 14 - бетон; 15 - дренажная труба

Для защиты объекта от затопления при образовании водохранилища запроектирована земляная дамба, ограждающая территорию предприятия в виде полукольца; общая протяженность дамбы 8 км, высота 10 - 15 м, ширина по гребню 6 м, заложение откосов 1:3.

С низовой, обращенной к территории предприятия стороны дамбы, в ее основании предусмотрен трубчатый дренаж.

Запроектированный придамбовый дренаж предотвратит открытую фильтрацию воды из водохранилища через откосы дамбы, но не устранит возможности подтопления и заболачивания всей территории предприятия.

Требуется выбрать дренажную систему для защиты территории от подтопления и сохранения уровня подземных вод на прежних отметках.

Для нового строительства эту задачу целесообразнее было бы решать с помощью водопонизительных устройств, рассредоточенных на территории и приурочиваемых к участкам подземных и заглубленных сооружений, где требуются наибольшие понижения уровней подземных вод. Но при настоящем рассмотрении следует исходить из того, что на застроенной территории сооружение новых водопонизительных устройств именно там, где это особенно необходимо, и прокладка новых водоотводящих коммуникаций окажутся сопряженными со значительными трудностями. Поэтому защиту от подтопления необходимо решать с помощью водопонизительных устройств, расположенных вне защищаемой территории.

В связи с этим предусматриваем береговую дренажную систему вдоль ограждающей дамбы примерно в 150 - 200 м от оси придамбового дренажа. Понижение уровня подземных вод на этой линии должно быть достаточно глубоким, чтобы по всей площади защищаемой территории он не поднимался выше заданных отметок. По этой причине, а также учитывая целесообразность отбора воды из нижних, более проницаемых слоев песка, водопонизительные устройства должны быть значительно заглублены. Очевидно, для создания намеченной дренажной системы следует применить водопонизительные скважины.

Водопонизительные скважины целесообразно заглубить до водоупора и оборудовать достаточно длинным фильтровым звеном, что обеспечит их долголетнюю устойчивую работу. При этом система может быть решена с помощью как скважин, оборудованных индивидуальными насосами, так и самоизливающихся скважин, если обеспечить их излив на достаточно низкую отметку, например, в заглубленный коллектор.

В проекте обоснованный выбор должен быть сделан на основе соответствующего технико-экономического анализа. Здесь же, отдавая предпочтение централизованному водоотливу по сравнению с откачкой воды из скважин индивидуальными насосами, выбираем систему самоизливающихся скважин с изливом через сифон в коллектор.

Самоизливающиеся скважины располагаем по контуру полукольца (черт. 97). С помощью сифонной трубы скважины соединяются с коллектором, в котором поддерживается вакуум. Коллектор представляет собой стальной трубопровод, укладываемый в проходной галерее (черт. 98). Применение сифонной системы позволит значительно уменьшить глубину заложения коллекторов и создаст, кроме того, возможность свободного регулирования динамического уровня воды в подключенных к ним скважинах.

На трассе глубокого дренажа для откачки дренажных вод предусматриваем насосные станции, оборудованные центробежными водяными и воздушными насосами. Насосные станции должны быть полностью автоматизированы.

С противоположной водохранилищу стороны для защиты от заболачивания территории предусматриваем глубокую канаву, совмещающую функции нагорной канавы и дренажной траншеи.

Пример 28. Территория промышленного предприятия расположена в излучине водохранилища, образующего область питания, схематезируемую двумя взаимно перпендикулярными границами, отстоящими от границ промплощадки на юге - на 4 км, на севере - на 5 км (черт. 99).

Коэффициенты фильтрации песчаной толщи, м/сут: в верхней части - около 6, в нижней - 50, а залегающих выше суглинков - 0,01 и супесей - 0,5. Взаимосвязь вод суглинисто-супесчаной толщи с водами подстилающих песков была установлена опытными откачками, при проведении которых из песков уровни воды в верхних супесях, хотя и с некоторым отставанием, но в общем достаточно активно следовали за уровнями воды в нижних песках.

Уровень воды в верхней (суглинисто-супесчаной) толще в процессе эксплуатации предприятия установился на одинаковой отметке - на глубине 8 м от поверхности земли. При этом происходит подтопление заглубленных помещений. Для нормальной эксплуатации предприятия необходимо понизить уровень воды на всей площадке не менее чем на 3 м.

Решая задачу водопонижения, необходимо учитывать, что подземные воды нижних слоев песков используются для водоснабжения, а воды верхней суглинисто-супесчаной толщи питаются промышленными стоками и содержат вредные примеси. Поэтому нельзя допустить перетекания загрязненной воды из верхней водоносной толщи в нижние пески.

Однако на застроенной территории добиться осушения слабопроницаемых грунтов верхней водоносной толщи путем забора воды непосредственно из них затруднительно.

В связи с этим, основываясь на данных о взаимосвязи подземных вод всех слоев грунта, требуемое понижение уровня подземных вод может быть достигнуто откачкой из верхних слоев песков.

Описание: 97

Черт. 97. Схема дренажной системы для защиты от подтопления промышленного предприятия

1 - земляная дамба; 2 - глубокий дренаж с сифонным коллектором, уложенным в галерее; 3 - насосные станции для перекачки дренажных вод; 4 - открытая канава; 5 - придамбовый дренаж; 6 - галерея глубокого дренажа; 7 - водопонизительные самоизливающиеся скважины; 8 - пониженный уровень подземных вод; 9 - песок; 10 - гравелистый песок; 11 - глина

Описание: 98

Черт. 98. Галерея сифонного коллектора

1 - коллектор; 2 - галерея сифонного коллектора; 3 - смотровой колодец дренажа галереи; 4 - сопутствующий дренаж; 5 - водопонизительная самоизливающаяся скважина; 6 - оголовок скважины

В соответствии с вышеизложенным, предусматриваем устройство в отдельных доступных местах водозаборных сооружений, которые могут быть выполнены как в виде лучевых водозаборов (черт. 100), так и в виде групп вертикальных водопонизительных скважин, оборудованных насосами.

Описание: 99

Черт. 99. Схема к примеру 28

1 - защищаемый объект; 2 - расчетный контур питания

Описание: 100

Черт. 100. Дренажная система застроенной площадки с использованием лучевых водозаборов

1 - водозаборные сооружения; 2 - суглинок; 3 - супесь; 4 - пески с включением гравия; 5 - глина

ЧАСТЬ III. СООРУЖЕНИЯ И УСТРОЙСТВА СИСТЕМ ЗАЩИТЫ ГОРНЫХ ВЫРАБОТОК, ЗДАНИЙ И СООРУЖЕНИЙ ОТ ПОДЗЕМНЫХ ВОД (К СНиП 2.06.14-85 И СНиП 2.02.01-83)

9. ВОДОПОНИЗИТЕЛЬНЫЕ СКВАЖИНЫ

Виды скважин

9.1. Водопонизительные скважины являются одним из наиболее распространенных средств водопонижения как в горном, так и в промышленном и гражданском строительстве.

Водопонизительные скважины следует предусматривать для образования кольцевых, неполно-кольцевых, линейных или групповых водопонизительных систем. В некоторых случаях также возможно использование одиночных скважин.

9.2. В проекте следует предусматривать водопонизительные скважины, забуриваемые с учетом условий их устройства с поверхности земли, берм и дна открытых выработок, а также из подземных выработок. В зависимости от природных и эксплуатационных условий скважины могут быть открытые (сообщающиеся с атмосферой) или вакуумные (с загерметизированным устьем).

9.3. Открытые водопонизительные скважины с учетом гидрогеологических условий и задач проектируемого водопонижения могут быть предусмотрены: оборудованные насосами (или водоподъемниками других типов), водопоглощающие, сквозные фильтры и самоизливающиеся (с изливом через устье).

Вакуумные скважины, как правило, следует проектировать с погружными насосами (вакуум-концентрические скважины, оборудованные эжекторными иглофильтрами, приведены в разд. 10).

9.4. При проектировании конструкций водопонизительных скважин следует учитывать вид скважин, их глубину, гидрогеологические условия строительства, применяемое оборудование и технологию производства работ при устройстве скважин.

В проекте должны быть предусмотрены возможности измерения в скважине уровней и температур подземных вод и осуществления отбора их проб для анализов.

9.5. Открытые и вакуумные Водопонизительные скважины, оборудованные насосами, водопоглощающие скважины и сквозные фильтры, как правило, должны включать: систему соосных обсадных колонн для закрепления ствола скважины и изоляции при необходимости осушаемого слоя от других водоносных слоев, пересекаемых скважиной; оголовок; фильтровую колонну с отстойником или выпуском и песчано-гравийную обсыпку вокруг фильтра.

9.6. Открытые и вакуумные Водопонизительные скважины, оборудованные насосами, должны быть снабжены манометром, задвижкой, обратным клапаном, краном для отбора проб воды и водомерным устройством, а вакуумные скважины, кроме того, вакуумметром и уровнемером.

В открытых скважинах (черт. 101) допускается предусматривать для замеров уровней воды, кроме уровнемеров, пьезометрические трубки, которыми в водопонизительных системах могут быть оборудованы отдельные скважины (но не менее чем одна из десяти).

Описание: 1

Черт. 101. Открытая водопонизительная скважина, оборудуемая насосом

1 - кондуктор; 2 - надфильтровая колонна; 3 - направляющие фонари; 4 - отстойник; 5 - насосная установка; 6 - водоприемное покрытие фильтра; 7 - песчано-гравийная обсыпка; 8 - муфта; 9 - местный грунт; 10 - колонна водоподъемных труб; 11 - пьезометры

Пьезометрические трубки следует предусматривать для замера уровней воды в полости фильтровой колонны и в ее затрубном пространстве.

Вакуумные скважины (черт. 102) герметизируются крышкой, имеющей фланцевое соединение с оголовком скважины. В крышке должны быть предусмотрены сальники для пропуска кабелей, деталей оборудования и приборов (вакуумметра, манометра, уровнемера).

Черт. 102. Вакуумная водопонизительная скважина

1 - манометр; 2 - вентиль; 3 - трубка вакуумметра; 4 - глиняный тампон; 5 - муфта; 6 - надфильтровая труба; 7 - напорный трубопровод; 8 - фильтр; 9 - водоупор; 10 - кабель; 11 - стабилизатор динамического уровня; 12 - обратный клапан; 13 - насос; 14 - кожух; 15 - электродвигатель; 16 - отстойник; 17 - муфта; 18 - трубка прибора для измерения воды в скважине; 19 - трубка для подключения вакуумнасоса; 20 - крышка; 21 - вакуумметр

9.7. Оголовки скважин, оборудованных насосами, должны обеспечивать опору для монтажа насосного оборудования и предохранять от засорения скважин грунтом и случайными предметами с поверхности.

Оголовок водопонизительной скважины, оборудованной насосом, при расчетном сроке эксплуатации более одного года рекомендуется располагать в заглубленной камере или в наземном павильоне.

Фильтровую колонну следует проектировать из фильтровых звеньев и глухих труб. Нижняя глухая часть фильтровой колонны должна служить отстойником, который следует предусматривать глубиной 2 - 5 м в зависимости от ожидаемого объема поступления в скважину частиц грунта.

В случае размещения скважинного насоса ниже фильтра глубина отстойника должна быть увеличена с учетом высоты насоса.

9.8. Для откачки воды из скважин следует применять, как правило, скважинные центробежные насосы с погружным электродвигателем или с двигателем, установленным над скважиной и соединенным с рабочим органом вертикальным трансмиссионным валом (табл. 14, черт. 103).

При необходимости (например, при отсутствии электроэнергии) могут быть использованы и другие водоподъемники (эрлифты, гидроэлеваторы, поршневые насосы).

Описание: 103

Черт. 103. График полей Q-H агрегатов типа ЭЦВ (ГОСТ 10428-79)

Таблица 14

Марка насоса

Мощность электродвигателя, кВт

Длина насоса, мм

Марка насоса

Мощность электродвигателя, кВт

Длина насоса, мм

Агрегаты электронасосные центробежные скважинные для воды

 

1ЭЦВ6-4-130

2,8

1700

1ЭЦВ10-63-150

45,0

2504

1ЭЦВ6-4-190

4,5

2041

2ЭЦВ10-63-150

45,0

2415

3ЭЦВ6-6,3-85

2,8

1358

2ЭЦВ10-63-180

45,0

2500

4ЭЦВ6-6,3-85

2,8

1484

ЭЦВ10-63-110ХТр

32,0

1998

3ЭЦВ6-6,3-125

4,5

1564

1ЭЦВ10-63-270

65,0

3234

4ЭЦВ6-6,3-125

4,5

1710

3ЭЦВ10-120-60

32,0

1803

1ЭЦВ6-10-50

2,8

1361

ЭЦВ10-160-35Г

22,0

1764

3ЭЦВ6-10-80

4,5

1415

ЭЦВ12-63-520Х

160,0

4267

1ЭЦВ6-10-110

5,5

1713

1ЭЦВ12-160-65

45,0

1966

1ЭЦВ6-10-140

8,0

1891

1ЭЦВ12-160-100

65,0

2157

1ЭЦВ6-10-185

8,0

2222

ЭЦВ12-160-140

90,0

2619

ЭЦВ6-10-235

11,0

2799

ЭЦВ12-160-140ХГ

125,0

2805

3ЭЦВ6-16-50

4,5

1502

1ЭЦВ12-210-25

22,0

1747

3ЭЦВ6-16-75

5,5

1708

2ЭЦВ12-255-30Г

32,0

1602

ЭЦВ6-16-160ХТрГ

16,0

2632

ЭЦВ12-375-60ХТр

90,0

2487

3ЭЦВ6-16-140

11,0

1795

1ЭЦВ14-120-540ХТрГ

260,0

7586

1ЭЦВ8-25-100

11,0

1832

1ЭЦВ14-210-300Х

250,0

4912

2ЭЦВ8-25-100

11,0

1822

1ЭЦВ16-375-175Х

250,0

4301

2ЭЦВ8-25-150

16,0

2128

Агрегаты водоподъемные с электродвигателем над скважиной

1ЭЦВ8-25-150ХТрГ

22,0

2658

20А-18Х1-1

75

 

2ЭЦВ10-63-65

22,0

1720

20А-18Х1-1

250

27210

2ЭЦВ10-63-110

32,0

2125

24А-18Х1-1

250

83375

Примечания: 1. Основные характеристики агрегатов ЭЦВ соответствуют ГОСТ 10428-79.

2. Требуемый подпор для насосов марок от ЭЦВ6-4-130 до 1ЭЦВ12-210-25 - 1 м; для 2ЭЦВ12-255-30Г и 1ЭЦВ14-210-300Х - 2 м; для ЭЦВ12-375-6ОХТр и 1ЭЦВ16-375-175Х - 6 м.

3. Буквы в марке означают: А - артезианский; В - водяной; Г - допускается повышенное содержание твердых механических примесей в воде; Тр - попускается повышенная температура воды; Х - допускается химическая активность воды; Ц - центробежный; Э - с приводом от погружного электродвигателя.

4. Числа в марке означают: первое (для насосов типа ЭЦВ - первое после букв) - внутренний диаметр фильтровой колонны, уменьшенный в 25 раз и округленный; второе - для насосов типа А - быстроходность, для насосов типа ЭЦВ - подача, м3/ч; третье - для насосов типа А - число корпусов насоса, для насосов типа ЭЦВ - напор, м. Для насосов типа ЭЦВ перед буквами ставится порядковый номер модернизации, например: 1ЭЦВ12-160-65.

Насосы следует устанавливать внутри фильтровой колонны по возможности выше фильтра.

При необходимости размещения погружного электродвигателя ниже фильтра в проекте следует предусматривать устройство, обеспечивающее циркуляцию поступающей в скважину воды вокруг корпуса двигателя для его охлаждения.

Типоразмер фильтровой колонны рекомендуется принимать следующий за минимально допустимым для выбранного насосного агрегата.

9.9. Водопоглощающие скважины должны иметь фильтры в верхнем слое, осушаемом с их помощью, и в нижнем - для сброса воды. В нижней части скважин следует располагать отстойник, в верхней - оголовок.

Оголовок должен предохранять от засорения скважины с поверхности.

9.10. Сквозной фильтр (черт. 104) должен иметь фильтровую колонну только в пределах неустойчивых грунтов или скальной породы, если из нее возможен вынос нескальных грунтов, заполняющих трещины.

Фильтровые звенья следует предусматривать в нижней части каждого прорезаемого скважиной водоносного слоя.

Оголовок с крышкой, предохраняющей от попадания в скважину случайных предметов, должен возвышаться над поверхностью земли на 0,5 м.

В подземной выработке, в которую выводится сквозной фильтр, необходимо предусмотреть выпуск (см. разд. 4).

9.11. Самоизливающиеся скважины с изливом воды через устье могут быть:

вертикальные или расположенные под небольшим углом к вертикали, забуриваемые с поверхности в нижележащие (по отношению к горизонту забуривания) водоносные слои для снятия в них избыточного напора;

забуриваемые в водоносные слои из подземных выработок и галерей в разных направлениях для решения различных задач водопонижения;

горизонтальные или расположенные под небольшим углом к горизонту, забуриваемые или залавливаемые с берм на откосах, со дна котлована или на природных склонах, как правило, в подошве водоносного слоя для забора воды из глубины грунтового массива;

лучевые, забуриваемые из колодцев (шахт) в радиальных направлениях (лучевые водозаборы), для сбора воды с большой площади в одной точке.

Описание: 104

Черт. 104. Сквозной фильтр

1 - перфорированная труба ограждения; 2 - надфильтровые трубы; 3 - местный песчаный грунт; 4 - песчано-гравийная обсыпка; 5 - фильтровые звенья; 6 - переходная муфта; 7 - задвижка

9.12. Вертикальные самоизливающиеся скважины для снятия избыточного напора в нижележащих водоносных слоях (черт. 105) имеют конструктивные элементы, аналогичные указанным в п. 9.5. Дно отстойника скважины должно быть закрыто пробкой или заварено.

Изливающуюся из этих скважин воду следует направлять в водоотводящие канавы, лотки или в сифонный коллектор.

9.13. Скважины, забуриваемые (или задавливаемые) из подземных выработок (черт. 106), состоят, в основном, из фильтровой колонны с коронкой и оголовком, являющимся выпуском и оборудованным запорным краном или задвижкой.

Описание: 1

Черт. 105. Самоизливающаяся скважина

1 - водоотводящая канава (у скважины на участке длиной примерно 2 м целиком заполняется щебнем); 2 - щебень; 3 - местный песчаный грунт; 4 - деревянная пробка; 5 - песок гравелистый; 6 - щели; 7 - направляющие фонари; 8 - муфты; 9 - надфильтровые трубы

Черт. 106. Самоизливающаяся скважина, забуриваемая из горных выработок в разных направлениях

1 - шарошечное долото; 2 - переходник с обратным клапаном; 3 - фильтр; 4 - кондуктор; 5 - оголовок; 6 - подземная выработка; 7 - скала; 8 - водоносный слой

9.14. Горизонтальные или с небольшим наклоном к горизонту скважины, устраиваемые на откосах (черт. 107) или применяемые в лучевых водозаборах, можно проектировать с учетом бурения скважин с обсадными трубами (впоследствии извлекаемыми) и с установкой под их защитой колонны с трубчатым фильтром, имеющим водоприемное покрытие и выполнением, при необходимости, песчано-гравийной обсыпки. Также скважины можно проектировать и с учетом задавливания трубчатого щелевого фильтра (при отсутствии опасности выноса частиц грунта в полость фильтра).

Черт. 107. Горизонтальная самоизливающаяся скважина на откосе

1 - водоотводящая канава; 2 - фильтровая колонна

9.15. При забуривший горизонтальных скважин можно предусматривать фильтры из керамических и асбестоцементных труб, трубофильтров из пористого бетона и других материалов с диаметром до 140 мм.

При задавливании щелевых фильтров их следует проектировать, как правило, из стальных труб диаметром до 300 мм. Длину горизонтальных скважин допускается назначать до 70 м в песчаных грунтах и до 100 м - в глинистых.

9.16. Лучевые водопонизительные устройства (водозаборы) состоят из радиальных систем горизонтальных скважин, забирающих воду из водоносного слоя и отводящих ее в центральный водосборный колодец. Отвод воды из центрального водосборного колодца к установленным местам сброса осуществляется с помощью располагаемых в нем насосов: одного - рабочего, другого - резервного.

Лучевые водозаборы обладают высокой производительностью и могут обеспечить значительное пространственное развитие понижения уровней (напоров) подземных вод. При соответствующем технико-экономическом обосновании лучевые водозаборы могут применяться для крупных и длительных водопонизительных работ.

Радиальные скважины применимы без специального водосборного колодца, когда лучи направляются в сторону потока подземных вод из одного или нескольких пунктов в котловане (например, из его углов), а вода от них отводится по канавкам.

Лучевые водопонизительные устройства обладают следующими достоинствами:

позволяют достигнуть почти полного понижения уровня подземных вод - до дна котлована, совершенного по степени вскрытия водоносного слоя;

в случае слоистого строения грунтовой толщи радиальные скважины могут быть установлены на любом уровне, где требуется отбор воды;

допускают использование экономичных центробежных насосов с горизонтальным валом;

фильтры горизонтальных скважин независимо от степени снижения уровня подземных вод и его сезонных колебаний всегда затоплены, работают по всей своей длине с высокой водозахватной способностью.

Лучевой водозабор следует проектировать в виде группы горизонтальных (или наклонных) скважин диаметром от 50 до 300 мм, устраиваемых в радиальном направлении из центральных водосборных (шахтных) колодцев диаметром 2,5 - 6 м, в количестве от 2 до 7 лучей (черт. 108).

Черт. 108. Лучевой водозабор

1 - шахта; 2 - лучевые горизонтальные скважины; 3 - центробежные насосы

При резкой неоднородности слоев на участке закладки лучевого водозабора направление, число и длина отдельных лучей должны отвечать требованиям рационального решения поставленной задачи водопонижения. При этом возможно наклонное направление лучевых скважин (восходящее и нисходящее).

При подборе фильтров лучевых скважин следует руководствоваться указаниями, относящимися к фильтрам вертикальных скважин, и дополнительно учитывать особенности применяемого способа устройства скважины.

Выбор основных параметров лучевых водозаборов осуществляется на основе расчетов (см. разд. 14).

Крепление скважин, устраиваемых с поверхности

9.17. Крепление ствола скважины должно обеспечить технологичность и надежность в процессе ее сооружения, нормальную эксплуатацию и отсутствие неблагоприятного влияния на окружающую среду.

Надежность крепления определяется правильным выбором системы обсадных колонн при данном способе бурения, подготовкой ствола перед спуском колонн, правильно выбранной технологией спуска и цементирования обсадных колонн, а также конструкцией оборудования устья скважины и возможностью проведения работ, необходимых в конкретных условиях.

Для крепления ствола скважины применяются в основном стальные обсадные трубы, а также трубы из асбестоцемента и полимеров. Система обсадки должка отличаться минимальной металлоемкостью.

Конструкцию крепления следует выбирать с учетом местных условий, способа бурения и обеспечения длительной, бесперебойной эксплуатации скважины и постоянного химического состава каптируемых вод.

Для крепления скважин рекомендуется предусматривать, в основном, типоразмеры обсадных труб, приведенные в табл. 15.

9.18. Конструктивные параметры крепления скважины следует определять, начиная с выбора типа и размеров фильтров (или открытого ствола в случае бесфильтровых скважин). Диаметр внутренней полости фильтра должен обеспечить пропуск расчетного притока к скважине, а в случае необходимости и размещение в ней водоподъемного оборудования. Внутренний диаметр труб фильтровой колонны на участке размещения водоподъемника должен обеспечивать зазор между выступающими частями оборудования и внутренней поверхностью трубы не менее регламентируемого заводским паспортом применяемого агрегата и позволяющий получить заданные скорости обтекания корпуса электродвигателя подземными водами, отбираемыми скважиной, что поддерживает заданный тепловой режим оборудования в процессе эксплуатации. Кроме того, указанный зазор должен обеспечить монтаж водоподъемника в случае небольшого искривления ствола скважины или наличия на внутренней поверхности трубы случайных выступающих деталей (капель застывшего металла и т.п.).

Конечный диаметр фильтровой колонны должен позволить вести необходимые гидрогеологические наблюдения, а также замеры конструктивных элементов скважины, например ее искривления.

После определения диаметра фильтровой колонны выполняется последовательный выбор диаметров и величин выхода обсадных колонн, начиная с меньших диаметров в зависимости от способа бурения. При этом чем больше выход колонн, тем больше зазор между ними.

При проектировании скважин с системой обсадных колонн следует предусматривать тщательное затрубное цементирование, исключающее загрязнение пересекаемых скважиной водоносных слоев и обеспечивающее антикоррозионную защиту обсадных труб.

9.19. При проектировании скважин необходимо предусматривать следующие виды обсадных колонн:

шахтовое направление - отрезок трубы большого диаметра (1020 - 1620 мм), устанавливаемый в шурфе глубиной 1,5 - 2 м с бетонированием затрубного пространства, - следует применять при бурении глубоких скважин с большим начальным диаметром для исключения размыва устья; для скважин глубиной до 150 м можно ограничиться установкой кондуктора;

кондуктор - колонна труб, обеспечивающая крепление верхнего неустойчивого слоя породы, изоляцию водоносных слоев для предотвращения их загрязнения, перекрытие участков возможного поглощения промывочного раствора при бурении, создание опоры при спуске обсадных колонн; при устойчивом верхнем слое и отсутствии в нем водоносных прослоек кондуктор допускается не применять или предусматривать его последующее извлечение;

промежуточные колонны, изолирующие интервалы геологического разреза, связь которых с нижележащими слоями недопустима по условиям бурения или последующей эксплуатации скважины. Кроме того, промежуточные колонны осуществляют крепление ствола в неустойчивых породах. При установке фильтра «впотай» или в бесфильтровых скважинах последняя (меньшая по диаметру) промежуточная колонна может быть использована и в качестве эксплуатационной;

эксплуатационные колонны, представляющие собой оставляемые на срок службы промежуточные колонны;

фильтровая колонна, обеспечивающая крепление ствола скважины по высоте дренируемого водоносного слоя; в состав этой колонны входят отстойник, фильтр и надфильтровые трубы. В определенных условиях эксплуатационная колонна может быть использована как фильтровая.

Таблица 15

Условный наружный диаметр, мм

Труба

Муфта

Условный наружный диаметр, мм

Труба

Муфта

Толщина стенки, мм

Масса 1 м, кг

Наружный диаметр, мм

Масса, кг

Толщина стенки, мм

Масса 1 м, кг

Наружный диаметр, мм

Масса, кг

114

7,4

19,4

127,0

3,7

406

11,1

108,3

431,8

35,9

127

7,5

22,1

141,3

4,6

426

11,0

112,6

451,0

37,5

140

7,7

25,1

153,7

5,2

473

11,1

125,9

508,0

54,0

146

8,5

28,8

166,0

8,0

508

11,1

136,3

533,4

44,6

168

8,9

35,1

187,7

9,1

530

12,0

153,3

-

-

178

9,2

38,2

194,5

8,3

630

12,0

182,9

-

-

194

9,5

43,3

215,9

12,2

720

12,0

209,5

-

-

219

10,2

52,3

244,5

16,2

820

12,0

239,1

-

-

245

10,0

58,0

269,9

17,9

920

12,0

268,7

-

-

273

10,2

65,4

298,5

20,7

1020

14,0

347,3

-

-

299

11,1

78,3

328,5

22,5

1120

14,0

381,9

-

-

324

11,0

84,8

351,0

23,4

1220

14,0

416,4

-

-

340

10,9

88,6

365,1

25,5

1320

14,0

450,9

-

-

351

11,0

92,2

376,0

29,0

1420

14,0

485,4

-

-

377

11,0

99,3

402,0

31,0

 

 

 

 

 

Примечание. Трубы с условными наружными диаметрами от 114 до 508 мм соответствуют ГОСТ 632-80, а с диаметрами от 530 до 1420 мм - ГОСТ 10704-76.

9.20. Для крепления скважин следует предусматривать обсадные цельнотянутые стальные трубы (ГОСТ 632-80, ГОСТ 6238-77) или электросварные трубы (ГОСТ 10704-76, ГОСТ 8696-74), рекомендуемые размеры которых приведены в табл. 15. В проектах необходимо предусматривать после установки и опробования фильтровой колонны извлечение обсадных труб, предназначенных только для временного крепления стенок скважины.

Из колонн обсадных труб, входящих в конструкцию скважин и оставляемых в грунте при их эксплуатации, должна быть извлечена их свободная часть. Верхний обрез участка обсадной колонны, оставляемой в скважине, должен быть расположен выше башмака предыдущей колонны не менее чем на 3 м при глубине скважины до 50 м и не менее чем на 5 м - при большей глубине скважины.

Для глубоких скважин применяются обсадные трубы, обладающие повышенной прочностью и герметичностью резьбовых соединений типа ОТТМ с трапецеидальным профилем резьбы, а также трубы с удлиненной нарезкой резьбы. Для обсадных труб диаметром от 114 до 245 мм резьба имеет 8 ниток на 25,4 мм, а при диаметре свыше 245 мм - 6 ниток. Соединяются эти трубы муфтами, что требует увеличения диаметра бурения под обсадную колонну. Поэтому допускается применение бесшовных горячекатаных труб (ГОСТ 8732-78), имеющих внутреннюю и наружную нарезку резьбы, что исключает применение муфт.

В агрессивных водах используются обсадные трубы с футеровкой из полимерных материалов или стекла.

Трубы больших диаметров соединяются электросваркой.

9.21. Для крепления скважин глубиной до 150 м при роторном бурении допускается применение труб асбестоцементных и из полимерных материалов.

Асбестоцементные напорные трубы (ГОСТ 539-80) легче стальных, не подвергаются коррозии, хорошо схватываются с цементным раствором при затрубном цементировании и позволяют снизить расход металла на каждый метр скважины до 50 - 60 кг. Стоимость асбестоцементных труб на 60 - 65 % ниже, чем стальных. Соединения асбестоцементных труб осуществляются на муфтах из стали, асбестоцемента или пластмассы. При проектировании необходимо также учитывать хрупкость, сложность монтажа, затруднения при транспортировании асбестоцементных труб.

Трубы из полимерных материалов, чаще всего из полиэтилена (ГОСТ 18599-83), обладают высокой химической стойкостью, имеют небольшую массу, отличаются малой шероховатостью, что снижает гидравлические потери при пропуске воды. Соединяются трубы сваркой или стяжными фланцами.

При проектировании следует учесть, что трубы из полимерных материалов имеют низкую прочность и относительно малый срок службы, что связано с разрушением пластмассы под воздействием солнечной радиации.

9.22. Цементирование затрубного пространства обсадных труб следует предусматривать с целью изоляции водоносных слоев один от другого или от поверхности земли, удержания обсадных колонн в подвешенном состоянии, обеспечения защиты труб обсадных колонн от коррозии и исключения поглощения промывочной жидкости в процессе бурения.

Цементирование можно предусматривать с помощью центрального става бурильных труб, оборудованных цементировочной головкой, или через заливочные трубы, подающие цементный раствор в затрубное пространство следующими способами:

подбашмачная заливка цементного раствора через став бурильных труб с последующей установкой обсадной колонны на забой;

продавливание цементного раствора через обсадную колонну в затрубное пространство скважины с применением разделительных пробок или без них;

продавливание цементного раствора из заливочных труб и обсадной колонны при герметично закрытом устье в затрубное пространство скважины;

нагнетание цементного раствора и промывочной жидкости в затрубное пространство скважины с выходом их в обсадную колонну (так называемый способ обратного цементирования);

нагнетание цементного раствора через заливочные трубы, опущенные в затрубное пространство;

манжетное цементирование;

двухступенчатое цементирование.

При бурении водопонизительных скважин предпочтительнее предусматривать одноступенчатое цементирование. В этом случае используются одна или две разделительные пробки. Применение пробок позволяет исключить смешивание цементного раствора с жидкостью, используемой для создания давления. Предпочтительнее цементирование с двумя разделительными пробками.

В проекте следует предусматривать промывку ствола скважины от шлама перед цементированием. После этого в скважину погружается нижняя разделительная пробка, которая продавливается к башмаку обсадной колонны путем нагнетания цементного раствора цементировочным агрегатом или насосом буровой установки. Необходимый объем цементного раствора определяется по заданной высоте кольцевого пространства за обсадной трубой и по высоте этой трубы на участке нижнего упорного кольца. Затем в ствол скважины опускается верхняя разделительная пробка, выше которой закачивается жидкость (вода или глинистый раствор) и с ее помощью создается давление. Нижняя пробка опускается до упорного кольца башмака обсадной колонны. В процессе нагнетания жидкости давление над нижней пробкой возрастает. Под воздействием этого давления нижняя пробка разрушается, и цементный раствор из полости обсадной колонны поступает в затрубное пространство скважины. При посадке верхней пробки на нижнюю отмечается резкое повышение давления, что свидетельствует о полной закачке раствора в затрубное пространство скважины; при этом работа насосов прекращается. В процессе бурения под последующую обсадную или фильтровую колонны пробки разбуриваются. Они изготавливаются из материалов небольшой прочности - дерева, резины, пластмасс и т.п.

Возможно предусматривать цементирование путем продавливания цементного раствора через обсадную трубу и без разделительных пробок. В этом случае необходимо учитывать, что может иметь место смешивание цементного раствора с нагнетаемой жидкостью.

При необходимости уменьшения давления на стенки скважины или снижения мощности насосного оборудования допускается цементирование с помощью заливочных труб, опускаемых в полость обсадной колонны. Этот способ прост и выполняется без специального технологического оборудования. Для цементирования указанным способом необходима герметизация устья закрепляемой колонны обсадных труб. При этом раствор и жидкость для создания давления закачиваются в затрубное пространство с помощью специальной головки, монтируемой на устье скважины. Из затрубного пространства раствор поступает в полость обсадной колонны.

Если при значительной высоте интервала цементирования возникает опасность гидроразрыва пласта или обнаружены зоны поглощения, то применяется двухступенчатое цементирование. Сначала производится цементация затрубного пространства колонны приблизительно до половины ее высоты обычным способом с двумя разделительными пробками. В середине колонны устанавливается муфта, обеспечивающая связь внутренней полости колонны с затрубным пространством. При второй стадии производится цементирование затрубного пространства от указанной муфты и до устья скважины. Манжетное цементирование следует предусматривать в том случае, когда обсадная колонна оборудуется фильтром. На обсадной колонне выше фильтра ставится обратный клапан с отверстиями и манжетами, что позволяет осуществить выход промывочной жидкости и цементного раствора выше фильтра.

Фильтры

9.23. Для водопонизительных скважин следует предусматривать трубчатые, каркасно-стержневые, гравитационные, корзинчатые, кожуховые и блочные фильтры (черт. 109) или проектировать водоприемную часть скважины без фильтров, исходя из требований табл. 16.

Таблица 16

Вид водоприемной части скважин

Область применения

1. Скважины, не оборудованные фильтром

Прочные трещиноватые скальные породы, в пределах которых нет опасности вывалов и выноса заполняющего трещины материала в полость скважины; при расположении скважинного насоса выше незакрепленной части скважины или в скважине, работающей без насоса; скважины с уширенной водоприемной полостью, образованной в результате выноса породы из водоносного слоя

2. Трубчатые фильтры - трубы с круглой или щелевой перфорацией без обсыпки и водоприемного покрытия

Трещиноватые скальные и крупнообломочные породы при отсутствии опасности выноса грунтового материала из трещин; при надлежащем обосновании - гравелистые грунты

3. Трубчатые фильтры с водоприемным покрытием из проволочной обмотки, штампованного листа с отверстиями или сетки, а также фильтры из штампованного листа без опорного каркаса; без обсыпки

При надлежащем обосновании - крупные и гравелистые пески, крупнообломочные и трещиноватые скальные породы при отсутствии опасности выноса грунтового материала в скважину

4. То же, с песчано-гравийной обсыпкой

Пески и другие горные породы при опасности выноса грунтового материала в скважину

5. Каркасно-стержневые фильтры с водоприемным покрытием по поз. 3

По поз. 3 при условии расположения скважинного насоса над фильтром, а также в скважинах, работающих без насоса

6. То же, с песчано-гравийной обсыпкой

По поз. 4 при условии расположения скважинного насоса над фильтром, а также в скважинах, работающих без насоса

7. Гравитационные фильтры колокольного или зонтичного типов

Пески средней крупности

8. Корзинчатые и кожуховые фильтры

Условия, в которых, согласно требованиям табл. 19, необходима двухслойная обсыпка и в которых созданию обсыпки непосредственным погружением в скважину песка и гравия препятствуют напорные воды

9. Блочные фильтры

Крупные пески и гравийно-галечниковые отложения при отсутствии в подземных водах кольматирующих химических образований

Примечания: 1. Применение фильтров без обсыпки допускается, если возможные при этом обрушения горных пород не вызывают осложнений на прилегающей территории.

2. В проектах допускается предусматривать использование для фильтров водопонизительных скважин волокнистых материалов, синтетических тканей и других материалов, отвечающих требованиям необходимого срока службы скважины. Как правило, следует предусматривать фильтры заводского изготовления.

Каждое фильтровое звено должно иметь паспорт завода-изготовителя.

При невозможности получения фильтров заводского изготовления их следует изготавливать по специальному проекту, разработанному проектной организацией.

Фильтры должны обладать достаточной прочностью, обеспечивающей их нормальную работу в скважине, а также сохранность при монтаже и транспортировании. Проектировать их следует в антикоррозионном исполнении. Покрытия не должны вызывать загрязнения подземных вод.

Соединение фильтровых звеньев между собой, а также с отстойником и надфильтровыми трубами должно быть предусмотрено, как правило, резьбовым.

9.24. Перфорацию труб следует предусматривать в виде круглых отверстий или щелей.

Водоприемные покрытия трубчатых и каркасно-стержневых фильтров следует выполнять из проволоки с навивкой по спирали с заданным постоянным шагом, из сетки или просечного стального листа с различными типами перфорации (мост, круглое отверстие, щель и т.д.).

9.25. Скважность водоприемной поверхности трубчатых фильтров должна быть около 18 - 25 %, водоприемного покрытия из проволочной обмотки или просечного листа - около 30 - 60 %.

Размер проходных отверстий водоприемного покрытия, а при его отсутствии - отверстий или щелей фильтра должен быть равен среднему диаметру частиц прилегающего водоносного слоя или обсыпки.

9.26. Сведения о серийно изготавливаемых звеньях (длиной по 3,5 м) трубчатых и каркасно-стержневых фильтров приведены в табл. 17.

Данные для проектирования стержневого каркаса каркасно-стержневых фильтров приведены в табл. 18. Для кожухов целесообразно применять сетки с квадратными ячейками, соответствующие крупности отсыпанного в кожухе песчано-гравийного материала.

Таблица 17

Типоразмер секций фильтров

Диаметр, мм

Масса, кг

Типоразмер секций фильтров

Диаметр, мм

Масса, кг

наружный

внутренний

наружный

внутренний

Фильтры трубчатые перфорированные

Т-5Ф1В

168

132

69

Т-12Ф1

325

307

195

Т-6Ф1В

188

152

91

Т-14Ф1

377

359

227

Т-8Ф1В

245

203

118

Т-16Ф1

426

408

259

Т-10Ф1В

299

255

168

 

 

 

 

Фильтры трубчатые с проволочной обмоткой из нержавеющей стали

ТП-5Ф2В

168

132

82

ТП-12Ф2

341

307

229

ТП-6Ф2В

188

152

106

ТП-14Ф2

393

359

226

ТП-8Ф2В

245

203

136

ТГ-16Ф2

442

408

304

ТП-10Ф2В

299

255

203

 

 

 

 

Фильтры трубчатые с просечным листом из нержавеющей стали

ТЛ-5Ф4В

168

132

82

ТЛ-12Ф4В

339

307

223

ТЛ-6Ф4В

188

152

107

ТЛ-14Ф4

391

359

259

ТЛ-8Ф4В

245

203

137

ТЛ-16Ф4

440

408

294

ТЛ-10Ф4В

299

255

190

 

 

 

 

Фильтры стержневые (каркасы)

С-5Ф5В

174

132

69

С-14Ф5В

405

359

178

С-6Ф5В

196

152

77

С-16Ф5В

454

408

202

С-8Ф5В

247

203

88

 

 

 

 

С-10Ф5В

301

255

105

 

 

 

 

С-12Ф5В

352

307

161

 

 

 

 

Фильтры стержневые с проволочной обмоткой

СП-5Ф7В

178

132

80

СП-12Ф7В

359

307

158

СП-6Ф7В

200

152

89

СП-14Ф7В

411

359

180

СП-8Ф7В

251

203

103

СП-16Ф7В

460

408

200

СП-10Ф7В

307

255

136

 

 

 

 

Фильтры стержневые с просечным листом из нержавеющей стали

СЛ-5Ф11В

176

132

81

СЛ-12Ф11В

355

307

189

СЛ-6Ф11В

198

152

90

СЛ-14Ф11В

407

359

210

СЛ-8Ф11В

249

203

104

СЛ-16Ф11В

456

408

237

СЛ-10Ф11В

303

255

122

 

 

 

 

Таблица 18

Диаметр патрубка, мм

Стержни

Диаметр патрубка, мм

Стержни

наружный

внутренний

Диаметр, мм

Число по образующей, мм

наружный

внутренний

Диаметр, мм

Число по образующей, мм

219

210

14

12

377

355

16

24

273

255

14

12

426

402

16

32

325

305

16

20

 

 

 

 

Описание: 109

Черт. 109. Фильтры водопонизительных скважин

а - трубчатый с проволочной обмоткой; б - каркасно-стержневой; в - кожуховый с песчано-гравийной обсыпкой; 1 - перфорированная труба; 2 - проволочная обмотка; 3 - металлические стержни; 4 - опорные пояса жесткости; 5 - нижний соединительный патрубок; 6 - верхний соединительный патрубок; 7 - соединительная муфта; 8 - песчано-гравийная обсыпка; 9 - сетка панцирная; 10 - штыри для крепления сетки; 11 - стальные обручи для крепления сетки

Песчано-гравийная обсыпка

9.27. В качестве материала обсыпки фильтров следует применять отмытый песок и гравий или песчано-гравийные смеси, а также продукты дробления изверженных или прочных осадочных пород плотностью не менее 20 кН/м3 и временным сопротивлением сжатию не менее 60 МПа.

Материал обсыпки должен быть плотным, нерастворимым в воде, свободным от солевых примесей.

9.28. Гранулометрический состав песчано-гравийной обсыпки, число слоев и их толщину следует подбирать исходя из требований табл. 19.

Укладку обсыпки следует предусматривать на 2 - 10 м выше верхней кромки фильтра в зависимости от глубины скважины и высоты участка фильтровой колонны, перекрываемого обсыпкой.

9.29. Песчано-гравийные обсыпки уширенного контура допускается предусматривать в мелких песках для водопонизительных скважин, бурение которых проектируется ударно-канатным или вращательным способами.

Устройство однослойной обсыпки уширенного контура следует предусматривать одним из следующих способов:

укладкой песчано-гравийного материала с одновременной прокачкой скважины эрлифтом и подъемом обсадной колонны;

погружением фильтров с конусом;

с помощью вспомогательных скважин;

с применением для бурения расширителей.

Расход обсыпки следует определять по табл. 20.

Таблица 19

Параметры обсыпки

Условия применения

Соотношение значений средних диаметров частиц материала, прилегающего к породе слоя обсыпки и самой породы, или последующего и предыдущего слоев обсыпки

Разнозернистость материала каждого слоя обсыпки при ее устройстве:

 

гидравлическим способом или укладкой в кожух путем сброса по зазору между фильтром и стенками скважины

Толщина одного слоя обсыпки фильтра водопонизительной скважины

tfm 30dsup и tfm 0,25dfil

Примечание. При пересечении фильтром нескольких водоносных слоев или прослоек материал однослойной обсыпки следует подбирать по наименьшему значению dy,mt, определенному при гранулометрическом анализе всех отобранных образцов породы, но с соблюдением для каждого пересекаемого слоя условия d1,mt < dg,mt. Если значения dg,mt различных водоносных слоев настолько отличаются между собой, что это условие невыполнимо, то следует предусматривать однослойную обсыпку с различными значениями d1,mt по высоте фильтра или двухслойную.

Таблица 20

Условный диаметр, мм

Расход обсыпки, м3 на 1 м скважины

Условный диаметр, мм

Расход обсыпки, м3 на 1 м скважины

обсадной колонны

фильтра

обсадной колонны

фильтра

400

200

0,110

300

100

0,075

250

0,091

 

150

0,068

300

0,065

 

200

0,048

350

150

0,094

250

100

0,049

200

0,077

 

150

0,038

250

0,056

 

 

 

Обработка скважин

9.30. Обработку скважин для увеличения производительности следует предусматривать с целью повышения водопроницаемости водовмещающих скальных пород прифильтровой зоны, для проведения разглинизации, если бурение производилось с применением глинистого раствора, и для восстановления производительности скважин при проектировании развития или реконструкции водопонизительных систем, если отмечено значительное снижение дебитов скважин.

9.31. Для обработки скважин следует предусматривать методы: взрывной, реагентный, гидравлический, электрогидравлический, пневмоударный, ультразвуковой и механический.

9.32. «Торпедирование» (взрыв в полости скважины одной или нескольких нитей детонирующего шнура) следует предусматривать для разглинизации скважин, выполняемых в водоносных слоях, представленных неустойчивыми породами, а также для увеличения или восстановления проницаемости трещиноватых скальных пород. Этот метод допустимо применять для скважин с диаметром фильтровой колонны не менее 146 мм.

Область применения торпед из детонирующего шнура (ТДШ) в зависимости от конструкции фильтра и геологических условий приведена в табл. 21.

Взрывы сосредоточенных зарядов следует предусматривать для увеличения или восстановления проницаемости водоносных трещиноватых скальных пород.

9.33. Обработку реагентным методом скважин для увеличения или восстановления их производительности следует проектировать с применением реагентных ванн и закачки под давлением растворов в прифильтровую зону.

Реагентные ванны следует предусматривать для очистки поверхностей ствола скважины и забоя от глинистой корки, продуктов коррозии и других загрязнений.

Закачку под давлением растворов реагентов следует выполнять для повышения проницаемости самих фильтров и горных пород в прифильтровой зоне, для чего раствор должен залавливаться в трещины и поры пород.

9.34. Гидравлическую обработку для удаления глинистого раствора из полости скважин следует предусматривать до начала работ по восстановлению проницаемости водоносного слоя. Этот вид работ должен быть выполнен прямой промывкой водой затрубного пространства, обратной промывкой с откачкой эрлифтом, свабированием. Глинистую корку можно удалять размывом.

9.35. Электрогидравлический, пневмоударный и ультразвуковой методы обработки скважин следует предусматривать для восстановления проницаемости водоприемной поверхности фильтра и материала песчано-гравийной обсыпки (или породы прифильтровой зоны) долгодействующих скважин, подвергающихся зарастанию (кольматации) химическими осадками, осаждающимся из подземных вод.

9.36. Механическую обработку внутренней полости фильтра и надфильтровых труб следует производить проволочными ершами, скребками и шарошками.

Таблица 21

Конструкция фильтра

Водоносная порода

Максимальное число нитей ДШ в одной торпеде

Число взрывов в одном интервале

Трубчатый с водоприемным покрытием из сетки, без обсыпки

Песок мелкий

1

1

То же, с песчано-гравийной обсыпкой

Пески мелкие и средней крупности

1

1 - 2

Трубчатый с водоприемным проволочным покрытием без обсыпки

Пески от гравелистых до мелких

2

1 - 2

То же, с песчано-гравийной обсыпкой

То же

2

1 - 2

Каркасно-стержневой с проволочным водоприемным покрытием без обсыпки

«

1 - 2

1 - 2

То же, с песчано-гравийной обсыпкой

«

1 - 2

1 - 2

Трубчатый без покрытия

Гравийно-галечниковые и трещиноватые скальные породы

2 - 3

1

9.37. Кроме обработки скважин согласно пп. 9.33 - 9.36, следует предусматривать чистку скважин от осадков, отстаивающихся в их внутренней полости.

В проекте следует предусматривать регулярную чистку и обработку скважин через 6 - 12 мес. в зависимости от интенсивности зарастания фильтров скважин.

Расчет обсадных труб

9.38. Обсадные колонны труб водопонизительных скважин большой глубины на месторождениях полезных ископаемых подвергаются значительному воздействию горного и гидростатического давлений. Величина этого воздействия зависит от глубины скважины, ее конструкции и геологических особенностей проходимых пород.

С целью достижения надежности и долговечности проектируемого крепления скважины при наименьших затратах металла обсадные колонны труб должны быть рассчитаны на несущую способность.

9.39. Расчет обсадных колонн на несущую способность следует выполнять исходя из условия

                                                                (13)

где P - расчетное горизонтальное (радиальное) давление пород и воды на обсадную колонну труб, МПа;

N - предельное сопротивление обсадной колонны труб, МПа;

γc - коэффициент условий работы, принимаемый равным 0,9;

γm - коэффициент надежности по материалу, принимаемый равным 1,05;

γn - коэффициент надежности по назначению, принимаемый равным 1,1.

9.40. Предельное сопротивление обсадной колонны труб N, МПа, следует вычислять по формуле

  (14)

где δ - минимальная толщина стенки труб обсадной колонны, определяемая как разность между номинальной толщиной стенки и предельным ее отклонением от принятого сортамента, мм;

D - наружный диаметр труб обсадной колонны, мм;

Ryn - предел текучести стали, принимаемый равным значению предела текучести по государственным стандартам или техническим условиям на сталь, МПа;

E - модуль упругости стали, принимаемый равным 2,06·105 МПа;

e - овальность труб обсадной колонны, выраженная отношением номинального значения овальности к номинальному значению наружного диаметра.

Значения предельных сопротивлений стальных электросварных прямошовных труб (ГОСТ 10704-76), применяемых для крепления водопонизительных скважин большого диаметра, приведены в табл. 22.

Пример 29. Требуется запроектировать конструкцию водопонизительной скважины для системы защиты карьера, предусмотренной в примере 11, с учетом необходимости установки в скважине насоса марки ЭЦВ14-120-540ХТрГ, выбранного исходя из расчетной производительности скважины и требуемого подъема воды на высоту 480 - 500 м.

Таблица 22

Обсадная труба

Предел сопротивления обсадных труб, МПа, при овальности, %

наружным диаметром, мм

с толщиной стенки, мм

1,0

1,5

2,0

и пределе текучести, МПа (кгс/мм2)

216 (22)

225 (23)

235 (24)

245 (25)

216 (22)

225 (23)

235 (24)

245 (25)

216 (22)

225 (23)

235 (24)

245 (25)

426

7

1,09

1,10

1,11

1,13

0,99

1,00

1,02

1,03

0,91

0,92

0,94

0,95

8

1,63

1,65

1,67

1,63

1,46

1,48

1,50

1,53

1,33

1,35

1,37

1,40

9

2,28

2,31

2,35

2,38

2,02

2,05

2,09

2,13

1,82

1,86

1,89

1,93

10

3,03

3,09

3,14

3,19

2,66

2,72

2,77

2,83

2,38

2,44

2,49

2,55

11

3,88

3,96

4,04

4,11

3,38

3,46

3,54

3,61

3,01

3,10

3,17

3,24

12

4,80

4,90

5,02

5,13

4,16

4,26

4,37

4,48

3,70

3,79

3,90

4,00

480

7

0,79

0,80

0,80

0,81

0,72

0,73

0,74

0,75

0,67

0,68

0,69

0,70

8

1,19

1,20

1,21

1,22

1,07

1,09

1,10

1,12

0,98

1,01

1,01

1,03

9

1,68

1,70

1,72

1,74

1,50

1,52

1,55

1,57

1,36

1,39

1,41

1,44

10

2,25

2,29

2,32

2,35

2,00

2,03

2,07

2,11

1,80

1,84

1,88

1,91

11

2,92

2,97

3,02

3,06

2,56

2,61

2,67

2,72

2,30

2,35

2,40

2,45

12

3,65

3,72

3,79

3,86

3,19

3,26

3,33

3,40

2,84

2,91

2,98

3,05

530

7

0,60

0,60

0,61

0,61

0,55

0,56

0,56

0,57

0,51

0,52

0,53

0,53

8

0,91

0,91

0,92

0,93

0,83

0,84

0,85

0,86

0,76

0,77

0,78

0,79

9

1,29

1,30

1,32

1,33

1,16

1,18

1,20

1,21

1,06

1,08

1,10

1,11

10

1,75

1,77

1,79

1,81

1,56

1,59

1,61

1,64

1,42

1,44

1,47

1,49

11

2,28

2,31

2,35

2,38

2,02

2,05

2,09

2,13

1,82

1,86

1,89

1,93

12

2,88

2,92

2,98

3,02

2,53

2,58

2,63

2,68

2,27

2,32

2,37

2,42

630

7

0,37

0,37

0,37

0,38

0,34

0,35

0,35

0,35

0,32

0,33

0,33

0,33

8

0,56

0,57

0,57

0,57

0,52

0,52

0,53

0,53

0,48

0,49

0,49

0,50

9

0,81

0,81

0,82

0,83

0,74

0,79

0,75

0,76

0,68

0,69

0,70

0,71

10

1,10

1,11

1,13

1,14

1,00

1,01

1,03

1,04

0,92

0,93

0,95

0,96

11

1,45

1,47

1,49

1,50

1,31

1,33

1,35

1,37

1,19

1,21

1,23

1,25

12

1,86

1,88

1,91

1,93

1,66

1,68

1,71

1,74

1,50

1,53

1,56

1,59

720

7

0,25

0,25

0,25

0,26

0,24

0,24

0,24

0,24

0,22

0,23

0,23

0,23

8

0,39

0,39

0,39

0,39

0,36

0,36

0,37

0,37

0,34

0,34

0,34

0,35

9

0,56

0,56

0,56

0,57

0,51

0,52

0,52

0,53

0,48

0,48

0,49

0,68

10

0,77

0,77

0,78

0,78

0,70

0,71

0,72

0,73

0,65

0,68

0,67

0,68

11

1,01

1,03

1,04

1,04

0,92

0,94

0,95

0,96

0,85

0,86

0,87

0,89

12

1,31

1,32

1,34

1,35

1,18

1,20

1,21

1,23

1,08

1,09

1,11

1,13

14

2,01

2,04

2,07

2,09

1,79

1,82

1,85

1,88

1,62

1,65

1,68

1,71

820

7

0,17

0,17

0,18

0,18

0,16

0,16

0,17

0,17

0,16

0,16

0,16

0,16

8

0,27

0,27

0,27

0,27

0,25

0,25

0,25

0,26

0,24

0,24

0,24

0,24

9

0,39

0,39

0,39

0,39

0,36

0,36

0,37

0,37

0,34

0,34

0,34

0,35

10

0,53

0,54

0,54

0,55

0,49

0,50

0,50

0,51

0,46

0,47

0,47

0,48

11

0,71

0,72

0,72

0,73

0,65

0,66

0,67

0,67

0,60

0,61

0,62

0,63

12

0,92

0,93

0,94

0,94

0,84

0,85

0,86

0,87

0,77

0,78

0,79

0,81

14

1,43

1,45

1,46

1,48

1,29

1,31

1,33

1,34

1,17

1,19

1,21

1,23

920

7

0,12

0,12

0,13

0,13

0,12

0,12

0,12

0,12

0,11

0,11

0,11

0,12

8

0,19

0,19

0,19

0,19

0,18

0,18

0,18

0,18

0,17

0,17

0,17

0,18

9

0,28

0,28

0,28

0,28

0,26

0,26

0,27

0,27

0,25

0,25

0,25

0,25

10

0,39

0,39

0,39

0,39

0,36

0,36

0,37

0,37

0,34

0,34

0,34

0,35

11

0,52

0,52

0,52

0,53

0,48

0,48

0,49

0,49

0,45

0,45

0,46

0,46

12

0,67

0,67

0,68

0,69

0,62

0,62

0,63

0,64

0,58

0,58

0,59

0,59

14

1,06

1,06

1,07

1,08

0,97

0,97

0,98

0,99

0,89

0,89

0,90

0,92

1020

8

0,14

0,14

0,14

0,14

0,14

0,14

0,14

0,14

0,13

0,13

0,13

0,13

9

0,21

0,21

0,21

0,21

0,20

0,20

0,20

0,20

0,19

0,19

0,19

0,19

10

0,29

0,29

0,29

0,29

0,27

0,27

0,27

0,28

0,25

0,26

0,26

0,26

11

0,39

0,39

0,39

0,39

0,36

0,36

0,37

0,37

0,34

0,34

0,34

0,35

12

0,51

0,51

0,51

0,51

0,47

0,47

0,47

0,48

0,44

0,44

0,44

0,45

14

0,80

0,80

0,81

0,81

0,73

0,73

0,74

0,75

0,68

0,68

0,69

0,70

1120

8

0,11

0,11

0,11

0,11

0,10

0,10

0,10

0,10

0,10

0,10

0,10

0,10

9

0,16

0,16

0,16

0,16

0,15

0,15

0,15

0,15

0,14

0,14

0,14

0,15

10

0,22

0,22

0,22

0,22

0,21

0,21

0,21

0,21

0,20

0,20

0,20

0,20

11

0,30

0,30

0,30

0,30

0,28

0,28

0,28

0,28

0,26

0,26

0,27

0,27

12

0,39

0,39

0,39

0,39

0,36

0,36

0,37

0,37

0,34

0,34

0,34

0,35

14

0,61

0,62

0,62

0,63

0,56

0,57

0,58

0,58

0,52

0,53

0,54

0,54

1220

9

0,12

0,12

0,12

0,12

0,12

0,12

0,12

0,12

0,11

0,11

0,11

0,11

10

0,17

0,17

0,17

0,17

0,16

0,16

0,16

0,17

0,15

0,16

0,16

0,16

11

0,23

0,23

0,23

0,23

0,22

0,22

0,22

0,22

0,21

0,21

0,21

0,21

12

0,30

0,30

0,31

0,31

0,28

0,29

0,29

0,29

0,27

0,27

0,27

0,27

14

0,48

0,48

0,48

0,39

0,45

0,45

0,46

0,46

0,42

0,42

0,43

0,43

16

0,71

0,72

0,73

0,73

0,66

0,66

0,67

0,68

0,61

0,61

0,62

0,63

17

0,85

0,86

0,87

0,87

0,78

0,79

0,80

0,80

0,72

0,73

0,74

0,75

18

1,00

1,01

1,02

1,03

0,91

0,92

0,94

0,95

0,84

0,85

0,85

0,86

1320

9

0,10

0,10

0,10

0,10

0,09

0,09

0,09

0,10

0,09

0,09

0,09

0,09

10

0,14

0,14

0,14

0,14

0,13

0,13

0,13

0,13

0,12

0,13

0,13

0,13

11

0,18

0,19

0,19

0,19

0,17

0,18

0,18

0,18

0,17

0,17

0,17

0,17

12

0,24

0,24

0,24

0,25

0,23

0,23

0,23

0,23

0,21

0,22

0,22

0,22

14

0,39

0,39

0,39

0,39

0,36

0,36

0,37

0,37

0,34

0,34

0,34

0,35

16

0,57

0,58

0,58

0,59

0,53

0,54

0,54

0,55

0,49

0,50

0,51

0,51

17

0,68

0,69

0,70

0,70

0,63

0,64

0,64

0,65

0,58

0,59

0,60

0,61

18

0,81

0,81

0,82

0,83

0,74

0,75

0,76

0,77

0,68

0,69

0,70

0,71

1420

10

0,11

0,11

0,11

0,11

0,11

0,11

0,11

0,11

0,10

0,10

0,10

0,10

11

0,15

0,15

0,15

0,15

0,14

0,14

0,14

0,14

0,13

0,14

0,14

0,14

12

0,20

0,20

0,20

0,20

0,19

0,19

0,19

0,19

0,18

0,18

0,18

0,18

14

0,31

0,32

0,32

0,32

0,29

0,30

0,30

0,30

0,28

0,28

0,28

0,28

16

0,47

0,47

0,47

0,48

0,43

0,44

0,44

0,45

0,41

0,41

0,41

0,42

17

0,56

0,56

0,57

0,57

0,52

0,52

0,53

0,53

0,48

0,49

0,49

0,50

18

0,66

0,67

0,67

0,68

0,61

0,61

0,62

0,63

0,56

0,57

0,58

0,59

19

0,77

0,78

0,79

0,79

0,71

0,71

0,72

0,73

0,65

0,66

0,67

0,68

20

0,89

0,90

0,91

0,92

0,82

0,82

0,84

0,85

0,75

0,76

0,77

0,78

На основании решения примера 11 устанавливаем, что снижение уровня подземных вод ниже горизонта горных работ может быть достигнуто с помощью систем скважин при размещении скважинного электронасосного агрегата в нижней части подмерзлотной водоносной толщи.

Для обеспечения нормальной эксплуатации насосного оборудования предусматриваем крепление подмерзлотной водоносной толщи фильтровой колонной диаметром 426 мм, выводимой на поверхность земли.

Исходя их литологического состава дренируемого водоносного слоя водоприемная часть фильтровой колонны оборудуется щелевым фильтром, устанавливаемым на участках с наибольшей водопроницаемостью пород (эти участки определяются электрокартажем).

Крепление зоны многолетней мерзлоты (из-за возможной потери устойчивости горных пород при оттаивании) предусматривается промежуточной колонной диаметром 830 мм, также выводимой на поверхность земли.

Крепление неустойчивых пород, залегающих в верхней части разреза (до глубины около 20 м от поверхности земли), и перекрытие зон поглощения промывочной жидкости предусматриваются кондукторами диаметром 920 мм.

Устройство шахтового направления предусматривается из трубы диаметром 1220 мм, устанавливаемой в шурфе с размерами в плане 2×2 м и глубиной 3 м с бетонированием затрубного пространства.

Для предупреждения смятия промежуточной колонны замерзающей жидкостью в период восстановления мерзлоты после оттаивания стенок скважины предусматривается цементирование ее затрубного и межтрубного пространств до устья с целью полной замены промывочной жидкости цементным камнем.

Конструктивная схема скважины представлена на черт. 110.

Технология устройства скважины приведена в примере 11.

Пример 30. Требуется запроектировать конструкцию водопонизительной скважины в рудоносной зоне для предусмотренной в примере 13 системы защиты рудника.

Предусматривается установка в скважине насоса марки ЭЦВ 12-63-520ХТрГ, выбранного исходя из расчетной производительности скважины и требуемого подъема воды на высоту 470 - 480 м.

Из заданных условий примера 13 следует, что снижение напора в рудоносной зоне с помощью проектируемых скважин может быть достигнуто на глубину не более чем до кровли известняков. Это обуславливает целесообразность размещения скважинного электронасосного агрегата в нижней толще известняков.

Для обеспечения нормальной эксплуатации насосного оборудования предусматриваем крепление ствола скважины в интервале залегания толщи известняков эксплуатационной колонной диаметром 377 мм.

Крепление неустойчивых пород, залегающих над кровлей известняков, предусматривается промежуточной колонной труб диаметром 530 мм с выводом ее до устья скважины.

Описание: 110

Черт. 110. Конструкция водопонизительной скважины

1 - шахтовое направление; 2 - кондуктор; 3 - обсадная труба; 4 - затрубная цементация; 5 - фильтровая труба; 6 - фильтр; 7 - отстойник; I - зона многолетней мерзлоты; II - водоносный слой

Снижение напора в рудоносной зоне окажет слабое влияние на понижение уровня воды в неустойчивых породах, залегающих выше кровли известняков. Поэтому для обеспечения несущей способности нижней части промежуточной колонны труб, предусматривается на этом участке колонны цементация межтрубного пространства.

Крепление неустойчивых пород и перекрытие зон поглощения промывочной жидкости, залегающих в верхней части разреза (до глубины ~ 80 м от поверхности земли) предусматривается кондуктором диаметром 820 мм.

Устройство шахтового направления предусматривается из трубы диаметром 1020 мм, устанавливаемой в шурфе с размерами в плане 1,5×1,5 м и глубиной 2 м, с бетонированием затрубного пространства.

Водоприемная часть скважины располагается в рудоносной толще. Учитывая, что рудоносная толща представлена в основном рыхлыми и полурыхлыми породами, предусматривается крепление водоприемной части скважины фильтровой колонной диаметром 219 мм, устанавливаемой впотай в нижней части эксплуатационной колонны (выше ее башмака на 5 м). Рабочая часть фильтровой колонны предусматривается из трубчатых фильтров марки ТП 8Ф2В с проволочной обмоткой из нержавеющей стали.

Бурение скважины предусматриваем буровой установкой БУ-75БрЭ с применением забойного инструмента:

для проходки пород, залегающих в интервале установки кондуктора, - долот-расширителей диаметром 960 мм;

для проходки в породах, залегающих в интервале установки промежуточной колонны (от башмака кондуктора до кровли известняков) - агрегата РТБ-760 с трехшарошечными долотами Ш320С-ГВ;

для проходки в толще известняков - турбобура А9ГТШ с трехшарошечными долотами 45Д-490С;

для проходки в породах рудоносной толщи - турбобура А9ГТШ с трехшарошечными долотами Ш349.2Т-ЦВ.

Привод турбобуров предусматриваем от двух насосов марки БНР-1.

Для защиты скважины от проникания в нее воды из вышележащих водоносных слоев должна быть выполнена затрубная цементация колонн труб. Высота подъема цементного раствора в затрубном пространстве принимается в зависимости от требований к изоляции вышележащих водоносных слоев.

Конструктивная схема скважины представлена на черт. 111.

Описание: 111

Черт. 111. Конструкция водопонизительной скважины

1 - шахтовое направление; 2 - кондуктор; 3 - обсадные трубы; 4 - затрубная цементация; 5 - разжимы сальник; 6 - фильтр; 7 - отстойник

10. ИГЛОФИЛЬТРОВЫЕ УСТАНОВКИ И СКВАЖИНЫ, ОБОРУДОВАННЫЕ ЭЖЕКТОРАМИ

10.1. Иглофильтровые водопонизительные установки представляют собой комплект оборудования, предназначенного для отбора и отвода подземных вод при сравнительно небольших глубинах понижения их уровня.

Для водопонижения на глубину до 4 - 7 м следует применять легкие иглофильтровые, до 15 м, - эжекторные иглофильтровые установки, а на большую глубину - скважины, оборудованные эжекторами.

В состав легких иглофильтровых установок входят насосный агрегат (центробежный насос и вакуум-насос или эжектор), система коллекторов и набор иглофильтров (фильтры с надфильтровыми трубами).

Эжекторные иглофильтровые установки имеют следующий состав оборудования: центробежный насос, циркуляционный бак, напорный и сборный коллекторы, набор иглофильтров (фильтр, водоприемная и водоподъемная колонны труб, эжектор).

10.2. Иглофильтровые установки быстро и легко монтируются и демонтируются, не требуют для своего устройства сложных операций, позволяют достаточно точно повторить очертания осушаемых земляных выработок, допускают изменения длины водозаборного фронта установок в пределах инвентарной длины коллекторов в зависимости от конкретных гидрогеологических условий и требуемых глубин понижения, изменения как шага расположения иглофильтров, так и глубин их погружения, обеспечивают многоразовое использование оборудования на различных стройплощадках, отличаются простотой обслуживания, могут длительный период работать без остановки на техническое обслуживание.

10.3. В настоящее время осуществляется промышленное изготовление нескольких типов иглофильтровых установок.

Для понижения уровня подземных вод на глубину до 4 - 5 м в средне- и сильнопроницаемых грунтах с коэффициентами фильтрации 2 - 50 м/сут следует применять установку ЛИУ-6Б.

Осушение слабопроницаемых грунтов с коэффициентами фильтрации 0,1 - 2 м/сут на глубину до 6 - 7 м следует выполнять установками УВВ-3А-6КМ.

Находят применение легкие иглофильтровые установки забойного водопонижения, разработанные Харьковским инженерно-строительным институтом, изготовляемые по индивидуальным заказам в механических мастерских строительных организаций. Наибольшее распространение получили установки типа УЗВМ, которые предназначены для осушения слабопроницаемых грунтов с коэффициентами фильтрации 0,3 - 3 м/сут при глубине понижения до 4 - 4,5 м.

10.4. Иглофильтровые установки следует применять при разработке открытых выемок и подземных выработок в промышленном, гражданском, транспортном, гидротехническом строительстве и при добыче полезных ископаемых открытым и закрытым способами.

При необходимости осушения значительных по глубине открытых выемок (котлованы, карьеры) следует предусматривать многоярусные системы иглофильтров (см. разд. 7).

Иглофильтровые установки могут проектироваться как в виде самостоятельных систем, так и входить в комбинированные системы, например, в сочетании со скважинами или водоотливом.

Системы, образуемые иглофильтровыми установками, могут быть линейными, кольцевыми и неполнокольцевыми. В слабопроницаемых грунтах для защиты от подземных вод траншей и других протяженных объектов иглофильтры должны размещаться с обеих сторон сооружения.

10.5. Легкая иглофильтровая установка ЛИУ-6Б (черт. 112) комплектуется двумя насосными агрегатами, в состав которых входят соответственно центробежные насосы двухстороннего входа СТД-761/1 и СТД-761/2 и монтируемые с ними на одном валу водокольцевые вакуум-насосы типа КВН-8. Указанные насосные агрегаты отличаются одни от других по производительности и напору. Их выбор должен соответствовать расчетному притоку подземных вод к установке. Целесообразно для экономии электроэнергии в хорошо проницаемых грунтах использовать для образования депрессионной воронки более мощный насос, а для поддержания уровня подземных вод на заданной отметке - менее мощный.

В состав установки входит набор из 100 иглофильтров, представляющих собой колонны надфильтровых труб диаметром 48 мм с присоединенными к их нижнему концу фильтровыми звеньями. Максимальная длина иглофильтров (включая фильтровое звено) - 8,5 м. Надфильтровые трубы поставляются длиной 1,5 и 3 м. Соединяются они при монтаже колонны стальными муфтами.

Описание: 112

Черт. 112. Принципиальная схема легкой иглофильтровой установки ЛИУ-6Б

1 - иглофильтр; 2 - коллектор; 3 - соединительный рукав; 4 - вакуумный насос; 5 - выбросная и всасывающая трубки; 6 - предохранительный клапан; 7 - камера охлаждения воды и отделения воздуха; 8 - клапан; 9 - напорная камера; 10 - напорный трубопровод; 11 - центробежный насос; 12 - трубка переливания; 13 - приемный патрубок; 14 - приемная камера

Фильтровые звенья применяются двух типов: с металлической сеткой (черт. 113,а) и сеткой из полимерных материалов (черт. 113,б). Материалом для металлических сеток могут служить латунь и нержавеющая сталь, а для сеток из полимерных материалов - чаще всего капрон.

Конструкция звена с металлической сеткой состоит из опорной трубы, на которой крепятся сетка, наконечник с зубчатой коронкой и шаровым клапаном, муфта для присоединения к надфильтровым трубам. Опорная труба в нижней части перфорирована.

Звено с полимерной сеткой отличается лишь конструкцией крепления этой сетки, зажимаемой между двумя проволочными спиралями.

Иглофильтры подсоединяются к всасывающему коллектору резинотканевыми гофрированными рукавами. Коллектор состоит из звеньев электросварных труб диаметром 152 мм. Каждое звено имеет длину 6 м. На звене расположено 8 патрубков с шагом 0,75 м для присоединения резинотканевых рукавов.

Соединение звеньев коллектора между собой, а также присоединение гофрированных рукавов к коллектору и иглофильтрам осуществляется с помощью фланцевых соединений с резиновыми прокладками.

10.6. Установка вакуумного водопонижения УВВ-3А-6КМ включает насосный агрегат и всасывающую систему. Насосный агрегат состоит из центробежного моноблочного консольного насоса 6КМ-160-20, эжекторной кассеты и циркуляционного бака. Эжекторная кассета имеет три эжектора: нижний - водоотводящий и два верхних - водовоздушных.

При подаче воды центробежным насосом из циркуляционного бака в эжекторную кассету в приемной камере эжекторного блока создается вакуум, под действием которого в нее поступает вода из всасывающей системы, содержащая, как правило, большое количество воздуха.

Описание: 113

Черт. 113. Конструкция фильтрового звена иглофильтра

а - с перфорированной трубой, покрытой сеткой; б - со стальной проволочной обмоткой; 1 - наконечник; 2 - шаровой клапан; 3 - внутренняя труба; 4 - наружная перфорированная труба; 5 - фильтровая сетка; 6 - стальной крепежный колпачок; 7 - муфта; 8 - переходная муфта; 9 - надфильтровая труба; 10 - спиральная проволочная обмотка

Из приемной камеры вода поступает в циркуляционный бак, из которого часть ее насос подает на питание эжекторной кассеты, а излишки отводятся самотеком или сбрасываются по напорному трубопроводу с максимальным напором 20 м.

Воздух отделяется от воды в циркуляционном баке и через отверстие в крышке отводится в атмосферу.

При переполнении бака водой регулирующий клапан занимает самое верхнее положение и автоматически открывает воздушный клапан, что ведет к срыву вакуума в баке и в приемной камере, тем самым снижая приток воды к установке. При этом уровень воды в баке понижается, регулирующий клапан опускается, что обеспечивает закрытие воздушного клапана с одновременным повышением величины вакуума и увеличением притока воды к установке.

Принципиальная схема установки приведена на черт. 114.

Для установки УВВ-3А-6КМ применяется такая же всасывающая система, что и для установки ЛИУ-6Б.

10.7. Установка типа УЗВМ комплектуется центробежным насосом 4К-8, циркуляционным баком, напорным коллектором, водоструйным насосом ВН-8 и водосборным коллектором (закрытым баком) с патрубками для подключения иглофильтров (черт. 115). В процессе проходки выработки объединенные в единый блок центробежный насос и циркуляционный бак следует располагать на определенном удалении от забоя, но не более предельной дальности откачки по горизонтали, равной 250 м.

По мере разработки выемки осуществляется перенос иглофильтров в сторону забоя, а трубопроводы, по которым вода от центробежного насоса подается к водоструйному насосу, периодически наращиваются.

При неглубокой выемке и небольшой длине проходки возможно размещение насосного блока на поверхности около устья шахты.

Установка обслуживает до 17 иглофильтров. Высота подачи воды достигает 20 м.

Эжекторные установки ЭИ-70 применяются при требуемой глубине понижения до 12 м, а при соответствующем технико-экономическом обосновании - до 20 м в грунтах с коэффициентом фильтрации 0,1 - 5 м/сут.

Описание: 114

Черт. 114. Принципиальная схема установки шла УВВ-3А-6КМ

1 - электродвигатель; 2 - насос центробежный; 3 - камера напорная; 4 - камера приемная; 5 - эжекторы водовоздушные; 6 - линия напорная сбросная; 7 - приемник потока; 8 - клапан воздушный; 9 - клапан регулирующий; 10 - бак циркуляционный; 11 - расширитель; 12 - иглофильтр; 13 - всасывающий коллектор; 14 - патрубок

Описание: 115

Черт. 115. Установка забойного водопонижения УЗВМ-3у

1 - иглофильтры; 2 - соединительные рукава; 3 - водосборный коллектор; 4 - всасывающий рукав; 5 - водоструйный насос; 6 - электродвигатель; 7 - центробежный насос; 8 - циркуляционный бак; 9 - сбросной рукав; 10 - рукав для подвода воды к дополнительному песковому водоструйному насосу; 11 - рукав напорный; 12 - задвижки; 13 - патрубок с вентилем

Модификацией установки ЭИ-70 является установка типа ЭВВУ, предназначенная для осушения слабопроницаемых слоистых грунтов.

Эжекторные иглофильтровые установки ЭИУ-15, рекомендованные к производству вместо установок ЭИ-70, следует применять при требуемой глубине понижения уровня подземных вод до 15 м, а при соответствующем технико-экономическом обосновании - до 30 м в слабопроницаемых грунтах с коэффициентом фильтрации 0,1 - 5 м/сут.

Для осушения слабопроницаемых (в том числе слоистых) грунтов при требуемом понижении не более 40 м следует применять U-образные эжекторные скважинные установки ЭСУ-20.

10.8. Принципиальная схема эжекторной иглофильтровой установки (ЭИ-70, ЭИУ-15) представлена на черт. 116. По требованию заказчика установка ЭИУ-15 может поставляться с любым из насосных агрегатов, указанных в табл. 23.

Конструкция эжекторного иглофильтра представляет собой две колонны труб: наружную (водоприемную) с фильтровым звеном и внутреннюю (водоподъемную), к нижнему концу которой подсоединяется эжектор (черт. 117). Благодаря наличию шарового клапана в наконечнике фильтрового звена возможно погружение иглофильтра гидравлическим способом. Погружается только водоприемная колонна труб с фильтровым звеном, а затем в нее вставляется водоподъемная колонна с эжектором.

В процессе откачки по кольцевому зазору между наружной и внутренней колоннами труб центробежный насос нагнетает рабочую воду к эжектору. Струя воды, истекая с большой скоростью из сопла эжектора, обеспечивает подсасывание из фильтрового звена подземной воды. Смесь рабочей и подземной воды (или воды с воздухом) поднимается на поверхность и по сливному трубопроводу поступает в циркуляционный бак. Из бака часть воды («рабочая» вода) поступает на питание центробежного насоса, а остальная часть отводится самотеком или принудительно к местам сброса.

Зазор между стенками гидравлически пробуренной скважины и водоприемной колонной эжекторного иглофильтра следует заполнить песчаной или песчано-гравийной обсыпкой, а в верхней части скважины необходимо выполнить глиняный тампон высотой около 1 м для предотвращения прорыва воздуха в прифильтровую зону иглофильтра непосредственно через обсыпку. В плотных грунтах возможна установка эжекторных иглофильтров в заранее пробуренные скважины.

10.9. Эжекторная вакуумная водопонизительная установка типа ЭВВУ предназначена для осушения малопроницаемых слоистых грунтов. Она отличается от установки ЭИ-70 конструкцией иглофильтров.

Установка типа ЭВВУ оборудуется вакуумными концентрическими водоприемниками (черт. 118), которые по сравнению с эжекторными иглофильтрами не имеют водоприемного покрытия на фильтровом звене, а колонна иглофильтра заключена на всю высоту в фильтровую оболочку из узкой профилированной стальной ленты. Скважность оболочки не превышает 12 - 15 %.

Вакуумные концентрические водоприемники устанавливаются только в предварительно пробуренные скважины. Вокруг водоприемников устраивается по всей высоте песчано-гравийная обсыпка, а в верхней части - глиняный тампон.

При работе эжектора в полости фильтровой оболочки создается вакуум, распространяющийся в прифильтровой зоне на всю высоту водоприемника. Дебит вакуумного концентричного водоприемника не должен превышать 5 м3/ч, в противном случае эжектор не обеспечит вакуум.

10.10. Эжекторная скважинная установка ЭСУ-20 включает в себя два центробежных насоса (один резервный), циркуляционный бак и 30 эжекторных водоподъемников U-образного типа. В состав водоподъемника входят (черт. 119) водоподводящая и водоотводящая колонны труб, корпус, концевик, соединяющий водоподводящую колонну с соплом, и кожух, прикрепленный к верхней части корпуса. Внутри сопла размещена витая пластина. В цилиндрической части корпуса выполнены окна для приема эжектируемого потока. Кожух имеет прорезь, обращенную в сторону водоотводящей колонны. Витая пластина предназначена для повышения производительности эжектора по воздуху, а кожух - для уменьшения количества твердых частиц, поступающих в эжектор с откачиваемой водой.

Описание: 116

Черт. 116. Схема эжекторной иглофильтровой установки

1 - иглофильтр; 2 - глиняный тампон; 3 - пробковые краны; 4 - распределительный напорный трубопровод; 5 - сбросной коллектор; 6 - центробежный насос; 7 - задвижки; 8 - циркуляционный бак; 9 - пониженный уровень подземных вод

Описание: 117

Черт. 117. Эжекторный иглофильтр установки ЭИ-70

а - фильтровое звено; б - общий вид; 1 - наконечник; 2 - шаровой клапан; 3 - седло шарового клапана; 4 - внутренняя труба фильтрового звена; 5 - перфорированная труба; 6 - фильтровая сетка; 7 - проволочная спираль; 8 - седло эжектора; 9 - насадка эжектора; 10 - надфильтровая труба; 11 - диффузор; 12 - водоподъемная труба; 13 - фильтровое звено

Установка обслуживает до 17 иглофильтров. Высота подачи воды достигает 20 м.

Технические параметры легких и эжекторных иглофильтровых установок и установки ЭСУ-20 приведены в табл. 23.

Описание: 118

Черт. 118. Вакуумная концентрическая скважина

1 - водоприемное звено; 2 - эжектор с диффузором; 3 - песчано-гравийная обсыпка; 4 - соединительные муфты оболочки; 5 - фильтровая оболочка; 6 - направляющие фонари; 7 - глиняный тампон; 8 - сальник; 9 - надфильтровые трубы; 10 - вакуумметр

Описание: 119

Черт. 119. Эжекторный водоподъемник установок ЭСУ-20

1 - муфта соединительная; 2 - диффузор; 3 - камера смешения; 4 - сопло; 5 - витая пластина (винт); 6 - камера приемная; 7 - кожух; 8 - концевик; 9 - колонна подводящих труб; 10 - колонна отводящих труб

Таблица 23

Технические параметры

ЛИУ-6Б

УВВ-3А-6КМ

УЗВМ

ЭИ-70

ЭИУ-15

ЭСУ-20

Насос № 1

Насос № 2

Максимальная производительность установки по воде, м3

100

50

43

35

150

74

176

Напор на выходе, м

28

20

20

20

-

-

-

Тип насосного агрегата

СТД 761/1

СТД 761/2

6КМ-160-20

4К-8

6МС-6

ЦНС60-66

ЦНС60-99

ЦНС180-85

Масса насосного агрегата, кг

650

470

790

1040

639

470

573

1382

Габариты насосного агрегата (с электродвигателем), мм:

 

 

 

 

 

 

 

в плане

1845×945

1680×735

1800×780

 

1500×690

1540×410

1620×410

2105×778

высота

1250

1234

1400

 

715

656

656

980

Мощность электродвигателя, кВт

22

11

15

22

75

22

30

75

Длина коллектора, м:

всасывающего

 

105

105

5 - 10

-

-

-

напорного

 

-

-

15 - 480

48

37

185

сборного

 

-

-

-

42

36

183

Длина одного метра звена коллектора

 

6

6

Не регламентирована

6

6

6

Число иглофильтров, шт.

 

100

100

17

30

12

30

Размеры фильтрового звена:

 

 

 

 

 

 

 

наружный диаметр (по сетке), мм

-

68,5

68,5

68,5

70

70

-

общая длина, м

-

0,98

0,98

0,98

1,12

1,12

-

длина водоприемной части, м

-

0,8

0,8

0,8

0,8

0,8

-

Максимальная длина иглофильтра или водоподъемника, м

 

8,5

8,5

5,5

12

16

28

36

Размеры надфилътровых труб:

 

 

 

 

 

 

 

диаметр, мм

 

48

48

48

48

48

48

длина звеньев, м

 

1,5; 3

1,5; 3

1,5; 3

1,5; 3

1,5; 3

1,5; 3

Масса установки, т

 

7,1

6,86

1,55

10,5

10,5

26

11. ДРЕНАЖИ

11.1. Дренажи - это такие каптирующие подземные воды устройства, из которых вода самотеком поступает к водоотводящим коллекторам, сбросным линиям или к водосборникам насосных станций. Применяются следующие виды дренажей: траншейные, закрытые безтрубчатые, трубчатые, галерейные и пластовые.

11.2 Траншейные дренажи - открытые траншеи можно предусматривать такой глубины, какую позволяет степень застройки территории с учетом необходимого разноса откосов. Ширина траншеи по дну определяется шириной предусматриваемого землеройного снаряда, но не менее 40 см.

Откосы дренажных траншей допускается принимать в соответствии с рекомендуемым приложением 15 СНиП 2.06.03-85 или определять расчетом.

Описание: 120

Черт. 120. Закрытые беструбчатые дренажи

а - каменно-щебеночный; б - хворостяной; 1 - дерн корнями вниз; 2 - уплотненная глина; 3 - дерн корнями вверх; 4 - местные песчаный грунт; 5 - щебень; 6 - каменная кладка; 7 - глинобетонная подушка; 8 - засыпка местным грунтом; 9 - хворост

Описание: 121

Черт. 121. Трубчатый дренаж

а - с песчано-гравийной обсыпкой совершенного типа; б - то же, несовершенного типа; в - с фильтровым покрытием из минеральных волокнистых материалов; 1 - обратная засыпка местным песчаным грунтом; 2 - песок средней крупности; 3 - щебень; 4 - труба; 5 - водоупор; 6 - минеральный волокнистый материал; 7 - хомуты из жгутов стекловолокна или шпагат

При проектировании необходимо учитывать, что траншеи требуется периодически чистить и поддерживать в проточном состоянии.

11.3. Закрытый беструбный дренаж - траншея, заполненная фильтрующим материалом от дна до уровня подземных вод.

В качестве фильтрующего материала можно использовать песок, гравий, щебень, камень, хворост и др. сечение рекомендуется принимать по черт. 120.

11.4. Трубчатый дренаж - дырчатая труба с обсыпкой песчано-гравийным материалом или с фильтровым покрытием из волокнистого материала (черт. 121). Для трубчатых дренажей следует предусматривать трубы: керамические канализационные по ГОСТ 286-82 (табл. 24); асбестоцементные - безнапорные по ГОСТ 1839-80 (табл. 25); напорные по ГОСТ 539-85 (табл. 26); бетонные по ГОСТ 20054-82 (табл. 27); чугунные - канализационные по ГОСТ 6942.3-80 (табл. 28), напорные по ГОСТ 9583-75 (табл. 29); трубофильтры из пористого бетона (ВСН 13-77 Минэнерго СССР), трубы железобетонные диаметром 400 мм (ГОСТ 6482.0-79) и керамические дренажные трубы диаметром 100 - 250 мм (ГОСТ 8411-74).

11.5. Для приема подземных вод в асбестоцементных и чугунных трубах устраиваются круглые или щелевые отверстия (черт. 122,а, б, г), в бетонных и железобетонных - круглые (черт. 122,г). В керамические канализационные трубы подземные воды поступают через не полностью заделанные зазоры в стыках (черт. 122,в), в трубофильтры - через поры в материале их стенок. Материал труб выбирается в зависимости от ее глубины заложения и агрессивности среды. В агрессивной для цемента среде следует предусматривать керамические и чугунные трубы. При неагрессивной среде могут применяться трубы из любого указанного выше материала с учетом их глубины заложения (табл. 30).

Таблица 24

Ствол трубы

Раструб трубы

Толщина стенок ствола и раструба, мм

Внутренний диаметр, мм

Длина, мм

Длина нарезки, мм

Внутренний диаметр, мм

Глубина, мм

150

От 1000 до 1500 (через каждые 100 мм)

60

224

60

19

200

282

20

250

340

22

300

398

27

Примечание. Все размеры труб номинальные.

Таблица 25

Условный проход, мм

Трубы

Условный проход, мм

Муфты

Диаметр, мм

Толщина стенки, мм

Длина, мм

Масса 1 м трубы, кг

Диаметр, мм

Толщина стенки, мм

Длина, мм

Масса муфты, кг

Наружный

Внутренний

Наружный

Внутренний

100

118

100

9

2950

6

100

160

140

10

150

1

150

161

141

10

2950

9

150

212

188

12

150

2

200

211

189

11

3950

13

200

262

234

14

150

3

300

307

279

14

3950

25

300

366

334

16

150

5

Таблица 26

Условный проход, мм

Трубы

Муфты

Наружный диаметр, мм

Длина, мм

Масса 1 м трубы, кг

Толщина стенки, мм

Длина, мм

Наружный диаметр, мм

Масса муфты, кг

ВТ-6

ВТ-9

ВТ-6

ВТ-9

САМ-6

САМ-9

САМ-6

САМ-9

100

122

2950

3950

7,8

9,2

9,0

11,0

140

171

175

3,5

3,8

150

168

2950

3950

12,9

15,2

11,0

13,5

140

219

225

4,6

5,2

200

224

3950

22,1

26,4

14,0

17,5

150

277

287

6,9

8,2

250

274

3950

28,4

35,9

15,0

19,5

150

329

341

8,7

10,6

300

324

3950

40,2

49,4

17,5

22,5

150

383

397

11,1

13,8

Примечание. Трубам типа ВТ-6 соответствуют муфты типа САМ-6, а трубам типа ВТ-9 - муфты типа САМ-9.

Таблица 27

Условный проход, мм

Толщина стенки, мм

Длина, мм

Глубина раструба, мм

150

35, 30, 25

1000

50

200

40, 35, 30

1500

50

300

55, 50, 45

1500

80

400

75, 65, 55

1500

100

Таблица 28

Условный проход, мм

Наружный диаметр, мм

Толщина стенки, мм

Масса трубы, кг, при длине, м

0,75

1,25

2

100

118

4,5

10,5

16,3

25

150

168

5,0

-

-

40

Таблица 29

Условный проход, мм

Наружный диаметр, мм

Толщина стенки, мм

Масса трубы, кг, при длине, м

4

5

6

150

170

8,3

132

163

193

200

222

9,2

193

238

282

250

274

10,0

260

320

381

300

325

10,8

336

414

492

11.6. Обсыпку дренажных труб следует подбирать по табл. 31.

Требования к материалам обсыпки дренажных труб аналогичны требованиям к материалу обсыпки фильтровых труб водопонизительных скважин (см. разд. 9).

Фильтровые покрытия применяются двух видов: нетканые волокнистые материалы (маты, плиты, войлок) толщиной 10 см в несжатом состоянии; сетки и ткани из синтетических материалов типов ВВГ, ВВТ, ВВК - в четыре слоя, ВПМ - в два, ССТЭ-6 и СС-1 - в один слой.

Трубофильтры и дренажи с фильтровыми покрытиями обсыпаются песчаными грунтами, более проницаемыми, чем дренируемый грунт.

11.7. Допускается закладывать трубчатые дренажи на 0,3 м выше глубины промерзания. Минимальные уклоны дренажных труб диаметром до 150 мм - 0,005, диаметром 200 мм и выше - 0,003.

При пересечении трубчатыми дренажами других коммуникаций необходимо соблюдать требования СНиП II-89-80.

11.8. Смотровые колодцы (ГОСТ 8020-80 или типовые конструкции и детали зданий и сооружений - серия 3.900-3 вып. 7, части 1 и 2) располагаются на всех поворотах, перепадах, а также на прямолинейных участках трассы с шагом не более 50 м.

Описание: 122

Черт. 122. Водоприемные отверстия в дренажных трубах

а - в верхней части асбестоцементных и чугунных труб; б - в боковой части асбестоцементных труб; в - в виде зазоров в стыках керамических и чугунных труб; г - в бетонных и железобетонных трубах; 1 - муфта; 2 - резиновое кольцо; 3 - труба; 4 - отверстия; 5 - просмоленая пакля; 6 - асфальтовая мастика или жирная глина

Таблица 30

Грунты основания

Дренажные трубы

Максимальная глубина заложения дренажных труб, м, диаметром, мм

150

200

250

300

Пески гравелистые, крупные и средней крупности, глины и суглинки полутвердые, тугопластичные

Бетонные

-

4,0

-

3,5

Керамические канализационные

7,3

5,7

4,7

4,9

Керамические дренажные и асбестоцементные безнапорные

3,5

3,0

2,6

-

Асбестоцементные напорные:

 

 

 

 

ВТ-6

93

8,4

6,8

6,5

ВТ-9

16,9

14,9

12,3

12,5

Пески мелкие и пылеватые

Бетонные

-

4,1

-

3,6

Керамические канализационные

7,6

5,9

4,9

5,1

Керамические дренажные и асбестоцементные безнапорные

3,6

3,7

3,1

-

Асбестоцементные напорные:

 

 

 

 

ВТ-6

9,7

93

7,1

6,8

ВТ-9

17,5

15,5

12,8

13,0

Трубофильтры по ВСН 13-77

6,5

7,0

7,0

8,0

Таблица 31

Параметры обсыпки

Условия применения

Соотношение значений средних диаметров частиц материала, прилегающего к грунту слоя обсыпки, и самого грунта или последующего и предыдущего слоев обсыпки

Соотношение диаметров части одного слоя обсыпки, характеризующее его однородность

Толщина одного слоя обсыпки

tfm = 100 - 150 мм

11.9. Галерейные дренажи, устраиваемые открытым, щитовым или штольневым способами, проходного (высотой 1,6 - 1,8 м) или полупроходного (высотой 0,9 - 1,2 м) сечения, рассчитаны на выполнение их с применением средств малой механизации в нескальных или полускальных грунтах.

При устройстве дренажных галерей открытым способом фильтрующая обсыпка подбирается и укладывается, как и при трубчатом дренаже.

При устройстве галереи подземным способом закрепное пространство должно быть плотно заполнено фильтрующим материалом и незацементировано при устройстве обделки. Для приема воды в обделке галереи устраиваются отверстия различной формы, которые должны иметь достаточную скважность. Обделку (крепь) выработки для дренажной галереи можно выполнять из пористого бетона, из бетона или железобетона с отверстиями (черт. 123,а), из железобетонных или бетонных блоков (черт. 123,б, г), из сборного железобетона (черт. 123,в), дерева и каменной кладки. При этом должна быть обеспечена прочность крепления галереи.

Дренажные галереи устраиваются с уклоном не менее 0,003 в сторону выпуска (портала штольни, шахты). В галерее должен быть устроен бетонный лоток или водоотводная канавка.

При необходимости усиление водозаборной способности дренажных галерей может быть достигнуто с помощью сквозных фильтров и самоизливающихся скважин, забуриваемых из самих галерей.

Дренажные галереи устраиваются, как правило, в водоносных грунтах, по возможности в их водообильной зоне, ниже расчетного пониженного уровня подземных вод. При дренировании толщи крутопадающих пород галереи следует проводить в крест простирания пород. В случае забора воды из водообильных зон с помощью сквозных фильтров и скважин, забуриваемых из дренажных галерей, последние могут быть запроектированы и вне зон, если это вызвано условиями производства.

11.10. Пластовый дренаж (развитый по площади слой фильтрующего материала, предусматриваемый в основании сооружений и за их стенами - пристенный дренаж, на откосах открытых выработок, земляных сооружений и природных склонов, в основании насыпей) следует проектировать из песка, гравия или щебня, плит из пористого бетона и других материалов, удовлетворяющих требованиям необходимой прочности, неразмокаемости и устойчивости против агрессивного воздействия подземных вод.

Описание: 123

Черт. 123. Дренажные галереи

а - обделка из бетона и монолитного железобетона; б - обделка из отдельных блоков; в - обделка из сборных железобетонных элементов; 1 - обделка; 2 - дренажная засыпка; 3 - отверстия для выпуска воды; 4 - водоотводный бетонный лоток

11.11. Пластовый дренаж в основании сооружений следует предусматривать из одного слоя гравия или щебня минимальной толщиной 15 см (на трещиноватых скальных и полускальных породах) и из двух слоев: песка средней крупности толщиной не менее 10 см и гравия или щебня толщиной не менее 15 см (на пылеватых песках и глинистых породах)

Дренажный слой из песка за стенами сооружений (пристенный дренаж) следует предусматривать толщиной не менее 20 см на высоту не менее чем на 0,5 м выше уровня подземных вод.

Пристенный дренаж целесообразно проектировать из пористых плит.

Если засыпка пазух котлована осуществляется песчаным грунтом или песчано-гравийной смесью с коэффициентом фильтрации свыше 5 м/сут, пристенный дренаж можно не предусматривать.

Пластовые дренажи сооружений следует сочетать с трубчатыми дренами, которые каптируют воду из дренажных слоев и отводят ее в коллекторы (черт. 124).

Черт. 124. Плановый дренаж заглубленного сооружения

1 - защищаемое заглубленное сооружение; 2 - пристенный дренаж; 3 - песчаный слой; 4 - защитное покрытие щебеночного слоя; 5 - щебеночный слой; 6 - труба

11.12. Пластовый дренаж на откосах следует проектировать однослойным толщиной слоя от 0,3 (в хорошо проницаемых грунтах) до 2 м.

В качестве фильтрующих материалов допускается предусматривать, в зависимости от гранулометрического состава водоносных грунтов, средний или крупный песок, а также песчано-гравийные смеси с коэффициентом разнозернистости dk/dinf не более 20.

Верхняя граница пластового дренажа должна превышать не менее чем на 0,5 м уровень высачивания воды на откосы выработки.

Вода из пластового дренажа может быть выпущена в канаву на берме открытой выработки. Для откосов, рассчитанных на длительную эксплуатацию, целесообразно сочетание пластового дренажа с трубчатым (черт. 125).

Черт. 125. Пластовый дренаж на откосе

1 - песчано-гравийный слой; 2 - труба; 3 - щебеночная обсыпка

Для предотвращения промерзания дренажной отсыпки и трубы по верху пластового дренажа следует укладывать защитный слой грунта.

11.13. Пластовый дренаж намывных, а при необходимости и насыпных сооружений и отвалов в виде слоя водопроницаемого грунта, следует предусматривать по всей площади основания насыпи по верху систематически расположенных дрен-канав площадью поперечного сечения каждой не менее 0,1 м2 с заполнением каменным, щебеночным, из сплошных или пустотелых блоков (плит), крупнопористого бетона для отвода воды в канаву вдоль фронта насыпи, отвала (черт. 126).

Описание: 126

Черт. 126. Дренаж отвала

1 - породы отвала; 2 - водопроницаемый слой; 3 - дренажные канавы (дрены); 4 - водоотводная канава

При отсутствии самотечного отвода воды из пластового дренажа в основании насыпи (или намытых грунтов) каптируемую им воду рекомендуется удалять с помощью скважин, оборудуемых насосами.

11.14. Воду, поступающую в водосборные коллекторы из дренажа всех видов, отводят далее по внешним водоотводящим канавам или трубопроводам к местам сброса или ее использования. В случае невозможности самотечного водоотвода в проекте должна быть предусмотрена дренажная насосная станция (черт. 127), при проектировании которое следует, как правило, применять типовые проекты.

11.15. Вакуумный дренаж представляет собой трубчатый дренаж с герметичными смотровыми колодцами и с обязательным устройством насосной станции, в котором кроме водяных насосов для принудительного отвода воды имеется и вакуум-насос для откачки воздуха из всей системы.

Вакуумный смотровой колодец (черт. 128,а) отличается от обычного тщательной заделкой неплотностей между железобетонными кольцами стенок колодца, между кольцом нижней части стенки и днищем, верхним кольцом стенки и крышкой и смотровым люком.

Черт. 127. Дренажная насосная станция

1 - воздуховод; 2 - грузовой люк; 3 - смотровой люк; 4 - переходная площадка; 5 - напорный трубопровод; 6 - машинное отделение; 7 - насосный агрегат; 8 - приемный резервуар; 9 - датчики уровней; 10 - подводящий коллектор; 11 - шкаф электропитания; 12 - приямок для сбора воды; 13 - герметический люк; 14 - станция управления насосами; 15 - вытяжной вентилятор; 16 - лестница

Более надежная герметизация достигается устройством смотрового колодца с вакуумной камерой. Здесь под вакуумом находится не вся полость колодца, а лишь его нижняя часть (в пределах вакуум-камеры), что позволяет избежать необходимости достижения качественной герметизации всех стыковых участков колодца, а вакуумную камеру, имеющую сравнительно небольшой объем, выполнять из монолитного бетона.

Конструкция смотрового колодца с вакуум-камерой может быть применима при любом числе, диаметре и расположении подходящих к колодцу дренажных труб.

Характерной особенностью насосных станций систем вакуум-дренажа является наличие в их составе находящейся под разрежением емкости и постоянной или периодической откачки из нее воздуха.

Целесообразнее применять насосные станции с погружным центробежным насосом (черт. 128,б), но можно вместо погружного насоса использовать и обычный насос с горизонтальным валом.

При проектировании вакуумного дренажа целесообразно предусматривать прокладку дренажных труб с подъемом в сторону насосной станции, что создает лучшие условия для транспортирования потоков воды и воздуха.

С помощью вакуумного дренажа из грунта отсасывается не только гравитационная вода, но и часть капиллярной, что обеспечивает более глубокое понижение уровня подземных вод. Вакуумные дренажи целесообразно применять в суглинистых грунтах, супесях и мелкозернистых песках с коэффициентом фильтрации 0,01 - 1 м/сут.

Описание: 128

Черт. 128. Конструктивные схемы смотрового колодца с вакуумной камерой и насосной станции с погружным центробежным насосом

а - смотровой колодец; б - насосная станция; 1 - камера вакуумная с трубами дренажной системы; 2 - вакуумный колодец смотровой камеры; 3 - крышка вакуумной камеры; 4 - вакуумметр; 5 - прокладка резиновая; 6 - вакуумный колодец насосной станция; 7 - труба дренажной системы; 8 - бачок сливной; 9 - вакуумный насос; 10 - линия подпитки вакуумного насоса; 11 - линия вакуумирования; 12 - открытый павильон; 13 - напорный водопровод; 14 - погружной центробежный насос; 15 - пьезометр; 16 - клапан с поплавком

12. ВОДООТВОД

12.1. Водоотвод от насосных станций до места сброса следует предусматривать по напорным или безнапорным (самотечным) трубопроводам или открытым канавам и лоткам, проходящим по поверхности земли.

12.2. Трассу водоотводных устройств следует прокладывать вблизи дорог и проездов; пересечение дорог и проездов следует выполнять под прямым углом.

12.3. Для напорных трубопроводов следует применять, как правило, напорные неметаллические (железобетонные, асбестоцементные и пластмассовые) и чугунные трубы. Применение стальных труб допускается:

на участках с расчетным внутренним давлением свыше 1,5 МПа (15 кгс/см2);

при прокладке в труднодоступных пунктах строительства, а также в местах, где возможны механические повреждения;

при прокладке по опорам эстакад.

12.4. На напорных трубопроводах в необходимых случаях следует предусматривать установку задвижек, вантузов, выпусков и компенсаторов.

Трубопроводы необходимо проверять на повышение давления при гидравлическом ударе. При необходимости следует предусматривать установку противоударной арматуры. Выбор типа арматуры и места ее установки определяются расчетом.

12.5. При повороте напорных трубопроводов в вертикальной или горизонтальной плоскости, когда возникающие усилия не могут быть восприняты стыками труб, должны предусматриваться упоры, конструкция которых определяется расчетом.

12.6. Напорные трубопроводы следует рассчитывать на пропуск расчетного расхода с учетом материала труб и местных потерь напора по СНиП 2.04.02-84.

12.7. Для самотечных трубопроводов следует применять, как правило, безнапорные неметаллические (железобетонные, бетонные, керамические, асбестоцементные, пластмассовые) трубы. Применение чугунных труб допускается в местах, где возможны механические повреждения труб.

12.8. Уклоны самотечных трубопроводов следует принимать, как правило, не менее 0,002 при диаметре до 200 мм и не менее 0,0005 при диаметре более 200 мм.

12.9. Диаметры самотечных трубопроводов следует определять гидравлическим расчетом по формулам равномерного движения при полном заполнении их водой.

12.10. Минимальную расчетную скорость движения воды в самотечных трубопроводах допускается принимать 0,4 м/с.

12.11. Наибольшую расчетную скорость движения воды в самотечных трубопроводах следует принимать, м/с: для металлических труб - 10, неметаллических - 7.

12.12. Открытые канавы следует проектировать, как правило, трапецеидального или прямоугольного сечения.

Канавы трапецеидального сечения в зависимости от вида грунта, в которых они прокладываются, и скорости движения воды в них следует устраивать без облицовки (в малоразмываемых грунтах) или с облицовкой из монолитного бетона или сборного железобетона.

Канавы прямоугольного сечения следует выполнять в слабых грунтах или в стесненных условиях в виде лотка из бетона или железобетона (монолитного или сборного).

12.13. Скорость движения воды в канавах без облицовки должна быть не менее  (где R - гидравлический радиус, м) и не более значений, указанных в табл. 32.

Таблица 32

Вид грунта

Наибольшая скорость движения воды, м/с

Песок мелкий и средней крупности, супесь

0,4

Песок крупный

0,8

Суглинок пылеватый

0,7

Суглинок

1,0

Глина

1,2

При скорости движения воды более указанной в табл. 32 следует устраивать канавы с облицовкой. При этом наибольшая скорость движения воды не должна превышать 8 м/с.

С облицовкой во всех горных породах следует устраивать канавы на участках, примыкающих к сбросным линиям (на длине 3 - 5 м).

12.14. Заложение откосов необлицованных трапецеидальных канав глубиной до 2 м допускается принимать по табл. 33 в зависимости от вида грунта, в котором они выполняются.

Таблица 33

Вид грунта

Заложение откосов

Песок средней крупности, крупный и гравелистый

2,0

Супесь

1,5

Плотные суглинки, глины, гравийно-галечниковый грунт

1,0

Полускальные водостойкие породы

0,5

Скальные породы:

 

прочные

0,1

слабые

0,25

Наименьшие размеры трапецеидальных канав следует принимать, м: ширину по дну - 0,3, глубину - 0,4.

Ширину канавы по дну следует сохранять на всем ее протяжении, изменяя глубину и уклоны на отдельных участках в соответствии с уклонами берм и расчетным расходом воды.

Радиус закругления канавы на углах поворота надлежит принимать равным 20-кратной ширине канавы по дну.

12.15. Расчетное наполнение канав любого сечения допускается принимать не более 0,7 высоты.

Минимальные продольные уклоны канав следу принимать 0,002.

Допускается принимать продольные уклоны канав менее 0,002, если гидравлическим расчетом подтверждается незаиляемость канав.

12.16. Уклоны и сечения канав следует подбирать из расчета пропускной способности. При этом могут быть использованы табл. 34 - 35 для канав трапецеидального сечения, табл. 36 - 37 для канав прямоугольного сечения.

Для определения расходов и скоростей при других значениях коэффициентов шероховатостей следует пользоваться значениями поправочных коэффициентов, принимаемых по табл. 35 и 37.

Таблица 34

Уклон

Расход q, л/с, и скорость ν, м/с, воды при степени заполнения канав

0,2

0,4

0,6

0,8

1,0

q

ν

q

ν

q

ν

q

ν

q

ν

Канава шириной по дну, 0,4 м с заложением откоса 1:1

0,001

32,2

0,28

124,0

0,39

302,0

0,51

563,0

0,59

941,0

0,68

0,002

45,3

0,38

176,1

0,56

428,5

0,72

802,0

0,84

1328,0

0,90

0,003

55,5

0,46

215,0

0,68

522,0

0,87

980,0

1,18

1640,0

1,17

0,004

64,7

0,54

250,0

0,78

606,0

1,01

1140,0

1,32

1890,0

1,35

0,005

71,8

0,60

279,0

0,87

672,0

1,12

1265,0

1,32

2115,0

1,51

0,006

78,5

0,66

305,0

0,95

740,0

1,23

1390,0

1,45

2320,0

1,66

0,008

90,0

0,76

352,0

1,10

857,0

1,43

1610,0

1,67

2660,0

1,91

0,010

101,8

0,84

395,0

1,23

960,0

1,59

1800,0

1,87

3000,0

2,14

0,030

175,0

1,46

683,0

2,12

1660,0

2,75

3090,0

3,22

5140,0

3,69

0,050

465,0

2,11

1790,0

3,20

4150,0

4,06

7720,0

4,83

12750,0

5,52

Канава шириной по дну 0,4 м с заложением откоса 1:1,5

0,001

37,7

0,27

162,0

0,40

414,0

0,53

803,0

0,63

1380,0

0,73

0,002

53,3

0,38

230,0

0,57

581,0

0,75

1130,0

0,89

1970,0

1,04

0,003

65,4

0,47

282,0

0,70

712,0

0,91

1388,0

1,08

2400,0

1,26

0,004

75,3

0,54

327,0

0,81

828,0

1,06

1660,0

1,25

2770,0

1,46

0,005

84,0

0,61

363,0

0,91

922,0

1,18

1797,0

1,40

3075,0

1,62

0,006

92,5

0,66

400,0

1,00

1020,0

1,30

1970,0

1,54

3390,0

1,79

0,008

106,0

0,76

458,0

1,15

1162,0

1,50

2260,0

1,77

3930,0

2,07

0,010

129,0

0,85

514,0

1,28

1300,0

1,67

2540,0

1,97

4380,0

2,30

0,030

207,0

1,47

885,0

2,21

2250,0

2,88

4390,0

3,42

7590,0

3,98

0,050

267,5

1,90

1143,0

2,87

2910,0

3,75

5700,0

4,43

9800,0

5,00

Канава шириной по дну 0,8 м с заложением откоса 1:1

0,001

60,5

0,30

214,0

0,45

472,0

0,56

850,0

0,66

1360,0

0,75

0,002

85,4

0,43

302,5

0,63

670,0

0,80

1200,0

0,93

1910,0

1,06

0,003

104,2

0,52

372,0

0,77

815,0

0,98

1462,0

1,14

2350,0

1,29

0,004

121,0

0,62

430,0

0,89

949,5

1,13

1700,0

1,32

2705,0

1,50

0,005

135,0

0,68

482,0

1,00

1055,0

1,26

1900,0

1,48

3020,0

1,67

0,006

148,4

0,74

528,0

1,10

1162,0

1,38

2080,0

1,62

3335,0

1,84

0,008

171,0

0,85

610,0

1,27

1340,0

1,60

2400,0

1,87

3830,0

2,13

0,010

189,0

0,96

680,0

1,41

1500,0

1,79

2680,0

2,09

4280,0

2,38

0,030

330,0

1,65

1180,0

2,45

2600,0

3,09

4660,0

3,63

7400,0

4,13

0,050

427,0

2,13

1520,0

3,17

3360,0

4,00

5995,0

4,68

9500,0

5,32

Канава шириной по дну 0,8 м с заложением откоса 1:1,5

0,001

65,8

0,30

252,0

0,45

584,0

0,57

1095,0

0,69

1800,0

0,78

0,002

93,0

0,42

357,0

0,64

830,0

0,81

1545,0

0,97

2550,0

1,10

0,003

122,0

0,51

440,0

0,78

1018,0

0,99

1910,0

1,18

3110,0

1,45

0,004

131,7

0,60

503,0

0,90

1165,5

1,14

2200,0

1,37

3600,0

1,56

0,005

146,5

0,67

566,0

1,00

1300,0

1,28

2450,0

1,52

4020,0

1,76

0,006

162,0

0,73

619,0

1,12

1430,0

1,40

2700,0

1,68

4420,0

1,91

0,008

186,0

0,84

714,0

1,28

1660,0

1,62

3100,0

1,93

5110,0

2,22

0,010

207,0

0,94

795,0

1,42

1844,0

1,81

3475,0

2,16

5700,0

2,48

0,030

358,0

1,02

1380,0

2,47

3220,0

3,14

6000,0

3,75

9850,0

4,29

0,050

465,0

2,11

1790,0

3,20

4150,0

4,06

7720,0

4,83

12750,0

5,52

Примечание. Указанные в таблице расходы и скорости подсчитаны при коэффициенте шероховатости n = 0,025.

Таблица 35

Гидравлический радиус, R, м

Значения коэффициента шероховатости

0,013

0,017

0,02

0,025

0,03

0,035

0,1

2,37

1,68

1,39

1,0

0,77

0,63

0,2

2,25

1,63

1,33

1,0

0,79

0,65

0,3

2,15

1,58

1,30

1,0

0,80

0,66

0,4

2,10

1,45

1,29

1,0

0,81

0,67

0,5

2,04

1,42

1,27

1,0

0,81

0,68

0,6

2,00

1,41

1,27

1,0

0,82

0,69

0,7

1,97

1,48

1,27

1,0

0,83

0,70

0,8

1,96

1,48

1,26

1,0

0,83

0,71

0,9

1,94

1,49

1,25

1,0

0,83

0,71

1,0

1,92

1,46

1,25

1,0

0,83

0,71

1,1

1,90

1,46

1,24

1,0

0,83

0,71

1,2

1,90

1,45

1,24

1,0

0,84

0,72

1,3

1,90

1,45

1,24

1,0

0,84

0,72

1,4

1,87

1,44

1,24

1,0

0,84

0,72

1,7

1,86

1,44

1,23

1,0

0,84

0,73

2,0

1,84

1,43

1,23

1,0

0,85

0,74

2,4

1,82

1,42

1,22

1,0

0,85

0,74

3,0

1,81

1,42

1,22

1,0

0,85

0,74

Примечание. Указанные в таблице поправочные коэффициенты следует умножать на значения расхода и скорости, полученные по табл. 34.

Таблица 36

Уклон

Расход q, л/с, и скорость ν, м/с, воды при степени заполнения канав

0,2

0,4

0,6

0,8

1,0

q

ν

q

ν

q

ν

q

ν

q

ν

Канава шириной по дну 0,2 м

0,001

15,00

0,37

34,00

0,42

62,60

0,44

-

-

-

-

0,002

21,31

0,52

47,87

0,60

75,00

0,62

-

-

-

-

0,003

25,55

0,64

58,88

0,73

92,20

0,76

-

-

-

-

0,004

30,30

0,74

68,07

0,85

106,50

0,88

-

-

-

-

0,005

33,53

0,83

75,75

0,94

119,10

0,99

-

-

-

-

0,006

36,86

0,91

83,83

1,03

130,40

1,08

-

-

-

-

0,007

39,90

0,98

89,50

1,13

140,00

1,17

-

-

-

-

0,008

42,52

1,06

95,95

1,20

150,40

1,25

-

-

-

-

0,010

47,47

1,19

107,50

1,34

168,10

1,41

-

-

-

-

0,030

82,82

2,07

185,80

2,32

292,90

2,42

-

-

-

-

0,050

105,40

2,64

237,30

2,97

379,20

3,14

-

-

-

-

0,070

125,00

3,13

284,30

3,53

445,90

3,81

-

-

-

-

0,100

149,40

3,74

340,00

4,24

533,00

4,44

-

-

-

-

Канава шириной по дну 0,25 м

0,001

20,70

0,41

47,67

0,48

75,44

0,50

104,00

0,51

-

-

0,002

29,29

0,58

67,46

0,67

107,00

0,72

147,40

0,73

-

-

0,004

41,51

0,83

94,94

0,96

150,40

1,00

208,00

1,04

-

-

0,006

50,60

1,01

117,10

1,17

185,00

1,23

254,50

1,27

-

-

0,008

58,58

1,17

135,00

1,35

214,60

1,42

293,90

1,47

-

-

0,010

65,39

1,31

150,40

1,51

237,80

1,59

328,20

1,65

-

-

0,020

92,92

1,86

213,20

2,12

338,30

2,27

462,50

2,32

-

-

0,040

130,70

2,61

300,40

2,92

478,70

3,18

656,50

3,28

-

-

0,060

160,50

3,20

368,60

3,70

585,80

3,89

905,90

4,04

-

-

0,080

185,40

3,70

428,20

4,28

676,70

4,50

931,20

4,65

-

-

0,100

207,00

4,15

476,70

4,75

755,40

5,05

1035,00

5,19

-

-

Канава шириной по дну 0,3 м

0,001

26,71

0,44

62,62

0,53

100,00

0,56

138,30

0,58

-

-

0,002

37,47

0,63

88,37

0,74

141,40

0,79

194,90

0,82

-

-

0,004

53,32

0,89

125,20

1,04

198,90

1,11

276,70

1,15

-

-

0,006

65,39

1,09

153,50

1,27

244,90

1,36

339,80

1,41

-

-

0,008

75,75

1,25

177,70

1,47

282,00

1,57

390,80

1,63

-

-

0,010

84,53

1,41

197,90

1,55

318,10

1,76

439,30

1,82

-

-

0,020

119,10

1,98

279,70

2,32

447,40

2,47

616,10

2,54

-

-

0,040

168,60

2,83

396,10

3,30

634,20

3,54

981,60

3,65

-

-,

0,060

206,00

3,44

484,80

4,04

775,60

4,34

1070,00

4,45

-

-

0,080

237,80

3,98

562,50

4,69

893,80

4,99

1233,00

5,15

-

-

0,100

267,10

4,44

626,20

5,21

1000,00

5,55

1383,00

5,78

-

-

Канава шириной по дну 0,35 м

0,001

32,94

0,47

78,67

0,57

126,20

0,60

175,70

0,63

-

-

0,002

46,56

0,67

111,60

0,80

178,20

0,85

247,40

0,88

-

-

0,004

66,05

0,94

157,10

1,13

252,50

1,20

351,40

1,25

-

-

0,006

81,00

1,15

192,90

1,38

309,00

1,47

429,70

1,54

-

-

0,008

93,32

1,33

222,20

1,60

358,50

1,71

496,90

1,77

-

-

0,010

104,00

1,48

247,90

1,77

390,90

1,90

556,50

1,98

-

-

0,020

147,40

2,10

351,40

2,50

565,60

2,69

781,90

2,81

-

-

0,040

209,00

2,98

497,40

3,55

799,90

3,82

1111,00

3,96

-

-

0,060

252,50

3,65

609,00

4,36

981,70

4,68

1363,00

4,85

-

-

0,080

293,90

4,22

704,90

5,03

1133,00

5,40

1570,00

5,63

-

-

0,100

328,70

4,70

786,70

5,64

1262,00

6,04

1757,00

6,26

-

-

Канава шириной по дну 0,4 м

0,001

39,39

0,49

94,03

0,59

155,5

0,65

216,6

0,68

-

-

0,002

55,75

0,70

134,30

0,83

219,6

0,91

307,0

0,96

-

-

0,003

67,87

0,85

164,60

1,03

269,6

1,12

373,7

1,16

-

-

0,004

78,78

0,99

189,80

1,19

310,0

1,29

435,8

1,36

-

-

0,005

87,87

1,10

213,10

1,33

348,4

1,44

482,7

1,51

-

-

0,006

96,96

1,20

233,30

1,45

381,2

1,58

531,2

1,66

-

-

0,007

104,00

1,30

252,50

1,57

412,0

1,71

573,6

1,79

-

-

0,008

111,30

1,39

269,60

1,69

439,5

1,84

606,4

1,91

-

-

0,010

125,20

1,56

301,40

1,88

492,8

2,05

681,7

2,14

-

-

0,030

216,60

2,69

518,10

3,25

853,4

3,56

1186,0

3,70

-

-

0,050

278,20

3,48

668,60

4,20

1100,0

4,59

1515,0

4,75

-

-

0,070

328,00

4,10

790,80

4,95

1292,0

5,42

1800,0

5,65

-

-

0,100

393,90

4,93

939,30

5,95

1555,0

6,46

2166,0

6,77

-

-

Канава шириной по дну 0,5 м

0,001

53,02

0,52

131,3

0,65

216,6

0,72

262,6

0,75

391,3

0,78

0,002

74,74

0,75

185,6

0,93

306,0

1,01

371,1

1,07

553,4

1,11

0,004

105,90

1,06

262,6

1,31

434,3

1,43

525,2

1,51

781,7

1,56

0,006

129,70

1,29

320,6

1,61

529,2

1,77

644,3

1,85

959,5

1,92

0,008

149,60

1,50

371,1

1,86

610,0

2,04

742,3

2,14

1107,0

2,20

0,010

167,60

1,68

416,3

2,07

684,7

2,27

831,2

2,39

1232,0

2,46

0,020

235,80

2,36

586,8

2,93

964,5

3,20

1171,0

3,37

1752,0

3,50

0,040

335,30

3,35

830,2

4,14

1358,0

4,59

1658,0

4,77

2464,0

4,92

0,060

412,00

4,12

1020,0

5,09

1676,0

5,19

2088,0

5,86

3030,0

6,06

0,080

474,70

4,75

1173,0

5,89

1939,0

6,42

2348,0

6,77

3509,0

7,00

0,100

530,20

5,30

1313,0

6,56

2166,0

7,20

2626,0

7,50

3908,0

7,80

Канава шириной по дну 0,6 м

0,001

66,81

0,56

169,8

0,71

282,8

0,78

395,9

0,83

516,6

0,87

0,002

93,93

0,79

240,8

1,00

397,9

1,10

562,5

1,16

734,7

1,22

0,003

115,10

0,96

295,4

1,23

484,8

1,34

686,8

1,43

891,3

1,48

0,004

134,30

1,12

340,8

1,42

565,6

1,47

795,8

146

1030,0

1,72

0,005

148,40

1,23

378,7

1,58

627,2

1,75

885,7

1,83

1153,0

1,92

0,006

163,60

1,36

418,1

1,74

688,8

1,90

976,1

2,02

1262,0

2,14

0,007

176,70

1,46

449,4

1,88

742,3

2,06

1050,0

2,19

1373,0

2,28

0,008

187,80

1,57

482,7

2,00

795,8

2,20

1128,0

2,32

1464,0

2,43

0,010

210,50

1,76

540,3

2,24

888,8

2,44

1254,0

2,60

1636,0

2,73

0,030

366,10

3,05

929,2

3,85

1537,0

4,30

2181,0

4,59

2822,0

4,70

0,050

472,10

3,92

1201,0

5,01

1989,0

5,50

2797,0

5,84

3610,0

6,07

0,070

557,50

4,63

1415,0

5,88

2348,0

6,48

3307,0

6,90

4292,0

7,18

0,100

667,60

5,56

1696,0

7,09

2828,0

7,80

3964,0

8,28

5171,0

8,60

Канава шириной по дну 0,8 м

0,001

94,68

0,59

247,9

0,78

424,2

0,88

606,0

0,95

794,8

0,99

0,002

134,30

0,84

353,5

1,10

598,4

1,25

853,9

1,33

1123,0

1,40

0,004

188,80

1,18

500,4

1,56

851,4

1,77

1220,0

1,90

1595,0

1,99

0,006

234,30

1,47

609,0

1,90

1070,0

2,22

1494,0

2,32

1949,0

2,42

0,008

268,60

1,69

707,0

2,20

1206,0

2,50

1717,0

2,68

2252,0

2,81

0,010

309,00

1,88

787,8

2,46

1343,0

2,80

1908,0

2,98

2504,0

3,13

0,020

424,20

2,63

1112,0

3,48

1878,0

3,92

2696,0

4,21

3535,0

4,41

0,040

601,40

3,76

1575,0

4,95

2686,0

5,59

3812,0

5,96

5019,0

6,26

0,060

732,70

4,59

1949,0

6,06

3262,0

6,81

4696,0

7,32

6135,0

7,67

0,080

851,40

5,33

2242,0

7,00

3807,0

7,90

5454,0

8,48

7312,0

9,11

0,100

949,40

5,92

2479,0

7,77

4242,0

8,78

6060,0

9,49

7948,0

9,89

Канава шириной по дну 1,0 м

0,001

125,7

0,63

335,3

0,84

580,7

0,97

843,3

1,05

1103,0

1,10

0,002

177,5

0,88

470,6

1,18

818,1

1,36

1171,0

1,46

1555,0

1,55

0,004

251,4

1,25

670,6

1,68

1161,0

1,94

1671,0

2,09

2206,0

2,20

0,006

308,0

1,54

821,1

2,05

1416,0

2,36

2040,0

2,55

2706,0

2,71

0,008

354,5

1,77

939,3

2,36

1638,0

2,73

2363,0

2,94

3090,0

3,09

0,010

395,9

1,98

1054,0

2,65

1828,0

3,05

2636,0

3,28

3565,0

3,49

0,020

558,5

2,75

1492,0

3,72

2575,0

4,30

3711,0

4,65

4873,0

4,87

0,040

791,8

3,96

2138,0

5,29

3661,0

6,08

5272,0

6,57

6969,0

6,97

0,060

971,6

4,85

2595,0

6,48

4484,0

7,48

6453,0

8,08

8534,0

843

0,080

1121,0

5,62

2989,0

7,48

5161,0

8,63

7454,0

9,31

9797,0

9,79

0,100

1253,0

6,26

3353,0

8,38

5792,0

9,64

8413,0

10,50

11000,0

11,00

Примечание. Указанные в таблице расходы и скорости подсчитаны при коэффициенте шероховатости n = 0,014.

Таблица 37

Гидравлический радиус R, м

Значения коэффициента шероховатости n

0,011

0,013

0,014

0,017

0,020

0,025

0,030

0,035

0,040

0,05

1,41

1,12

1,0

0,76

0,60

0,42

0,32

0,25

0,15

0,10

1,37

1,11

1,0

0,78

0,62

0,46

0,353

0,28

0,22

0,15

1,34

1,10

1,0

0,79

0,64

0,48

0,371

0,29

0,25

0,20

1,33

1,10

1,0

0,79

0,65

0,49

0,39

0,31

0,26

0,25

1,33

1,10

1,0

0,80

0,66

0,50

0,40

0,32

0,27

0,30

1,32

1,10

1,0

0,80

0,66

0,51

0,41

0,34

0,28

0,40

1,31

1,08

1,0

0,81

0,67

0,52

0,42

0,35

0,30

0,50

1,30

1,09

1,0

0,81

0,68

0,53

0,435

0,36

0,31

0,60

1,30

1,09

1,0

0,81

0,68

0,54

0,442

0,37

0,32

0,70

1,28

1,08

1,0

0,85

0,69

0,55

0,450

0,38

0,33

Примечание. Указанные в таблице коэффициенты следует умножать на значения расхода скорости, полученные по табл. 36.

12.17. В случаях отсутствия в таблицах данных проектируемых сечений канав расчеты выполняются по формулам. Среднюю скорость течения воды в канавах дождевой сети, ν, м/с, работающих в условиях безнапорного установившегося потока, следует определять по формуле

                                                               (15)

где C - коэффициент, зависящий от гидравлического радиуса и шероховатости поверхности канавы или трубопровода и определяемый по табл. 38 или по формуле

C = Ry/n,                                                                (16)

здесь y = 2,5√n - 0,13 - 0,75R(√n - 0,1);

n - коэффициент шероховатости, принимаемый для самотечных трубопроводов 0,014, а для канав без облицовки - 0,0275, с облицовкой из бетона или асфальтобетона - 0,017, из сборных железобетонных лотков - 0,15;

R - гидравлический радиус, м, значение которого определяется по формуле

R = ω/χ,                                                                    (17)

здесь ω - площадь сечения потока, м2;

χ - длина самотечного периметра, м;

i - гидравлический уклон, принимаемый равным уклону дна канавы или трубопровода.

Для канав с трапецеидальной формой поперечного сечения

ω = (2b + ctgα)h

χ = 2b + 2h√(1+ctg2α),                                                   (18)

где h - глубина воды в канаве, м;

α - крутизна откосов канавы, град.

Пропускную способность канав дождевой сети q, м3/с, следует определять по формуле

q = ων.                                                                        (19)

При подборе сечений самотечных трубопроводов можно пользоваться табл. 39.

Таблица 38

Гидравлический радиус R, м

Значение коэффициента C при коэффициенте шероховатости n

0,011

0,012

0,013

0,014

0,017

0,02

0,0225

0,025

0,0275

0,03

0,10

67,2

60,3

54,3

49,3

38,1

30,6

26,0

22,4

19,6

17,3

0,12

68,8

61,9

55,8

50,8

39,5

32,6

27,2

23,5

20,6

18,3

0,14

70,3

63,3

57,2

52,2

40,7

33,0

28,2

24,5

21,6

19,1

0,16

71,5

64,5

58,4

53,3

41,8

34,0

29,2

25,4

22,4

19,9

0,18

72,6

65,6

59,5

54,3

42,7

34,8

30,0

26,2

23,2

20,6

0,20

73,7

66,6

60,4

55,3

43,6

35,7

30,8

26,9

23,8

21,3

0,22

74,6

67,5

61,3

56,2

44,4

36,4

31,5

27,6

24,5

21,9

0,24

75,5

68,3

62,1

57,0

45,2

37,1

32,2

28,3

25,1

22,5

0,26

76,3

69,1

62,9

57,7

45,9

37,8

32,8

28,8

25,7

23,0

0,28

77,0

69,8

63,6

58,4

46,5

38,4

33,4

29,4

26,2

23,5

0,30

77,7

70,5

64,3

59,1

47,2

39,0

33,9

29,9

26,7

24,0

0,32

78,3

71,1

65,0

59,7

47,8

39,5

34,4

30,3

27,1

24,4

0,34

79,0

71,8

65,7

60,3

48,3

40,0

34,9

30,8

27,6

24,9

0,36

79,6

72,4

66,1

60,9

48,8

40,5

35,4

31,3

28,0

25,3

0,38

80,1

72,9

66,7

61,4

49,3

41,0

35,9

31,7

28,4

25,6

0,40

80,7

73,4

67,1

61,9

49,8

41,5

36,3

32,2

28,8

26,0

0,42

81,3

73,9

67,7

62,4

50,2

41,9

36,7

32,6

29,2

26,4

0,44

81,8

74,4

68,2

62,9

50,7

42,3

37,1

32,9

29,6

26,7

0,46

82,3

74,8

68,6

63,3

51,1

42,7

37,5

33,3

29,9

27,1

0,48

82,7

75,3

69,1

63,7

51,5

43,1

37,8

33,6

30,2

27,4

0,50

83,1

75,7

69,5

64,1

51,9

43,5

38,2

34,0

30,4

27,8

0,55

84,1

76,7

70,4

65,2

52,8

44,4

39,0

34,8

31,4

28,5

0,60

85,0

77,7

71,4

66,0

53,7

45,2

39,8

35,5

32,1

29,2

0,65

86,0

78,7

72,2

66,9

54,5

45,9

40,6

36,2

32,8

29,8

0,70

86,8

79,4

73,0

67,6

55,2

46,6

41,2

36,9

33,4

30,4

0,75

87,5

80,2

73,8

68,4

55,9

47,3

41,8

37,5

34,0

31,0

0,80

88,3

80,8

74,5

69,0

56,5

47,9

42,4

38,0

34,5

31,5

0,85

89,0

81,6

75,1

69,7

57,2

48,4

43,0

38,6

35,0

32,0

0,90

89,4

82,1

75,5

69,9

57,5

48,8

43,2

38,9

35,5

32,3

0,95

90,3

82,8

76,5

70,9

58,3

49,5

43,9

39,5

35,9

32,9

1,00

90,9

83,3

76,9

71,4

58,8

50,0

44,4

40,0

36,4

33,3

1,10

92,0

84,4

78,0

72,5

59,8

50,9

45,3

40,9

37,3

34,1

1,20

93,1

85,4

79,0

73,4

60,7

51,8

46,1

41,6

38,0

34,8

1,30

94,0

86,3

79,9

74,3

61,5

52,5

46,9

42,3

38,7

35,5

1,40

94,8

87,1

80,7

75,1

62,2

53,2

47,5

43,0

39,3

36,1

1,50

95,7

88,0

81,5

75,9

62,9

53,9

48,2

43,6

39,8

36,7

1,60

96,5

88,7

82,2

76,5

63,6

54,5

48,7

44,1

40,4

37,2

1,70

97,3

89,5

82,9

77,2

64,3

55,1

49,3

44,7

41,0

37,7

1,80

98,0

90,1

83,5

77,8

64,8

55,6

49,8

45,1

41,4

38,1

1,90

98,6

90,8

84,2

78,4

65,4

56,1

50,3

45,6

41,8

38,4

2,00

99,3

91,4

84,8

79,0

65,9

56,6

50,8

46,0

42,3

38,9

2,20

100,4

92,4

85,9

80,0

66,8

57,4

51,6

46,8

43,0

396

2,40

101,5

93,5

86,9

81,0

67,7

58,3

52,3

47,5

43,7

40,3

2,60

102,5

94,5

88,1

81,9

68,4

59,0

53,0

48,2

44,2

40,9

2,80

103,5

95,3

88,7

82,6

69,1

59,7

53,6

48,7

44,8

41,4

3,00

104,4

96,2

89,4

83,4

69,8

60,3

54,2

49,3

45,3

41,9

Таблица 39

Уклон

Расход q, л/с, и скорость ν, м/с, в безнапорных трубопроводах диаметром, мм

100

150

200

250

300

350

400

q

ν

q

ν

q

ν

q

ν

q

ν

q

ν

q

ν

0,002

-

-

-

-

-

-

-

-

-

-

61,2

0,64

87,3

0,70

0,003

-

-

-

-

-

-

30,6

0,62

49,8

0,70

75,0

0,78

107,1

0,85

0,004

-

-

-

-

19,5

0,62

35,3

0,72

57,4

0,81

86,5

0,90

123,5

0,98

0,005

-

-

-

-

21,8

0,69

39,5

0,80

64,2

0,91

96,8

1,01

138,1

1,10

0,007

-

-

12,0

0,68

25,8

0,82

46,7

0,95

76,0

1,08

114,6

1,19

163,5

1,30

0,01

4,8

0,62

14,3

0,81

30,8

0,98

55,8

1,14

90,8

1,29

136,9

1,42

195,4

1,56

0,012

5,3

0,67

15,7

0,89

33,7

1,07

61,1

1,24

99,5

1,41

149,9

1,56

214,0

1,70

0,014

5,7

0,73

17,0

0,96

36,4

1,16

66,0

1,35

107,5

1,52

162,0

1,68

231,2

1,84

0,016

6,1

0,78

18,1

1,02

38,9

1,24

70,6

1,44

114,9

1,63

173,2

1,80

247,2

1,97

0,02

6,8

0,87

20,3

1,15

43,5

1,39

78,9

1,61

128,4

1,82

193,6

2,01

276,3

2,20

0,025

7,6

0,97

22,7

1,28

48,7

1,55

-

-

143,0

2,03

216,4

2,25

308,9

2,46

0,03

8,4

1,07

24,8

1,40

53,3

1,70

96,7

1,97

157,3

2,23

237,1

2,46

338,4

2,69

0,04

9,7

1,23

28,7

1,62

61,6

1,96

111,6

2,27

181,7

2,57

273,8

2,85

390,8

3,11

0,05

10,8

1,38

32,1

1,81

68,8

2,19

124,8

2,54

203,1

2,87

306,1

3,18

-

-

0,06

-

-

35,1

1,98

75,4

2,40

125,5

2,56

222,5

3,15

335,3

3,48

-

-

0,07

-

-

37,9

2,14

81,5

2,59

147,7

3,01

240,4

3,40

-

-

-

-

0,08

-

-

40,5

2,29

87,1

2,77

157,8

3,22

-

-

-

-

-

-

0,09

-

-

43,0

2,43

92,4

2,94

-

-

-

-

-

-

-

-

0,10

15,3

1,95

45,3

2,56

97,4

3,10

-

-

-

-

-

-

-

-

0,12

-

-

49,7

2,81

106,7

3,39

-

-

-

-

-

-

-

-

0,15

18,7

2,39

55,5

3,14

-

 

-

-

 

-

-

-

-

-

Примечание. Приведенные в таблице значения расхода и скорости воды определены при коэффициенте шероховатости n = 0,014 и полном заполнении трубопроводов.

13. НАКОПИТЕЛИ-РЕГУЛЯТОРЫ И НАКОПИТЕЛИ-ИСПАРИТЕЛИ

Общие положения

13.1. Сооружения для аккумуляции и регулирования сброса воды от систем защиты носят названия накопители-регуляторы и накопители-испарители.

Для образования накопителей следует предусматривать насыпные плотины (дамбы), образующие путем ограждения территории земляные емкости, предназначенные для постоянного или временного аккумулирования сбрасываемых вод.

В составе накопителей, кроме плотин (дамб обвалования), следует предусматривать противофильтрационные устройства, дренажи, водосбросные сооружения.

13.2. Накопители в зависимости от рельефа местности, на которой их сооружают, могут быть балочно-овражного, косогорного, равнинного, пойменного, котлованного, котловинного или же смешанного (например, балочно-равнинный, пойменно-косогорный и др.) типов.

Накопитель балочно-овражного типа (черт. 129,а) образуют путем перегораживания оврага в низовой его части плотиной и сооружения в других местах по периметру сплошных или прерывистых дамб.

Накопитель косогорного типа (черт. 129,б) образуют на склонах водораздела путем ограждения участка территории дамбами с трех сторон.

Накопитель равнинного типа (черт. 129,в) образуют путем ограждения участка равнины дамбами.

Пойменный накопитель (черт. 129,г) образуют путем ограждения дамбами части поймы реки - при наличии высокой террасы ограждающие дамбы строят с трех сторон.

Котлованный накопитель располагают в котлованах старых карьеров или резервов. При этом возможно его сооружение без возведения дамбы.

Котловинный накопитель располагают в естественных котловинах. При этом возможно его сооружение без возведения дамбы или же требуется дамба малой высоты.

Решение о выборе типа накопителя следует принимать на основании технико-экономического сопоставления возможных вариантов.

13.3. Накопители-регуляторы предназначены для регулирования сброса вод от систем защиты в естественные поверхностные водотоки таким образом, чтобы обеспечить нормативное качество воды в створе ближайшего водопользования.

Накопители-испарители предназначены для обезвреживания солесодержащих вод, сбрасываемых от систем защиты.

Накопители-регуляторы

13.4. Регулирование сброса воды от систем защиты должно производиться оперативно приспособлением массоотведения к ходу свободной ассимилирующей способности. В регулировании участвует объем сточных вод, находящихся в полезной емкости накопителя (объем между уровнем мертвого объема и нормальным подпорным уровнем).

13.5. Нормативное качество воды должно соответствовать содержанию загрязняющих веществ в ней, равному одной дозе. Для единичного веществ эта доза соответствует предельно допустимой концентрации данного вещества (ПДК), г/л. Для нескольких веществ одного лимитирующего показателя вредности (ЛПВ) одна доза соответствует

                                                                (20)

где kr - фоновое содержание вещества в речной воде;

kst - предельно допустимая концентрация вещества.

13.6. По числу содержащихся примесей с учетом лимитирующих показателей вредности сбрасываемые от систем защиты воды следует подразделять на следующие типы:

с одной примесью определенного ЛПВ;

с двумя - тремя различными примесями, относящимися к разным ЛПВ;

с несколькими различными примесями одинакового ЛПВ;

с двумя - тремя группами примесей различных ЛПВ (число примесей в группе может быть любым, но внутри группы - примеси с одинаковым ЛПВ).

Описание: 129

Черт. 129. Типы накопителей

а - балочно-овражный; б - косогорный; в - равнинный; г - пойменный

13.7. Расчет накопителей-регуляторов заключается в определении величины полезной емкости, достаточной для обеспечения нормативного качества воды в створе ближайшего водопользования путем регулирования сброса сточных вод от систем защиты. Расчет следует выполнять по веществу или группе веществ одинакового ЛПВ, содержание которых в сбрасываемых от систем защиты водах, измеренное в единицах концентрации либо в дозах, требует наибольшей кратности разбавления до нормативных величин.

Кратность разбавления сбрасываемых вод, nr, определяется по формуле

                                                           (21)

где ks - концентрация вещества в сбрасываемой от систем защиты воде, г/л.

13.8. Сброс вод от систем защиты следует осуществлять весь год (круглогодичный сброс) или приурочивать к определенному периоду или сезону - чаще всего к весне, а для перемерзающих рек - к теплому периоду (сезонный сброс).

13.9. По глубине регулирования сброса сточных вод следует различать накопители годичного и многолетнего регулирования.

Годичное регулирование заключается в перераспределении подлежащих сбросу вод от систем защиты из маловодных сезонов года на многоводные.

При многолетнем регулировании требуется перераспределение объема сточных вод по годам - аккумулирование его части в маловодные годы с последующим отведением в многоводные.

13.10. Сброс вод от систем защиты в водные объекты основан на использовании их ассимилирующей способности.

Под ассимилирующей способностью водного объекта следует понимать его способность принимать определенную массу веществ в единицу времени без нарушения норм качества воды в контролируемом створе или пункте водопользования.

Следует различать полную ассимилирующую способность, соответствующую максимальной способности водного объекта к приему массы вещества без нарушения норм качества воды, используемую ее часть и свободную, равную разности между полной и используемой ассимилирующей способностью.

Регулирование сброса вод увеличивает использование свободной ассимилирующей способности водотока.

Свободную ассимилирующую способность водотока Aa следует определять по формуле

Aa = (kst - krrQrtr,                                                      (22)

где γr - коэффициент смешения, вычисляемый по формуле

                                                      (23)

Qr - средний расход воды в реке в рассматриваемом интервале времени, м3/с;

tr - расчетный интервал времени, с;

αr - коэффициент, учитывающий гидравлические условия в реке, вычисляемый по формуле

                                                         (24)

lr - расстояние от створа со сбросом воды от систем защиты до рассматриваемого створа по фарватеру реки, км;

Qst - сбросный расход воды от систем защиты, м3/с, определяемый по формуле

                                                      (25)

φr - коэффициент извилистости реки, вычисляемый по формуле

                                                                 (26)

здесь li - расстояние от створа со сбросом воды от систем защиты до рассматриваемого створа по прямой, км;

ξ - коэффициент, учитывающий местоположение сброса вод от систем защиты относительно берегов реки: при сосредоточенном сбросе вод от систем защиты у берегов ξ = 1, при сбросе вод на середине реки ξ = 1,5;

D - коэффициент турбулентной диффузии, вычисляемый по формуле

                                                        (27)

здесь g - ускорение силы тяжести, м/с2;

ν - средняя скорость течения воды на участке смешения речных и сбрасываемых от систем защиты вод, м/с;

dr - средняя глубина реки на участке смешения речных и сбрасываемых от систем защиты вод, м;

nr,r - коэффициент шероховатости русла реки, принимаемый по табл. 40;

Cch - коэффициент, принимаемый по формуле

                                                            (28)

Rr - гидравлический радиус, м, определяемый по формуле

                                                                      (29)

Sr - площадь живого сечения реки, м2;

u - смоченный периметр сечения реки, м.

Для широких рек величину гидравлического радиуса допускается принимать равной средней глубине реки.

Для зимних условий разбавления сбрасываемых от систем защиты вод вычисление коэффициента шероховатости русла реки, коэффициента Cch и гидравлического радиуса следует выполнять с учетом влияния ледового покрова по формулам:

                                              (30)

                                                               (31)

Rr,w = 0,5dr,                                                                 (32)

где nr,i - коэффициент шероховатости нижней поверхности льда, определяемый по табл. 41.

Таблица 40

Характеристика русел и пойм

Коэффициент шероховатости nr,r

Русла естественные в благоприятных условиях (чистое, прямое, незасоренное, земляное, со свободным течением)

0,025 - 0,033

То же, с камнями

0,03 - 0,04

Русла периодических потоков (больших и малых) при очень хорошем состоянии поверхности и правильной форме ложа

0,033

То же, с крупногалечниковым или покрытым растительностью ложем, несущих во время паводка заметное количество наносов, а также сильно засоренных и извилистых

0,05

Русла земляные сухих логов в относительно благоприятных условиях

0,04

Ложе чистое извилистое с небольшим числом промоин и отмелей

0,033 - 0,045

То же, слегка заросшее и с камнями

0,035 - 0,05

Русла участков рек, значительно заросших, с очень медленным течением и глубокими промоинами

0,05 - 0,08

То же, болотного типа (заросли, кочки, во многих местах почти стоячая вода и др.)

0,075 - 0,15

Поймы больших и средних рек, сравнительно разработанные, покрытые растительностью (трава, кустарник)

0,05

Поймы, значительно заросшие, со слабым течением и большими глубокими промоинами

0,08

То же, с сильно неправильным косоструйным течением, заводями и др.

0,10

Поймы лесистые, с очень большими мертвыми пространствами, местными углублениями, озерами и др.

0,133

Поймы глухие, сплошные заросли (лесные, таежного типа)

0,2

Таблица 41

Периоды ледостава

Коэффициент шероховатости nr,i

1. Первые 10 дн. после ледостава (первая - вторая декады декабря)

0,15 - 0,05

2. 10 - 20 дн. после ледостава (последняя декада декабря - начало января)

0,1 - 0,04

3. 20 - 60 дн. после ледостава (середина января - первая декада февраля)

0,05 - 0,03

4. 60 - 80 дн. после ледостава (конец февраля - начало марта)

0,04 - 0,015

5. 80 - 100 дн. после ледостава (март)

0,025 - 0,01

Примечание. Для подпертых речных бьефов данные поз. 1 и 2, отвечающие рекам в бытовых условиях, следует уменьшать на 15 %, а данные поз. 3 и 4 - на 35 %.

13.11. При проектировании сброса вод от систем защиты в водные объекты необходимо предусматривать мероприятия по интенсификации перемешивания речных и сбрасываемых от систем защиты вод (сооружение рассеивающих выпусков, струенаправляющих дамб и др.) с тем, чтобы коэффициент смешения приближался к единице. Такие мероприятия по экономическим соображениям, как правило, предпочтительнее альтернативного варианта увеличения полезной емкости накопителя.

13.12. В результате сопоставления массы примесей, намеченных к отведению в водоток, с его свободной ассимилирующей способностью должна быть выявлена необходимость регулирования сбрасываемых вод, устройства накопителя годичного или многолетнего регулирования.

13.13. При круглогодичном отведении сбрасываемых от систем защиты вод устройство накопителя не требуется, если месячная масса примесей в сбрасываемых водах не превышает свободную ассимилирующую способность реки в месяце наименьшей водности года 95 %-ной обеспеченности. В противном случае возникает необходимость в годичном или многолетнем регулировании.

Годичного регулирования достаточно, если годовая масса примесей в сбрасываемых от систем защиты водах не превышает годовую величину свободной ассимилирующей способности в году 95 %-ной обеспеченности; при обратном соотношении требуется многолетнее регулирование.

13.14. При сезонном отведении сбрасываемых от систем защиты вод накопитель аккумулирует воды в периоды от окончания предыдущего до начала последующего сбросов и осуществляет регулирующие функции в сбросные периоды. В связи с этим при сезонном отведении устройство накопителя обязательно.

Годичное регулирование при сезонном отведении необходимо, если годовая масса примесей не превышает свободной ассимилирующей способности реки, рассчитанной по водности сбросного периода в году 95 %-ной обеспеченности, многолетнее регулирование - при невыполнении этого условия.

13.15. Приближенное определение полезной вместимости накопителя V2, м3, годичного регулирования следует производить по маловодному году 95 %-ной обеспеченности путем поинтервального решения балансового уравнения накопителя:

V2 = V1 + (Qs - Qst)tr - hl,eAp,m - (Vl,f + Vab),                                   (33)

где V1, V2 - наполнение накопителя в начале и конце рассматриваемого периода, м3;

hl,e - слой видимого испарения (разность слоя испарения с поверхности накопителя и слоя осадков на эту поверхность) за интервал, м;

Qs - приток сбрасываемых вод от систем защиты в накопитель, м3/с;

Ap,m - площадь зеркала накопителя, средняя в рассматриваемом периоде, м2;

Vl,f - фильтрационные потери из накопителя за интервал, м3;

Vab - объем забираемой воды из накопителя за интервал, м3.

Определение сбросного расхода воды от систем защиты следует выполнять по итеративной схеме, принимая в качестве первого приближения сбросный расход воды от систем защиты, соответствующий полному перемешиванию речных и сбросных вод, т.е. γr = 1.

Расчет баланса накопителя следует вести с конца сбросного периода, когда полезная вместимость сработана до нуля. В первый расчетный интервал начальное наполнение следует принимать равным мертвому объему, в последующие интервалы конечное наполнение предыдущего интервала принимается за начальное для последующего. Расчеты следует вести по месяцам, а в периоды резкого изменения ассимилирующей способности водотока - по пятидневкам или декадам.

Наибольшее наполнение, достигнутое в каком-либо интервале, соответствует искомой вместимости накопителя.

13.16. Приближенное определение полезной вместимости накопителя многолетнего регулирования Va, м3, следует выполнять по формуле

Va = Van + Vhol                                                             (34)

где Van - сезонная составляющая вместимости накопителя, м3;

Vhol - многолетняя составляющая вместимости накопителя, м3.

Сезонную составляющую вместимости накопителя Van следует определять по формулам:

при сезонном сбросе

Van = tdrQs,y,                                                           (35)

где tdr - доля периода низкого речного стока за год;

Qs,y - приток сбросных вод от систем защиты за год, м3;

при круглогодичном сбросе

                         (36)

где mdr - доля низкого стока в годовом стоке реки;

hr,1 - кратность разбавления сбросных вод от систем защиты до нормативных величин в период низкого стока реки;

nr,2 - кратность разбавления сбрасываемых от систем защиты вод до нормативных величин в период половодья.

Для нахождения многолетней составляющей вместимости необходимо определить:

кратность разбавления nr сбрасываемых от систем защиты вод;

объем воды Vst, м3, необходимый для разбавления годового объема сбрасываемых от систем защиты вод, при заданной кратности их разбавления по формуле

                                                    (37)

требуемый коэффициент регулирования речного стока αc по формуле

                                                            (38)

где Vr - среднемноголетний объем речного стока за сбросный период, м3;

коэффициент вариации речного стока Cv за сбросный период;

по графикам черт. 130 для найденных значений коэффициентов регулирования и вариации речного стока коэффициент многолетней составляющей емкости водохранилища βhol, соответствующий обеспеченности водопотребления Pp = 95 %;

многолетнюю составляющую вместимости водохранилища по формуле

Vhol = βholVr.                                                             (39)

Описание: 130

Черт. 130. Графики функции βhol = fcCν)

Многолетнюю составляющую вместимости накопителя следует определять по формуле

                                                                (40)

13.17. Уточненный способ определения полезной вместимости накопителя-регулятора базируется на методе статистических испытаний (методе Монте-Карло) и включает:

моделирование ряда речного стока достаточно большой длительности (не менее 1000 лет);

решение уравнения баланса сбрасываемых от систем защиты вод в накопителе и расчет показателей качества воды в створе водопользования, т.е. регулирование сбрасываемых вод по интервалам за весь смоделированный ряд;

статистическую обработку результатов регулирования сброса.

Моделирование ряда речного стока в виде средне-интервальных расходов воды следует осуществлять методами, разработанными в теории регулирования речного стока.

Расчет баланса сбрасываемых от систем защиты вод и показателей качества воды в створе водопользования следует выполнять поинтервально по формулам:

для объема сбрасываемых от систем защиты вод Yj за j-й интервал

                                 (41)

где Vs,st - располагаемые запасы сбрасываемых от систем защиты вод, м3;

Va - полезная вместимость накопителя-регулятора, м3;

для наполнения накопителя Zj+1 на конец j-го интервала

                      (42)

для концентрации вещества в речной воде в створе водопользования с учетом сбрасываемой воды от систем защиты kj за j-й интервал

                                                (43)

Располагаемые запасы вод Vs,st,j, сбрасываемых от систем защиты, определяются по формуле

Vs,st,j = Zj + Qs,j - Vl,f,j - Vl,e,j - Vab,                               (44)

где Zj - наполнение накопителя-регулятора на конец j-го интервала;

VI,e - объем потерь воды из накопителя на испарение, м3.

Статистическую обработку результатов следует проводить после регулирования сброса вод от систем защиты. Последняя строка в уравнениях (41) и (42) соответствует превышению концентрации примеси в речной воде над ПДК, т.е. случаю перебоя в соблюдении норм качества воды.

Обеспеченность соблюдения норм качества воды (по числу бесперебойных лет) Pp следует определять по формуле

                                                           (45)

где N - длительность смоделированного ряда речного стока, лет;

N1 - число лет с нарушением норм качества воды (независимо от числа перебойных интервалов внутри года).

Расчет обеспеченности необходимо выполнять при нескольких значениях полезной вместимости. Окончательно искомая полезная вместимость определяется интерполяцией по рассчитанной зависимости Va(Pp) при Pp = 95 %.

Пример 31. Определить полезную вместимость накопителя-регулятора годичного регулирования при следующих исходных данных: годовой объем сбрасываемых от систем защиты вод составляет 6 млн. м3 с равномерным внутригодовым распределением. Концентрация расчетного вещества в сбрасываемых от систем защиты водах равна 43 г/л, ПДК этого вещества - 0,35 г/л. Отведение сбрасываемых от систем защиты вод осуществляется непрерывно, круглогодично. Забор сбрасываемых вод не предусматривается. Средняя в расчетном году фоновая концентрация вещества составляет 0,07 г/л, а в месяце наименьшей водности расчетного года - 0,18 г/л. Среднегодовой расход воды 95 %-ной обеспеченности составляет 50,5 м3/с, распределение водности и потерь из накопителя по месяцам приведены в табл. 42.

Накопитель проектируем призматической формы с площадью зеркала 1 млн. м2.

Коэффициент смешения принимаем равным единице исходя из значительного удаления створов сброса вод от систем защиты и водопользования, а также интенсификации процесса перемешивания с помощью рассеивающего выпуска.

Годовое количество вещества Gy в водах, сбрасываемых от систем защиты, составит:

Gy = 6,0·106·43 = 258·106 кг/год.

Месячное количество вещества Gm в водах, сбрасываемых от систем защиты, составит:

Gm = 0,5·106·43 = 21,5·106 кг/мес.

Величина свободной ассимилирующей способности реки за расчетный год 95 %-ной обеспеченности Aa,y по формуле (22) составит:

Aa,y = (0,35 - 0,07)50,5·31,56·106 = 446·106 кг/год.

Таблица 42

Водность и потери из накопителя

Месяцы

V

VI

VII

VIII

IX

X

XI

XII

I

II

III

IV

Начальный объем, млн. м3

0,000

0,197

0,360

0,563

0,800

1,190

1,592

1,967

2,333

2,584

2,387

1,440

Фоновая концентрация вещества, г/л

0,115

0,109

0,126

0,137

0,178

0,160

0,144

0,140

0,115

0,075

0,056

0,027

Расход воды в реке, м3

18,8

21,2

15,7

13,3

7,9

9,7

12,1

12,7

18,8

44,2

80,0

352,0

Необходимая кратность разбавления сбрасываемых вод

182

177

190

200

248

224

207

203

181

155

145

132

Расчетные потери:

слой, мм

27

26

75

83

27

-17

-28

-35

-30

-47

-42

3

объем, млн. м3

0,027

0,026

0,075

0,083

0,027

-0,017

-0,028

-0,035

-0,030

-0,047

-0,042

0,003

Расход сбрасываемых вод от систем защиты, м3

0,104

0,120

0,083

0,067

0,032

0,043

0,059

0,063

0,104

0,287

0,556

2,687

Объем сбрасываемых вод от систем защиты, млн. м3

0,276

0,311

0,222

0,180

0,083

0,115

0,153

0,169

0,279

0,744

1,489

6,965

Конечный объем, млн. м3

0,197

0,360

0,563

0,800

1,190

1,592

1,967

2,333

2,584

2,387

1,440

0,000

Величина свободной ассимилирующей способности реки в месяц наименьшей водности этого года Aa,m по формуле (22) составит:

Aa,m = (0,35 - 0,18)7,87·2,63·106 = 3,52·106 кг/мес.

Из условия Aa,m = 3,52·106 кг/мес < Gm = 21,5·106 кг/мес следует, что необходимо регулирование сбрасываемых от систем защиты вод, а из условия Aa,y = 446·106 кг/год > Gy = 258·106 кг/год достаточность годичного регулирования.

Расчет накопителя начинаем с мая, так как за февраль - апрель он полностью срабатывается.

Для определения наполнения накопителя на конец мая определяем:

по формуле (21) кратность разбавления сбрасываемых от систем защиты вод nr:

по формуле (25) сбросный расход воды от систем защиты Qst:

Наполнение накопителя по формуле (33) на конец мая составит 0,197 млн. м3. Принимая это наполнение за начальное для июня, расчет выполняем для июня и так для всех месяцев до конца года.

Результаты определения полезной вместимости накопителя сведены в табл. 42.

Окончательно полезная вместимость накопителя составляет 2,584 млн. м3 как наибольшее наполнение, приходящееся на январь.

Пример 32. Определить полезную вместимость накопителя-регулятора многолетнего регулирования при следующих исходных данных.

Годовой объем сбрасываемых от систем защиты вод составляет 0,9 млн. м3 с равномерным внутригодовым распределением. Концентрация расчетного вещества в сбрасываемых водах равна 50 г/л, ПДК этого вещества - 0,35 г/л. Отведение вод намечено осуществлять непрерывно, круглогодично. Норма речного стока - 9,15 м3/с (289 млн. м3/год), коэффициент вариации годового стока 0,574, среднегодовой расход года 95 %-ной обеспеченности - 2,55 м3/с, длительность периода низкого стока в году - 0,75, доля меженного стока в годовом стоке - 0,40, средняя водность межени и весны равна соответственно 4,90 и 21,9 м3/с с концентрацией вещества 0,184 и 0,096 г/л; фоновая концентрация вещества для среднего и маловодного года равна 0,165 г/л.

Определяем годовое количество расчетного вещества Gy в сбрасываемых водах, а также величину свободной ассимилирующей способности реки в средний и маловодный годы Aa,о и Aa,y:

Gy = 0,9·50·106 = 45·106 кг/год;

Aa,о = (0,35 - 0,165)9,15·31,56·106 = 53,4·106 кг/год;

Aa,y = (0,35 - 0,165)2,55·31,56·106 = 14,9·106 кг/год.

Регулирование сброса с соблюдением ПДК в речной воде осуществить можно, так как Aa,о > Gy. Неравенство Aa,y < Gy указывает на необходимость многолетнего регулирования сброса.

Определяем по формуле (21) кратность разбавления сточных вод nr1, nr2 до ПДК в межень и весну

Определяем по формуле (36) сезонную составляющую полезной вместимости Van

Van = [(1 - 0,4)0,75 - (1 - 0,75)0,4×197/301]0,9·106 = 0,346·106 м3.

Определяем кратность разбавления сбрасываемых от систем защиты вод nr до ПДК

Потребность в воде Vst при найденной кратности разбавления сбрасываемых вод составит;

Vst = 269·0,9 = 242 млн. м3.

Определяем по формуле (38) коэффициент регулирования речного стока αс

αс = 242:289 = 0,837.

Определяем по зависимости на черт. 129 при αс = 0,837 и Сy = 0,574 коэффициент βhol многолетней составляющей вместимости водохранилища

βhol = 1,8.

Определяем по формуле (39) многолетнюю составляющую вместимости водохранилища Vhol,r

Vhol,r = 1,8·289 = 520 млн. м3.

Определяем по формуле (40) многолетнюю составляющую вместимости накопителя Vhol

Vhol = 520:269 = 1,933 млн. м3.

Полезная вместимость накопителя-регулятора Va по формуле (34) составит:

Va = 0,346·106 + 1,933·106 = 2,279·106 м3.

Пример 33. Определить полезную вместимость накопителя методом статистических испытаний (методом Монте-Карло) при следующих исходных данных.

Коэффициент вариации исходного (наблюденного) ряда годового стока равен 0,3, норма годового стока - 206 млн. м3, годовой объем сбрасываемых от системы защиты вод - 0,6 млн. м3, ПДК расчетного вещества - 0,35 г/л, концентрация этого вещества в сбрасываемых от систем защиты водах - 60 г/л, длительность искусственного стокового ряда принята равной 1000 годам.

Смоделированный стоковый ряд характеризуется коэффициентом вариации - 0,296 и нормой годового стока - 206,6 млн. м3.

Регулирование сбрасываемых от систем защиты вод выполнено по месяцам при шести значениях полезной вместимости накопителя-регулятора, в результате получено шесть величин обеспеченности норм качества воды:

Va, млн. м3

0,24

0,27

0,30

0,33

0,36

0,39

Pp, %

79,9

81,5

91,4

95,5

96,1

97,1

Интерполяцией находим, что при Pp = 95 % искомый полезный объем накопителя-регулятора равен 0,326 млн. м3.

Накопители-испарители

13.18. Накопители-испарители следует сооружать в зонах с жарким засушливым климатом, где испарение с водной поверхности значительно превышает осадки.

В накопителях-испарителях локализуются соленые воды, сбрасываемые от систем защиты, представляющие собой растворы легкорастворимых солей, не содержащие поверхностно-активных веществ, масел, нефтепродуктов и других примесей в виде плавающих на поверхности пленок.

13.19. Расчет накопителей-испарителей заключается в установлении для заданного периода эксплуатации площади зеркала и высоты ограждающих дамб для искусственно создаваемой емкости путем обвалования, высоты плотины для емкости заданной конфигурации (перегороженные плотинами балки и овраги, естественные бессточные понижения).

13.20. При расчете накопителя-испарителя реальный многокомпонентный раствор сбрасываемых от систем защиты вод следует заменять модельной солевой системой, состоящей из раствора одной соли или двух солей с общим ионом. Остальные соли следует суммировать с преобладающими солями с учетом сходства физико-химических свойств (растворимости, активности воды в растворе, плотности раствора и др.).

Для полученной солевой системы должны быть установлены следующие данные:

концентрация каждой соли в водах, сбрасываемых от систем защиты;

масса чистой воды и каждой из растворенных солей, поступающих в накопитель за интервал;

морфометрические характеристики чаши накопителя;

упругость водяных паров в воздухе на высоте 200 см над водной поверхностью;

максимальная упругость водяных паров, вычисленная по температуре поверхности пресной воды (температура рассчитывается или принимается по водоему-аналогу);

количество осадков на зеркало накопителя;

объем испарения пресной воды с поверхности накопителя;

диаграмма взаимной растворимости солей;

зависимость плотности раствора каждой соли от концентрации соли;

зависимость активности воды в бинарном растворе каждой соли от концентрации соли;

концентрация соли в эвтонике;

плотность каждой соли в сухом состоянии.

Гидрометеорологические характеристики следует принимать среднемноголетними.

13.21. Расчет накопителей-испарителей следует выполнять поинтервальным решением водно-соле-балансовых уравнений, в результате которого поинтервально, нарастающим итогом определяется остаток сбрасываемых от систем защиты вод в накопителе. Указанные уравнения решаются в такой последовательности.

Допустим, что неизвестные заранее конечные концентрации первой соли k1e(1) и второй соли k2e(1), %, площадь зеркала Ap,e(1) м2, равны соответствующим начальным концентрациям первой соли k1b и второй соли k2b, %, площади зеркала Ap,b, м2, а наполнение накопителя V2(1) = 0.

При достаточно коротком расчетном интервале допускается принимать изменение концентраций солей и площади зеркала в интервале линейным. Тогда средние концентрации первой соли k1 и второй соли k2, %, и средняя площадь зеркала Ap,m, м2, определяются по формулам:

                                                      (46)

Затем следует определить активность воды, т.е. коэффициент, показывающий относительное снижение упругости водяных паров над раствором по сравнению с упругостью их над чистой водой. Если расчетная модельная система представляет собой раствор одной соли, то активность воды следует определять интерполяцией по зависимости aa = f(k1). Для трехкомпонентных систем активность воды следует определять графическим способом с использованием семейства изопьет (черт. 131), где искомая активность соответствует точке с координатами k1 и k2, или численным способом.

Описание: 131

Черт. 131. Изопьеты в трехкомпонентной солевой системе

При численном способе сначала принимается приближенное значение активности a'a, соответствующей суммарной концентрации солей k1 и k2 в предположении, что это бинарный раствор компонента с большей концентрацией в растворе. По приближенному значению a'a по таблицам зависимости aa = f(k1) и aa = f(k2) для бинарных растворов солей находятся концентрации k'1,0 и k'2,0 а затем вычисляется сумма

                                                            (47)

и значения k1,0 и k2,0:

k1,0 = k'1,0A', k2,0 = k'2,0A'.                                            (48)

Затем по таблицам зависимости aa = f(k1) и aa = f(k2) для бинарных растворов солей для значений концентраций k1,0 и k2,0 находятся значения aa1 и aa2. Окончательно искомая активность воды определяется по формуле

                                                (49)

Переходный коэффициент от испарения чистой воды к испарению раствора re вычисляется по формуле

                                                    (50)

где Фmax - максимальная упругость водяных паров, соответствующая температуре поверхности пресной воды, кПа;

Ф200 - упругость водяных паров в воздухе на высоте 200 см над испаряющей поверхностью, кПа.

Объемы испарившейся воды Vl,e и осадков Vp, м3, выпадающих на поверхность накопителя, определяются по формулам:

                                                           (51)

где he - высота слоя испарения пресной воды, м;

hp - величина слоя осадков, выпадающих на поверхность накопителя, м.

Объем потерь на фильтрацию из накопителя Vl,f, м3, определяется по формулам:

при фильтрационных потерях в виде слоя

Vl,f = Ap,mhl,f,                                                          (52)

где hl,f - величина слоя, м;

при фильтрационных потерях в процентах от имеющегося объема жидкости в накопителе

Vl,f = 0,005Pf(V1 + V2(1)),                                                   (53)

где Pf - фильтрационные потери в процентах.

Объем чистой воды Vw,e, м3, и масса каждой соли G1e, G2е, кг, в накопителе к концу интервала определяются по формулам:

Vw,e = Vw,b + Vw,s + Vp + Vw,l - Vl,e - Vl,f;                                     (54)

                                               (55)

где Vw,b - объем воды в накопителе-испарителе в начале интервала, м3;

Vw,s - объем чистой воды, поступившей в накопитель со сбросными водами от систем защиты, м3;

Vw,l - объем притока в накопитель с местного водосбора за рассматриваемый период, м3;

G1b - масса первой соли в накопителе-испарителе в начале рассматриваемого периода, кг;

G2b - масса второй соли в накопителе-испарителе в начале рассматриваемого периода, кг;

G1e - масса первой соли в накопителе-испарителе в конце рассматриваемого периода, кг;

G2e - масса второй соли в накопителе-испарителе в конце рассматриваемого периода, кг;

G1 - масса первой соли поступившей в накопитель-испаритель за период, кг;

G2 - масса второй соли поступившей в накопитель-испаритель за период, кг.

В случае расходования объема чистой воды полностью на испарение и фильтрацию (Vw,e 0) соли находятся в сухом виде (с некоторым допущением - в насыпном состоянии), объем, занимаемый каждой солью V1с, V2с, м3, следует определять по формулам:

                                                         (56)

где ρ1f и ρ2f - плотность первой и второй соли в насыпном состоянии, кг/м3.

Наполнение накопителя V2(2) равно:

V2(2) = V1c + V2c.                                                           (57)

Концентрацию каждой соли, %, следует определять по формулам:

                                                            (58)

Объем воды Vl,e, м3, расходуемый на испарение, составит;

Vl,e = Vw,b + Vw,s + Vp + Vw,l - Vl,f                                             (59)

Формулы (57) и (58) дают второе приближение конечного наполнения накопителя и концентрации солей при полном усыхают раствора.

В случае расходования объема чистой воды на испарение и фильтрацию не полностью (Vw,е > 0) концентрацию солей во втором приближении следует определять по формулам:

                                                                  (60)

где Gt - общая масса воды и солей в накопителе, кг, определяемая по формуле

Gt = G1e + G2e + Vw,e.                                                            (61)

Концентрация солей, определяемая по формулам (60), представляет собой координаты точки состояния системы на диаграмме совместной растворимости.

Построение диаграммы растворимости следует выполнять таким образом, чтобы луч OP испарения данного раствора находился выше луча OL, соединяющего начало координат с эвтонической точкой (черт. 132), что достигается соответствующим выбором осей координат для той или другой соли. При таком построении диаграммы состояние насыщения всегда будет наступать сначала по второй соли, расположенной по оси ординат и, следовательно, если раствор насыщен первой солью, то он насыщен также и второй, т.е. точка состава системы находится в эвтонике.

Определяем растворимость k2s по данным о совместной растворимости двух рассматриваемых солей при концентрации первой соли, равной k1e(2). Возможны три состояния системы к концу интервала:

k1e(2)k1eut - раствор насыщен обеими солями (эвтонический);

k1e(2) < k1eut и k2e(2) k2s - раствор насыщен только по второй соли;

k1e(2) < k1eut и k2e(2) < k2s - раствор ненасыщен ни по одной из солей.

Здесь k1eut - концентрация первой соли в эвтонической точке.

Порядок установления конечного наполнения накопителя для каждого состояния системы следующий:

а) при насыщении раствора обеими солями:

определяется масса каждой соли в осадке (кристаллах) и масса раствора Сs, кг, по формулам:

                                                        (62)

определяется плотность раствора ρs, кг/м3, двух солей по плотности раствора каждой соли по формуле

Описание: 1

Черт. 132. Схемы фазовых состояний трехкомпонентной солевой системы

а - насыщение раствора двумя солями; б - насыщение раствора второй солью; в - при отсутствии насыщения раствора солями

                                                      (63)

где k2eut - концентрация второй соли в эвтонической точке, %;

ρ1 и ρ2 - соответственно плотность растворов солей, определяемая при концентрации k1eut + k2eut по зависимости плотности раствора каждой соли от концентрации, кг/м3;

определяется второе приближение расчета наполнения накопителя V2(2), м3, к концу рассматриваемого периода по формуле

                                                  (64)

где ρ1c и ρ2c - соответственно плотности первой и второй соли в кристаллическом состоянии, кг/м3;

ρs - плотность раствора обеих солей модельной системы, кг/м3;

б) при насыщении раствора только второй солью определяется масса второй соли G2е, кг, в кристаллах и масса раствора Gs, кг, по формулам:

                                              (65)

определяется плотность раствора ρs, кг/м3, по формуле

                                                          (66)

где плотность растворов каждой соли ρ1, ρ2 принимается по концентрации k1e(2) + k2s;

определяется второе приближение расчета наполнения накопителя V2(2), м3, к концу рассматриваемого интервала времени по формуле

                                                       (67)

в) при отсутствии насыщения раствора солями: устанавливается масса раствора

Gs = Gt;

определяется плотность раствора по формуле

                                                         (68)

где плотность растворов каждой соли ρ1, ρ2 принимается по концентрации k1e(2) + k2e(2);

определяется второе приближение расчета наполнения накопителя к концу рассматриваемого периода по формуле

                                                                 (69)

Полученное по одной из формул (57), (64), (67), (69) второе приближение наполнения накопителя проверяется на точность расчета:

при |V2(2) - V2(1)| ≤ εp, где εp - допускаемая точность расчета, следует перейти к определению наполнения накопителя в следующем периоде, приняв при этом за начальные значения концентрации солей и площадь зеркала, полученные при последней итерации на предыдущем интервале времени;

при |V2(2) - V2(1)| > εp следует выполнить последующую итерацию, предварительно определив по величине V2(2) площадь Ap,е(2) и заменив значения величин k1e(1), k2e(1), V2(1) и Ap,е(1) значениями k1e(2), k2e(2), V2(2) и Ap,е(2).

Расчет заканчивается при исчерпании заданного числа расчетных периодов, соответствующего длительности периода эксплуатации накопителя или при достижении заданного максимально допустимого наполнения.

Пример 34. Определить объем и плотность раствора и глубину жидкости в накопителе-испарителе к концу 25-летнего периода его эксплуатации. Площадь накопителя-испарителя составляет 25 км2. Количество и состав вод, сбрасываемых от систем защиты в накопитель-испаритель, приведены в табл. 43, средние многолетние гидрометеорологические показатели для района расположения накопителя - в табл. 44.

Таблица 43

Расчетный период, лет

Объем сбросных вод, млн. м3/год

Концентрация солей, г/л

NaCl

CaCl2,

1

3,26

8,3

-

2

6,05

6,4

6,8

3

8,84

6,4

6,8

4

11,90

6,4

6,8

5 - 25

14,70

6,4

6,8

Таблица 44

Гидрометеорологические показатели

Полугодие

теплое (IV - IX)

холодное (X - III)

Температура воздуха, °С

21,70

4,40

Абсолютная влажность воздуха, г/м3

6,80

6,20

Скорость ветра (приведенная к высоте 2 м над поверхностью земли), м/с

1,23

1,44

Температура поверхности воды (по данным для ближайшего мелководного озера), °С

20,30

7,20

Максимальная упругость пара (по температуре воды), кПа

2,38

1,02

Испарение из пресного водоема, мм

820,00

323,00

Осадки, мм

75,00

207,00

Расчет выполняем для обоих полугодий каждого года способом последовательных приближений (без учета фильтрации).

Активность воды в растворе aa определяем по средним за сезон концентрациям в накопителе отдельно для каждой соли - NaCl и CaCl2.

Из расчетов, результаты которых сведены в табл. 45, следует, что в накопителе-испарителе к концу 25-летнего периода его эксплуатации плотность раствора составит 1,13 т/м3, объем, занимаемый раствором, - 24,3·106 м3, а глубина жидкости в накопителе - 1 м.

Таблица 45

Год

Сезон (полугодие)

Средняя за сезон концентрация солей в накопителе, %

Испарение из накопителя, млн. м3

Остаток чистой воды в накопителе к концу сезона, млн. м3

Нарастающее количество солей в накопителе, млн. т

 

NaCl

CaCl2

Сумма солей

NaCl

CaCl2

 

1972

Теплый

-

-

-

0,00

0,014

-

0,014

 

Холодный

-

-

-

0,00

0,028

-

0,028

 

1973

Теплый

8,45

3,51

4,89

0,00

0,048

0,020

0,068

 

Холодный

7,38

4,33

6,55

1,63

0,068

0,040

0,108

 

1974

Теплый

9,80

7,15

7,92

0,00

0,096

0,070

0,166

 

Холодный

6,73

5,43

6,35

3,23

0,124

0,100

0,224

 

1975

Теплый

8,46

7,31

11,05

0,00

0,162

0,140

0,302

 

Холодный

7,02

6,32

6,15

4,95

0,200

0,180

0,380

 

1976

Теплый

8,37

7,80

14,17

0,00

0,247

0,230

0,477

 

Холодный

7,54

7,18

5,85

6,66

0,294

0,280

0,574

 

1977

Теплый

8,51

8,25

15,88

0,00

0,341

0,330

0,671

 

Холодный

8,82

8,64

5,25

7,26

0,388

0,380

0,768

 

1978

Теплый

9,33

9,23

16,16

0,32

0,435

0,430

0,865

 

Холодный

9,34

9,30

4,94

7,89

0,482

0,480

0,962

 

1979

Теплый

9,40

9,40

16,05

1,25

0,529

0,530

1,059

 

Холодный

9,34

9,40

4,85

8,80

0,576

0,580

1,156

 

1980

Теплый

9,40

9,52

16,10

1,92

0,623

0,630

1,253

 

Холодный

9,44

9,58

4,85

9,58

0,670

0,680

1,350

 

1981

Теплый

9,45

9,62

16,10

2,70

0,717

0,730

1,447

 

Холодный

9,45

9,65

4,82

10,40

0,764

0,780

1,544

 

1982

Теплый

9,38

9,60

16,00

3,62

0,811

0,830

1,641

 

Холодный

9,35

9,57

4,85

11,28

0,858

0,880

1,738

 

1983

Теплый

9,31

9,56

16,00

4,50

0,905

0,930

1,835

 

Холодный

9,30

9,55

4,87

12,14

0,952

0,980

1,932

 

1984

Теплый

9,26

9,56

16,00

5,36

0,999

1,030

2,029

 

Холодный

9,25

9,56

4,87

13,00

1,046

1,080

2,126

 

1985

Теплый

9,22

9,54

16,00

6,22

1,093

1,130

2,223

 

Холодный

9,21

9,53

4,87

13,90

1,140

1,180

2,320

 

1986

Теплый

9,20

9,53

16,00

7,12

1,187

1,230

2,417

 

Холодный

9,20

9,54

4,91

14,72

1,234

1,280

2,514

 

1987

Теплый

9,22

9,60

16,15

7,79

1,281

1,330

2,611

 

Холодный

9,29

9,65

4,85

15,40

1,328

1,380

2,708

 

1988

Теплый

9,29

9,65

16,00

8,62

1,375

1,430

2,805

 

Холодный

9,25

9,65

4,85

16,28

1,422

1,480

2,902

 

1989

Теплый

9,26

9,65

16,04

9,46

1,469

1,530

2,999

 

Холодный

9,25

9,65

4,85

17,12

1,516

1,580

3,096

 

1990

Теплый

9,25

9,64

16,04

10,30

1,563

1,630

3,193

 

Холодный

9,25

9,65

4,85

17,96

1,610

1,680

3,290

 

1991

Теплый

9,24

9,65

16,04

11,14

1,657

1,730

3,387

 

Холодный

9,23

9,65

4,85

18,80

1,704

1,780

3,484

 

1992

Теплый

9,22

9,65

16,04

11,98

1,751

1,830

3,581

 

Холодный

9,23

9,65

4,85

19,64

1,798

1,880

3,678

 

1993

Теплый

9,22

9,65

16,04

12,82

1,845

1,930

3,775

 

Холодный

9,22

9,65

4,85

20,48

1,892

1,980

3,872

 

1994

Теплый

9,22

9,65

16,04

13,66

1,939

2,030

3,969

 

Холодный

9,21

9,65

4,85

21,32

1,986

2,080

4,066

 

1995

Теплый

9,20

9,64

16,04

14,50

2,033

2,130

4,163

 

Холодный

9,20

9,65

4,85

22,16

2,080

2,180

4,260

 

1996

Теплый

9,20

9,65

16,04

15,34

2,127

2,230

4,357

 

Холодный

9,20

9,65

4,85

23,00

2,174

2,280

4,454

 

ЧАСТЬ IV. РАСЧЕТ ВОДОПОНИЗИТЕЛЬНЫХ (ДРЕНАЖНЫХ) СИСТЕМ (к СНиП 2.06.14-85 и СНиП 2.02.01-83)

14. ГРАВИТАЦИОННОЕ ВОДОПОНИЖЕНИЕ

Общие указания

14.1. Для расчета водопонижения необходимо схематизировать природные условия и водопонизительную систему. Толщу горных пород следует разделить на условно-однородные водоносные и водоупорные (или условно-водоупорные) слои. Водоносный слой может быть принят неограниченным, ограниченным (полностью или частично) контуром питания или водонепроницаемым контуром. Питание водоносных слоев может быть предусмотрено за счет притока подземных вод из водоема или водотока, инфильтрации атмосферных осадков, перетекания из одного водоносного слоя в другой.

Водопонизительная система схематизируется по этапам развития и приводится, как правило, к одной из следующих схем: кольцевой, неполнокольцевой, линейной или групповой (не приведенной к схеме круга или прямой линии).

14.2. Расчеты водопонижения производятся для установившегося и неустановившегося режимов фильтрации. Расчеты для установившегося режима должны выполняться, как правило, во всех случаях (за исключением водопонижения в закрытых водоносных слоях, не имеющих питания). Расчеты по неустановившемуся режиму выполняются для периода с начала откачки до наступления установившегося режима, определяемого в зависимости от условий питания водоносных слоев.

В закрытых водоносных слоях, не имеющих питания, расчет ведется только по неустановившемуся режиму.

14.3. Общий порядок расчета водопонизительной (дренажной) системы следующий:

устанавливается требуемое понижение уровня подземных вод (в зависимости от поставленной задачи водопонижения);

производится расчет притока к водопонизительной (дренажной) системе;

определяются параметры водопонизительной системы (число скважин, их глубина, производительность, диаметр, положение динамических уровней воды в скважинах, диаметр и пропускная способность трубчатых дренажей, параметры других водопонизительных устройств), исходя из общего притока определяются ординаты и производится построение депрессионных поверхностей подземного потока;

подбирается оборудование и рассчитываются водоотводящие устройства.

14.4. Приток подземных вод к водопонизительной системе следует определять в зависимости от требуемого понижения уровня подземных вод в расчетной точке по формуле

                                                                 (70)

Средняя глубина фильтрационного потока h, м, определяется:

при напорной фильтрации

                                                                 (71)

при безнапорной фильтрации

                                                            (72)

при напорно-безнапорной фильтрации

                                                 (73)

Допускается при соответствующем обосновании вместо величин k и h вводить в формулу (70) величину kh, м2/сут, - водопроводимость, значение которой непосредственно определяется по результатам опытных откачек.

14.5. Общий приток подземных вод к водопонизительным системам и горным выработкам определяется как сумма притоков из каждого водоносного слоя, дренируемого водопонизительной системой или непосредственно выработками.

Определение притока при установившемся режиме фильтрации

14.6. При определении по формуле (70) притока подземных вод к кольцевым, неполнокольцевым и линейным водопонизительным системам, а также горным выработкам при отсутствии или наличии противофильтрационной завесы значение Ф следует вычислять по формулам табл. 46.

14.7. Приведенный радиус водопонизительной системы r, м, (выработки по границе высачивания подземных вод, противофильтрационной завесы по ее внутренней грани) следует определять по формулам:

для контурной водопонизительной системы (выработки или контурной завесы) с отношением сторон, равным или менее 10

                                                          (74)

для контурной водопонизительной системы (выработки или контурной завесы) с отношением сторон свыше 10 и для коротких (l < 2L) линейных водопонизительных систем

r = 0,25l;                                                            (75)

для длинной (l > 2L) линейной водопонизительной системы (траншеи)

r = 0.                                                               (76)

14.8. Значение радиуса депрессии rd, м, для контурных и коротких линейных водопонизительных систем и устройств следует принимать равным радиусу области фильтрации, когда ее граница - контур питания - может быть принята круговой формы с центром в центре системы, а для других граничных условий - по формулам табл. 47;

для длинных линейных водопонизительных систем и устройств - по формуле

rd = L.                                                              (77)

Таблица 46

Расчетная схема

Расчетная формула

Схема 1

Совершенная или несовершенная контурная система. Приток в зависимости от понижения в заданной точке при безнапорной или напорной фильтрации

Кольцевая система

Неполнокольцевая система

При расположении расчетной точки на контуре или в центре системы xcs = r

Схема 2

Совершенная или несовершенная линейная система. Приток в зависимости от понижения в заданной точке при безнапорной или напорной фильтрации

Схема 3

Описание: t1

Кольцевой дренаж в кровле водоносного слоя, содержащего напорные воды. Приток в зависимости от глубины заложения дренажа, равной Sl

Кольцевой дренаж

Неполнокольцевой дренаж

Схема 4

Кольцевой несовершенный дренаж в водоносном слое, содержащем безнапорные воды. Приток в зависимости от глубины заложения дренажа, равной Sl

Кольцевой дренаж

Неполнокольцевой дренаж

Схема 5

Линейный дренаж в кровле слоя, содержащего напорные воды. Приток в зависимости от глубины заложения дренажа, равной Sl

Схема 6

Линейный несовершенный дренаж в слое, содержащем безнапорные воды. Приток в зависимости от глубины заложения дренажа, равной Sl

Схема 7

Описание: t2

Котлован (пластовый дренаж), вскрывающий напорные воды

При r/h0,5

при r/h < 0,5

Схема 8

Котлован (пластовый дренаж) в безнапорном водоносном слое

При r/y0,5

при r/y < 0,5

Схема 9

Траншея (пластовый дренаж), вскрывающая напорные воды

При b/h0,5

при b/h < 0,5

Схема 10

Траншея (пластовый дренаж) в безнапорном водоносном слое

При b/y0,5

при b/y < 0,5

Схема 11

Описание: t4

Приток к котловану через контурную совершенную противофильтрационную завесу

Схема 12

Описание: t3

Приток к траншее через совершенную линейную противофильтрационную завесу

При питании подземных вод из близко расположенного к водопонизительной системе водоема (реки), не прорезающего полностью водоносный слой, расчетное значение расстояния до водоема Lc, м, допускается принимать

Lc = L + ∆L,                                                                    (78)

где:

при однородном строении дна водоема

                                         (79)

при b/h > 1

L = 0,5Н;                                                                   (80)

при двухслойном строении и менее проницаемом верхнем слое

                                                            (81)

В формулах (79) - (81):

h и k - толщина, м, и коэффициент фильтрации, м/сут, основного расчетного водоносного слоя y контура питания;

h1 и k1 - толщина, м, и коэффициент фильтрации м/сут, верхнего слабопроницаемого слоя y контура питания;

b - половина ширины водоема, м;

lp - проекция смоченной части берегового откоса на горизонталь, м;

hw - глубина воды в водоеме (реке), м.

При сравнительно непродолжительных и небольших понижениях уровня подземных вод (до 5 - 10 м) и отсутствии данных об источниках и условиях питания подземных вод, но при хорошо изученных фильтрационных свойствах грунтов, значение радиуса депрессии допускается определять по формулам:

при безнапорной фильтрации

                                                     (82)

при напорной фильтрации

                                                       (83)

Таблица 47

Расчетная схема

Расчетная формула

Схема 1

Водоносный слой, ограниченный одной линейной границей области питания

rd = 2L

Схема 2

Линейные взаимные перпендикулярные границы водоносного слоя: a - область питания; b - водонепроницаемая

Для границ a,a

для границ a,b

Схема 3

Параллельные линейные границы водоносного слоя: a - область питания; b - водонепроницаемая

Для границ a,a

для границ a,b

Схема 4

Неограниченный водоносный слой, питание которого происходит за счет инфильтрации поверхностных вод интенсивностью p

Схема 5

Неограниченный водоносный слой, содержащий напорные воды, питание которого происходит за счет перетекания воды из вышележащего слоя

Схема 6

Водоносный слой, ограниченный круговой областью питания

1 - скважина (котлован, система)

14.9. При двустороннем притоке к длинным линейным водопонизительным системам (устройствам) приток подземных вод определяется раздельно с каждой стороны (в зависимости от соответствующих расстояний до области питания) и суммируется.

Пример 35. Определить приток при установившемся режиме к контурной водопонизительной системе при понижении уровня подземных вод в расположенном вблизи устья реки котловане (черт. 133) размерами по верху 72×62 м, по дну 22×12 м, глубиной 14 м. Расстояние от реки до центра котлована L1 = 400 м; расстояние от водоема, в который впадает река, до центра котлована L2 = 700 м; коэффициент фильтрации первого водоносного слоя k1 = 10 м/сут; удельный вес грунта γ1 = 17,65 кН/м3; коэффициент фильтрации второго водоносного слоя k2 = 20 м/сут; область питания второго водоносного слоя (водоем) находится на расстоянии L2 = 700 м; напор на кровлю разделяющего слоя H2 = 24 м; удельный вес грунта разделяющего слоя γd = 19,61 кН/м3.

Водопонизительные скважины располагаем на расстоянии 2 м от бровки котлована по прямоугольному контуру со сторонами 66 и 76 м (в каждом водоносном слое свои скважины).

Приведенный радиус водопонизительной системы r определяем по формуле (74)

Значение радиуса депрессии контурной системы в первом водоносном слое определяем по формуле схемы 2 табл. 47

Требуемое понижение уровня подземных вод в первом водоносном слое принимаем на 1 м ниже дна котлована, т.е. S1 = 13 м.

Среднюю глубину безнапорного фильтрационного потока h1 в первом водоносном слое определяем по формуле (72)

Значение функции понижения в первом водоносном слое Ф1 определяем по формуле схемы 1 табл. 46

Черт. 133. Расчетная схема (к примеру)

1 - уровень подземных вод I водоносного слоя; 2 - уровень подземных вод II водоносного слоя; 3 - пониженный уровень подземных вод II водоносного слоя; 4 - пониженный уровень подземных вод I водоносного слоя

Приток из первого водоносного слоя Q1 определяем по формуле (70)

Значение радиуса депрессии контурной системы во втором водоносном слое rd2 определяем по формуле схемы 1 табл. 47

rd2 = 2·700 = 1400 м.

Требуемое понижение напора во втором водоносном слое принимаем из условия, чтобы остаточный напор на кровлю слоя уравновешивался давлением грунта, составляющим 17,65·6 + 19,61·4 = 184,3 кПа, что эквивалентно напору 184,3:9,81 = 18,8 м. Отсюда S2 = 24 - 18,8 = 5,2 м.

Среднюю глубину напорного фильтрационного потока во втором водоносном слое определяем по формуле (71) - h2 = 8 м.

Значение функции понижения во втором водоносном слое Ф2 определяем по формуле к схеме 1 табл.. 46

Приток из второго водоносного слоя определяем по формуле (70)

Общий приток подземных вод к контурной водопонизительной системе составит:

Q = 3286 + 1470 = 4756 м3/сут.

Пример 36. Определить расчетный приток подземных вод к центральной (главной) подземной насосной станции в условиях примера 15.

Подземная насосная станция должна быть рассчитана на максимальный приток при установившемся режиме, т.е. при понижении в рудоносной толще - на контуре подземных выработок рудника - до водоупора и до подошвы песков - на контуре внешней кольцевой водопонизительной системы.

Описание: 134

Черт. 134. Расчетный гидрогеологический разрез (к примеру 36)

Расчетные гидрогеологический разрез и схема водопонизительной системы приведены на черт. 134, 135.

Расчетный приток к насосной станции определяем как сумму притоков из надрудной и рудоносной толщ.

Приведенный радиус водопонизительного контура r1 надрудной толщи определяем по формуле (74)

Описание: 135

Черт. 135. Расчетная схема (к примеру 36)

а - план; б - разрез; 1 - контур внешней водопонизительной системы; 2 - приведенный контур внешней водопонизительной системы; 3 - усредненный контур подземных выработок рудника; 4 - приведенный контур подземных выработок рудника; 5 - река (контур питания); 6 - пониженный уровень подземных вод в надрудной толще; 7 - пониженный уровень подземных вод в рудоносной толще; 8 - водопонизительные скважины (сквозные фильтры); 9 - подземные дренажные выработки; 10 - восстающие скважины; 11 - подземные выработки рудника

Значение радиуса депрессии водопонизительной системы rd определяем по формуле к схеме 1 табл. 47

rd = 2·7 = 14 км.

Значение функции понижения Ф в надрудной толще определяем по формуле к схеме 1 табл. 46

Среднюю глубину безнапорного фильтрационного потока h1 в надрудной толще при понижении в ней до подошвы песков определяем по формуле (72)

Приток из надрудной толщи Q1 определяем по формуле (70)

Приведенный радиус водопонизительного контура r2 в рудоносной толще определяем по формуле (74)

Средний коэффициент фильтрации kmt рудоносной толщи равен

Среднюю глубину фильтрационного напорно-безнапорного потока h2 в рудной толще при понижении в ней до водоупора определяем по формуле (73) при S = H и y = 0.

Значение функции понижения Ф2 в рудоносной толще определяем по формуле к схеме 1 табл. 46

Приток из рудоносной толщи Q2 определяем по формуле (70)

Общий приток подземных вод к подземной насосной станции составит:

Q = 1500 + 1056 = 2556 м3/ч.

Пример 37. Определить понижение на линии скважин и приток подземных вод к линейной водопонизительной системе для защиты длинной траншеи, расположенной на расстоянии 180 м от реки (черт. 136).

Коэффициент фильтрации водоносного слоя k = 10 м/сут.

Определяем значение радиуса депрессии системы rd, приняв требуемое понижение уровня подземных вод на 1 м ниже дна траншеи:

со стороны реки по формуле (77)

rd1 = 180 + 16 = 196 м;

с противоположной стороны траншеи по формуле (82), задаваясь предварительно понижением по линии скважин sh = 7,5 м с соблюдением условия rd2rd1, которое основывается на том, что в подобных условиях приток со стороны, противоположной реке, не может быть больше притока со стороны реки

Черт. 136. Расчетная схема (к примеру 37)

1 - непониженный уровень подземных вод; 2 - пониженный уровень подземных вод

Так как rd2 лишь незначительно больше rd1, для расчетов принимаем rd2 = rd1 = 196 м.

При средней глубине фильтрационного потока по формуле (72) h = (2·18 - 7)/2 = 14,5 м и значении функции понижения по формуле к схеме 2 табл. 46 Ф = 196 - 17 = 179 м удельный приток подземных вод к водопонизительной системе q при установившемся режиме фильтрации определяем по формуле (70)

Понижение на линии скважин определим из формулы (70), приведя ее с учетом формулы (72) и схемы 2 табл. 46 к виду:

Понижение на линии скважин составит:

Пример 38. В условиях примера 3 определить приток воды в карьер при вскрытии нижнего слоя песков на отметке -70,0.

Схематизируя природные условия, и карьер, приходим к расчетному гидрогеологическому профилю, приведенному на черт. 137.

Принимаем условно безнапорный поток.

Определяем среднее значение коэффициента фильтрации

Значение радиуса депрессии водопонизительной системы rd определяем по формуле к схеме 4 табл. 47 - при r = 560 м, H = 134 м, p = 260/365 = 0,712 мм/сут = 0,712·10-3 м/сут

Среднюю глубину фильтрационного потока h определяем по формуле (72) при понижении уровня подземных вод в карьере на 124 м

Значение функции понижения Ф определяем по формуле к схеме 8 табл. 46 при r/y = 560/10 = 56 > 0,5

Приток воды в карьер Q определяем по формуле (70).

Пример 39. Определить приток подземных вод к несовершенному кольцевому дренажу, заглубленному на 4 м в безнапорный водоносный слой, питающийся за счет инфильтрации поверхностных вод.

Задано: Н = 10 м, k = 12 м/сут, p = 0,002 м/сут, Sl = 4 м, размеры дренажной системы в плане 40×60 м, rh = 0,5 м.

Описание: 137

Черт. 137. Расчетный гидрогеологический разрез и расчетная схема к примеру 38

а - гидрогеологический разрез; б - расчетная схема; 1 - уровень подземных вод до начала разработки карьера; 2 - уровень подземных вод на момент вскрытия нижнего слоя песков

Определяем приведенный радиус дренажной системы r по формуле (74)

Среднюю глубину фильтрационного потока h определяем по формуле (72)

Радиус депрессии для дренажной системы rd определяем по формуле к схеме 4 табл. 47

Функция понижения Ф по формуле к схеме 4 табл. 46

Приток воды к дренажной системе Q определяем по формуле (70)

Пример 40. Определить приток подземных вод к пластовому дренажу, вскрывающему напорный пласт.

Задано: площадь дренажа 14×20 м; H = 18 м, S = 6 м, h = 12 м, k = 8 м/сут, rd = 360 м.

Приведенный радиус пластового дренажа r определяем по формуле (74)

Для определения величины Ф применяем формулу к схеме 7 табл. 46 для случая, соответствующего отношению r/h = 9,5/12 = 0,8 > 0,5

Определяем приток подземных вод Q к дренажной системе по формуле (70)

Пример 41. Для условий примера 10 определить приток подземных вод к карьеру при его заглублении до отметки -115,0 м (1-я очередь) в случаях наличия и отсутствия противофильтрационных завес, как принято в примере 10.

Исходные данные: дамба, ограждающая карьер от реки, имеет высоту, обеспечивающую защиту при максимальном расчетном уровне воды в реке на отметке +10 м, основание дамбы имеет нулевую отметку. Расстояние от оси дамбы до уреза воды при максимальном уровне -20 м.

Противофильтрационные завесы, сооружаемые на обоих участках повышенной трещиноватости с поверхности земли (нулевая отметка) до глубины 220 м, предназначены для перекрытия верхних водоносных горных пород с наибольшей проницаемостью с целью уменьшения притока воды в карьер.

Толщина каждой противофильтрационной завесы ts = 5 м, коэффициент фильтрации материала завес k = 0,05 м/сут.

Такой расчет необходим при решении вопроса о целесообразности устройства противофильтрационных завес. В частности, необходимо сопоставление затрат на откачку повышенных расходов воды при отсутствии завес с затратами на их устройство.

Схематизируя природные условия, принимаем в соответствии с черт. 22 схему разбивки фильтрационного поля на расчетные участки (черт. 138,в) и расчетные гидрогеологические разрезы на участках I - III (черт. 139).

Расчет ведем по участкам. На участках I и II - в зонах повышенной проницаемости: поток плоский, область питания - урез воды у дамбы; на участке III - поток сложный, область питания схематизируется взаимно перпендикулярными линиями, а контур высачивания - неполнокольцевым контуром (вычитается часть контура по ширине зон повышенной проницаемости).

При определении притока на участках зон повышенной проницаемости (участки I и II) коэффициенты фильтрации определяем раздельно для двух (по высоте) толщ: верхней - от отметки воды в верхнем бьефе ограждающей дамбы (при отсутствии завес) до подошвы карьера, (при наличии завес) - до низа завесы и нижней - от низа верхней зоны до водоупора.

Среднее значение коэффициента фильтрации в верхней толще:

при отсутствии завес (черт. 138,а и 139,б)

при наличии завес (черт. 138,б и 139,б)

в нижней толще - при отсутствии завес (черт. 138,а и 139,б)

При определении расчетного расстояния до области питания Lc учитываем несовершенство водоема по формуле (80) при b/Н > 1.

При определении притока между зонами повышенной трещиноватости (участок III) принимаем толщу пород условно однородной и находим средний коэффициент фильтрации по площади месторождения из значений, приведенных на черт. 22

Определение притока подземных вод при отсутствии завес.

Участок I - расчетная схема - черт. 138,а, в; l = 250 м;L = 620 м.

Требуемое понижение до отметки дна карьера

S = 10 - (-115) = 125 м.

В верхней толще:

радиус депрессии

rd = Lc,up = 620 + 0,5·125 = 682,5 м; xcs = 0;

средняя глубина фильтрационного потока h по формуле (72)

приток к карьеру Qup по формулам (70) и схемы 2 табл. 46

Описание: 138

Черт. 138. Расчетные схемы (к примеру 41)

а - схема для определения притока подземных вод через зоны тектонических нарушений при отсутствии противофильтрационной завесы; б - то же, при наличии противофильтрационной завесы; в - схема для определения притока подземных вод через зону между тектоническими нарушениями; I - западная зона повышенной проницаемости; II - восточная зона повышенной проницаемости; III - зона низкой проницаемости; 1 - ось ограждающей дамбы; 2 - противофильтрационная завеса, (с развитием в сторону падения пластов); 3 - контур дна карьера (контур высачивания подземных вод); 4 - приведенный контур высачивания подземных вод; 5 - приведенный контур питания подземных вод

В нижней толще (ниже отметки дна карьера):

радиус депрессии

rd - b = Lc,l = 620 + 0,5·410 = 825 м.

Приток подземных вод Qinf - по формулам (70) и схемы 9 табл. 46 при b/h 0,5

Полный приток на участке I

QI = Qup + Ql = 2802,1 + 1081,6 = 3883,7 м3/ч.

Участок II - расчетная схема - черт. 138,а, в; l = 100 м, а L определяется исходя из следующего:

расстояние от уреза воды до пересечения с осью участка повышенной трещиноватости I - 1270 м, и расстояние от точки пересечения осей обоих участков до контура высачивания - y (подошвы карьера первой очереди) - 525 м; при определении расстояния L от водоема до контура высачивания приводим для условий плоской задачи весь участок к одинаковой ширине l = 100 м.

Приведенное расстояние от уреза воды до контура высачивания

L = 1270 + 525·100/250 = 1480 м;

в верхней толще

rd = Lc,up = 1480 + 0,5·125 = 1542,5; xcs = 0;

в нижней толще

rd - b = Lc,l = 1480 + 0,5·410 = 1685 м.

Выполняя расчет аналогично предыдущему для участка I, получим

QII = 735,2 м3/ч.

Участок III - расчетная схема - черт. 138,в; L1 = 1050 м; L2 = 950 м

L1,c = 1050 + 0,5·410 = 1255 м; L2,c = 950 + 0,5×410 = 1155 м.

Радиус депрессии rd по формуле к схеме 2 табл. 47 для границ a,a

Площадь, ограниченная контуром высачивания, A = 197750 м2.

Приведенный радиус контура высачивания r по формуле (74)

Средняя величина фильтрационного потока по формуле (72)

Приток подземных вод к карьеру на участках между зонами повышенной проницаемости горных пород определяется по формулам (70) и схемы 1 табл. 46 по схеме кольцевой системы за вычетом плоского потока (по формулам (70) и схемы 2 табл. 46 с двух сторон карьера по ширине зоны повышенной проницаемости пород, пересекающей карьер с северо-запада на юго-восток)1

1 В данном случае было бы неправильно рассчитывать по схеме неполной кольцевой системы, так как при этом расчет не охватывал бы всю область фильтрации.

Полный приток к карьеру I-ой очереди при отсутствии завес равен

Q = QI + QII + QIII = 3883,7 + 735,2 + 2706,2 ≈ 7325 м3/ч.

Определение притока подземных вод при наличии завес.

Расположение завес в плане (черт. 148,в) определено при проектировании ограждающей дамбы из условия прохождения кривой депрессии ниже подошвы низового откоса дамбы.

Определение притоков через завесы QI и QII производим, принимая их совершенными (см. черт. 148,б) по формулам (70) и схемы 12 табл. 46.

Среднюю глубину фильтрационного потока h относительно подошвы завесы (черт. 148,б) определяем по формуле (72)

Приток QI, QII к карьеру через завесу на участке I, II определяем по формулам (70) и схемы 12 табл. 46.

Расчетное расстояние между контурами питания и высачивания на участке I равно Lc = rd - b = 620 + 0,5·230 = 735 м.

Расчетное расстояние между контурами питания и высачивания на участке II

Lc = rd - b = 1480·100/250 + 0,5·230 = 1595 м.

Приток QIII к карьеру на участках между зонами повышенной проницаемости определяем по формулам (70) и схемы 1 табл. 46, а вычитаем величину плоского потока лишь в пределах высоты противофильтрационной завесы

Полный приток Q к карьеру I очереди при наличии завес составит:

Q = 1493 + 435 + 2844 = 4772 м3/ч,

т.е. интенсивность откачки при наличии противофильтрационных завес на (7376 - 4772) 2604 м3/ч меньше, чем при их отсутствии.

Коэффициент эффективности завес равен:

14.10. Для условий повышенной сложности (крупные водопонизительные системы, неоднородный фильтрационный поток, сложные очертания контуров питания и водопонижения и т.п.) расчет водопонизительных систем целесообразно проводить с использованием метода ЭГДА (электрогидродинамических аналогий).

Метод ЭГДА основан на аналогии между явлениями установившейся ламинарной фильтрации и прохождения тока в электропроводной среде. Аналоги параметров и основных законов двух потоков приведены в табл. 48.

Таблица 48

Фильтрация воды

Электрический ток

Напор

Электрический потенциал

Поверхность равных напоров

Эквипотенциальная поверхность

Коэффициент фильтрации

Удельная электропроводность

Скорость фильтрации

Плотность тока

Фильтрационный расход

Сила тока

Закон Дарси

Закон Ома

Аппаратура для решения задач методом электрогидродинамических аналогий выпускается серийно (приборы ЭГДА 9/60, сеточные электроинтеграторы ЭИ-12 и др.). Для целей водопонижения используются сплошные плановые модели (из электропроводной бумаги), а также сеточные модели (см. разд. 16)

Модель ЭГДА должна удовлетворять условиям подобия: геометрическому подобию области фильтрации; подобию граничных условий (контуры питания и водопонижения моделируются электрической шиной, непроницаемый контур - обрезом электропроводной бумаги); пропорциональности между электропроводностью модели и водопроводимостью слоя.

Измерения на модели электрических потенциалов определяют пропорциональные величины напора в различных точках и позволяют построить эквипотенциали (линии равного напора). Затем уже проводят ортогональные им линии токов и, таким образом, на модели строится гидродинамическая сетка. Измеряются и другие электрические параметры (сила тока, напряжение). Расчет притока Q, м3/сут, можно проводить по лентам тока или с использованием измерений электрических параметров по формуле

                                                           (84)

где I - сила тока, А;

ρ - удельное сопротивление электропроводной бумаги, Ом (сопротивление квадрата бумаги между его противоположными сторонами);

u - напряжение, В;

S - понижение уровня грунтовых вод, соответствующее разности потенциалов на модели в 100 %, м.

14.11. При больших размерах водопонизительной системы в плане, большой глубине понижения и длительном сроке водоотлива, нескольких взаимосвязанных водоносных слоях, сложной смене водоупорных и водоносных слоев по горизонтали и вертикали схематизация природных условий для использования обычных гидродинамических методов может быть выполнена только ориентировочно и результаты расчетов нельзя считать надежными. В таких случаях можно использовать приближенные методы расчета, в частности, метод водного баланса в зоне водопонижения.

При расчетах по этому методу приток к водопонизительной системе условно делится на две части: притоки за счет сработки статических запасов подземных вод и динамические притоки. К статическим ресурсам относится та часть воды, которая может быть отобрана из грунта в пределах депрессионной воронки.

К динамическим притокам относится та часть откачиваемой воды, которая поступает к водопонизительной системе вследствие инфильтрации атмосферных осадков, выпадающих в зоне водопонижения, а также их области питания.

Притоки за счет сработки статических Qst, м3/сут, запасов определяются по формуле

                                                                       (85)

где V - объем грунта в депрессионной воронке, м3;

t - заданное время сработки статических запасов, сут;

μ - средняя величина водоотдачи осушенных слоев грунта (изменяется в пределах 0,008 - 0,35 для различных водоносных грунтов), принимается по данным изысканий.

Динамические запасы определяются следующим образом:

динамические притоки за счет инфильтрации атмосферных осадков Qin, м3/сут, определяют по формуле

Qin = Fω,                                                               (86)

где F - общая площадь распространения водопонижения, км2;

ω - пополнение запасов вод за счет инфильтрации атмосферных осадков (модуль подземного стока для данного района, м3/сут на 1 км2);

динамические притоки Qf, м3/сут, из области питания (соседних водных бассейнов, водообильных водоносных слоев и др.)

Qf = BkiΣhi,                                                              (87)

где В - средняя ширина потока подземных вод на границе области питания, м;

Σhi - сумма толщин водоносных слоев, м;

i - градиент потока подземных вод в природном состоянии.

Описание: 139

Черт. 139. Расчетные гидрогеологические разрезы (к примеру 41)

а - разрез вне зон тектонических нарушений; б - в зонах тектонических нарушений

Общий приток Q, м3/сут, к водопонизительной системе определяется по формуле

Q = Qst + Qin + Qf.                                                            (88)

14.12. В случаях неравномерности притока подземных вод к различным участкам водопонизительной системы, например, при ее расположении в непосредственной близости от водоема, целесообразна соответствующая расстановка средств водопонижения. Для расчета притока стороны котлована или систему скважин следует разделить на участки, и приток к каждому участку определять по формулам (70) и к схеме 2 табл. 46 (при xcs = 0, rd = Lc) с предварительным построением гидродинамической сетки (лент тока).

Описание: 140

Черт. 140. Гидродинамическая сетка фильтрационного потока

1 - контур питания; 2 - ленты тока; 3 - линии тока; 4 - контур водопонижения

Гидродинамическая сетка (черт. 140) образуется системой эквипотенциалей (линий равного напора или равной глубины потока) и нормальных к ним линий тока. Часть области фильтрации, заключенная между двумя линиями тока, называется лентой тока, которая подразделяется эквипотенциалями на отсеки. Исходя из постоянства расхода в пределах ленты тока отсек при постоянном (по напору) шаге эквипотенциалей должен удовлетворять условию

                                                            (89)

где bi, li - соответственно ширина и длина i-го отсека;

kihi - водопроводимость водоносного слоя в отсеке.

Для однородного водоносного слоя с напорной и безнапорной фильтрацией следует исходить из условия

                                                                  (90)

Для условий малой сложности (несложные очертания контура питания, однородная водопроницаемость и т.п.) гидродинамическую сетку или расчетные ленты тока можно строить графически, а в более сложных случаях - с помощью прибора ЭГДА. Графическое построение лент тока производится в следующем порядке:

на расчетном участке в первом приближении намечают эквипотенциали между контурами питания и водопонижения, например, четыре эквипотенциали - 20, 40, 60 и 80 % разности напоров на контурах питания и водопонижения, разбивая ими ленту тока на пять отсеков;

нормально к эквипотенциалям проводят две линии тока, образующие между собой ленту тока;

определяют величины  или  для каждого отсека;

корректируют расположение эквипотенциалей и линий тока, добиваясь постоянства указанных соотношений с точностью 5 - 10 %; аналогично строят следующие ленты тока по всей длине расчетного участка. Число выделяемых лент тока зависит от желаемой детализации в определении притока к различным участкам водопонизительного контура.

После построения лент тока поток в каждой из них приводится к эквивалентному плоскому потоку шириной b0 с некоторой выбранной расчетной водопроводимостью kh. При этом в расчете может рассматриваться или полная длина ленты тока между ее границами - контурами питания и водопонижения, или участок длины между двумя выбранными граничными эквипотенциалями.

При расчете по полной длине ленты тока за ширину эквивалентного потока принимается ширина ленты на контуре водопонижения b0 = В (см. черт. 140), а приведенная длина Lr, м, эквивалентного потока определяется по формуле

                                                       (91)

где                                                           

(для однородного водоносного слоя );

n - число отсеков в ленте тока.

Приток на ленте определяется по формулам (70) и к схеме 2 табл. 46, полагая rd = Lr, l = В, xcs = 0, y = yl (где yl - напор на контуре водопонижения) и kh, равное выбранной расчетной водопроводимости слоя.

При расчете по участку длины ленты тока за b0 принимается ее ширина по нижней (ближайшей к контуру водопонижения) граничной эквипотенциали; верхняя граничная эквипотенциаль принимается за контур питания; приведенная длина эквивалентного потока Ls, м, для участка будет

                                                (92)

где n - число отсеков на расчетном участке (для однородного слоя, как и прежде, ).

Напоры на граничных эквипотенциалях yb, yb2, м, определяются по формулам:

для напорного потока

yb = (H - yl)P + yl;                                                 (93)

для безнапорного потока

yb2 = (H2 - yl2)P + yl2,                                                   (94)

где P - потенциал на граничной эквипотенциали, выраженный в долях единицы:

Приток определяется по формулам (70) к схеме 2 табл. 46, в которых принимается rd = Ls, l = B0, xcs = 0, S = H - yl = yb1 - yb2 (где yb1 и yb2 - соответственно напоры на верхней и нижней граничных эквипотенциалях) и kh - выбранная расчетная водопроводимость слоя.

Пример 42. Определить необходимую производительность и целесообразный шаг водопонизительных скважин на отдельных участках водопонизительной системы котлована (черт. 141), расположенного у реки в песках, с коэффициентом фильтрации k = 15 м/сут при установившемся режиме.

Гидродинамическая сетка фильтрации получена с помощью прибора ЭГДА. При моделировании контур питания (река) отодвинут от котлована на величину потерь напора ∆L на вход фильтрационного потока, которая определяется для данного случая по формуле (80)

L = 0,5·25 = 12,5 м.

На основании гидродинамической сетки построена расчетная схема (черт. 142). Ввиду симметричности притока на ней показана половина области фильтрации, в которой выделены восемь (№ 1 - 8) лент тока: одна со стороны реки - здесь поток близок к плоско-параллельному; по одной - на углах контура; по две - три - на боковом и береговом участках котлована.

Лента тока № 1, ввиду ее близости к плоской, не разбивается на отсеки. Для нее в качестве b0 принимаем В, а приведенную длину определяем по формуле (91), с учетом однородности слоя при i = 1 и li, отсчитываемым с учетом ∆L (табл. 49).

Расчетная водопроводимость kh для ленты № 1

На лентах тока № 2 - 8 по четыре отсека; поскольку они заключены между эквипотенциалями 10 и 90 % с равным шагом по напору, то для них в каждой ленте  Принимаем за b0 длину эквипотенциали 10 % и ведем расчет по участку длины ленты между эквипотенциалями 10 и 90 %. Напоры на границах расчетных участков определяем по формуле (94)

y902 = (252 - 102)·0,9 + 102 = 572 м2 (y90 = 23,9 м);

y102 = (252 - 102)·0,1 + 102 = 152,5 м2 (y10 = 12,4 м).

Описание: 141

Черт. 141. Расчетная схема (к примеру 42)

1 - линия уреза воды в реке; 2 - трасса водопонизительных скважин; 3 - водопонизительная скважина; 4 - непониженный уровень подземных вод; 5 - пониженный уровень подземных вод на контуре скважин; 6 - пониженный уровень на участке между скважинами

Описание: 142

Черт. 142. Схема лент тока в примере 42

1 - 8 - ленты тока; 9 - трасса водопонизительных скважин, (контур стока); 10 - река (контур питания); 11 - границы лент тока (линии тока); 12 - линии равных напоров (эквипотенциалы)

Расчетная водопроводимость слоя kh для лент № 2 - 8

Приведенная длина расчетного участка Ls для каждой ленты выразится в виде

Дальнейший расчет сведен в табл. 49

Таблица 49

Номер ленты тока

В

b10

Lr, Ls

Qr

qh

Шаг скважин

1

254

-

0,38

107

9800

38,6

960

25,0

2

26

30

0,43

52

1790

69,0

960

14,0

3

59

65

0,53

138

1480

25,0

960

38,4

4

88

105

0,56

235

1400

15,9

600

37,7

5

52

65

0,73

190

1075

20,6

600

29,0

6

92

105

0,94

394

840

9,1

384

42,0

7

130

143

0,85

486

925

7,1

384

54,0

8

39

41

3,72

610

210

5,4

384

71,0

14.13. В случаях, когда схематизация природных условий представляется затруднительной, поэтапное выполнение водопонизительных работ и постепенный ввод в действие водопонизительных устройств особенно необходимы. Систематическая корректировка расчетов и проектных решений на каждом последующем этапе по данным, полученным на предыдущих этапах работы водопонизительных систем, позволяет в конечном счете находить правильные решения, избегать как излишних затрат, так и аварийных ситуаций.

Аналогичный метод, основанный на использовании и экстраполяции данных, подученных при строительстве и эксплуатации горного предприятия, может быть применен для расчетов водопонижения при реконструкции и развитии существующей системы защиты горных выработок.

Пример 43. После выполнения дополнительных изысканий, намеченных в примере 2, уточнения проекта защиты карьера первой очереди и разработки его до отметки 452 м, понижения уровня воды в покровной толще до отметки 445 м и проведения наблюдений за десять лет по сети наблюдательных скважин, предусмотренных в примере, получены следующие данные.

Покровная водоносная толща переслаивающихся песков и суглинков имеет распространение в виде полосы, простирающейся с востока на запад, с выходами песков на поверхность в 18 км юго-восточнее месторождения и в 7 км западнее его; ширина потока в этой толще 400 - 7500 м, полная глубина h = 250 м, среднее значение коэффициента фильтрации K = 0,94 м/сут, водоотдача - 0,016; среднее значение коэффициента фильтрации отдельно песков - 3,18 м/сут; питание подземных вод этой толщи происходит за счет атмосферных осадков, главным образом, стекающих с гор - через мелкие речки и ручьи и их конуса выноса, а также через водоносные известняки и песчаники путем фильтрации из них воды через разделяющий пласт и в местах контакта этих водоносных скальных пород с песчано-суглинистой толщей на востоке и северо-западе от рудного тела, а также непосредственно в месте выхода песков на поверхность в 18 км юго-восточнее месторождения (где протекает небольшой ручей); разгрузка подземных вод происходит в реке примерно в 7 км западнее месторождения на отметке 425 м.

Рудоносная толща (в среднем 100 м) содержит в основном статические запасы подземных вод, сообщающихся с водами покровной песчано-суглинистой толщи на участках соприкосновения наклонной кровли рудоносной толщи непосредственно с песками. Все такие участки расположены выше отметки 360 м; коэффициент фильтрации пород рудоносной толщи в среднем 27 м/сут, водоотдача 0,02 - 0,045; уровень воды такой же, как и в покровной толще.

Разделяющие породы, подстилающие песчано-суглинистую толщу, слабопроницаемы - имеют средний коэффициент фильтрации 0,05 м/сут.

Нижние, подстилающие водоносные известняки и песчаники, простирающиеся на большую глубину, в основном принимающие воды, стекающие с гор через разделяющий пласт, а на участках непосредственных контактов с песками питающие покровную песчано-суглинистую толщу (являющуюся для них областью разгрузки), характеризуются средней водопроводимостью - 62,4 м2/сут, а уровень воды в них на 15 - 20 м выше, чем в покровной толще.

Получены и другие данные. В частности, получено подтверждение эффективности первоочередной водопонизительной системы, включающей подземные дренажные выработки в рудоносной толще с подземной насосной станцией и шахтным стволом, расположенными в северной части района месторождения, специальную выработку в нижних, подстилающих месторождение, водоносных известняках и песчаниках и отдельные скважины в них на участках, где происходит питание из этих водоносных слоев верхних песков, а также полукольцо водопонизительных скважин, оборудованных скважинными насосами для забора воды из покровной толщи. В этой системе было использовано:

наклонное залегание песков покровной толщи с падением на юг, позволившее отбирать воду из них с большей глубины, чем та, где имели место выходы песков на откосы карьера;

высокая водопроводимость рудоносной толщи и удобство забора воды из нее подземным дренажем;

эффективность снижения напора в подстилающих месторождение водоносных известняках и песчаниках на участках наиболее интенсивной фильтрации воды из них в покровную и рудоносные толщи.

Последний год откачка происходила практически при установившемся режиме в покровной толще и в подстилающих известняках и песчаниках; в рудоносной толще имело место некоторое снижение уровня; по данным наблюдений построена карта гидроизогипс в покровной толще (см. черт. 143); в подстилающих водоносных известняках, как и песчаниках, сохранилось превышение уровней в них над уровнями подземных вод покровной толщи на 15 - 20 м; за этот год было откачено воды непосредственно из покровной толщи 1,4·106 м3, из рудоносной толщи - 1,6·106 м3, в том числе за счет ее осушения 0,3·106 м3, и из подстилающих известняков и песчаников 2,4 106 м3.

Черт. 143. Схематическая гидрогеологическая карта района месторождения (к примеру 43)

1 - граница области распространения водоносных пород покровной толщи; 2 - выходы песков на поверхность (питание подземных вод покровной толщи); 3 - гидроизогипсы подземных вод покровной толщи; 4 - водораздел; 5 - выходы песков на поверхность (разгрузка подземных вод покровной толщи в реке); 6 - залежь полезного ископаемого; 7 - область питания подстилающих известняков и песчаников

Было также установлено, что приращение объема депрессионной воронки в покровной толще вначале было интенсивное, а в дальнейшем снижалось. Исходя из этого и принимая с некоторым запасом за основу данные последнего периода первоочередных работ, получено удельное приращение объема, у депрессинной воронки в покровной толще

V1 = 5,5·106 м3 на 1 м понижения УПВ.

Приток из рудоносной толщи должен определяться исходя исключительно из содержащихся в ней статических запасов воды; при этом остаточный объем V2 горных пород рудоносной толщи, подлежащих осушению, составляет

V2 = 50,3·106 м3.

Удельный объем статических запасов подземных вод Vst,3 в подстилающих известняках и песчаниках составляет:

Vst,3 = 60000 м3 на 1 м понижения УПВ.

В этих условиях требуется определить притоки подземных вод к водопонизительным устройствам при реконструкции карьера для увеличения добычи с 1,5 млн. м3/г до 5 - 6 млн. м3/г, его соответствующем расширении и углублении до отметки +240 м.

Принимаем принципиальную схему водопонизительной системы карьера аналогичную принятой ранее, осуществленной и оправдавшей себя при первоочередных работах, т.е. предусматриваем (см. черт. 144):

подземные выработки для карьерного водоотлива и дренажа рудоносной зоны;

водопонизительные скважины на востоке, юго-востоке и северо-западе для откачки воды из подстилающих известняков и песчаников;

подземные дренажные выработки в рудоносной зоне и в подстилающих водоносных известняках и песчаниках.

Описание: 144

Черт. 144. Общая схема развития водопонизительной системы (к примеру 43)

1 - подземный водоотливной комплекс; 2 - дренажные выработки горизонта 400 (I очередь); 3 - дренажные выработки горизонта 240 (II очередь); 4 - сбойка горизонта 400 с горизонтом 240; 5 - водопонизительные скважины I очереди в покровной толще; 6 - водопонизительные скважины в подстилающих скальных грунтах; 7 - водопонизительные скважины II очереди в покровной толще; 8 - контур рудного тела; 9 - контур карьера I очереди; 10 - промежуточный контур карьера к моменту полного отключения водопонизительных скважин I очереди; 11 - конечный контур карьера; 12 - водоотводящие устройства

Исходя из поставленной производственной задачи, геологических и гидрогеологических условий предъявляются следующие требования к системе и расчетам водопонижения:

необходимая глубина понижения уровня подземных вод в рудоносной толще - до отметки +240 м (соответственно принятой глубине карьера);

в покровной песчано-суглинистой толще - до отметки +285 м (соответственно наинизшим отметкам выхода песков на откосы карьера и соприкосновения с рудоносной зоной);

в подстилающих водоносных известняках и песчаниках:

в районе шахтного ствола на севере месторождения - до отметки подземных выработок +240 м;

на остальных участках, где запроектированы водопонизительные скважины - ниже отметок контакта скальных водоносных пород с песками покровной толщи.

Требуемое дополнительное понижение уровня подземных вод Sad по сравнению с достигнутым при первоочередных работах

Sad = 445 - 285 = 160 м.

Требуемое понижение уровня подземных вод Sy за 1 год - до 10 м.

Время для достижения полного понижения уровня подземных вод t = 20 лет.

Из приведенной на черт. 143 карты видно, что 60 % всего потока подземных вод направлено к карьеру. При дальнейшем развитии карьера и снижения уровня подземных вод ниже отметки их зеркала в области разгрузки река, протекающая в том районе, может стать дополнительным источником питания подземных вод и, очевидно, весь их поток будет направлен к карьеру. При этом не произойдет приращения питания подземных вод из небольшого ручья, протекающего на участке в 18 км юго-восточнее месторождения.

Не изменяются также условия питания подземных вод атмосферными осадками на других участках. При максимальном развитии водопонижения приток к водопонизительной системе карьера будет слагаться из современных динамических ресурсов подземных вод и дополнительного притока из реки, протекающей в 7 км западнее месторождения. В процессе развития водопонижения будет дополнительный приток за счет сработки статических запасов подземных вод из покровной и рудоносной толщ и подстилающих скальных пород.

Интенсивность откачки динамических ресурсов q1 подземных вод покровной толщи составила

Принимая во внимание, что при этом перехватывалось 60 % потока, динамические ресурсы подземных вод q1,dr покровной толщи составят:

Аналогично динамические ресурсы подземных вод подстилающих скальных пород (дополнительные, так как частично они вошли в динамические ресурсы подземных вод покровной толщи) составят:

Приток к карьеру за счет сработки статических запасов подземных вод за 20 лет:

в покровной толще

в рудоносной толще

в подстилающих скальных породах

Определяем приток из реки в 7 км на западе от месторождения.

Ширина потока западнее месторождения b = 4000 м.

Положение водоупора принимаем на 20 м ниже требуемой отметки пониженного уровня подземных вод у карьера y = 20 м.

Напор у реки

H = 425 - 285 + 20 = 160 м.

Средняя глубина потока

Функция понижения по формуле схемы 2 табл. 46

Требуемое понижение уровня подземных вод у карьера

S = 425 - 285 = 140 м.

Приток из реки к водопонизительной системе карьера по формуле (70)

Полный приток в карьер:

в начале работ по реконструкции и углубке карьера

Qo = 308 + 81 + 12 + 457·0,6 + 55 = 730 м3/сут;

Максимальный

Qmax = 513 + 81 + 12 + 457 + 55 + 282 = 1400 м3/ч.

Определение притока при неустановившемся режиме фильтрации

14.14. Для начального периода неустановившегося режима (депрессия не достигает области питания) значение функции понижения Ф следует определять по формулам схемы 1 табл. 50 или принимать равным значению величины Ф, полученному по формулам установившегося режима (табл. 46) исходя из значений радиуса депрессии rd, м, вычисленных для соответствующих моментов времени по формулам:

при безнапорной фильтрации

при напорной фильтрации

                                                        (96)

Значение величины a определяется опытным путем или по формулам:

                                                      (97)

В дальнейшем, когда депрессия достигнет области питания, значения функции понижения для определения притока подземных вод к контурным и коротким линейным водопонизительным системам по формуле (70) следует принимать по формулам схем 2 - 7 табл. 50.

Значения примененной в табл. 50 функции Ei(-u), приведенные в табл. 51.

Таблица 50

Расчетная схема

Расчетная формула

Схема 1

Описание: t1

Неограниченный водоносный слой

Для центра системы xcs = r.

Для одиночной скважины xcs = rh

Схема 2

Описание: t2

Водоносный слой ограничен прямолинейным контуром питания или непроницаемым контуром

Знак «плюс» соответствует непроницаемому контуру, знак «минус» - контуру питания.

Для центра системы xcs = r, x = 0, z = 0

Схема 3

Описание: t3

Слой ограничен двумя взаимно перпендикулярными контурами, каждый из которых может быть контуром питания или непроницаемым

Для центра системы

Знаки функции ±Ei соответствуют видам границ водоносного слоя:

[+-+-] - x, z - контуры питания;

[++++] - x, z - непроницаемые контуры;

[++--] - x - контур питания; z - непроницаемый контур

Схема 4

Слой ограничен двумя параллельными контурами питания или одним контуром питания, другим - непроницаемым

Для центра системы

Для функции ±Ei знак «минус» соответствует контуру питания, знак «плюс» - непроницаемому контуру

Схема 5

Неограниченный водоносный слой

 где

Для равнодебитных скважин

где

Схема 6

Описание: t4

Водоносный слой ограничен прямолинейным контуром питания или непроницаемым контуром

Для функции ±Ei знак «плюс» соответствует непроницаемому контуру, знак «минус» - контуру питания. Для равнодебитных скважин при границе - контур питания при установившемся режиме

где

Схема 7

Водоносный слой ограничен двумя перпендикулярными контурами - питания или непроницаемыми

Знаки функции ±Ei соответствуют видам границ водоносного слоя:

а) [+--+] - x, z - контуры питания;

б) [++++] - x, z - непроницаемые контуры;

в) [+-+-] - x - контур питания; z - непроницаемый контур.

Для равнодебитных скважин при установившемся режиме для схем:

а)                                                            б)

                     

где

xmt - см. схему 6.

Примечание. При определении уровня в одной из действующих скважин величина xh для этой скважины принимается равной ее радиусу rh.

Таблица 51

u

Ei(-u)

W(u,v) при v

0,05

0,10

0,20

0,40

0,60

0,80

1,00

2,00

5,00

0,00

6,228

4,854

3,505

-

-

1,131

0,842

0,228

0,007

0,01

-4,038

4,043

3,815

3,288

2,225

1,555

1,131

0,841

0,228

0,007

0,02

-3,355

3,326

3,244

2,952

2,181

1,553

1,131

0,841

0,228

0,007

0,03

-2,959

3,037

2,887

2,690

2,103

1,542

1,130

0,841

0,228

0,007

0,04

-2,681

2,748

2,629

2,482

2,016

1,521

1,127

0,841

0,228

0,007

0,05

-2,468

2,458

2,427

2,311

1,928

1,493

1,121

0,841

0,228

0,007

0,06

-2,295

2,312

2,262

2,167

1,845

1,459

1,117

0,839

0,228

0,007

0,07

-2,151

2,166

2,123

2,044

1,767

1,423

1,099

0,836

0,228

0,007

0,08

-2,027

2,021

2,003

1,935

1,695

1,386

1,085

0,832

0,228

0,007

0,09

-1,919

1,754

1,898

1,839

1,627

1,349

1,068

0,826

0,228

0,007

0,10

-1,823

1,487

1,805

1,753

1,564

1,312

1,050

0,819

0,228

0,007

0,20

-1,233

1,221

1,216

1,194

1,114

0,996

0,858

0,715

0,227

0,007

0,30

-0,906

1,000

0,902

0,890

0,846

0,778

0,693

0,601

0,216

0,007

0,40

-0,702

0,779

0,700

0,693

0,665

0,621

0,565

0,502

0,205

0,007

0,50

-0,560

0,559

0,558

0,553

0,534

0,504

0,465

0,421

0,194

0,007

0,60

-0,454

0,476

0,453

0,450

0,436

0,415

0,387

0,354

0,177

0,007

0,70

-0,374

0,393

0,373

0,370

0,361

0,345

0,324

0,300

0,161

0,007

0,80

-0,311

0,310

0,310

0,308

0,301

0,289

0,273

0,254

0,144

0,007

0,90

-0,260

0,223

0,260

0,258

0,253

0,244

0,231

0,217

0,128

0,007

1,00

-0,219

0,136

0,219

0,218

0,214

0,206

0,197

0,186

0,114

0,007

1,10

-0,186

-

-

-

-

-

-

-

-

-

1,20

-0,158

-

-

-

-

-

-

-

-

-

1,30

-0,135

-

-

-

-

-

-

-

-

-

1,40

-0,116

-

-

-

-

-

-

-

-

-

1,50

-0,100

-

-

-

-

-

-

-

-

-

1,60

-0,086

-

-

-

-

-

-

-

-

-

1,70

-0,0746

-

-

-

-

-

-

-

-

-

1,80

-0,0647

-

-

-

-

-

-

-

-

-

1,90

-0,0562

-

-

-

-

-

-

-

-

-

2,00

-0,0489

0,049

0,049

0,049

0,048

0,047

0,046

0,044

0,034

0,005

2,20

-0,0372

-

-

-

-

-

-

-

-

-

2,40

-0,0284

-

-

-

-

-

-

-

-

-

2,60

-0,0219

-

-

-

-

-

-

-

-

-

2,80

-0,0169

-

-

-

-

-

-

-

-

-

3,00

-0,0130

0,013

0,013

0,013

0,013

0,013

0,012

0,012

 

 

3,50

-0,0070

-

-

-

-

-

-

-

-

-

4,00

-0,0038

0,004

0,004

0,004

0,004

0,004

0,004

0,004

-

-

5,00

-0,0010

0,001

0,001

0,001

0,001

0,001

0,001

0,001

0,001

0,000

Примечание. ; при u < 0,1 можно принять -

14.15. При определении притока подземных вод к контурной или короткой линейной водопонизительной системе в толщах, сложенных из нескольких неоднородных слоев, неограниченных или ограниченных с одной стороны (имеющих одну прямолинейную границу), значение функции понижения для слоя, из которого производится откачка, следует принимать по формулам:

для неограниченного слоя

                                                  (98)

для слоя, ограниченного с одной стороны,

                                (99)

Здесь знаки ± соответствуют: «плюс» - непроницаемому контуру, «минус» - контуру питания.

Значения функции W(u,v) определяются по табл. 51:

                                           (100)

bd определяется для соответствующих расчетных схем по формулам табл. 52. Для центра и контура системы xcs = r.

14.16. При определении притока подземных вод к длинным линейным водопонизительным системам по формуле (70) значения функции понижения Ф вычисляются по формуле

                             (101)

Значения функций F(u) определяются по графику черт. 145.

Таблица 52

Расчетная схема

Расчетная формула

Схема 1

Схема 2

Описание: t5

Схема 3

Описание: 145

Черт. 145. График функции F(u)

14.17. Значение функции понижения при разновременном пуске или остановке элементов водопонизительной системы, когда на каждом i-м промежутке времени Qi = const и график расхода Q(t) изображается ступенчатой линией (черт. 146), следует определять для n-го промежутка времени по формуле

                                                  (102)

Описание: 146

Черт. 146. Ступенчатый график откачки

14.18. Продолжительность неустановившегося режима допускается принимать равной значению времени t, при котором вычисляемая по табл. 50 функция понижения Ф достигнет значений, определяемых для соответствующих схем и условий питания по табл. 46.

Пример 44. Определить необходимую производительность водопонизительной системы в условиях примера 35 при неустановившемся режиме исходя из обеспечения понижения уровня подземных вод для безнапорного водоносного слоя на глубину 5,5 м для разработки первого уступа котлована - за 10 сут, понижения на 13 м - в течение 25 сут и требуемого понижения уровня подземных вод напорного водоносного слоя (S2 = 5,2 м) к началу разработки 2-го уступа котлована - через 25 суток после начала откачки.

Водоотдача для безнапорного водоносного слоя μ = 0,08, пьезопроводность для напорного водоносного слоя a = 0,4·104 м2/сут.

Определяем радиус депрессии водопонизительной системы rd1 для безнапорного водоносного слоя по формуле (95) при t1 = 10 сут и S1 = 5,5 м

Функцию понижения Ф определяем по формуле к схеме 1 табл. 46

Необходимую производительность водопонизительных средств Q1 находим по формуле (70)

Необходимую производительность водопонизительных средств для понижения уровня подземных вод на величину S2 = 13 м (Q2) за t2 = 25 - 10 = 15 сут находим исходя из предположения, что эти средства включаются с начала откачки. Для этого определяем время t', в течение которого средствами с производительностью Q2 могло бы быть достигнуто понижение S1 = 5,5 м. Используя формулу (70) и формулу схемы 1 табл. 46, составим уравнение:

После подстановки исходных данных и соответствующих преобразований получаем:

откуда подбором определяем t' = 1 сут.

Определяем по формуле (72) среднюю глубину фильтрационного потока

Радиус депрессии rd2 за время t2 + t' = 15 + 1 = = 16 сут определяем по формулам (95) и (97)

Необходимую производительность водопонизительных средств на втором этапе работ определяем по формулам (70) и к схеме 1 табл. 46

Для напорного водоносного слоя по формуле (96) находим время t3, в течение которого радиус депрессии rd3 для водопонизительной системы достигнет значения, отвечающего условию установившегося режима rd3 = R2 = 340 м

t3 = 12 сут.

Следовательно, для выбора средств водопонижения в напорном слое можно принять Q3 = 1470 м3/сут, определенному по установившемуся режиму, с включением этих средств через 25 - 12 = 13 сут после начала откачки в безнапорном водоносном слое.

Суммарная производительность водопонизительных средств при неустановившемся режиме составит:

при t < 10 сут Q = Q1 = 2550 м3/сут,

при 10 < t < 13 сут Q = Q2 = 4370 м3/сут,

при t > 13 сут Q = Q2 + Q3 = 4370 + 1470 = 5870 м3/сут

с постепенным снижением до достижения определенной в примере 35 общей производительности системы для установившегося режима.

Пример 45. Определить притоки подземных вод на каждом этапе разработки котлована, выполняемой подводным способом плавучим земснарядом с глубиной погружения грунтозаборного устройства до 12 м, и установить порядок осушения котлована. Область питания безнапорного и напорного фильтрационных потоков в водоносных слоях не установлена.

Для безнапорного водоносного слоя коэффициент фильтрации k = 10 м/сут, водоотдача μg = 0,1.

Для напорного водоносного слоя коэффициент фильтрации k = 20 м/сут, пьезопроводность apc = 0,5·104 м2/сут.

Другие исходные данные приведены на черт. 147.

Принимаем разработку 1-го уступа котлована на глубину 7 м от поверхности земли (5 м ниже уровня подземных вод) с постепенным понижением зеркала воды со скоростью 0,5 м/сут.

Время осушения 1-го уступа котлована

t1 = 5/0,5 = 10 сут.

Приведенный радиус 1-го уступа r1 котлована определяем по формуле (74)

Среднюю глубину фильтрационного потока h (безнапорного) в I водоносном слое определяем по формуле (72)

Значение радиуса депрессии rd1 в I водоносном слое при понижении S1 = 5 м и t1 = 10 сут вычисляем по формулам (95) и (97)

Приток подземных вод при разработке 1-го уступа котлована Q1 определяем по формулам (70) и к схеме 8 табл. 46 при

Черт. 147. Расчетная схема к примеру 45

1 - уровень подземных вод I водоносного слоя, 2 - уровень подземных вод II водоносного слоя, 3 - первый этап разработки котлована, 4 - второй этап разработки котлована, 5 - третий этап разработки котлована

Напор в напорном водоносном слое можно не снижать с помощью разгрузочных скважин, если дальнейшую разработку вести без понижения зеркала воды в котловане до установления гидравлической связи двух водоносных слоев. Поэтому разработка 2-го уступа котлована на глубину 12 м от поверхности земли и разрезной траншеи в разделяющем слое производится в течение 5 сут без понижения уровня воды, достигнутого при разработке 1-го уступа.

К концу этого периода радиус депрессии rd2 достигнет величины

Определяем по формулам схемы 10 табл. 46 и (70) до какой величины упадет приток:

После выполнения разрезной траншеи на глубину разделяющего слоя и соединения вод двух водоносных слоев дальнейшая разработка производится с понижением зеркала воды в котловане. На данном этапе работ принимаем скорость понижения, равную 0,4 м/сут.

Время осушения 2-го уступа котлована составит:

t2 = 5/0,4 = 13 сут.

Приведенный радиус для 2-го уступа составит:

При понижении уровня подземных вод до подошвы I водоносного слоя радиус депрессии rd3 в нем по формуле (97) составит:

Приток из I водоносного слоя при разработке 2-го уступа котлована Q3 определяем по формулам схемы 1 табл. 46 и (70)

Приведенный радиус для 3-го уступа котлована

Радиус депрессии во II водоносном слое rd4 при осушении 2-го уступа котлована за t2 = 13 сут находим по формуле (96)

Приток из II водоносного слоя при осушении 2-го уступа котлована Q4 определяем по формулам схемы 1 табл. 46 и (70)

Разработка 3-го уступа котлована производится с одновременным понижением зеркала воды в котловане до его проектной отметки. При разработке 3-го уступа котлована приток воды из I водоносного слоя принимаем при rd = 272 м

Q3 = 1548 м3/сут.

Учитывая, что вследствие напорного характера подземных вод II водоносного слоя развитие воронки в нем будет проходить более интенсивно, чем в I водоносном слое, принимаем скорость понижения уровня воды при разработке 3-го уступа котлована 1 м/сут. Время осушения 3-го уступа составит:

t3 = 4/1 = 4 сут.

Определяем радиус депрессии rds во II водоносном слое при осушении котлована до проектной отметки по формуле (96)

Приток из II водоносного слоя при осушении 3-го уступа котлована Qs определяем по формулам схемы 1 табл. 46 и (70)

Результаты расчетов сводим в табл. 53.

Пример 46. Требуется определить число, расположение и производительность водопонизительных скважин для снижения в течение 30 сут напора в основании расположенного у реки объединенного котлована здания ГЭС и водосливной плотины (черт. 148).

В связи с недостаточной фильтрационной устойчивостью разделяющего слоя пьезометрический уровень напорных вод должен быть расположен ниже дна котлована. Исходные данные: толщина напорного водоносного слоя hd = 15 м, коэффициент фильтрации k = 5 м/сут, коэффициент пьезопроводности a = 104 м2/сут, над подошвой водоносного слоя напор Н = 40 м, расстояние от центра котлована до контура питания L = 1000 м, необходимое понижение напора на участке здания ГЭС SA = 20 м, на участке плотины SБ = 10 м.

Таблица 53

Этапы работ, разработка

Продолжительность работ, сут

Понижение УПВ, м, водоносного слоя

Расчетные притоки, м3/сут, из водоносного слоя

I

II

I

II

Всего

1-й уступ

10

5

-

1576

-

1576

Разрезная траншея

5

5

-

1420

-

1420

2-го уступа

 

 

 

 

 

 

2-й уступ

13

10

5

1548

1649

3197

3-й уступ

4

10

9

1548

2851

4399

Описание: 148

Черт. 148. Расчетная схема к примеру 46

1 - 10 - водопонизительные скважины; 11 - пониженный уровень подземных вод

Учитывая разное заглубление участков котлована, водопонизительные скважины целесообразно располагать только на участке здания ГЭС, имеющем наибольшее заглубление. Расчет проводим последовательным приближением для расчетных точек А, Б и одной из скважин, в которой ожидается наибольшее понижение, задавая сначала произвольное число скважин и уточняя его до получения оптимального решения.

Принимаем первоначально число равнодебитных скважин n = 3, располагая их у трех сторон участка котлована ГЭС, - скважины № 2, 6, 9 (на черт. 148 показано окончательное число скважин, и их расположение).

Измеряем расстояние от точки А до скважин xhi и до их зеркальных отображений xmlii (относительно контура питания).

Определяем значение функции Ei(-u), где u = xi2/4at.

Вычисления сводим в табл. 54

Определяем величину функции понижения ФA по формуле к схеме 6 табл. 50

В этой формуле

Определяем суммарный дебит Q системы скважин по формуле (70)

Наибольшее понижение уровня воды ожидается в скважине № 6; для его определения измеряем расстояния xhi и xmhi от скважины № 6 до остальных скважин и их зеркальных отображений и находим величину Ф6 по формуле к схеме 6 табл. 50, сводя входящие в нее величины в табл. 55.

Таблица 54

Номер скважины

x, м

Ei(-u)

2

120

1,2·10-2

-3,86

2m

1940

3,14

-0,01

6

210

3,7·10-2

-2,76

6m

1800

2,70

-0,02

9

160

2,1·10-2

-3,31

9m

1920

3,05

-0,01

Таблица 55

Номер скважины

x, м

Ei(-u)

2

200

3,3·10-2

-2,87

2m

1760

2,58

-0,02

6

0,2

3,3·10-2

-16,62

6m

1600

2,13

-0,04

9

190

3,0·10-2

-2,96

9m

1730

2,50

-0,02

Понижение в скважине № 6 по формуле (70)

Результат расчета неудовлетворительный, так как понижение уровня в скважине превышает напор (S6 > H), т.е. уровень в скважине должен опуститься ниже подошвы водоносного слоя. Увеличиваем число скважин и вновь проводим расчет в аналогичной последовательности. Приближение показывает, что удовлетворительный результат получается при числе скважин n = 10, расположенных, как показано на черт. 148.

При таком числе и расположении скважин получим:

фильтрационное сопротивление для точки А - ФA = 0,247;

суммарный расход системы скважин - Q = 6100 м3/сут;

производительность каждой скважины - q = Q/n = 610 м3/сут;

фильтрационное сопротивление для скважины № 6 - Ф6 = 0,382;

понижение уровня в скважине - S6 = 31,1 м.

Получив удовлетворительный результат по заданному понижению уровня в расчетной точке A (SA = 20 м), проверяем величину понижения уровня в расчетной точке Б на другом участке котлована. Расчет проводим по тем же формулам в следующем порядке:

находим расстояния от точки Б до скважин и их зеркальных отображений;

определяем величину ФБ = 0,167;

находим понижение в точке Б по формуле (70)

Результат удовлетворителен, с некоторым запасом.

Таким образом, требуемое понижение напора за 30 сут дает система из расположенных с трех сторон котлована у наиболее заглубленного его участка 10 скважин производительностью по 610 м3/сут каждая.

Пример 47. Для условий примеров 15 и 36 определить режим откачки из скважин и устройств внешней дренажной системы и время достижения требуемого понижения уровня подземных вод до остаточного столба воды над подошвой надрудных песков yе = 5 - 7 м.

Одновременно с действием внешней дренажной системы осуществляется сработка статических запасов подземных вод в контуре внешней дренажной системы путем откачки из водопонизительных скважин, расположенных над рудничными выработками. Вначале откачка из скважин производится погружными насосами. По мере проходки подземных выработок водопонизительные скважины переоборудуются в сквозные фильтры, также забуриваются и включаются в работу дополнительные восстающие скважины, подземные воды сбрасываются в подземные выработки и откачиваются подземными насосными станциями; некоторое время откачка ведется погружными насосами и надземными насосными станциями, затем - только подземными насосными станциями. Суммарный расход не должен превышать возможностей подземных насосных станций, которые, как определено в примере 36, рассчитываются на максимальный расход Q = 2556 м3/ч. Считаем, что за счет использования резервов в строительный период суммарная подача подземных насосов может быть несколько повышена, но для откачки из внешней дренажной системы не более чем до 3000 м3/ч.

Принимаем, что откачка начинается при готовности некоторого числа водопонизительных скважин с суммарной подачей насосов Q = 1200 м3/ч, затем их число, а следовательно и подача насосов, в течение 18 мес (шесть раз через каждые 3 мес) нарастает до достижения указанного максимума (3000 м3/ч).

Продолжительность откачки с максимальной интенсивностью определяем подбором.

В надрудной толще поток безнапорный, и значение уровнепроводности все время меняется (соответственно изменению средней глубины потока); для упрощения расчета при определении функции понижения принимаем значение уровнепроводности (и соответственно глубины потока) постоянным, равным среднему значению; в рудоносной толще поток напорный и значение пьезопроводности постоянное.

Определяем среднее значение уровнепроводности alc,mt в надрудной толще исходя из средней глубины потока в надрудной толще 55 м - в начале работ и 30 м - при достижении требуемого понижения по формуле (72) в конце периода

h = (2·55 - 50)/2 = 30 м

Определяем значение пьезопроводности a в рудоносной толще

Необходимое время достижения требуемого понижения до остаточного напора на подошву песков 5 - 7 м (S = 48 - 50 м) определяем подбором.

Определяем значения функции понижения в соответствии с графиком ввода в действие водопонизительных скважин (черт. 149) и общим сроком откачки, принимаемым вначале 24 мес, затем 32 мес и, получая удовлетворительный результат, 36 мес. Приводим результаты последнего расчета.

Описание: 149

Черт. 149. Ступенчатый график откачки подземных вод к примеру 47

Значения функции понижения для надрудной толщи Ф1 и рудоносной толщи Ф2 определяем по формуле (98)

Значения Фt вычисляются по формуле схемы 1 табл. 50. Вычисления по определению Фt сводим в табл. 56

Ф1 = 0,4·0,229 + 0,1(0,222 + 0,216 + 0,207 + 0,198 + 0,188 + 0,177) = 0,213;

Ф2 = 0,4·0,895 + 0,1(0,888 + 0,880 + 0,872 + 0,862 + 0352 + 0,839) = 0,877.

Достигаемое понижение S при этом по формуле (70) составляет:

Расчет скважинных водопонизительных систем

14.19. Расположение водопонизительных скважин, их число и заглубление следует принимать исходя из притока подземных вод и необходимого понижения их уровня.

Расчетную производительность скважин следует определять с учетом полученных опытных данных.

При отсутствии опытных данных производительность скважины допускается определять по эмпирической формуле

                                                          (103)

14.20. При расчете водопонизительных скважин, задаваясь их параметрами (глубиной, диаметром и длиной смоченной части фильтра) и на основе опытных данных, а при их отсутствии - по формуле (103) необходимо определить производительность одной скважины. Исходя из производительности одной скважины и общего притока подземных вод к водопонизительной системе необходимо наметить число скважин и их расположение, предполагая каждую из них примерно равной нагрузки. При этом необходимо принимать во внимание особенности гидрогеологических условий, а также уменьшение производительности скважин по мере сработки уровней подземных вод и в результате процессов кольматации, коррозии и химического зарастания фильтров.

14.21. При принятых расположении и производительности скважин необходимо проверить величины понижения уровня подземных вод в расчетных точках, на линии водопонизительных скважин и в самих скважинах.

Понижения в расчетных точках при контурных и линейных водопонизительных системах следует вычислять исходя из значений функции понижения Ф, определяемых по формулам схем 1 и 2 табл. 46, а также формулам (70) - (73).

14.22. Понижение уровня подземных вод на линии скважин определяется по формуле (70) по значениям Ф при xcs = r для контурных и xcs = 0 для линейных систем.

Связь между понижениями уровней воды в совершенных скважинах и на их линии для напорного потока выражается формулой

                                                         (104)

Связь между уровнями воды в совершенных скважинах и на их линии для безнапорного потока имеет вид

                                                         (105)

Ордината уровня воды на линии скважин определяется по формуле

yl = H - Sl.                                                                                      (106)

Таблица 56

t, сут

Надрудная толща

Рудоносная толща

Ei(-u)

Фt

Фt

1080

0,033

-2,876

0,229

< 0,01

-11,24

0,895

990

0,036

-2,792

0,222

< 0,01

-11,15

0,888

900

0,039

-2,709

0,216

< 0,01

-11,05

0,880

810

0,044

-2,596

0,207

< 0,01

-10,95

0,872

720

0,049

-2,489

0,198

< 0,01

-10,83

0,862

630

0,056

-2,364

0,188

< 0,01

-10,70

0,852

540

0,065

-2,223

0,177

< 0,01

-10,54

0,839

Для совершенных скважин показатель внутреннего фильтрационного сопротивления

Фin = Фc                                                                                              (107)

                                                        (108)

Для несовершенных по степени вскрытия водоносного слоя скважин показатель внутреннего фильтрационного сопротивления с учетом дополнительного гидродинамического сопротивления из-за неполного вскрытия водоносного слоя определяется по формуле

Фimp = Фc + Фcom;                                                     (109)

в напорных условиях

                                              (110)

где ε определяется по графику черт. 150

В безнапорных условиях в формуле (110) и при определении значения ε по графику черт. 150 следует вместо значения lf подставлять bf и вместо значения h подставлять yh.

Описание: 150

Черт. 150. К расчету сопротивления скважин на гидрогеологическое несовершенство

а, б - схемы несовершенных скважин в напорном и безнапорных пластах; в, г - графики для определения ε

При расчете системно несовершенных скважин в формулы (101) и (104) следует вместо значения Фin подставлять Фimp.

14.23. При выбранных числе, расчетной производительности и расположении водопонизительных скважин групповой системы следует проверить достижение требуемого понижения уровня подземных вод S в расчетных точках и в самих скважинах путем суммирования действий каждой скважины в отдельности:

                                                           (111)

Значения функций понижения для расчетных точек вне скважины определяются по формулам табл. 57, а в совершенной скважине от ее собственного действия - по формуле

                                                      (112)

При расчете систем из несовершенных скважин по формулам (110), (112) значение функции понижения Фimp входит в выражение расчетного радиуса rhe совершенной скважины, эквивалентной по дебиту действительной несовершенной скважине:

rhe = αrh; α = e-2πФimp.                                                    (133)

Расчет производится как для совершенных скважин с подстановкой в формулу (112) вместо rh величины расчетного радиуса rhе.

14.24. Окончательная глубина скважин и глубина погружения скважинного насоса, а также диаметр и длина фильтра устанавливаются на основании определенных по пп. 14.22 и 14.23 понижений и отметок уровней воды в самих скважинах.

Для длительного срока службы фильтр, как правило, следует располагать ниже уровня воды в скважине. При соответствующем обосновании допускается использовать водопонизительные скважины с незатопленным фильтром, например, на конечном этапе при понижении уровня воды до водоупора. В этом случае при определении Длины действующей (смоченной) части фильтра следует учитывать высоту высачивания, определяющую уровень воды за скважиной, и вычислять длину действующей части незатопленного фильтра lf, м, по формуле для совершенных скважин

                                (114)

для несовершенных скважин в формулу (114) вместо значения величины yh, следует подставлять bf.

Пример 48. Для линейной системы примера 37 определить основные параметры несовершенных скважин.

Ординату уровня подземных вод на линии скважин yl определяем по формуле (106)

yl = 18 - 7,9 = 10,1 м.

Задаваясь шагом скважин s = 20 м, определяем требуемую производительность одной скважины

qh = 20·11,34 = 227 м3/сут.

Для откачки воды принимаем насос 1ЭЦВ-6-10-50. Диаметр скважины с учетом применения фильтра СП-8Ф7В без обсыпки равен (с округлением) 250 мм.

Определяем показатель внутреннего фильтрационного сопротивления совершенной скважины Фс по формуле (108)

Таблица 57

Расчетная схема

Расчетная формула

Схема 1

В слое с круговым контуром питания

1 - скважина

Схема 2

В полуограниченном слое (с одним контуром питания)

1 - скважина; 2 - область питания

x имеет положительное значение, если точка М находится между скважиной и областью питания

Схема 3

В полосообразном слое с двумя контурами питания

1 - скважина; 2 - область питания

  или

Функция θ(u,v) определяется по черт. 151

Схема 4

В слое между областью питания и непроницаемой границей

1 - скважина; 2 - область питания

  или

Функция θ1(u,v) определяется по черт. 151

Ординату уровня воды в совершенной скважине yh,p определяем по формуле (105)

Минимальную длину действующей части фильтра lf определим по формуле (103)

Расстояние от сниженного уровня воды в скважине до низа фильтра исходя из требуемого подпора для выбранного насоса 1 м, расстояния от первой ступени до низа электродвигателя 1 м и принятого расположения низа фильтра на 1 м ниже электродвигателя составит bf = 3 м.

Учитывая, что уровень воды в несовершенной скважине должен быть несколько ниже, чем в совершенной, предварительно принимаем yh,ump = 7,2 м.

Черт. 151. Графики функций θ(u,v) и θ1(u,v)

При  по графику черт. 150 находим ε = 0,6, откуда по формуле (110)

Показатель полного внутреннего фильтрационного сопротивления несовершенной водопонизительной скважины определяем по формуле (109)

Фimp = 0,516 + 0,575 = 1,091.

а ординату уровня воды в несовершенной скважине - по формуле (105)

(совпадает с предварительно принятым уровнем).

Длину действующей части незатопленного фильтра несовершенной скважины определяем по формуле (114)

Общую длину фильтра принимаем 5,5 м исходя из размещения верха незатопленного фильтра на 0,6 м выше расчетного уровня воды за стенкой скважины (действующая часть фильтра отсчитывается вниз от этого уровня), длину отстойника ls = 2 м. Следовательно, глубина скважины составит (см. черт. 146)

lw = 2 + 10,8 + 3 + 2 = 17,8 м.

Пример 49. В условиях примера 7 определить производительность водопонизительных равнодебитных скважин, обеспечивающих требуемое понижение в течение трех месяцев на участке пионерного котлована, расположенного в углу будущего карьера первой очереди и предназначенного для монтажа земснаряда.

Описание: 152

Черт. 152. Расчетная схема к примеру

1 - 9 - водопонизительные скважины; 10 - пониженный уровень подземных вод

Исходные данные: напор подземных вод Н = 60 м, коэффициент фильтрации k = 12 м/сут, гравитационная водоотдача μg = 0,06; число равнодебитных скважин n = 9. Расположение котлована и скважин показано на черт. 152.

Требуется понизить уровень подземных вод в расчетной точке М на 11 м, т.е. на 1 м ниже дна котлована.

Определяем среднюю глубину фильтрационного потока h при понижении уровня подземных вод в расчетной точке М на 11 м по формуле (72)

Значение величины a определяем по формуле (97)

Измеряем расстояния от точки М до скважин xhi и до их зеркальных отображений xmhi (относительно контура питания).

Для определения суммарного дебита системы рассчитываем величину функции понижения ФM по формуле к схеме 6 табл. 50. При этом учитываем, что при значениях u < 0,01 функция Ei(-u) может быть заменена обратной по отношению к ней логарифмической функцией:  при u ≥ 0,01 используем зависимость функции Ei(-u) по табл. 51.

Вычисления сводим в табл. 58.

Таблица 58

Номер скважины

x, м

Ei(-u)

1

165

0,69·10-2

-4,395*

1'

1161

0,34

-0,824*

2

160

0,65·10-2

-4,457*

2'

1160

0,34

-0,824

3

171

0,75·10-2

-4,324*

3'

1162

0,34

-0,824

4

194

0,96·10-2

-4,072*

4'

1165

0,35

-0,804

5

226

0,13·10-1

-3,833

5'

1171

0,35

-0,804

6

194

0,96·10-2

4,072*

6'

1221

0,38

-0,743

7

171

0,75·10-2

-4,324*

7'

1270

0,41

-0,688

8

160

0,65·10-2

-4,457*

8'

1320

0,44

-0,645

9

165

0,69·10-2

-4,395*

9'

1369

0,48

-0,588

* Значение принято по логарифмической зависимости.

Определяем суммарный дебит системы Q скважин по формуле (70)

Дебит каждой скважины qc составит:

Определяем необходимую длину действующей части фильтра lf в скважине по формуле (103)

Длину фильтра принимаем lf = 18 м и проектируем его затопленным.

Для определения глубины расположения фильтра находим понижения в скважинах (расчетные скважины № 1 и 9). Измеряем расстояния xhi и xmhi от скважины № 1 до остальных скважин и их зеркальных отображений, то же делаем и для скважины № 9. Находим величины Ф1 и Ф9 по формуле схемы 6 табл. 50 для установившегося режима

Понижения в скважинах № 1 и 9 по формуле (70) составят:

Фильтр располагаем ниже глубины 30 м от поверхности. Полная необходимая глубина скважин от поверхности земли не менее 48 м.

При необходимости использования скважин в дальнейшем в системе строительного водопонижения карьера они должны быть заглублены до водоупора.

Пример 50. Борт буроугольного разреза высотой 80 - 100 м приблизился к руслоотводному каналу реки на расстояние от 100 до 200 м. Минимальный расход реки 2 м3/с, максимальный ≈ 200 м3/с. На борту возникли и развиваются оползневые процессы, которые могут привести к разрушению канала и проходящей вдоль него железной дороги.

Требуется дальнейшее подвигание рабочего борта разреза, при котором к моменту готовности новых коммуникаций, позволяющих ликвидировать существующие обводной канал и железную дорогу, расстояние от бровки откоса до канала достигнет 100 м, по длине 1,5 км.

Для обеспечения устойчивости откосов рабочего борта карьера запроектирован комплекс противооползневых мероприятий: рациональный профиль рабочего борта, дренажные пригрузки откосов в местах высачивания подземных вод, организация на борту поверхностного стока и линейная скважинная водопонизительная система вдоль бровки карьера на момент ликвидации существующих коммуникаций.

Требyется рассчитать запроектированную линейную водопонизительную систему, учитывая, что на основании расчетов устойчивости откосов по линии скважин необходимо понижение уровня подземных вод на 15 м.

Ситуационный план представлен на черт. 153, геологический разрез и геометрические параметры фильтрационного потока - на черт. 154.

Значения исходных величин, входящих в формулы для расчета линейной водопонизительной системы из несовершенных скважин: H = 30 м, Sl = 15 м, l = 1500 м, rd = L = 90 м, xcs = 0; k = 2 м/сут.

Определяем приток подземных вод по формулам (70) и схемы 2 табл. 46

Ф = 90/1500 = 0,06;

Приток на 1 м длины водопонизительной системы

Описание: 153

Черт. 153. Ситуационный план водопонизительной системы (к примеру 50)

1 - существующие борта карьера; 2 - борт на конец отработки карьера; 3 - водоотводящие устройства (канавы); 4 - оползневые трещины; 5 - водопонизительные скважины

Описание: 154

Черт. 154. Разрез 1-1 (к примеру 50)

1 - галька и гравий с песчано-суглинистым заполнителем; 2 - известняки; 3 - песчаники известковистые; 4 - глины; 5 - уголь; 6 - кварцевые порфириты; 7 - непониженный уровень подземных вод; 8 - пониженный уровень подземных вод; 9 - ось водопонизительной системы; 10 - дренажные пригрузки; 11 - первоначальный борт карьера; 12 - борт карьера на момент переноса канала

Считая скважины системы равнодебитными и принимая расстояние между ними S = 30 м, определяем необходимую производительность скважины:

qh = 7,5·30 = 225 м3/сут.

Число скважин в системе

n = 11250/225 = 50.

Принимая диаметр фильтра по обсыпке 0,426 м, минимальную длину действующей части фильтра lf определяем по формуле (103)

Принимаем lf = 3 м.

Определяем показатель внутреннего фильтрационного сопротивления Фin системы совершенных водопонизительных скважин по формулам (107) и (108)

Ордината уровня воды на линии скважин по формуле (102)

yl = 30 - 15 = 15 м.

Уровень воды в совершенной скважине по формуле (105)

Учитывая, что уровень в несовершенной скважине должен быть ниже, чем в совершенной, предварительно принимаем

yh,.ump = 6,2 м.

При  и  по графику черт. 150 находим ε = 0,7, откуда по формуле (110)

Следовательно, суммарное сопротивление с учетом несовершенства скважины составит по формуле (109)

Фimp = 0,5+ 0,33 = 0,83.

Уровень в несовершенной скважине по формуле (105)

(совпадает с предварительно принятым).

Глубина скважин составит lw = 38,8 м.

Пример 51. Для разработки 1-го уступа котлована требуется понизить уровень подземных вод в точке М на 5 м. Определить, достаточно ли для достижения этого уровня включения в работу первых четырех скважин с производительностью по 50 м3/ч строящейся водопонизительной системы, для обеспечения которой действующая часть фильтра должна быть длиной не менее 7 м (lf ≥ 7 м). Напор подземных вод на контуре питания H = 23 м, коэффициент фильтрации k = 10 м/сут. Расположение скважин и котлована показано на черт. 155.

Для определения понижения в точке M, учитывая равную производительность скважин и безнапорный характер потока, формулу (111) преобразуем с подстановкой значения h = 0,5(2H - S) к виду

Вычисляем функции понижения от действия одиночных скважин для точки М по формуле схемы 2 табл. 55

от скважин № 1 и 2 (x = 20 м, lh = 110 м, xh = 54 м)

от скважин № 3 и 4 (x = 50 м, lh = 140 м, xh = 54 м)

Сумма функций понижения от действия скважин № 1 - 4 для точки M1

Σfi = 2(0,214 + 0,231) = 0,89.

Откуда понижение в этой точке составит:

Определяем понижение в скважинах. При равной производительности наибольшее понижение будет в наиболее удаленных от реки скважинах № 3 и 4.

Описание: 155

Черт. 155. Расчетная схема (к примеру 51)

Функция понижения для скважин № 4 от ее собственного действия по формуле (108) (rd = 2L = 280 м, rh = 0,15 м)

Функции понижения для скважины № 4 от действия скважин № 1, 2, 3 определяем по формуле схемы 2 табл. 55:

от скважины № 1 (x = 30 м, lh = 110 м, xh = 76 м)

от скважины № 2 (x = 30 м, lh = 110 м, xh = 42 м)

от скважины № 3 (x = 0 м, lh = 140 м, xh = 40 м)

Сумма функций понижения для скважины № 4

Σf4 = 1,20 + 0,156 + 0,242 + 0,311 = 1,909.

Понижение в скважине № 4

Уровень воды в скважине

yh = H - S4 = 23 - 14,55 = 8,45 м.

Так как, yh = 8,45 > lf = 7 м и SM = 5,25 м > 5 м, то при вводе в действие первых четырех скважин разработка котлована на глубину первого уступа возможна.

Расчет лучевых водозаборов

14.25. Приток к одиночному лучевому водозабору в зависимости от понижения в его центре следует определять по формуле (70), определяя значения функции понижения по формуле

                                 (115)

где параметр питания лучевой скважины определяется по формуле

                                                         (116)

коэффициенты χ и ∆ определяются по табл. 59

Таблица 59

n

l/m

0,2

0,5

1,0

2,0

4,0

6,0

8,0

10,0

Коэффициент ∆

3

0,57

0,60

0,61

0,63

0,67

0,70

0,71

0,72

4

0,39

0,43

0,45

0,48

0,52

0,57

0,60

0,63

6

0,22

0,27

0,30

0,33

0,38

0,40

0,45

0,47

8

0,13

0,17

0,22

0,28

0,33

0,36

0,42

0,45

Коэффициент χ

-

3,2

3,6

4,0

4,5

5,0

6,2

7,0

8,0

14.26. Приток к одиночному лучевому водозабору в зависимости от понижения в точке на расстоянии не менее 1,75 (lr + rw) от центра колодца следует определять по формулам (70) и схемы 1 табл. 46, а системы лучевых водозаборов - по формулам схем 6 и 7 табл. 50 или по другим соответствующим формулам при схемах питания, отличающихся от схем 6 и 7 табл. 50, рассматривая лучевой водозабор как скважину большого диаметра (большой колодец).

14.27. В случае расположения расчетной точки ближе, чем на расстоянии 1,75 (lr + rw) к какому-нибудь водозабору, лучевые скважины этого водозабора при расчете разбиваются на равнодебитные участки и каждый участок заменяется эквивалентной ему по притоку вертикальной скважиной. Эквивалентные вертикальные скважины располагаются в центре тяжести треугольной или трапецеидальной эпюры притока к участку лучевой скважины (черт. 156), и понижение в расчетной точке Si, м, (при системе равнодебитных водозаборов) вычисляется по формуле

                                             (117)

где Фn-1 - функция понижения в расчетной точке от действия системы водозаборов за вычетом того водозабора, в зоне которого расположена расчетная точка;

Ф1 - функция понижения в расчетной точке от эквивалентных вертикальных скважин того водозабора, в зоне которого расположена расчетная точка;

n - число равнодебитных водозаборов.

Черт. 156. Эпюра притока к горизонтальной лучевой скважине в примере 52

14.28. При заданном или вычисленном по формуле большого колодца или групповой системы значении притока к лучевому водозабору можно определить параметры, задаваясь разными значениями диаметра и длины скважины и находя соответствующее им число скважин, подбором выбираем приемлемые значения.

Пример 52. Для условий примера 28 определить число скважин в лучевом водозаборе, их диаметр и длину, понижение в точке М1, расположенной вблизи водозабора № 4, принимая за исходное требуемое понижение SM = 4 м в точке М (черт. 157).

Черт. 157. Расчетная схема для определения функция понижения Ф в точке М от действующей системы водозаборов 1 - 5 в примере 52

Вычисляем по формулам к схеме 7 табл. 50 среднее расстояние от точки М до водозаборов и до их зеркальных отображений относительно осей x, z и начала координат (черт. 157):

Определяем значение функции понижения Ф в точке М от действия системы водозаборов по формуле к схеме 7 табл. 50

Приток подземных вод к системе лучевых водозаборов Q при требуемом понижении в точке М - SM = 4 м и среднем коэффициенте фильтрации водоносной грунтовой толщи  по формуле (70) равен

Тогда производительность одного водозабора составит:

Определяем по схеме 2 табл. 47 радиус депрессии

Определяем по формуле (116) параметр питания лучевой скважины R, принимая длину лучевой скважины lr = 40 м

Определяем по формуле (115) и табл. 59 требуемое число лучевых скважин n при принятой выше их длине и диаметре dh,r = 0,3 м

Производительность одной лучевой скважины

Вычисляем среднее расстояние от точки М1 до водозаборов № 1, 2, 3 и 5 водопонизительной системы и до их зеркального отображения относительно осей x, z и начала координат (черт. 158):

Описание: 158

Черт. 158. Расчетная схема для определения функции понижения Ф в точке M1 от действующей системы водозаборов № 1, 2, 3, 5 в примере 52

Определяем по формуле к схеме 7 табл. 50 значение функции понижения Ф1 в расчетной точке М1 от действия системы водозаборов

Заменяя каждую лучевую скважину водозабора № 4 двумя эквивалентными ей по притоку вертикальными скважинами, располагаемых в центре тяжести равнодебитных участков эпюры притоков к лучевой скважине (эпюра притока к лучевой скважине увеличивается по линейной зависимости с удалением от ее устья), вычисляем по формулам к схеме 7 табл. 50 среднее расстояние от расчетной точки M1 до эквивалентных вертикальных скважин и до их зеркального отображения относительно осей x, z и начала координат (черт. 159):

Определяем по формуле к схеме 7 табл. функцию понижения Ф1 в расчетной точке M1 действия эквивалентных вертикальных скважин дозабора № 4

Понижение в расчетной точке M1 по формуле (117) составит:

Расчет иглофильтровых систем

14.29. При разработке общих проектных решении иглофильтровых водопонизительных систем и их схематизации допустимо руководствоваться данными, приведенными в табл. 66 (см. разд. 15). При последующем проектировании основные параметры водопонизительных систем должны уточняться на основании расчетов.

При пользовании табл. 66 требуемое понижение отсчитывается для установок типа ЛИУ от оси насоса, типа УВВ - от оси коллектора, для эжекторных иглофильтров - от статического уровня подземных вод.

14.30. При расчете иглофильтровых установок необходимо учитывать высоту всасывания насоса и величину суммарных гидравлических потерь в отдельных узлах, что определяет возможное понижение уровня подземных вод. В связи с этим определение параметров водопонизительной иглофильтровой системы сводится к совместному решению двух уравнений, одно из которых определяет гидравлические параметры иглофильтровой установки, а другое выражает условие фильтрации подземных вод к этой установке при ее работе. Расчет системы, включающей несколько установок, сводится к расчету одной установки.

Описание: 159

Черт. 159. Расчетная схема для определения функции понижения Ф в точке М1 от действующей системы лучевых скважин в примере 52

Первое расчетное уравнение имеет вид

                            (118)

Приток подземных вод к одной установке Qp, м3/сут, определяется по формуле

.                                                                  (119)

Коэффициент фильтрации в прифильтровой зоне принимается:

при отсутствии обсыпки иглофильтров - по грунту;

при наличии обсыпки - kf = 15 - 25 м/сут - в зависимости от гранулометрического состава обсыпки;

параметр ξ принимается при продолжительности эксплуатации установки на проектируемом объекте до 1 мес, от 1 до 6 мес и более - соответственно 0,3; 0,4 и 0,5. Параметр ζ определяется по графику черт. 160.

Описание: 160

Черт. 160. Графики функций ζ = f(le)

Второе уравнение с учетом фильтрационного сопротивления иглофильтров имеет вид для системы:

контурной

                                                    (120)

линейной

                                            (121)

Значения Фfh для стандартного иглофильтра принимаются при расстоянии между иглофильтрами 0,75; 1,5; 2,25 и 3 м соответственно 1; 0,8; 0,7 и 0,65 м.

Значение Ф, входящее в формулы (120) и (121), вычисляется по схемам 1 и 2 табл. 46.

Значение Qp/nfh, определяющее производительность одного иглофильтра, должно быть не более предельно допустимого, принимаемого по графику черт. 161.

При расчете строительного водопонижения с помощью иглофильтровых установок допускается определять значение rd по формулам (95) и (96) при t = 5 сут, если по условиям питания водоносных слоев rd имеет большее значение.

Описание: 161

Черт. 161. График функции qfh = f(k)

14.31. Порядок расчета следующий:

Исходя из заданного понижения уровня подземных вод следует определить приток к системе по формулам (70) и к схемам 1, 2 табл. 46.

Описание: 162

Черт. 162. Графики предельной длины всасывающего коллектора на один насосный агрегат установки ЛИУ-6

По графикам черт. 162 найти предельную длину коллектора, исходя из которой определить число установок (насосов) в системе и приток к одной установке (к одному насосу). Для этого зададимся последовательно значениями шага иглофильтров sf = 0,75; 1,5; 2,25, 3 м и соответственно значениям nfh. Затем необходимо определить приток к одному иглофильтру.

Для каждого значения nfh, которому соответствует приток к одному иглофильтру, не превосходящий предельно допускаемого, вычисляют значения yhr по формуле (120) или (121) и строят график значений yhr = f(sf); аналогичное построение выполняют по формуле (116); получают две кривые, в пересечении которых определяются требуемые значения yhr и nfh (см. пример 53).

При выполнении данного расчета необходимо учитывать следующее:

если кривые yhr пересекутся в интервале между двумя значениями nfh, то следует принимать большее из этих двух значений (соответствующее меньшему шагу иглофильтров), а значение yhr принимать соответствующее принятому шагу иглофильтров по формуле (120) или (121);

если кривые yhr не пересекутся в интервале построения и при этом окажется, что значения yhr по формуле (118) выше всех значений yhr по формуле (120) или (121), то из этого следует, что насос установлен слишком высоко и для достижения требуемого понижения уровня подземных вод он должен быть перемещен на более низкую отметку (или может быть принято решение об устройстве ярусной системы водопонижения);

если значения yhr, вычисленные по формуле (118), ниже всех значений по формуле (120) или (121), то из этого вытекает, что высота всасывания насоса используется неполностью и при выборе параметров иглофильтровой установки следует руководствоваться расчетными данными по формулам (120) и (121) без ограничений, накладываемых формулой (118).

Определив yhr, полную глубину погружения иглофильтров следует принимать

lhr > yp - yhr + lf + 0,5                                                   (122)

для стандартного иглофильтра lf = 1,20 м.

Пример 53. Определить требуемое количество насосных установок ЛИУ-6, шаг иглофильтров и глубину их погружения при осушении котлована в безнапорном слое с исходными данными, показанными на черт. 163. Срок эксплуатации иглофильтровых установок - 7 мес.

Определяем приведенный радиус системы иглофильтровых установок по формуле (74)

средняя глубина фильтрационного потока по формуле (72)

уровнепроводность по формуле (97)

радиус депрессии при ts = 5 сут

Описание: 163

Черт. 163. Расчетная схема к примеру 53

1 - положение оси насоса; 2 - иглофильтры

Значение функции понижения для системы по формуле схемы 1 табл. 46

Приток к иглофильтровой водопонизительной системе по формуле (70)

По графику черт. 162 при Q = 154 м3/ч и общей длине коллектора 2(105 + 65) = 340 м длина коллектора одного насосного агрегата не должна быть более 105 м.

При четырех насосных агрегатах ЛИУ-6 (np = 4) длина коллектора одного агрегата составит lp = 340/4 = 85 м < 105 м, а длина одной ветви lb = lр/2 ≈ 45 м.

Предельную нагрузку на один иглофильтр qfh,l определяем по графику черт. 171 при k = 30 м/сут

qfh,l = 2,55 м3/ч.

Определяем число иглофильтров и нагрузку на один иглофильтр при шаге:

sf = 0,75 м; nfh = 85/0,75 = 110;

qfh = 154/(4·110) = 0,35 м3/ч;

sf = 1,5 м; nfh = 55; qfh = 0,7 м3/ч;

sf = 2,25 м; nfh = 37; qfh = 1,04 м3/ч < 2,25 м3/ч.

По формуле (118) вычисляем значения высоты от водоупора до сниженного уровня воды у иглофильтров при sf = 0,75; 1,5; 2,25 м. В расчетах принимаем: hvac = 6,0 м, kf = k = 30 м/сут, ξ = 0,5, Qp = 3686,2:4 = 922 м3/сут, значение коэффициента ζ при lb = 45 м по графику черт. 160. Результаты расчетов сводим в табл. 60.

Принимая значения Ф по схеме табл. 46, Фfh по п. 14.30, hl = H - s = 10 - 3,5 = 6,5 м, ln(rd/r) = ln(204/46,6) = 1,476, вычисляем yhr по формуле (120). Результаты расчетов сводим в табл. 61.

Таблица 60

sf, м

nfh

ζ

yp, м

hvac, м

1,34·10-7ζQp2

yhr, м

0,75

110

3,5

11,0

6,0

0,14

0,399

5,54

1,50

55

3,7

11,0

6,0

0,28

0,421

5,70

2,25

37

4,2

11,0

6,0

0,41

0,478

5,89

3,00

28

4,5

11,0

6,0

0,50

0,513

6,01

На основании вычисленных значений строим кривые  черт. 164. Так как кривые пересеклись в интервале между s = 2,25 м и s = 3,0 м, принимаем s = 2,25 м и по верхней кривой (формула 120) yhr = 6,04 м.

Черт. 164. К определению высоты Yhr в примере 53

Глубина погружения иглофильтров в грунт от оси насоса по формуле (122)

lhr ≥ 11 - 6,04 + 1,2 + 0,5 = 6,66 м.

14.32. При использовании для гравитационного водопонижения установок типа УВВ их параметры допускается определять по той же методике, что и для установок типа ЛИУ (см. пп. 14.29, 14.30).

Высоту всасывания hvac принимают в размере 9 - 8,5 м при водопонижении в грунтах с коэффициентом фильтрации менее 1 м/сут и в размере 8,5 - 8 м - в грунтах с коэффициентом фильтрации 1 - 2 м/сут. При этом глубину погружения иглофильтров установок УВВ можно принимать несколько меньшую, чем по формуле (120) при условии, что верх фильтровых звеньев будет располагаться не выше уровня yhr + e.

Высота капиллярного поднятия е, м, для грунтов с k = 0,1 - 2 м/сут может быть определена по приближенной формуле

                                                                (123)

После определения параметров водопонизительной системы с установками УВВ можно определить время t, сут, достижения требуемого понижения уровня подземных вод по формуле

Таблица 61

s, м

nfh

Фfh

np

S, м

H, м

yhr, м

0,75

110

1

4

3,5

10

3,72

6,28

1,50

55

0,8

4

3,5

10

3,85

6,15

2,25

37

0,7

4

3,5

10

3,96

6,04

3,00

28

0,65

4

3,5

10

4,06

5,94

                                                             (124)

где r - половина расстояния между двумя линейными водопонизительными системами или приведенный радиус контурной системы, м;

τ - величина, определяемая в случае, когда S (требуемое понижение) задано в середине между двумя линейными установками по графикам черт. 165, а когда задано в центре контурной системы - по графикам черт. 166 в зависимости от параметра понижения В (в напорном водоносном слое  в безнапорном ) и величины

Черт. 165. Графики функций τ = f(B) для линейных водопонизительных систем

Пример 54. Определить необходимое время для достижения требуемого понижения уровня подземных вод для производства работ в траншее в безнапорном водоносной слое с исходными данными, показанными на черт. 167.

Для водопонижения приняты установки УВВ-3А-6КМ, располагаемые по линейной схеме с обеих сторон траншеи; при расстоянии между иглофильтрами sf = 1,5 м, длине коллектора lp = 54 м, высоте всасывания hvac = 8,8 м и коэффициента фильтрации обсыпки иглофильтров ko = 15 м/сут, высота от водоупора до уровня воды у иглофильтра определена yhr = 5,55 м.

Черт. 166. Графики функций τ = f(B) для контурных водопонизительных систем

По формуле (97) находим значение коэффициента уровнепроводности

Определяем значение параметра В, соответствующее требуемому понижению уровня подземных вод:

При В = 0,761 и  (hl = H - S = 12 - 4,4 = 7,6 м) по графику черт. 165 τ = 5,0.

Время достижения требуемого понижения уровня подземных вод по формуле (124)

14.33. Фильтрационный расчет водопонизительных систем гравитационного водопонижения с использованием эжекторных установок аналогичен расчету систем со скважинами, оборудованными индивидуальными скважинными насосами.

Он позволяет определить величины притока воды к одной скважине (иглофильтру) qw и динамический уровень воды в ней yh.

Дальнейший расчет производится по той же схеме, что и расчет эжекторных вакуумных установок (см. п. 15.11).

14.34. Расчет электроосушения ведется в следующем порядке. Общее электрическое сопротивление ортогональной схемы R, Ом, определяется по формуле

                                                      (125)

где ρ - удельное электрическое сопротивление грунта, Ом·см;

b - расстояние между рядами электродов, см;

se - расстояние между электродами, м;

lе - глубина электродов, см;

nе - число электродов в ряду.

Описание: 167

Черт. 167. Расчетная схема к примеру 54

1 - природный уровень капиллярного поднятия; 2 - уровень капиллярного поднятия при установившемся режиме откачки; 3 - сниженный уровень подземных вод

Электрическое сопротивление шахматной схемы определяется по формуле

                                      (126)

где C - безразмерный параметр;

rе - радиус электродов, см;

                                                           (127)

Потребная мощность P, кВт, установки постоянного электрического тока вычисляется по формуле

                                                          (128)

где U - разность потенциалов между электродами, В.

Ток на единицу длины завесы I, А/м, определяется по формуле

                                                               (129)

Предельный ток на единицу длины завесы Il, А/м, определяется по формуле

                                                   (130)

Заданная разность потенциалов допустима, если IlI.

Расход электроэнергии на электроосушение W, кВт·ч, подсчитывается по формуле

W = 24Pt,                                                              (131)

где t - продолжительность работы установки, сут.

Пример 55. Периметр котлована 100 м; глубина электродов lе = 6 м; расстояние между электродами se = 1,2 м; расстояние между рядами электродов b = 80 см; радиус электрода rе = 2,5 см; удельное электрическое сопротивление грунта ρ = 1200 Ом·см; схема - ортогональная. Определить мощность генератора постоянного тока, силу тока и расход электроэнергии при работе сроком 1 месяц.

Определяем число пар электродов

ne = 100/1,2 = 83.

Определяем общее сопротивление системы электродов по формуле (126)

Мощность генератора постоянного электрического тока при разности потенциалов 40 В определяем по формуле (128)

Ток на единицу длины завесы определяем по формуле (129)

Предельный ток на единицу длины завесы определяем по формуле (130)

Получили I чуть больше Il, следовательно, в работе разность потенциалов должна быть немного понижена.

Расход электроэнергии за сутки на электроосмос по формуле (131) W = 24·51·1 = 1224 кВт·ч.

На 83 иглофильтра достаточна установка 4ВВ-3А-6КМ мощностью 15 кВт. Расход электроэнергии за сутки

W = 24·5,5 = 132 кВт·ч.

Общий суточный расход энергии Wc = 1224 + 132 = 1356 кВт·ч.

При работе сроком 1 мес вместе с временем активного осушения расход электроэнергии составит

Wm = 1356·30 = 40680 кВт·ч.

Расчет трубчатых и галерейных дренажей

14.35. При принятой глубине заложения кольцевого дренажа приток подземных вод к нему следует вычислять по формуле (70) и формулам схем 3 и 4 табл. 46.

Это же значение величины притока следует принимать при определении понижения уровней подземных вод согласно п. 14.22 в точках, являющихся внешними по отношению к контуру дренажа.

14.36. Понижение уровня подземных вод в центре кольцевого дренажа при заданной глубине его заложения, а также требуемую глубину заложения кольцевого дренажа при заданном понижении в его центре следует определять из уравнения

             (132)

Для схемы 3 табл. 46 yl = h; для схемы 4 той же таблицы yl = Н - Sl;

                                        (133)

Значения функций ,  и  определяются соответственно по графикам черт. 168.

Уравнение (133) следует решать методом подбора или графически.

Описание: 168

Черт. 168. Графики функций a - φ1(u); б - φ2(u); в - φ3(u)

14.37. При заданной глубине заложения линейного дренажа приток подземных вод к нему следует, определять по формуле (70) и формулам схем 5 и 6 табл. 46, а уровень подземных вод в точках на расстоянии x от оси линейного дренажа - по указаниям п. 14.21 исходя из величины притока, вычисленной по формуле (70).

14.38. При требуемом понижении в точке на расстоянии x от оси линейного дренажа следует вначале определить приток подземных вод к нему по формуле (70) и формулам схемы 2 табл. 46 затем, используя формулы схем 5 и 6 той же таблицы, определить подбором необходимую глубину заложения линейного дренажа.

Пример 56. Определить глубину заложения кольцевого дренажа и приток к нему Q при размерах контура 20×20 м, требуемом понижении уровня подземных вод в центре осушаемой площадки Scs = 6 м, коэффициенте фильтрации k = 10 м/сут, водоносном слое H = 14 м, радиусе дрены (по наружному слою обсыпки) 0,5 м и понижением уровня воды над водоупором

y = H - Scs = 14 - 6 = 8 м.

Приведенный радиус кольцевого дренажа определяем по формуле (74)

Радиус депрессии определяем по формуле (82)

Глубину заложения дренажа находим путем графического решения уравнения (132). Для этого, задаваясь последовательно тремя значениями Sl, равными 6,25; 6,5 и 7 м, вычисляем соответствующие им значения отдельно левой F1 и правой F2 частей уравнения (132); точке пересечений графиков функций F1 и F2 будет соответствовать искомое значение Sl.

Вычисления сводим в табл. 63.

Получаем глубину заложения Sl = 6,71 м путем графического решения двух уравнений: F1(Sl) и F2(Scs) (черт. 169).

Для определения притока к кольцевому дренажу вычисляем функцию понижения Ф по формуле к схеме 4 табл. 46 при средней глубине потока h по формуле (74)

Описание: 1

Черт. 169. К определению величины Sl в примере 56

Приток подземных вод Q к кольцевому дренажу определяем по формуле (70)

Пример 57. Определить приток к линейному дренажу и вычислить понижения в точках по нормали к оси дренажа при его заложении на глубине Sl = 5 м в напорном водоносном слое при h = 10 м, k = 12 м/сут, Н = 15 м, rh = 0,1 м. Источники питания водоносного слоя не определены.

Радиус депрессии дренажной системы определяем по формуле (83)

rd = 10·5√12 ≈ 175 м.

Фильтрационные сопротивления определяем по формуле к схеме 5 табл. 46

Приток подземных вод на 1 м линейного дренажа с одной стороны определяем по формуле (70)


Таблица 63

Sl

yl = H - Sl

r/yl

rd/yl

φ1(r/yl)

φ2(rd/yl)

φ3(r/yl)

ln(8r/rh)

6,25

7,75

1,42

19,35

5,00

2,20

-0,190

5,17

72,7

78,7

6,50

7,50

1,47

20,00

4,95

2,15

-0,195

5,17

77,6

80,4

7,00

7,00

1,57

21,43

4,90

2,10

-0,200

5,17

87,9

83,8


Полный приток на 1 м дренажа с двух сторон Q = 6 м3/сут. Понижение уровня подземных вод в заданных точках на линии, нормальной к оси дренажа, получаем из формулы к схеме 2 табл. 46 и (70). Вычисления при q/(kh) = 3/(12·10) = 0,025 сведены в табл. 64.

Таблица 64

xcs, м

rd - xcs, м

S = 0,025(rd - xcs), м

xcs, м

rd - xcs, м

S = 0,025(rd - xcs), м

5

170

4,25

100

75

1,87

10

165

4,13

150

25

0,62

20

155

3,88

175

0

0,00

Пример 58. Для условий примера 40 выбрать продольный уклон и определить диаметр трубчатой дрены, расположенной вдоль длинной стороны пластового дренажа.

Приток подземных вод к пластовому дренажу Q = 860 м3/сут = 9,95 л/с.

Уклон трубчатой дрены принимаем i = 0,004 из условия минимального объема земляных работ в траншее и минимального заглубления дрены ниже дна котлована. Диаметр трубчатой дрены выбираем по табл. 65 исходя из максимального притока к пластовому дренажу, принятого уклона и наполнения трубопровода, равного 0,6.

При Qmax = 9,95 л/с, i = 0,004, h = 0,6d минимальный диаметр трубы составит d = 200 мм.

15. ВАКУУМНОЕ ВОДОПОНИЖЕНИЕ

Общие положения

15.1. Вакуумное водопонижение характеризуется наличием в приемных звеньях иглофильтров или в фильтрах водопонизительных скважин разрежения (вакуума), интенсифицирующего движение воды через грунт и приводящего на определенной стадии работы водопонизительной установки к притоку к ней через частично осушенную толщу грунта атмосферного воздуха.

15.2. Вакуумное водопонижение следует предусматривать с применением вакуумных скважин, оборудованных погруженными центробежными насосами или эжекторами, легких или эжекторных иглофильтровых установок вакуумного водопонижения.

15.3. Для защиты горных выработок в слабопроницаемых грунтах от подземных вод наибольшее применение должны получить вакуумные скважины, оборудованные погруженными насосами, способные создать требуемые понижения (причем значительные) в условиях близкого залегания водоупора к подошве горной выработки и полностью перехватить приток подземных вод к совершенным (доходящим до водоупора) выработкам.

15.4. При проектировании полного перехвата притока подземных вод необходимо предусматривать расположение фильтров вакуумных водопонизительных скважин непосредственно над водоупором, а размеры отстойников (диаметр и глубину) достаточными для размещения в них погружных насосов с приспособлением для обтекания двигателя водой.

Таблица 65

Диаметр условного прохода, мм

Уклон, %

Значения расхода Q, л/с, и скорости движения воды в трубах v, м/с, при степени наполнения трубопровода

0,4

0,5

0,6

0,8

1,0

Q

v

Q

v

Q

v

Q

v

Q

v

150

0,5

3,69

0,56

5,39

0,61

7,19

0,65

10,3

0,69

10,5

0,58

0,6

3,75

0,57

5,56

0,63

7,46

0,67

10,9

0,72

11,1

0,63

0,8

4,32

0,65

6,41

0,72

8,61

0,78

12,5

0,83

12,8

0,72

1,0

433

0,73

7,17

0,81

9,63

0,87

14,0

0,92

14,3

0,81

200

0,4

6,56

0,56

9,73

0,62

13,10

0,66

19,0

0,71

19,5

0,62

0,6

8,04

0,69

11,90

0,76

16,00

0,81

23,3

0,87

23,9

0,76

0,8

9,28

0,79

13,80

0,88

18,50

0,94

26,9

1,00

27,5

0,88

1,0

10,40

0,88

15,40

0,98

20,70

1,05

30,1

1,12

30,8

0,98

250

0,3

10,30

0,56

15,30

0,62

20,50

0,67

29,9

0,71

30,6

0,62

0,6

14,60

0,80

21,60

0,88

29,00

0,94

42,3

1,00

43,2

0,88

0,8

16,80

0,92

25,00

1,02

33,50

1,09

48,8

1,16

49,9

1,02

1,0

18,80

1,03

27,90

1,14

37,50

1,22

54,5

1,30

55,8

1,14

300

03

16,80

0,64

24,90

0,70

33,40

0,76

48,6

0,80

49,8

0,70

0,6

23,70

0,90

35,20

1,00

47,30

1,07

68,8

1,14

70,4

1,00

0,8

27,40

1,04

40,60

1,15

54,50

1,23

79,4

1,31

81,2

1,15

1,0

30,60

1,16

45,40

1,29

61,00

1,38

88,8

1,47

90,8

1,29

Примечание. Для приведенных в таблице диаметров минимальные уклоны даны исходя из обеспечения незаиляемости труб.

Конструкция скважины должна обеспечивать возможность их эксплуатации при динамических уровнях воды, сниженных под нижние обрезы фильтров. Требуемый вакуум в надводном пространстве скважин должен создаваться и поддерживаться за счет откачки воздуха вакуум-насосами из группы скважин, объединенных воздухопроводами. Для этой цели могут быть использованы также насосные агрегаты типа УВВ.

Фильтрационный расчет двухрядной системы вакуумных скважин

15.5. Расчет вакуумного водопонижения следует выполнять с учетом всех факторов, оказывающих существенное влияние на снижение уровня подземных вод.

Для упрощения фильтрационных расчетов уровень воды в скважинах yh и вакуум в их надводном пространстве hvac принимаются неизменными в течение всего времени их эксплуатации.

Вакуум в надводном пространстве скважины должен определяться исходя из необходимости обеспечения расчетной глубины потока в заданной точке пласта к конечному моменту периода предварительной откачки t1 (черт. 170), т.е. к началу вскрытия выработки.

Черт. 170. Графики функций qw = f(t) и qa = f(t)

В соответствии с графиками изменения во времени притока подземных вод и воздуха (черт. 170) расчет максимального притока подземных вод qw, м3/сут, должен производиться по условиям начального момента работы установки t0, сут, максимального притока воздуха qa, л/с, по условиям конечного момента ее работы t2, сут.

Расчет сводится к последовательному определению требуемых величины необходимого вакуума hvac, максимального притока воды и воздуха и подбору по полученным данным насосного оборудования (схему движения воды и воздуха в прифильтровой зоне вакуумной скважины см. на черт. 171).

Черт. 171. Схема движения воды и воздуха в прифильтровой зоне вакуумной скважины

1 - депрессионная поверхность подземных вод; 2 - линии тока воды; 3 - водоупор; 4 - фильтр вакуум-скважины; 5 - линии тока воздуха; 6 - поверхность капиллярной зоны

15.6. Величину вакуума в надфильтровом пространстве скважины hvac, м, входящей в состав двухрядной вакуумной водопонизительной системы, при отсутствии необходимости в полном перехвате следует определять по формуле

                      (134)

а при необходимости полного перехвата - по формуле

                                 (135)

где  - соответственно расчетные первоначальная глубина потока подземных вод и глубина потока в расчетной точке в момент t1, м, определяемые по соотношениям

                                                               (136)

hcap - высота капиллярного поднятия грунта, м, принимаемая, как правило, по данным лабораторных или полевых определений; при их отсутствии допускается определять по графику черт. 172;

ω(α1τ) - функция расхода, значения которой следует определять по графикам черт. 173;

Ф(ξ,α2τ) - функция напора (понижения), значения которой следует определять по графикам черт. 174;

τ - параметр времени, величину которого следует определять по формуле

                                                             (137)

α1 и α2 - коэффициенты, значения которых следует определять по графику черт. 175;

ξ - параметр длины, определяемый по формуле ξ = x/b;

x - расстояние от оси области фильтрации до расчетной точки, м;

 - расчетная глубина потока, м, определяемая по формуле

                                                            (138)

Описание: 1

Черт. 172. Графики функций hcap = f(k) и μg = f(k)

Описание: 1

Черт. 173. Графики функций ω(α1τ)

Черт. 174. Графики функций Ф(ξ,α2τ)

Черт. 175. Графики для определения коэффициентов α1 и α2

В условиях полного перехвата

                                                       (139)

b - половина расстояния между рядами скважин, м;

μg - коэффициент водоотдачи, определяемый по данным полевых исследований; при их отсутствии допускается определять по графику черт. 172;

hvac - запас в величине вакуума, м, определяемый по формуле

hvac = 0,2S;                                                          (140)

Фimp - показатель полного внутреннего сопротивления системы несовершенных скважин, определяемый по формуле

Фimp = Фin + Фcom - Фint + Фf,                                            (141)

Фin - показатель внутреннего фильтрационного сопротивления системы совершенных скважин, определяемый по формулам (107) и (108);

Фсоm - показатель дополнительного фильтрационного сопротивления из-за неполного вскрытия одиночной скважиной водоносного слоя, определяемый по формуле

                                          (142)

здесь lw - длина участка фильтра, принимающего воду, м, определяемая по формуле

lw = 0,8lf;                                                                      (143)

                                                                     (144)

                                                         (145)

                                                               (146)

Фint - показатель дополнительного фильтрационного сопротивления, обусловленный взаимодействием несовершенных скважин, определяемый по графикам черт. 176;

Описание: 1

Черт. 176. Графики для определения Фint

Фf - показатель дополнительного фильтрационного сопротивления, обусловленный несовершенством скважин по характеру вскрытия

                                                              (147)

здесь ζf - параметр, значение которого зависит от конструкции фильтра (при отсутствии опытных данных допускается принимать ζf = 0,04 м).

Величина ε определяется по графикам черт. 160, на которых вместо  и lf/h следует соответственно принимать  и .

Расчетный напор  в скважине следует вычислять исходя из величины необходимого вакуума по формуле

                                               (148)

Если численное значение величины  окажется больше нуля, то нужное понижение в расчетной точке может быть достигнуто и с помощью обычных (открытых) скважин. Вопрос о применении обычных или вакуумных скважин решается в этом случае на основе технико-экономических сопоставлений вариантов.

Расчетная величина t1 принимается исходя из проектного графика производства работ, но не менее 10 сут.

15.7. Максимальный приток подземных вод qw, м3/сут, в одну скважину ряда следует определять по формуле

                                                      (149)

где показатель сопротивления Фimp следует определять по формуле (141), принимая ym = H и lw = lf.

15.8. Полный приток воздуха в одну вакуум-скважину qa, м3/сут, в расчетный момент времени t2 определяется по формуле

qa = qa1 + qa2,                                                               (150)

где qa1 - приток воздуха через неплотности конструкции, который допускается принимать равным 10 м3/сут;

qa2 - приток воздуха через грунт депрессионной воронки и фильтр скважины, м3/сут, определяемый по формуле

                                                      (151)

η1 - коэффициент, определяемый по формуле

                                                              (152)

Patm - абсолютное атмосферное давление, Па (допускается принимать Patm = 105 Па)

Pa - абсолютное давление в потоке воздуха на его подходе к верхнему участку фильтра высотой la (см. черт. 183), Па;

Фa - показатель фильтрационного сопротивления ряда скважин в области фильтрации воздуха, зависящего от la;

εa - коэффициент фазовой проницаемости грунта для воздуха, см2, определяемый по черт. 177;

μa - абсолютная динамическая вязкость воздуха, Па·с.

Давление Pa и величина la определяются путем совместного графического решения уравнений:

  (153)

где

                                                          (154)

                                                           (155)

Ph - давление в надводном пространстве скважин, Па, определяемое по формуле

Ph = Patm - hvacγw;                                                               (156)

γw - удельный вес воды, Н/м3 (допускается принимать 104 Н/м3);

                          (157)

amin - кратчайшее расстояние от верха фильтра скважины до поверхности земли, м, или до поверхности откоса траншеи (котлована, карьера).

Расчет однорядной и кольцевой вакуумных водопонизительных систем

15.9. При расчете однорядной вакуумной водопонизительной системы на борту открытой выработки (карьера) или на откосе отвала в вышеприведенных формулах следует принять b = l (l - расстояние от ряда скважин до основания выработки или откоса), x = 0 и H = Hh, где Hh - расчетная глубина потока на линии скважин в момент начала работы вакуумной водопонизительной системы, м.

Черт. 177. Графики функций εa = f(k)

Черт. 178. Графики функций ωr1τ)

15.10. При расчете кольцевой батареи вакуумных скважин в вышеприведенных формулах следует принять b = R (R - радиус кольцевой батареи); x = r (r - радиальная координата), а функцию расхода ω(α1τ) и напора Ф(ξ,α2τ) заменить соответственно на ωr1τ) и Фr(ρ,α2τ), значения которых следует определять по черт. 178 и 179, ρ = r/R.

15.11. Подбор отвечающих местным условиям скважинных насосов следует производить обычным путем по расчетному расходу откачиваемой воды с учетом требуемой геометрической высоты подъема воды и гидравлических потерь в напорном трубопроводе.

Для определения того числа вакуумных скважин, которое может быть присоединено к одному вакуум-насосу или к одному насосному агрегату типа УВВ (например, УВВ-3А-6КМ), следует по характеристике вакуум-насоса (насосного агрегата) определить его производительность при вакууме на всасывающей стороне, который может быть принят равным hvac, и разделить эту производительность на расчетный приток воздуха к одной вакуумной скважине.

Пример 59. Требуется рассчитать полный перехват фильтрационного потока над водоупором однорядной водопонизительной системой из вакуумных скважин, расположенной на борту карьера (черт. 180), при следующих данных:

H = 15 м, k = 2 м/сут, l = 20 м, S = 5 м, yh = a = 0,5 м, lf = 2 м, rh = 0,15 м, t1 = 30 сут = = 2592000 с, t2 = 120 сут = 10368000 с, amin = 14 м, αhcap = 0,4 м.

По графику черт. 172 при k = 2 м/сут находим высоту капиллярного поднятия грунта hcap = 0,5 м.

По формуле (136) определяем расчетную первоначальную глубину потока подземных вод

По формуле (139) определяем глубину потока в расчетной точке

По формуле (138) определяем расчетную глубину потока

Черт. 179. Графики функций Фr(ρ,α2τ)

Описание: 1

Черт. 180. Схема вакуумного водопонижения к примеру 59

Вычисляем значения величин lw. ym,  по формулам:

(143) lw = 0,8·2 = 1,6 м;

(144)

(145) ym = 0,5(15,4 + 0,5 + 1,6) = 8,75 м;

(146)

По графикам черт. 150, принимая вместо  и lf/h соответственно  и , находим при  и  значение величины ε = 0,46.

По формулам (107) и (108) при rh = 0,15 м вычисляем показатель внутреннего фильтрационного сопротивления системы совершенных водопонизительных скважин

По формуле (142) вычисляем значения величины показателя дополнительного фильтрационного сопротивления из-за неполного вскрытия скважиной водоносного слоя

По графикам черт. 176 при  и S/ym = 5/8,75 = 0,57 находим значение величины показателя дополнительного фильтрационного сопротивления при взаимодействии системы несовершенных водопонизительных скважин

Фint = 0,15.

По формуле (147) при ζf = 0,04 м вычисляем значение величины показателя дополнительного фильтрационного сопротивления, обусловленного несовершенством системы по характеру вскрытия

Показатель полного внутреннего сопротивления системы несовершенных водопонизительных скважин, определяемый по формуле (141), составит:

Фimp = 0,27 + 1,383 + 0,15 + 0,23 = 2,03.

По графику черт. 172 определяем значение величины коэффициента водоотдачи грунта

μg = 0,174.

По формуле (137) определяем значение величины параметра времени

По графикам черт. 175 находим значения величин коэффициентов α1 и α2 при SФimp/l = 5·2,03/20 = 0,508:

α1 = 0,46 и α2 = 0,62.

По графикам черт. 173 и 174 находим значения функций ω(α1τ) и Ф(ξ,α2τ) при α1τ1 = 0,46×3,58 = 1,65, α2τ1 = 0,62·3,58 = 2,22 и ξ = 0:

ω(α1τ1) = 0,47 и Ф(ξ,α2τ1) = 0,99.

По формуле (140) запас в величине вакуума составляет:

hvac = 0,2·5 = 1 м.

По формуле (135) определяем необходимый вакуум

Для определения максимального притока подземных вод в скважину вычисление значения величины показателя полного внутреннего сопротивления системы несовершенных водопонизительных скважин выполняем при  lw = lf по тем же формулам и графикам, что и при определении необходимой величины вакуума:

по формуле (144)

по формуле (146)

по графику черт. 150 ε = 0,29;

по формуле (108) Фin = 0,27;

по формуле (142)

по графику черт. 176 при  и S/ym = 5/15,4 = 0,32

Фint = 0,53;

по формуле (147)

по формуле (141) Фimp = 0,27 + 2,46 + 0,53 + 0,33 = 3,59.

Расчетный напор в скважине, определяемый по формуле (148), составит:

Максимальный приток воды в скважину, определяемый по формуле (149), составит:

Для определения полного притока воздуха в скважину в расчетный момент t2 = 120 сут:

находим по графику черт. 177 коэффициент фазовой проницаемости грунта для воздуха при k = 2,0 м/сут εa = 0,4·10-8 см2;

вычисляем по формуле (152) значение величины коэффициента η1 при S = 500 см, μa = 1,75·10-9 Н·с/см2 и Patm = 1,03·9,81 Н/см2 = 101 кПа.

вычисляем по формуле (154) значение величины коэффициента η2 при ζ = 4 см

вычисляем по формуле (155) значение величины коэффициента η3 при γw = 9,81·10-3 Н/см3

вычисляем по формуле (157) показатель фильтрационного сопротивления системы скважин в области фильтрации воздуха при произвольно принятых значениях la

la = 150 см;

la = 170 см;

вычисляем по формуле (156) давление в надводном пространстве скважин

Ph = 1,03·9,81 - 577·102·10-3·9,81 = 4,46 Н/см2 = 44,6 кПа.

Вычисляем по формуле (153) давление в потоке воздуха на его подходе к верхнему участку фильтра в зависимости от принятой выше его высоты la

вычисляем значение показателя полного внутреннего сопротивления системы несовершенных водопонизительных скважин при принятых выше значениях la = 150 см (lw = 200 - 150 = 50 см) по формулам:

(145) ym = 0,5(15,4 + 0,5 + 0,5) = 8,2 м;

(144)

(146)

по графикам черт. 160 (принимая вместо  и lf/h соответственно  и ) ε = 0,25 при  и  и по формулам:

(108) Фin = 0,27;

(142)

графикам черт. 176 Фint = 0,13 при = S/ym = 5/8,2 = 0,61 и  = 0,061;

по формуле (147)  при ζf = 0,04 м;

по формуле (141) Фimp = 0,27 + 2,34 + 0,13 + 0,7 = 3,44

la = 170 см (lw = 200 - 170 = 30 см);

по формуле (145) ym = 0,5(15,4 + 0,5 + 0,3) = 8,1 м;

по формуле (144)

по формуле (146)

по графикам черт. 150 (принимая вместо  и lf/h соответственно  и ) ε = 0,2 при  и

по формуле (108) Фin = 0,27;

по формуле (142)

графикам черт. 176 Фint = 0,13 при s/ym = 5/8,1 = 0,62 и lw = 0,037;

по формуле (147)

по формуле (141) Фimp = 0,27 + 2,04 + 0,13 + 1,15 = 3,59.

Вычисляем по формуле (137) значение параметра времени при t2 = 120 сут = 10368000 с и μg = 0,174

Находим по графикам черт. 175 значения коэффициента α1 для принятых значений la:

la = 150 см

α1 = 0,41 при SФimp/l = 5·3,44/20 = 0,86;

la = 170 см

α1 = 0,408 при SФimp/l = 5·3,59/20 = 0,898.

Находим по графикам черт. 173 значение функции ω(α1τ2) для принятых значений la:

la = 150 см

ω(α1τ2) = 0,232 при α1τ2 = 0,41·14,34 = 5,88;

la = 170 см;

ω(α1τ2) = 0,236 при α1τ2 = 0,408·14,34 = 5,85.

Вычисляем по формуле (153) давление в потоке воздуха на его подходе к верхнему участку фильтра в зависимости от принятой его высоты la:

Строим графики Pa = f1(la) и Pa = f2(la), из которых (черт. 181) устанавливаем требуемые высоту la и давление Pa:

la = 162 см, Pa = 5,26 Н/см2 = 52,6 кПа.

По формуле (157) определяем значение показателя фильтрационного сопротивления Фa при требуемой высоте la = 162 см

Описание: 1

Черт. 181. Графики определения высоты la и давления Pa в примере 60

Определяем по формуле (151) приток воздуха к вакуумной скважине через грунт депрессионной воронки и фильтр скважины

Полный приток к одной вакуумной скважине по формуле (150) составит

qa = 2,78 + 0,1 = 2,88 л/с.

Выполняем подбор оборудования вакуумных скважин:

для откачки максимального притока подземных вод к одной вакуумной скважине, составляющего qw = 1,01 л/с, предусматриваем использование скважинного агрегата ЭЦВ-6,3-85 с электродвигателем мощностью 2,8 кВт;

для откачки воздуха из вакуумных скважин предусматриваем использование насосных агрегатов УВВ-3А-6КМ. При расчетном вакууме hvac = 5,75 м производительность по воздуху одного агрегата составляет 11,4 л/с. Исходя из притока воздуха к одной скважине qa = 2,88 л/с, один насосный агрегат УВВ-3А-6КМ может обслужить четыре вакуумных скважины, т.е. 20 м водопонизительной линии.

Описание: 1

Черт. 182. Графики функции i = f(qw + qww,q'a)

Расчет эжекторных иглофильтровых установок и скважин, оборудованных эжекторами (ЭСУ)

15.12. Фильтрационный расчет вакуумных водопонизительных систем, включающих эжекторные иглофильтры и установки ЭСУ, ведется аналогично фильтрационному расчету вакуумных скважин, оборудованных погружными насосами (пп. 15.5 - 15.10). При этом расчетный вакуум, который должен быть обеспечен в приемной камере эжектора для достижения заданного понижения в заданной точке пласта за время t1, следует определять по формулам (134) и (135), принимая за величины yh расстояние по вертикали от водоупора до сопла эжектора.

Абсолютное давление в верхней части фильтра эжекторного иглофильтра или вакуумной скважины следует определять по формуле

Pa = Patm - (hvac - ew,                                                       (158)

где e - превышение сопла эжектора над верхним обрезом фильтра.

Для установки ЭСУ с эжекторами, установленными в пределах фильтров или отстойников, e = 0.

Дальнейший расчет следует выполнять для момента времени t2.

При этом приток подземных вод qw2, м3/сут, следует определять по формуле

                                                  (159)

Приток поступающего к эжекторному иглофильтру воздуха (или к скважине, оборудованной эжектором) qa, м3/сут, для t2 следует определять по формуле (150), принимая qa1 равным нулю.

Дальнейший порядок расчета ведется в последовательности:

1. По характеристикам используемой конструкции эжектора1 для расчетных значений qw2, qa2 и hvac определяется давление за диффузором H2, соответствующее давлению перед соплом H1 = 80; 100 и 120 м (все величины давления выражены в метрах водяного столба) и строится кривая H2 = f(H1).

1 Характеристики эжекторов установок ЭИ-70 и ЭСУ-20 для разных значений H1 и hvac могут быть получены во ВНИИ ВОДГЕО.

2. Для указанных значений H1 определяются расходы рабочей воды qww, подаваемой к соплу эжектора, по формуле

                                             (160)

где μ - коэффициент расхода, принимаемый равным 0,92;

ω0 - площадь сечения сопла, (в установке ЭСУ-20 диаметр сопла - 7,2 мм; в установке ЭИ-70 - 7,0 мм).

3. Вновь определяется давление за диффузором для указанных значений H1, но на основе подсчета падения давления на пути до циркуляционного бака установки по формуле

                                 (161)

где i - пьезометрический градиент, определенный по графикам черт. 182 как функция протекающих по водоподъемной трубе расходов воды qw + qww и воздуха q'a, приведенного к среднему давлению Pm по длине трубы, т.е.

                                                                  (162)

l1 - длина водоподъемной трубы от сопла до оси сборного коллектора, м;

l2 - половина длины сборного коллектора (принято, что центробежный насос обслуживает две ветви коллектора равной длины), м;

v'wa - приведенная скорость движения водовоздушной смеси в устье каждой ветви сборного коллектора, м/с, определяемая по формуле

                                                     (163)

здесь ω2 - площадь поперечного сечения сборного коллектора, м2;

n - число иглофильтров или вакуум-скважин, входящих в состав установки, шт.;

λ - коэффициент сопротивления трения по длине труб коллектора, принимаемый по числу Рейнольдса для водовоздушной смеси. Величина числа Рейнольдса Rewa вычисляется по формуле

                                                     (164)

здесь v'w и v'a - приведенные скорости воды и воздуха в устьях ветвей коллектора, м/с, определяются по формулам:

                                                   (165)

vw и va - кинематические коэффициенты вязкости соответственно для воды и воздуха, м2/с;

d2 - диаметр сборного коллектора, м;

1,0 - величина, приближенно учитывающая местные потери в сборном трубопроводе на пути от его устья до циркуляционного бака и превышение уровня воды в баке над осью коллектора, м.

По вычисленным значениям H'2 строится кривая H'2 = f(H1).

Точка пересечения кривых H2 = (H1) и H'2 = f(H1) определяет расчетные значения Н10 и H20.

4. Для Н10 определяется по формуле (160) расход рабочей воды qoww, л/с, подаваемой к соплу эжектора.

5. Требуемый напор центробежного насоса Hp, м, определяется по формуле

                         (166)

где l0 - превышение отметки оси центробежного насоса над отметкой сопла, м;

λ1 и λ3 - коэффициенты гидравлического сопротивления соответственно для водоподводящей трубы и распределительного коллектора;

l1 и l3 - длина соответственно водоподводящей трубы и распределительного коллектора, м;

d1 и d2 - диаметр, соответственно водоподводящей трубы и распределительного коллектора, м;

v'1 и v'2 - скорость движения воды, м/с, соответственно по водоподводящей трубе и распределительному коллектору (v3 - относится к начальному сечению последнего), определяемые по формулам:

                                      (167)

Σζ - суммарный коэффициент местного сопротивления в водоподводящей трубе (для ЭСУ-20 Σζ = 7);

h - превышение оси насоса над уровнем воды в циркуляционном баке;

0,5 - величина, приближенно характеризующая местные потери в распределительном коллекторе, на участке от напорного патрубка центробежного насоса до распределительного коллектора и во всасывающей линии насоса, м.

Точка, соответствующая Hp и Qp = nq0ww, наносится на характеристику центробежного насоса. Если она расположена ниже кривой, то к насосу может быть присоединено большее, чем n, число эжекторных водоподъемников, определяемое расчетом.

В том случае, когда точка располагается над характеристикой насоса, следует либо уменьшить число эжекторных водоподъемников, обслуживаемых стандартным (входящим в состав установки) насосом, либо использовать другой, более высоконапорный насос.

Гидравлический расчет вакуумного водопонижения эжекторными установками при отсутствии притока воздуха или при гравитационном водопонижении проводится аналогично, но с использованием графиков черт. 183 при исходных значениях qw и hvac (или H3).

Пример 61. Требуется определить число скважин эжекторной установки ЭСУ-20, которое может быть обслужено входящим в ее состав насосным агрегатом ЦНС 180-85 при следующих данных:

qw = 0,5 л/с; qa2 = 0,8 л/с, hvac = 4 м; l0 = 20,5 м; l1 = 20 м; l2 = l3 = 90 м; n = 30 шт. d1 = 0,04 м; d2 = 0,2 м; d3 = 0,15 м; ∆h = 0.

По графикам черт. 184 (hvac = 4 м вод. ст.) определяем давление за диффузором, H2, соответствующее H1 = 80, 100 и 120 м для qw2 = 0,5 л/с и qa2 = 0,8 л/с.

Их значения, соответственно равные H2 = 12,21 и 33 м, используем для построения графика H2 = f(H1) (см. черт. 185).

Вычисляем по формуле (160) расходы рабочей воды:

при H1 = 80 м

при H1 = 100 м

при H1 = 120 м

.

Вычисляем по формуле (162) расход воздуха, проходящего по водоподъемной трубе, принимая давление за диффузором 0,3 МПа (соответствует давлению H2 при длине трубы l1 = 20 м) и абсолютное давление в сборном коллекторе равным атмосферному:

Находим по графикам черт. 182 величину пьезометрического градиента:

при H1 = 80    м   i = 0,92,

      «     H1 = 100 «    i = 0,95,

      «     H1 = 120 «    i = 0,975.

Определяем по формуле (163) приведенную скорость движения водовоздушной смеси в устье каждой ветви сборного коллектора:

при H1 = 80 м

при H1 = 100 м

при H1 = 120 м

Описание: 1

Черт. 183. Характеристики эжектора ЭСУ-20 (с винтом) при откачке воды

а - давление H1 = 80 м; б - давление H1 = 100 м; в - давление H1 = 120 м

Определяем по формулам (165) приведенные скорости воды и воздуха в устьях ветвей коллектора:

при H1 = 80 м

при H1 = 100 м

при H1 = 120 м

Описание: 1

Черт. 184. Характеристики эжектора ЭСУ-20 с расчетным вакуумом hvac = 4 м при откачке водовоздушной смеси

а - давление H1 = 80 м; б - давление H1 = 100 м; в - давление H1 = 120 м

Определяем по формуле (164) число Рейнольдса для водовоздушной смеси, принимая vw = 1,2·10-6 м2/с и va = 14·10-6 м2/с:

при H1 = 80 м

при H1 = 100 м

при H1 = 120 м

Коэффициент сопротивления трения по длине шероховатых труб коллектора для вычисленных значений чисел Рейнольдса можно принять (см. диаграмму 2-4 И. Е. Идельчик «Справочника по гидравлическим сопротивлениям». М., 1976): λ = 0,04.

Определяем по формуле (161) давление за диффузором при длине водоподъемной трубы от сопла до оси сборного коллектора l1 = 20 м:

Черт. 185. К определению давлений Н10 и Н20 в примере 61

при H1 = 80 м

при H1 = 100 м

при H1 = 120 м

Строим график H'2 = f(H1) (см. черт. 185).

Точка пересечения графиков H2 = f(H1) и H'2 = f(H1) (см. черт. 185) соответствует значениям H10 = 99 м и H20 = 20 м.

Расчетный расход рабочей воды, подаваемой к соплу эжектора, по формуле (160) при H10 = 99 м составит:

q0ww = 1,68 л/с ≈ 6,05 м3/ч.

По формулам (167):

Требуемый напор центробежного насоса по формуле (166) при λ1 = λ3 = 0,04 составит:

Так как расчетная точка, соответствующая Hp = 82 м и Qp = nq0w = 50,4 л/с ≈ 181 м3/ч располагается несколько ниже характеристики насоса ЦНС 180-85 (черт. 186), то насос указанной марки может обслужить установку ЭСУ-20, а число вакуум-скважин может быть увеличено до 32.

Проектирование вакуумного водопонижения легкими иглофильтровыми установками

15.13. При проектировании водопонижения установками типа УВВ допустимо руководствоваться данными табл. 66.

Описание: 1

Черт. 186. Характеристика насоса ЦНС 180-85

Таблица 66

Коэффициент фильтрации осушаемого грунта k, м/сут

Характеристика пласта

Проектный срок предварительной откачки, сут

Полные длины иглофильтров, м

Целесообразный тип песчаной обсыпки

Расстояние от приемных звеньев до откоса, м

Требуемое понижение от отметки оси коллектора, м

Расстояние между иглофильтрами, м

0,1 - 0,5

Напорный

10 - 5

7,5

Высокая

Не менее 1,5

< 4,5

2,25

Безнапорный

15 - 7

 

> 6,0

0,75

0,5 - 2,0

Напорный

5 - 3

7,5

Высокая

При k = 0,5 м/сут не менее 1,5; при k = 20 м/сут не менее 3

< 4,5

2,25

Безнапорный

7 - 5

Низкая

4,5 - 6,5

1,50

 

 

 

> 6,5

0,75

2,0 - 10,0

Напорный

3 - 1

9,0

При k = 2 - 5 м/сут с низкой обсыпкой; при k = 5 - 10 м/сут без обсыпки

Любое

< 4,5

1,50

Безнапорный

5 - 2

> 4,5

0,75

Примечания. 1. Высокой считается песчаная обсыпка, окружающая иглофильтр по всей его высоте (до поверхности земли). Высота низкой обсыпки должна составлять (считая от наконечника иглофильтра) 1,5 - 3 м. От высокой обсыпки следует отказываться в тех случаях, когда всасывающая система водопонизительной установки включает иглофильтры, оборудованные воздушными трубками.

2. При осушении водоносных толщ, сложенных чередующимися слоями хорошо и плохо проницаемых грунтов, верх обсыпки следует назначать на уровне кровли самого верхнего, подлежащего осушению хорошо проницаемого слоя.

3. При малых расстояниях от поверхности земли или дна выемки до подстилающего водоносную толщу водоупора (менее 7,5 м) иглофильтры должны доводиться до водоупора.

16. МОДЕЛИРОВАНИЕ ВОДОПОНИЖЕНИЯ

Аналоговое моделирование

16.1. Для выполнения моделирования водопонижения на сеточных электроинтеграторах (СЭИ) непрерывный фильтрационный поток следует заменять конечным числом элементарных блоков, а нестационарный процесс, кроме того, - разбить на конечные интервалы по времени ∆ti. Для построения сеточной модели область фильтрации покрывается сеткой параллельных осям координат прямых, расстояние между которыми (шаг сетки) выбирается исходя из конструктивных особенностей моделирующего прибора, необходимой точности решения задачи гидрогеологических особенностей моделируемой области.

Фильтрационное сопротивление блоков сеточной модели Ф в общем случае следует определять по формуле

                                                                     (168)

где l - длина пути фильтрации или длительность процесса;

A - площадь сечения блока, нормального к пути фильтрации;

P - фильтрационный параметр.

Граничные условия на контурах модели должны быть аналогичными применяемым при аналитических расчетах водопонижения. При задании граничных условий сложные зависимости следует упрощать.

16.2. В одномерном потоке при стационарной напорной фильтрации подземных вод область фильтрации следует представлять в виде цепочки последовательно соединенных фильтрационных сопротивлений Фi. Число этих сопротивлений должно быть не менее 3 - 5. Для однородного пласта фильтрационное сопротивление Ф определяется по формуле

                                                               (169)

где ∆l - расстояние между узлами, м;

h - толщина водоносного слоя, м;

∆b - ширина блока, которая в дальнейшем для одномерных потоков принимается равной 1 м.

Описание: 1

Черт. 187. Расчетная модель безнапорной фильтрации

1 - границы блоков; 2 - узловые сечения со средней глубиной потока в блоке

При кусочно-однородном строении пласта фильтрационное сопротивление Ф должно рассчитываться по формуле

                                    (170)

16.3. В одномерном потоке при нестационарной фильтрации подземных вод разбивка области фильтрации, помимо фильтрационной неоднородности, должна учитывать характер потока. В зоне резкой деформации дискретность является более дробной. Кроме того, расчетные узлы необходимо приурочивать к местам заложения дренажных устройств, наблюдательных скважин и другим характерным точкам. Цепочка фильтрационных сопротивлений должна дополняться временными сопротивлениями Фt. Сопротивления Фt вычисляются по формуле

                                                                   (171)

где μ - коэффициент водоотдачи;

Ah - площадь горизонтального сечения блока, м2;

∆t - шаг вычислений по времени, сут.

При моделировании по этой схеме следует задаваться начальным распределением напоров в области фильтрации. Подключив к узловым точкам временные сопротивления и задав на их свободных концах напоры в момент времени t - ∆t и на границах в момент времени t, вычисляют напоры в узловых точках. Полученные значения являются начальными при подсчете напоров для следующего момента времени. Такой процесс продолжается до заданного момента времени.

16.4. В одномерном потоке при нестационарной безнапорной фильтрации (без учета водообмена в капиллярной зоне) моделирование выполняется методом последовательных приближений, где на каждом временном шаге производится перерасчет фильтрационных сопротивлений Ф по формуле

                                                (172)

где hmt - средняя во времени и пространстве глубина безнапорного потока в блоке, м (черт. 187).

При значительной нелинейности потока необходимо производить несколько перерасчетов сопротивлений Ф на каждом временном шаге.

16.5. В одномерном потоке при наличии инфильтрации (испарения) на сеточной модели в начальных условиях должна учитываться дополнительная величина напора H, вычисляемая по формуле

                                                                (173)

где P - интенсивность инфильтрации (испарения), м/сут.

При питании водоносного горизонта величина H является положительной, при испарении с поверхности подземных вод - отрицательной.

16.6. В одномерном потоке на наклонном водоупоре (черт. 188) определение притоков и уровней в условиях установившейся безнапорной фильтрации следует осуществлять моделированием напорного движения в слое переменной толщины эквивалентного безнапорному. Для этого необходимо подготовить сеточную модель так, чтобы вдоль координатной оси OX, совпадающей с направлением падения, фильтрационные сопротивления составляли

                                                       (174)

где h1 и h2 - глубина безнапорного потока в узлах соседних блоков, м.

Черт. 188. Расчетная модель фильтрации при наклонном водоупоре

1 - узловые сечения с глубиной потока в блоке

В условиях постепенного истощения безнапорного водоносного пласта с наклонным водоупором необходимо учитывать перемещение контура обводненности пласта в плане. Учет движения границы обводненности производится изменением величин временных сопротивлений обратно пропорционально изменению площади граничного блока и одновременным изменением сопротивлений Ф пропорционально изменению глубины потока hmt и длине ∆l граничного блока. Сопротивления для граничной точки, а также для всех блоков модели подбираются на каждом временном шаге.

16.7. В одномерном потоке со сложными внешними граничными условиями (фильтрация из водоемов) для учета гидродинамического несовершенства водоема и отображения его на модели необходимо вводить дополнительные фильтрационные сопротивления по полной или по упрощенной схеме. Фильтрационные сопротивления, представленные на схемах (черт. 189), определяются по формулам:

                                     (175)

                                         (176)

                                                              (177)

В случае однородного состава ложа водоема сопротивления на несовершенство Фn, Ф0n и Фnd определяются по формулам:

                                                    (178)

                                                               (179)

где        bst - расстояние между двумя параллельными границами водоносного слоя, м;

Ln, L0n, Lnd - эквивалентные длины потока, определяющие величины соответствующих сопротивлений, м.

Черт. 189. Схемы сопротивлений ложа водоема

а, б - полные (треугольник, звезда); в - упрощенные; В - водоем; Г1,2 - границы водоема

Черт. 190. Сеточная модель слоистой среды

а - построение сетки по осям x, z; б - расчетный узел сеточной модели

16.8. В двухмерном в разрезе нестационарном потоке (черт. 190) основные фильтрационные сопротивления Фx, Фz, Фzd, Фt определяются следующим образом:

                                         (180)

                                                            (181)

где hd - толщина разделяющего слоя, м.

16.9. В двухмерном в плане нестационарном потоке фильтрационные и временные сопротивления определяются по формулам:

                                                                (182)

                                                                (183)

                                                                    (184)

Учет осложняющих факторов (инфильтрация, уклон водоупора, нелинейность и др.) производится как для одномерного потока.

Для области с кусочно-постоянными фильтрационными свойствами, в случае расположения смежных узлов сетки в зонах с разными коэффициентами фильтрации, фильтрационные сопротивления определяются по формуле (165).

Описание: 1

Черт. 191. Фрагмент сеточной модели планово-пространственного потока

16.10. Для моделирования планово-пространственного нестационарного потока (черт. 191) необходимо определять фильтрационные и временные сопротивления Фx, Фy, Фz, Фt. При этом каждый водоносный слой моделируется как плановый нестационарный поток, а разделяющие и покровный слои - только вертикальными сопротивлениями. В разделяющем слое вертикальные сопротивления между смежными блоками определяются по формуле

                                                                  (185)

а временные сопротивления - по формуле

                                                                 (186)

где ∆hd - расстояние между центрами блоков, расположенных в смежных этажах разбивки разделяющего слоя, м.

При моделировании планового потока A = 0,25×(xi+1 - xi-1)(yj+1 - yj-1), а при моделировании плоско-радиального в секторе дугой, равной 1 рад

                                                             (187)

16.11. В профильно-радиальном потоке сопротивление потока между блоками i и i - 1 по горизонтали определяется следующим образом:

                                                              (188)

Вертикальные сопротивления Фz определяются по общей формуле (180).

16.12. Для моделирования пространственного потока используется объемная сеточная модель. Основные фильтрационные сопротивления следует определять по формулам:

                                                              (189)

                                                              (190)

                                                              (191)

                                                                    (192)

16.13. При моделировании дренажных устройств на сеточных моделях в случае задания их дебита в каждом блоке, включающем дренажные устройства, задается расход, соответствующий суммарному расходу в этом блоке.

Если моделирование дренажных устройств производится посредством задания соответствующего уровня, то в узловую точку должно включаться дополнительное фильтрационное сопротивление.

16.14. При моделировании скважин дополнительные фильтрационные сопротивления, обусловленные несоответствием фактических размеров скважин и блоков сеточной модели, определяются по формуле

                                                  (193)

где rh - радиус скважины, м.

Блоки со скважинами должны иметь квадратную форму.

При моделировании горизонтальных дрен (траншей, горных выработок и т.д.) дополнительные фильтрационные сопротивления за счет несоответствия площадей расчетных блоков и горизонтальных дрен в плане определяются по формуле

                                           (194)

16.15. Фильтрационные сопротивления, учитывающие несовершенство скважин по характеру и степени вскрытия, учитываются по формулам (110) и (113).

16.16. Дополнительные сопротивления Ф3 при задании обобщенных систем дренажных устройств для плоского в плане потока, при наличии в расчетном блоке n скважин (n > 3), расположенных на расстоянии s одна от другой, определяются по формуле

                                                             (195)

При моделировании бесконечного ряда скважин, когда поток приводится к линейному в плане шириной 1 м - по формуле

                                                                              (196)

где Фin - внутреннее сопротивление контура скважин, определяемое по формуле (108).

16.17. Дополнительные фильтрационные сопротивления при замене группы скважин большим колодцем определяются по формуле (188) с заменой в ней величины радиуса скважины rh приведенным радиусом системы, определяемым по формуле (74) или как среднегеометрическое из расстояния от расчетной точки до каждой скважины.

16.18. Переход от фильтрационной сеточной модели к электрической осуществляется исходя из масштабных коэффициентов αн, αФ и αQ

                                          (197)

где R - электрическое сопротивление, м;

I - сила электрического тока, А;

u - электрическое напряжение, В.

При этом должен выполняться следующий критерий подобия

                                                             (198)

Численное моделирование на ЭВМ

16.19. Для выполнения численного моделирования водопонижения на ЭВМ следует, как правило, применять программы, построенные на основе метода конечных разностей (МКР). При наличии соответствующего обоснования для моделирования водопонижения целесообразно применение программ, построенных на основе метода конечных элементов (МКЭ).

16.20. При численном моделировании водопонижения на основе МКР должна применяться ортогональная прямолинейная сетка, аналогичная используемой при аналоговом моделировании на сеточных интеграторах.

16.21. Средние размеры расчетных блоков и шага по времени следует выбирать из условия

                                                           (199)

                                                 (200)

где ∆x, ∆y - средние размеры блока, м;

L - характерный размер области фильтрации, м;

a - коэффициент пьезопроводности (уровнепроводности) пласта, м2 /сут;

t - шаг по времени, сут;

ε - допустимая относительная погрешность в определении величин напоров.

16.22. Для упрощения процедуры реализации на численной модели сложной геометрии области фильтрации ее следует вписывать в прямоугольник. Зоны, дополняющие область фильтрации до прямоугольника, являются фиктивными (черт. 192).

Описание: 1

Черт. 192. Схема разбивки области фильтрации на блоки

1 - граница фиктивной области; 2 - действительная граница области фильтрации; 3 - граница сеточной области фильтрации; 4 - центры фиктивных блоков; 5 - центры блоков в области фильтрации

В них должны задаваться нулевые (фиктивные) значения проводимости пласта. Начало осей координат XOY совмещается, например, с левым нижним углом прямоугольной области. Индексом i обозначается номер строки, индексом j - номер столбца.

16.23. Вспомогательное и машинное время численного решения задачи на ЭВМ прямо пропорциональны числу узловых точек поля сетки, поэтому не следует допускать необоснованного увеличения числа расчетных блоков.

16.24. Для конечно-разностной аппроксимации исходных дифференциальных уравнений нестационарной плановой фильтрации, описывающих задачи водопонижения, целесообразно использовать схему переменных направлений, построенную на основе интегро-интерполяционного метода в виде

                   (201)

    (202)

где H - напор подземных вод, м;

i, j, k - соответственно номера строки, столбца и шага по времени;

t - шаг по времени, сут;

μ - коэффициент водоотдачи;

ω - интенсивность площадного питания (разгрузки) подземных вод, м/сут;

TXi,j+½; TXi,j-½, TYi+½,j; TYi-½,j - некоторые коэффициенты, эквивалентные проводимости между соседними блоками, рассчитываемые по зависимостям

                                                    (203)

                                                       (204)

где TXi,j, TYi,j - коэффициенты водопроводимости в точке i, j по направлениям осей координат, м2/сут.

16.25. Исходные конечно-разностные соотношения (201), (202) должны приводиться к следующей системе линейных алгебраических уравнений:

               (205)

  (206)

где

                                    (207)

                                    (208)

По своему физическому смыслу:

Ai,j - площадь блока;

GX и GY - величины, обратные фильтрационным сопротивлениям поля - сетки;

GTi,j - величина, обратная половине временного сопротивления блока;

Wi,j - фильтрационный расход за счет внешних источников (стоков) в пределах расчетного блока.

16.26. Решение системы уравнений (205) следует осуществлять методом прогонки в два этапа.

Первый этап. Для каждой строки i (i = 1, 2 … NY) выполняется прогонка вдоль оси OX, в результате которой получается промежуточное Hi,jk+1/2

а) прямая прогонка

                                        (209)

б) обратная прогонка

                                           (210)

Второй этап. Для каждого столбца j (j = 1, 2 … NX) выполняется прогонка вдоль оси OY, в результате получаются значения напоров на время t + ∆t, Hi,jk+1:

а) прямая прогонка

                                                  (211)

б) обратная прогонка

   (212)

16.27. Реализация граничных условий (ГУ) I - III родов должна осуществляться с использованием метода фильтрационных сопротивлений исходя из уравнения

                                                         (213)

где Qi,j - расход воды, поступающей (оттекающей) к некоторой узловой точке i, j за счет действия ГУ, м3/сут;

H - значение напора на границе, сведенной с точкой i, j, м;

Нi,j - значение напора в точке i, j, м;

Фi,j - величина фильтрационного сопротивления, характеризующая степень взаимосвязи граничного условия с узловой точкой области фильтрации, сут/м2.

Если Фi,j имеет конечную величину 0 < Фi,j < ∞, то будет выполняться ГУ III рода.

При Фi,j = 0 имеет место условие Hг = Hi,j, т.е. выполняется ГУ I рода.

Если положить Фi,j → ∞ (например, 1010 сут/м2), то приняв H = Qi,j·Фi,j получим

                                     (214)

то есть с абсолютной погрешностью (в нашем случае 10-10 Hi,j) будет выполняться ГУ II рода.

Алгоритмически различные ГУ должны реализовываться посредством матрицы величин GGi,j, обратных Фi,j, и массива заданных ГУ по следующей схеме

                                    (215)

Соответственно в системе разностных уравнений (205), (206) необходимо положить

при ГУ II рода

                                    (216)

при ГУ I и III родов

                                         (217)

16.28. Вычисление расходов должно производиться на каждом временном теле ∆t по следующей балансовой зависимости (черт. 193)

   (218)

Описание: 1

Черт. 193. Схема баланса расходов в узловой точке

16.29. Численное моделирование водопонижения на ЭВМ для однородной среды может быть выполнено по программе «PFI» института ВИОГЕМ Минчермета СССР, основные характеристики которой приведены в табл. 67.

16.30. При численном моделировании водопонижения в слоистых водоносных комплексах, в частности, для двух водоносных слоев, разделенных слабопроницаемым прослоем, следует применять хорошо разработанные для таких задач программы, реализующие метод конечных элементов.

Таблица 67

Алгоритмический язык

Фортран ГУ

Операционная система

ОС ЕС ЭВМ

Система координат

X, Y, t

Максимальное число узловых точек

2500

Максимальное время счета одного временного шага

6,3 с

Максимальное число зон неоднородности по каждому из параметров

50

Максимальное число заданных внешних и внутренних граничных точек

500

Максимальное число возможных изменений граничных условий в каждой точке

50

16.31. Разбивка области фильтрации в этих случаях должна осуществляться на конечные элементы, представляющие собой прямые треугольные призмы (черт. 194).

Описание: 1

Черт. 194. Схема разбивки трехслойной области фильтрации на конечные элементы

16.32. Конечно-элементная интерпретация задачи водопонижения в рассматриваемой трехслойной среде должна иметь вид

                         (219)

где Т1,2 - соответственно коэффициенты водопроводимости верхнего и нижнего пластов, м2/сут;

μ1,2,d - соответственно коэффициенты водоотдачи водоносных пластов и слабопроницаемого разделяющего прослоя;

kd, hd, Iн - коэффициент фильтрации, мощность и начальный градиент фильтрации слабопроницаемого прослоя;

i, j, k - номера вершин треугольного элемента;

A = 1/2[(xi - xj)(yi - yk) - (xi - xk)(yi - yj)];

bi = yj - yk; bj = yk - yi; bk = yi - yj; ci = xk - xj; cj = xi - xk; ck = xj - xi,

{y1} и {y2}- узловые напоры в верхнем и нижнем пластах в момент времени t, м;

{y1}0 и {y2}0 - узловые напоры в момент времени t - ∆t, м;

t - шаг расчета по времени, сут;

{Q1} и {Q2} - узловые расходы, м3/сут;

16.33. Численное моделирование водопонижения на ЭВМ для трехслойной среды может быть выполнено по программе «FEM-ЗР» института ВИОГЕМ.

ПРИЛОЖЕНИЕ

Справочное

ОСНОВНЫЕ БУКВЕННЫЕ ОБОЗНАЧЕНИЯ ВЕЛИЧИН

A            - площадь, ограниченная контуром водопонизительной системы (контуром линии высачивания подземных вод в выработке, контуром внутренней грани противофильтрационной завесы), м2;

Cf, Ch       - параметры размерности, равные соответственно 1 сут/м2 и 1 сут/м;

Ei(-u)      - интегральная показательная функция;

F(u)        - вспомогательная функция для определения притока (или понижения уровня) подземных вод при плоском потоке;

H            - непониженный напор подземных вод в водоносном слое (напор в области питания), м;

L             - расстояние от оси (центра) водопонизительной системы или внутреннего контура противофильтрационной завесы до области питания, м;

Q            - полный приток подземных вод к контурной или односторонний приток к линейной водопонизительной системе, м3/сут;

Qp           - приток подземных вод к одной установке, м3/сут;

R             - параметр питания лучевой скважины;

S             - понижение уровня подземных вод в расчетной точке, м;

Scs           понижение уровня подземных вод в центре водопонизительной системы, м;

Sh            - понижение уровня подземных вод в скважине, м;

Sl                - понижение уровня подземных вод на линии (контуре) водопонизительной системы, м;

Wu,v         - вспомогательная функция для определения притока подземных вод при их перетекании через слабопроницаемый слой;

a             - обобщенный знак, обозначающий при пользовании формулами, в которые он входит: при напорной фильтрации apc - пьезопроводность, м2/сут; при безнапорной фильтрации alc - уровнепроводность, м2/сут;

a             - расстояние от водоупора до низа фильтра водопонизительной скважины, м;

b             - половина ширины дна траншеи (выработки), м;

bd            - величина, характеризующая перетекание подземных вод через слабопроницаемые слои, 1/сут;

bf            - расстояние от уровня воды в скважине до низа фильтра, м;

bst           - ширина (расстояние между двумя параллельными границами водоносного слоя), м;

dinf          - нижнее значение диаметра частиц, мельче которых в материале каждого слоя обсыпки содержится 10 % по массе, мм;

dfil           - наружный диаметр фильтра водопонизительной скважины, мм;

dg,mt        - среднее значение диаметра частиц, мельче которых в горной породе содержится 50 % по массе, мм;

dh            - диаметр скважины, мм;

dk            - характеристическое значение диаметра частиц, мельче которых в материале одного слоя обсыпки содержится 60 % по массе, мм;

dmt          - средний диаметр частиц, мельче которых в материале прилегающего к горной породе слоя обсыпки содержится 50 % по массе, мм;

d1,mt, d2,mt, d3,mt     - средние значения диаметра частиц материала обсыпки соответственно 1, 2 и 3-го слоев по направлению потока, мм;

dsup         - верхнее значение диаметра частиц, мельче которых в материале одного слоя обсыпки содержится 80 % по массе, мм;

f              - функция понижения в расчетной точке от действия одиночной скважины;

fh                - функция понижения в совершенной расчетной скважине от ее собственного действия;

fi             - функция понижения в расчетной точке от действия i-й одиночной скважины;

h             - средняя глубина фильтрационного потока, м;

hd            - толщина не нарушаемого при разработке разделяющего слоя водоупорных пород, м;

hz            - толщина водоносного слоя, глубина потока на линии иглофильтров, м;

hφ1             - толщина слоя, содержащего напорные воды, м;

hvac          - расчетная вакуумметрическая высота всасывания насоса, м (для установок ЛИУ принимается не более 6,0 м);

            - коэффициент фильтрации, м/сут;

kd            - коэффициент фильтрации разделяющего слоя, м/сут;

kf            - коэффициент фильтрации грунта в прифильтровой зоне, м/сут;

ks                - коэффициент фильтрации тела противофильтрационной завесы, м/сут;

l              - длина линейной или большая сторона контурной водопонизительной системы или завесы, м;

lb                 - длина наибольшей ветви коллектора;

lc                 - длина контура кольцевой или неполнокольцевой водопонизительной системы, м;

lf             - длина действующей части фильтра, фильтровое звено иглофильтра, м;

lh             - расстояние от границы водоносного слоя до скважины, м;

lrh            - глубина погружения в грунт иглофильтра от оси насоса, м;

lp             - длина коллектора одной иглофильтровой установки, м;

n             - число водопонизительных скважин, число ступеней изменения расхода системы;

np               - число иглофильтровых установок в системе;

nfh           - число иглофильтров в установке;

p             - интенсивность инфильтрации поверхностных вод, м/сут;

q             - удельный приток подземных вод (на 1 м водопонизительного контура), м2/сут;

qh            - производительность скважины, м3/сут;

qhi           - производительность i-й скважины, м3/сут;

r             - приведенный радиус водопонизительной системы, м;

rd            - радиус депрессии, м;

rh            - радиус скважины (дрены, половина ширины дрены), м;

rhe           - расчетный радиус совершенной скважины, эквивалентной по дебиту действительной несовершенной скважине, м;

rs            - приведенный радиус контурной противофильтрационной завесы по ее внутренней грани, м;

s             - шаг скважин (расстояние между скважинами на линии водопонизительной системы), м;

sf             - расстояние между иглофильтрами, м;

se            - расстояние между электродами, см;

t              - время работы водопонизительной системы (водопонизительных устройств), сут; продолжительность нагнетания раствора в скважину, ч;

tfm           - толщина слоя песчано-гравийной обсыпки, м;

(u,v)       - обобщенное обозначение аргументов функций;

v             - скорость фильтрации, м/сут;

x, y, z      - координаты точек;

xcs           - расстояние от центра (или оси) водопонизительной системы до расчетной точки, м;

xmcs         - расстояние от зеркального изображения центра водопонизительной системы до расчетной точки, м;

xhi           - расстояние от i-й (i - порядковый номер) скважины до расчетной точки, м;

xmhi         - расстояние от зеркального отображения z-й скважины относительно одной линейной области питания до расчетной точки, м;

xmhix        - расстояние от зеркального отображения и скважины относительно оси x до расчетной точки, м;

xmhiz           - расстояние от зеркального отображения i-й скважины относительно оси z до расчетной точки, м;

xmhio          - расстояние от зеркального отображения i-й скважины относительно начала координат до расчетной точки, м;

xmt              - среднее расстояние от расчетной точки до скважин, м;

xmt,m        - среднее расстояние от расчетной точки до зеркального отображения скважин при одной линейной границе области питания, водоносного слоя, м;

xmt,mx       - среднее расстояние от расчетной точки до зеркального отображения скважин относительно оси x, м;

xmt,mz         - среднее расстояние от расчетной точки до зеркального отображения скважин относительно оси z, м;

xmt,mo         - среднее расстояние от расчетной точки до зеркального отображения скважин относительно начала координат, м;

y             - напор (ордината депрессионной поверхности) в расчетной точке, м;

ycs           - напор (ордината депрессионной поверхности) в центре или на оси водопонизительной системы, м;

yh                - напор (ордината уровня воды) в скважине, м;

yh,p          - ордината уровня воды в совершенной скважине;

yh,ump         - ордината уровня воды в несовершенной скважине;

yh,r          - высота от водоупора до сниженного уровня воды у расчетного иглофильтра, м;

y1                - напор (ордината депрессионной поверхности) на линии водопонизительной системы, м;

yp                - высота расположения оси насоса над водоупором, м;

Ф            - функция понижения от действия водопонизительной системы;

Фin          - показатель внутреннего фильтрационного сопротивления системы совершенных водопонизительных скважин;

Фc           - показатель фильтрационного сопротивления водопонизительного контура;

Фfh          - фильтрационное сопротивление одного иглофильтра;

Фcom        - показатель дополнительного фильтрационного сопротивления из-за неполного вскрытия скважинами водоносного слоя;

Фimp        - показатель полного внутреннего сопротивления системы несовершенных водопонизительных скважин;

θ(u,v), θ1(u,v)  - вспомогательные функции для определения понижения между двумя границами водоносного слоя;

α             - коэффициент для определения расчетного радиуса совершенной скважины, эквивалентной по дебиту действительной несовершенной скважине

β             - заложение откоса;

δi                - отношение производительности i-й скважины к общему притоку;

ε             - коэффициент для определения дополнительного сопротивления из неполного вскрытия водоносной слоя скважиной;

∆             - коэффициенты для расчета лучевых водозаборов;

ζ             - коэффициент потерь напора во всасывающей системе иглофильтровой установки, сутки25;

μg           - гравитационная водоотдача горной породы;

μe            - упругая водоотдача горной породы;

ξ             - величина, зависящая от срока (t) службы иглофильтровой установки на данном объекте, м-1;

ρ             - удельное электрическое сопротивление;

φ(u,v), φ1(u), φ2(v), φ3(u)   - вспомогательные функции для расчета контурного дренажа.

СОДЕРЖАНИЕ

Предисловие. 1

Часть I. Системы защиты горных выработок от подземных и поверхностных вод (к СНиП 2.06.14-85) 2

1. Требования к изысканиям.. 2

Общие положения. 2

Физико-географические данные. 2

Климат и гидрометеорологические данные. 2

Геологическое строение. 3

Изучение гидрогеологических и инженерно-геологических условий. 3

Особенности изучения специфически усложненных гидрогеологических условий. 8

Техническое задание на изыскания. 10

2. Выбор систем защиты горных выработок. 17

Общие положения. 17

Выбор защиты горных выработок при определении способа разработки месторождения. 18

Системы защиты открытых выработок. 25

Системы защиты подземных рудников. 41

3. Организация внутрикарьерного стока и карьерный водоотлив. 55

Общие положения. 55

Расчет поверхностного стока в карьере. 56

Дождевая сеть. 65

Водосборники и карьерные насосные станции. 69

4. Подземные дренажные выработки, шахтный водоотлив. 76

Общие положения. 76

Дренажные выработки. 78

Схемы шахтного водоотлива и насосное оборудование. 81

Насосные станции с водосборниками. 88

5. Инженерные наблюдения и устройства для них на горных предприятиях. 100

Общие положения. 100

Гидрометеорологические наблюдения. 101

Гидрогеологические и инженерно-геологические наблюдения. 103

Геодезические наблюдения. 109

Проектные решения по наблюдениям в системах защиты.. 110

Часть II. Водопонижение при строительстве и эксплуатации зданий и сооружений (к СНиП 2.02.01-83) 115

6. Особенности проектирования водопонижения в промышленном и гражданском строительстве. 116

7. Строительное водопонижение. 121

8. Постоянные водопонизительные (дренажные) системы.. 134

Часть III. Сооружения и устройства систем защиты горных выработок, зданий и сооружений от подземных вод (к СНиП 2.06.14-85 и СНиП 2.02.01-83) 142

9. Водопонизительные скважины.. 142

Виды скважин. 142

Крепление скважин, устраиваемых с поверхности. 149

Фильтры.. 152

Песчано-гравийная обсыпка. 155

Обработка скважин. 155

Расчет обсадных труб. 156

10. Иглофильтровые установки и скважины, оборудованные эжекторами. 161

11. Дренажи. 167

12. Водоотвод. 175

13. Накопители-регуляторы и накопители-испарители. 182

Общие положения. 182

Накопители-регуляторы.. 182

Накопители-испарители. 191

Часть IV. Расчет водопонизительных (дренажных) систем (к СНиП 2.06.14-85 и СНиП 2.02.01-83) 197

14. Гравитационное водопонижение. 197

Общие указания. 197

Определение притока при установившемся режиме фильтрации. 198

Определение притока подземных вод при отсутствии завес. 208

Определение притока подземных вод при наличии завес. 210

Определение притока при неустановившемся режиме фильтрации. 219

Расчет скважинных водопонизительных систем.. 230

Расчет лучевых водозаборов. 240

Расчет иглофильтровых систем.. 244

Расчет трубчатых и галерейных дренажей. 251

15. Вакуумное водопонижение. 254

Общие положения. 254

Фильтрационный расчет двухрядной системы вакуумных скважин. 255

Расчет однорядной и кольцевой вакуумных водопонизительных систем.. 260

Расчет эжекторных иглофильтровых установок и скважин, оборудованных эжекторами (ЭСУ) 266

Проектирование вакуумного водопонижения легкими иглофильтровыми установками. 272

16. Моделирование водопонижения. 272

Аналоговое моделирование. 272

Численное моделирование на ЭВМ... 278

Приложение Основные буквенные обозначения величин. 283

 



© 2013 Ёшкин Кот :-)