Информационная система
«Ёшкин Кот»

XXXecatmenu

ОРДЕНА ТРУДОВОГО КРАСНОГО ЗНАМЕНИ НАУЧНО-
ИССЛЕДОВАТЕЛЬСКИЙ ИНСТИТУТ ОСНОВАНИЙ И
ПОДЗЕМНЫХ СООРУЖЕНИЙ им. Н.М. ГЕРСЕВАНОВА
(НИИОСП им. Н.М. Герсеванова)
ГОССТРОЯ СССР

 

РУКОВОДСТВО
ПО ПРОЕКТИРОВАНИЮ СВАЙНЫХ ФУНДАМЕНТОВ

 

Рекомендовано к изданию Секцией ученого совета «Основания и фундаменты» НИИОСП им. Н.М. Герсеванова.

Содержит материалы, разъясняющие нормативы и требования, изложенные в главе СНиП II-17-77 «Свайные фундаменты. Нормы проектирования». Даны рекомендации по проектированию, расчету и конструированию свайных фундаментов.

Для инженерно-технических работников проектных, проектно-изыскательских институтов и строительных организаций, занимающихся устройством свайных фундаментов.

ПРЕДИСЛОВИЕ

«Руководство по проектированию свайных фундаментов» содержит материалы, разъясняющие нормативы и требования главы СНиП II-17-77 «Свайные фундаменты за исключением вопросов, касающихся особенностей проектирования свайных фундаментов опор воздушных линий электропередачи, которые будут изложены в специальном руководстве.

Руководство составлено ордена Трудового Красного Знамени Научно-исследовательским институтом оснований и подземных сооружений им. Н.М. Герсеванова Госстроя СССР совместно с ГПИ Фундаментпроект Минмонтажспецстроя СССР и Всесоюзным научно-исследовательским институтом транспортного строительства (ЦНИИС) Минтрансстроя при участии НИИЖБ, ЦНИИЭП жилища, ПНИИИС, Харьковского ПромстройНИИпроекта, Красноярского ПромстройНИИпроекта Госстроя СССР, ВНИИГС Минмонтажспецстроя СССР, МИИТ, ВЗИИТ, МИСИ Минвуза СССР, Уральского политехнического института Минвуза РСФСР, ЦНИИЭПсельстроя Минсельстроя СССР, КИСИ и ДИСИ Минвуза Украинской ССР, треста Оргтехстрой Минстроя Белорусской ССР, Научно-исследовательского института Минпромстроя ССР (НИИпромстрой), института Гипротюменьнефтегаз Министерства нефтяной и газовой промышленности СССР.

Руководство разрабатывалось лабораториями НИИОСП: свайных фундаментов, естественных оснований и конструкций фундаментов, методов исследования грунтов, механики грунтов, строительства на слабых грунтах, динамики грунтов.

Общее редактирование и компоновка текста выполнены кандидатами техн. наук Б.В. Бахолдиным и ?.Б. Экимян.

В составлении Руководства приняли участие: разд. 1 - 8 и приложения к ним - кандидаты техн. наук Б.В. Бахолдин, Л.Я. Илькевич, П.А. Коновалов, Г.Б. Кульчицкий, Л.Г. Мариупольский, Б.Л. Фаянс, В.Г. Федоровский, Н.Б. Экимян, инженеры В.С. Князев, В.И. Стуров (НИИОСП); канд. техн. наук Ю.Г. Трофименков, инженеры Б.Ф. Кисин, Г.М. Лещин, З.К. Пярнпуу, В.Ф. Соколова, Б.С. Соминская, Р.Е. Ханин, А.А. Шерман (Фундаментпроект); д-р техн. наук А.А. Луга, кандидаты техн. наук Н.М. Глотов, К.С. Завриев (ЦНИИС); кандидаты техн. наук В. Н. Голосов, Н.Н. Коровин, В.А. Якушин (НИИЖБ); канд. техн. наук С.В. Тимофеев (ЦНИИЭПромзданий); кандидаты техн. наук И.З. Гольдфельд, В.Л. Трофимов (ПНИИИС); кандидаты техн. наук В. И. Берман, Е.М. Перлей, А.Я. Серебро (ВНИИГС); канд. техн. наук Ю.И. Ковалев (МИИТ); кандидаты, техн. наук Л.Н. Воробков, Н.М. Дорошкевич (МИСИ); кандидаты техн. наук Г.С. Лекумович, И.Я. Лучковский (Харьковский ПромстройНИИпроект); канд. техн. наук А.П. Хамов (ВЗИИТ); канд. техн. наук И.П. Бойко (КИСИ); д-р техн. наук В.Б. Швец, инж. В.И. Феклин (ДИСИ); канд. техн. наук С.Н. Вассерман (Гипротюменьнефтегаз); канд. техн. наук В.Б. Шахирев (Оргтехстрой Минстроя БССР); канд. техн. наук И.Б. Рыжков (НИИпромстрой); канд. техн. наук В.Л. Тарасов (УПИ); д-р техн. наук А.А. Бартоломей (ППИ); разд. 9 - д-р техн. наук А.А. Григорян (НИИОСП); разд. 10 - д-р техн. наук Е.А. Сорочан (НИИОСП); разд. 11 - канд. техн. наук А.И. Юшин (НИИОСП); разд. 12 - д-р техн. наук В.А. Ильичев, кандидаты техн. наук Ю.В. Монголов, В.М. Шаевич (НИИОСП); С.И. Гриб (Красноярский ПромстройНИИпроект); разд. 14 - канд. техн. наук Н.В. Жуков, инженеры И.Л. Балов и Л.Н. Карабанова (ЦНИИЭПсельстрой).

Приведенный текст главы СНиП II-17-77 отмечен слева вертикальной чертой. К каждому или нескольким пунктам главы СНиП даны соответствующие пояснения по их применению, а также примеры расчета, охватывающие наиболее типичные случаи, встречающиеся в практике проектирования. В ряде случаев нумерация формул, таблиц и рисунков двойная: в квадратных скобках - номера Руководства, в круглых - номера, соответствующие главе СНиП II-17-77.

1. ОБЩИЕ ПОЛОЖЕНИЯ

1.1. Нормы настоящей главы должны соблюдаться при проектировании свайных фундаментов зданий и сооружений.

Примечания: 1. Свайные фундаменты зданий и сооружений, возводимых на вечномерзлых грунтах, а также свайные фундаменты машин с динамическими нагрузками следует проектировать в соответствии с требованиями глав СНиП по проектированию оснований и фундаментов на вечномерзлых грунтах и по проектированию фундаментов машин с динамическими нагрузками.

2. Свайные фундаменты зданий и сооружений, возводимых на геологически неустойчивых площадках (на которых имеются или могут возникнуть оползни, карсты) и в других особых условиях, следует проектировать с учетом дополнительных требований, предъявляемых к строительству и эксплуатации зданий и сооружений в указанных условиях.

К п. 1.1. К другим особым условиям могут быть отнесены условия, вытекающие из особенностей работы специальных сооружений. Например, свайные фундаменты опор мостов и водопропускных труб следует проектировать с учетом влияния насыпи на прочность и деформируемость оснований фундаментов устоев мостов и водопропускных труб; влияния размывов дна на несущую способность и устойчивость фундаментов; воздействия помимо вертикальных больших горизонтальных нагрузок (давление грунта, льда, ветра, одностороннего распора арочных пролетных строений, торможения подвижного состава и др.); повышенных требований в отношении величин предельных осадок и горизонтальных смещений, особенно железнодорожных мостов в условиях скоростного движения транспорта. Отмеченные особенности работы мостов и труб отражены в соответствующих нормативных документах по проектированию таких сооружений.

1.2. Выбор конструкции фундамента (например, свайного или на естественном основании, на искусственно уплотненном, химически или термически упрочненном основании и т.п.), а также вида свай и типа свайного фундамента (например, свайных кустов, лент, полей) следует производить исходя из конкретных условий строительной площадки, характеризуемых материалами инженерных изысканий, на основе результатов технико-экономического сравнения возможных вариантов проектных решений фундаментов, выполненного с учетом требований технических правил по экономному расходованию основных строительных материалов.

К п. 1.2. Для выбора наиболее экономичного варианта фундамента необходимо в первую очередь использовать чертежи типовых конструкций, а также учитывать местный опыт строительства в аналогичных грунтовых условиях, наличие производственной базы и материальных ресурсов у организации-заказчика и организации-подрядчика.

При выборе вида фундамента рекомендуется учитывать, что применение свайных фундаментов взамен ленточных на естественном основании для жилых и общественных зданий в относительно благоприятных грунтовых условиях, как правило, бывает целесообразным при глубине заложения ленточных фундаментов более 1,7 м от поверхности планировки, а для производственных зданий - при глубине заложения отдельно стоящих ступенчатых фундаментов более 2,5 м.

Следует обратить внимание на целесообразность применения свайных фундаментов при строительстве на слабых грунтах (больших толщах текучепластичных и текучих глинистых, насыпных, заторфованных и др.), а также при высоком горизонте грунтовых вод и при глубоком сезонном промерзании грунтов.

При наличии скальных грунтов на глубине до 2,5 м от поверхности земли применение свайных фундаментов нецелесообразно.

Экономически оправдано опирание свай на несжимаемые и малосжимаемые грунты (например, скальные, твердые глинистые, плотные пески, галечниковые и т.п.) при их залегании на глубине более 2,5 м.

Методические принципы технико-экономической оценки проектных решений свайных фундаментов приведены в прил. 1.

1.3. Свайные фундаменты следует проектировать на основе результатов инженерно-геологических и гидрогеологических изысканий строительной площадки, выполненных в соответствии с требованиями раздела 3 настоящей главы, данных о климатических условиях района строительства, а также особенностей проектируемых зданий и сооружений и местного опыта строительства.

Проектирование свайных фундаментов без соответствующего инженерно-геологического обоснования или при его недостаточности для выбора рациональной конструкции фундамента, вида свай и определения их параметров не допускается.

К п. 1.3. Из числа государственных стандартов следует руководствоваться следующими ГОСТ: ГОСТ 19804.0-78, ГОСТ 19804.1-79, ГОСТ 19804.2-79, ГОСТ 19804.4-78 и ГОСТ 5686-78.

При проектировании свайных фундаментов в условиях агрессивных грунтовых вод необходимо также учитывать требования главы СНиП II-28-73 «Защита строительных конструкций от коррозии», а в условиях сезонно промерзающих пучинистых грунтов - требования главы СНиП II-18-76 «Основания и фундаменты зданий и сооружений на вечномерзлых грунтах».

При проектировании свайных фундаментов мостов и труб следует руководствоваться также требованиями главы СНиП по проектированию мостов и труб.

1.4. В рабочих чертежах свайных фундаментов должны быть указаны виды, количество и параметры свай (сечение и длина свай, а также несущая способность и соответствующая ей нагрузка, допускаемая на сваю), которые не требуют дополнительных уточнений путем испытания свай в грунте в процессе строительства.

Примечание. Испытания свай, свай-оболочек или свайных фундаментов (например, кустов), проводимые в процессе строительства или после его завершения в соответствии с требованиями глав части III СНиП по производству и приемке работ по устройству оснований и фундаментов и по приемке в эксплуатацию законченных строительством предприятий зданий и сооружений, являются, как правило, только контрольными для установления качества свайных фундаментов и соответствия их проекту, а также для установления соответствия грунтовых условий строительной площадки условиям, предусмотренным в проекте.

К п. 1.4. Для составления проекта свайных фундаментов необходимы следующие исходные данные:

отчет об инженерно-геологических изысканиях на участке проектируемого здания;

генплан в масштабе 1:2000 или 1:500 с указанием контура здания с продольными и поперечными осями, привязкой скважин (шурфов), точек зондирования, динамических и статических испытаний свай (если последние производились);

сведения о ближайших существующих и строящихся зданиях, подземных сооружениях, а также других особенностях площадки;

геологические колонки и профили по линиям разрезов;

данные о физико-механических характеристиках грунтов, прорезаемых сваями и залегающих под их нижними концами;

данные о гидрогеологических условиях площадки (уровни появившихся и установившихся горизонтов грунтовых вод - ГГВ, источники их питания, связь с ближайшими водоемами, возможность изменения ГГВ во времени года и в период эксплуатации);

лабораторные данные о химическом составе грунтовых вод, степени их агрессивности и глубине взятия проб воды;

результаты статического и динамического зондирования (если последние производились);

результаты пробных забивок свай, динамических и статических испытаний свай (если таковые производились);

проект планировки площадки;

данные об абсолютной отметке уровня пола первого этажа и технического подполья или подвала, если последние проектом предусмотрены;

конструктивная часть нулевого цикла (габариты техподполья или подвала), конструкция стен нулевого цикла, первого этажа и размещение в нем проемов и отметок их низа;

данные о расчетных и формативных нагрузках на фундаменты в основном и при необходимости особом сочетании;

характеристики и основные размеры фундаментов под оборудование, каналов, приямков и других заглублений.

Проект свайных фундаментов должен составляться на основании полноценных материалов инженерно-геологических изысканий, поэтому в процессе строительства не должно возникать необходимости в дополнительных уточнениях параметров свай (сечений, длин, несущей способности) путем их испытаний в грунте.

Контрольные испытания, динамические и статические, свай и свай-оболочек и т.п. выполняются для установления качества выполнения свайных работ и соответствия грунтовых условий площадки, предусмотренных в проекте.

При забивных сваях применяются испытания статическими и динамическими нагрузками; при буронабивных сваях и сваях-оболочках - только статическими нагрузками.

Количество контрольных испытаний свай назначается проектной организацией - автором проекта свайных фундаментов исходя из особенностей инженерно-геологических условий площадки строительства с учетом конструктивных особенностей строящегося здания или сооружения, количества свай на объекте, принятой в проекте несущей способности свай с учетом рекомендаций ГОСТа на испытание грунтов сваями.

Контрольные испытания свай следует, как правило, выполнять в начальный период производственного погружения, чтобы избежать потери материалов (бетона, стали) за счет бросовых концов свай (при забивных сваях) или излишнего расхода бетона при недоиспользовании принятой в проекте несущей способности забивных и буронабивных свай по сравнению с несущей способностью, полученной по результатам контрольных испытаний.

При необходимости проектная организация должна своевременно скорректировать проект свайных фундаментов по результатам контрольных испытаний, не задерживая выполнение строительных работ.

1.5. В проектах свайных фундаментов должно предусматриваться проведение натурных измерений деформаций оснований и фундаментов по специально устроенным маркам и реперам в следующих случаях: при применении новых конструкций зданий и сооружений или их свайных фундаментов, недостаточно изученных в массовом строительстве; при наличии в задании на проектирование специальных требований по измерению деформаций в целях изучения работы оснований, фундаментов, конструкций здания, сооружения или технологического оборудования. Выбор объекта для измерения деформаций должен быть согласован с заказчиком.

Программа и результаты наблюдений, проводившихся в период строительства, должны включаться в состав проектной документации, передаваемой при приемочном акте организации, эксплуатирующей здание или сооружение.

К п. 1.5. Натурные измерения деформаций оснований свайных фундаментов для зданий и сооружений выполняются, как правило:

на площадках, характеризуемых сложными инженерно-геологическими условиями (слабые грунты большой мощности, просадочные и набухающие грунты; при наличии сильносжимаемых прослоек торфов или илов, залегающих в пределах погруженной части свай; в зонах с возможным развитием карстовых и суффозионных явлений и т.п.);

при специальных требованиях к осадкам, предъявляемым надфундаментными конструкциями здания, сооружения или технологического оборудования;

при применении новых конструкций зданий;

при применении свай новых конструкций, технология устройства которых недостаточно освоена;

при других условиях, предусмотренных проектной организацией - автором проекта здания или свайных фундаментов.

Натурные измерения деформации оснований свайных фундаментов должны выполняться в строительный и эксплуатационный периоды.

Результаты наблюдений деформаций оснований свайных фундаментов используются для изучения работы конструкций зданий и свайных фундаментов в целях совершенствования методов их расчета и проектирования, а также для своевременного принятия мер по их прекращению.

Наблюдения за деформациями оснований свайных фундаментов в строительный период выполняются строительной организацией либо по договору с ней специализированной организацией.

Результаты этих наблюдений подлежат включению в состав проектной документации, передаваемой с приемочным актом организации, эксплуатирующей здание или сооружение.

Необходимость осуществления наблюдений за деформациями оснований свайных фундаментов в эксплуатационный период решается авторами проекта здания и свайных фундаментов и согласовывается с заказчиком.

Работы, по наблюдениям за деформациями оснований свайных фундаментов в строительный и эксплуатационный периоды выполняются по специальным программам, составляемым организациями, выполняющими эти наблюдения, и согласованными с авторами проекта здания и свайных фундаментов, а также с заказчиком.

Наблюдения выполняются по специально устроенным маркам и реперам, размещение которых следует выполнять исходя из обеспечения их сохранности в процессе всего периода наблюдений, установленного программой.

При составлении программы следует руководствоваться действующими рекомендациями по наблюдениям за деформациями оснований фундаментов.

1.6. Свайные фундаменты, предназначенные для эксплуатации в условиях агрессивной среды, следует проектировать с учетом дополнительных требований, предъявляемых главой СНиП по защите строительных конструкций от коррозии, а деревянные конструкции свайных фундаментов - также с учетом требований по защите их от гниения, разрушения и поражения древоточцами.

К п. 1.6. Деревянные сваи и другие деревянные конструкции свайных фундаментов для зданий и сооружений следует применять только при расположении их, в том числе голов свай, ниже наинизшего уровня грунтовых вод в строительный и эксплуатационный периоды не менее чем на 0,5 м. Применение деревянных свай выше уровня грунтовых вод допускается лишь в фундаментах временных зданий и сооружений, а также в фундаментах опор линий электропередачи при условии принятия соответствующих мер по их защите от гниения.

2. ВИДЫ СВАЙ

2.1. В настоящей главе рассматриваются следующие виды свай:

а) сваи забивные железобетонные и деревянные, погружаемые в грунт с помощью молота, вибропогружателей и вибровдавливающих агрегатов;

б) сваи-оболочки железобетонные;

в) сваи набивные бетонные и железобетонные, устраиваемые в грунте на месте;

г) сваи буроопускные железобетонные, устраиваемые из готовых железобетонных элементов, погружаемых в заранее пробуренные в грунте скважины;

д) сваи винтовые со стальным или железобетонным стволом.

К п. 2.1. Классификация свай определяется тем, что при разных видах свай грунтовая среда, в которую погружена свая, может претерпевать различные изменения. При забивных сваях грунт вокруг сваи и в ее основании уплотняется. При набивных сваях грунт, окружающий сваю, либо остается в естественном состоянии, либо степень плотности его нарушается из-за заполнения скважины водой и размягчения вследствие этого грунта вокруг сваи, оставления шлама в забое скважины, задержек в бетонировании и т.п. Некоторое уплотнение грунта может быть получено при устройстве набивных свай в пробитых скважинах. Однако степень этих уплотнений оказывается меньшей, чем при забивных сваях.

В процессе забивки свай образуется уплотненная грунтовая зона в основном в пределах 3d, где d - сторона или диаметр поперечного сечения свай. Этим и объясняется тот факт, что расчетное сопротивление грунта под нижним концом забивных свай в зависимости от естественной плотности или консистенции грунтов в несколько раз больше, чем для таких же грунтов при фундаментах на естественном основании.

Сваи-оболочки выделены в отдельный подпункт по той причине, что их погружение в связи с большими диаметрами (более 800 мм, см. п. 2.3) осуществляется по особой технологии. Чаще всего они догружаются с помощью вибраторов. В процессе погружения свай-оболочек, производят полную или частичную выемку грунта из полости либо оставляют грунтовое ядро нетронутым. Во всех этих случаях несущая способность свай-оболочек может быть разной, даже в одинаковых грунтовых условиях.

Винтовые сваи по сравнению с другими типами свай гораздо лучше работают на выдергивание и поэтому используются главным образом в сооружениях, где на фундаменты передаются преимущественно выдергивающие силы.

2.2. Сваи в зависимости от свойств грунтов, залегающих под нижним концом, подразделяются на сваи-стойки и висячие сваи.

К сваям-стойкам относятся сваи всех видов и сваи-оболочки, которые пepeдaют нагрузку нижним концом на практически несжимаемые грунты. Силы трения грунта на боковой поверхности свай-стоек в расчетах их несущей способности по грунту основания на сжимающую нагрузку не учитываются.

К висячим сваям относятся сваи всех видов и сваи-оболочки, погруженные в снимаемые грунты. Висячие сваи передают нагрузку на грунт боковой поверхностью и нижним концом.

Примечание. К практически несжимаемым грунтам относятся скальные, крупнообломочные (валунный, галечниковый, щебенистый, гравийный, дресвяный) с песчаным заполнителем и глинистые грунты твердой консистенции, за исключением покровных со степенью влажности G < 0,85, а также лессов, лессовидных, набухающих и засоленных грунтов.

К п. 2.2. Сваи-стойки передают нагрузку нижними концами, опирающимися на практически несжимаемый грунт. Сопротивление грунта на боковой поверхности в этих случаях не учитывается потому, что осадка сваи, за исключением сжатия ствола, практически не будет иметь места, а сопротивление грунта на боковой поверхности свай, как известно, обусловлено сопротивлением грунта сдвигу и может проявить себя лишь в процессе перемещения, т. е. осадки сваи. Сваи, погруженные в сжимаемые грунты и опирающиеся нижними концами также на сжимаемые грунты, называются висячими сваями. Висячие сваи благодаря развитию осадок за счет деформации сжимаемого грунта под нижним концом сваи передают нагрузку, как нижним концом, так и боковой поверхностью. К сжимаемым грунтам относятся пески, супеси, суглинки и глины от текучей до полутвердой консистенции. В зависимости от плотности песчаных и консистенции глинистых грунтов, залегающих вокруг свай, значения сопротивлений грунтов на их боковой поверхности и под их нижними концами колеблются в больших пределах.

Количественное соотношение сопротивлений грунтов на боковой поверхности и под нижними концами свай не может быть установлено однозначно вследствие большого разнообразия грунтовых напластований.

2.3. Забивные железобетонные сваи и сваи-оболочки подразделяются:

а) по способу армирования - на сваи и сваи-оболочки с ненапрягаемой продольной арматурой с поперечным армированием и на предварительно-напряженные со стержневой или проволочной продольной арматурой (из высокопрочной проволоки и арматурных канатов) с поперечным армированием и без него, причем без поперечного армирования изготавливаются только сваи квадратного поперечного сечения;

б) по форме поперечного сечения - на сваи квадратные, прямоугольные, квадратные с круглой полостью и полые круглые диаметром до 800 мм включительно и сваи-оболочки диаметром более 800 мм;

в) по форме продольного сечения - на призматические и с наклонными боковыми гранями (пирамидальные, трапецеидальные, ромбовидные);

г) по конструктивным особенностям ствола сваи - на цельные и составные (из отдельных секций);

д) по конструкции нижнего конца - на сваи с заостренным или плоским нижним концом, с уширением (булавовидные сваи) или без него, полые сваи - с закрытым или открытым нижним концом и с камуфлетной пятой.

Примечание. Сваи забивные с камуфлетной пятой изготавливаются путем забивки полых круглых свай, оборудованных в нижней части стальным полым наконечником с закрытым концом, с последующим заполнением полости свай и наконечника бетонной смесью и устройством с помощью взрыва уширенной пяты (камуфлета) в пределах наконечника. В проектах свайных фундаментов с применением забивных свай с камуфлетной пятой следует Предусматривать указания о строгом соблюдении требований правил производства буровзрывных работ, в том числе при определении допускаемых расстояний от существующих зданий и сооружений до места взрыва.

К п. 2.3. В проектах свайных фундаментов должны предусматриваться гостированные и типовые конструкции забивных свай и свай-оболочек. Нетиповые конструкции свай и свай-оболочек следует использовать главным образом в случаях, когда типовые конструкции оказываются по расчету недостаточными для воспринятия нагрузок от проектируемого сооружения, обосновывая их применение технико-экономическими расчетами.

В целях повышения качества изготовления составлены ГОСТы на следующие конструкции забивных железобетонных свай сплошного квадратного сечения:

с ненапрягаемой арматурой длиной 3 - 16 м, сечением от 200´200 до 400´400 мм (ГОСТ 19804.1-79);

с напрягаемой арматурой из высокопрочной проволоки длиной 3 - 16 м, сечением от 200´200 до 400´400 мм (ГОСТ 19804.2-79);

с напрягаемой стержневой арматурой длиной 9 - 20 м, сечением от 300´300 до 400´400 мм (ГОСТ. 19804.2-79);

с напрягаемой прядевой арматурой длиной 11 - 20 м, сечением от 300´300 до 400´400 мм (ГОСТ 19804.2-79);

без поперечного армирования с напрягаемой арматурой длиной 3 - 12 м, сечением 250´250 и 300´300 мм (ГОСТ 19804.4-78).

Разработаны также чертежи типовых конструкций свай квадратного сечения с круглой полостью длиной 3 - 8 м, сечением 300´300 и 400´400 мм по серии 1.011-6 и полых круглых свай диаметром от 400 до 800 мм и свай-оболочек диаметром 1000 - 1600 мм по серии 1.011-5. Полые круглые сваи и сваи-оболочки в соответствии с типовыми чертежами разработаны цельными длиной 4 - 12 м и составными, т.е. состоящими из отдельных секций, наращиваемых в процессе погружения. Соединение отдельных секций указанных составных свай осуществляется с помощью сварных или болтовых стыков. Элементы этих стыков предусмотрены в виде стальных закладных деталей, устанавливаемых в процессе бетонирования по торцам секций составных свай.

Полые круглые сваи диаметром до 800 мм применяются с открытым и закрытым нижним концом.

На последней стадии погружения полой круглой сваи оставляют ненарушенным грунтовый сердечник высотой не менее двух наружных диаметров сваи.

Сваи, открытые снизу, могут иметь различную конструкцию обрамления нижнего конца. Если сваи намечается погружать сквозь толщу слабых грунтов, не имеющих посторонних включений, с опиранием на малосжимаемые грунты без большого заглубления в них, то нижние концы свай допускается не обрамлять стальными ножами, ограничившись усилением их на высоту двух наружных диаметров путем уменьшения шага поперечной (спиральной) арматуры.

Сваи-оболочки погружаются с открытым нижним концом вибропогружателями без выемки или с выемкой грунта (частичной или полной) из внутренней полости.

Внутренняя полость свай-оболочек заполняется бетоном на всю высоту или только в нижней части, а также частично песчаным грунтом, а в верхней части - бетоном. Решение о том или ином виде заполнения принимается в зависимости от величины действующих на сваи нагрузок, характера грунтовых напластований, глубины заложения подошвы ростверка, глубины промерзания грунтов и т.п.

Забивные железобетонные сваи квадратного сечения без поперечного армирования рекомендуется применять при прорезке сваями песков средней плотности и рыхлых, супесей пластичной и текучей консистенции, суглинков и глин от тугопластичных до текучих при условии, что сваи погружены в грунт на всю глубину или выступают над поверхностью грунта на высоту не более 2 м при их расположении внутри закрытого помещения.

При необходимости прорезки других видов грунтов допустимость применения свай рассматриваемой конструкции устанавливается пробной забивкой.

Опирание нижних концов свай без поперечного армирования допускается на все виды грунтов, за исключением скальных, крупнообломочных, торфов, слабых грунтов типа илов, глинистых текучей консистенции и других сильносжимаемых грунтов, с учетом дополнительных указаний, приведенных в рабочих чертежах свай.

Указанные сваи рекомендуется применять для фундаментов любых зданий и сооружений (за исключением мостов и портовых гидротехнических сооружений), когда они проходят по номенклатуре и параметрам свай, предусмотренным рабочими чертежами, удовлетворяют результатам расчета и грунтовым условиям строительной площадки. Такие сваи не допускается применять в пучинистых грунтах, если силы пучения превышают величину вертикальной вдавливающей нагрузки на сваю, и при наличии выдергивающих и сейсмических сил, а также при необходимости погружения их в грунт с помощью вибрации.

Применение свай без поперечного армирования позволяет снизить расход стали в среднем на 20 - 25 % по сравнению со сваями с предварительно-напряженной продольной арматурой и поперечным армированием и на 40 - 45 % по сравнению со сваями с ненапрягаемой продольной арматурой и поперечным армированием, а также снизить трудоемкость их изготовления на заводах железобетонных конструкций.

Забивные сваи сплошного квадратного сечения с поперечным армированием, полые круглые сваи и сваи-оболочки могут применяться при любых сжимаемых грунтах, подлежащих прорезке, с опиранием нижних концов на любые грунты, за исключением торфов, слабых грунтов типа илов, глинистых грунтов текучей консистенции и других видов сильносжимаемых грунтов. Они могут применяться для фундаментов любых зданий и сооружений и воспринимать вертикальные вдавливающие и выдергивающие, а также горизонтальные нагрузки и изгибающие моменты.

Полым круглым сваям и сваям-оболочкам следует отдавать предпочтение при слабых грунтах большой мощности и при больших горизонтальных нагрузках.

При использовании предварительно-напряженных свай любого типа, в том числе типовых конструкций, следует иметь в виду, что в случае необходимости обеспечения жесткого их сопряжения с плитой ростверка, а также при передаче на них растягивающих сил голова таких свай должна заделываться в плиту ростверка на величину, требуемую расчетом. Однако предварительно-напряженные сваи с продольной арматурой из высокопрочной проволоки и семипроволочных прядей позволяют снизить расход стали (в натуральном весе) до 50 % по сравнению со сваями с ненапрягаемой арматурой. Поэтому в целях сокращения расхода стали сваи с продольной арматурой без предварительного напряжения рекомендуется применять для фундаментов зданий и сооружений только в тех случаях, когда по грунтовым условиям или условиям передачи внешних нагрузок не представляется возможным применить предварительно-напряженные сваи без поперечного армирования или предварительно-напряженные сваи с поперечным армированием.

Типовые конструкции прямоугольных свай не разработаны. Однако практически прямоугольные сваи часто применяются в фундаментах сооружений, воспринимающих значительные горизонтальные нагрузки (для фундаментов опор мостов, набережных, опор трубопроводов и т.п.). Большая сторона поперечного сечения таких свай в указанных случаях располагается в направлении действия наибольших моментов и горизонтальных сил.

В последнее время находят применение новые виды свай, в том числе булавовидные, пирамидальные, ромбовидные. Типовые конструкции таких свай также не разработаны.

Булавовидные железобетонные сваи целесообразно применять, только когда на строительной площадке от поверхности планировки залегают слабые оплывающие грунты (рыхлые пески, супеси текучей консистенции, илы и т.п.), подстилаемые относительно плотными грунтами. Такие сваи могут применяться для устройства фундаментов зданий и сооружений при передаче на них главным образом статических вдавливающих нагрузок. Булавовидные сваи воспринимают меньшие горизонтальные нагрузки, чем железобетонные призматические сваи, поэтому применение их не рекомендуется при больших горизонтальных нагрузках, передаваемых на фундаменты.

Забивные пирамидальные железобетонные сваи могут быть двух видов - пирамидальные сваи с большими углами конусности и пирамидальные сваи с малыми углами конусности.

Пирамидальные сваи с малыми углами конусности (углами наклона боковых граней 1 - 4°) рекомендуется применять в однородных по глубине грунтах; а также в случаях, когда сваями вынужденно прорезаются слои плотных грунтов и их нижний конец заглубляется в более слабые грунты.

Такие сваи не рекомендуется применять в насыпных грунтах, в набухающих и просадочных грунтах (без полной их прорезки), а также в пучинистых грунтах, если силы пучения превышают величину вертикальной вдавливающей нагрузки на сваю.

Пирамидальные сваи с большими углами наклона боковых граней (4 - 14°) рекомендуется применять в песчаных и глинистых грунтах, в том числе для легких зданий и просадочных грунтах I типа по просадочности. При пучинистых грунтах пирамидальные сваи с большими углами наклона граней в фундаментах должны целиком располагаться ниже уровня сезонного промерзания грунтов. Эти сваи не рекомендуется применять в набухающих грунтах, просадочных грунтах II типа по просадочности, в насыпных грунтах, а также в случаях, когда на глубине менее 5 м под концами свай залегают текучепластичные и текучие глинистые грунты или торфы.

Пирамидальные сваи (при любом уклоне боковых граней) рекомендуется применять только как висячие сваи при передачи на них преимущественно вертикальных вдавливающих нагрузок. Особенно эффективны они в ленточных фундаментах при однорядном и двухрядном расположении свай; допускается применять в кустах, но не более двух рядов свай.

Основные требования к технологии изготовления забивных свай с камуфлетной пятой изложены в примечании к п. 2.3. Следует, однако, учесть, что такие сваи не получили массового распространения и применяются лишь в единичных случаях, главным образом в мостостроении.

2.4. Разновидностью забивных железобетонных свай по конструкции и способу погружения являются:

а) сваи-колонны, надземная часть которых служит колоннами зданий (сооружений).

Не допускается использование в качестве свай-колонн предварительно-напряженных железобетонных свай с продольной проволочной арматурой, а также предварительно-напряженных свай без поперечного армирования с любым видом продольной арматуры;

б) сваи, погружаемые в лидерные скважины, причем диаметр лидерной скважины должен быть не более меньшего размера поперечного сечения или диаметра сваи, а глубина должна быть меньше требуемой по расчету глубины погружения сваи не менее чем на 1 м.

Лидерные скважины допускается предусматривать при необходимости вынужденной проходки глинистых грунтов твердой и полутвердой консистенции (например, просадочных и набухающих) в случаях, когда по результатам опытной забивки свай или по опыту строительства установлено, что погрузить сваи без лидерных скважин не представляется возможным;

в) сваи, погружаемые с использованием подмыва грунта, причем подмыв не должен производиться на последнем метре погружения сваи, а свая должна быть добита до проектного отказа.

Подмыв допускается предусматривать преимущественно при необходимости пробивки сваями больших толщ песчаных грунтов.

К п. 2.4. Сваи-колонны представляют собой разновидность железобетонных свай, надземная часть которых служит колоннами здания или сооружения.

Сваи-колонны длиной 5 - 16 м, сечением от 200´200 до 400´400 мм и диаметром 100 - 800 мм рекомендуется применять в качестве опор сооружений (технологических трубопроводов, транспортных галерей, постаментов статического оборудования и др.) и колонн одноэтажных сельскохозяйственных зданий высотой до 6 и пролетом до 21 м.

Для опор технологических трубопроводов могут использоваться типовые сваи-колонны квадратного и полого круглого сечения по серии 3.015-5, для одноэтажных сельскохозяйственных зданий - двухконсольные сваи-колонны длиной 5 - 7,5 м, сечением 200´200 и 300´300 мм по серии 1.821-1.

Сваи-колонны рекомендуется применять при спокойном рельефе строительной площадки с глинистыми грунтами мягкопластичной, тугопластичной и полутвердой консистенции и с песчаными грунтами средней плотности.

Применение свай-колонн не допускается, когда в пределах погружаемой части или под нижними концами их расположены слабые грунты (заторфованные и торф, илы, глинистые текучей консистенции и др.) либо гравелистые пески, крупнообломочные и плотные песчаные грунты.

Использование в качестве свай-колонн предварительно-напряженных железобетонных свай с продольной проволочной арматурой, а также пpeдвapитeльнo-нaпpяженных свай без поперечного армирования с любым видом продольной арматуры не допускается.

2.5. Забивные деревянные сваи подразделяются на:

а) цельные, изготовляемые из одного бревна;

б) срощенные по длине;

в) пакетные, сплоченные из нескольких цельных или срощенных по длине бревен или брусьев.

К п. 2.5. Деревянные сваи, изготавливаемые из целого бревна, имеют обычно длину 4,5 - 8,5 м и диаметр в отрубе 160 - 340 мм. Реже применяются сваи из цельных бревен длиной до 12 м.

Заготовка деревянных свай длиной свыше 16 м представляет значительные трудности, как по отбору бревен такой длины, так и по вывозу их с участка лесозаготовок. По этим причинам применяют или срощенные сваи из двух (и даже трех) бревен по длине, или так называемые пакетные сваи, состоящие из нескольких бревен как по длине, так и поперечному сечению.

Пакетные сваи изготовляются длиной до 25 м, поперечным сечением (диаметром) до 600 мм и более.

Основным недостатком срощенных и пакетных свай является возможность расстройства стыков при забивке, а также в последующем - ржавление стальных частей стыков, находящихся в условиях грунтовых вод, агрессивных по отношению к стали.

Деревянные сваи рекомендуется применять в районах, где лес является местным строительным материалом, в целях экономии бетона и стали.

2.6. Набивные сваи по способу изготовления подразделяются на:

а) набивные, устраиваемые путем предварительного погружения инвентарных труб, нижний конец которых закрыт оставляемым в грунте башмаком или бетонной пробкой, с последующим извлечением этих труб по мере заполнения скважин бетонной смесью;

б) набивные виброштампованные, устраиваемые в пробуренных или в пробитых скважинах путем заполнения скважин жесткой бетонной смесью, уплотняемой виброштампом, выполненным в виде трубы с заостренным нижним концом и закрепленным на ней вибропогружателем;

в) набивные в выштампованном ложе, устраиваемые путем выштамповки в грунте скважин пирамидальной или конусной формы с последующим заполнением их бетонной смесью;

г) буронабивные с уширениями и без них, устраиваемые в неводонасыщенных глинистых грунтах без крепления стенок скважин, а в обводненных грунтах и в песках с закреплением стенок скважин глинистым раствором или инвентарными извлекаемыми обсадными трубами и только в виде исключения при соответствующем обосновании - обсадными трубами, оставляемыми в грунте;

д) буронабивные с камуфлетной пятой, устраиваемые путем бурения скважин с последующим образованием уширения взрывом и заполнением скважин бетонной смесью.

К п. 2.6. Набивные сваи, устраиваемые в соответствии с подпунктами «а», «б» и «в», по их несущей способности можно отнести к забивным, так как грунт вокруг них и под нижними концами уплотняется так же, как и при погружении забивных свай. Такие набивные сваи рекомендуется применять вместо забивных свай преимущественно при отсутствии в зоне их погружения грунтовых вод, особенно в случаях, когда затруднено получение забивных железобетонных свай заводского изготовления, либо когда застраиваемая территория характеризуется резким колебанием уровня залегания малосжимаемых и несжимаемых грунтов.

Буронабивные сваи в настоящее время устраиваются диаметром ствола 400 - 1700 мм. Они могут иметь в нижней части уширение диаметром до 3500 мм. Устраиваются такие сваи без крепления или с креплением стенок скважины.

Буронабивные сваи, устраиваемые без крепления стенок скважины, могут применяться в случаях, когда строительные площадки сложены глинистыми грунтами, а горизонт грунтовых вод в период строительства расположен ниже пяты сваи. Такие условия являются наиболее предпочтительными для применения буронабивных свай. Поэтому буронабивные сваи в достаточно большом объеме применяются при строительстве на просадочных и набухающих грунтах.

В случаях, когда буронабивные сваи должны пройти в крупнообломочные грунты при любой степени их влажности или другие виды грунтов, залегающих ниже уровня грунтовых вод, проектом должно предусматриваться устройство свай с креплением стенок скважин.

Крепление стенок скважин может осуществляться (при применении специальных станков) извлекаемыми стальными инвентарными) трубами.

Допускается также для закрепления стенок скважин в процессе их бурения и бетонирования применять глинистые растворы.

Применение для крепления стенок скважин обсадных труб, оставляемых в грунте допускается лишь в случаях, когда применение других методов крепления оказывается невозможным. Ограничение на применение этого метода крепления стенок скважин вытекает, главным образом из необходимости экономного расхода стали.

Буронабивные сваи рекомендуется применять для зданий и сооружений любого назначения (производственные, общественные, жилые и др.) при больших сосредоточенных вертикальных и горизонтальных нагрузках, а также на площадках со сложными геологическими и другими условиями строительства.

Буронабивные сваи предпочтительнее применять при длине более 10 м, а сваи меньшей длины - под легкие или средние нагрузки (например, для сельскохозяйственных зданий), особенно в случаях отсутствия соответствующей производственной базы, необходимой для изготовления и применения железобетонных забивных свай. Буронабивные сваи рекомендуется также применять:

когда необходима прорезка сваями насыпей с твердыми включениями (в виде остатков разрушенных частей каменных, бетонных, железобетонных конструкций и т.п.) или прорезка слоев грунта природного сложения в виде твердых глинистых грунтов, слоев с часто встречающимися валунами и т.п., не позволяющих производить забивку или вибропогружение свай;

вблизи существующих зданий и сооружений, в которых могут возникнуть недопустимые деформации моментов несущих конструкций или оборудования при забивке или вибропогружении свай.

2.7. Буроопускные сваи по способу устройства подразделяются на:

а) сваи-столбы, устраиваемые в предварительно пробуренных скважинах путем установки в них готовых железобетонных цилиндрических или призматических элементов сплошного сечения со сторонами или диаметром 800 мм и более и последующего заполнения зазора между стенкой скважины и этими элементами (шириной 5 - 10 см) песчано-цементным раствором;

б) буроопускные сваи с камуфлетной пятой, отличающиеся от буронабивных свай с камуфлетной пятой (подпункт «д» п. 2.6) тем, что после заполнения бетонной смесью камуфлетного уширения в скважину опускают готовую железобетонную сваю заводского изготовления.

К п. 2.7. Сваи-столбы рекомендуется применять преимущественно для устройства фундаментов опор мостов, строящихся в районах, распространения пучинистых грунтов, при невозможности забивки свай в них ввиду наличия плотных песчаных, гравелистых и галечниковых грунтов, в которых столбы должны быть заделаны исходя из условий воспринятия сил морозного пучения.

Применение свай-столбов обеспечивает повышение уровня индустриализации строительных работ в отдаленных районах.

2.8. Железобетонные и бетонные сваи, железобетонные сваи-оболочки и сваи-столбы следует проектировать из тяжелого бетона.

Марка бетона по прочности на сжатие для забивных свай и свай-оболочек должна приниматься не ниже проектной, установленной государственными стандартами на сваи и сваи-оболочки (ГОСТ 17382-72 и ГОСТ 19804-74).

Для набивных свай, свай-столбов и различных видов забивных свай без предварительного напряжения, на которые отсутствуют государственные стандарты, должен предусматриваться бетон проектной марки не ниже М200, а для предварительно-напряженных - не ниже М300.

Примечание. Для коротких набивных свай (длиной менее 3 м) допускается предусматривать применение тяжелого бетона проектной марки не ниже М100.

К п. 2.8. В настоящее время проектная марка бетона по прочности на сжатие, морозостойкости и водопроницаемости для свай и свай-оболочек устанавливается ГОСТ 19804.0-78.

В случаях, когда по проекту сваями предусматривается вынужденная пробивка больших толщ песков, пропластков плотных песков, прослоек гравия или пластов твердых и полутвердых глинистых грунтов (например, просадочных) из-за необходимости применения молотов с большой энергией удара, марка бетона свай по прочности на сжатие может приниматься выше проектной, устанавливаемой рабочими чертежами типовых конструкций свай.

Необходимая кубиковая прочность бетона свай на сжатие sк, кгс/см2, в этом случае для успешной забивки свай может быть определена по формуле

где Э - максимально необходимая для забивки сваи энергия удара молота, кгс×см;

r - толщина прокладки в наголовнике, см, принимаемая равной обычно 10 - 2 см;

En - модуль упругости прокладки, принимаемый в случае прокладок из досок En = 3000 кгс/см2;

l - длина сваи, см;

Еб - модуль упругости бетона, принимаемый равным Еб = 3 · 105 кгс/см2;

Q - вес ударной части молота, кгс;

q - вес сваи, кгс;

F - площадь поперечного сечения сваи, см2.

2.9. Железобетонные ростверки свайных фундаментов следует проектировать из тяжелого бетона проектной марки по прочности на сжатие не ниже:

а) для мостов, гидротехнических сооружений и опор больших переходов воздушных линий электропередачи:

сборные - М300;

монолитные - М200;

б) для зданий и сооружений, кроме указанных в подпункте «а»:

сборные - М200;

монолитные - М150.

Бетон для замоноличивания железобетонных колонн в стаканах свайных ростверков, а также оголовков, свай при сборных ленточных ростверках следует предусматривать в соответствии с требованиями главы СНиП по проектированию бетонных и железобетонных конструкций, предъявляемыми к бетону для заделки стыков сборных конструкций, но не ниже марки М150.

Примечание. При проектировании гидротехнических сооружений и мостов проектная марка бетона для замоноличивания сборных элементов свайных фундаментов должна быть выше на одну ступень по сравнению с проектной маркой бетона соединяемых сборных элементов.

2.10. Проектную марку бетона по морозостойкости и водонепроницаемости для железобетонных забивных свай квадратного сечения (в том числе с круглой полостью), а также для железобетонных полых круглых свай и свай-оболочек следует назначать в соответствии с требованиями государственных стандартов на указанные виды свай (ГОСТ 19804-74 и ГОСТ 17382-72).

Для набивных свай, свай-столбов и различных видов забивных свай, на которые отсутствуют государственные стандарты, а также для свайных ростверков проектную марку бетона по морозостойкости и водонепроницаемости следует назначать в соответствии с требованиями нормативных документов по проектированию зданий и сооружений, в которых будут применены свайные фундаменты. При отсутствии в нормативных документах этих требований проектную марку бетона по морозостойкости и водонепроницаемости следует назначать исходя из температурно-климатических условий района строительства и грунтовых условий эксплуатации свайных фундаментов применительно к соответствующим требованиям, предъявляемым указанными выше государственными стандартами на сваи квадратного сечения (ГОСТ 19804-74), полые круглые и сваи-оболочки (ГОСТ 17382-72).

К п. 2.10 см. пояснения к п. 2.8.

2.11. Стыки звеньев составных железобетонных свай и свай-оболочек должны обеспечивать:

а) равнопрочность стыкового соединения и ствола сваи (сваи-оболочки) на осевые вдавливающие и горизонтальные нагрузки и изгибающие моменты, а для фундаментов со сваями, работающими на выдергивающие нагрузки, - также на растягивающие силы;

б) соосность стыкуемых элементов.

К п. 2.11. В настоящее время применяются составные сваи со стыками различной конструкции, в частности со сварными и болтовыми стыками.

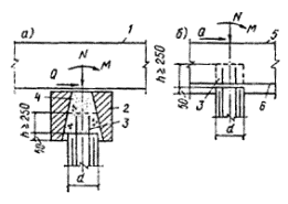
Однако наиболее полно отвечает требованиям, указанным в настоящем пункте, конструкция стыка, разработанная НИИ оснований совместно с ЭКБ ЦНИИСК и НИИЖБом. Этот стык составных свай состоит из металлического стакана, жестко закрепленного на нижней части сваи, и из запрессованного в него цилиндрического элемента с легкосжимаемым в продольном направлении наружным слоем, устраиваемом в верхней части сваи. Для повышения плотности соединения стыковых деталях сминаемый слой выполнен с рифлением. Наружный диаметр цилиндрической части по рифлению превышает внутренний диаметр металлического стакана. Стык прост в исполнении, надежен при погружении сваи и в эксплуатации. Стык имеет прочность, равную прочности ствола составных элементов свай. Погружение сваи с разработанным стыком выполняется почти без остановки копра, а сама стыковка осуществляется за несколько ударов молота, не требуя при этом ни сварки, ни стыковых болтов, ни прочих деталей. Расход металла на сваю длиной 15 - 18 м при такой конструкции стыка уменьшается в 1,6 - 2,5 раза по сравнению с другими, наиболее совершенными стыками.

На составные сваи со стаканным стыком не допускается передавать выдергивающие нагрузки.

2.12. Сборные железобетонные ростверки ленточные и для кустов свай допускается применять как цельные, так и составные с учётом грузоподъемности транспортных средств и монтажных механизмов.

К п. 2.12. В настоящее время в промышленном строительстве при кустовом расположении свай и для большинства случаев рядового их расположения применяются монолитные ростверки.

Сборные ростверки находят применение преимущественно при строительстве некоторых жилых зданий в случае рядового расположения свай, а также при строительстве промышленных комплексов с большим количеством одноэтажных зданий. При этом могут применяться как сборно-монолитные, так и полносборные их конструкции.

Сборно-монолитные ростверки выполняются из коротких монолитных участков, объединяющих головы двух-трех свай и уложенных на эти монолитные участки сборных ростверковых балок или цокольных панелей.

Объем сборного бетона в таком ростверке обычно составляет около 75 % общего объема ростверка.

При полносборных ростверках в качестве промежуточного элемента между головой сваи и балкой ростверка используются железобетонные оголовки типа «колокол». Применение оголовков, однако, не полностью решает вопрос о ликвидации мокрых процессов при устройстве ростверка, так как требует замоноличивания самих оголовков. В связи с этим в ряде случаев применяются при небольших нагрузках на сваи (до 40 т) сборные ростверки, укладываемые непосредственно на головы свай преимущественно пирамидальных или призматических прямоугольного сечения.

Сборные балки ростверков могут быть предварительно-напряженными и с обычной ненапрягаемой арматурой.

Сборные ростверки требуют точного погружения свай, как в плане, так и по высоте. При этом допустимые отклонения свай от проектного положения при сборных ростверках должны быть более жесткими, чем при применении монолитных ростверков. Строительные же организации в настоящее время обычно имеют на вооружении оборудование, которое не обеспечивает точной забивки свай. Поэтому монолитные ростверки все еще имеют большее распространение, чем сборные.

В жилищном строительстве для 5 - 12-этажных крупнопанельных жилых домов при расчетных нагрузках на сваю до 50 тс и однорядном расположении свай применяются безростверковые свайные фундаменты, особенности проектирования которых изложены в приложении 12.

2.13. Деревянные сваи должны изготавливаться из бревен хвойных пород (сосны, ели, лиственницы, пихты) диаметром 22 - 34 см и длиной 6,5 и 8,5 м, отвечающих требованиям ГОСТ 9463-72.

Бревна для изготовления свай должны быть очищены от коры, наростов и сучьев. Естественная коничность (сбег) бревен сохраняется. Размеры поперечного сечения и длины пакетных свай принимаются по результатам расчета и в соответствии с особенностями проектируемого объекта.

Примечание. Возможность применения для деревянных свай бревен длиной более 8,5 м допускается только по соглашению с предприятием-изготовителем свай.

К п. 2.13. Для деревянных свай должны применяться лесоматериалы хвойных пород, удовлетворяющие требованиям ГОСТ 9463-72 и ГОСТ 8486-66.

Влажность древесины для изготовления свай не ограничивается.

Преимущественно для свай используется сосна и лиственница.

К числу недостатков ели следует отнести сучковатость и колкость древесины, что повышает процент брака свай при забивке.

Сваи из лиственных пород дерева, как правило, не изготавливаются вследствие их меньшей долговечности и большой отбраковки при отборе бревен требуемой длины и прямизны.

2.14. Стыки бревен или брусьев в срощенных по длине деревянных сваях и в ракетных сваях осуществляются впритык с перекрытием металлическими накладками или патрубками. Стыки в пакетных сваях должны располагаться вразбежку на расстоянии друг от друга не менее 1,5 м.

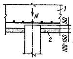
К п. 2.14. Срощенные по длине сваи из двух и более бревен стыкуются между собой стяжными хомутами, а также стальными или деревянными накладками на болтах. Для этой цели используются также обрезки стальных труб. На рис. 1 представлены образцы стыков.

Рис. 1. Стыки деревянных свай

3. ТРЕБОВАНИЯ К ИЗЫСКАНИЯМ

3.1. Объем и состав изыскательских работ для каждого объекта, проектируемого на свайных фундаментах, должны определяться программой, разработанной изыскательской организацией по техническому заданию на производство изысканий, выданному заказчиком (проектной организацией - генеральным проектировщиком) в соответствии с требованиями главы СНиП на инженерные изыскания для строительства и других действующих нормативных документов и государственных стандартов на изыскательские работы по исследованию грунтов оснований зданий и сооружений, а также требованиями раздела 3 настоящей главы.

Техническое задание на производство изысканий должно составляться генеральным проектировщиком при участии организации, разрабатывающей проект фундамента. Программа должна быть согласована с организацией, выдавшей техническое задание на производство изысканий.

К п. 3.1. Изыскательская организация составляет программу с учетом фондовых материалов инженерно-геологических изысканий в данном районе и опыта строительства и эксплуатации близрасположенных существующих зданий или сооружений.

Результаты изысканий должны обеспечивать получение необходимых данных для расчета свай и свайных фундаментов по первой и второй группам предельных состояний.

При составлении программы работ особое внимание следует обратить на необходимость отбора образцов грунта из скважин и шурфов и проведения зондирования на глубинах ниже предполагаемого положения нижних концов свай. Если заранее установлена целесообразность применения свайных фундаментов, то образцы грунтов из верхних слоев могут отбираться в меньшем количестве, но достаточном для того, чтобы по их характеристикам определить сопротивление на боковой поверхности свай.

Если на сваи могут передаваться большие горизонтальные нагрузки, то особое внимание следует обратить на отбор образцов грунта из верхних слоев, начиная от поверхности планировки.

При назначении состава и объема изысканий должны учитываться:

конструктивные и технологические особенности проектируемых зданий и сооружений (наличие подвалов, заложение фундаментов под оборудование, нагрузки на полы, динамические воздействия и т.п.);

величины и характер нагрузок, действующих на фундамент;

требования к величинам абсолютных и неравномерных осадок фундаментов проектируемого здания или сооружения;

возможности изменения гидрогеологических условий в процессе возведения и эксплуатации зданий и сооружений;

возможные виды конструктивных решений свайных фундаментов (сваи-колонны, фундаменты из одиночных свай, однорядное расположение свай, свайные кусты или поля);

необходимость оценки возможности погружения забивных свай на требуемую величину;

технология изготовления набивных свай.

3.2. Все виды инженерных изысканий, необходимых для разработки проектов свайных фундаментов, должны осуществляться в комплексе проектно-изыскательских работ, как правило, на стадии разработки технического (техно-рабочего) проекта в составе, обеспечивающем получение:

а) предварительных данных, позволяющих проектной организации определить возможность и целесообразность применения свайных фундаментов (по результатам бурения скважин, проходки шурфов, статического зондирования, лабораторных исследований грунтов и грунтовых вод);

б) полных данных, требуемых для составления чертежей свайного фундамента (выбора вида и определения размеров свай и свай-оболочек, свай-столбов, а также их несущей способности и соответствующей расчетной нагрузки, допускаемой на сваю) и полученных с учетом результатов бурения скважин, проходки шурфов, зондирования и испытания грунтов статической нагрузкой штампами или прессиометрами в пределах контуров проектируемых зданий (сооружений). При необходимости на строительной площадке производятся также испытания свай или свай-оболочек в грунте динамической или статической нагрузками, а для площадок, сложенных набухающими грунтами, также испытание свай-штампов статической нагрузкой в соответствии с дополнительным техническим заданием (программой), выданным проектной организацией - генеральным проектировщиком; техническое задание должно составляться с привлечением организации, разрабатывающей проект фундамента.

В отдельных случаях, когда при выполнении проектно-изыскательских работ не представляется возможным из-за занятости строительной площадки осуществить в полном объеме изыскания, необходимые для разработки рабочих чертежей свайных фундаментов, допускается в виде исключения выполнять работы, связанные с испытанием свай, если они необходимы, после разработки и утверждения технического (техно-рабочего) проекта. При этом уточненные рабочие чертежи свайных фундаментов и скорректированная смета, составленная по этим чертежам, должны выдаваться заказчиком до начала производства работ.

Примечания: 1. Динамическое и статическое испытание свай, свай-оболочек и свай-столбов следует выполнять, соблюдая требования государственного стандарта на методы полевых испытаний свай (ГОСТ 5686-78), а испытания грунтов статическим и динамическим зондированием, прессиометрическим методом и штампами - требования соответствующих государственных стандартов на методы полевых испытаний грунтов статическим (ГОСТ 20069-74) и динамическим (ГОСТ 19912-74) зондированием на методы полевых определений модуля деформации грунта прессиометрами (ГОСТ 20276-74) и штампами (ГОСТ 12374-66).

2. Предусмотренные подпунктом «а» п. 3.2 изыскательские работы могут не производиться или производиться в сокращенном объеме, если данные, требуемые для определения технического решения и вида свайных фундаментов, могут быть получены из фондовых материалов проектных, изыскательских и других организаций.

3. Статические испытания свай при инженерных изысканиях, как правило, не следует производить, если фундаменты проектируются со сваями-стойками, забиваемыми молотом, энергия удара которого удовлетворяет требованиям главы СНиП на производство и приемку работ по устройству оснований и фундаментов. Во всех остальных случаях вопрос о необходимости статических испытаний свай определяется проектной организацией, проектирующей свайные фундаменты, при выдаче задания на изыскания.

К п. 3.2. Состав и объем инженерных изысканий при проектировании фундаментов и висячих свай определяется согласно требованиям таблицы прил. 3 в зависимости от характеристики проектируемых зданий и сооружений и категорий сложности грунтовых условий. При решении вопроса о необходимости проведения испытаний натурных свай также следует руководствоваться прил. 3.

Проведение при изысканиях сначала комплекса работ с целью получения предварительных и лишь затем полных данных предусматривается, как правило, только при значительных объемах работ, требующих более 6 мес. В других случаях такое расчленение изысканий производить не следует.

Изыскания сразу в полном объеме рекомендуется выполнять также в тех случаях, когда для технического проекта можно использовать материалы геологического фонда.

Инженерно-геологические изыскания для устройства свайных фундаментов должны выполняться в составе и объеме, обеспечивающих:

1) определение степени однородности грунтов изучаемой площадки (при этом должно быть установлено наличие линз и прослоек, нарушающих литологическое единообразие строения толщи и могущих явиться причиной, усложняющей выполнение работ по погружению или устройству свай);

2) установление в плане и по глубине положения границ между отдельными литологическими слоями, а также границ, разделяющих однослойную в литологическом отношении толщу грунта на слои, различающиеся по консистенции (глинистые грунты) или плотности (песчаные грунты);

3) выявление в изучаемой толще слоя, при заглублении в который сваи будут обладать наибольшей несущей способностью (несущего слоя);

4) получение данных для определения несущей способности свай и прогнозирования осадок сооружения.

Поставленным задачам отвечают инженерно-геологические изыскания, выполняемые в следующем составе (полном или частичном):

бурение скважин с отбором монолитов, образцов грунта и проб грунтовых вод;

лабораторные определения вида, состояния и свойств грунта по отобранным образцам и монолитам;

испытания грунтов зондированием;

динамические и статические испытания инвентарных свай малого сечения (свай-моделей, эталонных свай);

динамические и статические испытания натурных свай;

прессиометрические испытания грунтов;

испытания грунтов статическими нагрузками, (штампами).

Обязательными элементами изысканий во всех случаях являются бурение скважин с отбором образцов грунта и грунтовых вод и лабораторные исследования этих образцов, а при длине свай до 16 м также испытания грунтов статическим зондированием.

Монолиты и образцы грунтов отбираются по всей толще с интервалом не более 3 м. Их количество должно быть достаточным для статической обработки.

Применительно к проектированию свайных фундаментов статическое зондирование грунтов проводится в целях:

определения положения в плане и по глубине кровли несущего слоя для висячих свай и кровли скальных и крупнообломочных грунтов для свай-стоек;

оценки возможности погружения свай на принятую глубину; определения однородности грунтов в плане и по глубине;

уточнения границ между различными литологическими слоями, а также границ, разделяющих в одном литологическом слое участки различной плотности и прочности;

определения несущей способности свай;

определения физико-механических характеристик грунтов, особенно песчаных, из которых отбор образцов с ненарушенной структурой затруднителен;

выбора мест расположения опытных участков для исследования грунтов другими методами и испытаний свай.

Состав и объемы инженерно-геологических работ для проектирования и устройства фундаментов из свай-стоек определяются необходимостью установления глубины залегания и рельефа кровли грунтов, которые могут быть отнесены к практически несжимаемым, а также состояния таких грунтов в кровле слоя.

Изыскания для проектирования и строительства на фундаментах из свай-стоек должны включать следующие виды работ:

а) бурение скважин с отбором образцов для определения положения кровли практически несжимаемого слоя с заглублением в последний не менее чем на 1,5 м, а по трем скважинам - не менее чем на 3 м;

б) статическое либо динамическое зондирование для уточнения положения кровли практически несжимаемого слоя и выбора способа устройства свай;

в) проходку шурфов с отбором образцов нарушенной и ненарушенной структуры - для характеристики грунтов кровли, практически несжимаемого слоя при невозможности оценки его состояния по скважинам;

г) испытания натурных свай, необходимость которых определяется организацией, ведущей изыскания, и согласуется с организацией, выдавшей техническое задание на изыскания;

д) геофизические методы.

Объемы указанных работ должны быть достаточными для построения на топографических планах изучаемых участков изогипс кровли практически несжимаемого слоя грунтов через 1 м в пределах контуров проектируемых зданий и сооружений.

3.3. Если какой-либо из перечисленных в п. 3.2 элементов изысканий предусмотрен программой, то количество их для каждого здания или сооружения должно быть не менее:

буровых скважин - 2;

шурфов - 2;

зондирований - 5;

динамических испытаний свай - 5;

статических испытаний свай, свай-штампов или свай-оболочек - 2;

испытаний грунтов статической нагрузкой штампами или прессиометрами - 2.

Количество и порядок отбора образцов грунтов для производства лабораторных исследований устанавливаются в программе на производство изысканий в соответствии с требованиями действующих нормативных документов на исследования грунтов оснований зданий и сооружений, в том числе обязателен отбор образцов из грунтов, которые будут залегать непосредственно под нижними концами свай (свай-оболочек, свай-столбов) и ниже их в пределах 5 м.

Примечания: 1. Если инженерно-геологические условия строительной площадки аналогичны условиям примыкающей к ней территории, для которой уже имеется достаточный опыт устройства свайных фундаментов, то по согласованию с проектной организацией - автором проекта фундаментов - допускается устанавливать сокращенный объем исследований.

2. Разработка рабочих чертежей свайных фундаментов не допускается, если в пределах контура проектируемого здания или сооружения или вблизи него (до 5 м) отсутствуют скважины или шурфы, по которым имеются результаты лабораторных определений физико-механических свойств грунтов.

К п. 3.3. Помимо случаев, указанных в прил. 3, полевые испытания натурных свай должны выполняться, если другие методы изысканий не позволяют учесть специфический характер нагрузок либо дают противоречивые результаты. Испытания натурных свай целесообразно проводить также при массовом проектировании свайных фундаментов крупных предприятий и микрорайонов гражданской застройки с целью уточнения эмпирических коэффициентов в формулах расчета несущей способности свай по данным статического зондирования.

Во всех случаях (за исключением специально обоснованных в программе) испытания натурных свай, если они выполняются, должны производиться как динамической, так и статической нагрузкой.

Статические испытания свай-штампов целесообразны при необходимости раздельного определения сопротивления грунта под нижними концами и на боковой поверхности свай. В этом случае испытания производятся в следующей последовательности: испытания под нижним концом, по боковой поверхности и сваи-штампа в целом.

Прессиометрические испытания проводятся с целью определения деформативных характеристик грунтов для расчета свай и свайных фундаментов по деформациям на вертикальную и горизонтальную нагрузки. В грунтах, держащих стенки скважин, их следует проводить во всех случаях.

Испытания грунтов штампами следует проводить в основном с целью уточнения для рассматриваемой строительной площадки переходных коэффициентов в рекомендуемых нормативными документами формулах для расчетов по данным зондирования и прессиометрических испытаний модуля деформации грунтов. При этом предпочтение следует отдавать испытаниям грунтов штампом площадью 5000 см2 в котлованах, шурфах или дудках, так как данные испытаний грунтов штампом 600 см2 в скважинах ненадежны.

3.4. Глубину бурения скважин, предусматриваемую в программе изыскательских работ с учетом конкретных инженерно-геологических условий строительной площадки и характера проектируемых зданий (сооружений), следует назначать ниже проектируемой глубины погружения нижнего конца свай, свай-оболочек и свай-столбов в нескальных грунтах, как правило, не менее чем на 5 м.

Для каркасных зданий и сооружений с нагрузкой на куст висячих свай и свай-оболочек более 300 тс, а также при сплошном свайном поле под всем сооружением глубину бурения 50 % количества скважин следует назначать ниже проектируемой глубины погружения нижнего конца свай или свай-оболочек, как правило, не менее чем на 10 м.

При необходимости опирания или заглубления свай, свай-оболочек и свай-столбов в скальные грунты глубина бурения скважин должна быть не менее чем на 1,5 м ниже конца свай, свай-оболочек и свай-столбов. При наличии в скальных грунтах карста, прослоек нескального грунта и других местных ослаблений грунтов количество и глубина скважин назначаются по программе изыскательских работ, исходя из особенностей инженерно-геологических условий исследуемой строительной площадки.

Примечания: 1. В техническом задании на производство изысканий ориентировочную длину свай, свай-оболочек и свай-столбов для назначения глубины бурения скважин допускается определять по данным о грунтах, полученным из фондовых материалов ранее проведенных инженерно-геологических изысканий или по аналогичным фундаментам смежных зданий и сооружений.

2. Для свай, работающих только на выдергивание, глубину буровых скважин и зондирования при изысканиях допускается принимать на 1 м ниже конца свай.

К п. 3.4. При рядовом расположении свай и при свайных кустах глубина исследования грунтов назначается согласно требованиям главы СНиП II-17-77. При свайных полях размером более 10´10 м глубина исследования должна превышать предполагаемое заглубление свай не менее чем на ширину свайного поля. При наличии слоев просадочных, набухающих, засоленных, сильносжимаемых грунтов (ила, торфа, глинистых грунтов текучей консистенции) глубина исследования определяется с учетом необходимости их проходки скважинами на всю толщу слоя для установления глубины залегания подстилающих грунтов и определения их характеристик.

3.5. Плотность песчаных грунтов должна определяться в условиях природного залегания по данным зондирования в соответствии с требованиями государственных стандартов на методы полевого испытания грунтов статическим (ГОСТ 20069-74) и динамическим (ГОСТ 19912-74) зондированием, а когда это возможно - по результатам испытания образцов грунтов ненарушенной структуры, отобранных из шурфов или скважин в соответствии с требованиями нормативных документов, на исследование грунтов оснований зданий и сооружений.

К п. 3.5. При наличии в основании свай слоев песчаных грунтов необходимо получить в процессе изысканий данные об их плотности. Эти данные нужны в первую очередь:

а) для установления возможности использования песчаных грунтов в качестве несущего слоя;

б) для оценки возможности погружения свай;

в) для принятия соответствующих значений R и f по табл. 1 и 2 главы СНиП II-17-77 при определении несущей способности свай.

Техническое оснащение изыскательских организаций в настоящее время позволяет наиболее достоверно определять природную плотность песчаных грунтов по данным статического зондирования.

4. ОСНОВНЫЕ УКАЗАНИЯ ПО РАСЧЕТУ

4.1. Расчет свайных фундаментов и их оснований должен производиться по предельным состояниям двух групп:

а) по первой группе:

по прочности конструкций свай, свай-оболочек свай-столбов (ниже в настоящем разделе именуемых для краткости, общим названием «сваи»), а также свайных ростверков (п. 4.2 настоящей главы);

по несущей способности грунта основания свайных фундаментов и свай (п. 4.3 настоящей главы);

по устойчивости (несущей способности) оснований свайных фундаментов в целом, если на них передаются горизонтальные нагрузки (подпорные стены, фундаменты распорных конструкций и др.) или если основания ограничены откосами, либо сложены крутопадающими слоями грунта (п. 8.12 настоящей главы);

б) по второй группе:

по осадкам оснований свайных фундаментов от вертикальных нагрузок (пп. 4.4, 7.1 и 7.2 настоящей главы);

по перемещениям свай (вертикальным, горизонтальным Dг и углам поворота головы свай Y) совместно с грунтом оснований от действия вертикальных, горизонтальных нагрузок и моментов (приложение к настоящей главе);

по образованию или раскрытию трещин в элементах железобетонных конструкций свайных фундаментов (п. 4.2 настоящей главы).

К п. 4.1. Расчет конструкций свай, свай-оболочек и ростверков по первой группе предельных состояний должен производиться во всех случаях на вертикальные и горизонтальные нагрузки по прочности материала свай и свай-оболочек, а также по несущей способности грунта основания.

Расчет свайных фундаментов по второй группе предельных состояний (по деформациям) следует производить во всех видах грунтов, за исключением тех случаев, когда сваи и сваи-оболочки опираются на крупнообломочные грунты, плотные пески и твердые коренные глины, где расчет по осадкам не требуется. Этот расчет требуется также при передаче на сваи горизонтальных нагрузок, которые могут вызвать существенные горизонтальные смещения фундаментов.

Расчет свайных фундаментов опор мостов и водопропускных труб производится по первой группе предельных состояний с проверкой осадок и горизонтальных смещений верха опор. Последнее обусловлено тем, что фундаменты опор мостов воспринимают кроме вертикальных значительные горизонтальные нагрузки (давление грунта на устои, неуравновешенный распор арочных пролетных строений и др.), а фундаменты водопропускных труб на неустойчивых грунтах (где применяются сваи) подвержены воздействию постоянной горизонтальной нагрузки, проявляющейся вследствие расползания насыпи.

По образованию и раскрытию трещин рассчитываются железобетонные элементы свайного фундамента в соответствии с нормами проектирования железобетонных конструкций (глава СНиП II-21-75).

4.2. Расчет по прочности конструкций свай и свайных ростверков должен производиться в зависимости от их материала (железобетон, бетон, древесина) соответственно по главе СНиП по проектированию бетонных и железобетонных или, по главе СНиП по проектированию деревянных конструкций, а в необходимых случаях также по главам СНиП по проектированию мостов и труб и по проектированию бетонных и железобетонных конструкций гидротехнических сооружений с учетом дополнительных требований, изложенных в пп. 4.6, 5.2 и 5.3 и в приложении к настоящей главе.

Расчет элементов железобетонных конструкций свайных фундаментов по образованию и раскрытию трещин должен производиться в соответствии с требованиями главы СНиП по проектированию бетонных и железобетонных конструкций, а в необходимых случаях также и в соответствии с требованиями главы СНиП по проектированию бетонных и железобетонных конструкций гидротехнических сооружений.

4.3. Свайные фундаменты и сваи по несущей способности грунтов основания должны рассчитываться по формуле

                                                       [1 (1)]

где N - расчетная нагрузка, тc, передаваемая на сваю (продольное усилие, возникающее в ней от расчетных нагрузок, действующих на фундамент при наиболее невыгодном их сочетании), определяемая в соответствии с указаниями раздела 8 настоящей главы;

Ф - расчетная несущая способность грунта основания одиночной сваи, тc, называемая в дальнейшем для краткости «несущей способностью сваи», определяемая в соответствии с указаниями разделов 5 и 6 настоящей главы;

kн - коэффициент надежности, принимаемый равным:

а) если несущая способность сваи определена расчетом, в том числе по результатам динамических испытаний свай, выполненных без учета упругих деформаций грунта, - kн = 1,4;

б) если несущая способность сваи определена по результатам полевых испытаний статической нагрузкой или расчета по результатам статического зондирования грунта, а также по результатам динамических испытаний свай, выполненных с учетом упругих деформаций грунта, kн = 1,25;

в) для фундаментов мостов при высоком ростверке коэффициент надежности принимается в зависимости от общего количества свай фундамента под опору:

при 21 свае и более kн = 1,4;

от 11 до 20 свай kн = 1,6;

» 6 » 10» kн = 1,65;

» 1 » 5 » kн = 1,75;

Р - расчетная нагрузка, тс, допускаемая на сваю1.

1 По ранее действовавшим нормам проектирования свайных фундаментов СНиП II-Б.5-67* Р именовалась «несущей способностью сваи».

Примечания: 1. При расчете свай всех видов на выдергивание, а свай-оболочек и свай-столбов также и на вдавливание к расчетной нагрузке или к продольному усилию, возникающему в них от расчетной загрузки, передаваемой на сваю N, тс, следует прибавлять собственный вес сваи, сваи-оболочки или сваи-столба.

2. Если расчет свайных фундаментов производится с учетом ветровых и крановых нагрузок, то передаваемую на крайние сваи расчетную нагрузку разрешается повышать на 20 % (кроме фундаментов опор линий электропередачи).

Если сваи фундамента опоры моста в направлении действия внешних нагрузок образуют один ряд или несколько рядов, то при учете (совместном или раздельном) нагрузок от торможения, давления ветра и льда, навала судов передаваемую на сваю расчетную нагрузку допускается повышать на 10 % при четырех сваях в ряду и на 20 % при восьми и более сваях. При промежуточном количестве свай процент повышения расчетной нагрузки определяется интерполяцией.

К п. 4.3 «в». Для фундаментов опор мостов при низком ростверке принимается kн = 1,4 независимо от количества свай фундамента.

Приведенные значения коэффициентов надежности относятся к случаям, когда несущая способность свай фундаментов мостов определена расчетом. Если несущая способность определена по результатам их статических испытаний, следует принимать:

в случае высокого ростверка:

при 21 свае и более kн = 1,25;

от 11 до 20 свай kн = 1,45;

» 6 » 10 » kн = 1,50;

» 1 » 5 » kн = 1,60;

в случае низкого ростверка kн = 1,25.

К п. 4.3, примеч. 2. Перегрузка крайних свай в кусте в размере 20 % их несущей способности возможна с учетом следующих положений:

а) ветровые и крановые нагрузки принимаются в соответствии с указаниями главы СНиП II-6-74 «Нагрузки и воздействия». При проектировании высоких сооружений (дымовые трубы, башни и др.) ветровые нагрузки учитываются, в соответствии с действующими нормативными документами на эти сооружения;

б) при учете действия ветра, а также при наличии кранов, нагрузка от которых составляет более 30 % суммарных нагрузок на фундаменты.

При строительстве причальных сооружений крановая нагрузка должна учитываться как постоянная.

Уточнение способов учета крановых нагрузок при проектировании свайных фундаментов должно выполняться на основании результатов наблюдений за осадками свайных фундаментов при многократном действии кранов по режимам, согласованным с технологами.

4.4. Свайные фундаменты в целом и сваи, рассчитываемые по предельным состояниям второй группы (по деформациям), должны удовлетворять условию S £ Sпр [2 (2)],

где S - расчётная величина деформации (осадки, перемещения и т.п.) сваи и свайного фундамента в целом, определяемая расчетом по указаниям пп. 4.5 и 4.6 раздела 7 и приложения к настоящей главе;

Sпp - предельно допускаемая величина деформации (осадки, перемещения и т.п.) свайного фундамента, устанавливаемая в задании на проектирование, а при отсутствии ее в задании - принимается по предельно допускаемым деформациям, установленным в главе СНиП по проектированию оснований зданий и сооружений.

4.5. Нагрузки и воздействия, учитываемые в расчетах свайных фундаментов, должны определяться по главам СНиП: нагрузки и воздействия, основные положения проектирования строительных конструкций и оснований. В необходимых случаях нагрузки и воздействия должны определяться также по главам СНиП: строительство в сейсмических районах; проектирование зданий и сооружений на подрабатываемых территориях, проектирование мостов и труб, нагрузки и воздействия на гидротехнические сооружения (волновые, ледовые и от судов).

При этом расчет свайных фундаментов и их оснований по несущей способности должен производиться на основные сочетания расчетных нагрузок с коэффициентом перегрузки, принимаемыми в соответствии с требованиями глав СНиП на нагрузки и воздействия, а расчет оснований свайных фундаментов по деформациям - на основные сочетания расчетных нагрузок с коэффициентом перегрузки, равным единице.

Расчет осадок опор мостов производится только на действие постоянных нагрузок, а горизонтальных смещений верха опор в направлениях как вдоль, так и поперек оси моста - на сочетание постоянных и временных нагрузок.

При проектировании свайных фундаментов, устраиваемых в особых природных условиях, и при действии особых нагрузок (сейсмических, воздействий от деформаций земной поверхности при подработках территории и др.), кроме указанных выше расчетов свайных фундаментов и их оснований должен производиться также расчет по несущей способности на особые сочетания нагрузок, а в необходимых случаях (например, при подработке территории) - и по деформациям.

4.6. Определение несущей способности Ф и деформаций S свай, ростверков, свайных фундаментов в целом и их оснований должно выполняться расчетом согласно требованиям настоящей главы, используя расчетные значения характеристик материалов и грунтов. При наличии результатов полевых испытаний (в соответствии с требованиями, приведенными в пп. 6.1 - 6.9 настоящей главы) несущая способность свай должна определяться с учетом результатов, полученных при статическом зондировании грунтов или по данным динамических испытаний свай, либо приниматься непосредственно по результатам испытаний свай статической нагрузкой. Под термином «характеристики грунтов» следует понимать прочностные и деформационные характеристики грунтов (угол внутреннего трения j, удельное сцепление с, модуль деформации нескальных грунтов Е), а также объемный вес грунта y. Кроме того, к расчетным характеристикам грунтов в настоящей главе отнесены также расчетные сопротивления грунтов R под нижним концом и f на боковой поверхности свай, а также расчетные величины коэффициента постели грунта С на их боковой поверхности.

Расчетные значения характеристик грунтов (j, с, Е и у следует определять в соответствии с требованиями главы СНиП по проектированию оснований зданий и сооружений и ГОСТ 20522-75, ограничивая при этом коэффициенты безопасности по грунту kr для определения угла внутреннего трения j1 и удельного сцепления с1 значениями соответственно 1,1 и 1,5. В расчетах по деформациям допускается принимать для определения всех расчетных характеристик грунтов kr = 1.

Расчетные сопротивления грунтов R и f, используемые в формулах для определения несущей способности свай, должны приниматься в соответствии с указаниями пп. 5.4 - 5.11 настоящей главы. Расчетные значения коэффициента постели грунта С при расчете свай на горизонтальные нагрузки следует принимать по формуле (3), приведенной в приложении к настоящей главе.

Расчетные характеристики материалов свай и ростверков должны приниматься по главам СНиП на проектирование бетонных и железобетонных или деревянных конструкций, а для мостов - по главе СНиП на проектирование мостов и труб.

4.7. Расчеты конструкций свай всех видов следует производить на усилия, передаваемые на них от здания или сооружения, а забивных свай, кроме того, на усилия, возникающие в них от собственного веса при их изготовлении, складировании и транспортировании, а также при их подъеме на копер за одну точку, удаленную от головы свай на 0,3 L (где L - длина сваи).

Усилие в свае (как балке) от воздействия собственного веса следует определять с учетом коэффициента динамичности, равного:

при расчете прочности - 1,5;

то же, по образованию и раскрытию трещин - 1,25.

В этих случаях коэффициент перегрузки к собственному весу сваи принимается равным единице.

К п. 4.7. Фиксированная точка, удаленная от головы сваи или сваи-оболочки на 0,3 L (где L - длина сваи или сваи-оболочки), у которой закрепляется трос при перемещении и подъеме на копер, соответствует специально заложенному в свае штырю, а в свае-оболочке - отметке, нанесенной несмываемой краской. Следует обратить внимание, что подъем на копер за петлю во избежание ее вырывания и увеличения напряжений в свае не допускается.

4.8. Сваи-колонны следует рассчитывать как забивные железобетонные сваи с учетом дополнительных требований, содержащихся в разделе 14 настоящей главы, а также по прочности и устойчивости как элементы каркаса здания.

5. РАСЧЕТ СВАЙ, СВАЙ-ОБОЛОЧЕК И СВАЙ-СТОЛБОВ ПО НЕСУЩЕЙ СПОСОБНОСТИ

ОБЩИЕ УКАЗАНИЯ

5.1. Несущую способность свай всех видов, свай-оболочек и свай-столбов следует определять как наименьшее из значений несущей способности, полученных по следующим двум условиям:

а) из условия сопротивления грунта основания свай, свай-оболочек и свай-столбов в соответствии с требованиями, приведенными в пп. 5.4 - 5.12;

б) из условия сопротивления материала свай, свай-оболочек и свай-столбов в соответствии с требованиями пп. 5.2 - 5.3 и глав СНиП по проектированию бетонных и железобетонных или деревянных конструкций, а в необходимых случаях - главы СНиП по проектированию мостов и труб.

К п. 5.1. Расчет несущей способности свай всех видов по предельным состояниям первой группы производится как из условия сопротивления грунта основания сваи, так и из условия сопротивления материала сваи при воздействии расчетных вертикальных и горизонтальных нагрузок. Это означает, что должны выполняться оба указанных условия и определяющим при установлении критерия несущей способности сваи является меньшее из двух значений.

Расчет сопротивления материала ствола сваи должен производиться на усилия от всех действующих эксплуатационных нагрузок (вертикальных и горизонтальных).

При расчете деревянных свай следует иметь в виду, что в процессе эксплуатации древесина свай будет иметь 100 %-ную влажность.

При расчете несущей способности по материалу свай, работающих в фундаментах специальных сооружений, следует пользоваться дополнительными указаниями на проектирование этих сооружений.

5.2. При расчете сваи, свай-оболочек и свай-столбов по прочности материала сваю (сваю-оболочку и сваю-столб) следует рассматривать как стержень, жестко защемленный в грунте в сечении, расположенном от подошвы ростверка на расстоянии l1, определяемом по формуле

                                                        [3 (3)]

где lо - длина участка сваи, сваи-оболочки и сваи-столба от подошвы ростверка до уровня поверхности грунта, м;

aд - коэффициент деформации, 1/м, определяемый по формуле (6) приложения к настоящей главе.

Если для набивных свай, свай-оболочек и свай-столбов, заделанных в скальный грунт, величина , (где l - глубина погружения набивной сваи, сваи-оболочки или сваи-столба), то следует принимать l1 = lo + l.

К п. 5.2. Учет продольного изгиба производится по методу, принятому для расчета центрально- и внецентренно-сжатых элементов. Условия защемления верхнего конца сваи принимаются в соответствии с конструктивным решением узла сопряжения головы сваи с ростверком, насадкой и другими элементами. Нижнюю часть свай при расчете на продольный изгиб условно считают жестко защемленной в грунте.

Принятая в пункте расчетная схема предназначена для учета продольного изгиба свай, свай-оболочек и свай-столбов (определения гибкости) к не должна использоваться для определения расчетных значений изгибающих моментов и поперечных сил в их сечениях, которые следует определять согласно приложению к главе СНиП II-17-77.

5.3. При расчете несущей способности набивных свай по материалу расчетное сопротивление бетона следует определять с учетом понижающего коэффициента условий работы mб = 0,85, предусмотренного главой СНиП по проектированию бетонных и железобетонных конструкций для элементов, бетонируемых в вертикальном положении, а также дополнительного понижающего коэффициента условий работы, учитывающего влияние способа производства свайных работ:

а) в глинистых грунтах, консистенция которых позволяет бурить скважины и бетонировать их без крепления стенок, при положении горизонта грунтовых вод в период строительства ниже пяты свай mб = 1;

б) в грунтах, крепление скважин и бетонирование в которых осуществляется с применением извлекаемых обсадных труб при отсутствии воды в скважинах (т.е. при бетонировании сухим способом), mб = 0,9;

в) в грунтах, бурение скважин в которых производится с применением извлекаемых обсадных труб и бетонирование под водой, mб = 0,8;

г) в грунтах, бурение скважин в которых производится под глинистым раствором (без обсадных труб) и бетонирование под этим же раствором, mб = 0,7.

Примечание. Бетонирование под водой или под глинистым раствором должно вестись только методом ВПТ (вертикально перемещающейся трубы).

К п. 5.3. Понижающие коэффициенты условий работы mб = 0,85, предусматриваемые из условия осложнения бетонирования элементов в вертикальном положении, и коэффициенты условий работы, предусмотренные подпунктами «а» - «г», должны учитываться независимо друг от друга путем взаимного их перемножения.

СВАИ-СТОЙКИ

5.4. Несущую способность Ф, тс, сваи-стойки забивной квадратной, прямоугольной или полой круглой диаметром до 0,8 м и сваи-оболочки, набивной сваи и сваи-столба, опирающихся на практически несжимаемый грунт (примечание к п. 2.2 настоящей главы), следует определять по формуле

Ф = mRF,                                                        [4 (4)]

где т - коэффициент условий работы сваи в грунте, принимаемый т = 1;

F - площадь опирания на грунт сваи, сваи-оболочки и сваи-столба, м2, принимаемая для свай сплошного сечения равной площади поперечного сечения, а для полых круглых и свай-оболочек - равной площади поперечного сечения нетто при отсутствии заполнения их полости бетоном и площади поперечного сечения брутто при заполнении этой полости бетоном на высоту не менее трех ее диаметров;

R - расчетное сопротивление грунта под нижним концом сваи-стойки, тс/м2, принимаемое:

а) для всех видов забивных свай, опирающихся нижними концами на скальные и крупнообломочные (валунные, галечниковые, щебенистые, гравийные и дресвяные) грунты с песчаным заполнителем, и в случае опирания на глинистые грунты твердой консистенции (кроме покровных со степенью влажности G < 0,85, a также лессов, лессовидных и набухающих) R = 2000 тс/м2;

б) для набивных свай, свай-оболочек, заполняемых бетоном, и свай-столбов, заделанных в невыветрелый скальный грунт (без слабых прослоек) не менее чем на 0,5 м, по формуле

                                                [5 (5)]

где Rнсж - нормативное (среднее арифметическое значение) временное сопротивление скального грунта одноосному сжатию в водонасыщенном состоянии, тс/м2;

kГ - коэффициент безопасности по грунту, принимаемый kГ = 1,4;

hз - расчетная глубина заделки набивной сваи, сваи-оболочки и сваи-столба в скальный грунт, м;

- наружный диаметр заделанной в скальный грунт части набивной сваи, сваи-оболочки и сваи-столба, м;

в) для свай-оболочек, равномерно опираемых на поверхность невыветрелого грунта, прикрытого слоем нескальных неразмываемых грунтов толщиной не менее трех диаметров сваи-оболочки, по формуле

                                                           [6 (6)]

где R и kГ - обозначения те же, что в формуле [5 (5)].

Примечание. При наличии в основании забивных и набивных свай, свай-оболочек и свай-столбов сильновыветрелых и выветрелых, а также размягчаемых скальных грунтов вопрос о назначении величины нормативного сопротивления грунта Rнсж должен решаться после выполнения статических испытаний грунтов штампами по результатам испытания свай, свай-оболочек и свай-столбов статической нагрузкой.

К п. 5.4. Для свай-стоек, работающих на вертикальную нагрузку и опирающихся на скальный или практически несжимаемый грунт, учитывается только сопротивление грунта основания под нижним концом (подошвой) свай всех типов и свай-оболочек, так как сопротивление грунта на боковой (наружной) поверхности может проявиться только в процессе перемещения (осадки) сваи. Таким образом, в этом пункте даются рекомендации по расчету свай-стоек, под которыми понимаются не просто сваи, передающие большую часть нагрузки на грунт своим нижним концом, а сваи, которые практически не могут передать нагрузку через свою боковую поверхность из-за незначительных осадок грунта, залегающего под нижним концом этих свай.

Приводимые в данном пункте расчетные сопротивления крупнообломочных грунтов указаны для случая, когда забивная свая заглубляется в несущий слой крупно-обломочных грунтов не менее чем на 0,5 м (см. п. 8.13). Если для забивки свай-стоек применяются молоты более легкие, чем это предусмотрено правилами производства работ, при которых не обеспечивается указанное заглубление свай в слой крупнообломочного грунта, то несущая способность таких свай должна быть проверена динамическими или статическими испытаниями. Несущая способность свай, опирающихся на крупно-обломочные грунты с глинистым заполнением, в значительной степени зависят от консистенции глинистого заполнения, поэтому несущая способность таких свай должна определяться по данным статического испытания.

Для фундаментов опор мостов при наличии в основании фундамента слабовыветрелых, выветрелых или сильновыветрелых, а также размягчаемых пород вопрос определения их расчетного сопротивления осевому сжатию должен решаться на основе испытаний пород штампом. Если данные таких испытаний отсутствуют, допускается для неразмягчаемых слабовыветрелых и выветрелых пород определять величину R, принимая значение Rнсж с коэффициентом, равным соответственно 0,6 и 0,3, а в случаях сильновыветрелых пород - как для крупно обломочных грунтов.

Пример 1. Требуется определить несущую способность забивной сваи квадратного сечения 300´300 мм, длиной 8 м, опирающейся на крупнообломочные грунты с песчаным заполнением. Свая изготовляется из бетона марки М300 и армируется 4Æ12А-II.

Решение. Несущую способность сваи по грунту определим по формуле [4 (4)].

Для забивных свай-стоек т = 1, R = 2000 тс/м2; по условию задачи f = 0,3 · 0,3 = 0,09 м2 = 900 см2, Ф = mRF = 1 · 2000 · 0,09 тс.

Расчетная нагрузка на сваю по грунту определяется по формуле [1 (1)] с учетом коэффициента надежности kн = 1,4:

Расчетная нагрузка на сваю по условию прочности материала определяется по графику для проверки свай по прочности, приведенному в рабочих чертежах типовых конструкций свай. Применительно к свае, предусмотренной условиями задачи, она составляет 120 тс.

Расчетную нагрузку на сваю принимаем как наименьшее из двух значений, т. е. N = 120 тс.

Пример 2. Требуется определить несущую способность набивной сваи диаметром d = 0,6 м, заделанной в скальный грунт на глубину hз = 0,8 м. Свая изготовляется из бетона марки М200 и армируется 6Æ10А-I. Временное сопротивление скального грунта одноосному сжатию в водонасыщенном состоянии Rнсж, определенное лабораторными испытаниями, равно 520 тс/м2.

Решение. Для набивных свай kг = 1,4. Величину R определяем по формуле [5 (5)]:

 

Площадь опирания сваи на грунт F = 0,283 м2. Несущую способность сваи по грунту определяем по формуле [4 (4)].

Расчетная нагрузка на сваю по грунту определяется по формуле [(1)]:

Расчетная нагрузка на сваю по условию прочности материала определяется по графику для определения прочности набивных свай, приведенному в типовом проекте, и составляет 150 тс.

Поскольку расчетная нагрузка на сваю по грунту больше расчетной прочности материала, принимаем набивную сваю из бетона марки М300. Расчетная нагрузка на такую сваю по условию прочности материала составит 225 тс.

Расчетную нагрузку на сваю принимаем, как наименьшую из двух значений, т. е. N = 212 тс.

Пример 3. Требуется определить несущую способность сваи-оболочки диаметром D = 1 м из бетона марки М400, опирающейся на неразрушенный выветриванием скальный грунт, прикрытый слоем неразмываемых грунтов толщиной 3,5 м. Полость сваи-оболочки бетоном не заполняется. Толщина стенки сваи-оболочки равна 12 см. Величина Rсж, определенная лабораторными испытаниями, равна 3000 тс/м2.

Решение. Площадь поперечного сечения нетто равна:

Несущая способность сваи-оболочки по грунту

Ф = 1 · 3000 · 0,33 = 990 тс.

Расчетная нагрузка на сваю-оболочку по грунту

Расчетная нагрузка на сваю-оболочку по условию прочности материала определяется по графику для определения прочности, приведенному в типовых проектах для проектирования фундаментов из свай-оболочек, и составляет 600 тс.

Увеличиваем марку бетона свай-оболочки до М500. Тогда расчетная нагрузка на сваю по условию прочности материала составит 735 тс.

Расчетную нагрузку на сваю принимаем как наименьшую из двух значений, т.е. N = 708 тс.

ВИСЯЧИЕ ЗАБИВНЫЕ СВАИ ВСЕХ ВИДОВ

5.5. Несущую способность Ф, тс, висячей забивной сваи (квадратной, квадратной с круглой полостью, прямоугольной и полой круглой диаметром до 0,8 м), работающей на сжимающую нагрузку, следует определять как сумму расчетных сопротивлений грунтов оснований под нижним концом сваи и на ее боковой поверхности по формуле

                                       [7 (7)]

где т - коэффициент условий работы сваи в грунте, принимаемый m = 1;

R - расчетное сопротивление грунта под нижним концом сваи, тс/м2, определяемое по табл. 1 (1);

F - площадь опирания на грунт сваи, м2, принимаемая по площади поперечного сечения сваи брутто или по площади поперечного сечения камуфлетного уширения по его наибольшему диаметру;

и - наружный периметр поперечного сечения сваи, м;

fi - расчетное сопротивление i-го слоя грунта основания на боковой поверхности сваи, тс/м2, определяемое по табл. 2 (2);

li - толщина i-го слоя грунта, соприкасающегося с боковой поверхностью, м;

тR и тf - коэффициенты условий работы грунта соответственно под нижним концом и на боковой поверхности сваи, учитывающие влияние способа погружения свай на расчетные сопротивления грунта, определяемые по табл. 3 (3) и принимаемые независимо друг от друга.

В формуле [7 (7)] суммирование расчетных сопротивлений грунта должно проводиться по всем слоям грунта, пройденным сваей, за исключением случаев, когда проектом предусматривается планировка территории срезкой или возможен размыв грунта. В этих случаях должно производиться суммирование расчетных сопротивлений всех слоев грунта, расположенных соответственно ниже планировочного уровня (срезки) и отметки местного размыва при расчетном паводке.

Примечания: 1. Несущая способность забивных свай с уширением нижнего конца (булавовидных свай) определяется по формуле [7 (7)], при этом за периметр и на участке ствола принимается периметр поперечного сечения ствола сваи, а на участке уширения - периметр поперечного сечения уширения.

Таблица 1 (1)

Расчетные сопротивления под нижним концом забивных свай и свай-оболочек, не заполняемых бетоном, R, тс/м2

песчаных грунтов средней плотности

гравелистых

крупных

-

средней крупности

мелких

пылеватых

-

глинистых грунтов при показателе консистенции, Il, равной

0

0,1

0,2

0,3

0,4

0,5

0,6

3

750

660

400

300

310

200

200

120

110

60

4

830

680

510

380

320

250

210

160

125

70

5

880

700

620

400

340

280

220

200

130

80

7

970

730

690

430

370

330

240

220

140

85

10

1050

770

730

500

400

350

260

240

150

90

15

1170

820

750

560

440

400

290

165

100

20

1260

850

620

480

450

320

180

110

25

1340

900

680

520

350

195

120

30

1420

950

740

560

380

210

130

35

1500

1000

800

600

410

225

140

Примечания: 1. В случаях, когда в табл. 1 (1) значения R указаны дробью, числитель относится к пескам, а знаменатель - к глинам.

2. В табл. 1 и 2 глубину погружения нижнего конца сваи или сваи-оболочки и среднюю глубину расположения слоя грунта при планировке территории срезкой, подсыпкой, намывом до 3 м следует принимать от уровня природного рельефа, а при срезке, подсыпке, намыве от 3 до 10 м - от условной отметки, расположенной соответственно на 3 м выше уровня срезки или на 3 м ниже уровня подсыпки.

Глубину погружения нижнего конца сваи или сваи-оболочки и среднюю глубину расположения слоя грунта в акватории следует принимать с учетом возможного общего размыва грунта дна водотока при расчетном паводке.

При проектировании путепроводов через выемки для свай, забиваемых молотами без подмыва или устройства лидерных скважин, глубину погружения в грунт нижнего конца сваи или сваи-оболочки в табл. 1 (1) следует принимать от уровня природного рельефа в месте сооружения фундамента.

3. Для промежуточных глубин погружения свай и свай-оболочек и промежуточных значений консистенции Il глинистых грунтов значения R и f определяются интерполяцией соответственно по таблицам 1 (1) и 2 (2).

4. Для плотных песчаных грунтов, степень плотности которых определена по материалам статического зондирования, значения R по табл. 1 (1) для свай, погруженных без использования подмыва или лидерных скважин, следует увеличить на 100 %. При определении степени плотности грунтов по материалам других видов инженерных изысканий и отсутствии данных статического зондирования для плотных песков значения R по табл. 1 (1) следует увеличить на 60 %, но не более чем до 2000 тс/м2.

5. Значениями расчетных сопротивлений R по табл. 1 (1) допускается пользоваться при условии, если заглубление свай и свай-оболочек в неразмываемый и несрезаемый грунт составляет не менее: для мостов и гидротехнических сооружений - 4 м; для зданий и прочих сооружений - 3 м.

Таблица 2 (2)

Средняя глубина расположения слоя грунта, м

Расчетные сопротивления на боковой поверхности свай и свай-оболочек, f, тс/м2

песчаных грунтов средней плотности

крупных и средней крупности

мелких

пылеватых

-

-

-

-

-

-

глинистых грунтов при показателе консистенции IL, равном

0,2

0,3

0,4

0,5

0,6

0,7

0,8

0,9

1

1

3,5

2,3

1,5

1,2

0,8

0,4

0,4

0,3

0,2

2

4,2

3

2,1

1,7

1,2

0,7

0,5

0,4

0,4

3

4,8

3,5

2,5

2

1,4

0,8

0,7

0,6.

0,5

4

5,3

3,8

2,7

2,2

1,6

0,9

0,8

0,7

0,5

5

5,6

4

2,9

2,4

1,7

1

0,8

0,7

0,6

6

5,8

4,2

3,1

2,5

1,8

1

0,8

0,7

0,6

8

6,2

4,4

3,3

2,6

1,9

1

0,8

0,7

0,6

10

6,5

4,6

3,4

2,7

1,9

1

0,8

0,7

0,6

15

7,2

5,1

3,8

2,8

2

1,1

0,8

0,7

0,6

20

7,9

5,6

4,1

3

2

1,2

0,8

0,7

0,6

25

8,6

6,1

4,4

3,2

2

1,2

0,8

0,7

0,6

30

9,3

6,6

4,7

3,4

2,1

1,2

0,9

0,8

0,7

35

10

7

5

3,6

2,2

1,3

0,9

0,8

0,7

Примечания: 1. При определении расчетного сопротивления грунта на боковой поверхности свай и свай-оболочек f по табл. 2 (2) надлежит обязательно учитывать требования, изложенные в примечаниях 2 и 3 к табл. 1 (1).

2. При определении по табл. 2 (2) расчетных сопротивлений грунтов на боковой поверхности свай и свай-оболочек f пласты грунтов следует расчленять на однородные слои толщиной не более 2 м.

3. Величины расчетного сопротивления плотных песчаных грунтов на боковой поверхности свай и свай-оболочек f следует увеличивать на 30 % против значений, приведенных в табл. 2 (2).

2. Расчетные сопротивления грунтов R и fi в формуле [7 (7)] для лессов и лессовидных суглинков при глубине погружения свай более 5 м принимаются по значениям, указанным в табл. 1 (1) и 2 (2) для глубины 5 м.

Таблица 3 (3)

Способы погружения свай и виды грунтов

Коэффициенты условий работы грунта, учитываемые независимо друг от друга, при расчете несущей способности забивных висячих свай

под нижним концом сваи mR

на боковой поверхности сваи тf

1. Погружение забивкой сплошных и полых с закрытым нижним концом свай механическими (подвесными), паровоздушными и дизельными молотами

1

1

2. Погружение забивкой в предварительно пробуренные скважины (лидеры) с заглублением концов свай не менее 1 м ниже забоя скважины при ее диаметре:

 

 

а) равном стороне квадратной сваи

1

0,5

б) на 5 см меньшем стороны квадратной сваи

1

0,6

в) на 15 см меньшем стороны квадратной или диаметра круглой сваи (для опор линий электропередачи)

1

1

3. Погружение с подмывом в песчаные грунты при условии добивки свай на последнем метре погружения без применения подмыва

1

0,9

4. Вибропогружение и вибровдавливание в грунты:

 

 

а) песчаные средней плотности:

 

 

пески крупные и средней крупности

1,2

1

пески мелкие

1,1

1

пески пылеватые

1

1

б) глинистые с показателем консистенции IL = 0,5:

 

 

супеси

0,9

0,9

суглинки

0,8

0,9

глины

0,7

0,9

в) глинистые с показателем консистенции IL £ 0

1

1

5. Погружение молотами любой конструкции полых свай с открытым нижним концом:

 

 

а) при диаметре полости сваи 40 см и менее

1

1

б) при диаметре полости сваи более 40 см

0,7

1

6. Погружение любым способом полых круглых свай с закрытым нижним концом на глубину 10 м и более с последующим устройством в нижнем конце сваи камуфлетного уширения в песчаных грунтах средней плотности и в глинистых грунтах консистенции IL £ 0,5 при диаметре уширения, равном:

 

 

а) 1 м независимо от указанных видов грунта

0,9

1

б) 1,5 м в песках и супесях

0,8

1

в) 1,5 м в суглинках и глинах

0,7

1

Примечание. Коэффициенты mR и mf по поз. 4 табл. 3 (3) для глинистых грунтов с показателем консистенции 0,5 > IL > 0 определяются интерполяцией.

К п. 5.5. Приведенные указания относятся к расчету несущей способности грунта основания забивных висячих свай любых конструкций, рассматриваемых п. 2.3 настоящей главы СНиП, исключая сваи-оболочки диаметром более 0,8 м.

Коэффициент условий работы в формуле [7 (7)], как правило, принимается m = 1. Однако для специальных сооружений, проектирование которых согласно п. 1.1 настоящей главы СНиП, должно производиться с учетом дополнительных требований, вытекающих из специфических особенностей этих сооружений, коэффициент условий работы может приниматься отличным от единицы.

При сравнении полученных по формуле [7 (7)] результатов с расчетной нагрузкой в соответствии с п. 4.3 расчетная нагрузка на сваю должна приниматься без учета ее собственного веса.

Пример 4. Требуется определить несущую способность железобетонной сваи с поперечным сечением 300´300 мм, длиной L = 7 м, забитой в грунт дизель-молотом ниже дна котлована глубиной lк = 1,4 м на глубину lс = 6,5 м.

Грунтовые условия: с отметки дна котлована залегает суглинок тугопластичный (IL = 0,5), толщина этого слоя 2 м; ниже - тугопластичный суглинок (IL = 0,3) на глубину 3,1 м, подстилаемый слоем полутвердой глины (IL = 0,2), разведанной толщиной слоя 7 м (рис. 2).

Решение. Площадь поперечного сечения сваи F = 0,3 · 0,3 = 0,09 м2; периметр поперечного сечения и = 4´0,3 = 1,2 м; расчетная глубина погружения нижнего конца сваи от поверхности грунта lк + lс = 1,4 + 6,5 = 7,9 м.

По табл. 1 (1) для этой глубины находим расчетное сопротивление грунта в плоскости нижнего конца сваи R » 450 тс/м2.

Рис. 2. Схема геологического разреза

I - суглинок туго-пластичный IL = - 0,5; II - то же, IL = 0,3; III - глина полутвердая IL = 0,2

Далее определяем среднюю глубину расположения слоев грунта от дневной поверхности и соответствующие значения расчетного сопротивления грунта на боковой поверхности сваи fi по табл. 2 (2).

Для суглинков с консистенцией IL = 0,5 на глубине

 f1 = 1,82 тс/м2.

Для следующего слоя грунта (суглинок тугопластичный с консистенцией IL = 0,3) следует учесть примеч. 2 к табл. 2 (2). Поэтому разбиваем этот слой на два однородных слоя толщиной 2 и 1,1 м:

на глубине  f2 = 3,88 тс/м2;

»   »  f3 = 4,19 тс/м2.

Для глины полутвердой с консистенцией IL = 0,2 на глубине

 f4 = 6,03 тс/м2.

По формуле [7 (7)] находим несущую способность сваи:

Ф = m(mRRF + uåmffili),

Ф = 1[1 · 450 · 0,09 + 1,2 · 1(2 · 1,82 +2 · 3,88 + 1,1 · 4,19 +

1,4 · 6,03)] = 1(40,5 + 29,3) = 69,8 » 70 тс.

Расчетная нагрузка на сваю равна:

Проверка несущей способности свай по условию прочности материала в данном случае не требуется, так как сопротивление сваи сечением 300´300 мм на сжатие больше 50 тс.

При наличии данных статического зондирования плотность песчаных грунтов и консистенции глинистых грунтов принимаются с учетом этих данных.

Для оценки глинистых грунтов необходимо учитывать кроме показателя консистенции IL и другие их физико-механические характеристики. При проектировании также необходимо использовать имеющиеся данные о несущей способности свай по зданиям и сооружениям, построенным рядом на свайных фундаментах в аналогичных грунтах.

Приведенные в табл. 1 и 2 значения расчетных сопротивлений R и fi наиболее близко отвечают грунтам со степенью влажности G ³ 0,8. При степени влажности G < 0,8 при прочих равных условиях (одинаковой пористости, консистенции и т.п.) глинистые грунты фактически чаще всего имеют несколько меньшие величины сопротивлений R и f, а пески - большие. Однако это обстоятельство пока в расчетах не учитывается из-за отсутствия достаточно надежно разработанных методов его количественной оценки.

Супеси, согласно главе СНиП II-15-74 «Основания зданий и сооружений», относятся к глинистым грунтам. Поэтому значения R и f по табл. 1 и 2 для супесей формально должны определяться в зависимости от их консистенции. Однако показатель консистенции для супесей обычно определяется недостаточно надежно. Кроме того, следует иметь в виду, что супеси являются промежуточными грунтами между песками и суглинками и, следовательно, их сопротивление при прочих равных условиях в значительной степени зависит от их гранулометрического состава. Поэтому вопрос о несущей способности свай в супесях следует решать с учетом фактических свойств этого грунта и, в частности, с учетом его глинистости и определять, как правило, по данным статического зондирования.

Несущая способность свай в супесях с числом пластичности Iр, близким к единице, практически будет такой же, как и у свай, забитых в пески, и не будет зависеть от консистенции IL, à несущая способность свай в супесях с числом пластичности Iр, приближающимся к семи, - как у свай, забитых в суглинки той же консистенции.

Практически выбор расчетного сопротивления под нижним концом и на боковой поверхности сваи или свай-оболочки в супесях можно определять интерполяцией значений R и f табл. 1 (1) и 2 (2) по формулам (8) и (9):

                                                   (8)

                                                     (9)

где Rсп и fсп - расчетные сопротивления супеси под нижними концами и на боковой поверхности свай;

Rп и fп - расчетные сопротивления песка, определяемые по табл. 1 (1) и 2 (2) главы СНиП II-17-77;

RГ и fГ - расчетные сопротивления глины, определяемые по табл. 1 (1) и 2 (2) главы СНиП II-17-77.

По проектировании мостов расчетные сопротивления супесей допустимо определять упрощенно, используя значения, приведенные в табл. 1 (1) и 2 (2) для песков соответствующей крупности и плотности. При песках разной крупности значения R и fi, по табл. 1 (1) и 2 (2) определяют интерполяцией в зависимости от процентного содержания песков той или иной крупности.

Опирания нижних концов свай или свай-оболочек на глинистые грунты с показателем консистенции IL > 0,6 и рыхлые пески, как правило, следует избегать ввиду их низкой несущей способности. Поэтому в табл. 1 (1) значения R для грунтов с показателем консистенции IL > 0,6 и для рыхлых песков не приводятся.

Для предварительных расчетов допускается в этом случае использовать результаты зондирования.

Значения расчетных сопротивлений fi в табл. 2 (2) для глинистых грунтов даны только при показателях консистенции 0,2 £ IL £ 1. Такое нормирование fi обусловлено тем, что прорезка сваями грунтов с показателем консистенции IL < 0,2 оказывается обычно делом весьма сложным и осуществляется редко. Исключением являются случаи прорезки просадочных, набухающих и подсушенных покровных грунтов со степенью влажности G < 0,8, прорезка которых, как правило, осуществляется с применением лидерных скважин. Сопротивление же глинистых грунтов с показателем консистенции IL > 1 мало, и им обычно при расчетах несущей способности свай можно пренебречь. В случае, когда все-таки прорезка глинистых грунтов с показателем консистенции IL < 0,2 необходима, величину сопротивления грунта на боковой поверхности забивных свай fi можно в запас принимать по табл. 2 (2) при IL = 0,2. Для свайных фундаментов мостов в этом случае можно также пользоваться графиком, представленным на рис. 3.

Рис. 3. Расчетные сопротивления глинистых грунтов на боковой поверхности свай и свай-оболочек f с консистенцией 0,2 ³ IL ³0

Следует также указать на особенности, которые необходимо учитывать при назначении сопротивления грунта на боковой поверхности ствола сваи с уширенным нижним концом (булавовидных свай). Такие сваи, как отмечено в пояснениях к п. 2.3 настоящей главы, рекомендуется применять только в оплывающих грунтах. Однако даже в таких грунтах в процессе погружения этих свай, грунт, окружающий их ствол, оказывается в разрыхленном состоянии. Поэтому сопротивление грунта на боковой поверхности ствола булавовидных свай обычно рекомендуется назначать не более f = 1 тс/м2.

При определении расчетных глубин забивки свай для назначения расчетных сопротивлений грунта по табл. 1 (1) и 2 (2) для свай и свай-оболочек фундаментов опор мостов глубина местного размыва принимается эквивалентной срезке грунта.

Если сваи или сваи-оболочки забивают до удаления грунта из котлована или в русле реки сквозь слой грунта, который будет смыт в период прохода паводка, то принимаемую для вычисления расчетного отказа расчетную нагрузку, допускаемую на сваю Р, можно считать равной получаемой по расчету с добавлением части нагрузки, воспринимаемой грунтом за счет сил трения на боковой поверхности свай в пределах толщины слоя удаляемого (при разработке котлована или при размыве дна) грунта.

Рис. 4. Схема геологического разреза

I - суглинок тугопластичный IL = 0,4; II - песок мелкий рыхлый; III - глина мягкопластичная IL = 0,6; IV - суглинок тугопластичный IL = 0,3; V - песок крупный плотный

Рис. 5. Схема геологического разреза

I - суглинок тугопластичный IL = 0,4; II - суглинок мягкопластичный IL = 0,55; III - песок средней крупности

Пример 5. Требуется определить несущую способность забивной квадратной сваи сечением 350´350 мм, длиной 15 м, погруженной забивкой в предварительно пробуренную скважину, диаметром на 50 мм меньшим стороны сваи. Грунты, прорезаемые сваей, приведены на рис. 4.

Решение. В соответствии с примечаниями к табл. 1 (1) и 2 (2) для плотных песчаных грунтов значения R увеличиваются на 60 %, а значения fi - на 30 %:

R = 747 · 1,6 = 1195 тс/м2

f1 = 1,5 тс/м2;

f2 = 1,8 «

f3 = 3,74 «

f4 = 4,02 «

f5 = 1,8 «

f6 = 1,8 «

f7 = 4,64 «

f8 = 4,835 «

f9 = 6,99 · 1,3 = 9,1 тс/м2.

F = 0,1225 м2; u = 1,4 м.

Вводим поправочные коэффициенты mR и mf по таблице 3 (3), (поз. 2 «б»), учитывающие способ погружения свай:

под нижними концами свай mR = 1;

по боковой поверхности свай mf = 0,6.

Расчетную несущую способность определяем по формуле [7 (7)]:

Ф = m(mRRF + иåтffili) = 1(1195 · 0,1225 · 1 + 0,6 · 1,4(1,5 · 2 + 2,3 + 3,74 · 1,2 + 4,02 · 4,4 + 1,80 · 1,6 + 4,64 · 2 + 4,835 · 1,9 + 9,1 · 1) = 1(146,5 + 42) = 188,5 тс.

Расчетная нагрузка на сваю по грунту основания равна:

Пример 6. Требуется определить несущую способность полой круглой сваи с открытым нижним концом диаметром D = 500 мм, длиной 12 м, погруженной дизель-молотом в грунты, приведенные на рис. 5:

 u = πD = π · 0,5 = 1,57 м;

R = 411 тс/м2;

f1 = 1,5 «

f2 = 2,35 «

f3 = 1,93 «

f4 = 2,16 «

f5 = 2,19 «

f6 = 2,23 «

f7 = 6,6 «.

Несущую способность сваи определяем по формуле [7 (7)]:

Ф = m(mRRF + иåтffili) = 1[1 · 411,0 · 0,196 + 1,57(1(1,52 + 2,35 · 1,4 + 1,93 · 2 + 2,16 · 2 + 2,19 · 1,4 + 2,23 · 1,2 + 6,6 · 1,4)] = 126,7 тс.

Расчетная нагрузка на сваю равна:

Пример 7. Фундамент опоры моста с ростверковой плитой, расположенной над грунтом, запроектирован из 20 железобетонных свай сечением 400´400 мм. Проектная расчетная нагрузка на одну сваю N = 105 т. Гидрогеологические условия в месте возведения фундамента показаны на рис. 6. Сваи забивают с подмывом. В период забивки свай глубина воды в русле 5 м. При паводке (во время эксплуатации моста) возможен размыв дна на глубину до 4 м.

Рис. 6. Схема грунтовых условий забивки свай

I - песок мелкий; II - глина полутвердая IL = 0,2

Требуется определить глубину забивки свай и величину расчетной нагрузки на сваю для вычисления расчетного отказа.

Решение. Для предварительного расчета несущей способности принимаем заглубление низа сваи на 2 м в глину с консистенцией IL = 0,2 (см. рис. 3).

Пользуясь формулой [7 (7)], определяем несущую способность сваи:

Ф = m(mRRF + иåтffili) = 1(1 · 584 · 0,16 + 1,6 · 0,9 · 2 + 1,6 · 5 · 0,9 · 2 + 1,6 · 5,1 · 0,9 · 2 + 1,6 · 7,5 · 2) = 160,7 тс,

где R = 584 тс/м2 - по табл. 1 (1) для глины с консистенцией) IL = 0,2 на глубине 17 м;

F = 0,16 м2; u = 1,6 м;

f4 = 7,5 « - по графику рис. 3;

l1 = l2 = l3 = l4 = 2 м;

mR = 1 и mf = 0,9 - поправочные коэффициенты, учитывающие погружение сваи с подмывом в пределах песчаной толщи, принимаемые по табл. 3.3, поз. 3.

Расчетная нагрузка на сваю равна:

Принятая глубина забивки сваи выбрана правильно, так как при ней полученная расчетная нагрузка 114 тс превышает проектную незначительно.

Поскольку сваи будут забивать до размыва дна русла (при низком горизонте воды), расчетный отказ вычисляется исходя из значения расчетной нагрузки на сваю No, определенной с учетом величины нагрузки Ф¢, воспринимаемой силами трения на боковой поверхности сваи в пределах пласта песчаного грунта, смываемого в период прохода паводка:

Ф1 = иåтffili = 1,6(4,4 · 2 · 0,9 + 4,75 · 2 · 0,9) = 1,6 · 16,46 = 26,3 тс.

По табл. 2 (2):

f5 = 4,4 тс/м2; f6 = 4,75 тс/м2; l5 = l6 = 2 м.

Определяем расчетную нагрузку на сваю, исходя из которой вычисляется расчетный отказ:

No = N + Ф1 = 105 + 26,3 = 131,3 тс.

Проверка несущей способности по условию сопротивления материала сваи (выбор марки бетона и армирование сваи) в данном примере не приводится, так как свая фундамента опоры моста помимо вертикальных нагрузок несет значительные горизонтальные нагрузки. Указанную проверку необходимо выполнить после расчета сваи на горизонтальную нагрузку (в соответствии с приложением главы СНиП) на совместное действие вертикальных и горизонтальных нагрузок (а также моментов) как внецентренно-сжатого элемента.

Особенности применяемых методов погружения и технологии производства работ, сопутствующих погружению или осуществляемых после окончания погружения, учитываются при расчете введением поправочных коэффициентов тR и тf, указанных в табл. 3 (3) к расчетным сопротивлениям грунта, приведенным в табл. 1 (1) и 2 (2). Эти поправочные коэффициенты учитываются независимо друг от друга и, если их несколько, перемножаются.

В случае, когда сваи погружаются в лидерные скважины, уплотнения грунта вокруг свай не происходит или если происходит, то в значительно меньшей степени, чем при отсутствии лидерных скважин. Это учитывается нормами путем введения понижающего коэффициента условий работы тf = 0,5 ¸ 0,6 в зависимости от диаметра лидерной скважины.

Применение подмыва приводит к уменьшению сопротивления грунта на боковой поверхности сваи. При расчете это также учитывается понижающим коэффициентом условий работы [табл. 3 (3), поз. 3]. Применение подмыва предусматривается только для песчаных грунтов при условии добавки на последнем метре погружения без подмыва.

В поз. 3 табл. 3 (3) не указаны поправочные коэффициенты при погружении с подмывом в глинистые грунты, так как применение подмыва в этих грунтах не рекомендуется. Это объясняется тем, что структура грунта вокруг сваи и под ее нижним концом при подмыве разрушается, а образующаяся при этом вокруг сваи полость длительное время остается заполненной взвешенными глинистыми частицами. Для полых круглых свай, открытых снизу, погружаемых в глинистые грунты с консистенцией IL < 0,5, может быть допущено применение подмыва во внутренней полости с целью гидравлического рыхления грунтового сердечника и обеспечения погружения сваи при условии погружения без подмыва в ненарушенный грунт на последнем этапе погружения на глубину не менее двух наружных диаметров сваи, но не менее 1 м. В этом случае при расчете несущей способности также следует учитывать коэффициенты условий работы тR и тf [поз. 5 табл. 3 (3)].

Известно, что применение вибраторов для погружения свай приводит к изменению структурных свойств как песчаных, так и глинистых грунтов. Эти изменения проявляются в виде уплотнения водонасыщенных песчаных грунтов (главным образом, под нижним концом сваи) и разуплотнения (разжижения) глинистых грунтов, причем полное восстановление структурных связей последних может длиться долгие годы. В соответствии с этим в поз. 4 табл. 3 (3) приводятся повышающие коэффициенты условий работы тR ³ 1 для песчаных грунтов и понижающие для глинистых грунтов. Для глинистых же грунтов тугопластичной консистенции (IL = 0,5) коэффициенты условий работы принимаются равными от 0,7 до 0,9. Разуплотнения и изменения консистенции твердых глинистых грунтов (IL £ 0) в процессе вибропогружения не происходит. Поэтому при IL £ 0 поправочный коэффициент принят равным единице. Для глинистых грунтов с консистенцией IL = 0 ¸ 0,5 поправочные коэффициенты тR и тf берутся по интерполяции.

Сопротивление грунтов основания под нижним концом открытой снизу полой сваи при прочих равных условиях зависит от диаметра ее внутренней полости. В табл. 3 (3), поз. 5 принято, что если диаметр полости круглой полой сваи менее или равен 400 мм, такая свая по условию сопротивления грунта основания под нижним концом аналогична закрытой снизу; если диаметр полости более 400 мм - вводится понижающий коэффициент условий работы тR = 0,7.

Пример 8. Требуется определить несущую способность полой круглой сваи с открытым нижним концом D = 600 мм, длиной 30 м, погруженной вибропогружателем в грунты, приведенные на рис. 7.

Решение:

 u = πD = π · 0,6 = 1,885 м.

По табл. 1 (1): R = 362 тс/м2;

По табл. 2 (2):

f1 = 1,2 тс/м2; f2 = 1,85 тс/м2; f3 = 0,86 тс/м2;

f4 = 1 тс/м2; f5 = 1,08 тс/м2; f6 = 1,14 тс/м2;

f7 = 1,2 тс/м2; f8 = 2,68 тс/м2; f9 = 2,76 тс/м2;

f10 = 2,84 тс/м2; f11 = 2,9 тс/м2; f12 = 5,5 тс/м2;

f13 = 5,7 тс/м2; f14 = 5,9 тс/м2; f15 = 6,1 тс/м2;

f16 = 6,24 тс/м2.

При определении несущей способности сваи по формуле [7 (7)] вводим, согласно п. 5.5, поправочные коэффициенты тR и тf, принимаемые по табл. 3 (3), поз. 4, учитывающие способ погружения сваи, и, кроме того, руководствуемся указаниями п. 5.15.

Тогда

Ф = m(mRRF + иåтffili) = 1 · 1[362 · 0,263 · 1,1 + 1,885(-0,4 · 1,2 · 2,9 - 0,4 · 1,85 · 1 - 0,5 · 1,2 + 1 · 1,6 · 0,9 + 1,08 · 1,6 · 0,9 + 1,14 · 1,8 · 0,9 + 1,2 · 1,8 · 0,9 + 2,68 · 2 · 0,9 + 2,76 · 2 · 0,9 + 2,84 · 2 · 0,9 + 2,9 · 1 · 0,9 + 5,5 · 2 + 5,7 · 2 + 5,9 · 2 + 6,1 · 1,8 + 6,24 · 1,2)] = 253,3 тс.

Расчетная нагрузка на сваю по грунту основания

Рис. 7. Схема геологического разреза

I - суглинок тугопластичный IL = 0,5; II - торф; III - суглинок мягкопластичный IL = 0,6; IV - глина тугопластичная IL = 0,5; V - суглинок тугопластичный IL = 0,3; VI - песок мелкий

Рис. 8. Схема геологического разреза

I - насыпной слой (суглинок тугопластичный) IL = 0,5; II - глина тугопластичная IL = 0,5; III - песок средней крупности, средней плотности

Пример 9. Требуется определить несущую способность по грунту основания полой круглой железобетонной сваи наружным диаметром d = 0,78 м, внутренним диаметром d1 = 0,62 см, длиной l = 6 м. Погружение сваи предусматривается вибратором ВП-1 на глубину lп = 4,2 м с оставлением грунтового ядра.

Грунтовые условия приводятся на рис. 8.

Решение. Расчет сваи по несущей способности производится по формуле [7 (7)].

Площадь опирания сваи на грунт

Расчетное сопротивление грунта под нижним концом сваи определяется интерполяцией по табл. 1 (1) для глубины забивки 4,2 м с введением поправочных коэффициентов по табл. 3 (3), поз. 4 «а» и 5 «б», равных тR1 = 1,2 и тR2 = 0,7.

В результате полное расчетное сопротивление грунта под нижним концом сваи будет равно (с учетом интерполяции):

R = [320 + (340 - 320) 0,2] 1,2 · 0,7 = 272 тс/м2.

Наружный периметр

u = pd = 3,14 · 0,78 = 2,45 м.

Расчетные сопротивления грунта на боковой поверхности сваи для 1, 2 и 3 слоев грунта (см. рис. 8) в соответствии с табл. 2 (2) равны: f1 = 1,2 тс/м2; f2 = 1,8 тс/м2; f3 = 5,12 тс/м2.

Коэффициенты условий работы mf, учитывающие способ погружения для тех же слоев грунта по табл. 3 (3): mf1 = 0,9; mf2 = 0,9; mf3 = 1. Несущую способность сваи по грунту основания определяем по формуле [7 (7)]:

Ф = m(mRRF + иåтffili) = 1(272 · 0,478 + 2,45 · 0,9 · 1,22 + 2,45 · 0,9 · 1,8 · 0,9 + 2,45 · 1 · 5,12 · 1,3) = 155,2 тс.

Расчетная нагрузка на сваю по грунту основания

Известно, что несущая способность забивных висячих свай, работающих в кустах, в общем случае отличается от несущей способности одиночных свай. Это связано с тем, что в результате взаимодействия свай сопротивление грунта на их боковой поверхности снижается за счет уменьшения зон распределения напряжений в грунте межсвайного пространства, а сопротивление грунта под острием увеличивается за счет уплотнения грунта в результате погружения соседних свай.

Степень изменения несущей способности зависит от длины свай, числа свай в кустах и от свойств грунтов, находящихся под острием, а также от соотношения нагрузок, передаваемых через боковую поверхность и через острие сваи. Однако в подавляющем большинстве случаев указанное изменение несущей способности невелико, поскольку явления, его обусловливающие, действуют, как указано выше, в прямо противоположных друг другу направлениях. Поэтому при расчетах, согласно методике рассматриваемой главы СНиП, несущая способность свай в кусте принимается равной несущей способности одиночной сваи.

В случае возникшей при проектировании необходимости оценить несущую способность свай в кусте с учетом их взаимодействия при совместной работе указанную способность сваи можно определить по формуле

Ф = m[mR(1 + B)RF + Aиåтffili],                                             (10)

где т, тR, тf, R, fi, F, u, li - те же обозначения, что и в формуле [7 (7)];

В и А - коэффициенты, соответственно учитывающие увеличение расчетного сопротивления под нижним концом сваи в результате уплотнения грунта и уменьшение расчетного сопротивления на боковой поверхности сваи в результате совместной работы свай в кусте.

В табл. 4 приведены значения коэффициентов В и А в зависимости от числа свай n и относительной глубины погружения  - для относительного расстояния между сваями 3d.

При расчете свайного фундамента на центральную нагрузку несущая способность сваи в кусте определяется с учетом средних коэффициентов Вср и Аср.

При расчете свайного фундамента на внецентренную нагрузку несущая способность свай в кусте определяется для свай, расположенных в крайнем (в направлении момента) ряду, с учетом коэффициентов Акр и Вкр.

Пример. 10. Определить несущую способность 10-метровой забивной сваи сечением 30´30 см, работающей в кустах из 5, 12 и 20 свай, с учетом совместной работы свай в кустах. Инженерно-геологические условия показаны на рис. 9.

Таблица 4

20

30

40

n

Вср

Вкр

Аср

Акр

Вср

Вкр

Аср

Акр

Вср

Вкр

Аср

Акр

4

0,17

0,17

0,71

0,71

0,185

0,185

0,68

0,68

0,195

0,195

0,66

0,66

5

0,19

0,17

0,68

0,71

0,21

0,19

0,65

0,67

0,22

0,21

0,62

0,66

6

0,24

0,22

0,635

0,67

0,26

0,24

0,615

0,63

0,28

0,26

0,575

0,62

7

0,26

0,23

0,595

0,66

0,29

0,26

0,565

0,625

0,315

0,28

0,54

0,61

8

0,275

0,22

0,575

0,66

0,305

0,26

0,54

0,62

0,33

0,28

0,51

0,6

9

0,325

0,3

0,525

0,57

0,36

0,34

0,495

0,53

0,39

0,37

0,46

0,52

10

0,325

0,25

0,525

0,64

0,36

0,29

0,495

0,6

0,39

0,32

0,46

0,58

11

0,33

0,24

0,515

0,64

0,365

0,29

0,48

0,6

0,4

0,32

0,45

0,58

12

0,39

0,34

0,47

0,56

0,43

0,39

0,44

0,51

0,475

0,42

0,4

0,5

13

0,39

0,32

0,455

0,56

0,43

0,37

0,42

0,52

0,475

0,4

0,385

0,5

15

0,42

0,32

0,43

0,54

0,475

0,37

0,395

0,5

0,53

0,42

0,36

0,49

16

0,46

0,4

0,41

0,5

0,525

0,47

0,37

0,46

0,59

0,52

0,34

0,44

17

0,465

0,38

0,405

0,52

0,53

0,45

0,365

0,47

0,6

0,5

0,33

0,45

18

0,47

0,35

0,4

0,54

0,54

0,43

0,36

0,5

0,605

0,48

0,325

0,48

20

0,51

0,43

0,37

0,49

0,59

0,5

0,33

0,45

0,665

0,57

0,3

0,43

22

0,525

0,4

0,36

0,51

0,605

0,47

0,32

0,47

0,685

0,54

0,285

0,44

23

0,525

0,36

0,36

0,54

0,605

0,45

0,32

0,59

0,685

0,52

0,285

0,47

24

0,54

0,44

0,345

0,48

0,62

0,52

0,31

0,44

0,705

0,59

0,27

0,43

25

0,56

0,46

0,335

0,45

0,65

0,53

0,3

0,41

0,74

0,63

0,26

0,4

Рис. 9. Схема геологического разреза

I - супесь IL = 0,7; II - песок пылеватый средней плотности; III - суглинок IL = 0,4; IV - песок средней крупности, плотный

Несущая способность одиночной сваи определяется по формуле [7 (7)]:

1) для плотных песков

Ф = 1 [0,09 · 800 + 1,2 (1,2 · 2,5 + 2,7 · 2 + 2,9 · 2 + 3,1 · 3 + 8,2 · 1] = 31,7 + 72 = 103,7 тс;

2) для песков средней плотности

Ф = 1[0,09 · 400 + 1,2(1,2 · 2,5 + 2,7 · 2 + 2,9 · 2 + 3,1 · 3 + 6,3 · 1)] = 29,8 + 36 = 65,8 тс.

С учетом совместной работы в кустах:

а) для куста из 5 свай А = 0,65, В = 0,29:

Ф = 72 · 1,29 + 31,7 · 0,65 = 115,8 тс;

Ф = 36 · 1,29 + 29,8 · 0,65 = 65,9 тс;

б) для куста из 12 свай А = 0,44; B = 0,43:

Ф = 72 · 1,43 + 31,7 · 0,44 = 116,9 тс;

Ф = 36 · 1,43 + 29,8 · 0,44 = 64,7 тс;

в) для куста из 20 свай А = 0,33; В = 0,5:

Ф = 72 · 1,5 + 31,7 · 0,33 = 117,8 тс;

Ф = 36 · 1,5 + 29,8 · 0,33 = 63,9 тс.

Из примера видно, что чем прочнее грунты под острием, тем несущая способность свай с учетом их взаимодействия будет больше, так как степень увеличения сопротивления грунта под острием больше, чем уменьшение сопротивления грунта по боковой поверхности.

5.6. Для забивных свай, опирающихся нижним концом на рыхлые песчаные грунты или на глинистые грунты с показателем консистенции IL > 0,6, несущую способность следует определять по результатам статических испытаний свай.

К п. 5.6. Свайные фундаменты со сваями, опирающимися на рыхлые песчаные грунты и на глинистые грунты с показателем консистенции IL > 0,6, в большинстве случаев применять оказывается нерациональным, так как такие сваи имеют низкую несущую способность и дают, как правило, длительную и большую по величине осадку. Они могут применяться только для легких зданий с однорядным расположением свай в фундаменте. Надежных методов расчета несущей способности свай, опирающихся на указанные грунты, до настоящего времени не разработано. Поэтому проектирование фундаментов со сваями в таких случаях можно вести только по результатам их статических испытаний.

5.7. Расчет несущей способности пирамидальной, трапецеидальной и ромбовидной сваи, прорезающей песчаные и глинистые грунты, следует производить с учетом дополнительного сопротивления грунта на боковой поверхности таких свай, определяемого в зависимости от величины модуля деформации грунта, получаемого по результатам компрессионных испытаний грунтов, прорезаемых сваей. Несущую способность пирамидальной, трапецеидальной и ромбовидной сваи Ф, тс, в этом случае следует определять по формуле

                            [11 (8)]

где m, R, F, li, fi - обозначения те же, что и в формуле 7 (7);

ui - наружный периметр i-го сечения сваи, м;

uoi - сумма размеров сторон i-го поперечного сечения сваи, м, которые имеют наклон к оси сваи;

ic - уклон боковой поверхности сваи в долях единицы, определяемый как отношение полуразности сторон поперечного сечения в верхнем и нижнем ее концах к длине участка с наклоном граней; при ic ³ 0,025 следует принимать ic = 0,025;

Ei - модуль деформации i-го слоя грунта, окружающего боковую поверхность сваи, тс/м2, определяемый по результатам компрессионных испытаний;

k¢i - коэффициент, определяемый по табл. 5 (4);

xр - реологический коэффициент, принимаемый xр = 0,8.

Примечание. При ромбовидных сваях суммирование сопротивлений грунта на боковой поверхности участков с обратным наклоном в формуле 11 (8) не производится.

Таблица 5 (4)

Коэффициент k¢i

Пески и супеси

0,5

Суглинки

0,6

Глины при Ip = 0,18

0,7

То же, Ip = 0,25

0,9

Примечание. Для глин с числом пластичности 0,18 < Ip < 0,25 значение коэффициента k¢i определяется интерполяцией.

К п. 5.7. Следует обратить внимание, что в формуле [11 (8)] используется модуль деформации грунта Ei, определенный по результатам не штамповых, а компрессионных испытаний.

При отсутствии данных компрессионных испытаний величину модуля деформации Ei для расчета несущей способности свай с наклонными гранями можно определить по формуле

где Е - модуль деформации грунта при штамповых испытаниях, в том числе определенный по простейшим физико-механическим характеристикам грунта в соответствии с табличными значениями, устанавливаемыми главой СНиП II-15-74:

mk - поправочный коэффициент, больший единицы, определяемый в соответствии с рекомендациями приложения 2.

Рис. 10. Схема геологического разреза

I - насыпной и почвенно-растительный слой; II - супесь твердая Ек = 640 тс/м2; III - суглинок тугопластичный Ек = 330 тс/м2, IL = 0,33; IV - глина мягкопластичная IL = 0,6

В случае, если проектная организация имеет недостаточный опыт применения свай с наклонными гранями, проведение полевых испытаний таких свай для определения их несущей способности является обязательным.

Пример 11. Требуется определить несущую способность пирамидальной сваи Ф, тс; длина сваи 3 м; размеры головы 0,7´0,7 м и острия 0,1´0,1 м. Грунтовые условия показаны на рис. 10.

Решение. Несущую способность пирамидальной сваи Ф, тс, определяем по формуле (8). Все вычисления для удобства сведены в табл. 6.

Расчетную нагрузку на сваю N определим по формуле [1 (1)], приняв kн = 1,4:

При отсутствии компрессионных исследований грунтов и одновременно при невозможности определения модулей деформации грунтов по таблицам главы СНиП II-15-74 в соответствии с их простейшими физико-механическими характеристиками несущую способность свай с наклонными гранями (пирамидальных, трапецеидальных, ромбовидных) можно определять по формуле

Ф = m [RF + åli(uifi + uoifoi)],                                             (12)

где m, R, F, li, ui, fi, uoi - обозначения те же, что и в формулах [7 (7)] и [11 (8)];

foi - расчетный отпор i-го слоя грунта на поверхность наклонных граней, тс/м2, определяемый по формуле foi = Risina;

где Ri - расчетное сопротивление грунта, тс/м2, принимаемое по табл. 1 (1) настоящей главы СНиП, на уровне подошвы i-го слоя грунта;

a - угол наклона граней к вертикальной оси сваи.

Пример 12. Определить несущую способность ромбовидной сваи СНР 8-30-50 (по ТУ 65-163-76); грунты, прорезаемые сваей, приведены на рис. 11: 0 - 2,8 м - песок пылеватый водонасыщенный; 2,8 - 4,8 м - супесь с консистенцией IL = 0,6; е = 0,95; 4,8 - 10,6 м - суглинок с консистенцией IL = 0,5.


Таблица 6

m

R1, тс/м2

F1, м2

RF, тс

li1, м

ui1, м

fi, тс/м2

uifi, тс/м

uoi, м

ic

Ei, тс/м2

ki

xр

uoiic´Eikixp, тс/м

uifi + uoiicEi ´ kixp, тс/м

li(uifi+uoiicEi´kixp), тс

åli(uifi+uoiic´Eiki´xp), тс

Ф, тс

Слои грунта

 

 

 

 

0,7

2,12

4,3

9,12

2,12

0,025

640

0,5

0,8

13,6

22,72

15,9

-

-

Супесь твердая

J

-

-

-

1

1,44

3,2

4,62

1,44

0,025

330

0,6

0,8

1,3

1,45

1,15

-

-

Суглинок тугопластичный

 

73

0,01

0,73

0,8

0,72

1,6

1,15

0,72

0,025

180

0,5

0,8

1,3

1,45

1,15

-

-

Глина мягкопластичная


Решение. При расчете несущей способности ромбовидных свай верхняя часть сваи, имеющая обратный наклон граней, не учитывается.

Нижнюю часть сваи разбиваем на участки длиной l1 = 1,3 м; l2 = 2 м; l3 = 2 м; l4 = 0,7 м.

Рис. II. Схема геологического разреза

I - песок пылеватый; II - супесь IL = 0,6; III - суглинок IL = 0,5.

Для середины каждого участка определяем периметры сечения сваи:

х1 = 0,5 - 2х¢1 = 0,5 - 2 · 0,012 = 0,48 м;

uo1 = uo2 = uo3 = uo4 = 0,6 м;

Аналогично для следующих участков:

х2 = 0,48 - 2х¢2 = 0,48 - 0,068 = 0,41 м;

х¢2 = l2tga = 2 · 0,017 = 0,034 м;

х3 = 0,41 - 2х¢3 = 0,41 - 0,068 = 0,34 м;

x¢3 = 0,034 м;

х4 = 0,34 - 2х¢4 = 0,34 - 0,024 = 0,32;

х¢4 = 0,7 · 0,017 = 0,012.

Поскольку в исходных данных отсутствуют результаты компрессионных испытаний грунтов, а определить модуль деформации супеси при IL = 0,6 и е = 0,95 по таблице главы СНиП II-15-74 не представляется возможным, расчет ведем по формуле (12); значение R, fi и foi, определяем по табл. 1 (1) и 2 (2):

R = 140,6 тс/м2; f1 = 2,1 тс/м2; f2 = 1,6 тс/м2;

f3 = 2,5 тс/м2; f4 = 2,55 тс/м2;

f01 = R1 · 0,017 = 100 · 0,017 = 1,7 тс/м2;

f02 = R2 · 0,017 = 78 · 0,017 = 1,34 тс/м2;

f03 = R3 · 0,017 = 139 · 0,017 = 2,36 тс/м2;

f04 = 140,6 · 0,017 = 2,39 тc/м2.

Подставляя найденные значения в формулу (12), получим

Ф = 140,6 · 0,09 + 1,3(0,98 · 2,1 + 0,6 · 1,7) +2 (0,89 · 1,6 +

+ 0,6 · 1,34) + 2(0,75 · 2,5 + 0,6 · 2,36) + 0,7(0,66 · 2,55 +

+ 0,6 · 2,39) = 29,2 тс.

Расчетная нагрузка на сваю

5.8. Несущую способность Фв, тс, сваи (квадратной, квадратной с круглой полостью, прямоугольной и полой круглой), работающей на выдергивание, следует определять по формуле

Фв = тиåmffili,                                                     [13 (9)]

где и, mf и li - обозначения те же, что и в формуле [7 (7)];

т - коэффициент условий работы, принимаемый для свай, погружаемых в грунт на глубину менее 4 м, т = 0,6; то же, на глубину 4 м и более т = 0,8 для всех зданий и сооружений, кроме опор воздушных линий электропередачи, для которых коэффициент т принимается согласно указаниям раздела 13 настоящей главы.

К п. 5.8. При расчете свай и свай-оболочек на выдергивание кроме использования формулы [13 (9)] необходимо проверить расчетом достаточность продольной арматуры на растяжение и заделку в ростверк свай. Указанные расчеты производятся в соответствии с главой СНиП II-21-75.

Пример 13. Требуется определить несущую способность сваи, работающей на выдергивание, сечение 300´300 мм, длиной 7 м, забитой в грунты, приведенные на рис. 2.

Решение. Несущую способность сваи определяем по формуле [13 (9)]:

Фв = тиåmffili,

где mf - коэффициент условий работы для свай, забиваемых в грунт на глубину более 4 м (m = 0,8);

Ф = 1 · 0,8 · 1,2 · 1 (2 · 1,82 + 2 · 3,88 + 1,1 · 4,14 + 1,4 · 6,03) = 19,5 тс.

Расчетная нагрузка на сваю

ВИСЯЧИЕ НАБИВНЫЕ СВАИ, СВАИ-ОБОЛОЧКИ И СВАИ-СТОЛБЫ

5.9. Несущую способность Ф, тс, набивной сваи с уширенной пятой и без уширения, а также сваи-оболочки и сваи-столба, работающих на осевую сжимающую нагрузку, следует определять по формуле

Ф = m(mRRF + иåтffili),                                      [14 (10)]

где т - коэффициент условий работы сваи, принимаемый в случае опирания ее на покровные глинистые грунты со степенью влажности G < 0,85 и на лессовые или лессовидные грунты т = 0,8, а в остальных случаях т = 1;

mR - коэффициент условий работы грунта под нижним концом набивной сваи, сваи-оболочки и сваи-столба. Принимаемый mR =1 во всех случаях, за исключением свай с камуфлетными уширениями, для которых этот коэффициент следует принимать mR = 1,3, и устройства свай с уширенной пятой, бетонируемой подводным способом, для которых mR = 0,9;

R - расчетное сопротивление грунта под нижним концом буронабивной сваи, сваи-оболочки и сваи-столба, тс/м2, принимаемое согласно требованиям пп. 5.10 и 5.11 настоящих норм, а для набивной сваи, изготовляемой по технологии, указанной в п. 2.6 «а», «б» - по табл. 1 настоящих норм;

F - площадь опирания набивной сваи, сваи-оболочки и сваи-столба, м2, принимаемая равной: для набивных свай без уширения и для свай-столбов - площади поперечного сечения сваи или сваи-столба; для набивных свай с уширением - площади поперечного сечения уширения в месте наибольшего его диаметра; для свай-оболочек, заполненных бетоном, - площади поперечного сечения оболочки брутто; для свай-оболочек с грунтовым ядром без наполнения полости бетоном - площади поперечного сечения нетто;

u - периметр ствола сваи, м, принимаемый по диаметру скважины, обсадной трубы или сваи-оболочки;

тf - коэффициент условий работы грунта на боковой поверхности набивной сваи, сваи-оболочки и сваи-столба, зависящий от способа образования скважины и их стволов, принимаемый по табл. 5;

fi - расчетное сопротивление i-го слоя грунта на боковой поверхности ствола набивной сваи, сваи-оболочки и сваи-столба, тс/м2, принимаемое по табл. 2;

li - то же, что и в формуле 7 (7).

Примечание. Сопротивление песчаных грунтов на боковой поверхности сваи с уширенной пятой должно учитываться на участке, от уровня планировки до уровня пересечения ствола сваи с поверхностью воображаемого конуса, имеющего в качестве образующей линию, касающуюся границы уширения под углом jI/2 к оси сваи, где jI - осредненное (по слоям) расчетное значение угла внутреннего трения грунта, залегающего в пределах указанного конуса, определяемое в соответствии с требованиями п. 4.6 настоящей главы. Допускается учитывать сопротивление глинистых грунтов по всей длине ствола.

Таблица 7 (5)

Вид свай и способы их устройства

Коэффициент условий работы грунта тf, при

песках

супесях

суглинках

?

1. Набивные по п. 2.6 «а» при забивке инвентарной трубы с наконечником

0,8

0,8

0,8

0,7

2. Набивные виброштампованные

0,9

0,9

0,9

0,9

3. Буронабивные, в том числе с уширенной пятой, бетонируемые:

 

 

 

 

а) при отсутствии воды в скважине (сухим способом)

0,7

0,7

0,7

0,6

б) под водой или глинистым раствором

0,6

0,6

0,6

0,6

4. Сваи-оболочки, погружаемые вибрированием с выемкой грунта

1

0,9

0,7

0,6

5. Сваи-столбы

0,7

0,7

0,7

0,6

К п. 5.9. Формулой [14 (10)] следует пользоваться при расчете несущей способности по грунту на вертикальную осевую сжимающую нагрузку висячих набивных свай и свай-оболочек следующих типов:

а) набивных свай любых диаметров с уширенной пятой и без уширения, в том числе буронабивных и частотрамбованных;

б) свай-оболочек диаметром более 0,8 м, погружаемых с полной выемкой грунта из полости, бетонируемой по окончании погружения свай, а также свай-оболочек, погружаемых без выемки или с частичной выемкой грунта из полости, но с оставлением на последнем этапе погружения грунтового ядра ненарушенной структуры высотой не менее двух диаметров сваи-оболочки без заполнения полости бетоном.

При наличии опытных данных о расчетных величинах угла внутреннего трения грунта jIi, сцепления cIi и объемного веса грунтов основания уIi уточненные величины сопротивлении грунта на боковой поверхности буронабивных свай могут быть определены по формуле

fi = (уIсрi hitgjIi + cIi)xi,

где уIсрi - осредненное расчетное значение объемного веса грунта в пределах глубины расположения hi, середины i-го слоя, тс/м3, определяемое с учетом взвешивающего действия воды;

 - коэффициент активного бокового давления грунта;

hi - глубина расположения слоя.

5.10. Расчетное сопротивление R, тс/м2, грунта под нижним концом набивной сваи, сваи-оболочки, погружаемой с выемкой грунта из полости с последующим заполнением ее бетоном, и сваи-столба допускается принимать:

а) для крупнообломочных грунтов с песчаным заполнителем и песчаных грунтов в случае устройства набивной сваи с уширенной пятой и без уширения, сваи-оболочки, погружаемой с полным удалением грунтового ядра, и сваи-столба - по формуле [15 (11)], а в случае сваи-оболочки, погружаемой с сохранением ненарушенного ядра из указанных грунтов на высоту 0,5 м и более, - по формуле [16 (12)]:

                                        [15 (11)]

                                           [16 (12)]

где a, b, Aoк и Bок - безразмерные коэффициенты, принимаемые по табл. 8 (6) в зависимости от расчетного значения угла внутреннего трения jI грунта основания, определенного в соответствии с указаниями п. 4.6 настоящей главы;

у¢I - расчетное значение объемного веса грунта, тс/м3, в основании набивной сваи, сваи-оболочки и сваи-столба (при водонасыщенных грунтах с учетом взвешивания в воде);

Таблица 8 (6)

Обозначение коэффициентов

Коэффициенты Аок, Вок, a и b при расчетных значениях угла внутреннего трения грунта jI, град

23

25

27

29

31

33

35

37

39

Аок

9,5

12,6

17,3

24,4

34,6

48,6

71,3

108

163

Вок

18,6

24,8

32,8

45,5

64

87,6

127

185

260

 

4

0,78

0,79

0,8

0,82

0,84

0,85

0,85

0,86

0,87

 

5

0,75

0,76

0,77

0,79

0,81

0,82

0,83

0,84

0,85

 

7,5

0,68

0,7

0,71

0,74

0,76

0,78

0,8

0,82

0,84

 

10

0,62

0,65

0,67

0,7

0,73

0,75

0,77

0,79

0,81

a

12,5

0,58

0,61

0,63

0,67

0,7

0,73

0,75

0,78

0,80

при

15

0,55

0,58

0,61

0,65

0,68

0,71

0,73

0,76

0,79

17,5

0,51

0,55

0,58

0,62

0,66

0,69

0,72

0,75

0,78

 

20

0,49

0,53

0,57

0,61

0,65

0,68

0,72

0,75

0,78

 

22,5

0,46

0,51

0,55

0,6

0,64

0,67

0,71

0,74

0,77

 

25 и более

0,44

0,49

0,54

0,59

0,63

0,67

0,7

0,74

0,77

b при d =

0,8 м и менее

0,34

0,31

0,29

0,27

0,26

0,25

0,24

0,23

0,22

 

4 м

0,25

0,24

0,23

0,22

0,21

0,20

0,19

0,18

0,17

Примечание. Для промежуточных значений j1,  d величины коэффициентов Аок, Вок, a и b определяются интерполяцией.

у1 - осредненное (по слоям) расчетное значение объемного веса грунтов, тс/м3, расположенных выше нижнего конца набивной сваи, сваи-оболочки и сваи-столба;

d - диаметр, м, набивной сваи, уширения (сваи с уширенной пятой), сваи-оболочки и сваи-столба;

h - глубина заложения, м, нижнего конца набивной сваи или ее уширенной пяты, сваи-оболочки и сваи-столба, отсчитываемая от природного рельефа или планировочной отметки (при планировке срезкой), а для опор мостов - от дна водоема с учетом его общего размыва при расчетном паводке;

б) для глинистых грунтов в случае устройства набивной сваи с уширением и без уширения, сваи-оболочки, погружаемой с выемкой грунтового ядра (частичной или полной) и заполнением полости бетоном, и сваи-столба в фундаментах зданий и сооружений - по табл. 9 (7).

Таблица 9 (7)

Глубина заложения нижнего конца свай h, м

Расчетное сопротивление R, тс/м2, под нижним концом набивных свай с уширением и без уширения, свай-столбов и свай-оболочек, погружаемых с выемкой грунта и заполнением полости бетоном, при глинистых грунтах с показателем консистенции IL, равной

0

0,1

0,2

0,3

0,4

0,5

0,6

3

85

75

65

50

40

30

25

5

100

85

75

65

50

40

35

7

115

100

85

75

60

50

45

10

135

120

105

95

80

70

60

12

155

140

125

110

95

80

70

15

180

165

150

130

110

100

80

18

210

190

170

150

130

115

95

20

230

210

190

165

145

125

105

30

330

300

260

230

200

-

-

40

450

400

350

300

250

-

-

Примечание. Для свайных фундаментов опор мостов значения R, приведенные в табл. 9 (7), следует:

а) повышать (при расположении опор в водоеме) на величину, равную 1,5 увhв, где ув - удельный вес воды - 1 тс/м3; hв - глубина слоя воды, м, считая от меженного уровня до уровня размыва при расчетном паводке;

б) понижать при коэффициенте пористости грунта е > 0,6; при этом коэффициент понижения те следует определять интерполяцией между значениями те = 1 при е = 0,6 и те = 0,6 при е = 1,1.

Примечание. Положения, предусмотренные п. 5.10, относятся к случаям, когда обеспечивается заглубление набивной сваи, сваи-оболочки и сваи-столба в грунт, принятый за основание их нижних концов, во всех случаях не менее чем на диаметр сваи (или уширения для сваи с уширенной пятой), сваи-оболочки и сваи-столба, но не менее 2 м.

5.11. Расчетное сопротивление R, тс/м2, грунтов под нижним концом не заполняемых бетоном свай-оболочек с грунтовым ядром, оставляемым на последнем этапе погружения на высоту 0,5 м и более (при условии, что грунтовое ядро образовано из грунта, имеющего те же характеристики, что и грунт, принятый за основание концов сваи-оболочки), принимается по табл. 1 (1) настоящей главы с коэффициентом условий работы, учитывающим способ погружения свай-оболочек в соответствии с поз. 4 табл. 3 настоящей главы, причем расчетное сопротивление в указанном случае относится к площади поперечного сечения сваи-оболочки нетто.

К п. 5.10 и п. 5.11. Настоящая глава СНиП дифференцированно подходит к двум качественно различным случаям погружения и работы в грунте свай-оболочек.

Первый случай предусматривает вибропогружение сваи-оболочки с полной выемкой грунта из ее полости. В этом случае в процессе погружения сваи-оболочки преимущественно производится опережающая выемка грунта, которая прекращается не менее чем за 2 м до достижения нижним концом сваи-оболочки проектной отметки. Затем погружение производится с удалением грунта из полости до уровня ножа или с оставлением грунтового сердечника на последней стадии погружения, после чего полость заполняется бетоном. Выемка грунта предотвращает образование грунтового ядра в полости сваи-оболочки и значительно облегчает ее погружение.

В результате происходит разуплотнение грунта под подошвой и снижение сил сопротивления грунта на боковой поверхности сваи-оболочки. Поэтому расчетные сопротивления R под нижним концом свай-оболочек, погруженных с выемкой грунта из полости (п. 5.9), предусматриваются меньшими в сравнении со значениями R, принимаемыми для забивных свай, а для расчетных сопротивлений f вводятся понижающие коэффициенты mf £ 1 [см. табл. 7 (5)].

Площадь опирания F сваи-оболочки, заполняемой бетоном, принимается в формуле [14 (10)] равной площади поперечного сечения брутто (по наружному диаметру) независимо от того, производится бетонирование полости от уровня ножа или от уровня верха грунтового сердечника, оставляемого на последнем этапе погружения.

Второй случай предусматривает погружение свай-оболочек (если позволяют грунтовые условия) вибрированием без выемки или с частичной выемкой грунта из полости и оставлением на последнем этапе погружения ненарушенного грунтового ядра высотой не менее двух диаметров сваи-оболочки.

Эта категория свай-оболочек по характеру работы в грунте на воспринятие вертикальных сжимающих нагрузок существенно отличается от свай-оболочек, догружаемых с полной выемкой грунта из полости, и приближается к забивным сваям.

При погружении сваи-оболочки без выемки грунта уплотняется как основание, примыкающее к боковой наружной и внутренней поверхностям сваи-оболочки, так и основание под ее нижним концом.

Частичная выемка грунта при погружении сваи-оболочки с грунтовым ядром производится для облегчения ее погружения только при прохождении наиболее плотных слоев грунта. При этом не допускается выемка грунта из полости до нижнего конца сваи-оболочки, так как это может вызвать разуплотнение грунтов под нижним концом и на боковой поверхности сваи.

В соответствии с изложенным в п. 5.10, по существу, приравнивается работа сваи-оболочки с грунтовым ядром к работе забивных висячих свай, т.е. в расчете принимаются те же значения расчетных сопротивлений под нижним концом R и на наружной боковой поверхности сваи f, что и для забивных свай. Расчет несущей способности свай-оболочек с грунтовым ядром производится по формуле [14 (10)], принимая в качестве площади опирания сваи по подошве F - площадь кольцевого сечения сваи-оболочки, коэффициент mf = 1, а значения R и f - по табл. 1 (1) и 2 (2), п. 5.5 с учетом способа погружения свай-оболочек согласно поз. 4 табл. 3 (3).

В формулу [14 (10)] не входит сопротивление сдвигу грунта ядра-сердечника на внутренней боковой поверхности сваи-оболочки, которое идет в запас несущей способности сваи-оболочки.

Расчет несущей способности свай-оболочки с учетом сопротивления грунта на внутренней боковой поверхности сваи-оболочки рекомендуется производить в соответствии с прил. 4.

Пример 14. Требуется определить несущую способность сваи-оболочки длиной 12 м, диаметром 1,2 м, погруженную с выемкой грунта из полости с последующим заполнением ее бетоном. Грунты, прорезаемые сваей-оболочкой, и их физико-механические характеристики приведены на рис. 12.

Рис. 12. Схема геологического разреза

1 - суглинок мягкопластичный e = 0,65, IL = 0,6, у = 1,65 тс/м3; j = 22°; II - песок пылеватый e = 0,75, j = 26°; у = 19 тс/м3; III - суглинок тугопластичный IL = 0,4, j = 22°, e = 0,55, у = 17 тс/м3; IV - песок средней крупности e = 0,55, j = 38°, у = 21 тс/м2

Рис. 13. Схема геологического разреза

I - суглинок тугопластичный il = 0,4; II - суглинок тугопластичный il = 0,5, j = 22°; III - глина полутвердая il = 0,3

Решение. Расчетное сопротивление R грунта под нижним концом сваи-оболочки определяем по формуле [15 (11)].

.

Безразмерные коэффициенты a, b, Аок и Вок, входящие в формулу [15 (11)], определяем по табл. 8 (6):

при j = 35° Аок = 71,3; Вок = 127;

при α = 0,776;

при d = 1,2 b = 0,235.

Приведенный объемный вес у1 грунтов, расположенных выше нижнего конца сваи-оболочки, равен:

R = 0,65 · 0,235 (2,1 · 1,2 · 71,3 + 0,776 · 1,74´

´11,4 · 127) = 325 тс/м2;

 u = 3,78 м;

mf1 = 0,9; mf2 = 1; mf3 = 0,7; mf4 = 1,0

[по табл. 7 (5)].

В соответствии с примеч. 2 к табл. 2 (2) расчленяем пласты грунта на однородные слои толщиной не более 2 м и определяем соответствующие значения fi:

f1 = 0,8 тс/м2; f2 = 1,28 тс/м2; f3 = 1,48 тс/м2; f4 = 2,92 тс/м2; f5 = 3,15 тс/м2; f6 = 3,28 тс/м2; f7 = 3,38 тс/м2; f8 = 7,04 тс/м2.

Определяем несущую способность сваи-оболочки по формуле [14 (10)]:

Ф = m(mRRF + uSmffili) = 1 (325 · 1,13 + 3,78 (0,9 · 0,8 · 2 +

+ 0,9 · 1,28 · 1,2 + 0,9 · 1,48 · 1,2 + 1 · 2,92 · 1,5 + 0,7 · 3,15 · 1,5 +

0,7 · 3,28 · 1,5 + 0,7 · 3,38 · 1,5 + 1 · 7,04 · 1) = 368 + 98,8 = 466,8 тс.

Расчетная нагрузка на сваю-оболочку

Пример 15. Требуется определить несущую способность сваи-оболочки длиной 12 м, наружным диаметром D = 1,2 м и внутренним d = 0,96 м с грунтовым ядром без заполнения бетоном, погруженной вибропогружателем. Грунты, прорезаемые сваей-оболочкой, и их физико-механические характеристики аналогичны приведенным в примере 14 (см. рис. 12).

Решение. Расчетное сопротивление R грунта под нижним концом сваи-оболочки определяем в соответствии с п. 5.11.

Коэффициент условий работы, учитывающий способ погружения, в соответствии с поз. 4 табл. 3 (3) mR = 1,2:

R = 411,2 · 1,2 = 495 тс2;

u = 3,78 м;

mf1 = 0,9; mf2 = 1; mf3 = 0,7; mf4 = 1,0

[по табл. 7 (5)].

В соответствии с примеч. 2 к табл. 2 (2) расчленяем пласты грунтов на однородные слои толщиной не более 2 м и определяем значения fi:

f1 = 0,8 тс/м2; f2 = 1,28 тс/м2; f3 = 1,48 тс/м2; f4 = 2,92 тс/м2; f5 = 3,15 тс/м2; f6 = 3,28 тс/м2; f7 = 3,38 тс/м2; f8 = 7,04 тс/м2.

Определяем несущую способность сваи-оболочки по формуле [14 (10)]:

Ф = m(mRRF + uSmffili) = 1[495 · 0,409 +

+ 378 (0,9 · 0,8 · 2 + 0,9 · 1,28 · 1,2 + 0,9 · 1,48 · 1,2 +

+ 1 · 2,92 · 1,5 + 0,7 · 3,15 · 1,5 + 0,7 · 3,28 · 1,5 +

+ 0,7 · 3,38 · 1,5 + 1 · 7,05 · 1)] = 1 (202 + 98,8) = 300,8 тс.

Расчетная нагрузка, допускаемая на сваю-оболочку:

Пример 16. Требуется определить несущую способность набивной сваи с уширенной пятой по грунту основания. Длина сваи 11,4 м, диаметр ствола сваи 0,5 м, диаметр уширения 1 м. Свая погружается в грунты, физико-механические характеристики которых приведены на рис. 13.

Решение. По табл. 7 (7) определяем расчетное сопротивление под пятой сваи: R = 134 тс/м2; F = 0,785 м2; u = 1,57 м.

Согласно п. 5.9, следует определить участок, где действует сопротивление грунта на боковой поверхности. Для этого определяем значение j1ср.

Принимаем j1ср =18°; j1ср/2 = 9°.

Участок сваи, где боковое сопротивление грунта не учитывается, равен:

тf = 0,6 [табл. 7 (5)].

По табл. 2 (2) определяем значение fi:

f1 = 1,5 тс/м2; f2 = 2,35 тс/м2; f3 = 2,7 тс/м2;f4 = 2,43 тс/м2; f5 = 2,51 тс/м2.

Несущую способность определяем по формуле [14 (10)]:

Ф = m(mRRF + uSmffili) = 1 [134 · 0,785 + 1,57 · 0,6 (1,5 · 2 + 2,38 · 1,4 + 2,74 · 1,2 + 2,44 · 1,6 + 2,55 · 1,6 + 2,63 · 1,6 + 6,43 · 0,4)] = 1 (105 +0,942 · 24,4) = 128 тс.

Расчетная нагрузка на сваю

5.12. Несущую способность Фв, тс, набивной сваи, сваи-оболочки и сваи-столба, работающих на выдергивающие нагрузки, следует определять по формуле

Фв = тuSmffili,                                             [17 (13)]

где т - значение то же, что и в формуле [13 (9)];

и, тf; fi и li - обозначения те же, что и в формуле [14 (10)].

К п. 5.12. Поскольку приведенная в этом параграфе формула [17 (13)] учитывает только сопротивление грунта на боковой поверхности свай, ее можно использовать лишь для определения несущей способности свай-столбов, свай-оболочек и набивных свай, не имеющих уширенной пяты.

ВИНТОВЫЕ СВАИ

5.13. Несущую способность Ф, тс, винтовой сваи диаметром лопасти D £ 1,2 м и длиной L £ 10 м, работающей на сжимающую или выдергивающую нагрузку, следует определять по формуле [18 (14)], а при размерах лопасти D > 1,2 м и длине сваи L > 10 м - только по данным испытаний винтовой сваи статической нагрузкой:

Ф = т[(Аc1 + By1h)F + fu(L - D)],                              [(18 (14)]

где т - коэффициент условий работы, зависящий от вида нагрузки, действующей на сваю, и грунтовых условий, определяемый по табл. 10 (8);

А и В - безразмерные коэффициенты, принимаемые по табл. 11 (9) в зависимости от расчетного значения угла внутреннего трения грунта в рабочей зоне j1 (под рабочей зоной понимается прилегающий к лопасти слой грунта толщиной, равной D);

с1 - расчетное удельное сцепление глинистого или параметр линейности песчаного грунта в рабочей зоне, тс/м2;

у1 - приведенный расчетный объемный вес грунтов (с учетом взвешивания водой), залегающих выше отметки лопасти сваи, тс/м3;

h - глубина залегания лопасти сваи от природного рельефа, а при планировке территории срезкой - от планировочной отметки, м;

F - проекция площади лопасти, считая по наружному диаметру, м2, при работе винтовой сваи на сжимающую нагрузку и проекция рабочей площади лопасти, т.е. за вычетом площади сечения ствола, м2, при работе винтовой сваи на выдергивающую нагрузку;

f - расчетное сопротивление грунта на боковой поверхности винтовой сваи, тс/м2, принимаемое по табл. 2 (2) (приведенное значение для всех слоев в пределах глубины погружения сваи);

и - периметр ствола сваи, м;

L - длина ствола сваи, погруженной в грунт, м;

D - диаметр лопасти сваи, м.

Примечания: 1. При определении несущей способности винтовых свай на вдавливающие нагрузки характеристики грунтов в табл. 11 (9) относятся к грунтам, залегающим под лопастью, а при работе на выдергивающие нагрузки - над лопастью сваи.

2. Глубина заложения лопасти от планировочной отметки должна быть не менее 5D при глинистых грунтах и не менее 6D при песчаных грунтах (где D - диаметр лопасти).

3. Расчетные значения угла внутреннего трения j1 и сцепления грунта с1 основания при расчетах по формуле [18 (14)] должны определяться в соответствии с требованиями п. 4.6 настоящей главы.

Таблица 10 (8)

Наименование грунта

Коэффициенты условий работы винтовых свай т при нагрузках

сжимающих

выдергивающих

знакопеременных

1. Глины и суглинки:

 

 

 

а) твердые, полутвердые и тугопластичные

0,8

0,7

0,7

б) мягкопластичные

0,8

0,7

0,6

в) текучепластичные

0,7

0,6

0,4

2. Пески и супеси:

 

 

 

а) пески маловлажные и супеси твердые

0,8

0,7

0,5

б) пески влажные и супеси пластичные

0,7

0,6

0,4

в) пески водонасыщенные и супеси текучие

0,6

0,5

0,3

К п. 5.13. Опыт применения винтовых свай с диаметром лопасти D > 1,2 м невелик и не позволяет установить для них обоснованных нормативов. Поэтому определение несущей способности свай с большим диаметром лопастей следует производить, как правило, по данным статических испытаний таких свай на выдергивание или вдавливание в зависимости от характера их работы в сооружении.

Несущая способность винтовых свай диаметром лопасти D £ 1,2 м и длиной L £ 10 м, работающих на осевую сжимающую или выдергивающую нагрузку, может определяться как по данным статических испытаний, так и по формуле [18 (14)]. При определении несущей способности винтовой сваи на осевую сжимающую нагрузку (вдавливание) величина расчетного сопротивления грунта на лопасти сваи (1 + 1h) должна быть увеличена в 1,2 раза. Формула [18 (14)] будет иметь следующий вид:

Ф = m[1,2(1 + 1h)F + fu(L - D)].                                       (19)

Пример 17. Требуется определить несущую способность винтовой сваи с диаметром лопасти D = 1 м и ствола d = 0,2 м, L = 8 м, работающей на осевую сжимающую нагрузку и погруженную в грунты, приведенные на рис. 14.

Рис. 14. Схема геологического разреза

I - суглинок тугопластичный IL = 0,4, y = 1,7 тс/м3; II - глина полутвердая IL = 0,2, y = 1,85 тс/м3, с = 4,1 тс/м2, j = 17°

Решение. Несущую способность винтовой сваи определяем по формуле [18 (14)].

По табл. 10 (8) для полутвердых глин с консистенцией IL = 0,2m = 0,8.

По табл. 11 (9) при j1 = 17° безразмерные коэффициенты будут: А = 9,75; В = 4,14.

Таблица 11 (9)

Расчетный угол внутреннего трения грунта в рабочей зоне j1, град

Коэффициенты

A

В

13

7,8

2,8

15

8,4

3,3

16

9,4

3,8

18

10,1

4,5

20

12

5,5

22

15

7

24

18

9,2

26

23,1

12,3

28

29,5

16,5

30

38

22,5

32

48,4

31

34

64,9

44,4

Далее определяем приведенный объемный вес y1 грунтов, залегающих выше отметки лопасти свай:

Удельное сцепление для заданного грунта c1 = 4,1 тс/м2, глубина залегания лопасти h = 7,6 м; проекция площади лопасти F = 0,785 м2.

Расчетное сопротивление грунта на боковой поверхности принимаем по табл. 2 (2).

Для суглинка тугопластичного с консистенцией IL = 0,4:

на глубине l¢1 = 1 м f1 = 1,5 тс/м2;

»   »   f2 = 2,35 тс/м2;

»   »   f3 = 2,72 тс/м2.

Для глины полутвердой консистенции IL = 0,2:

на глубине  f4 = 5,7 тс/м2;

»   »   f5 = 5,98 тс/м2.

Определяем приведенное значение f для всех слоев в пределах глубины погружения сваи:

Периметр ствола сваи u = p · 0,24 = 0,755 м.

Несущая способность сваи равна:

Ф = m[1,2(1 + 1h)F + fu(L - D)] = 0,8[1,2 (9,75 · 4,1 + 4,15 · 1,755 · 7,6) 0,785 + 3,48 · 0,7557(7,6 - 1)] = 0,8(89,6 + 17,3) = 85,4 тс.

Расчетная нагрузка на сваю

Пример 18. Требуется определить несущую способность винтовой сваи с диаметром лопасти D = 1 м и ствола d = 0,24 м, L = 8 м на выдергивание при тех же грунтовых условиях, что и в примере 17 (см. рис. 14).

Решение. Коэффициент условий работы m = 0,7 [по табл. 10 (8)].

Проекция площади лопасти

Несущая способность сваи на выдергивающую нагрузку по грунту основания по формуле [18 (14)] будет равна:

Ф = m[(1 + 1h)F + fu(L - D)] = 0,7[(9,75 · 4,1 + 4,15 · 1,755 - 7,6) 0,74 + 3,48 · 0,755(7,6 - 1)] = 0,7(70,5 + 17,3) = 61,1 тс.

Расчетная нагрузка на сваю

.

УЧЕТ НЕГАТИВНОГО (ОТРИЦАТЕЛЬНОГО) ТРЕНИЯ ГРУНТА НА БОКОВОЙ ПОВЕРХНОСТИ ВИСЯЧИХ СВАЙ

5.14. Силами негативного (отрицательного) трения называются силы, возникающие на боковой поверхности сваи при осадке околосвайного грунта и направленные вертикально вниз.

К п. 5.14. Процесс возникновения негативного трения характеризуется тем, что осадка грунта около сваи и соответственно скорость его осадки значительно превышают осадку сваи и ее скорость протекания от действующей нагрузки. В этом случае грунт около свай как бы нависает на них, а дополнительная нагрузка прибавляется к внешней нагрузке, приложенной к сваям. Это явление, как правило, происходит в случае прорезания сваями сильносжимаемых грунтов большой мощности при наличии пригрузки грунта вокруг них.

Осадка околосвайного грунта может быть вызвана:

намывом или подсыпкой грунта, выполняемыми при повышении территории строительства или при ее инженерной подготовке, когда сильносжимаемые грунты залегают на поверхности;

загрузкой поверхности грунта или пола, основанного на грунте, значительной полезной нагрузкой. Этот случай особенно опасен, если пригружение произведено во время эксплуатации сооружения;

увеличением собственного веса грунта при искусственном или естественном понижении уровня грунтовых вод на площадке; естественной консолидацией грунтовой толщи; уплотнением грунтов под динамической нагрузкой; возведением рядом с сооружением на сваях сооружения на фундаментах мелкого заложения.

Силы отрицательного трения действуют на боковой поверхности сваи в пределах участка ее длины, где скорость осадки околосвайного грунта Vгр превышает скорость осадки свайного фундамента Vф, т.е.

Vгp > Vф.

Осадка полностью водонасыщенных мелких песков и супесей, илов, заторфованных грунтов и торфов, происходящая под действием сплошной равномерно распределенной нагрузки территории, см, может быть определена на основе теории фильтрационной консолидации по формуле

                                  (20)

где

                                                    (21)

z - координата глубины рассматриваемой точки от подошвы слоя, см;

h - толщина сжимаемого слоя, расположенного между фильтрующим слоем и недренированным скальным основанием, или 2h между фильтрующими слоями, см;

ао - коэффициент относительной сжимаемости, см2/кгс;

q - интенсивность внешней равномерно распределенной нагрузки, кгс/см2;

t - время, с;

сv - коэффициент консолидации, см2/с:

                                                 (22)

eср - средний коэффициент пористости;

ув - объемный вес воды, кгс/см3;

а - коэффициент сжимаемости, см2/кгс;

kф - коэффициент фильтрации, см/с, определяемый при изысканиях, или принимаемый равным для приближенных расчетов из табл. 12.

Таблица 12

№ п.п.

Грунт

Коэффициент фильтрации, см/с

1

Песок пылеватый

(0,6 - 6) · 10-3

2

 « мелкозернистый

(1,2 - 3) · 10-2

3

 « среднезернистый

(2,5 - 6) · 10-2

4

 « крупнозернистый

(4 - 8,5) · 10-2

5

Супесь

(0,1 - 1,2) · 10-3

6

Суглинок

(0,5 - 0,05) · 10-3

7

Глина

Менее 1 · 10-6

8

Торф малоразложившийся

(1 - 5) · 10-3

9

Торф среднеразложившийся

(0,2 - 1,2) · 10-3

10

Торф сильноразложившийся

(0,12 - 0,18) · 10-4

где eн - начальный коэффициент пористости.

Пример 19. Определить зону действия сил отрицательного трения, действующих на свайный фундамент сооружения, возводимого через 0,5 года после намыва территории, при завершении строительства в течение 1 года или 1,5 лет.

Сваи длиной 18 м забиты с поверхности намываемого грунта. Величина предельных деформаций сооружения Sm = 8 см, причем к окончанию строительства осадка сооружения ожидается равной 0,4Sпр = 4 см, а скорость осадки сооружения принята равномерной, т.е. при завершении строительства в течение 1 года она составит vф = 4 см/год, а в течение 1,5 лет - 2,7 см/год.

Геологические условия площадки и характеристики грунтовых напластований представлены в табл. 13.

Таблица 13

№ слоя

Наименование грунта

Относительная отметка, м

Толщина слоя, м

Объемный вес, гс/см3

Коэффициент пористости

Коэффициент сжимаемости, cм2/кгс

Коэффициент относительной сжимаемости, см2/кгс

Коэффициент фильтрации Кф, см/с

Коэффициент консолидации, см2

кровли

подошвы

1

Намывной песок средней крупности, средней плотности

0

-5

5

2

0,62

-

-

-

-

2

Ил супесчаный

-5

-8

3

1,75

0,95

0,035

0,017

5×10-5

2,85

3

Песок средней крупности, средней плотности

-8

-9,5

1,5

2,03

0,54

0,008

0,005

5×10-2

-

4

Глина мягкопластичная заторфованная

-9,5

-15,5

6

1,57

1,55

0,15

0,06

8 · 10-8

1,36 · 10-8

5

Песок средней крупности, средней плотности

-15,5

-28

12,5

2,03

0,54

0,008

0,005

5×10-2

-

Сваи заглублены на 2 м в слой № 5. Песчаные грунты для определения зоны действия сил отрицательного трения принимаем несжимаемыми.

Для супесчаного ила (слой № 2): М = 3,16 · 10-4t (1/с), при t = 0,5 года = 1,58 · 107 с. М = 5 · 103, а е » 0, т.е. осадка слоя № 2 практически стабилизируется до начала строительства.

Расчет скорости осадок мягкопластичной заторфованной глины (слой № 4) в различных временных интервалах, выполненный по вышеприведенным формулам, сведен в табл. 14.

Таблица 14

Показатели

Время от начала намыва, лет

0,5

1

1,5

2

М

0,59

1,17

1,76

2,34

е

0,554

0,31

0,172

0,096

Осадка грунта, Vр, см, при

 

 

 

 

z = 600

20

27

31

33,1

z = 400

12

17,3

20,2

21,2

z = 200

7

9,7

10,7

11,3

Скорость осадки грунта, Vp см/год, при:

-

 

 

 

z = 600

40

14

8,0

4,2

z = 400

24

10,6

5,8

2

z = 200

15,8

3,6

2

1,2

Осадка слоя № 4 обусловливает зону развития сил отрицательного трения, которая в соответствии с условием vгр > vф и данными табл. 14 при строительстве сроком 1 год распространяется до отм. - 12,5 м, так как через год после начала строительства при z = 300 см для слоя № 4, т. е. на отм. - 12,5 м, vгр = 3,9 см/год, а по условию vф = 4 см/год. При завершении строительства в 1,5 года эта зона распространяется до отм. - 10,8 м.

5.15. Если в пределах длины погруженной части сваи залегают напластования торфа толщиной более 30 см и возможна планировка территории подсыпкой или иная ее загрузка, эквивалентная подсыпке, то расчетное сопротивление грунта f, расположенного выше подошвы наинизшего (в пределах длины погруженной части сваи) слоя торфа, принимается:

а) при подсыпках высотой менее 2 м для грунтовой подсыпки и слоев торфа - равным нулю, а для минеральных ненасыпных грунтов природного сложения - положительным значениям по табл. 2 (2);

б) при подсыпках высотой от 2 до 5 м для грунтов, включая подсыпку, - равным 0,4 от значений, указанных в табл. 2 (2), взятых со знаком минус, а для торфа - минус 0,5 тс/м2 (негативное трение);

в) при подсыпках высотой более 5 м для грунтов, включая подсыпку, - равным значениям, указанным в табл. 2 (2), взятым со знаком минус, а для торфа - минус 0,5 тс/м2 (негативное трение).

В случае, когда консолидация грунта от подсыпки или пригрузки территории к моменту возведения надземной части зданий или сооружений (включая свайный ростверк) завершилась или возможная величина осадки грунта, окружающего сваи, после указанного момента в результате остаточной консолидации не будет превышать половины предельно допускаемой величины осадки для проектируемого здания или сооружения, то сопротивление грунта на боковой поверхности сваи или сваи-оболочки допускается принимать положительным вне зависимости от наличия или отсутствия прослоек торфа. Для прослоек торфа величину f следует принимать равной 0,5 тс/м2.

Если известны коэффициенты консолидации и модули деформации торфов, залегающих в пределах длины погруженной части сваи, и возможно определение величины осадки основания от воздействия пригрузки территории для каждого слоя грунта, то при определении несущей способности сваи или сваи-оболочки допускается учитывать силы сопротивления грунта с отрицательным знаком (негативное трение) не от уровня подошвы нижнего слоя торфа, а начиная от верхнего уровня слоя грунта, величина дополнительной осадки которого от пригрузки территории (определенной, начиная с момента времени передачи на сваю расчетной нагрузки) составляет половину предельно допускаемой величины осадки для проектируемого здания или сооружения.

К п. 5.15. При определении зоны действия силы отрицательного трения исходят из того, что, как правило, максимальная скорость осадки околосвайного грунта развивается в предпостроечный и строительный периоды, когда действие силы отрицательного трения на сваи и их осадка под действием этих сил незначительно влияют на последующую эксплуатацию фундаментов. Кроме того, определенная осадка допускается нормами. Исходя из изложенного, в расчете учитывают действие сил отрицательного трения, расположенных только выше плоскости, проходящей через слой грунта, для которого выполняется условие

Sгр - S¢гр = Sпр - Sф.стр,                                                 (23)

где Sгp - стабилизированная осадка слоя грунта, определяемая по указаниям главы СНиП II-15-74 или по формуле (20) при t = ¥;

S¢гp - осадка слоя околосвайного грунта, происшедшая к моменту окончания строительства здания или сооружения, определяемая по формуле (20);

Sпp - величина предельных деформаций оснований, принимаемая по табл. 18 СНиП II-15-74;

Sф.стр - осадка свайного фундамента, происшедшая к моменту окончания строительства здания или сооружения.

Для зданий и сооружений, передающих нагрузки на фундамент в основном от собственного веса конструкции, допускается принимать Sф.стр = 0,5Sпр.

При действии сил отрицательного трения расчет свай и свайных фундаментов производят по второму предельному состоянию (по деформациям) по формуле (16) СНиП II-15-74. Для одиночных свай это условие считается выполненным, если

где N - расчетная нагрузка, тc, на одну сваю, определяемая при проектировании зданий или сооружений;

kн - коэффициент надежности, принимаемый равным kн = 1,4;

Ф - расчетная несущая способность, тс, грунта основания сваи, расположенного ниже действия силы отрицательного трения, определяемые по формулам СНиП II-17-77 или по результатам полевых испытаний;

Ротр - расчетное значение силы отрицательного трения, действующей на боковой поверхности свай, тс, определяемое по формуле (24) или по результатам полевых исследований;

Ротр = mouSkpjfojlj,                                                       (24)

где mo - коэффициент условий работы сваи в оседающем грунте, учитывающий уплотнение околосвайного грунта при забивке свай, принимаемый для песчаных грунтов 1,1, а для глинистых 1;

u - периметр поперечного сечения сваи, м;

kpj - коэффициент реализации, учитывающий уменьшение сил отрицательного трения с уменьшением разности осадок j-го слоя околосвайного грунта и сваи, принимаемый: для висячих свай kpj = 1, а для свай-стоек kpj = 1 при Sгpj ³ So

и  при Sгрj < So;

Sгрj - осадка j-го слоя грунта, см, после забивки сваи;

So - осадка грунта относительно сваи, при которой полностью реализуются силы отрицательного трения, принимаемая 5 см;

foj - расчетное сопротивление, j-го слоя оседающего грунта на боковой поверхности сваи, т/м2, определяемое по табл. 2 (2) СНиП II-17-77;

lj - толщина j-го слоя грунта, м, соприкасающегося с боковой поверхностью сваи и расположенного в пределах части длины сваи от уровня планировки до уровня нейтральной точки.

При расчете фундаментов, состоящих из нескольких свай, подвергающихся действию сил отрицательного трения, в число расчетных нагрузок, действующих на условный фундамент, включается величина расчетного значения сил отрицательного трения, действующих на куст свай:

,                                                  (25)

где U - периметр куста, м, по наружным граням свай, расположенных в крайних рядах;

kpj, lj, foj - обозначения те же, что и в формуле (24).

Силы отрицательного трения, действующие на сваи внутри куста, не могут превосходить веса грунта, расположенного внутри куста, который при расчете свайных фундаментов (в соответствии с п. 7.1 СНиП II-17-77) включается в собственный вес условного фундамента. Поэтому их учитывают только по периметру куста.

Пример 20. По данным примера 19 определить расчетную нагрузку свайных фундаментов, состоящих из 9 свай (3´3) с шагом 1,2 м. Сваи сечением 35´35 см, длиной 18 м. Острие сваи на отм. - 17,5 м.

Решение. В примере 19 зона действия силы отрицательного трения при строительстве в течение 1 года распространяется до отм. - 12,5 м, а при строительстве в течение 1,5 лет - до отм. - 10,8 м. Таким образом, расчетные силы сопротивления в соответствии с формулой [7 (7)] и табл. 1 (1) и 2 (2) СНиП. 11-17-77 составляет соответственно:

Фt = f = 1[1 · 436 · 0,1225 + 0,35 · 4 (1 · 2 · 3 + 1 · 7,4 · 2)]9 = 743 тс;

Фt = 1,5 = 1[1 · 436 · 0,1225 + 0,35 · 4(1 · 2 · 4,7 + 1 · 7,4 · 2)] 9 = 783 тc.

По формуле (23) определим зону учитываемых в расчете сил отрицательного трения.

Стабилизированная осадка слоя № 4 -

Sгр = aoqh¢ = 0,06 · 1 · 600 = 36 см:

для t = 1 год S¢гр = 31 см;

» t = 1,5 года S¢гр = 33,1 »

» t =1 год Sгр - S¢гр = 5 см > Sпр - Sф.стр = 8 - 4 = 4 см;

» t =1,5 года Sгр - S¢гр = 2,9 см < 4 см.

Таким образом, при строительстве продолжительностью 1,5 года силы отрицательного трения могут в расчете не учитываться, так как условие (23) выполняется на кровле сильносжимаемого слоя, т.е.

Интерполируя данные табл. 14 для продолжительности строительства в 1 год, определяем, что зона учитываемых в расчете сил отрицательного трения распространяется выше отм. - 11,5 м, так как осадка грунта на этой отметке составляет S¢гр = 20,2 см, a Sгр = 24 см,

Sгр - S¢гр = 24 - 20,2 = 3,8 см < 4 см;

U = (1,2 · 2 + 0,35)4 = 11 м;

kpj = 1.

Из табл. 2 (2) СНиП II-17-77 для слоя № 1:

foj1 = 4,5 тс/м2; foj2 = 0,5 тс/м2; foj3 = 5,8 тс/м2; foj4 = 1,9 тс/м2;

Рк.oтp = 11 · 1(54,5 + 3 · 0,5 + 1,5 · 5,8 + 2 · 1,9) = 402 тс;

Таким образом, в рассмотренных примерах зона действия силы отрицательного трения при завершении строительства в 1 год распространяется до отм. - 12,5 м, а зона учитываемых в расчете сил отрицательного трения - до отм. - 11,5 м. При завершении строительства в 1,5 года зона действия силы отрицательного трения распространяется до отм. - 10,8 м, но в расчете их можно не учитывать, так как они не могут вызвать недопустимую осадку фундамента.

Этим объясняется и существенная разница в расчетной нагрузке на свайный фундамент - 626 тс при строительстве в течении 1,5 лет и всего 208 тс при строительстве в течение 1 года.

6. ОПРЕДЕЛЕНИЕ НЕСУЩЕЙ СПОСОБНОСТИ СВАЙ И СВАЙ-ОБОЛОЧЕК ПО РЕЗУЛЬТАТАМ ПОЛЕВЫХ ИССЛЕДОВАНИЙ

6.1. Несущая способность Ф, тс, сваи или сваи-оболочки после определения ее по результатам испытаний статической или динамической (ударной) нагрузкой, а также по данным статического зондирования грунта должна быть проверена расчетом на эксплуатационные нагрузки и воздействия по условию сопротивления материала сваи или сваи-оболочки в соответствии с п. 4.2 настоящей главы.

Примечание. Требования настоящего раздела главы при определении несущей способности свай и свай-оболочек по результатам испытания их статической нагрузкой распространяются также на сваи-столбы.

К п. 6.1 пояснений не требуется. Однако необходимо отметить, что в случае проектирования мостов при расчете свай и свай-оболочек по условию сопротивления материала следует также руководствоваться главой СНиП по проектированию мостов и труб.

6.2. Испытания свай и свай-оболочек статической и динамической нагрузками должны проводиться в соответствии с требованиями ГОСТ 5686-78.

К п. 6.2. Испытания свай, не удовлетворяющие требованиям ГОСТ 5686-78, не могут быть использованы для определения несущей способности свай, так как методы оценки последней, излагаемые в настоящей главе СНиП, непосредственно увязаны с конкретной методикой испытаний, предусматриваемой этим ГОСТом.

6.3. Несущая способность Ф, тс, сваи и сваи-оболочки по результатам их испытаний вдавливающей, выдергивающей и горизонтальной статической загрузками и по результатам их динамических испытаний определяется по формуле

                                                      [26 (15)]

где т - коэффициент условий работы, принимаемый в случае вдавливающих или горизонтальных нагрузок т = 1, а в случае выдергивающих нагрузок при глубине погружения сваи или сваи-оболочки в грунт на 4 м и более т = 0,8 и при глубине погружения менее 4 м m = 0,6 для всех видов зданий и сооружений, кроме опор воздушных линий электропередачи, для которых коэффициент условии работы т принимается в соответствии с данными, приведенными в разделе 13 настоящей главы;

Фнпр - нормативное значение предельного сопротивления сваи или сваи-оболочки, тс, определяемое в соответствии с указаниями пп. 6.4 - 6.7 настоящей главы:

kг - коэффициент безопасности по грунту, принимаемый по указаниям п. 6.4 настоящей главы.

К п. 6.3. Определение несущей способности свай по результатам их испытаний должно вестись с учетом нарастания несущей способности сваи во времени в результате их «отдыха» после забивки. Минимальные сроки отдыха свай устанавливаются ГОСТ 5686-78. Если по результатам динамических испытаний будет установлено наличие нарастания несущей способности сваи после указанного минимального отдыха, а проведение дополнительных испытаний свай с обеспечением их более длительного отдыха окажется невозможным, то оценку несущей способности сваи Ф, тс, применительно к интересующему времени t по результатам кратковременных испытаний можно выполнить по формуле

                                          (27)

где Фо - несущая способность сваи, определяемая на основании ее испытаний непосредственно после забивки, тс;

Ф2 - несущая способность сваи, определенная на основании ее испытаний после отдыха в течение времени t2, тc;

А и В - коэффициенты, определяемые по формулам:

 

где Ф1 - несущая способность сваи, определенная на основании ее испытаний после отдыха в течение времени t1.

6.4. В случае, если число свай или свай-оболочек, испытанных в одинаковых грунтовых условиях, составляет менее 6 шт., нормативное значение предельного сопротивления сваи или сваи-оболочки в формуле [26 (15)] следует принимать равным наименьшему предельному сопротивлению, полученному из результатов испытаний, т.е. Фнпр = Фпр.мин, а коэффициент безопасности по грунту - kг = 1.

В случае, если число свай или свай-оболочек, испытанных в одинаковых условиях, составляет 6 шт. и более, величины Фнпр и kг следует определять на основании результатов статистической обработки частных значений предельных сопротивлений свай Фпр, полученных по данным испытаний, руководствуясь требованиями ГОСТ 20522-75, применительно к методике, приведенной в нем для определения временного сопротивления. При этом для определения величины частных значений предельных сопротивлений следует руководствоваться требованиями п. 6.5 настоящей главы при вдавливающих нагрузках, п. 6.6 - при выдергивающих и горизонтальных нагрузках и п. 6.7 - при динамических испытаниях.

К п. 6.4. Статистической обработке могут подвергаться результаты статических и динамических испытаний, выполненных в пределах выделенных с одинаковыми инженерно-геологическими условиями участков. Если в пределах этих участков несущая способность какой-либо сваи будет отличаться от среднего значения более чем на 25 %, то обработка результатов должна производиться применительно к более мелким участкам строительной площадки.

6.5. Если нагрузка при статическом испытании свай или свай-оболочек на вдавливание доведена до нагрузки, вызывающей непрерывное возрастание их осадки D без увеличения нагрузки (при D £ 20 мм), то эта нагрузка принимается за частное значение предельного сопротивления Фпр испытываемой сваи или сваи-оболочки.

Во всех остальных случаях для фундаментов зданий и сооружений (кроме мостов) за частное значение предельного сопротивления сваи или сваи-оболочки Фпр вдавливающей нагрузке следует принимать нагрузку, под воздействием которой испытываемая свая или свая-оболочка получит осадку, равную D, определяемую по формуле

D = x Sпр.ср,                                                    [28 (16)]

где Sпр.ср - предельно допускаемая величина средней осадки фундамента проектируемого здания или сооружения, установленная в задании на проектирование или принимаемая для соответствующих зданий и сооружений по главе СНиП по проектированию оснований зданий и сооружений;

x - коэффициент перехода от предельно допускаемой величины средней осадки фундамента здания или сооружения Sпр.ср, заданной в проекте, к осадке сваи или сваи-оболочки, полученной при статических испытаниях с условной стабилизацией (затуханием) осадки. Величину коэффициента следует принимать x = 0,2 в случаях, когда испытание сваи или сваи-оболочки производится при условной стабилизации, равной 0,1 мм за 1 ч, если под их нижними концами залегают грунты песчаные или глинистые с консистенцией от твердой до тугопластичной, а также за 2 ч, если под их нижним концом залегают глинистые грунты от мягкопластичной до текучей консистенции. Величину коэффициента допускается уточнять по результатам наблюдений за осадками зданий, построенных на свайных фундаментах в аналогичных грунтовых условиях.

Если осадка, определенная по формуле [28 (16)], окажется D > 40 мм, то за частное значение предельного сопротивления сваи или сваи-оболочки Фпр следует принимать нагрузку, соответствующую D = 40 мм.

Для мостов за предельное сопротивление сваи или сваи-оболочки Фпр при вдавливающих нагрузках должна приниматься нагрузка на одну ступень меньше нагрузки, при которой вызывается:

а) приращение осадки за одну ступень загружения (при общей величине осадки более 40 мм), превышающее в 5 раз и более приращение осадки, полученное за предшествующую ступень загружения;

б) осадка, не затухающая в течение одних суток и более (при общей величине ее более 40 мм).

Если при максимальной достигнутой при испытаниях нагрузке, которая окажется равной или большей 1,5 Ф (где Ф - несущая способность сваи или сваи-оболочки, подсчитанная по формулам [4 (4)], [7 (7)], [11 (8)], [13 (9)], [14 (10)], [17 (13)] и [18 (14)] настоящей главы) осадка сваи или сваи-оболочки D при испытаниях окажется менее величины, определенной по формуле [28 (16)], а для мостов менее 40 мм, то в этом случае за частное значение предельного сопротивления или сваи-оболочки Фпр допускается принимать максимальную нагрузку, полученную при испытаниях.

Примечание. Ступени загружения при испытаниях свай или свай-оболочек статической вдавливающей нагрузкой должны назначаться в пределах 1/10 - 1/15 от предполагаемого предельного сопротивления сваи или сваи-оболочки Фпр.

К п. 6.5. Предельное сопротивление сваи или сваи-оболочки принимается равным нагрузке, вызывающей непрерывное возрастание ее осадки D, если это непрерывное возрастание начинается при D £ 20 мм и продолжается при больших осадках, которые, согласно ГОСТ 5686-78, должны быть не менее 40 мм.

Формула [28 (16)] для оценки несущей способности сваи по результатам их испытаний статической нагрузкой получена на основании сопоставления осадок одиночных свай с осадками этих свай в зданиях при одних и тех же нагрузках.

Коэффициент перехода x от предельной величины средней осадки фундамента здания или сооружения к осадке сваи или сваи-оболочки, полученной при статических испытаниях, принят равным 0,2. При этом значении коэффициента осадка сваи в свайных фундаментах зданий или сооружений в процессе эксплуатации увеличится в среднем в 5 раз по сравнению с осадкой одиночных свай, полученной при испытании их статической нагрузкой. Такое увеличение осадки свай в свайных фундаментах обосновывается результатами наблюдений за осадками зданий, построенных на свайных фундаментах, и сопоставлением их с осадками одиночных свай, полученных при испытаниях.

Значение коэффициента перехода от осадки сваи, полученной по данным испытаний, к осадке сваи от длительной нагрузки x = 0,2 дано применительно к методике ГОСТ 5686-78.

По мере накопления сравнительных данных наблюдений за осадками зданий и сооружений и осадками свай при испытаниях в разных грунтах коэффициент x, для ряда грунтов может быть уточнен в сторону повышения. В первую очередь такое уточнение необходимо производить для жилых и общественных зданий, строящихся на свайных фундаментах со сваями, расположенными в один ряд, а также зданий и сооружений на сваях-оболочках и набивных сваях с уширенными пятами, используемых часто благодаря своей большой несущей способности как одиночные.

В указанных случаях коэффициент x, можно будет увеличить, поскольку сжимаемая толща при однорядном расположении свай и для одиночных свай, и для свай-оболочек будет мала. Аналогичная картина получается при установке колонны на одну сваю.

В тех случаях, когда сваи опираются или заглублены в крупнообломочные грунты, крупные и средней крупности пески, а также в глинистые грунты твердой консистенции, осадка сваи при испытании может не достигнуть величины D = xSпр.ср вплоть до максимальной нагрузки, принятой при испытании. В этом случае за предельную нагрузку условно принимается нагрузка при испытании. Если максимальная нагрузка при испытании меньше 1,5Ф, где Ф - несущая способность сваи или сваи-оболочки, подсчитанная по формулам [4 (4)], [7 (7)], [11 (8)], [13 (9)], [14 (10)], [17 (13)] и [18 (14)], испытание следует повторить.

Пример 21. Требуется определить несущую способность свай по результатам испытаний статической вдавливающей нагрузкой для фундаментов многоэтажного здания с полным каркасом (железобетонные рамы без заполнения).

График зависимости осадки свай от нагрузки, построенный по результатам статического испытания свай, дававшей наибольшие осадки от нагрузки по сравнению с пятью другими испытанными сваями, приведен на рис. 15. Испытание доведено до осадки меньшей, чем установленная по формуле [28 (16)].

Решение. Для данного типа зданий предельная величина средней осадки фундамента, принимаемая по табл. 18 главы СНиП II-15-74, Sпр.ср = 8 см.

Величина осадки D = xSпр.ср = 0,2 · 8,0 = 1,6 см больше осадки опытной сваи, поэтому за величину предельного сопротивления Фпр принимаем максимальную нагрузку, т.е.

Фпр = 85 тс.

Несущая способность сваи по формуле [28 (16)] равна:

Расчетная нагрузка на сваи назначается по указаниям п. 4.8. СНиП II-17-77.

Пример 22. Требуется определить несущую способность свай по результатам испытаний статической вдавливающей нагрузкой для свайных фундаментов многоэтажного бескаркасного здания с несущими стенами из крупных панелей и элеватора из сборных железобетонных конструкций.

Рис. 15. График испытания свай статической нагрузкой

Рис. 16. График испытания свай статической нагрузкой

График зависимости осадки свай от нагрузки, построенный по результатам статического испытания сваи, дававшей наибольшие осадки от нагрузки по сравнению с двумя другими сваями, представлен на рис. 16.

Решение. Для данных типов зданий предельная величина средней осадки фундамента, принимаемая по табл. 18 главы СНиП II-15-74, составляет:

Sпр.ср = 10 см для многоэтажного здания;

Sпр.ср = 30 см для элеватора.

За предельное сопротивление свай Фпр для фундаментов многоэтажного здания принимается нагрузка, под действием которой испытываемая свая получила осадку, равную D, определяемую по формуле [28 (16)]:

D = xSпр.ср, где x = 0,2;

D = 0,2 · 10 = 2 см.

По величине этой осадки D на графике определяем предельное сопротивление сваи: Фпр = 82 тс. Несущую способность определяем по формуле

Осадка D, определенная по формуле [28 (16)] для элеватора, равна:

D = xSпр.ср = 0,2 · 30 = 6 см

и превышает осадку опытной сваи.

В этом случае за предельное сопротивление Фпр принимаем максимальную нагрузку, равную

Фпр = 100 тс.

Несущую способность определяем по формуле [28 (16)]:

6.6. При испытании свай или свай-оболочек статической выдергивающей или горизонтальной нагрузкой за частное значение предельного сопротивления Фпр (п. 6.4 настоящей главы) по графикам зависимости перемещений от нагрузок принимается такая нагрузка, без увеличения которой перемещения сваи непрерывно возрастают.

Примечание. Результаты статических испытаний свай или свай-оболочек на горизонтальные нагрузки могут быть использованы для непосредственного определения расчетной нагрузки, которую можно допустить на сваю или сваю-оболочку из условия предельно допускаемых горизонтальных деформаций зданий и сооружений. В качестве такой нагрузки для зданий и сооружений (за исключением сооружений, особо чувствительных к горизонтальным деформациям) допускается принимать нагрузку, при которой величина горизонтального перемещения сваи или сваи-оболочки в уровне поверхности грунта при испытаниях, выполненных по ГОСТ 5686-78, оказывается равной предельно допускаемой величине, но не более 10 мм.

К п. 6.6. При действии на сваи знакопеременных эксплуатационных горизонтальных нагрузок статические испытания свай могут по заданию проектной организации назначаться циклическими нагрузками, т.е. сваю подвергают многократному нагружению и разгрузке. Определение расчетных нагрузок по циклическому графику (рис. 17) ведется по кривой, проведенной по нижним точкам графика циклических перемещений, соответствующим моменту разгрузки.

Нагрузка, соответствующая переходу от выпуклого участка кривой а к вогнутому участку кривой б, принимается за расчетное сопротивление Pг1 при циклическом загружении.

6.7. При динамических испытаниях забивных свай частное значение предельного сопротивления Фпр, тс (п. 6.4 настоящей главы), по данным их погружения, при фактических (измеренных) остаточных отказах еф ³ 0,002 м следует определять по формуле

                           [29 (17)]

Если фактический (измеренный) остаточный отказ еф < 0,002 м, то в проекте свайного фундамента следует предусмотреть применение для погружения свай молота с большей энергией удара, при которой остаточный отказ еф < 0,002 м, а в случае невозможности замены сваебойного оборудования и при наличии отказомеров частное значение предельного сопротивления сваи Фпр, тс, следует определять по формуле

                        [30 (18)]

Рис. 17. График циклических перемещений сваи

В формулах [29 (17)] и [30 (18)] приняты обозначения:

n - коэффициент, принимаемый по табл. 15 (10) в зависимости от материала сваи, тс/м2;

F - площадь, ограниченная наружным контуром сплошного или полого поперечного сечения ствола сваи (независимо от наличия или отсутствия у сваи острия), м2;

М - коэффициент, принимаемый при забивке свай молотами ударного действия равным М = 1, а при вибропогружении свай - по табл. 16 (11) в зависимости от вида грунта под их нижним концом;

Эр - расчетная энергия удара молота, тс×м, принимаемая по табл. 17 (12), или расчётная энергия вибропогружателей - по табл. 18 (13);

еф - фактический остаточный отказ, равный величине погружения сваи от одного удара молота, а при применении вибропогружателей - от их работы в течение 1 мин, м;

с - упругий отказ сваи (упругие перемещения грунта и сваи), определяемый с помощью отказомера, м;

Qп - полный вес молота или вибропогружателя, тс;

Q - вес ударной части молота, тс;

e - коэффициент восстановления удара, принимаемый при забивке железобетонных свай и свай-оболочек молотами ударного действия с применением наголовника с деревянным вкладышем e2 = 0,2, а при вибропогружении - e2 = 0;

q - вес сваи и наголовника, тс;

q1 - вес подбабка (при вибропогружении свай q1 = 0), тс,

q - коэффициент, 1/тс, определяемый по формуле

                           [31 (19)]

Здесь F, Q и q - обозначения те же, что и в формулах [29 (17)] и [30 (18)];

nо и nб - коэффициенты перехода от динамического (включающего вязкое сопротивление грунта) к статическому сопротивлению грунта, принимаемые соответственно равными: для грунта под нижним концом сваи nо = 0,0025 с×м/тс и для грунта на боковой поверхности сваи nб = 0,25 с×м/тс;

W - площадь боковой поверхности сваи, соприкасающейся с грунтом, м2;

g - ускорение силы тяжести, принимаемое g = 9,81 м/с2;

Н - фактическая высота падения ударной части молота, м;

h - высота первого отскока ударной части молота, принимаемая для дизель-молотов h = 0,5 м, а для других видов молотов h = 0.

Примечания: 1. Значения Qn, Q, q и q1 принимаются в расчетных формулах без коэффициента перегрузки.

2. В случае расхождения более чем в 1,4 раза величин несущей способности свай, определенных по формулам [29 (17)] - [31 (19)], с несущей способностью, определенной расчетом в соответствии с требованиями раздела 5 настоящей главы (по результатам лабораторных определений физико-механических свойств грунтов), необходимо дополнительно проверить несущую способность свай по результатам статического зондирования.

Таблица 15 (10)

Вид сваи

Коэффициент п, тс/м2

1. Железобетонная свая с наголовником

150

2. Деревянная свая без подбабка

100

3. Деревянная свая с подбабком

80

Таблица 16 (11)

Вид грунта под нижним концом сваи

Коэффициент М

1. Гравийные с песчаным заполнителем

1,3

2. Пески средней крупности, крупные средней плотности и супеси твердые

1,2

3. Пески мелкие средней плотности

1,1

4. Пески пылеватые средней плотности

1

5. Супеси пластичные, суглинки и глины твердые

0,9

6. Суглинки и глины полутвердые

0,8

7. Суглинки и глины тугопластичные

0,7

Примечание. При плотных песках значения коэффициента М в поз. 2 - 4 табл. 16 (11) следует повышать на 60 %, при наличии материалов статического зондирования - на 100 %.

Таблица 17 (12)

Тип молота

Расчетная энергия удара молота Эp, тс·м

1. Подвесной или одиночного действия

QH

2. Трубчатый дизель-молот

0,9QH

3. Штанговый дизель-молот

0,4QH

4. Дизельный при контрольной добивке одиночными ударами

Q (H - h)

Примечание. В поз. 4 h - высота первого отскока ударной части дизель-молота от воздушной подушки, определяемая по мерной рейке, м. Для предварительных расчетов допускается принимать: для штанговых молотов h = 0,6 м, а для трубчатых молотов h = 0,4 м.

Таблица 18 (13)

Возмущающая сила вибропогружателей, тс

10

20

30

40

50

60

70

80

Эквивалентная расчетная энергия удара вибропогружателя, Эр, тc×м

4,5

9

13

17,5

22

26,5

31

35

К п. 6.7. Динамические испытания свай могут производиться на стадии изысканий совместно со статическими испытаниями для оценки несущей способности свай и в процессе производства работ по погружению свай для контроля качества их выполнения в соответствии с главой СНиП III-9-74 «Основания и фундаменты».

В проекте свайных фундаментов должны быть указаны сваи, подлежащие контрольной добивке, в количестве, предусматриваемом ГОСТ 5686-78.

В формулах [29 (17)] и [31 (19)] при сплошных квадратных и прямоугольных сваях, а также при полых круглых сваях с закрытым нижним концом и квадратных сваях с круглой полостью площадь поперечного сечения сваи F принимается равной полной площади поперечного сечения брутто, ограниченной наружным периметром ствола сваи.

Величины отказов надлежит вычислять с учетом условий забивки свай. При забивке свай через грунт, подлежащий удалению при последующей откопке котлована, или через грунт дна реки величину необходимого отказа сваи следует определять исходя из несущей способности сваи Ф, определенной по формулам [1 (1)] и [7 (7)], с учетом сопротивления на боковой поверхности сваи на участке неудаленного или подверженного возможному размыву грунта.

Динамические испытания следует производить в соответствии с ГОСТ 5686-78.

Для определения несущей способности сваи при добивке необходимо брать действительную энергию удара, причем испытания свай дизель-молотом, как правило, нужно вести одиночными ударами без подачи топлива.

Действительную энергию удара дизель-молота при подаче топлива можно определить по формуле

                      (32)

где Q - вес ударной части молота, тс;

Н - фактическая высота подъема ударной части, м;

ра - атмосферное давление, тс/м2;

Fц - площадь поперечного сечения цилиндра, м2;

Нр - рабочий ход цилиндра или поршня, м;

с - упругий отказ сваи, измеряемый отказомером, м;

е - остаточный отказ сваи, м:

y и v - коэффициенты; для трубчатых дизель-молотов y = 8, v = 4,5 и для штанговых дизель-молотов y = 10, v = 5,8.

Расчетные технические характеристики дизель-молотов приведены в табл. 19.

Таблица 19

Тип дизель-молотов

Вес ударной части Q, тс

Диаметр цилиндра, см

Площадь цилиндра Fц, м2

Рабочий ход Нр, м

Наибольшая высота подъема ударной части, м

С-254

0,6

20

0,0314

0,38

1,77

С-222

1,2

25

0,0491

0,48

1,79

С-268

1,8

29

0,066

0,515

2,1

С-330

2,5

32

0,08

0,5

2,6

С-994

С-857

0,6

23,5

0,0434

0,28

3

С-995

С-858

1,2

30

0,0705

0,32

3

С-996

С-859

1,8

34,5

0,093

0,37

3

С-1047

С-949

2,5

40

0,126

0,37

3

С-1048

С-954

3,5

47

0,174

0,375

3

С-54

С-974

5

55

0,237

0,42

3

Ур-500

0,5

21

0,9346

0,27

2,27

Ур-1250

1,25

30

0,0705

0,3

3,31

Для оценки неоднородности грунтовых условий в пределах строительной площадки по данным динамических испытаний ориентировочную величину несущей способности свай длиной от 5 до 12 м, сечением 300´300 мм в зависимости от остаточных отказов и типа молота можно определять по таблицам прил. 5.

Пример 23. Требуется определить несущую способность забивной сваи сечением 300´300 мм с круглой полостью диаметром 160 мм и длиной 6 м, забитой в слабые глинистые грунты мягкопластичной консистенции на глубину 5 м.

Динамические испытания через 10 дней «отдыха» сваи после забивки выполнены с помощью дизель-молота типа С-222 с весом ударной части Q = 1,2 тс. Общий вес дизель-молота с учетом стационарной части 2,2 т. Испытание производилось путем сбрасывания ударной части дизель-молота без подачи топлива с высоты 1,65 м, при этом величина первого отскока ударной части от воздушной подушки составила по измерению мерной рейкой в среднем 0,5 м.

При испытаниях измерялся остаточный отказ е и упругий отказ с сваи с помощью отказомера.

Средняя величина отказов от второго, третьего и четвертого ударов (первый удар произведен для обмятия прокладки наголовника и в расчет не вводится) составила е = 0,15 см, с = 0,5 см.

Поскольку при испытаниях получен остаточный отказ меньше 2 мм, а также учитывая, что испытание проведено в слабых глинистых грунтах после «отдыха» сваи, определение предельного сопротивления сваи Фпр производим по формуле [30 (18)], учитывающей упругий отказ.

В соответствии с условием задачи имеем следующие расчетные данные:

е = 0,15 см; с = 0,5 см; Q = 1,2 тс; H - h = 165 - 50 = 115 см;

F = 0,3×0,3 = 0,09 м2;

W = 4×0,3×5 = 6 м2.

Вес сваи, наголовника и стационарной части молота

q = 1 + (2,2 - 1,2) = 2 тc.

Определяем коэффициент q по формуле [31 (19)]:

=

Предельное сопротивление сваи Фпр по формуле [30 (18)] равно:

6.8. Несущую способность Ф, тс, забивной висячей сваи и винтовой сваи, работающей на сжимающую нагрузку, по результатам статического зондирования грунта следует определять по формуле

                                                [33 (20)]

где т - коэффициент условий работы, принимаемый т = 1 для забивных свай;

п - число точек зондирования;

Ф3 - частное значение предельного сопротивления сваи, тс, в точке зондирования, определяемое в соответствии с требованиями п. 6.9 настоящей главы;

kг - коэффициент безопасности по грунту, устанавливаемый в зависимости от изменчивости полученных частных значений предельного сопротивления сваи Ф3 в точках зондирования и числа этих точек при значении доверительной вероятности a = 0,95 в соответствии с требованиями ГОСТ 20522-75.

К п. 6.8. Методика расчета несущей способности забивной висячей сваи по данным статического зондирования грунта в п точках приводится в примере.

Пример 24. Требуется определить несущую способность Ф сваи по частным значениям ее предельного сопротивления Ф3i, рассчитанным по результатам статического зондирования грунта в пяти точках, а именно: 40,2 тс, 48,1 тс, 43,4 тс, 34,3 тс и 35,5 тс.

Решение. В соответствии с ГОСТ 20522-75 имеем:

где - среднее арифметическое частных значений Ф3i, тс;

s - среднее квадратическое отклонение частных значений Ф3i от их среднего арифметического, тс;

V - коэффициент вариации;

r - показатель точности оценки среднего значения ;

ta - коэффициент, принимаемый по табл. 2 прил. 1 ГОСТ 20522-75 при односторонней доверительной вероятности a = 0,95 и числе степеней свободы k = n - 1 = 5 - 1 = 4;

kг - коэффициент безопасности по грунту;

ф - несущая способность сваи, тс.

6.9. Частное значение предельного сопротивления сваи в точке зондирования Ф3, тс, должно определяться по формуле

Ф3 = R3 F + fhu,                                                 [34 (21)]

где R3 - сопротивление грунта под нижним концом забивной сваи или под лопастью винтовой сваи по данным зондирования в рассматриваемой точке, тс/м2;

F - площадь поперечного сечения забивной сваи или проекция рабочей площади лопасти винтовой сваи, т.е. в случае ее работы на выдергивающую нагрузку, за вычетом площади сечения ствола, м2;

f - сопротивление грунта на боковой поверхности сваи по данным зондирования в рассматриваемой точке, тс/м2;

h - глубина погружения сваи от поверхности грунта около сваи, м*;

* При винтовых сваях величина h в формуле [34 (21)] принимается уменьшенной на величину диаметра лопасти.

и - периметр поперечного сечения ствола сваи, м.

Сопротивление грунта под нижним концом сваи R3, тс/м2, по данным результатов зондирования грунта в рассматриваемой точке следует определять по формуле

R3 = b1 · q3,                                                    [35 (22)]

где b1 - коэффициент, принимаемый: при зондировании установками типа С-979, фиксирующими общее сопротивление грунта на боковой поверхности зонда, по табл. 20 (14); при зондировании установками типа С-832, фиксирующими удельное сопротивление грунта на боковой поверхности зонда вблизи его наконечника, равным 0,5;

q3 - среднее значение сопротивления грунта, тс/м2, под наконечником зонда, полученное из опыта, на участке, расположенном в пределах одного диаметра d выше и 4d ниже отметки острия проектируемой сваи (где d - диаметр круглого или сторона квадратного или большая сторона прямоугольного сечения сваи, м), а для винтовой сваи - среднее значение сопротивления прониканию наконечника в рабочей зоне, принимаемой равной диаметру лопасти.

Сопротивление грунта на боковой поверхности сваи f, тс/м2, по данным результатов зондирования грунта в рассматриваемой точке следует определять:

а) при зондировании установками типа С-979 - по формуле

f = b2 · f3;                                                   [36 (23)]

б) при зондировании установками типа С-832 - по формуле

                                                [37 (24)]

где b2 и bi - коэффициенты, принимаемые по табл. 20 (14);

f3 - среднее значение удельного сопротивления грунта на боковой поверхности зонда, тс/м2, определяемое как частное от деления измеренного общего сопротивления грунта на боковой поверхности зонда на площадь его боковой поверхности в пределах от поверхности грунта в точке зондирования до уровня расположения нижнего конца сваи в выбранном несущем слое;

f3i - среднее удельное сопротивление i-го слоя грунта на боковой поверхности зонда, тс/м2;

li - толщина i-го слоя грунта, м;

h - то же, что и в формуле [34 (21)].

К п. 6.9. Методика определения частного значения предельного сопротивления сваи Ф3, погруженной в точке зондирования, дана в примере 25.

Пример 25. Требуется определить частное значение предельного сопротивления Ф3 сваи сечением 0,3´0,3 м, длиной 10 м, забитой в грунт в точке зондирования на глубину 6 м. График статического зондирования установкой С-979, совмещенный с инженерно-геологической колонкой, представлен на рис. 18.

Условные обозначения:

· - место отбора пробы грунта нарушенной структуры

 - место отбора пробы грунта ненарушенной структуры

Pиc. 18. График статического зондирования

Решение. Определение Ф3 производим в следующем порядке:

а) на графике статического зондирования выделяем интервал глубин в пределах одного диаметра d выше и 4d ниже отметки острия проектируемой сваи и для него определяем среднее значение сопротивления грунта прониканию наконечника зонда:

где Fq - площадь эпюры рq в пределах выделенного интервала глубин;

б) сопротивление грунта под нижним концом сваи, тс/м2, подсчитываем по формуле [35 (22)]:

R3 = b1 · q3 = 0,38 · 1400 = 518 тс/м2,

где b1 - коэффициент, принимаемый: при зондировании установками типа С-979 по табл. 20 (14), при зондировании установками типа С-832 равным 0,5;

в) сопротивление грунта по боковой поверхности сваи f по результатам зондирования установками типа С-979 к С-832 определяется различно, а именно:

установки типа С-979. По графику зондирования находим суммарное сопротивление сил трения грунта по боковой поверхности зонда РQ, тс, замеренное в момент погружения конуса зонда до уровня отметки торца проектируемой сваи, и по нему - среднее значение удельного сопротивления грунта на боковой поверхности зонда, тс/м2:

где u3 = p×0,0356 = 0,112 м - периметр поперечного сечения зонда.

Сопротивление грунта по боковой поверхности сваи f, тс/м2, определяется по формуле [36 (23)]:

f = b2 · f3 = 0,9 · 4,77 = 4,3,

где b2 - коэффициент, принимаемый по табл. 20 (14);

установки типа С-832. По графику зондирования толщу грунта в пределах предполагаемой глубины h погружения проектируемой сваи разбиваем на характерные i-e слои толщиной не более 1 м с примерно одинаковым значением удельного сопротивления грунта f3i на боковой поверхности зонда (муфте трения): для каждого из них определяется глубина расположения hi середины этого слоя, значение коэффициента bi по табл. 20 (14) и по ним подсчитывается значение f для сваи в целом по формуле

Для упрощения вычислений рекомендуется график, представленный на рис. 19. При глубине hi ³ 3 м значение произведения bif3i определяется непосредственно по графику. Поскольку при h > 3 м необходима интерполяция значения bi по глубине, достаточно выполнить следующее построение. По величине b3i находим две вспомогательные точки, соответствующие глубинам 3 м и h. Прикладываем к ним линейку и в точке пересечения с уровнем hi находим искомое значение bif3i. Совокупность этих значений bif3i дает эпюру сил трения по стволу сваи;

Таблица 20 (14)

q3, тс/м2

Коэффициент b1 перехода от q3 к R3 при зондировании установкой С-979

f3, f3i, тс/м2

Коэффициент b2 перехода от f3 к f

Коэффициент bi перехода от f3i к f при глубине i-го слоя грунта, м

для забивных свай

для винтовых свай - при нагрузках

1

2

3

h

сжимающих

выдергивающих

£ 250

0,8

0,45

0,38

£ 2

1,5

0,5

0,53

0,57

0,6

500

0,65

0,32

0,27

4

1

0,21

0,33

0,44

0,55

750

0,55

0,26

0,22

6

0,75

0,17

0,27

0,39

0,5

1000

0,45

0,23

0,19

8

0,6

0,15

0,24

0,37

0,5

1500

0,35

-

-

10

0,5

0,14

0,22

0,36

0,5

³ 2000

0,3

-

-

³ 12

-

0,12

0,2

0,35

0,5

Примечания: 1. При глубине расположения слоя от 3 м до h значение коэффициента bi определяется интерполяцией, где h - обозначение то же, что и в формуле [34 (21)].

2. Для винтовых свай в песчаных грунтах, насыщенных водой, значения коэффициентов перехода bi должны быть уменьшены в 2 раза.

г) частное значение предельного сопротивления сваи подсчитываем по формуле

Ф3 = R3 · F + fhu = 518 · 0,09 + 43 · 6 · 1,2 = 77,6 тс,

где и - периметр поперечного сечения сваи, м;

F - площадь поперечного сечения сваи, м2.

При зондировании установкой С-832 в грунтовых условиях, для которых недостаточно изучен вопрос о влиянии скорости погружения зонда на получаемые результаты, параллельно с зондированием по методике ГОСТ 20069-74 может применяться зондирование «со стабилизацией», когда вдавливание зонда происходит только под действием воздушного демпфера и сопровождается снижением скорости вдавливания до нуля. При этом следует использовать значения коэффициентов b1 и bi, представленные в табл. 21.

Таблица 21

q3, тс/м2

b1

f3, тс/м2

Коэффициент bi перехода от f3i к f при глубине i-го слоя грунта, м

1

2

3

h

£ 200

1

£ 2

1

1

1

1

500

0,8

4

0,26

0,56

0,75

1

750

0,65

6

0,22

0,44

0,67

1

1000

0,55

8

0,2

0,38

0,58

1

1500

0,4

10

0,18

0,35

0,52

1

³ 2000

0,3

³ 12

0,16

0,32

0,48

1

Рис. 19. График зависимости bif3i = f (h)

7. РАСЧЕТ СВАЙНЫХ ФУНДАМЕНТОВ И ИХ ОСНОВАНИЙ ПО ДЕФОРМАЦИЯМ

7.1. Расчет фундамента из висячих свай, свай-оболочек и свай-столбов (ниже в настоящем разделе именуемых для краткости общим названием «сваи») и его основания по деформациям производится как для условного фундамента на естественном основании в соответствии с требованиями главы СНиП по проектированию оснований зданий и сооружений. Границы условного фундамента [рис. 20 (1)] определяются следующим образом:

снизу - плоскостью АБ, проходящей через нижние концы свай;

с боков - вертикальными плоскостями АВ и БГ, отстоящими от наружных граней крайних рядов вертикальных свай на расстоянии  а при наличии наклонных свай - проходящими через нижние концы этих свай;

сверху - поверхностью планировки грунта ВГ,

где  - средневзвешенное расчетное значение угла внутреннего трения грунта, определяемое по формуле

                                  [38 (25)]

jII1, jII2, jIIn - расчетное значение углов внутреннего трения для отдельных пройденных сваями слоев грунта толщиной соответственно l1, l2, ... ln;

l - глубина погружения свай в грунт, считая от подошвы ростверка, равная l = l1 + l2 + ... + ln.

В собственный вес условного фундамента при определении его осадки включается вес свай и ростверка, а также вес грунта в объеме условного фундамента.

Полученные по расчету величины деформаций (осадок) свайного фундамента и его основания не должны превышать предельно допускаемых значений, определенных по формуле [2 (2)] настоящей главы.

Рис. 20 (1). Схема определения границ условного фундамента при расчете осадок свайных фундаментов

К п. 7.1. Указания этого пункта по расчету свайного фундамента относятся к расчету куста.

При расчете осадок ленточных свайных фундаментов рекомендуется пользоваться методикой, приведенной ниже.

Напряжения в активной зоне ленточных свайных фундаментов определяются по формуле

                                                               (39)

где р - погонная нагрузка на ленточный свайный фундамент, кгс/см. В нагрузку включается вес массива грунта со сваями. Границы массива определяются следующим образом: сверху - поверхностью планировки грунта, снизу - плоскостью, проходящей через нижние концы свай, с боков - вертикальными плоскостями, проходящими по наружным граням крайних рядов свай;

l - глубина погружения свай, см;

aп - безразмерный коэффициент, принимаемый по табл. 22 в зависимости от приведенной ширины свайного фундамента  (b - ширина фундамента), приведенной глубины рассматриваемой точки  и приведенного расстояния рассматриваемой точки от оси ленточного свайного фундамента .

Таблица 22

x/l

0

0,025

0,05

0,1

0,2

0,3

0,4

0,5

0,6

0,7

0,8

0,9

1,0

b = 0,05

1,01

13,7907

8,0834

2,5951

1,9473

1,5013

1,2419

1,0487

0,8917

0,759

0,6453

0,5475

0,4634

0,3915

1,05

8,0206

6,5857

4,2363

2,3056

1,5591

1,2668

1,0658

0,9066

0,7735

0,6597

0,5618

0,4775

0,4051

1,1

5,1769

4,859

4,1223

2,7469

1,6774

1,3103

1,0909

0,9262

0,7914

0,6772

0,5791

0,4943

0,4216

1,2

3,3168

3,2655

3,123

2,6846

1,8758

1,4213

1,1555

0,9719

0,8296

0,7123

0,6128

0,5272

0,4533

1,3

2,5773

2,5603

2,5109

2,3365

1,8759

1,4884

1,2156

1,0195

0,8692

0,7477

0,6458

0,5588

0,4837

1,4

2,1593

2,1514

2,1283

2,0422

1,7736

1,4872

1,246

1,0555

0,9041

0,7805

0,677

0,5887

0,5125

1,5

1,8817

1,8773

1,8644

1,8151

1,6475

1,4419

1,2445

1,0729

0,9286

0,8073

0,7043

0,6158

0,5392

1,6

1,6797

1,677

1,669

1,6378

1,5263

1,3771

1,2199

1,0722

0,9406

0,8857

0,7258

0,6388

0,5628

1,7

1,524

1,5222

1,5168

1,4955

1,4173

1,3066

1,1821

1,0578

0,9411

0,8353

0,7408

0,6569

0,5826

1,8

1,3991

1,3978

1,3939

1,3787

1,3213

1,2371

1,138

1,0431

0,9325

0,837

0,7493

0,6698

0,5983

1,9

1,2959

1,2949

1,292

1,2806

1,2371

1,1716

1,0917

1,005

0,9172

0,8321

0,7519

0,6776

0,6097

2

1,2087

1,2079

1,2057

1,1969

1,163

1,1109

1,0458

0,9731

0,8974

0,8221

0,7495

0,6809

0,6171

2,1

1,1338

1,1332

1,1314

1,1244

1,0974

1,0552

1,0015

0,9402

0,8749

0,8085

0,7432

0,6803

0,6209

2,2

1,0685

1,068

1,0666

1,061

1,0389

1,0043

0,9595

0,8509

0,9074

0,7924

0,7338

0,6766

0,6216

2,3

1,011

1,0106

1,0094

1,0048

0,9866

0,9577

0,9199

0,8754

0,8263

0,7748

0,7223

0,6703

0,6197

2,4

0,9599

0,9595

0,9586

0,9547

0,9394

0,915

0,8428

0,8445

0,8017

0,7561

0,7092

0,662

0,6155

2,5

0,914

0,9137

0,9129

0,9096

0,8967

0,8758

0,8482

0,815

0,7775

0,7371

0,695

0,6523

0,6097

b = 0,1

1,01

9,506

8,6979

5,3509

1,8597

1,4285

1,1884

1,0093

0,8628

0,7382

0,7306

0,5374

0,4568

0,3874

1,05

7,2177

6,6371

5,0111

2,4175

1,5002

1,2165

1,0272

0,8777

0,7522

0,6444

0,5511

0,4702

0,4004

1,1

5,2092

4,965

4,3346

2,8941

1,6489

1,2677

1,0547

0,8978

0,7699

0,6613

0,5676

0,4865

0,4162

1,2

3,4217

3,37

3,2252

2,767

1,8891

1,1288

0,9272

0,9472

0,8091

0,6962

0,6005

0,5181

0,4467

1,3

2,6499

2,6319

2,5797

2,394

1,8995

1,4853

1,2003

1,0011

0,8519

0,7328

0,6337

0,5492

0,4764

1,4

2,2099

2,2015

2,1769

2,0847

1,7974

1,4927

1,2397

1,0438

0,8909

0,7679

0,666

0,5795

0,5051

1,5

1,9195

1,9139

1,9002

1,8475

1,669

1,4511

1,244

1,0665

0,9194

0,7974

0,6949

0,6075

0,5321

1,6

1,7076

1,7048

1,6962

1,663

1,5448

1,3873

1,2228

1,0697

0,9349

0,8185

0,7183

0,6317

0,5564

1,7

1,5458

1,5439

1,5382

1,5157

1,4331

1,3167

1,1867

1,0578

0,9381

0,8305

0,7351

0,6511

0,5771

1,8

1,4166

1,4152

1,4111

1,3951

1,3348

1,2466

1,0358

0,0358

0,9314

0,834

0,7452

0,6652

0,5936

1,9

1,3102

1,3092

1,3061

1,2942

1,2487

1,1803

1,0973

1,0077

0,9174

0,8305

0,7492

0,6742

0,606

2

1,2206

1,2198

1,2175

1,2083

1,173

1,1188

1,0513

0,9763

0,8986

0,8217

0,7469

0,6785

0,6143

2,1

1,1439

1,1432

1,1414

1,1342

1,1061

1,0623

1,0068

0,9437

0,8767

0,8099

0,7424

0,6788

0,6188

2,2

1,0772

1,0767

1,0752

1,0693

1,0465

1,0107

0,9645

0,911

0,8531

0,7933

0,7337

0,6757

0,6201

2,3

1,0185

1,0181

0,0168

1,0121

0,9933

0,9635

0,9246

0,8689

0,8287

0,776

0,7226

0,6699

0,618

2,4

0,9664

0,9661

0,9651

0,9611

0,9453

1,9202

0,8872

0,8479

0,8042

0,7577

0,7099

0,662

0,615

2,5

0,9198

0,9195

0,9187

0,9153

0,902

0,8806

0,8522

0,8182

0,78

0,7388

0,696

0,6526

0,6096

b = 0,2

1,01

6,7056

6,0955

5,7741

3,5721

1,3261

1,1113

0,9523

0,821

0,708

0,6094

0,523

0,4474

0,3816

1,05

5,6594

5,5258

5,1839

3,4944

1,4473

1,1471

0,9721

0,836

0,7215

0,6223

0,5356

0,4598

0,3937

1

4,7391

4,5442

4,3622

3,3313

1,6805

1,217

1,0047

0,8575

0,7391

0,6384

0,6512

0,475

0,4084

1,2

3,4337

3,3938

3,2784

2,8776

1,9531

1,3917

1,097

0,9142

0,7807

0,6734

0,583

0,5051

0,4373

1,3

2,7056

2,6886

1,6389

2,4581

1,9457

1,4943

1,1859

1,0785

0,8287

0,7123

0,6167

0,5358

0,4661

1,4

2,2608

2,2523

2,2273

2,1331

1,8328

1,5071

1,2364

1,0305

0,874

0,7511

0,6508

0,5667

0,4947

1,5

1,96

1,9551

1,9408

1,8859

1,6979

1,4666

1,2466

1,0602

0,9083

0,7846

0,5823

0,596

0,5223

1,6

1,7409

1,7379

1,7289

1,694

1,5691

1,4024

1,2285

1,068

0,9283

0,8094

0,7084

0,622

0,5476

1,7

1,5728

1,5708

1,5647

1,541

1,4537

1,3309

1,194

1,0591

0,9349

0,8245

0,7277

0,6433

0,5695

1,8

1,4387

1,4373

1,433

1,416

1,3525

1,2556

1,1512

1,0389

0,9306

0,8305

0,74

0,6592

0,6874

1,9

1,3286

1,1327

1,3244

1,3118

1,3639

1,1921

1,1052

1,0118

0,9183

0,8289

0,7457

0,6698

0,6011

2

1,2362

1,2364

1,2129

1,2233

1,1862

1,1294

1,059

0,981

0,9005

0,8214

0,7458

0,6754

0,6105

2,1

1,1572

1,1565

1,1546

1,147

1,1176

1,0719

1,0141

0,9486

0,8793

0,8096

0,7515

0,6768

0,6161

2,2

1,0887

1,0881

1,0866

1,0805

1,0567

1,0194

0,9713

0,9159

0,8561

0,7947

0,7337

0,6746

0,6182

2,3

1,0285

1,0281

1,0289

1,0218

1,0023

0,9713

0,931

0,8837

0,832

0,7779

0,7233

0,6695

0,6175

2,4

0,9752

0,9749

0,9739

0,9697

0,9534

0,9274

0,8932

0,8532

0,8076

0,7599

0,711

0,6622

0,6145

2,5

0,9276

0,9273

0,9265

0,9229

0,9092

0,8871

0,8578

0,8228

0,7834

0,7412

0,6974

0,6532

0,6095

b = 0,3

1,01

5,4922

4,9691

4,7046

4,4143

1,2575

1,2491

0,9057

0,7857

0,6834

0,5921

0,5112

0,4398

0,3771

1,0

4,7306

4,6464

4,4779

4,0314

1,5602

1,0995

0,9287

0,8025

0,6966

0,6044

0,5232

0,4515

0,3885

1,1

4,1927

4,1509

4,0298

3,5481

1,8888

1,2026

0,9693

0,8261

0,6201

0,538

0,538

0,4658

0,4024

1,2

3,3052

3,2795

3,2033

2,9152

2,0647

1,4207

1,0845

0,8921

0,7595

0,6558

0,5693

0,4948

0,4299

1,3

2,6873

2,6734

2,6322

2,4775

1,9958

1,5229

1,1877

0,9669

0,8133

0,6973

0,6039

0,5255

0,4581

1,4

2,2703

2,2625

2,2395

2,1518

1,8608

1,5278

1,2429

1,0261

0,8642

0,7397

0,6399

0,5572

0,4868

1,5

1,9758

1,9713

1,9673

1,9038

1,7175

1,482

1,2539

1,0598

0,9027

0,7765

0,6736

0,5878

0,515

1,6

1,1757

1,7541

1,7451

1,7103

1,5847

1,4149

1,2357

0,0697

0,9257

0,8041

0,7019

0,6153

0,5412

1,7

1,5876

1,5855

1,5194

1,5555

1,467

1,3414

1,2008

1,0619

0,9342

0,8213

0,7231

0,638

0,5642

1,8

1,4518

1,4503

1,4459

1,4287

1,3639

1,2689

1,1576

1,0422

0,9311

0,8288

0,7369

0,6553

0,5832

1,9

1,34

1,3389

1,3357

1,3228

1,2739

1,2004

1,1113

1,0154

0,9197

0,8284

0,7439

0,667

0,5978

2

1,2462

1,2453

1,2428

1,2329

1,195

1,1369

1,0647

0,9848

0,9025

0,8217

0,7449

0,6735

0,608

2,1

1,1659

1,1653

1,1633

1,1555

1,1254

1,0787

1,0195

0,9524

0,8816

0,8105

0,7413

0,6756

0,6143

2,2

1,0964

1,0959

1,0943

1,088

1,0637

1,0255

0,9763

0,9196

0,8586

0,796

0,734

0,674

0,6171

2,3

1,1035

1,035

1,0337

1,0285

1,0085

0,9769

0,9356

0,8874

0,8346

0,7795

0,724

0,6694

0,6169

2,4

0,9814

0,981

0,9799

0,9757

0,959

0,9324

0,8975

0,8102

0,7613

0,712

0,712

0,6625

0,6142

2,5

0,9331

0,9328

0,9319

0,9283

0,9143

0,8917

0,8618

0,8161

0,786

0,7431

0,6986

0,6538

0,6096

Формула (39) позволяет определять напряжения на различном расстоянии от оси ленточного свайного фундамента. Это важно для определения взаимного влияния рядов свай крупнопанельных зданий и зданий повышенной этажности при расстоянии между рядами 2,6 - 3,2 м, так как в этом случае взаимовлияние будет значительным.

Напряжения в плоскости острия свай не должны превышать расчетного давления на грунт R, определяемого по формуле

                          (40)

где m1, m2, kн, A, В, D, gII, g¢II, h, ho - те же коэффициенты и параметры, что и в формуле (17) главы СНиП II-15-74.

Коэффициент 1,1 учитывает изменение объемного веса грунта в результате забивки свай, а коэффициент 3 - изменение сил сцепления грунта. На границе уплотненной зоны (на глубине, равной трем диаметрам свай от плоскости острия свай) расчетное давление на грунт определяется по формуле (40) с учетом природных значений физико-механических свойств грунтов, т.е. без вышеуказанных коэффициентов.

Осадка ленточных свайных фундаментов определяется по формуле

                                                          (41)

где S - осадка свайного фундамента, см;

p - погонная нагрузка на свайный фундамент, кгс/см;

Е - модуль деформации грунта активной зоны с учетом уплотнения грунта в результате забивки свай определяется по данным испытания сваи-штампа, обычных одиночных свай, статического зондирования;

m - коэффициент бокового расширения грунта;

d0 - безразмерная компонента, принимаемая по номограмме рис. 21 в зависимости от коэффициента бокового расширения грунта m, приведенной ширины фундамента  (l - глубина погружения свай, b - ширина фундамента) и приведенной глубины активной зоны  (zo - глубина нижней границы активной зоны).

Рис. 21. Номограмма для определения dо

Нижнюю границу активной зоны рекомендуется принимать на глубине, где дополнительные напряжения от фундамента не превышают структурной прочности грунта. Если отсутствуют данные о структурной прочности сжатия, рекомендуется границу активной зоны принимать на глубине, где напряжения от внешней нагрузки не превышают 0,1 кгс/см2. Напряжения определяются по формуле (39).

Для определения значений dо находится граница активной зоны и определяется приведенная глубина , затем проводится линия, параллельная оси абсцисс, до пересечения с линией приведенной ширины фундамента  и опускается перпендикулярно до линии коэффициента бокового расширения грунта m. Из точки пересечения проводится линия, параллельная оси абсцисс до пересечения с осью ординат, на которой находим значения dо. Осадку свайного фундамента определяем по формуле (41).

Пример 25. Определять напряжения в активной зоне и полную осадку двухрядного ленточного свайного фундамента.

Сваи сечением 30´30 см длиной 9 м забиты с шагом, равным 90 см. Глубина погружения свай 8,9 м. Ширина ростверка 130 см, высота 50 см. Подошва ростверка заложена на глубине 90 см от поверхности планировки грунта. Расчетная нагрузка, передаваемая на сваю, равна N1 = 70 тс, а от основного сочетания расчетных нагрузок с коэффициентами перегрузки, равными единице, N2 = 61 тс. Расчетная нагрузка, допускаемая на сваю с учетом передачи части нагрузки через ростверк, по данным испытания фундамента, равна 75 тс.

Площадка сложена слоем суглинков мощностью 15,6 - 16,2 м, ниже залегают слой гравелистого песка и слой гравийного грунта, мощностью 3,8 м. На глубине 20 м залегает песчаник. Основные физико-механические свойства слоя суглинков: объемный вес 1,88 т/м3; природная влажность 27 - 31 %, число пластичности 0,16; показатель консистенции 0,45 - 0,6; коэффициент пористости 0,83 - 0,9; значение удельного сцепления грунта 0,19 кгс/см2; уровень грунтовых вод находится на отметке - 1,5 м; модуль деформации глинистого грунта по данным испытаний сваи-штампа 105 кгс/см2; модуль деформации гравелистого песка 260 кгс/см2.

Напряжения в активной зоне ленточного свайного фундамента определяем по формуле (39):

.

Находим погонную нагрузку на ленточный свайный фундамент, кгс/см2, включая вес массива грунта со сваями:

где nр - число рядов свай;

n - коэффициент перегрузки, равный 1,1;

gcp - среднее значение объемного веса грунта со сваями в массиве;

hф - расстояние от планировочной отметки до плоскости острия свай;

bм - ширина массива грунта со сваями.

Безразмерный коэффициент an принимаем по табл. 22 в зависимости от приведенной ширины свайного фундамента , приведенной глубины рассматриваемой точки , приведенного расстояния рассматриваемой точки от оси ленточного свайного фундамента . Значение an при b = 0,13 находим путем интерполяции значений an.

Напряжение на глубине  т.е. на глубине 9 см ниже плоскости острия свай ленточного свайного фундамента:

Значения напряжений на различной глубине активной зоны приведены в табл. 23.

Таблица 23

an

, кгс/см2

Глубина от плоскости острия свай, см

1,01

8,6654

5,64

8,9

1,05

6,7802

4,42

44,5

1,1

4,9282

3,2

89

1,2

3,4253

2,23

178

1,3

2,6666

1,37

267

1,4

2,2252

1,44

356

1,5

1,9349

1,26

445

1,6

1,7175

1,05

534

1,7

1,5549

1,01

623

1,8

1,4232

0,92

712

1,9

1,3157

0,85

801

2

1,2253

0,79

890

2,1

1,1479

0,74

979

2,2

1,0816

0,7

1068

Напряжения в плоскости острия свай и в активной зоне не должны превышать расчетного давления на основание R, определяемого по формуле (40) и по формуле (7) главы СНиП II-15-74:

 

 

Из приведенных данных видно, что напряжения в плоскости острия свай и в активной зоне фундамента меньше расчетных давлений на основание R1 и R:

sz < R1 uR 5,64 кгс/см2 < 8,03 и 6,03 кгс/см2.

Определим полную осадку ленточного свайного фундамента по формуле (41). Находим погонную нагрузку на свайный фундамент от основного сочетания расчетных нагрузок с коэффициентами перегрузки, равными единице:

Определяем нижнюю границу активной зоны zо и приведенную глубину границы активной зоны . Анализ значений напряжений, приведенных в табл. 23, показывает, что нижняя граница активной зоны может быть принята на границе гравийного слоя и песчаника zо = 19,1 м.

Приведенная глубина границы активной зоны  Определяем безразмерную компоненту перемещения dо. При  b = 0,13 и m = 0,35 по номограмме рис. 21 dо = 2,47.

Средневзвешенное значение модуля деформации грунта активной зоны:

Осадка свайного фундамента равна:

Расчет осадок свайных фундаментов опор мостов, опирающихся на однородные песчаные грунты без прослоек связанных грунтов, обычно рекомендуется производить согласно рекомендациям, изложенным в прил. 6.

Расчет осадок крена фундаментов из свайных полей размером 10´10 м можно определять методом линейно-деформируемого слоя в соответствии с указаниями главы СНиП II-15-74. При этом расчет следует производить по среднему давлению на основание в плоскости подошвы плитного ростверка, а расчетную толщину слоя увеличить на величину, равную глубине погружения свай, приняв модуль деформации слоя, прорезаемого сваями, равным бесконечности или модулю деформации материала свай.

Расчетную осадку фундаментов из свайных полей можно также вычислять по формуле

                                                      (42)

где р - среднее давление на основание на уровне подошвы плитного ростверка, кгс/см2;

В - ширина или диаметр фундамента;

Е - средневзвешенный модуль деформации сжимаемой толщи, принимаемый от плоскости нижних концов свай и равной ширине или диаметру фундамента.

В случае разнородного основания средневзвешенное значение модуля деформации определяется по формуле

                               (43)

где E1, E2, Ei - модули деформации 1-го, 2-го и i-го слоев;

h1, h2, h3 - мощность 1-го, 2-го и i-го слоев;

k1, k2, ki - коэффициенты, учитывающие глубину залегания слоя и принимаемые по табл. 24 в зависимости от глубины расположения подошвы слоя.

Таблица 24

Глубина расположения слоя (в долях от В)

0 - 0,2в

0,2В - 0,4В

0,4В - 0,6В

0,6В - 0,8В

0,8В - В

Коэффициент Ki

1

0,85

0,6

0,5

0,4

Рис. 22. Схема определения размеров условного фундамента

Пример 26. Требуется определить сопротивление грунта основания в уровне нижних концов свай и осадку свайного фундамента под колонну производственного здания с шагом колонн 6 м. Фундамент запроектирован в виде куста из шести свай сечением 300´300 мм, длиной 10 м (рис. 22). Расстояние между осями свай в кусте а = 3; d = 0,9 м. На фундамент сооружения действуют вертикальная сила N = 300 тс (с учетом веса ростверка) и изгибающий момент М = 50 тс×м.

Грунтовые условия. С поверхности на глубину 4 м залегает слой мягкопластичного суглинка, затем на глубину 4,5 м - тугопластичная глина и ниже - крупный песок, разведанный до глубины 7 м.

Физико-механические свойства грунтов следующие:

суглинок мягкопластичный - gоII = 1,8 тс/м3; jII = 14°;

e = 0,85; IL = 0,55;

глина тугопластичная - gоII = 1,9 тс/м3; jII = 24°;

e = 0,55; IL = 0,3;

песок крупный - gоII = 2 тс/м3; jII = 40°;

e = 0,55; cII = 0,01 кгс/см2.

Решение:

а) расчетные нагрузки на сваи, входящие в фундамент, определяем по формулам:

 Sz2 = 4×0,92 = 3,24 м2;

Pмакс = 63,9 тс; Pмин = 36,1 тс.

Несущую способность сваи определяем по формуле [7 (7)]:

Ф = т(тR RF + иSтf fi li),

где F = 0,09 м2; и = 1,2 м;

R = 763 тс/м2 для глубины

h = 9,5 м [по табл. 1 (1)]; f1 = 1 тс/м2;

f2 = 1,7 тс/м2;

f3 = 4 тс/м2; f2 = 4,3 тс/м2;

f5 = 6,75 тс/м2 [по табл. 2 (2)];

Ф = 1 [763×0,09 + 1,2 (1×2 + 1,7×2 + 4×2 + 4,3×2,5 + 6,75×1)] = 1 (68,6 + 37,1) = 105,7 тс.

Расчетная нагрузка на сваю

что удовлетворяет требованиям;

б) проверяем сопротивления грунта основания в плоскости нижних концов свай. Средневзвешенное значение угла внутреннего трения:

 tg 5°22,5 = 0,094.

Размеры свайного ростверка в пределах периметра куста свай;

А1 = 2×0,9 + 0,3 = 2,1 м;

B1 = 0,9 + 0,3 = 1,2 м.

Размеры опорной площади условного массива:

A2 = A1 + 2 l tg 5,5° = 2,1 + 2×9,5×0,094 = 3,89 м;

В2 = B1 + 2 l tg 5,5° = 1,2 + 2×9,5×0,094 = 2,99 м;

F = A2 В2 = 3,89×2,99 = 11,6 м2.

Объем условного массива V = fl = 11,6×9,5 = 110 м3.

Объем свай: Vс = 10×0,09×6 = 5,4 м2;

V - Vc = 110 - 5,4 = 104,6 м3*.

* Упрощение подсчета веса условного массива грунта со сваями возможно при использовании формулы

где gср - средневзвешенные значения объемного веса грунта и свай; п - число свай; Fcв - площадь одной сваи; A2 к В2 - размеры условного массива; gб - объемный вес бетона; gгр - объемный (средний) вес грунта.

Средневзвешенное значение объемного веса

 тс/м3.

Вес условного массива грунта G1 = 104,6×1,87 = 195 тс.

Вес свай G2 = 5,4×2,5 = 13,5 тс.

Вертикальная составляющая нормальных сил в уровне нижних концов свай

Nн = N + G1 + G2 = 300 + 195 + 13,5 = 508,5 тс.

Момент сопротивления условного массива в уровне его подошвы

Давление на грунт свайного фундамента

Расчетное давление на грунт основания условного массива R в уровне его подошвы определяем по формуле (17) главы СНиП II-15-74:

По табл. 16 главы СНиП II-15-74 для jII = 40°; А = 2,46; В= 10,84; D = 11,73; b = B2 = 2,99 м;

h = 9,5 м; gII = 2 тс/м3; g1II = 1,87 тс/м2;

сII = 0,1 т/м2;

m1, m2 определяются по табл. 17 главы СНиП II-15-74; m1 = 1,4; m2 = 1,4; kн = 1,1;

в) распределение давления в горизонтальных сечениях в грунте ниже подошвы условного фундамента определяем в соответствии с прил. 3 главы СНиП II-15-74.

Среднее фактическое давление на грунт под подошвой условного фундамента от нормативных нагрузок

Определяем природное давление под подошвой условного фундамента:

рб = 1,8×4 + 1,9×4,5 + 2×1 = 17,8 тс/м2 = 1,78 кгс/см2;

р - рб = 4,38 - 1,78 = 2,6 кгс/см2.

Дополнительное давление в грунте p0z в горизонтальном сечении, расположенном на глубине z ниже подошвы условного фундамента, определяем по формуле

p0z = a (p - pб).

Коэффициент a определяем в зависимости от  и  по табл. 1 прил. 3 главы СНиП II-15-74:

b = 2,99 м; l = 3,89 м;

Результаты расчетов величин pбz и pi, а также параметров, необходимых для их определения, сведены в табл. 25.

Таблица 25

z, м

h + z, м

pбz = g(h+z), кгс/см2

0,2 pбz, кгс/см2

a

pi = a(p-pбz), кгс/см2

pz, кгс/см2

0

9,5

1,78

0,356

0

1

2,6

2,57

0,5

10

1,88

0,376

0,33

0,975

2,53

 

1

10,5

1,98

0,396

0,66

0,885

2,3

2,42

1,5

11

2,08

0,416

0,99

0,787

2,05

2,17

2

11,5

2,18

0,436

1,32

0,621

1,62

1,84

2,5

12

2,28

0,656

1,65

0,5

1,3

1,46

3

12,5

2,38

0,476

1,98

0,4

1,04

1,17

3,5

13

2,48

0,496

2,31

0,329

0,86

0,95

4

13,5

2,58

0,516

2,64

0,271

0,7

0,78

4,5

14

2,68

0,536

2,97

0,184

0,48

0,59

Осадку фундамента определяем по формуле (5) прил. 3 главы СНиП II-15-74:

где b = 0,8; Ei - модуль i-го слоя грунта; Е = 400 кгс/см2;

Предельную величину средних осадок Sпр.cp основания фундамента для данного сооружения определяем по табл. 18 главы СНиП II-15-74:

Sпр.cp = 8 см.

Таким образом, расчетная величина осадки фундамента не превышает предельной величины Sпр.cp.

Пример 27. Требуется определить осадку и крен свайного фундамента под дымовую трубу, запроектированного на железобетонных сваях сечением 300´300 мм, длиной 7 м. Свайный фундамент выполнен в виде кольца. Число свай в кусте равно 50 шт. (рис. 23). Расчетная нагрузка на фундамент задана в виде вертикальной силы N = 2400 тс и изгибающего момента M = 850 тс×м.

Рис. 23. Расчетная схема свайного фундамента

Грунтовые условия. С отметки дна котлована глубиной 1,4 м залегает пластичная супесь толщиной 2 м. Ниже располагается тугопластичный суглинок на глубину 3,1 м, подстилаемый слоем полутвердой разведанной глины толщиной слоя около 10 м.

Физико-механические свойства грунтов следующие:

супесь пластичная -

gо = 1,75 тс/м3; e = 0,55;

jII = 24°; IL = 0,5;

суглинок тугопластичный -

gо = 1,8 тс/м3; e = 0,7;

jII = 21°; IL = 0,3;

глина полутвердая -

gо = 1,9 тс/м3; e = 0,85;

jII = 17°; IL = 0,25; c = 0,41 кгс/см2;

Е = 180 кгс/см2.

Определяем границы условного фундамента:

 tg 5°15 = 0,092.

Радиус основания условного фундамента

Площадь основания условного фундамента без учета внутреннего отверстия фундамента

F = pr12 = p×4,252 = 56,7 м2.

Объем условного массива грунта V = fl = 56,7×6,5 = 369 м3.

Средневзвешенное значение объемного веса грунта

Средневзвешенное значение объемного веса с учетом веса свай

Вес условного массива

G = 369×1,865 = 690 тc;

Nн = N + G = 2400 + 690 = 3090 тc.

Среднее фактическое давление на грунт под подошвой условного фундамента от расчетных нагрузок

Природное (бытовое) давление под подошвой фундамента:

рб = 1,75×3,4 + 1,8×3,1 + 1,9×1,4 = 14,2 тс/м2 = 1,42 кгс/см2;

р - рб = 5,45 - 1,42 = 4,03 кгс/см2.

Дополнительное давление в грунте в различных горизонтальных сечениях определяем по формуле

p0z = a (p - pб).

где a - коэффициент, определяемый в зависимости от  для круглых фундаментов по табл. 3 прил. 3 главы СНиП II-15-74.

Результаты расчетов величин pбz и pi, а также параметров, необходимых для их определения, сведены в табл. 26.

Таблица 26

z, м

(h + z), м

pбz = g(h+z), кгс/см2

0,2 pбz, кгс/см2

 

a

p = a(p-pбz), кгс/см2

pi, кгс/см2

0

6,5

1,42

0,284

0

1

4,03

3,98

0,8

7,3

1,57

0,314

0,188

0,976

3,93

 

1,6

8,1

1,72

0,344

0,376

0,952

3,84

3,89

2,4

8,9

1,88

0,376

0,565

0,874

3,52

3,68

3,2

9,7

2,03

0,406

0,753

0,779

3,14

3,33

4

10,5

2,18

0,436

0,941

0,682

2,75

2,95

4,8

11,3

2,33

0,466

1,129

0,584

2,35

2,55

5,6

12,1

2,48

0,496

1,318

0,501

2

2,19

6,4

12,9

2,63

0,526

1,506

0,427

1,72

1,87

7,2

13,7

2,79

0,558

1,694

0,365

1,47

1,6

8

14,5

2,94

0,588

1,882

0,316

1,27

1,37

8,8

15,3

3,08

0,616

2,071

0,272

1

1,18

9,6

16,1

3,23

0,646

2,259

0,239

0,96

1,03

10,4

16,9

3,38

0,676

2,447

0,208

0,84

0,9

11,2

17,7

3,54

0,708

2,635

0,185

0,75

0,8

12

18,5

3,7

0,74

2,824

1,163

0,66

0,71

Осадку фундамента определяем по формуле (5) прил. 3 главы СНиП II-15-74:

Предельная допустимая величина средних осадок Sпр.cp основания фундамента для дымовой трубы, определенная по табл. 18 главы СНиП II-15-74, Sпр.cp = 30 см.

Для отдельных круглых фундаментов следует определять величину крена q, которая не должна превышать предельной величины деформации основания Snp, определенной по табл. 18 главы СНиП II-15-74 и равной Sпр = 0,004.

Крен круглого фундамента определяется по формуле (10) прил. 3 главы СНиП II-15-74:

где e - расстояние точки приложения равнодействующей от середины подошвы фундамента по радиусу круга, см;

m - коэффициент Пуассона, определяемый по табл. 3.33 «Руководства по проектированию оснований зданий и сооружений»; m = 0,42;

условие выполняется.

7.2. Если при строительстве предусматривается планировка территории подсыпкой (намывом) высотой более 2 м или другая постоянная (долговременная) загрузка территории, эквивалентная такой подсыпке, а в пределах глубины погружения свай залегают слои торфа толщиной более 30 см или ила, то величину осадки свайного фундамента из висячих свай следует определять с учетом уменьшения габаритов условного фундамента, который в этом случае как при вертикальных, так и при наклонных сваях принимается ограниченным с боков вертикальными плоскостями, отстоящими от наружных граней крайних рядов вертикальных свай на расстоянии  где lср - расстояние от нижнего конца сваи до подошвы слоя торфа толщиной более 30 см или слоя ила.

К п. 7.2. Размеры условного фундамента, согласно этому пункту, при подсыпке или пригрузке территории и одновременном наличии в пределах прорезаемой сваями толщи слоев ила или торфа принимаются меньшими, чем в других случаях, рассмотренных в п. 7.1. Сделано это в связи с тем, что в указанных условиях из-за развивающихся осадок таких слабых грунтов в процессе консолидации под действием пригрузки территории боковая поверхность свай, расположенная выше их подошвы, не может передавать нагрузки на грунт.

7.3. Свайные фундаменты из свай, работающих как сваи-стойки, висячие одиночные сваи, воспринимающие вне кустов вдавливающие или выдергивающие нагрузки, а также свайные кусты, работающие на действие выдергивающих нагрузок, рассчитывать по деформациям не требуется.

К п. 7.3. Фундаменты из свай-стоек, работающих на вдавливающие нагрузки, и отдельно стоящие висячие сваи, работающие как на вдавливающие, так и на выдергивающие нагрузки, рассчитывать по деформациям не требуется в связи с тем, что расчет их по несущей способности заведомо гарантирует допустимость при этом величин деформаций для обычных зданий и сооружений. Передача нагрузки в фундаментах указанных зданий и сооружений при кустовом расположении свай, как правило, осуществляется только на часть крайних свай, характер сопротивления которых практически очень близок к характеру сопротивления одиночных свай. Поэтому и в таком случае расчета свай на выдергивающие нагрузки в кустах не требуется.

Рекомендации этого параграфа, как, впрочем, и всех других параграфов настоящей главы, не распространяются на проектирование специальных зданий и сооружений с повышенными требованиями к допустимым величинам деформаций, а также на специальные сооружения, при которых передача выдергивающих нагрузок осуществляется одновременно на все сваи куста, состоящего из большого числа свай. В указанных случаях расчет по деформациям одиночных буронабивных свай и свайных групп из них, а также винтовых свай может выполняться в соответствии с методиками, изложенными в прил. 7.

Определение в тех же случаях осадок одиночных забивных свай может быть выполнено только по результатам их статических испытаний, проведенных по ГОСТ 5686-78. Методика пересчета величин осадок свай, полученных при статических испытаниях, на осадки, которые могут развиться во времени под нагрузкой в процессе эксплуатации свай, приведена в прил. 8.

7.4. Расчет свай по деформациям на совместное действие вертикальных и горизонтальных нагрузок и моментов следует выполнять в соответствии с требованиями, изложенными в приложении к настоящей главе.

8. ПРОЕКТИРОВАНИЕ СВАЙНЫХ ФУНДАМЕНТОВ

8.1. Свайные фундаменты в зависимости от размещения в плане свай, свай-оболочек и свай-столбов (ниже в настоящем разделе именуемых для краткости общим названием «сваи») устраиваются в виде:

а) одиночных свай - под отдельно стоящие опоры;

б) лент - под стены зданий и сооружений при передаче на фундамент распределенных по длине нагрузок с расположением свай в один, два и более рядов;

в) кустов - под колонны с расположением сваи в плане на участке квадратной, прямоугольной, трапецеидальной и другой формы;

г) сплошного свайного поля - под тяжелые сооружения со сравнительно небольшими габаритами в плане и распределенными по всей площади нагрузками со сваями, расположенными под всем зданием или сооружением (высотные здания, дымовые трубы, доменные печи, силосные корпуса и др.).

К п. 8.1. Примеры решений свайных фундаментов с указанием расположения свай в плане показаны на рис. 24 - 26. В свайных фундаментах зданий с несущими стенами наличие свай обязательно в углах зданий, а для крупнопанельных зданий также и в местах пересечения продольных и поперечных стен.

Рис. 24. План расположения свай в фундаменте жилого дома

Рис. 25. Примеры решений свайных фундаментов под колонны промышленных зданий при различном числе свай в кусте

Рис. 26. Пример расположения свай в виде «свайного поля»

Панели зданий рекомендуется устанавливать не менее чем на двух сваях. При технико-экономическом обосновании и наличии жесткого ростверка допускается установка свай лишь в местах пересечения продольных и поперечных стен.

Для каркасных бескрановых зданий допускается предусматривать фундаменты с кустами из двух свай, но при этом должна быть проверена прочность материала свай на воздействие момента, вычисленного с учетом допускаемого отклонения свай поперек куста.

Сваи-колонны, т.е. сваи квадратного или полого круглого сечения, часть которых, выступающая над поверхностью, заменяет колонну, могут применяться при вертикальных нагрузках на опору до 50 тс для опор технологических трубопроводов, транспортных галерей, постаментов технологического оборудования без динамических нагрузок, каркасных сельскохозяйственных зданий и других подобных сооружений (рис. 27, 28).

Рис. 27. Пример применения свай-колонн для одноэтажных производственных зданий

1 - сваи-колонны; 2 - фундаментная балка; 3 - опорный столик

Рис. 28. Пример применения свай-колонн для технологических трубопроводов

1 - металлическая анкерная концевая опора; 2 - свайный фундамент; 3 - промежуточные опоры из свай-колонн

Фундаменты из одной сваи могут применяться для зданий и сооружений при вертикальных нагрузках (рис. 29):

до 100 тс на сваю квадратного сечения;

» 300 тс на полую круглую сваю;

» 800 тс на сваю-оболочку диаметром до 160 см;

» 650 тс на набивную (буронабивную) сваю при диаметре ствола до 160 см.

Рис. 29. Фундаменты из свай

а - одной полой круглой; б - одной квадратной

Для сопряжения колонны со сваей-оболочкой или набивной сваей предусматривается стакан. Если диаметр сваи оказывается недостаточным для устройства стакана, сопряжение производится посредством сборной или монолитной насадки-стакана квадратного или круглого сечения. Она рассчитывается как двойной стакан, в верхнюю часть которого заделывается колонна, а в нижнюю - свая.

В рабочих чертежах свайных фундаментов каждая свая должна быть пронумерована в последовательном порядке. При кустовом расположении свай нумерация может быть также в пределах каждого куста с привязкой к осям здания. В свайных полях допускается проставлять номер каждой десятой сваи, в кустах с большим количеством свай - номера свай крайних рядов.

8.2. Сопряжение свайного ростверка со сваями допускается предусматривать как свободно опирающимся, так и жестким.

8.3. Свободное опирание ростверка на сваи должно учитываться в расчетах условно как шарнирное сопряжение и при монолитных ростверках должно выполняться путем заделки головы сваи в ростверк на глубину 5 - 10 см. Заделка выпусков арматуры в ростверк в этом случае необязательна.

8.4. Жесткое сопряжение свайного ростверка со сваями следует предусматривать в случаях, когда:

а) стволы свай располагаются в слабых грунтах (рыхлых песках, глинистых грунтах текучей консистенции, илах, торфах и т.п.);

б) в месте сопряжения сжимающая нагрузка, передаваемая на сваю, приложена к ней с эксцентриситетом, выходящим за пределы ее ядра сечения;

в) на сваи действуют горизонтальные нагрузки, величины перемещений от которых при свободном опирании (определенные расчетом в соответствии с требованиями приложения к настоящей главе) оказываются более предельно допускаемых для проектируемого здания или сооружения;

г) в фундаменте имеются наклонные или составные вертикальные сваи;

д) сваи работают на выдергивающие нагрузки.

8.5. Жесткое сопряжение железобетонных свай с монолитным железобетонным ростверком следует предусматривать с заделкой головы сваи в ростверк на глубину, соответствующую длине анкеровки арматуры, либо с заделкой в ростверк выпусков арматуры на длину их анкеровки в соответствии с требованиями главы СНиП по проектированию бетонных и железобетонных конструкций. В последнем случае в голове предварительно-напряженных свай должен быть предусмотрен ненапрягаемый арматурный каркас, используемый в дальнейшем в качестве анкерной арматуры.

Примечание. Анкеровка в ростверк свай, работающих на выдергивающие нагрузки (п. 8.4 «д»), должна предусматриваться с заделкой арматуры свай в ростверк на величину, определяемую расчетом ее на выдергивание.

К пп. 8.2 - 8.5. Для случая передачи нормальных сжимающих нагрузок, не выходящих за пределы ядра сечения сваи, конструкция узла сопряжения сваи с ростверком принимается согласно рис. 30 - 38 при условии h3 ³ d. В случае передачи на сваю нагрузок, выходящих за пределы ее ядра сечения, эта конструкция может быть аналогичной (исключая конструкции, показанные на рис. 30а, 33б, 34а и 38б) при условии, что h3, а также величины заделок головной части сваи и выпусков ее арматуры определены расчетом. Для обеспечения передачи моментных нагрузок в узле сопряжения с предварительно напряженными сваями в последних должны быть предусмотрены дополнительные арматурные каркасы (рис. 35).

Рис. 30. Пример конструктивного решения сопряжения железобетонных свай, работающих на нормальные сжимающие усилия, не выходящие за пределы ядра сечения свай, с монолитными (кустовыми и ленточными) ростверками при погружении свай до проектной отметки

1 - монолитный железобетонный ростверк; 2 - бетонная подготовка

Рис. 31. Пример конструктивного решения сопряжения свай со стержневой арматурой без предварительного напряжения, работающих на нормальные выдергивающие усилия, с монолитным железобетонным ростверком (заделка сваи и арматуры проверяется расчетом)

1 - монолитный железобетонный ростверк; 2 - выпуски продольной арматуры сваи; 3 - бетонная подготовка

Рис. 32. Пример конструктивного решения сопряжения буронабивной сваи, работающей на нормальную сжимающую нагрузку, не выходящую за пределы ядра сечения сваи, с монолитным железобетонным ростверком

1 - буронабивная свая; 2 - бетонная подготовка; 3 - арматура сваи

Рис. 33. Примеры конструктивного решения сопряжения железобетонных полых круглых свай диаметром 300 - 800 мм, работающих на нормальные сжимающие усилия, не выходящие за пределы ядра сечения сваи, с железобетонными ростверками

а - сопряжение с монолитными кустовыми или ленточными ростверками при недобивке свай до проектной отметки; б - сопряжения с монолитными ленточными ростверками при погружении свай до проектной отметки; в - свободное сопряжение с монолитным железобетонным ростверком: 1 - продольная арматура сваи; 2 - монолитный железобетонный ростверк; 3 - бетонная подготовка; 4 - бетонная пробка сверху сваи; 5 - заполнение полости сваи местным грунтом; 6 - дополнительные продольные арматурные стержни; d - наружный диаметр сваи; hp - высота ростверка; bр - ширина ростверка, определяемая из расчета на местное сжатие (смятие) бетона стенок сваи

Для свайных фундаментов производственных, жилых, общественных и других подобных им зданий и сооружений конструкция узла сопряжения свай с ростверком.

Шарнирная заделка сваи осуществляется посредством заделки головы сваи в ростверк на 5 см. Такая величина заделки необходима в целях обеспечения равномерной передачи нагрузки по всему сечению сваи. Необходимость в выпусках арматуры при шарнирной заделке отпадает.

Применение жесткой заделки диктуется конструктивными требованиями, например, ограничением горизонтального перемещения верха сваи, или необходимостью восприятия действующих на сваю растягивающих напряжений. В последнем случае помимо обеспечения расчетной заделки выпусков арматуры следует проверить сечение арматуры сваи на воздействие растягивающих усилий.

В свайных фундаментах мостов верхние концы свай должны быть заделаны в плиту ростверка (выше слоя бетона, уложенного подводным способом) или в железобетонную насадку (в ригель) на величину, определяемую расчетом в случае наличия в узле сопряжения растягивающих усилий, но не менее чем на две толщины ствола сваи, а при толщине ствола сваи более 0,6 м - не менее чем на 1,2 м. Допускается также для фундаментов этих сооружений заделка ствола сваи в плиту ростверка на длину не менее 0,15 м при условии заделки в плиту ростверка выпусков стержней продольной арматуры (без устройства отгибов и крюков) на длину, определяемую расчетом, но не менее 25 диаметров стержня при арматуре периодического профиля и 40 диаметров - при гладкой арматуре.

Рис. 34. Примеры конструктивного решения сопряжения железобетонных свай квадратного (сплошного и с круглой полостью) сечения, работающих на нормальные сжимающие усилия, не выходящие за пределы ядра сечения свай, с ростверком или с колонной

а - сопряжение с монолитным ростверком при помощи сборного оголовка при погружении свай до проектной отметки; б - то же, при недобивке свай; в - сопряжение со сборной колонной при помощи сборной насадки при погружении свай до проектной отметки; г - то же, при недобивке свай; 1 - монолитный железобетонный ростверк; 2 - сборный железобетонный оголовок; 3 - заполнение полости оголовка и насадки бетоном; 4 - бетонная подготовка; 5 - выпуски арматуры; 6 - сборная колонна; 7 - сборная железобетонная насадка; 8 - участок сваи, срезаемый вместе с арматурой; Нн - высота сборной насадки; hз - глубина заделки колонн в стакан; d - размер поперечного сечения сваи

Рис. 35. Пример конструктивного решения сопряжений железобетонных свай с предварительно-напряженной арматурой, работающих на вертикальные сжимающие и поперечные усилия и моменты, а также на внецентренные сжимающие нагрузки, выходящие за пределы ядра сечения сваи, с ростверком

а - сопряжение со сборным ростверком при помощи сборного железобетонного оголовка; б - сопряжение с монолитным ростверком; 1 - сборный ростверк; 2 - сборный оголовок; 3 - дополнительный каркас из ненапрягаемой арматуры предусматривается в сваях длиной 6 м и более; длина заделки дополнительного каркаса в свае на 2,5 - 3 м, а в оголовке и монолитном ростверке по расчету (на изгиб от действия суммарного внешнего момента и максимального момента от горизонтальной силы и на срез от действия горизонтальной силы), но не менее чем на 20 диаметров продольного стержня каркаса и не менее чем на 250 мм; 4 - замоноличивание оголовка бетоном; 5 - монолитный ростверк; 6 - арматура ростверка

Рис. 36. Примеры конструктивного решения сопряжения буронабивных свай диаметром 0,4 - 0,6 м, работающих на нормальные сжимающие усилия (не более 25 тс), не выходящие за пределы ядра сечения сваи, со сборными колоннами одноэтажных малонагруженных зданий (например, сельскохозяйственного назначения)

а - соединение с помощью монолитного оголовка; б - соединение с помощью сборной насадки; 1 - колонна; 2 - монолитный железобетонный оголовок; 3 - бетонная подготовка; 4 - буронабивная свая; 5 - сборная железобетонная насадка; 6 - бетон замоноличивания стыка; d - диаметр буронабивной сваи; hз = величина заделки колонны в стакан; Dн - размер сборной насадки.

Сопряжение свай или свай-оболочек с ростверком (плитой) или насадкой должны обеспечивать надежную работу конструкции при воздействии расчетных усилий.

Напряжение в бетоне ростверковой плиты от давления, передаваемого торцом сваи или сваи-оболочки, не должно превышать расчетного сопротивления бетона ростверковой плиты (для осевого сжатия по всей площади) более чем на 30 %. Для выполнения этого требования в необходимых случаях рекомендуется повышать марку бетона ростверковой плиты.

В проектах свайных фундаментов кирпичных и крупноблочных зданий, а также производственных зданий и сооружений ростверки следует предусматривать преимущественно монолитными. В крупнопанельных бескаркасных домах до 12 этажей (включительно) при нагрузке на сваю до 50 тс и опирании панелей не менее чем на две сваи целесообразно применять безростверковые свайные фундаменты, в которых роль ростверка выполняют панели первого этажа перекрытия. В остальных случаях для крупнопанельных домов рекомендуется предусматривать сборные балочные ростверки с отметкой верха на уровне низа перекрытия над подпольем, укладываемые по оголовкам сваи.

При конструировании и армировании ростверков следует использовать узлы, детали и изделия по рабочим чертежам типовых конструкций свайных фундаментов зданий и сооружений.

Метод расчета железобетонных ленточных ростверков под стены кирпичных и крупноблочных зданий приведен в прил. 9. Рекомендации по расчету железобетонных балочных ростверков свайных фундаментов под крупнопанельные здания даны в прил. 10; основные положения по расчету железобетонных плитных ростверков свайных фундаментов под колонны зданий и сооружений изложены в прил. 11, а особенности проектирования безростверковых свайных фундаментов жилых домов - в прил. 12.

Рис. 37. Примеры сопряжения одиночных полых круглых свай и свай-оболочек с колонной

1 - колонна; 2 - свая-оболочка; 3 - насадка; 4 - полая круглая свая; 5 - монолитный стакан

Рис. 38. Примеры сопряжении одиночных буронабивных свай с колонной

1 - колонна; 2 - насадка; 3 - стакан; 4 - сетка косвенного армирования; 5 - набивная свая

При проектировании свайных фундаментов мостов, как правило, рекомендуется:

а) при расчетах заделки свай и свай-оболочек в плиту ростверка учитывать силы сцепления бетона омоноличивания с боковой поверхностью свай или свай-оболочек при условии соблюдения требований главы СНиП II-21-75, предъявляемых к сопряжениям старой и новой бетонной кладки;

б) размеры ростверка (плиты) свайного фундамента (или железобетонной насадки) в плане назначать таким образом, чтобы расстояние от края ростверка (плиты) до ближайшей сваи или сваи-оболочки диаметром до 2 м в свету (т.е., свес плиты) было не менее 0,25 м;

в) для свай-оболочек диаметром более 2 м и буронабивных свай большого диаметра устраивать плиты ростверка без свеса.

8.6. Жесткое соединение свай со сборным ростверком должно обеспечиваться колоколообразными оголовками. При сборном ростверке допускается также замоноличивание свай в специально предусмотренные в ростверке отверстия.

Примечание. При небольших вдавливающих нагрузках (порядка до 40 тс) допускается свободное опирание ростверка на выровненную цементным ростверком поверхность головы сваи.

К п. 8.6. Применение сборных ростверков рекомендуется, как правило, для крупнопанельных бескаркасных зданий с техподпольем при отметке верха ростверков на уровне низа перекрытия над подпольем. В этом случае сборные балочные ростверки укладываются по оголовкам свай. Примеры сопряжения сборного ростверка со сваей посредством оголовка и на растворе показаны на рис. 34, а, б, 35 а.

Сборные или сборно-монолитные ростверки для каркасных зданий, примеры сопряжения со сваями которых показаны, допускается применять лишь при технико-экономическом обосновании целесообразности их применения и отсутствии выдергивающих нагрузок на сваю. Сборные ростверки устанавливаются на бетонную подготовку, в которую заделывается на 5 - 10 см голова сваи без выпусков арматуры и которая служит выравнивающим слоем для голов свай.

Для крупнопанельных домов высотой до 12 этажей включительно можно применять безростверковые свайные фундаменты, рекомендации по проектированию которых приведены в прил. 12.

8.7. Сваи в кусте внецентренно-нагруженного фундамента следует размещать таким образом, чтобы равнодействующая постоянных нагрузок, действующих на фундамент, проходила возможно ближе к центру тяжести плана свай.

8.8. Для восприятия вертикальных нагрузок и моментов, а также горизонтальных нагрузок (в зависимости от их величины и направления) допускается предусматривать вертикальные, наклонные и козловые сваи.

К п. 8.8. Вопрос о целесообразности применения наклонных или козловых свай вместо вертикальных должен решаться в процессе проектирования в зависимости от следующих факторов:

а) величины горизонтальной нагрузки на сваю;

б) количества дополнительных свай, необходимых для восприятия горизонтальных нагрузок;

в) наличия сваебойного оборудования для погружения наклонных или козловых свай.

Для мостовых опор и гидротехнических сооружений с большими горизонтальными нагрузками применение наклонных свай и свай-оболочек, как правило, является целесообразным. В частности, свайные фундаменты устоев мостов следует проектировать с применением одного или нескольких рядов наклонных свай со стороны отверстия моста, а свайные фундаменты русловых опор с ростверком, расположенным над грунтом, следует проектировать с применением наклонных свай в четырех направлениях, устанавливаемых дополнительно к вертикальным сваям.

Наклонные сваи-оболочки и набивные сваи большого диаметра рекомендуется применять только в грунтах, не имеющих скальных прослоек и валунов размером более 0,3 м.

Величину наклона свай и свай-оболочек рекомендуется принимать не более указанной в табл. 27.

Таблица 27

Наклон забивных свай при d £ 1 м

Наклон свай и свай-оболочек диаметром, м

1 и 1,2

1,6

2

2

3 ¸ 1

4 ¸ 1

5 ¸ 1

8 ¸ 1

Наклон не рекомендуется

Рекомендации по проектированию фундаментов из коротких козловых свай приведены в прил. 13.

Железобетонные круглые полые сваи и сваи-оболочки можно применять для фундамента без заполнения их полости бетоном при условии обязательной проверки прочности стенки и стыковых соединений секций на воздействие расчетных вертикальных и горизонтальных нагрузок. Внутреннюю полость полых круглых свай и свай-оболочек нужно заполнять бетоном при устройстве в их основании уширения или при опирании или заделке низа сваи-оболочки в скальные грунты, а также при недостаточной прочности стенок и стыковых соединений на восприятие действующих нагрузок. Стальные элементы стыковых соединений должны быть защищены от коррозии в соответствии с главой СНиП II-28-73 «Защита строительных конструкций от коррозии».

В нижней части полости незаполняемых бетоном свай-оболочек диаметром 1 м и более на поверхности грунтового ядра необходимо устраивать бетонную пробку (исключая случай, предусмотренный п. 5.9) на высоту, определяемую расчетом и принимаемую равной не менее 3 м. В этом случае в проекте фундамента должно быть предусмотрено выполнение требований главы СНиП II-21-75, предъявляемых к сопряжению старой и новой бетонной кладки.

С внутренней стороны полых свай и свай-оболочек центрифугированного изготовления, заполняемых при необходимости бетоном и находящихся в зоне воздействия отрицательных температур, нужно удалять слой туфообразного шлама в целях предотвращения впитывания в него влаги из свежеуложенной бетонной смеси и возможности ее замерзания в замкнутой полости.

Наружную поверхность свай и свай-оболочек, находящихся в зоне воздействия перемещающихся крупнообломочных грунтов, необходимо защищать от истирания (например, стальными гильзами, железобетонными обоймами и т.п.).

Фундаменты опор мостов необходимо проектировать с соблюдением следующих дополнительных требований, обусловленных специфическими особенностями работы таких фундаментов:

а) конструкцию свайного фундамента и глубину заложения свай и свай-оболочек следует принимать такими, чтобы при максимально возможных размывах грунта у опор, как правило, не требовалось производить крепление дна русла;

б) сваи или сваи-оболочки устоев, расположенные в пределах массива подходной насыпи, необходимо проверить на одностороннее горизонтальное давление грунта со стороны насыпи;

в) низ железобетонных свай-оболочек в конструкции и буронабивных свай рекомендуется заглублять в грунт на 1 м ниже уровня, на котором растягивающие напряжения от изгиба свай равны расчетному сопротивлению их бетона на растяжение. Возможно ограничиваться заглублением конца сваи-оболочки у буронабивной сваи на 1 - 2 м ниже отметки местного размыва при условии передачи растягивающих напряжений от воздействия изгибающего момента (без учета оболочки) на арматурный каркас, установленный в теле буронабивной сваи и в бетоне, заполняющем полость оболочки;

г) сваи-оболочки и буронабивные сваи разрешается опирать на скальные грунты или заглублять в них.

На скальные грунты (без заглубления в них) разрешается опирать сваи-оболочки и буронабивные сваи при наличии поверху скальных грунтов неразмываемых наносных отложений такой толщиной слоя, в пределах которого погашается воздействие изгибающих моментов настолько, что в уровне низа свай-оболочек или буронабивных свай по всей площади их торца действуют только сжимающие напряжения.

При недостаточной несущей способности верхнего слоя скальных грунтов, возможности размыва верхнего слоя слабых грунтов, отсутствии наносных отложений или недостаточной их толщине для погашения воздействия изгибающих моментов сваи-оболочки и буронабивные сваи необходимо обязательно заделывать в скальные грунты на величину, определяемую расчетом. При этом величина заделки должна быть не менее 0,5 м в сплошной скале с пределом прочности на сжатие более 500 кгс/см2 и не менее 1 м в остальных скальных грунтах;

д) для свайных фундаментов, сооружаемых в постоянном шпунтовом ограждении или в котлованах без ограждений, необходимо предусматривать засыпку и уплотнение грунта в пазухах котлована;

е) для свайных опор (с ростверковой плитой, расположенной над грунтом) путепроводов, эстакад, пешеходных мостов рекомендуется применять полые железобетонные сваи и сваи-оболочки. При устройстве таких опор для эстакад на поймах рек или периодических водотоках необходимо предусматривать меры по предотвращению поступления воды в полость сваи или сваи-оболочки или же обеспечить ее отвод с тем, чтобы в период отрицательных температур в их полости не было воды.

8.9. Расстояние между осями висячих свай без уширения в плоскости их нижних концов должно быть не менее 3d (где d - диаметр круглого или сторона квадратного или большая сторона прямоугольного поперечного сечения ствола сваи), а свай-стоек - не менее 1,5 d.

Расстояние в свету между стволами свай-оболочек должно быть не менее 1 м, между уширениями буронабивных свай и свай-оболочек при устройстве их в сухих глинистых грунтах твердой и полутвердой консистенции - 0,5 м, а в остальных разновидностях нескальных грунтов - 1 м.

К п. 8.9. Расстояние между осями висячих, забивных и набивных свай диаметром до 0,8 м должно быть не менее 3 d.

Это требование диктуется, прежде всего тем, что при меньших расстояниях между сваями их несущая способность снижается.

Расстояние в свету между сваями-оболочками и буронабивными сваями диаметром более 0,8 м в уровне их нижних концов (а при наличии уширенных пят в уровне их наибольшего размера) и в уровне подошвы ростверка должно быть не менее 1 м.

Расстояние между осями свай-стоек предусматривается уменьшать до 1,5 d в целях экономии расхода материалов на ростверки в случаях, когда применяется сваебойное оборудование, позволяющее их забить на таком расстоянии, либо предусмотрены мероприятия, облегчающие их забивку (например, лидирующие скважины или подмыв).

Принятое минимальное расстояние между набивными сваями и их уширениями диктуется необходимостью обеспечения устойчивости стенок скважин.

8.10. Расчетная нагрузка на сваю N, тс, для фундаментов с вертикальными сваями определяется по формуле

                                      [44 (26)]

где Nф, Mх и My - соответственно расчетная сжимающая сила, тс, и расчетные моменты, тс×м, относительно главных центральных осей х и у плана свай в плоскости подошвы свайного ростверка;

п - число свай в фундаменте;

хi и уi - расстояния от главных осей до оси каждой сваи, м;

х и у - расстояние от главных осей до оси каждой сваи, для которой вычисляется расчетная нагрузка, м.

Распределение нагрузок между сваями фундаментов мостов следует определять расчетом их как рамной конструкции.

К п. 8.10. При действии на свайный фундамент нормальной силы и моментов в одном или двух направлениях кусты свай нужно проектировать таким образом, чтобы, как правило, максимальная нагрузка на крайние сваи в кусте не превышала расчетной нагрузки Р, допускаемой на сваю и определяемой по формуле [1 (1)], а также, чтобы отношение минимальных нагрузок к максимальным было бы не менее нуля. Если моменты по сравнению с нормальными силами настолько велики, что на крайние сваи действуют выдергивающие нагрузки, то это можно допустить при условии выполнения расчета достаточности продольной арматуры на растяжение и заделки в ростверк тела свай. Указанные расчеты производятся в соответствии с главой СНиП II-21-75.

Пример 28. Определить максимальную расчетную нагрузку на сваю для куста из восьми свай сечением 30´30 см, длиной 6 м при расстоянии между сваями 0,9 м (рис. 39).

Рис. 39. План куста свай

Расчетные нагрузки на фундамент:

Nф = 175 тс; Mх = 90 тс×м;

Решение. Расчетная максимальная нагрузка на сваю в кусте определяется по формуле

При низком ростверке и числе свай в кусте более девяти расчетную нагрузку на сваю возможно определять с учетом особенности работы куста на воздействие моментных нагрузок.

8.11. Горизонтальную нагрузку, действующую на фундамент с вертикальными сваями одинакового поперечного сечения, допускается принимать равномерно распределенной между всеми сваями.

К п. 8.11. Условно допускается принимать, что горизонтальная нагрузка, приложенная к свайному фундаменту, передается на все сваи в кусте или ленте равномерно. Такое допущение возможно, если учесть, что ростверк, объединяющий свайный куст, обладает жесткостью, во много раз большей жесткости всех свай рассматриваемого куста.

8.12. Проверка устойчивости свайного фундамента и его основания должна производиться в соответствии с требованиями главы СНиП по проектированию оснований зданий и сооружений с учетом действия дополнительных реакций от свай, приложенных к сдвигаемой части грунта.

Свайные фундаменты устоев и промежуточных опор мостов на крутых косогорах следует проверять на устойчивость против глубокого сдвига (смещения фундамента совместно с грунтом) по круглоцилиндрической или другой более неблагоприятной поверхности скольжения.

К п. 8.12. При проектировании мостов свайные фундаменты береговых, переходных и промежуточных опор на крутых склонах, а также устоев при высотах насыпи более 10 м во всех случаях, а при высотах насыпи от 5 до 10 м в случаях расположения над несущим слоем пласта глинистого грунта или прослойки насыщенного водой песка, подстилаемого глинистым грунтом, необходимо рассчитывать на устойчивость против глубокого сдвига (смещение совместно с грунтом) по круглоцилиндрическим поверхностям скольжения в соответствии с методикой, изложенной в прил. 14. Кроме того, при таких фундаментах следует проверять возможность локальных (местных) оползневых сдвигов на ранее устойчивых склонах вследствие воздействия веса насыпи и опоры, нарушения устойчивости пластов грунта в процессе производства работ или изменения режима (уровня) грунтовых и поверхностных вод.

8.13. Выбор длины свай должен производиться в зависимости от грунтовых условий строительной площадки. Нижний конец свай, как правило, следует заглублять в малосжимаемые грунты, прорезая более слабые напластования грунтов; при этом заглубление свай в грунты, принятые за основание под их нижние концы, должно быть не менее:

в крупнообломочные грунты, гравелистые, крупные и средней крупности песчаные грунты, а также глинистые грунты с показателем консистенции IL £ 0,1 - 0,5 м;

в прочие виды нескальных грунтов 1 м.

Примечание. Для фундаментов зданий и сооружений IV класса нижние концы свай допускается опирать на песчаные и глинистые грунты со степенью заторфованности q £ 0,25. В этом случае несущая способность свай должна определяться по результатам их испытаний статической нагрузкой. При наличии слоя погребенного торфа нижний конец свай должен быть заглублен не менее чем на 2 м ниже подошвы этого слоя.

К п. 8.13. При выборе длины свай и свай-оболочек необходимо учитывать геологические условия площадки строительства проектируемого объекта, обращая особое внимание на плотность песчаных грунтов, прочность и консистенцию глинистых грунтов, устанавливаемых по данным лабораторных исследований грунтов или по результатам статического, а для песков и динамического зондирования. Весьма достоверными данными для проектирования являются также результаты динамических и статических испытаний свай или их моделей.

Выбор несущего слоя грунта под нижними концами сваи должен производиться на основании анализа всех упомянутых данных, позволяющих, достаточно обоснованно назначить длину свай, имея в виду, что максимальную нагрузку на сваю можно допустить, когда нижние концы ее заглубляются в относительно плотные грунты.

Длину изготавливаемых свай рекомендуется принимать не менее 3 м, с тем, чтобы заглубление свай в грунт от подошвы ростверка было не менее 2,5 м.

Для легких бесподвальных зданий с несущими стенами, основание которых представлено песками средней плотности и твердыми и полутвердыми глинистыми грунтами, допускается применение свай с глубиной погружения 1,5 - 2 м, но не менее чем на 0,5 м ниже глубины промерзания. Несущая способность таких свай должна определяться только полевыми методами. Глубину заложения несущих элементов свайного фундамента, располагаемого в непосредственной близости от существующего сооружения, следует назначать с учетом способа производства работ, обеспечивающего сохранность эксплуатируемого сооружения.

Требование о величине заглубления нижних концов свай на 0,5 м объясняется тем, что кровля этих грунтов, как правило, неоднородная, выветрелая и содержит включения вышележащих сжимаемых слоев грунта, подлежащего прорезке.

При выборе длины забивных свай должен также решаться вопрос о способах и возможности их погружения в заданных грунтовых условиях. Его необходимо решать с учетом оборудования, имеющегося у строительной организации, которой намечается передать выполнение работ по устройству фундаментов на проектируемом объекте. При этом должна быть выявлена возможность забивки свай без применения каких-либо способов, облегчающих их погружение, или необходимость таких способов.

Непосредственное погружение свай в глинистые грунты с помощью паровоздушных, механических и дизельных молотов оказывается возможным в случае применения молотов с энергией удара Э, тс×м, не менее

                                                   (45)

где Фi - несущая способность сваи в пределах i-го пласта грунта, тс;

hi - толщина i-го пласта грунта, м;

N - число ударов молота в единицу времени, ударов в 1 мин;

t - время, отводимое на погружение сваи (имеется в виду время на чистое погружение сваи без учета подъемно-транспортных операций), мин;

Nt - число ударов молота, необходимое для погружения сваи, принимаемое обычно равным не более 500 ударов;

q - вес сваи, тс;

Q - вес ударной части молота, тс;

П - параметр, принимаемый равным П = 4,5 при паровоздушных, механических и штанговых дизель-молотах и П = 5,5 при трубчатых дизель-молотах.

При расчете по формуле (45) суммирование произведения Фihi должно производиться в пределах грунтовой толщи, подлежащей прорезке сваями. При этом указанную толщу обычно достаточно разбить на 3 - 4 слоя hi, в пределах которых величину несущей способности сваи в процессе ее погружения Фi можно принять приближенно постоянной. Определение Фi может производиться по табличным значениям расчетных сопротивлений грунтов в соответствии с методикой, изложенной в разделе 5 настоящей главы.

В случае, если строительная организация не имеет молотов с энергией удара, удовлетворяющих условию формулы (45), то необходимо в проекте предусмотреть применение в процессе погружения лидерных скважин или подмыва. При невозможности по каким-либо причинам использования в рассматриваемом случае этих способов необходимо решить вопрос о допустимости применения свайных фундаментов из забивных свай меньшей длины или о переходе к применению буронабивных свай.

8.14. Глубина заложения подошвы свайного ростверка должна назначаться в зависимости от конструктивных решений подземной части здания или сооружения (наличия подвала, технического подполья) и проекта планировки территории (срезкой или подсыпкой), а также высоты ростверка, определяемой расчетом. Для фундаментов мостов необходимо также учитывать глубину водотока и местного размыва дна русла у опоры.

При строительстве на пучинистых грунтах необходимо предусматривать меры, предотвращающие влияние сил морозного пучения грунта на свайный ростверк, руководствуясь в расчете соответствующими требованиями, изложенными в главе СНиП по проектированию оснований зданий и сооружений.

К п. 8.14. Глубину заложения подошвы ростверков зданий и сооружений (кроме мостов) необходимо назначать с учетом следующих положений:

а) в жилых общественных каменных зданиях при отсутствии подполья, а также при наличии двухтраншейного подполья подошва ростверка должна быть на 0,1 - 0,15 м ниже планировочных отметок. При глинистых грунтах под ростверком наружных стен следует предусматривать укладку слоя щебня, шлака или крупнозернистого песка толщиной не менее 0,2 м, а под внутренними стенами - слоя щебня, шлака или тощего бетона толщиной не менее 0,1 м. При песчаных грунтах ростверк под наружные и внутренние стены нужно укладывать по слою щебня, шлака или тощего бетона толщиной не менее 0,1 м;

б) в жилых и общественных зданиях при наличии подвала или технического подполья под всем зданием ростверки под наружные стены закладываются с отметкой подошвы, равной отметке пола подвала; а под внутренние стены - с отметкой верха, равной отметке пола подвала;

в) в крупнопанельных жилых и общественных зданиях с техническим подпольем отметки подошвы ростверка под наружными стенами должны назначаться с учетом высоты цокольных панелей и необходимости обеспечения технического подполья от промерзания; ростверки под внутренние стены, как правило, рекомендуется закладывать выше пола технического подполья, доведя отметку верха ростверка до уровня низа перекрытия над подпольем;

г) в производственных зданиях глубина заложения подошвы ростверки при наличии подвала и примыкающих к ростверку технологических каналов или приямков назначается с таким расчетом, чтобы отметка верха ростверка соответствовала отметке пола подвала или примыкающих заглубленных помещений, а при отсутствии вблизи ростверков заглубленных помещений верх ростверка назначается от уровня планировочных отметок;

д) если свайный фундамент проектируется на сильнопучинистых грунтах, то между грунтом и подошвой ростверков, под которыми грунт в процессе эксплуатации здания или сооружения может промерзнуть, необходимо предусмотреть воздушный зазор не менее 0,2 м, причем сохранность этого зазора должна быть предусмотрена на все время эксплуатации здания.

Глубину заложения подошвы ростверка свайных фундаментов мостов и гидротехнических сооружений нужно назначать:

в непучинистых грунтах - на любом уровне независимо от глубины сезонного промерзания при условии залегания указанных непучинистых грунтов ниже глубины промерзания не менее 1 м;

в пучинистых грунтах - вне пределов промерзания (ниже глубины сезонного промерзания или выше дневной поверхности грунта) с запасом не менее 0,25 м;

в русле реки - на любом уровне (в том числе выше дна русла реки) при отсутствии промерзания воды до дна, но не менее чем на v + 0,25 м ниже уровня низкого ледостава, где v - толщина льда в м;

при наличии ледохода или корчехода - с таким расчетом, чтобы сваи и сваи-оболочки не подвергались их воздействию. Пересечение трубопроводами свайных ростверков, как правило, не разрешается.

9. ОСОБЕННОСТИ ПРОЕКТИРОВАНИЯ СВАЙНЫХ ФУНДАМЕНТОВ В ПРОСАДОЧНЫХ ГРУНТАХ

9.1. Свайные фундаменты в просадочных грунтах следует проектировать исходя из условия возможного полного замачивания грунтов в основании фундаментов (аварийного или в результате подъема уровня грунтовых вод), за исключением случаев, когда по прогнозу в соответствии с гидрогеологическими условиями и условиями эксплуатации зданий и сооружений подъем уровня грунтовых вод или местное замачивание грунта невозможно, либо случаев, когда по прогнозу подъем уровня грунтовых вод невозможен, а против случайного местного замачивания грунта в проекте предусматриваются водозащитные мероприятия; в последнем случае в проекте должны быть предусмотрены также конструктивные мероприятия, обеспечивающие прочность и устойчивость зданий и сооружений при аварийном замачивании грунта.

Примечание. Просадочные грунты основания следует относить к полностью замоченным при степени влажности G ³ 0,8.

К п. 9.1. Проектирование свайных фундаментов зданий и сооружений на просадочных грунтах следует вести в зависимости от конструкции, нагрузок и назначения возводимого объекта, типа грунтовых условий по просадочности, величины возможной просадки грунтов от собственного веса вышележащих слоев грунта, глубины залегания супесчано-суглинистых грунтов, их плотности и степени снижения характеристик механических свойств грунтов от замачивания. Особенно важно при этом правильно оценить гидрогеологические условия застраиваемой территории, характер и направление возможного замачивания грунтов основания в период строительства и эксплуатации сооружения. При решении основного вопроса о выборе типа фундамента и назначения его основных размеров в каждом случае все указанные факторы следует рассматривать комплексно.

Применение свайных фундаментов из висячих свай оказывается целесообразным при соответствующем технико-экономическом обосновании для объектов промышленного и гражданского строительства, возводимых в грунтовых условиях I типа по просадочности, а также II типа при величине возможной просадки грунтов от собственного веса вышележащих слоев менее 30 см.

С особой осторожностью следует относиться к выбору вида фундамента и способа подготовки основания при наличии грунтовых условий II типа с величиной возможной просадки от собственного веса грунтов более 30 см. В этих случаях независимо от величины внешних нагрузок, передаваемых фундаменту от веса зданий и сооружений, просадка грунтов в результате их замачивания может вызвать столь существенное дополнительное нагружение свай силами негативного трения, что несущая способность висячих свай по грунту окажется необеспеченной. Ввиду этого обстоятельства в «Руководстве по проектированию свайных фундаментов зданий и сооружений, возводимых на просадочных грунтах» (М, Стройиздат, 1969) сопротивление по боковой поверхности свай в просадочных грунтах в грунтовых условиях II типа по просадочности принималось равным нулю. В настоящем СНиП сопротивление по некоторой (нижней) части боковой поверхности свай вводится в расчет в соответствии с формулой [75 (28)]. Особенно велики и опасны силы негативного трения при залегании просадочных слоев грунтов со значительной величиной относительной просадочности (dпр > 0,02) на глубинах более 10 м от поверхности земли. В этих особо тяжелых грунтовых условиях, как правило, оказывается недостаточной прорезка всех слоев просадочного грунта с оставлением нижних концов свай в непросадочных суглинках, а требуется их заглубление в слои малосжимаемых или практически несжимаемых коренных пород.

При проектировании свайных фундаментов зданий и сооружений на просадочных грунтах учитывается возможный характер замачивания оснований в период строительства и эксплуатации.

Возможны и такие случаи строительства, когда замачивание оснований вообще исключено. Например, возведение опор линий электропередачи в незаселенной местности без нарушения путей естественного стока поверхностных вод.

По характеру и направлению замачивания следует различать два основных случая: возможное аварийное замачивание грунтов основания и возможный подъем уровня грунтовых вод на застраиваемой площадке.

Под аварийным понимается замачивание грунтов вследствие различных внезапных повреждений в инженерных коммуникациях, несущих воду, либо в результате систематических утечек воды из неисправных сетей и соединений, вызывающих постепенное замачивание грунтов толщи в направлении сверху вниз. Последнее особенно опасно и характерно для систем канализации. Согласно п. 4.5 главы СНиП II-15-74, различают местное и интенсивное замачивания как разновидности аварийного.

Подъем уровня грунтовых вод на застроенной территории происходит вследствие ряда причин:

а) при устройстве водохранилищ вблизи застроенного района в результате фильтрации воды из водохранилища;

б) при наличии мокрого технологического процесса в здании или сооружении либо при наличии технологии, требующей большого водопотребления;

в) при неправильном отводе поверхностных вод, допускающем их инфильтрацию в грунт;

г) в результате систематических утечек воды из инженерных коммуникаций, несущих воду.

Следует различать случаи, когда подъем уровня воды невозможен. Например, при устройстве сооружений по верху или на склонах глубоких выемок, когда основание не может быть затоплено в направлении снизу вверх.

В общем случае при возможности аварийного замачивания или подъема уровня грунтовых вод предусматривается, что вся толща, сложенная просадочным грунтом, может быть полностью замочена. Проектирование свайного фундамента ведется из условий полного замачивания, так как это наихудший расчетный случай, принимая, что полностью замоченные грунты имеют степень водонасыщения G ³ 0,8. При этом следует иметь в виду, что основание части свайного фундамента значительных размеров в плане либо соседнего фундамента может быть не замочено, что потребует проведения расчета конструкций на неравномерную осадку.

В отдельных случаях, отобранных проектной организацией, при малом водопотреблении, например на ряде объектов сельского и малоэтажного (не более трех этажей) строительства, возводимого на больших толщах просадочного грунта, относящихся к грунтовым условиям II типа по просадочности, допускается проектировать свайные фундаменты из условий замачивания не на всю толщу, исключая возможность просадки грунтов от собственного веса.

При проектировании зданий и сооружений, возводимых на просадочных грунтах, всегда в большем или меньшем объеме, предусматривается выполнение комплекса водозащитных мероприятий в зависимости от типа грунтовых условий по просадочности и величины возможной просадки грунтов под собственным весом. Так, требования к компоновке генерального плана застройки территории, к вертикальной планировке площадок, к организованному отводу воды из зданий и сооружений, а также с их крыш в ливнесточную сеть являются общими для строительства на просадочных грунтах независимо от типа фундамента. Требования эти изложены в «Руководстве по проектированию оснований зданий и сооружений» (М. Стройиздат, 1978). Там же приведены требования к усиленной водозащите, устраиваемой в грунтовых условиях II типа по просадочности, а требования к прокладке магистральных сетей, несущих воду, приведены в главе СНиП II-31-74 «Водоснабжение. Наружные сети и сооружения».

В грунтовых условиях II типа по просадочности при возможной величине просадки грунтов от собственного веса, превышающей 30 см, прокладку всех инженерных коммуникаций, несущих воду, рекомендуется вести в проходных коллекторах.

В последние годы в связи с общим увеличением водопотребления в населенных пунктах и на промышленных предприятиях, особенно в связи с развитием сетей теплофикации и оборудованием жилых зданий горячим водоснабжением, участились случаи промачивания толщ просадочных грунтов и увеличилась скорость подъема уровня грунтовых вод. В тяжелых групповых условиях II типа по просадочности, когда возможна просадка от действия собственного веса грунтов превышает 30 см, на это обстоятельство необходимо обратить особое внимание. Такие факты должны быть своевременно обнаружены путем проведения систематических наблюдений за уровнем подъема грунтовых вод и за осадками отдельных зданий и сооружений.

В тяжелых грунтовых условиях II типа по просадочности независимо от применяемого типа фундамента должны соблюдаться и некоторые конструктивные мероприятия. К ним следует отнести разрезку зданий и сооружений осадочными швами на отдельные жесткие отсеки, а также обеспечение возможности рихтовки подкрановых путей у промышленных сооружений на величину не менее 1/2 расчетной просадки грунтов от собственного веса вышележащих слоев и др.

9.2. В просадочных грунтах помимо свай, указанных в разделе 2 настоящей главы, допускается применять также набивные бетонные и железобетонные сваи диаметром до 500 мм включительно, устраиваемые в пробуренных скважинах с забоем, уплотненным трамбованием на глубину не менее 3d (где d - диаметр скважины).

К п. 9.2. Висячие буронабивные сваи обычной конструкции и значительной длины (более 10 м), прорезающие просадочные грунты, передают нагрузку в основном через боковую поверхность. На нижний конец вплоть до предельной нагрузки, предшествующей срыву сваи, приходится обычно около 10 % общего сопротивления. Во время срыва сваи напряжение по нижнему концу растет, однако это увеличение сопротивления нельзя вводить в расчет ввиду того, что осадки сваи при этом уже, как правило, превышают допустимые. Для того чтобы увеличить сопротивление буронабивных свай по нижнему концу, целесообразно предварительно уплотнить забой пробуренных скважин путем пробивки грунта и втрамбовывания в него щебня. Диаметр скважин, для которых до последнего времени была разработана конструкция трамбовок и технология уплотнения, не превышал 500 мм. В настоящее время оборудование и технология уплотнения забоя разработаны для скважин диаметром до 1000 мм.

Несущая способность такой сваи устанавливается проведением статического испытания сваи с замачиванием основания. Для предварительных расчетов допускается принимать расчетное сопротивление по нижнему концу свай с уплотненным забоем как для забивных свай.

Сопротивление по нижнем концу свай в результате пробивки увеличивается до 3 раз.

9.3. В случае, если по результатам инженерных изысканий установлено, что погружение забивных свай в просадочных грунтах затруднено, в проекте должно предусматриваться устройство лидерных скважин, диаметр которых следует назначать меньше размера сечения сваи до 50 мм.

К п. 9.3. Погружение забивных свай на глубину более 7 м в просадочные грунты малой влажности (при степени влажности G < 0,5) требует использования тяжелых молотов, большого количества ударов молота, а в некоторых случаях вообще невозможно из-за поломки свай при забивке в твердые грунты.

Во избежание трудностей, связанных с забивкой свай в просадочные грунты, их следует погружать с устройством лидерных скважин.

Лидерные скважины пробуриваются по центру будущей сваи диаметром не менее 100 мм и не более стороны поперечного сечения сваи за вычетом 50 мм. Длина лидерных скважин должна быть меньше глубины погружения сваи на величину, равную 3d, где d - диаметр сваи, но не менее 1 м. Это необходимо для образования уплотненного ядра под нижним концом сваи, как это имеет место у забивных свай, погружаемых без устройства лидерных скважин. После устройства лидерных скважин целесообразно их залить водой 2 раза и выдержать не менее 1 сут. до начала забивки свай.

9.4. При инженерно-геологических изысканиях на строительных площадках, сложенных просадочными грунтами, следует определять тип грунтовых условий по просадочности и выделять слои грунта с относительной просадочностью dпр<0,02 при давлении р = 3 кгс/см2.

На застраиваемой территории должен быть тщательно изучен гидрогеологический режим грунтовых вод и дан прогноз возможного его изменения в период эксплуатации проектируемых и существующих зданий и сооружений.

К п. 9.4. Назначение размеров свай при проектировании и прежде всего их длины, а также расчет свай по грунту производятся в зависимости от типа грунтовых условий по просадочности. Поэтому в состав инженерно-геологических изысканий на строительных площадках, сложенных просадочными грунтами, входит определение типа грунтовых условий по просадочности. Во вновь осваиваемых районах тип грунтовых условий по просадочности определяется путем проведения длительного опытного замачивания грунта из котлована. Параллельно проводится шурфование на всю глубину залегания просадочной толщи с определением путем лабораторных испытаний на просадочность возможной величины просадки грунтов под собственным весом вышележащих слоев, т.е. под природным давлением. При этом находится граница, ниже которой слои грунта характеризуются величиной относительной просадочности dпр < 0,02 под давлением р = 3 кгс/см2. Последнее необходимо для предварительного, выполняемого на стадии технического проекта назначения длины сваи в грунтовых условиях I типа по просадочности. В грунтовых условиях II типа по просадочности вся просадочная толща должна прорезаться сваями. Принимаемые в проекте размеры сваи в просадочных грунтах устанавливаются только после определения их фактической несущей способности, как правило, с использованием результатов статических испытаний свай с замачиванием грунтов.

Изучение гидрогеологического режима грунтовых вод и возможности его изменения в период эксплуатации зданий и сооружений необходимо для прогноза скорости подъема уровня грунтовых вод и в связи с этим замачивания просадочной толщи снизу вверх. Таким образом, в зависимости от результатов прогнозирования условий и режима замачивания решается вопрос о расчетном случае - будут ли это условия аварийного замачивания или вместе с тем условия возможного подъема уровня грунтовых вод.

9.5. Просадочные и другие виды грунтов, прочностные и деформационные характеристики которых снижаются при замачивании, во всех случаях при толщине слоя до 30 м рекомендуется полностью прорезать сваями.

Если прорезка указанного слоя просадочных грунтов применительно к конкретным условиям строительства здания или сооружения экономически нецелесообразна, то в грунтовых условиях I типа по просадочности допускается устройство свай с заглублением их нижних концов не менее чем на 1 м в слой грунта с относительной просадочностью dпр < 0,02 (при давлении 3 кгс/см2, но не менее величины природного давления в грунте от веса вышележащих слоев).

Примечания: 1. При проектировании свайных фундаментов опор мостов и фундаментов из свай-оболочек любых зданий и сооружений должна предусматриваться, как правило, полная прорезка грунта просадочной толщи и заглубление нижних концов свай в непросадочные грунты.

2. Сваи и сваи-колонны для малоэтажных зданий IV класса допускается опирать нижними концами на просадочные грунты с относительной просадочностью dпр³0,02 при давлении 3 кгс/см2, если при этом обеспечивается требуемая по расчету несущая способность свай по грунту основания. Такой способ операция допускается также применять для свай и свай-колонн, работающих в грунтах II типа по просадочности, если по прогнозу в соответствии с гидрогеологическими условиями и условиями эксплуатации зданий и сооружений невозможен подъем уровня грунтовых вод и аварийное замачивание грунтов и, следовательно, невозможна просадка грунтов от собственного веса вышележащих слоев грунта.

К п. 9.5. Под просадочностью грунта, согласно СНиП, понимается его способность в некотором напряженном состоянии при замачивании давать дополнительные осадки. Основным критерием просадочности грунтов при этом является показатель степени их сжимаемости при замачивании без возможности бокового расширения в стороны. Учет этих деформаций сжатия производится при величине относительной просадочности грунтов dпр ³ 0,01 (глава СНиП II-15-74, пп. 2.13, 2.14 и 4.1).

Однако рассмотрение поведения свай в грунтовых условиях I типа по просадочности при замачивании оснований указывает на то, что остаточные деформации грунта в основании свай при возрастании вертикальной нагрузки вплоть до предельного значения чрезвычайно малы - как правило, не превышают 10 мм. При незначительном превышении предельной нагрузки происходит так называемый «срыв сваи» - свая получает уже незатухающие осадки, связанные с разрушением основания. Исследования показали, что несущая способность сваи и свайных фундаментов снижается при замачивании вследствие существенного уменьшения прочности грунта, в основном за счет уменьшения его сцепления. Снижение несущей способности свай от замачивания основания в некоторых просадочных грунтах может достигнуть 60 % и более, поэтому при небольшой толщине слоя их, как правило, рекомендуется прорезать сваями и заглубляться в непросадочные грунты. Как уже было указано в пояснениях к п. 9.4, принятые в проекте размеры свай и, прежде всего, их длина в просадочных, как и в любых других грунтах должна обеспечить необходимую несущую способность при допустимых осадках каждого проектируемого здания и сооружения. Если полная прорезка слоя просадочных грунтов при проектировании здания или сооружения экономически нецелесообразна, например строительство малоэтажного здания на толще просадочного грунта, превышающей 10 м, то в грунтовых условиях I типа по просадочности допускается заглубление нижних концов в слабопросадочные грунты с относительной просадочностью dпр < 0,02 под давлением 3 кгс/см2 при обеспечении требуемой проектом несущей способности сваи по грунту основания и удовлетворение расчета основания свайного фундамента по деформациям (осадке и крену) в соответствии с разделом 7 настоящего Руководства.

Допускается опирать нижние концы свай на просадочные грунты с относительной просадочностью dпр ³ 0,02 при давлении 3 кгс/см2 для малоэтажных зданий при обеспечении несущей способности свай по грунту основания и допустимых по расчету их осадок в грунтовых условиях I типа по просадочности, а во II типе, кроме того, при исключении возможности просадки грунтов под собственным весом вышележащих слоев.

9.6. Расчет свай или свай-оболочек по несущей способности, а также расчет их на совместное действие вертикальных и горизонтальных нагрузок и моментов при устройстве фундаментов в просадочных грунтах следует проводить в соответствии с указаниями раздела 5 и приложения к настоящей главе с учетом следующих дополнительных условий:

а) если возможно местное или аварийное замачивание грунтов либо подъем уровня грунтовых вод, расчетные сопротивления просадочных грунтов под нижним концом R и на боковой поверхности f сваи (табл. 1, 2 и 7), коэффициент пропорциональности К (табл. 1 приложения к настоящей главе) и модуль деформации Е следует принимать по величине показателя консистенции грунта il, соответствующей условию замачивания просадочного грунта до степени влажности G ³ 0,8 и определяемой по формуле

                                             [46 (27)]

где е - коэффициент пористости просадочного грунта;

gW - удельный вес воды, принимаемый gW = 1 тс/м3;

gs - удельный вес грунта, тс/м3;

WP и WL - влажность просадочного грунта соответственно на границе раскатывания и на границе текучести в долях единицы.

при IL < 0,4 следует принимать IL = 0,4;

б) если возможно только местное аварийное замачивание части грунта просадочной толщи в пределах длины сваи, то определенные указанным в подпункте «а» способом расчетные сопротивления просадочных грунтов R и f следует умножать на дополнительный коэффициент условий работы тд = 1,4;

в) если в соответствии с гидрогеологическими условиями и условиями эксплуатации зданий и сооружений подъем уровня грунтовых вод или местное замачивание просадочных грунтов основания свай невозможны, то расчетные сопротивления грунтов под нижним концом R и на боковой поверхности f свай и свай-оболочек следует определять по табл. 1, 2 и 7, а коэффициент К - по табл. 1 приложения к настоящей главе в соответствии с фактической величиной показателя консистенции грунта в природном залегании. При этом предполагается, что возможно медленное повышение влажности просадочного грунта основания до влажности на границе раскатывания Wp, вызываемого нарушением природных условий испарения, если природная влажность грунта до начала строительства была меньше влажности Wp. Поэтому характеристики грунтов должны приниматься при влажности W = Wp, а в случае, если до начала строительства W > Wp, то при фактической природной влажности грунта W;

г) если площадка сложена грунтами II типа по просадочности, а величина ожидаемой просадки превышает предельно допускаемую величину осадки для проектируемого здания или сооружения, то должна учитываться возможность появления на боковой поверхности свай и свай-оболочек негативного трения грунта путем уменьшения их несущей способности в соответствии с указаниями п. 9.10 настоящей главы;

д) если возможно замачивание грунтов основания, то во всех расчетах значения угла внутреннего трения jI и удельного сцепления cI для просадочных грунтов должны приниматься применительно к случаю их полного водонасыщения, т.е. при степени влажности грунта G ³ 0,8.

К п. 9.6. Рассматриваемый пункт допускает в расчетах несущей способности свай в просадочных грунтах, находящихся под воздействием вертикальных, горизонтальных нагрузок и моментов, использовать методики, разработанные для обычных непросадочных грунтов. Эти расчеты приведены в разделе 5, в качестве основного фактора, от которого зависят несущая способность и горизонтальные перемещения свай, используют показатель консистенции грунта il.

Просадочные грунты при этом условии приводятся к грунтам, полностью замоченным водой до степени влажности G ³ 0,9 путем расчета по формуле [46 (27)].

В грунтовых условиях I типа по просадочности при возможном только аварийном местном замачивании грунтов сверху расчетные сопротивления просадочных грунтов R и f умножаются на дополнительный коэффициент условий работы mg = 1,4 исходя из соображений, что аварийное замачивание носит случайный характер и в подавляющем большинстве практических случаев либо не произойдет, либо утечка воды из неисправных коммуникаций будет устранена в короткий срок.

Рис. 40. Расчетная схема

В пояснениях к п. 9.5 указано, что несущая способность сваи в просадочных грунтах зависит от показателей прочности грунта и наблюдаемое существенное уменьшение ее при замачивании объясняется в основном снижением сцепления. Использование в СНиП показателя консистенции il в замоченном грунте природной плотности объясняется попыткой ввести единообразие в расчеты, выполняемые для любых грунтов, тем более что, как правило, сваи опираются нижними концами либо на непросадочный, либо на слабопросадочный грунт с dпр < 0,02 при р = 3 кгс/см2. Кроме того, учитывается, что при изысканиях для грунтов приводятся только их простейшие физико-механические характеристики. В случае, если по данным исследований известны прочностные характеристики для всех слоев грунта, то расчеты несущей способности свай целесообразно вести с учетом их величин. Ниже приводятся расчетные формулы, разработанные для определения несущей способности свай в просадочных грунтах на основе постановки задачи предельного равновесия грунта в основании сваи и решения с использованием параметров прочности грунтов: угла внутреннего трения jI и удельного сцепления сI.

Несущая способность забивных, набивных и набивных с уширенной пятой свай рассматривается сначала без учета возможной в грунтовых условиях II типа просадки грунтов под собственным весом, а далее по п. 9.10 с учетом просадки грунтов.

Несущая способность, тс, забивной сваи при этом определяется по формуле

Ф = т 1 + Р2 + Р3),                                              (47)

где т - коэффициент условий работы сваи, принимаемый равным 1;

P1 - сопротивление на участке ствола сваи n + l2 (рис. 40), тс;

P2 - сопротивление на участке ствола сваи по поверхности усеченного конуса, тc;

р3 - сопротивление под нижним концом сваи по шаровой поверхности, тс;

Р1 = и [п (0,5xgn tg jI + cI) + (xgn tg jI + cI) l2],                           (48)

где и - периметр сваи, м;

п - участок длины сваи, равный 12d, но не более 6 м;

x - коэффициент бокового давления грунта, равный 0,5;

jI - расчетное значение угла внутреннего трения, град;

cI - расчетное значение удельного сцепления грунта, тс/м;

l2 - участок длины сваи, м, равный

                                            (49)

где l - длина погруженной части сваи, м;

d - диаметр или сторона поперечного сечения, м;

                                      (50)

a = 45° - jI - kcI, град;                                               (51)

cI - сцепление грунта, тс/м2;

k - экспериментально полученный коэффициент, равный 2 м2×град/тс;

а - участок погруженной сваи, где боковое давление грунта равно 0; для забивной сваи а = 2,5 м;

Р2 = pу ctg jI (у + d) сI, тс,                                       (52)

где                            (53)

где , м;                                        (54)

 тс,                                 (55)

где

                          (56)

s1 - максимальное главное напряжение, тс/м2;

                                              (57)

где s3 - минимальное главное напряжение, тс/м2;

s3 = xgI n;                                                           (58)

gI - объемный вес грунта, тс/м3.

Характеристики грунта jI, cI, gI определяются в водонасыщенном состоянии.

Расчетная нагрузка, допускаемая на сваю, определяется по формуле

                                                              [59 (1)]

где kн - коэффициент надежности, принимаемый согласно п. 4.3 СНиП II-17-77.

Несущая способность буронабивной сваи определяется по формуле

Ф = т(Р + Р), тс,                                           (60)

где т - то же, что и в формуле (47);

Р - сопротивление на участке ствола сваи п + lн, определяемое как для забивной сваи по формуле (48), причем

lн = l - п - а, м,                                                   (61)

где п - то же, что для забивной сваи;

а - для набивной сваи, принимаемое равным 1 м;

Р - сопротивление под нижним концом сваи

Р = ks1 F, тс,                                                       (62)

где k - экспериментальный коэффициент при диаметре сваи 1 м ³ d ³ 0,5 м, равный 3;

F - площадь поперечного сечения сваи, м2;

s1 - определяется по формуле (57).

Значения характеристик грунта определяются в замоченном состоянии.

Несущая способность буронабивной сваи с уширенной пятой определяется по формуле

Ф = т(Р + Р), тс,                                              (63)

где т - то же, что и в формуле (47);

Р - сопротивление на участке ствола сваи п + lу, определяемое как для забивной сваи по формуле (48), причем

lу = l - п - а, м;                                                   (64)

где l - длина сваи до уширения;

n, а - принимаются такими же, как для набивной сваи без уширенной пяты;

Р = k1 s1 Fy, тс,                                               (65)

где k1 - экспериментальный коэффициент при  и 1 м ³ dу ³ 0,5 м, где dy - диаметр уширения, равный 2, при длине сваи l < 20 м;

s1 - определяется по формуле (57);

Fy - площадь наибольшего поперечного сечения уширенной пяты, м2.

В грунтовых условиях II типа по просадочности помимо снижения несущей способности свай от замачивания основания, как это имеет место в грунтовых условиях I типа, происходит уменьшение несущей способности от действия по боковой поверхности свай сил негативного трения. Последние возникают при просадке грунтовой толщи под собственным весом вследствие нависания грунтов на сваи и пригрузки их. Учет сил негативного трения, дополнительно нагружающих сваи, производится согласно п. 9.10.

Расчет свай в грунтовых условиях I типа по просадочности либо в грунтовых условиях II типа при исключении возможности просадки грунтов под собственным весом грунтовой толщи, на горизонтальную нагрузку и моменты с учетом упругопластических свойств материала сваи и грунта производится в соответствии с «Рекомендациями по расчету свай на горизонтальные нагрузки в просадочных грунтах» (М., НИИОСП, 1977). Рекомендации позволяют произвести расчет свай по несущей способности и по деформациям от воздействия горизонтальной нагрузки и моментов. Учет пластических свойств материала сваи и грунта приводит в большинстве случаев к существенному сокращению количества арматуры и способствует удешевлению строительства. В тяжелых грунтовых условиях II типа по просадочности с возможной величиной просадки от собственного веса грунтовой толщи свыше 30 см сваи при ее проявлении окажутся пригруженными дополнительными горизонтальными силами. Величина этих дополнительных сил до настоящего времени не исследовалась. Учитывая, что для обеспечения несущей способности свай и на вертикальную нагрузку в этих крайне тяжелых грунтовых условиях потребуются, как правило, сваи очень большой длины, целесообразно тем или иным известным способом исключить возможность проявления просадки либо вовсе отказаться в этом случае от варианта свайного фундамента.

9.7. Несущая способность свай в выштампованном ложе может назначаться в соответствии с требованиями п. 5.7 настоящей главы, как для забивных свай с наклонными гранями при соблюдении дополнительных требований, изложенных в п. 9.6 настоящей главы.

К п. 9.7. Сваи в выштампованном ложе образуются путем предварительного вытрамбовывания котлована элементом заостренной книзу формы, повторяющим по форме будущий фундамент, с последующим устройством последнего (авт. свид. № 314856).

В зависимости от отношения длины погруженной в грунт части фундамента к его ширине или диаметру конструкцию фундамента можно отнести к сваям или к малозаглубленным фундаментам, получившим, распространение под названием «фундаменты в вытрамбованных котлованах» или «сваи-опоры в уплотненном пробивкой основании». Фундаменты в выштампованном ложе устраиваются заостренной книзу формы - в виде конуса, усеченного конуса, пирамиды и т.п. Они изготовляются в двух вариантах: в сборном (из готовых элементов) и в виде набивных опор. Для воспринятия вертикальных нагрузок они почти не требуют арматуры и полностью исключают потребность в опалубке. Выштампованное ложе по характеру работы под нагрузкой приводит короткую набивную сваю к забивной. Несущая способность сваи в выштампованном ложе вследствие уплотнения грунта повышается на величину до 40 % в зависимости от ее длины и физико-механических свойств грунтов. В пояснениях к пп. 9.5 и 9.6 указывается на зависимость несущей способности свай от снижения характеристик прочности грунтов при замачивании. Чем выше пористость грунта в природном залегании, тем больше выявляются ошибки в определении несущей способности от показателя консистенции грунта. В связи с этим для коротких свай в выштампованном ложе, устраиваемых часто в просадочной неплотной среде, несущую способность рекомендуется определять в зависимости от характеристик прочности и плотности грунтов: jI, cI, gск.

Допускается при этом пользоваться приближенным методом, изложенным во «Временных указаниях по проектированию свайных фундаментов для сельскохозяйственных и малоэтажных зданий на просадочных грунтах» (РСН 262-74, Госстрой УССР, 1974). Расчет несущей способности конических и пирамидальных свай в выштампованном ложе по этому методу производится как для условного фундамента, площадь которого определяется по формуле

F = pRy2,                                                              (66)

где Rу - радиус уплотненной зоны, м, определяемый из уравнения

                                     (67)

где r1 и r2 - радиусы верхнего и нижнего поперечного сечения сваи в форме усеченного конуса, м.

В случае пирамидальной формы сваи

                                                                  (68)

где Fв и fн - площади верхнего и нижнего поперечного сечения сваи соответственно, м2;

h - глубина погружения сваи, м;

gск - объемный вес скелета грунта в природном состоянии, прорезаемого сваей, тс/м3.

Из решения уравнения (67) имеем

                                                  (69)

где                             (70)

а2 = 0,5h, м;                                                        (71)

а3 = 0,5r1, м2;                                                      (72)

                    (73)

Несущая способность сваи определяется по формуле

Ф = тFR, тс,                                                      (74)

где m - коэффициент условий работы, принимаемый в соответствии с формулой [14 (10)] СНиП II-17-77;

F - определяется по формуле (66);

R - расчетное давление на уплотненный грунт, вычисляемое по формуле (17) СНиП, глава II-15-74, при gск = 1,7 тс/м3 с использованием расчетных значений прочностных характеристик j1 и c1 уплотненных под водой грунтов. Последние определяются путем лабораторных испытаний.

9.8. Несущую способность свай и свай-оболочек в просадочных грунтах, по данным полевых испытаний, в случае возможного замачивания грунтов основания в процессе эксплуатации зданий и сооружений следует определять только на основании результатов статических испытаний свай и свай-оболочек, выполненных с полным замачиванием просадочного грунта вокруг испытываемой сваи или сваи-оболочки, в том числе под их нижними концами на расстоянии 5d (где d - диаметр круглого или сторона квадратного или большая сторона прямоугольного сечения сваи), до достижения грунтом в указанном объеме степени влажности G ³ 0,8, а при невозможности замачивания грунтов основания в процессе эксплуатации здания или сооружения - до влажности, соответствующей влажности грунта на границе раскатывания Wp, если W < Wp.

Не допускается определять несущую способность свай и свай-оболочек, устраиваемых в просадочных грунтах, по данным результатов их динамических испытаний, а также определять расчетные сопротивления просадочных грунтов под нижним концом R и на боковой поверхности f свай и свай-оболочек по данным результатов полевых испытаний этих грунтов зондированием.

К п. 9.8. Статические испытания свай и свай-оболочек в просадочных грунтах с целью определения их несущей способности, когда возможно замачивание грунтов в период эксплуатации здания или сооружения, проводятся при полном замачивании грунтов в пределах основания сваи, т.е. в наихудших условиях. При этом принимается степень влажности грунта G ³ 0,8, а не G = 1, так как в грунте всегда остается некоторое количество защемленного воздуха. Граница основания под сваей (с некоторым запасом) равна 5d. Такое замачивание грунтов в основании сваи следует считать «ограниченным замачиванием». Длительное замачивание грунтов на всю просадочную толщу с проявлением просадки грунтов под собственным весом вышележащих слоев предусматривается только в грунтовых условиях II типа по просадочности для учета возникающих при просадке грунта сил негативного трения, дополнительно нагружающих сваи. Статическое испытание сваи на вдавливание, а также на горизонтальную нагрузку производится на площадке, расположенной вблизи проектируемого объекта в тех же грунтовых условиях. Не допускается проведение статических испытаний свай с замачиванием грунтов непосредственно на территории проектируемого объекта.

Несущую способность свай и свай-оболочек, устраиваемых в просадочных грунтах, нельзя определять по данным динамических испытаний свай ввиду специфики вопроса, заключающейся в том, что сваи в этих грунтовых условиях погружаются и испытываются динамическим методом в грунтах природной влажности, а расчетным состоянием является замоченное. По этой же причине нельзя определять расчетные сопротивления просадочных грунтов под нижним концом R и на боковой поверхности f свай по данным полевых испытаний этих грунтов зондированием.

9.9. Несущую способность свай и свай-оболочек по данным испытаний их статической нагрузкой с замачиванием (п. 9.8 настоящей главы) в грунтовых условиях I и II типа по просадочности следует определять в соответствии с требованиями раздела 6 настоящей главы.

Кроме того, в грунтовых условиях II типа по просадочности в случае, когда установлена возможная просадка грунта от собственного веса больше предельно допускаемой величины осадки для проектируемого здания или сооружения, несущая способность сваи и сваи-оболочки, определенная по результатам статических испытаний, выполненных с локальным замачиванием, а следовательно, определенная без учета развития негативного трения, должна быть уменьшена в соответствии с указаниями п. 9.10 настоящей главы.

К п. 9.9. Методика статических испытаний свай в просадочных грунтах должна соответствовать ГОСТ 5636-78 на методы полевых испытаний свай и свай-оболочек и излагаемым в настоящем Руководстве дополнительным требованиям, связанным с необходимым замачиванием грунтов. Погружение забивной либо устройство набивной опытной сваи производится в грунте природной влажности. Методы погружения опытных свай должны быть такими же, как предусмотрено в проекте производства работ. После погружения сваи производится замачивание ее основания, которое продолжается вплоть до окончания статического испытания. Замачивание просадочного грунта производится через специально отрываемые траншеи, устраиваемые по периметру опытной сваи или куста свай на расстоянии 1 м от них. Ширина траншеи понизу должна быть не менее 0,5 м, глубина траншеи 1 - 1,5 м. При длине свай более 10 м со дна траншеи для ускорения замачивания грунта устраиваются дренажные скважины. Диаметр скважин 10 - 20 см, глубина - не более 0,8l, где l - глубина погружения сваи. Скважины полностью, а траншея на 8 - 10 см при испытании вдавливающей нагрузкой и на всю глубину при действии горизонтальной нагрузки засыпаются гравием. В течение всего испытания в траншее поддерживается постоянный уровень воды. Для ускоренного замачивания слой воды в траншее должен быть толщиной порядка 1 м. Ориентировочный расход воды на увлажнение основания одиночной сваи длиной 7 м до начала испытаний должен быть не менее 100 м3 и на каждый последующий метр сваи добавляется по 20 м3. Время замачивания до начала испытания занимает примерно от 8 до 20 сут. в зависимости от глубины погружения сваи и фильтрационных свойств грунтов.

Контроль за увлажнением грунта по глубине толщи ведется путем бурения скважин с отбором проб грунта на влажность и плотность с целью определения его степени влажности G. После того как основание полностью замочено, приступают к нагружению сваи.

В процессе всего испытания сваи в замоченном грунте проводятся наблюдения за осадкой поверхности земли, для чего вокруг сваи устанавливается не менее четырех поверхностных марок на расстоянии порядка 3 - 4 м от опытной сваи.

В грунтовых условиях II типа по просадочности определение несущей способности и осадок одиночных, а также кустов свай должно производиться с учетом возможной просадки грунтов под собственным весом и действия негативных сил трения. Поэтому помимо испытания свай с «ограниченным замачиванием» производится длительное замачивание грунтов в котлованах вместе со сваями. Размер стороны квадратного в плане котлована должен быть равен глубине залегания просадочной толщи, но не менее 20 м. Сваи должны быть нагружены меньшей нагрузкой, чем величина несущей способности свай, определенная в условиях ограниченного замачивания с учетом возможности дополнительного нагружения их от сил негативного трения при просадке. Длина опытных свай определяется расчетом из условия полной прорезки всей просадочной толщи и достаточного заглубления в слой непросадочного грунта. Котлован должен быть оборудован наблюдательной сетью из поверхностных и глубинных реперов, по данным нивелировки которых можно было бы судить о величине послойных деформаций грунтов в пределах всей просадочной толщи. Целесообразно выполнять опытные сваи в виде тензометрических, позволяющих проводить измерения продольных усилий в разных поперечных сечениях ствола сваи для получения данных о распределении касательных напряжений по длине сваи и нормальных напряжений под ее концом в течение всего испытания. Такое испытание при наличии 20 м толщи просадочных грунтов занимает 3 мес. Ввиду значительной технической сложности выполнения этого эксперимента его следует проводить только в исключительных, особо ответственных случаях с привлечением научно-исследовательской организации по специальной программе. Во всех других случаях учет негативных сил трения следует производить по формуле, приведенной в п. 9.10, т.е. расчетным путем. Необходимые при этом данные о послойных деформациях просадочной толщи могут быть получены во вновь осваиваемых районах путем длительного замачивания толщи через котлован без свай либо по данным лабораторных испытаний грунтов на просадочность, выполненных для одного объекта по образцам, отобранным не менее чем из двух шурфов, полностью проходящих просадочную толщу грунтов.

9.10. Несущую способность ФII, тc, свай и свай-оболочек, работающих на сжимающую нагрузку в грунтовых условиях II типа по просадочности, с учетом возможности развития негативного трения грунта следует определять по формуле

,                                          [75 (28)]

где ф - несущая способность, тс, сваи и сваи-оболочки в просадочном грунте, определенная на основании статических испытаний с локальным замачиванием, а при их отсутствии - в соответствии с требованиями пп. 9.6 - 9.8 настоящей главы без учета возможности развития негативного трения грунта;

a - коэффициент, учитывающий влияние негативного трения, принимаемый для зданий и сооружений а = 1,4;

т - коэффициент условий работы, принимаемый m = 1;

и - периметр, м, участка ствола сваи и сваи-оболочки, расположенного в пределах слоев грунта, проседающих под действием собственного веса при замачивании;

fi - расчетное сопротивление i-го слоя просадочного грунта основания на боковой поверхности сваи и сваи-оболочки, тс/м2, определяемое в соответствии с указаниями п. 9.6 настоящей главы;

li - толщина, м, i-го слоя просадочного грунта, оседающего при замачивании и соприкасающегося с боковой поверхностью сваи;

hn - расчетная глубина, м, до которой производится суммирование сил бокового трения проседающих слоев грунта, принимаемая равной глубине, где величина просадки грунта от действия собственного веса равна предельно допускаемой осадке для проектируемого здания или сооружения, указанной в задании на проектирование, или по соответствующим данным, приведенным в главе СНиП по проектированию оснований зданий и сооружений.

Примечание. Величина просадки грунтов основания должна определяться в соответствии с требованиями, изложенными в главе СНиП по проектированию оснований зданий и сооружений.

К п. 9.10. Формула [75 (28)], позволяющая учесть силы негативного трения по боковой поверхности свай при просадке грунтов под собственным весом толщи, получена в результате обработки данных натурных испытаний свай в этих условиях.

Указанная в формуле [75 (28)] расчетная глубина hn определяется по графику зависимости суммарной величины просадки Sпp (ось абсцисс) от глубины расположения i-го слоя просадочного грунта h (ось ординат). Расчетная глубина hп - ордината, соответствующая допустимой осадке проектируемого здания или сооружения (рис. 41).

ПРИМЕРЫ РАСЧЕТОВ

Пример 29. Определить расчетную нагрузку, допускаемую на забивную сваю в просадочных грунтах. Глубина погруженной части сваи 8 м, поперечное сечение сваи 0,8´0,3 м. Грунтовые условия относятся к I типу по просадочности. Толща на глубину до 15 м сложена суглинистыми лессовыми грунтами делювиального происхождения, плотность которых с глубиной увеличивается. Подъем уровня грунтовых вод не ожидается. Возможно местное аварийное замачивание грунтов. Верхний 5-метровый слой суглинка (слой 1) характеризуется следующими осредненными показателями: объемный вес грунта g = 1,7 тс/м3; природная влажность W = 12,1 %; удельный вес грунта g = 2,69 тс/м3; граница текучести WL = 27,6 %; граница раскатывания Wр = 18 %; относительная просадочность грунта dгв = 0,04. Глубже 5-метрового слоя залегают суглинки (слой 2), у которых: g = 1,75 тс/м3; W = 13 %; gs = 2,7 тс/м3; WL = 28,5 %; Wp = 19 %, dпр = 0,015. Расчет производим для замоченного грунта в основании сваи. Поскольку параметры прочности этих грунтов не определены, расчет на стадии технического проектирования ведем по консистенции.

Решение. По формуле [46 (27)] СНиП II-17-77 определим показатель консистенции IL для замоченного грунта слоев 1 и 2:

плотность грунта для слоя 1;

коэффициент пористости

для слоя γD = 1,55 тс/м3;

По табл. 1 и 2 СНиП II-17-77 определим расчетные сопротивления грунтов R и f:

для слоя 1 имеем f1 - 3 = 0,47 тс/м2; f3 - 5 = 0,77 тс/м2;

для слоя 2 с учетом примеч. 2 к п. 5.5. СНиП II-17-77 имеем:

f5 = 1,7 тс/м2; R5 = 80 тс/м2.

С учетом коэффициента mg = 1,4, согласно п. 9.6 «б» СНиП II-17-77, по формуле [44] имеем:

Ф = 1×1,4 [1×80×0,09 + 1,2 (1×0,47×2 + 1×0,77×3 + 1×1,7×3)] = 24,1 тс.

Определим расчетную нагрузку, допускаемую на сваю, по формуле (1) СНиП II-17-77:

Пример 30. Определить несущую способность забивной сваи. Глубина погруженной части сваи 8 м, поперечное сечение сваи 0,3´0,3 м. Грунтовые условия относятся к I типу по просадочности. Возможно местное аварийное замачивание грунтов. Верхний 6-метровый слой суглинка имеет: g = 1,75 тс/м3; W = 15 %, угол внутреннего трения jI = 20°; удельное сцепление cI в замоченном до G = 0,8 грунте равно 1,1 тс/м2; dпр = 0,01 - 0,03; ниже слой суглинка имеет: g = 1,8 тс/м3; W = 12 %, jI = 19°; cI = 2 тс/м2; dпр = 0,01.

Решение. Предварительно по формулам (49) - (51) определяем:

a = 45 - 19 - 2×2 = 22°;

n = 12×0,3 = 3,6 м;

l2 = 8 + 0,15 - 3,6 - 0,64 - 2,5 = 1,41 м.

Сопротивление P1 определим по формуле (48):

P1 = 4×0,3 [3,6 (0,5×0,5×1,75×3,6×0,364 + 1,1) + (0,5×1,75×3,6×0,344 + 2) 1,41] = 12,45 тс.

По формулам (54) и (53) имеем:

R1 = 0,15 (1 + 2,475 + 2,904) = 0,96 м;

y = [0,96×0,946 + 0,64 - (0,64 - 0,15) 0,3262 - 0,15 (2,904 + 1] 0,344 = 0,31 м.

Сопротивление P2 определим по формуле (52):

Рг = 3,14×0,31×2,904 (0,31 + 0,3) 2 = 3,45 тс.

По формулам (56) - (58) имеем:

s3 = 0,5×1,75×3,6 = 3,15 тс/м2;

Сопротивление Р3 определим по формуле (55):

Р3 = 11,8(0,38×0,946 + 3,14×0,962×0,3262) = 7,88 тс.

С учетом коэффициента mg = 1,4 имеем по формуле (47):

Ф = 1×1,4 (12,45 + 3,45 + 7,88) = 33,3 тс.

Пример 31. Определить несущую способность Ф буронабивной сваи, устраиваемой сухим способом в просадочном грунте с опиранием на плотный лессовидный суглинок. Грунтовые условия II типа по просадочности. Толща на глубину 25 м сложена суглинистыми лессовыми грунтами. Подстилающий слой - водонасыщенный песок. Длина сваи 20 м, диаметр 1 м. На длину 15 м свая прорезает верхний просадочный слой суглинка с характеристиками грунтов: g = 1,79 тс/м3; jI = 17°; cI = 2,2 тс/м2. Нижний 5-метровый участок длины сваи находится в слое непросадочного суглинка с характеристиками: g = 1,89 тс/м3; jI = 19°; cI = 3 тс/м2. Возможная просадка от собственного веса грунта Sпр по данным длительного опытного замачивания грунтов в котловане, оборудованном глубинными реперами, составляет 44 см. Реперы, установленные на глубинах 6, 8, 11, 14, 17, 20 м дали осадки, равные 44; 40,8; 33,3; 14,2; 9; 0 соответственно. Поверхностные реперы дали ту же осадку, что и на глубине 6 м.

Решение. Определим несущую способность набивной сваи в условиях ограниченного замачивания, как в грунтовых условиях I типа по просадочности.

По формуле (61) имеем:

lн = 20 - 6 - 1 = 13 м.

Определим сопротивление P по формуле (48):

P = 2×3,14×0,5 [(0,5×0,5×1,79×6×0,306 + 2,2) 6 + (0,5×1,79×6×0,306 + 2,2) 8 + (0,5×1,79×6×0,344 + 3) 5] = 229,6 тс.

Главные напряжения s1 и s3 определим по формулам (57), (58):

s3 = 0,5×1,79×6 = 5,37 тс/м2;

Сопротивление Р определим по формуле (62):

Р = 3×18,98×3,14×0,52 = 44,7 тс.

Несущую способность буронабивной сваи вычислим по формуле (60):

Ф = 1(229,6 + 44,7) = 274,3 тс.

Определим несущую способность буронабивной сваи с учетом развития негативного трения грунта по стволу. По результатам длительного замачивания грунтов из котлована построим график зависимости si = f(h), где si - просадка отдельных слоев грунта, h - глубина расположения слоя (см. рис. 41).

рис. 41. График зависимости Si = f(h)

По величине допустимой осадки для проектируемого объекта, в данном случае равной 15 см, определим по графику положение нейтральной точки (н.т.) Последняя оказалась на глубине 13,7 м. Тогда по формуле [75 (28)] СНиП II-17-77 имеем:

где сопротивление по боковой поверхности вычислим в соответствии с формулой (48):

Пример 32. Определить расчетную нагрузку, допускаемую на набивную сваю с уширенной пятой. Длина сваи до уширения 17 м, диаметр ствола 1 м, диаметр уширенной пяты 2,2 м. Грунтовые условия те же, что и в примере 31.

Решение. По формуле (64) имеем:

lу = 17 - 6 - 1 = 10 м, из них 8 м в слое 1 и 2 м в слое 2. Сопротивление P1y определим по формуле (48):

P1y = 2×3,14×0,5 [(0,5×0,5×1,79×6×0,306 + 2,2) 6 + (0,5×1,79×6×0,306 + 2,2) 8 + (0,5×1,79×6×0,344 + 3) 2] = 183,91 тс.

Значения главных напряжений s1 и s3 те же, что и в примере 31:

s1 = 18,98 тс/м2;

s3 = 5,37 тс/м2.

Сопротивление Р2y определим по формуле (65):

Р2y = 2×18,98×3,14×1,12 = 144,22 тс.

Несущую способность Ф без учета негативного трения вычислим по формуле (63):

Ф = 1(183,91 + 144,22) = 328,13 тс.

С учетом негативного трения в тех же условиях, что и в примере 31, по формуле [75 (28)] СНиП II-17-77 будем иметь:

Расчетную нагрузку, допускаемую на сваю, определим по формуле (1) СНиП II-17-77:

Пример 33. Определить расчетную нагрузку, допускаемую на буронабивную сваю. Длина сваи 15 м, диаметр 0,6 м. Грунтовые условия относятся к I типу по просадочности. Верхний слой 1 на глубину 8 м сложен лессовым просадочным суглинком dQIV со следующими характеристиками: W = 12 %; gск = 1,51 тс/м3; gs = 2,7 тс/м3; WL = 32,2 %; Wр = 22,2 %; ниже расположен слой 2, толщина слоя 3 м, лессовидный суглинок dQIII непросадочный: W = 16 %, gск = 1,65 тс/м3; gs = 2,68 тс/м3; WL = 36,1 %; Wр = 20,1 %; подстилающий слой 3 - лессовая глина dQII: W = 18,4 %; gск = 1,8 тс/м3; gs = 2,72 тс/м3; WL = 43,9 %; Wp = 24,2 %. Грунтовые воды на глубину до 20 м не встречены.

Решение. Для верхнего слоя 1:

Показатели консистенции IL определим по формуле [46 (27)] СНиП II-17-77:

для слоя 1:

для слоя 2:

для слоя 3:

При IL < 0,4, согласно п. 9.6 «а» СНиП II-17-77, принимаем IL = 0,4; с учетом коэффициента mg (п. 9.6 «б» СНиП II-17-77) по формуле [10] СНиП II-17-77 имеем:

Ф = 0,8×1,4 (1×110×0,28 + 1,88×0,7 S(1,47×2 + 2,45×2 + 2,85×2 + 3,14×2 + 3,35×2 + 3,48×1 + 3,56×2 + 3,72×2) = 100,2 тс.

Расчетная нагрузка на сваю по формуле (1) главы СНиП II-17-77:

Пример 34. Определить несущую способность свай в выштампованном ложе. Глубина погруженной части сваи h = 3,5 м. Радиус верхнего поперечного сечения сваи r1 = 0,45 м, нижнего r1 = 0,05 м. Грунтовые условия относятся к I типу по просадочности. Характеристики: суглинок g = 1,9 тс/м3; gск = 1,42 тс/м3; jI = 22°; cI = 0,25 кгс/см2.

Решение. Предварительно по формулам (70) - (73) определяем:

a2 = 0,5×3,5 = 1,75 м;

а3 = 0,5×3,5×0,45 = 0,788 м2;

Радиус уплотненной зоны определяем по формуле (69):

Площадь условного фундамента определяем по формуле (66):

F = 3,14×0,712 = 1,58 м2.

Расчетное давление на уплотненный грунт определяем по формуле (17) главы СНиП II-15-74:

С учетом коэффициента m = 0,8, согласно п. 5.9 главы СНиП II-17-77, по формуле (74) имеем:

Ф = 0,8×1,58×42,4 = 53,6 тс.

Расчетная нагрузка, допускаемая на сваю:

10. ОСОБЕННОСТИ ПРОЕКТИРОВАНИЯ И РАСЧЕТА СВАЙНЫХ ФУНДАМЕНТОВ В НАБУХАЮЩИХ ГРУНТАХ

10.1. При проектировании свайных фундаментов в набухающих грунтах допускается предусматривать как полную прорезку сваями и сваями-оболочками всей толщи набухающих грунтов (с опиранием их нижнего конца на ненабухающие грунты), так и частичную их прорезку (с опиранием нижних концов свай и свай-оболочек непосредственно в толще набухающих грунтов).

К п. 10.1. Длина свай при их устройстве в набухающих грунтах определяется исходя из величин действующих нагрузок. В том случае, когда по этому условию нет необходимости прорезать всю зону набухания грунта (или слой набухающего грунта, если его толщина менее зоны набухания грунта), допускается оставлять нижние концы свай в набухающих грунтах.

10.2. Для площадок, сложенных набухающими грунтами, кроме требований, предъявляемых к инженерным изысканиям для проектирования свайных фундаментов, изложенных в разделе 3 настоящей главы, должны также выполняться следующие дополнительные указания:

а) на вновь застраиваемых площадках должны быть обязательно проведены статические испытания свай, свай-штампов или свай-оболочек с замачиванием и определение величины полного подъема поверхности грунта при набухании Dп;

б) статические испытания необходимо начинать с загружения сваи, сваи-штампа или сваи-оболочки, погруженных в грунт природной влажности, до нагрузки, равной предполагаемой расчетной нагрузке на сваю, сваю-штамп или сваю-оболочку. После нагружения должны быть проведены замачивание грунта и наблюдения за перемещением сваи, сваи-штампа или сваи-оболочки;

в) с завершением процесса набухания грунта испытания свай, свай-штампов или свай-оболочек должны быть проведены по методике, принятой для обычных ненабухающих грунтов.

Примечание. Процесс набухания при испытаниях должен считаться завершенным, когда фактическая величина подъема поверхности грунта составляет не менее 0,9 полной величины набухания Dп.

К п. 10.2. Испытание свай производится с целью определения несущей способности и возможной величины подъема в случае набухания грунта. Величина нагрузки на сваю в соответствии с п. 4.3 не должна превышать ее несущую способность. При испытании свай с замачиванием грунта под расчетной нагрузкой подразумевается минимальная нагрузка, определяемая из основного сочетания расчетных нагрузок с коэффициентом перегрузки, равным единице, передаваемая на сваю в процессе ее эксплуатации. При определении подъема свай площадь замачивания поверхности грунта должна быть не менее 150 м2.

В этом случае целесообразно определить подъем ненагруженной сваи, а также послойные перемещения слоев грунта по глубине и подъем поверхности.

На основе испытания свай на вдавливающую нагрузку в набухшем грунте определяется несущая способность свай, которая учитывается в расчете по предельным состояниям первой группы. Методика назначения несущей способности принимается в соответствии с п. 6.3 настоящей главы. Целесообразно проведение испытаний свай-штампов с целью определения расчетного сопротивления набухших грунтов по боковой поверхности и под нижними концами. Проведение испытания позволяет установить фактический коэффициент условий работы (п. 10.4) в зависимости от глубины слоя.

Определение несущей способности свай в набухающих грунтах по данным динамических испытаний не допускается.

10.3. Расчет свайных фундаментов в набухающих грунтах следует производить по предельным состояниям двух групп в соответствии с требованиями, приведенными в разделах 4 - 7 настоящей главы. При расчете свайных фундаментов в набухающих грунтах по предельным состояниям второй группы должен также выполняться дополнительный расчет по определению подъема свай при набухании грунта в соответствии с требованиями пп. 10.5 и 10.7 настоящей главы.

К п. 10.3. При проектировании свайных фундаментов в набухающих грунтах производится расчет по деформациям, включающий определение осадки под действием внешней нагрузки и подъема за счет набухания грунта. При определении ширины условного фундамента принимаются значения угла внутреннего трения отдельных слоев набухшего грунта под действием нагрузки, равной бытовой, действующей в середине рассматриваемого слоя. При однородных набухающих грунтах допускается принимать значение угла внутреннего трения, определенного для замоченного грунта при давлении, равном  где h - толщина слоя набухающего грунта.

10.4. При расчете свайных фундаментов в набухающих грунтах по предельным состояниям первой группы - по несущей способности - величина расчетных сопротивлений набухающих грунтов под нижним концом R и на боковой поверхности f сваи или сваи-оболочки должна приниматься на основании результатов статических испытаний свай, свай-штампов или свай-оболочек в набухающих грунтах с замачиванием на строительной площадке или на прилегающих к ней территориях, имеющих аналогичные грунты. При отсутствии ко времени проектирования свайных фундаментов результатов указанных статических испытаний свай, свай-штампов или свай-оболочек расчетное сопротивление набухающих грунтов под нижними концами R и на боковой поверхности f свай и свай-оболочек диаметром менее 1 м допускается принимать по табл. 1, 2 и 7 настоящей главы как для ненабухающих грунтов с введением дополнительного коэффициента условий работы грунта тн = 0,5, учитываемого независимо от других коэффициентов условий работы, приведенных в табл. 3 и 5 настоящей главы.

К п. 10.4. Введение дополнительного коэффициента условий работы для свай диаметром менее 1 м тн = 0,5 обусловлено тем, что в процессе набухания происходит разуплотнение грунта и снижение прочностных характеристик, вследствие чего при больших вертикальных нагрузках в случае замачивания возможно проявление осадок провального характера.

В случае применения набивных свай диаметром более 1 м и свай с уширением расчетное сопротивление набухающих грунтов на боковой поверхности принимается как для свай диаметром менее 1 м. При большем диаметре набивных свай, в том числе с уширением, расчетное сопротивление под нижним концом принимается с понижающим коэффициентом, устанавливаемым на основании сопоставления расчетных данных с данными статических испытаний. При отсутствии данных статических испытаний коэффициент условий работы можно ориентировочно принимать при давлении набухания.

Пример 35. Требуется определить несущую способность забивной железобетонной сваи сечением 30´30 см, погруженной без лидерной скважины на глубину 5 м в слой хвалынской глины с консистенцией IL = 0,2, набухающей при увлажнении.

Решение. Несущая способность сваи Ф, тc, определяется по формуле [7 (7)] с введением коэффициента условий работы mн:

Ф = т (тR тн RF + иSтf тн fi li) = 1 (1×0,5×400×0,09 + 1,2×1×0,5×4,5×5) = 31,5 тс.

Расчетная нагрузка N, тс, передаваемая на сваю, определяется по формуле 1 (1):

10.5. Величину подъема Dс забивных свай, погруженных в предварительно пробуренные скважины (лидеры), набивных свай без уширения, а также свай-оболочек, не прорезающих набухающую зону грунтов, следует определять по формуле

                            [76 (29)]

где Dп - подъем поверхности набухающего грунта, м;

Dк - подъем слоя грунта в уровне заложения нижнего конца сваи (в случае прорезки набухающего грунта Dк = 0), м;

W и w - коэффициенты, определяемые по табл. 28 (15); при этом W зависит от показателя a, который характеризует уменьшение деформации по глубине массива при набухании грунта и принимается: для набухающих глин сарматских 0,31 м-1, аральских 0,36 м-1 и хвалынских 0,42 м-1;

u - периметр сваи, м;

N - расчетная нагрузка на сваю, определенная с учетом коэффициента перегрузки п = 1, тс.

Таблица 28 (15)

Глубина погружения свай, м

Коэффициент W при значениях a, м-1

Коэффициент w2/тс

0,2

0,3

0,4

0,5

0,6

3

0,72

0,62

0,53

0,46

0,4

-

4

0,64

0,53

0,44

0,36

0,31

15

5

0,59

0,46

0,36

0,29

0,24

11

6

0,53

0,4

0,31

0,24

0,19

7

7

0,48

0,35

0,26

0,2

0,15

5

8

0,44

0,31

0,22

0,17

0,13

4

9

0,4

0,27

0,19

0,14

0,11

3

10

0,37

0,24

0,17

0,12

0,09

2,5

11

0,34

0,21

0,15

0,1

0,08

2

12

0,31

0,19

0,13

0,09

0,07

1,5

Примечание. Допускаемые величины подъема сооружений, а также величину подъема поверхности набухающего грунта Dп и подъема слоя грунта в уровне расположения нижних концов свай Dк следует определять в соответствии с требованиями главы СНиП по проектированию оснований зданий и сооружений.

К п. 10.5. При расчете забивных свай, погружаемых в набухающие грунты без применения лидера, за расчетную нагрузку принимается возможная нагрузка, передаваемая на сваю в процессе эксплуатации.

При расчете величины подъема свай все нагрузки, передаваемые на сваю, погруженную в набухающие грунты, считаются длительными.

10.6. При прорезке сваями набухающих слоев грунтов и заглублении их в ненабухающие грунты подъем свайного фундамента будет практически исключен при соблюдении условия

                                               [77 (30)]

где N - расчетная нагрузка на сваю, тс, определенная с коэффициентом перегрузки п = 1, включая собственный вес сваи или сваи-оболочки;

Т - равнодействующая расчетных сил подъема, тс, действующих на боковой поверхности сваи или сваи-оболочки, определяемая по результатам их полевых испытаний в набухающих грунтах или определяемая с использованием данных табл. 2 (2) настоящей главы с учетом коэффициента перегрузки для сил набухания грунта п = 1,2;

Ф - несущая способность, тс, участка сваи, расположенного в ненабухающем грунте, при действии выдергивающих нагрузок;

kн - обозначение то же, что и в формуле 1 (1).

К п. 10.6. В отдельных случаях целесообразно при небольшой толщине слоя набухающего грунта осуществить их прорезку и заглубить сваи в подстилающие грунты, если последние оказываются достаточно надежными. В этом случае под расчетной нагрузкой подразумевается наименьшая возможная нагрузка (см. пояснения к п. 10.5).

Пример 36. Требуется определить необходимую глубину заглубления железобетонной сваи сечением 30´30 см в ненабухающий грунт, при которой отсутствует ее подъем в случае замачивания грунта. Свая прорезает слой набухающей глины толщиной 5 м. Глина имеет твердую консистенцию. Наименьшая расчетная нагрузка, передаваемая на сваю в процессе эксплуатации, составляет 25 тс. Набухающую глину подстилает слой пылеватого песка толщиной 7 м. Грунтовые воды на площадке отсутствуют.

Решение. Из формулы 77 (30) определим несущую способность участка сваи, заглубленного в слой пылеватого песка, на выдергивающую нагрузку:

Специальных исследований по определению сил выпора не производилось, поэтому равнодействующую этих сил определяем аналитическим путем:

T = u lн fн n,

где u - периметр сваи, м;

lн - длина сваи в пределах слоя набухающих глин, м;

fн - расчетное сопротивление набухающего грунта на боковой поверхности сваи, тс/м2, принимаемое по табл. 2 (2) для характеристик грунта природного состояния без введения дополнительных коэффициентов;

п - коэффициент, равный 1,2;

Т = 1,2×5×4,5×1,2×32,4 тс;

Р = 32,4 - 25 = 7,4 тс.

Глубина погружения сваи в пылеватые пески определяется по формуле

где Р - разность между силой выпора и минимальной расчетной нагрузкой, передаваемой на сваю, тc;

kГ - коэффициент безопасности по грунту, принимаемый равным 1,4;

m - коэффициент условий работы, принимаемый равным 0,6;

и - периметр сваи, м;

fн - расчетное сопротивление пылеватого песка на боковой поверхности сваи, тс/м2.

Принимаем глубину погружения сваи в пылеватые пески равной 4 м:

Несущая способность такой сваи на сжимающую нагрузку равна:

Ф = т (тR RF + uSmf тн fi li) = 1[1×120×0,09 + 1,2 (1×4×6×0,5×5 + 2,8×5)] = 40,6 тс.

Расчетная нагрузка N, тс, передаваемая на сваю, равна:

10.7. Величина подъема свай диаметром более 1 м, не прорезающих набухающие слои грунта, должна определяться как для обычного фундамента на естественном основании в соответствии с требованиями главы СНиП по проектированию оснований зданий и сооружений. При этом подъем сваи с уширением должен определяться при действии нагрузки Nу, равной

Ny = N + gII uгр - T,                                            [(78 (31)]

где N и Т - обозначения те же, что и в формуле (77 (30)];

gII - расчетное значение объемного веса грунта, тс/м3;

uгр - объем грунта, препятствующий подъему сваи, м3, принимаемый равным объему грунта в пределах расширяющегося усеченного конуса высотой Н с нижним (меньшим) диаметром, равным диаметру уширения D, и верхним диаметром Dв = H + D (здесь Н - расстояние от природной поверхности грунта до середины уширения сваи).

К п. 10.7. Требования настоящего пункта распространяются на сваи, общая длина которых от поверхности грунта не превышает 4 м.

При большей длине буронабивных свай, в том числе и с уширением, диаметром 1 м необходимо учитывать развитие касательных сил выпора по боковой поверхности ствола. Для свай с уширением длиной 8 м и более объем грунта, препятствующий подъему, принимается равным объему грунта в пределах цилиндра высотой Н и диаметром, равным диаметру уширения.

10.8. При проектировании свайных фундаментов в набухающих грунтах между поверхностью грунта и нижней плоскостью ростверка должен быть предусмотрен зазор размером, равным или более максимальной величины подъема грунта при его набухании.

Примечание. При толщине слоя набухающего грунта менее 12 м допускается устраивать ростверк, опирающийся непосредственно на грунт, при соблюдении расчетного условия [77 (30)].

К п. 10.8. При устройстве низкого ростверка необходимо обеспечить надежную анкеровку свай с ростверком, так как при набухании грунта возможен его отрыв от свай. В этом случае такую конструкцию следует рассматривать как фундамент на естественном основании, в котором сваи выполняют роль анкеров, препятствующих подъему фундамента при набухании грунта. Одновременно необходимо учитывать работу свай на восприятие вертикальных и горизонтальных нагрузок.

11. ОСОБЕННОСТИ ПРОЕКТИРОВАНИЯ СВАЙНЫХ ФУНДАМЕНТОВ НА ПОДРАБАТЫВАЕМЫХ ТЕРРИТОРИЯХ

11.1. При проектировании свайных фундаментов на подрабатываемых территориях кроме требований настоящей главы должны соблюдаться также требования главы СНиП по проектированию зданий и сооружений на подрабатываемых территориях: при этом наряду с данными по инженерным изысканиям для проектирования свайных фундаментов, предусмотренными в разделе 3 настоящей главы, должны также использоваться данные горно-геологических изысканий и сведения об ожидаемых деформациях земной поверхности.

11.2. В задании на проектирование свайных фундаментов на подрабатываемых территориях должны содержаться полученные по результатам маркшейдерского расчета данные об ожидаемых максимальных деформациях земной поверхности на участке строительства, в том числе:

h - оседание, мм,

i - наклоны, мм/м;

eг - относительные горизонтальные деформации растяжения или сжатия, мм/м;

rк - радиус кривизны земной поверхности от подработки территории, км;

Sг - горизонтальное сдвижение, мм.

11.3. Расчет свайных фундаментов зданий и сооружений, возводимых на подрабатываемых территориях, должен производиться по предельным состояниям на особое сочетание нагрузок, назначаемых с учетом воздействий со стороны деформируемого при подработке основания.

11.4. В зависимости от характера сопряжения голов свай и свай-оболочек с ростверком и взаимодействия фундамента с грунтом основания в процессе развития в нем горизонтальных деформаций от подработки территории различаются следующие схемы свайных фундаментов:

а) жесткие - при жесткой заделке голов свай и свай-оболочек в ростверк путем заанкеривания в нем выпусков арматуры свай и свай-оболочек либо при непосредственной заделке в нем головы сваи и сваи-оболочки в соответствии с требованиями, изложенными в п. 8.5 настоящей главы;

б) податливые - при условно-шарнирном сопряжении сваи и сваи-оболочки с ростверком, выполненным путем заделки ее головы в ростверк на 5 - 10 см или сопряжении через шов скольжения.

Примечание. Шов скольжения должен предусматриваться в виде прокладки материалов с малыми коэффициентами трения (графита, слюды, полиэтиленовой пленки и т.п.) между ростверком и железобетонным башмаком колонны или опорной плоскостью стены здания. Конструкция швов скольжения должна предусматриваться в соответствии с требованиями главы СНиП по проектированию зданий и сооружений на подрабатываемых территориях.

Рис. 42. Схема свайного фундамента для каркасного здания при наличии связей-распорок в двух направлениях и ростверка, отделенного от фундаментов швом скольжения

а - план; б - разрез; в - эпюра продольных усилий в связях-распорках; 1 - колонны; 2 - фундаменты; 3 - распорки; 4 - ростверк; 5 - шов скольжения; 6 - сваи

К п. 11.4. Высота плиты ростверка под башмаком колонны или железобетонной плиты должна определяться из условия расчета ее на продавливание.

Шов скольжения должен устраиваться в пределах отсека на одной отметке. Плоскость шва скольжения должна быть ровной, без выступов.

Для недопущения горизонтальных перемещений колонн при подработке, между башмаками под колонны следует предусматривать в продольном, а в необходимых случаях и в поперечном направлениях связи-распорки, подошва которых должна быть на уровне шва скольжения. Минимальное сечение связи-распорки 20´20 см; увеличение сечения связи-распорки из условия размещения арматуры целесообразно осуществлять за счет увеличения ее ширины. Размещение арматуры в связи-распорке должно быть в основном у боковых граней ее сечения.

Сопряжение связи-распорки с башмаками под колонны должно осуществляться в вертикальной плоскости по шарнирной схеме.

При направлении подработки к главным осям здания под углом, близким к 45°, целесообразно предусматривать также диагональные связи-распорки.

При устройстве между отдельными фундаментами каркасных зданий связей-распорок и отделении ростверка от фундаментных башмаков швом скольжения продольные усилия в любом сечении связи-распорки от трения по шву скольжения при воздействии перемещений грунта определяют по формуле (рис. 42):

,                                                        (79)

где т¢ - коэффициент, учитывающий неодновременность сдвига ростверков по шву скольжения (принимается по табл. 29 в зависимости от числа колонн на участке от 0,5 L до х, где: L - длина отсека, х - расстояние от оси отсека до рассматриваемого сечения);

Ti - сила трения под i-м фундаментом, определяемая по формуле (80), тс;

п - число колонн на участке от 0,5 L до х;

Ti = fNi,                                                    (80)

где f - коэффициент трения по шву скольжения, принимается по указаниям главы СНиП по проектированию зданий и сооружений на подрабатываемых территориях;

Ni - вертикальная нагрузка на ростверк i-го фундамента, тс.

Таблица 29

Число колонн (фундаментов) на участке от 0,5 L до x

Коэффициент т¢

1

1

2

0,85

3

0,7

4

0,6

5 и более

0,5

Величину изгибающего момента в свае независимо от характера ее сопряжения с ростверком следует определять по формуле (108) по величине опорной реакции, приходящейся на одну сваю:  где k - число свай в ростверке под фундаментным башмаком.

Примечания: 1. Для определения полного усилия в связи-распорке необходимо учесть также боковое нормальное давление грунта на фундаментный башмак и трение по боковым поверхностям башмака (трение о связь-распорку не учитывается).

2. При устройстве шва скольжения под сплошной железобетонной плитой ростверк необходимо разрезать на отдельные участки с кустом свай под ними. Расчет дополнительных усилий в плите от сдвига элементов ростверка по шву скольжения следует осуществлять по формуле (79).

11.5. Расчет фундаментов и их оснований на подрабатываемых территориях должен производиться с учетом:

а) изменений физико-механических свойств грунтов, вызванных подработкой территории, в соответствии с требованиями п. 11.6 настоящей главы;

б) перераспределения вертикальных нагрузок на отдельные сваи, вызванного искривлением и наклоном земной поверхности, в соответствии с требованиями п. 11.7 настоящей главы;

в) дополнительных нагрузок в горизонтальной плоскости, вызванных развитием деформаций грунтов основания при подработке территории, в соответствии с требованиями пп. 11.8 и 11.9 настоящей главы.

11.6. Несущая способность по грунту основания Фподр, тс, свай всех видов и свай-оболочек, работающих на сжимающую нагрузку, при подработке территории определяется по формуле

Фподр = тподр · Ф,                                               [81 (32)]

где mподр - коэффициент условий работы, учитывающий изменение структуры грунта и перераспределение вертикальных нагрузок при подработке территории, принимаемый по табл. 30 (16);

Таблица 30 (16)

Виды свай, зданий и сооружений

Коэффициент условий работы mподр в случае, если изыскания проведены

до подработки

во время подработки

1. Сваи-стойки в фундаментах любых зданий и сооружений

0,9

1

2. Висячие сваи в фундаментах:

 

 

а) податливых зданий и сооружений (например, одноэтажных каркасных с шарнирными опорами)

0,9

1

б) жестких зданий и сооружений (например, бескаркасных многоэтажных зданий с жесткими узлами, силосных корпусов)

1,1

1,2

Примечание к табл. 30 (16). Подразделение на жесткие и податливые здания осуществлено по их реакции на неравномерные осадки фундаментов в вертикальной плоскости; в жестких зданиях при этом происходит перераспределение отпора грунта, а в податливых перераспределения практически не происходит или оно мало и его можно не учитывать.

Ф - несущая способность сваи, тс, определенная расчетом в соответствии с требованиями раздела 5 настоящей главы или определенная по результатам полевых исследований (динамических и статических испытаний свай или свай-оболочек, зондирования грунта), в соответствии с требованиями раздела 6 настоящей главы.

Сваи на подрабатываемых территориях, как правило, должны рассчитываться на внецентренное сжатие, а в случае превышения дополнительных выдергивающих нагрузок от искривления основания, действия наклонов и ветровой нагрузки над сжимающими нагрузками - на внецентренное растяжение.

Несущую способность свай по грунту следует рассчитывать на сочетания, при которых в них возникают максимальные сжимающие нагрузки с учетом дополнительных нагрузок сжатия от искривления основания, наклона и ветровой нагрузки.

Несущую способность свай по материалу следует определять при максимальном значении изгибающего момента для двух сочетаний вертикальных нагрузок, при которых возникают максимальная и минимальная нагрузки. При этом в соответствии с п. 5.2 настоящей главы СНиП свая рассматривается как стержень, жестко защемленный в грунте в сечении, расположенном на расстоянии l1 = H + lo, где Н - длина участка сваи от подошвы ростверка до уровня поверхности грунта; lo - длина участка сваи в грунте, определяемая по формуле (102).

Приведенные (расчетные) максимальную Nмакс и минимальную Nмин вертикальные нагрузки на сваю в свайном фундаменте жесткого здания или сооружения следует определять по невыгодным сочетаниям основных и дополнительных нагрузок, действующих в направлении продольной и поперечной главных осей здания по формуле

                                 (82)

где N - расчетная вертикальная нагрузка от всего отсека здания, тс;

п - общее число свай в отсеке;

DN - дополнительная вертикальная нагрузка на сваю от искривления основания, определяемая по формуле (85), тс;

Nнв - дополнительная вертикальная нагрузка от наклона и ветровой нагрузки, определяемая по формуле (84), тс;

0,8 и 0,7 - коэффициенты, учитывающие сочетания нагрузок.

Примечание. Максимальные и минимальные вертикальные нагрузки возникают в угловых сваях по контуру отсека здания, а также в крайних сваях, расположенных по главным осям отсека.

Под воздействием наклонов земной поверхности, возникающих при подработке территории и от ветровой нагрузки, дополнительные горизонтальные Nнг и вертикальные Nнв нагрузки в сваях определяют по формулам:

                                                             (83)

                                                    (84)

где Т - общая горизонтальная нагрузка, действующая на отсек здания, вызванная наклоном земной поверхности и ветровой нагрузкой, тс;

п - число свай в фундаменте отсека;

Мх и My - расчетные моменты относительно главных осей х и у от действия наклона земной поверхности, вызванного подработкой территории, и ветровой нагрузки, тс×м;

x y, хi и yi - по формуле 44 (26).

11.7. Дополнительные вертикальные нагрузки ± DN на сваи или сваи-оболочки зданий и сооружений с жесткой конструктивной схемой, вызванные искривлением земной поверхности при подработке территории, следует определять в зависимости от ожидаемого радиуса кривизны поверхности Rк и ее наклона при следующих допущениях:

а) свайные фундаменты из висячих свай и свай-оболочек и их основания заменяются в соответствии с п. 7.1 настоящей главы условным фундаментом на естественном основании;

б) основание условного фундамента принимается линейно-деформируемым с постоянным модулем деформации по длине здания (сооружения) или выделенного в нем отсека.

Определение дополнительных вертикальных нагрузок ± DN производится относительно продольной и поперечной осей здания.

К п. 11.7. Дополнительные нагрузки на сваи вызываются перераспределением их в результате взаимодействия здания бесконечной жесткости на условных фундаментах на естественном основании по цилиндрической поверхности, с условным радиусом кривизны, определяемым по формуле (89).

Дополнительная вертикальная нагрузка DN на любую сваю, расположенную на расстоянии Х от главной оси фундамента (рис. 43), от искривления основания определяется по формуле

                                               (85)

где Аx - общая длина условного фундамента в направлении оси х, определяемая по формуле (86), м;

К - коэффициент жесткости основания для условного фундамента, определяемый по формуле (87), тс/м3;

lу1 - момент инерции площади подошвы условного фундамента, расположенной по одну сторону от главной оси УУ относительно оси , м4;

x0 - расстояние от главной оси УУ до центра тяжести рассматриваемой половины фундамента (определяется как отношение статического момента к площади фундамента), м;

х - расстояние от главной оси уу до оси сваи, для которой вычисляется DN, м;

xi - то же, до оси любой сваи, находящейся на рассматриваемой половине площади условного фундамента, м;

Rж - условный радиус кривизны основания от влияния горных выработок, учитывающий конечную жесткость здания и определяемый по формуле (89); при кривизне выпуклости принимается со знаком плюс, при кривизне вогнутости - со знаком минус, м;

п - общее число свай в свайном фундаменте:

                                  (86)

где L - расстояние между осями крайних свай отсека (см. рис. 43, а), м;

d - размер поперечного сечения свай, м;

l и jIIcp - по п. 7.1 настоящей главы СНиП;

ayc - размер условного фундамента, м;

                                                        (87)

где Ki - коэффициент жесткости основания под отдельным условным фундаментом или условной фундаментной лентой, определяемый соответственно по формулам (88а);

Fi - площадь фундамента, м2;

                                                        (88а)

                                                   (88б)

где Ео - модуль вертикальной деформации основания на уровне острия свай, тс/м2;

ai - отношение длины условного ленточного фундамента (например, Ax) к его ширине;

                                                  (89)

где пк и тк - соответственно коэффициенты перегрузки и условий работы к радиусу кривизны, принимаемые по указаниям главы СНиП на здания и сооружения на подрабатываемых территориях;

mæ - коэффициент (меньше или равный единице), учитывающий конечную жесткость здания, определяемый по формуле

                                            (90)

где b - приведенная ширина подошвы условного фундамента, м;

ЕI - приведенная жесткость стен отсека, тc×м2;

L и К - по формулам (86) и (87).

Для коротких отсеков жестких зданий, имеющих отношение L/H £ 1 (где L - длина отсека, Н - высота здания от подошвы ростверка до карниза), допускается принимать mж = 1, а Rж равным расчетному радиусу кривизны.

Рис. 43. Схема замены свайного фундамента условным на естественном основании и эпюра перераспределения нагрузок на сваи при кривизне выпуклости

а - здание на искривленном основании; б - план свайного поля, ростверка и условного фундамента; в - эпюра перераспределения нагрузок на сваи; 1 - ростверк; 2 - сваи; 3 - условный фундамент на естественном основании; аbесd - эпюра нагрузок на сваи до искривления основания; ab'e'c'd - эпюра нагрузок на сваи при искривлении основания; уу - главная ось; yy - ось, проходящая через центр тяжести половины условного фундамента

Дополнительные обобщенные усилия в вертикальной плоскости коробки жесткого здания в любом сечении х, вызванные искривлением основания, определяются по формулам:

                                                     (91)

                                           (92)

где DN - дополнительная нагрузка на i-ю сваю с учетом ее знака, определяемая по формуле (85), тс;

k - количество свай на участке от 0,5 L до х (см. рис. 43);

xi и х - то же, что и в формуле (85).

На обобщенные усилия следует рассчитывать элементы несущих конструкций здания (ростверк, пояса и простенки).

11.8. В расчетах свайных фундаментов, возводимых на подрабатываемых территориях, должны учитываться дополнительные усилия, возникающие в сваях или сваях-оболочках вследствие их работы на изгиб под влиянием горизонтальных перемещений грунта основания при подработке территории по отношению к проектному положению свай или свай-оболочек.

Величину этих усилий следует определять, используя методику расчета свай и свай-оболочек на горизонтальные перемещения по величине расчетного горизонтального перемещения грунта Dг.

11.9. Расчетное горизонтальное перемещение Dг, мм, грунта при подработке территории (рис. 44) следует определять по формуле

Dг = ne me eг x                                                [93 (33)]

где ne и me - соответственно коэффициенты перегрузки и условий работы для относительных горизонтальных деформаций, принимаемые в соответствии с главой СНиП по проектированию зданий и сооружений на подрабатываемых территориях;

eг - ожидаемая величина относительной горизонтальной деформации, указанная в задании на проектирование и определяемая по результатам маркшейдерского расчета, мм/м;

х - расстояние от оси рассматриваемой сваи до центральной оси здания (сооружения) с ростверком, устраиваемым на всю длину здания (отсека), или до блока жесткости каркасного здания (отсека) с ростверком, устраиваемым под отдельные колонны, м.

К п. 11.9. Расчет свай на горизонтальные перемещения и нагрузки осуществляется при следующих допущениях:

а) основание принимается упругим, характеризуемым горизонтальным (боковым) модулем деформации, увеличивающимся по глубине с нулевой ординатой на поверхности грунта или под подошвой ростверка;

б) в результате взаимодействия упругой оси сваи с упругой грунтовой средой под воздействием горизонтальных перемещений в заглубленной части сваи возникают два участка - верхний длиной b и нижний длиной с (рис. 45 и 46), в пределах которых боковое давление грунта на сваю имеет противоположные направления;

в) максимальная ордината эпюры бокового давления p1 на участке b, располагаемая посередине этого участка, принимается пропорциональной величине обжатия грунта сваей в точке Е и определяется по формуле (99);

г) длина погружения сваи l в грунт должна удовлетворять неравенству

                                                             (94)

Рис. 44. Воздействие горизонтальных перемещений грунта на свайный фундамент с жесткой заделкой голов свай в низкий ростверк

а - свайный фундамент; б - эпюра перемещений грунта: 1 - сваи до подработки; 2 - изгиб оси свай, вызванный перемещением грунта

Рис. 45. Схема взаимодействия упругой оси сваи, имеющей шарнирное сопряжение с ростверком, и грунта при действии горизонтальной нагрузки или перемещения

а - деформация оси сваи (1) и эпюра обжатия грунта (2); б - эпюра давления грунта на сваю; в, г - эпюра поперечных сил и изгибающих моментов в свае; 3 - касательная к эпюрам давления в точке В

Рис. 46. Схема взаимодействия упругой оси сваи с жесткой заделкой головы в ростверк с грунтом при действии горизонтальной нагрузки или перемещения

а - деформация оси сваи (1) и эпюра обжатия грунта (2); б - эпюра давления грунта на сваю; в, г - эпюры поперечных сил и изгибающих моментов в свае; 3 - касательная к эпюрам давления в точке В

Примечание. Для практических целей методику допускается применять при l ³ 0,9 (b + с).

При расчете свай на горизонтальные перемещения и нагрузку метод предусматривает выполнение следующих граничных условий:

1) в точках В и С (см. рис. 45 и 46), прогибы которых относительно первоначального положения оси сваи (до приложения воздействия) равны нулю, боковое давление грунта на сваю принимается равным нулю;

2) в нулевой точке В касательная к эпюрам давления на участках b и с вследствие однородности грунта или его равномерного изменения по глубине является общей;

3) в точке С поперечная сила и изгибающий момент в свае равны нулю.

Рис. 47. График зависимости коэффициентов a, q, q, т, c и  (левая шкала) и b (правая шкала) от коэффициента  при жесткой заделке голов свай в ростверк

a, q, q, т, c и

Рис. 48. График зависимости коэффициентов a, q, q, т, c и  (левая шкала) и b (правая шкала) от коэффициента  при шарнирном сопряжении голов свай с ростверком.

Для свайных фундаментов с шарнирной заделкой голов в ростверк добавляется четвертое граничное условие - сумма моментов всех сил относительно заделки (головы сваи) равна нулю.

Ординаты поперечных сил и изгибающих моментов для характерных сечений сваи при шарнирной или жесткой заделке голов в высокий или низкий ростверки под воздействием горизонтальных перемещений определяют по формулам:

Qi = Qqi;                                                            (95)

mi = Мmi,                                                           (96)

где Q и М - определяются по формулам

                                                          (97)

;                                                       (98)

где qi и mi - коэффициенты, определяемые по графикам (рис. 47 и 48) соответственно для жесткой заделки и шарнирного сопряжения голов свай с ростверками в зависимости от коэффициента  = Н/l (где Н - свободная высота сваи, м;

l - длина ее погружения, м;

pi - максимальная ордината эпюры бокового давления грунта, тс/м, на участке b, определяемая по формуле

                                        (99)

где Ег - модуль горизонтальной деформации грунта, определяемый по формуле (101), тс/м2;

qЕ - коэффициент обжатия грунта посередине участка b, определяемый по графикам рис. 47 или 48;

Dг - расчетное перемещение грунта, определяемое по формуле [93 (33)];

w - коэффициент, принимаемый по табл. 31 в зависимости от коэффициента п (отношения глубины погружения сваи l к ее размеру поперечного сечения d в направлении, перпендикулярном плоскости действия перемещения);

m - коэффициент Пуассона;

b - длина верхнего участка эпюры бокового давления грунта, м, определяемая по формуле

                                               (100)

где b - коэффициент, определяемый по графикам рис. 47 или 48.

EI - жесткость сваи;

Eг = m · Eo,                                                        (101)

где т - коэффициент условий работы, учитывающий анизотропность грунта; рекомендуется принимать в соответствии с п. 11.2 главы СНиП II-15-74 для глинистых грунтов, равным 0,5, а для песчаных 0,65 (значение коэффициента т можно уточнять в зависимости от способа погружения свай, явлений засасывания, длительного действия нагрузки и т. п.);

Eo - модуль вертикальной деформации грунта, тс/м2, определяемый ориентировочно на уровне середины участка b (для грунтов с относительно высокой несущей способностью на глубине (4 - 5) d и для грунтов с низкой несущей способностью - (6 - 7) d от поверхности грунта для свайных фундаментов с высоким ростверком или от подошвы ростверка для свайных фундаментов с низким ростверком).

Таблица 31

n

10

20

30

40

50

w

2,25

2,64

2,88

3,07

3,22

Для построения эпюр поперечных сил и изгибающих моментов в свае под воздействием горизонтальных перемещений по графикам рис. 47 или 48 следует определить коэффициенты:

для поперечной силы qA и qB (qD = qA; qC = 0; qG = 0,5 qB), а также по формуле (102) положение сечения в заглубленной части сваи с нулевым значением поперечной силы и максимальным значением изгибающего момента Mпp;

для изгибающего момента соответственно коэффициенты (для шарнирного сопряжения тА = 0): тА; тD; тпр; тВ (тС = 0; mG = 0,1875) и расстояние lo до точки с максимальной ординатой изгибающего момента в свае:

                                                          (102)

где  - коэффициент, определяемый по графику рис. 47 или 48.

Длину участка с и максимальную ординату эпюры бокового давления грунта p2, находящуюся посередине участка с, определяют по формулам:

с = ab;                                                               (103)

p2 = ap1.                                                             (104)

где a - коэффициент, определяемый по графикам рис. 47 или 48.

Для определения только максимальных значений поперечной силы и изгибающего момента в свае по графикам рис. 47 или 48 достаточно выбрать максимальные значения коэффициентов qi и mi и по формулам (95) и (96) вычислить Qмакс и Ммакс.

Прогиб упругой оси сваи под воздействием горизонтальных перемещений определяют по формулам:

максимальный в уровне головы сваи

                                                 (105)

прогиб в характерных сечениях сваи

;                                                          (106а)

,                                                          (106б)

где c, qd и qe - коэффициенты, определяемые по графикам рис. 47 или 48 в зависимости от коэффициента  (для шарнирного сопряжения свай с ростверком кривые c на графике рис. 48 увеличены в 5 раз).

По графику рис. 48 можно также определить прогиб точки G, расположенной посередине участка с:

,                                                          (106в)

Ординаты qG на графике рис. 48 увеличены в 10 раз.

Примечание. Учитывая, что прогибы точек С и В равны нулю, формулы (105) - (106) дают возможность построить эпюры прогиба упругой оси сваи.

Максимальные усилия в сваях свайного поля, имеющих различные перемещения Dг, целесообразно определять через усилия Q1 и M1), получаемые при единичном перемещении Dг1 = 1 см, а затем вычислять искомые Q и М при заданных перемещениях Dг, см, по формулам:

Q = [Dг] Q1;                           M = [Dг] M1,                                  (107)

где [Dг] - абсолютная величина заданного перемещения сваи.

При решении обратных задач, когда по заданным горизонтальным нагрузкам (например, от наклона земной поверхности и ветровой нагрузки в виде опорных реакций Nг = QA) требуется определить величины максимальных усилий в сваях или построить эпюры давления грунта, поперечных сил, изгибающих моментов и прогиба сваи, расчеты рекомендуется осуществлять через значение опорной реакции qa1, полученной при единичном перемещении Dг1 = 1 см. Например, максимальную величину изгибающего момента в свае от действия горизонтальной нагрузки Nг можно определить по формуле

                                                     (108)

где М1 - максимальный изгибающий момент в свае при единичном перемещении Dг1 = 1 см.

В свайных фундаментах с высоким ростверком в случаях, когда коэффициент qв > 0,5, максимальное значение поперечной силы следует определять для заглубленной части сваи (точки В - см. рис. 45 и 46) по формуле

                                                       (109)

где qа - коэффициент для сечения А в уровне головы сваи.

Рис. 49. Схемы взаимодействия коротких свай-стоек с низким ростверком при действии горизонтального перемещения грунта

А - при жесткой заделке голов в ростверк; Б - при шарнирном сопряжении свай с ростверком; а - деформации упругой оси свай и эпюры обжатия грунта; б - эпюры давления грунта; в, г - эпюры поперечных сил и изгибающих моментов

Максимальный прогиб сваи под воздействием горизонтальной нагрузки Nг, приложенной к голове сваи (от наклона или ветровой нагрузки), определяют по формуле

                                                     (110)

где qa1 - опорная реакция в свае при действии единичного горизонтального перемещения, тс.

Для коротких свай-стоек с низким ростверком, глубина погружения которых удовлетворяет неравенству (114), максимальные усилия в сваях при воздействии горизонтальных перемещений определяют по формулам:

а) при условно-шарнирном сопряжении свай с ростверком (рис. 49, Б)

Q = 0,33рl;                                                         (111)

M = 0,104pl2,                                                     (112)

где p - максимальная ордината бокового давления грунта на сваю, тс/м, определяемая по формуле

                                            (113)

l - глубина погружения сваи, м, которая должна удовлетворять неравенству

0,85b £ l £ 1,35b;                                                        (114)

b - длина верхнего участка сваи, м, определенная по формуле (100) при  Ег, w, m - по формуле (99);

б) при жесткой заделке голов свай в ростверк (см. рис. 49, А)

                                                  (115)

                                                 (116)

где р - максимальная ордината бокового давления грунта на сваю, определяемая по формуле (113) с заменой коэффициента 0,33 на 0,395; N - сосредоточенная сила, тc, приложенная в уровне острия сваи, имеющая направление, противоположное направлению р, и определяемая по формуле

                                   (117)

где ЕI - жесткость сваи.

Остальные обозначения расшифрованы выше.

Дополнительный изгибающий момент от воздействия вертикальной нагрузки на изогнутую ось сваи допускается приближенно определять по формулам:

а) для шарнирного сопряжения свай с ростверком

DMпр = Nb (1 - qE)Dг;                                               (118)

б) для жесткой заделки свай с ростверком

DMА = Nb (1 - qE)Dг/2.                                             (119)

В формулах (118) и (119):

Nb - нормативная вертикальная нагрузка на сваю, тс;

qE - коэффициенты, определяемые по графику рис. 47 или 48;

DГ - расчетное перемещение грунта для сваи, м.

Приведенные (расчетные) максимальные усилия в свае от воздействия горизонтальных перемещений, наклона и ветровой нагрузки, а также от внецентренного действия вертикальной нагрузки определяют по формулам:

QР = 0,8 (Qг + 0,7 Qн);                                                (120)

МР = 0,8 (Мг + 0,7 Мн + МN);                                         (121)

где Qг, Mг - максимальные значения поперечной силы, тс, и изгибающего момента, тс×м, в свае от воздействия горизонтальных перемещений;

Qн, Мн - то же, возникающие в тех же сечениях от воздействия наклонов земной поверхности и ветровой нагрузок;

МN - дополнительный изгибающий момент в свае от внецентренного действия вертикальной нагрузки на изогнутую ось сваи, определяемый по формуле (118) или (119);

0,8 и 0,7 - понижающие коэффициенты, учитывающие сочетания нагрузок.

11.10. Свайные фундаменты зданий и сооружений, возводимых на подрабатываемых территориях, следует проектировать исходя из условий необходимости передачи на ростверк минимальных усилий от свай, возникающих в результате деформации земной поверхности.

Для выполнения этого требования необходимо в проектах предусматривать:

а) разрезку здания или сооружения на отсеки для уменьшения влияния горизонтальных перемещений грунта основания;

б) преимущественно висячие сваи для зданий и сооружений с жесткой конструктивной схемой для снижения дополнительно возникающих усилий в вертикальной плоскости от искривления основания;

в) сваи возможно меньшей жесткости, например, призматические сваи квадратного или прямоугольного поперечного сечения, причем сваи прямоугольного сечения следует располагать меньшей стороной в продольном направлении отсека здания;

г) преимущественно податливые конструкции сопряжения свай с ростверком, указанные в п. 11.4 настоящей главы.

Примечание. При разрезке здания и сооружения на отсеки в ростверке между ними следует предусматривать зазоры (деформационные швы), размеры которых определяют как для нижних конструкций зданий и сооружений в соответствии с требованиями главы СНиП по проектированию зданий и сооружений на подрабатываемых территориях.

11.11. Свайные фундаменты на подрабатываемых территориях в зависимости от величины ожидаемых деформаций земной поверхности допускается применять, как правило, только в случае пологого и наклонного (менее 45°) залегания пластов:

а) с висячими сваями - на территориях II - IV групп для любых видов и конструкций зданий и сооружений;

б) со сваями-стойками - на территориях III - IV групп для зданий и сооружений, проектируемых с податливой конструктивной схемой здания при искривлении основания, а для IV группы также и для зданий и сооружений, проектируемых с жесткой конструктивной схемой.

Применение висячих свай или свай-оболочек на территориях I группы и свай-стоек на территориях I и II групп допускается только на основании специального технико-экономического обоснования.

Примечания: 1. Деление подрабатываемых территорий на группы принято по главе СНиП по проектированию зданий и сооружений на подрабатываемых территориях.

2. Сваи-оболочки, буронабивные сваи диаметром более 600 мм и другие виды жестких свай допускается применять, как правило, только в свайных фундаментах с податливой схемой при сопряжении их с ростверком через шов скольжения (п. 11.4 настоящей главы).

3. Величина заглубления в грунт свай и свай-оболочек на подрабатываемых территориях должна быть не менее 4 м, за исключением случаев опирания свай или свай-оболочек на скальные грунты.

11.12. В случае крутопадающих (более 45°) пластов, когда возможно образование уступов, а также на площадках с геологическими нарушениями применение свайных фундаментов допускается только при наличии специального обоснования.

11.13. Конструкция сопряжения свай или свай-оболочек с ростверком должна назначаться в зависимости от величины ожидаемого горизонтального перемещения грунта основания Dг, причем предельно допускаемые значения горизонтального перемещения для свай или свай-оболочек не должны превышать при сопряжении свай или свай-оболочек с ростверком (п. 11.4 настоящей главы):

а) жестком - 2 см;

б) податливом условно шарнирном - 5 см;

в) то же, через шов скольжения - 8 см.

Примечание. Для снижения величин усилий, возникающих в сваях или сваях-оболочках и в ростверке от воздействия горизонтальных перемещений грунта оснований, а также для обеспечения пространственной устойчивости свайных фундаментов и здания (сооружения) в целом, сваи и сваи-оболочки свайного поля в зоне действия небольших перемещений грунта (до 2 см) следует предусматривать с жестким сопряжением, а остальные - с податливым (шарнирным или сопряжением через шов скольжения).

К п. 11.13. Для свайных фундаментов с высоким ростверком указанные предельные перемещения грунта при соответствующем обосновании могут быть увеличены.

11.14. Свайные ростверки должны рассчитываться на внецентренное растяжение и сжатие, а также на кручение при воздействии на них горизонтальных опорных реакций от свай или свай-оболочек (поперечной силы и изгибающего момента), вызванных боковым давлением деформируемого при подработке грунта основания.

Рис. 50. К расчету свайного фундамента на искривленном основании (+Rж)

а - план свайного поля и условных фундаментов на естественном основании; б - эпюра перераспределения нагрузок на сваи; в, г - эпюры обобщенных поперечных сил и изгибающих моментов в стенах в вертикальной плоскости; 1 - ростверк; 2 - сваи; 3 - условные фундаменты

К п. 11.14. Продольное усилие в любом сечении х ростверка независимо от вида сопряжения голов свай с ростверком при воздействии горизонтальных перемещений основания определяется по формуле

                                                  (122)

где QАр - горизонтальная опорная реакция i - сваи, тc, находящейся на расчетном участке от 0,5 L до х продольного элемента ростверка, определяемая по формуле (120);

Q*Ар - часть опорной реакции от сваи, тс, находящейся на примыкающем элементе ростверка под поперечной стеной, определяемой по схеме простой балки от сосредоточенной нагрузки (рис. 50);

k - число свай на продольном участке ростверка от 0,5 L до х;

п - то же, на примыкающих участках ростверка.

При передаче горизонтальных опорных реакций от свай на примыкающие элементы ростверка следует учитывать изгиб этих элементов от сосредоточенных сил, равных qap, и кручение. Сосредоточенные крутящие моменты от каждой сваи определяют по формуле

Мкр = Мар + QAphp/2,                                              (123)

где маp и Qap - усилия в свае в уровне ее головы;

hp - высота ростверка, м;

На продольные элементы ростверка крутящие моменты передаются как сосредоточенные опорные изгибающие моменты, действующие в вертикальной плоскости и определяемые по формуле

                                              (124)

где M¢кр - аналогично Q¢ap формуле (122);

Мap - сосредоточенный изгибающий момент от сваи, расположенной на продольном элементе на пересечении с осью примыкающей стены, определяемый по формуле (121);

n - число свай на примыкающем участке ростверка.

Для шарнирного сопряжения свай с ростверком в формулах (123) и (124) следует принимать Map = 0.

11.15. При применении свайных фундаментов с высоким ростверком в бетонных полах или других жестких конструкциях, устраиваемых на поверхности грунта, следует предусматривать зазор по всему периметру свай шириной не менее 8 см на всю толщину жесткой конструкции. Зазор следует заполнять пластичными или упругими материалами, не образующими жесткой опоры для свай при воздействии горизонтальных перемещений грунта основания.

ПРИМЕРЫ РАСЧЕТА

Пример 37. Рассчитать несущую способность висячих свай по грунту с учетом горных выработок - перераспределения вертикальных нагрузок на сваи от искривления основания, наклонов земной поверхности и ветровой нагрузки в свайном фундаменте 5-этажного крупнопанельного жилого дома с поперечными и продольными несущими стенами (см. рис. 50), имеющему длину L = 21 м (7 пролетов по 3 м), ширину В = 11 м, при ожидаемом радиусе кривизны выпуклости Rк = 8,1 км и наклоне земной поверхности i = 7 мм/м. Грунтовые условия площадки - без учета подработки по табл. 32; под каждой поперечной стеной предусмотрено по пять свай с расчетной вертикальной нагрузкой без учета подработки Р = 45 тс.

Решение. Принимаем забивные сваи сечением 30´30 см; по несущей способности проходят сваи длиной 7 м.

По формуле [1 (1)] и [7 (7)] главы СНиП II-17-77 при коэффициенте надежности kн = 1,4 и характеристиках напластований по табл. 32 для висячих свай получена расчетная несущая способность по грунту без учета подработки: Ф = 51 тс. При проведении инженерных изысканий до подработки по табл. 30 (16) для жесткого здания коэффициент тподр = 1,1; по формуле [81 (32)] получим несущую способность сваи по грунту: Ф = 1,1´51 = 56 тс.

Таблица 32

Литологическое описание грунта

Глубина слоя, м

Консистенция, IL

Модуль деформации Eo

Удельное сцепление С, тс/м2

Угол внутреннего трения j, град

Почвенный слой

0 - 0,5

-

-

-

-

Суглинок гумусированный

0,5 - 1,5

0,4

800

1,9

20

Суглинок желто-бурый, плотный, очень влажный

1,5 - 4

0,3

1500

3,4

19

Глина бурая, плотная, влажная

4 - 10

0,2

2000

8,2

18

Определим по формуле (85) перераспределенные вертикальные нагрузки на сваи под воздействием искривления основания. Для определения условного радиуса кривизны по формуле (89) принимаем по главе СНиП «Здания и сооружения на подрабатываемых территориях» пк = 1,4; тк = 0,7 и по формуле (90) тж = 0,9; в результате получим Rж = 9,2 км.

По формуле (86) размер условных фундаментов на естественном основании в уровне острия свай при jiicp = 19° будет aус = 1,46 м. Условные фундаменты под сваями получились столбчатыми квадратного сечения в плане площадью F1 = 1,46 · 1,46 = 2,12 м2.

По формуле (88а) для условного столбчатого фундамента коэффициент жесткости основания К = 1780 тс/м3.

Суммарная площадь условных фундаментов под половиной отсека (заштрихована на рис. 50) f = 20F1 = 42,4 м2. Статический момент площади условных фундаментов относительно оси уу Sу = SFixi = 254 м3; расстояние от главной оси уу до центра тяжести рассматриваемой половины фундамента хо = 254 : 42,4 = 6 м (положение оси у¢у¢).

Момент инерции половины площади условных фундаментов относительно оси у¢у¢ при   где n = 5 свай в ряду.

По формуле (86)

Ах = 22,46 м;  по формуле (85):

Вычисленные величины дополнительных нагрузок на сваи, находящихся на разном расстоянии от оси уу, приводятся в табл. 33.

Таблица 33

Оси поперечных стен

х, м

хo - x, м

DN, тс

1 (1¢)

10,5

-4,5

-10

2 (2¢)

7,5

-1,5

-3,3

3 (3¢)

4,5

1,5

3,3

4 (4¢)

1,5

4,5

10

Таблица 34

Оси поперечных стен

х, м

Поперечная сила, тс

Изгибающий момент, тс×м

стены А и В

стена Б

стены А и В

стена Б

Qx

Qx

Мx

Мx

1 (1¢)

10,5

-14,4

-21,2

0

0

2 (2¢)

7,5

-19,2

-28,9

43,2

63,5

3 (3¢)

4,5

-14,4

-21,2

100,8

148

4 (4¢)

1,5

-14,4/0

-21,2/0

143,9

212

-

0

0

0

143,9

212

Эпюра перераспределения вертикальных нагрузок от искривления основания приводится на рис. 50. Обобщенные усилия в коробке здания определим по формулам (91) и (92). Результаты расчетов приводятся в табл. 34 (от промежуточных свай под поперечными стенами на продольные стены дополнительные нагрузки передаются по закону передачи нагрузок в простой балке, например на наружные стены по осям А и В пойдет часть:  а на внутреннюю стену Б от двух свай:

Эпюры обобщенных сил Q и М, действующих в вертикальной плоскости коробки здания, приводятся на рис. 50. На эти обобщенные усилия следует рассчитать ростверк, стеновые пояса и простенки (расчет опускается).

От действия наклона и ветровой нагрузки на каждую сваю приходится горизонтальная нагрузка T1 = 0,6 тс, которая приложена на высоте zо = 7,5 м. Опрокидывающий момент на пять свай под одной поперечной стеной составит: Мi = 5×0,6×7,5 = 22,5 тс×м. По формуле (84) при действии опрокидывающего момента в поперечном направлении (у1 = 0; y2 = 2,4 м; у3 = 5,5 м) получим дополнительные вертикальные нагрузки на сваи:

 откуда

Расчетные вертикальные нагрузки на сваи определим по формуле (82):

откуда Nмакс = 55,4 тс < Ф = 56 тс;

Nмин = 34,6 тс.

В примере наиболее загруженными при подработке будут сваи, находящиеся под наружными стенами на расстоянии х = 1,5 м от оси уу (см. рис. 50); при кривизне вогнутости наиболее загруженными при подработке будут угловые сваи отсека.

Пример 38. Определить максимальные усилия в железобетонной висячей свае сечением 30´30 см, имеющей жесткую заделку головы и ростверк при воздействии горизонтального перемещения грунта Dг = 2 см. Заглубление сваи l = 7 м, грунт - суглинок (m = 0,35) с модулем деформации на глубине (5 - 6)d Eо = 140 кгс/см2; свайный фундамент с низким ростверком (Н = 0), жесткость сваи EI = 39 · 108 кгс×см2, свая сборная, погружается забивкой.

Решение. Коэффициент  По величине этого коэффициента по графику рис. 47 определяем коэффициенты: b = 140; a = 0,45; qe = 0,39; qА = 0,79; mA = mD = -0,5.

По формуле (101): Eг = 0,5×140 = 70 кгс/см2.

По формуле (100) определяем длину участка b, предварительно определив по табл. 31 для n = 700 : 30 = 23,3; w = 2,72, откуда b = 369 см. По формуле (103) с = 0,45×369 = 166 см; b + c = (1 + a)b = 535 см - неравенство (94) выполняется.

Максимальная ордината бокового давления грунта по формуле (99):

p1 = 22,8 кгс/см = 2,28 тс/м.

По формулам (97) и (98): Q = 5,6 тc; М = 10,4 тс×м.

Максимальные усилия (в уровне головы сваи) QA = 5,6×0,79 = 4,4 тc; MA = -10,4×0,5 = -5,2 тс×м.

Максимальный прогиб сваи по формуле (105) при yа = yd = 2,01 см, что практически равно заданному перемещению Dг = 2 см.

Пример 39. Для исходных данных примера 38 определить максимальные усилия в свае при условно-шарнирном сопряжении головы с низким ростверком.

Решение. Здесь также коэффициент  по графику рис. 48 определяем коэффициенты: b = 50; a = 0,62; qЕ = 0,28; qA = 0,62; тпp = 0,45;

По формуле (100): b = 286 см; с = 0,62×278 = 177 см; b + c = (1 + a) b = 463 см - неравенство (94) выполняется.

Максимальная ордината бокового давления грунта по формуле (99): pi = 1,64 тс/м.

По формулам (97) и (98): Q = 3,13 тc; M = 4,45 тс×м.

Максимальные усилия в свае:

QA = 3,13 · 0,62 = 1,94 тс - в уровне головы сваи;

Мпp = 4,45 · 0,45 = 2 тс×м - в заглубленной части сваи, расположенной на глубине lo = (1 - 0,43) 2,86 = 1,63 м, вычисленной по формуле (102).

Максимальный прогиб сваи по формуле (105) при 5c = 0,78: yа = yd = 1,98 см » Dг = 2 см.

Пример 40. Рассчитать усилия в сваях под отсеком крупнопанельного 9-этажного дома длиной 21 м с подвалом, строящимся на подрабатываемой территории с параметрами деформаций основания: относительные горизонтальные деформации растяжения e = 4 мм/м; максимальный наклон земной поверхности i = 6 мм/м. Средняя нормативная нагрузка на сваю Р = 60 тс; сваи сечением 30´30 см заглублены на 6 м в пески мелкие с модулем вертикальной деформации Ео = 155 кгс/см2 и коэффициентом Пуассона m = 0,3; свободная высота свай Н = 2 м; жесткость свай EI = 39×108 кгс×см2. Имеем вариант свайного фундамента с высоким ростверком. Свайное поле и план ростверка изображены на рис. 51.

Рис. 51. К примеру 40

a - план свайного поля и ростверка; б - эпюра перемещений грунта, см; в - эпюры усилий, тc, в элементах ростверка: слева - для жесткой заделки свай в ростверк, справа - для шарнирного сопряжения; в числителе - по оси Б, в знаменателе - по осям А и В

Решение. Расчетные перемещения грунта, мм, вычислим по формуле [93 (33)] при значениях ne = 1,2; me = 0,85 Dг = 1,2 · 0,85 · 4x = 4,07x.

Эпюра перемещений грунта, см, представлена на рис. 51.

Совместное действие ветровой нагрузки в продольном направлении дома и наклонов земной поверхности создают горизонтальную нагрузку на одну сваю, приложенную в уровне головы сваи: Т = 0,7 тс.

Расчет дополнительных усилий в сваях осуществим по единичным перемещениям D1 = 1 см для вариантов свайных фундаментов с жесткой и шарнирной заделкой голов свай в ростверк.

Коэффициент  как для жесткой, так и для шарнирной заделки голов свай в ростверк. Далее расчеты проведем отдельно для жесткой заделки и шарнирного сопряжения.

Для жесткой заделки

Для шарнирного сопряжения

По графику рис. 47

b = 62; a = 0,58.

По графику рис. 48

b = 28; a = 0,74.

По табл. 29 при l/d = 20 w = 2,64; w (1 - m2) = 2,64 (1 - 0,09) = 2,4; по формуле (101) Ег = 0,65×155 = 100 кгс/см2;

b = 276 см;

b + c = 1,58×2,76 = 4,36 м.

b = 226 см;

b + c = 1,74×2,26 = 3,93 м.

Условие (94) выполняется как при жесткой, так и при шарнирной заделке свай в ростверк.

Уточним коэффициент  по формуле

Для этих значений  находим:

по графику рис. 47

b = 50; a = 0,62;

qe = 0,16;

qD = 0,50; qа = qd = 0,62;

qB = -0,38; mа = -0,91; md » 0;

mпр = 0,45;

mB = 0,24;

c = 0,09.

по графику рис. 48

b = 24; a = 0,78;

qe = 0,09;

qD = 0,33; qа = qd = 0,3;

qB = -0,61; mа = 0; md = 0,69;

mпр = 0,91;

mB = 0,47;

5c = 0,125.

По формуле (100) вычисляем:

b = 262 см; b + с = 4,25 м » 4,36 м;

b = 218 см; b + c = 3,87 м » 3,93 м.

Определим максимальную ординату эпюры давления грунта p1 по формуле (99) при Dг = 1 см:

p1 = 100/2,4 · 0,16 · 1 = 6,67 кгс/см = 0,667 тс/м;

p1 = 3,75 кгс/см = 0,375 тс/м;

По формулам (97) и (98):

Q = 1,17 тс;

М = 1,53 тс×м;

Q = 0,545 тс;

M = 0,595 тс×м.

Максимальные усилия в сваях в уровне головы и в заглубленной в грунт части по формулам (95) и (96):

QA1 = QD1 = 1,17 · 0,62 = 0,73 тc;

QB1 = -1,17 · 0,38 = -0,44 тc;

MA1 = -1,53 · 0,91 = -1,39 тс×м;

Mпр1 = 1,53 · 0,45 = 0,69 тс×м;

QA1 = QD1 = 0,545 · 0,39 = 0,21 тс;

QB1 = -0,545 · 0,61 = -0,335 тс;

MD1 = 0,595 · 0,69 = 0,41 тс×м;

Mпр1 = 0,595 · 0,91 = 0,54 тс×м.

Положение ординаты с максимальным изгибающим моментом в заглубленной части свай вычислим по формуле (102):

lo = (1 - 0,42) 2,62 = 1,52 м;

lo = (1 - 0,58) 2,18 = 0,92 м.

Проверим максимальный прогиб свай по формуле (105):

Полученные расчетные величины прогибов практически оказались равными принятым единичным перемещениям.

Определим усилия в основных сечениях сваи по формулам (107) при расчетных горизонтальных перемещениях, определенных по формуле [93 (33)], для вариантов с жесткой и шарнирной заделкой голов свай в ростверке. Результаты расчетов записаны в табл. 35.

Данные табл. 35 показывают, что максимальные усилия в сваях с жесткой заделкой голов превышают усилия в сваях с шарнирным сопряжением свай с ростверком в 2,2 раза по поперечной силе и в 2,6 раза по изгибающему моменту, а опорные реакции QA при шарнирном сопряжении в 3,5 раза меньше, чем при жесткой заделке.

Таблица 35

Оси свай

Dг, см

Жесткая заделка

Шарнирное сопряжение

QA, тс

QВ, тс

МA, тс×м

Мпр, тс×м

QA, тс

QВ, тс

МD, тс×м

Мпр, тс×м

1

4,3

3,14

-1,89

-5,97

2,97

0,90

-1,44

1,76

2,32

2

3,05

2,22

-1,34

-4,23

2,1

0,64

-1,02

1,25

1,65

3

1,83

1,34

-0,81

-2,54

1,26

0,38

-0,61

0,75

0,99

4

0,61

0,44

-0,27

-0,85

0,42

0,13

-0,21

0,25

0,33

Реакции свай по величине равные поперечной силе QA, передаются на ростверк. Суммарные продольные усилия для рис. 51 в любом сечении Х ростверка определяют по формуле

где l - коэффициент, учитывающий передачу нагрузки от промежуточных рядов свай (определяется, как и в примере 37);

QAi - опорная реакция i-сваи;

n - число свай в ростверке, считая от торца здания (i = 1) до рассматриваемого сечения (максимальное число свай равно их числу от торца до поперечной оси отсека здания; сваи, расположенные на поперечной оси, не учитываются).

От промежуточных рядов (оси Г и Д по рис. 51) опорные реакции свай через поперечные элементы ростверков передаются на продольные ростверки по закону передачи нагрузок в простой балке. Это учитывается коэффициентом l. Применительно к рис. 51 коэффициенты l имеют величины: lА = lВ = 0,44; lБ = (1 - 0,44) 2 = 1,12.

В табл. 36 и 37 приводятся величины суммарных продольных усилий, тс, в элементах ростверка соответственно при жесткой и шарнирной заделке свай в ростверк при воздействии горизонтальных перемещений, а на рис. 51 - продольные усилия: слева для жесткой заделки голов, а справа для шарнирного сопряжения свай с ростверком.

Таблица 36

Оси свай

Стены по осям А и В

Стена по оси Б

(1 + l) QА, тс

Nг, тс

(1 + l) QА, тс

Nг, тс

1

4,52

4,52

6,66

6,66

2

3,22

7,74

4,71

11,37

3

1,93

9,67

2,84

14,21

4

0,63

10,3

0,93

15,14

Ось yy

-

10,3

-

15,14

Сопоставление продольных усилий в ростверках по табл. 36 и 37 показывает, что при жесткой заделке они в 3,5 раза больше, чем при шарнирном сопряжении голов свай с ростверком при одних и тех же величинах горизонтальных перемещений. Следует также иметь в виду, что при жесткой заделке от свай на ростверк передаются сосредоточенные изгибающие моменты МА (см. табл. 35), которые должны быть увеличены, как и опорные реакции, на коэффициент l за счет свай, расположенных на промежуточных осях свайного поля.

Таблица 37

Оси свай

Стены по осям А и В

Стена по оси Б

(1 + l) QА, тс

Nг, тс

(1 + l) QА, тс

Nг, тс

1

1,30

1,3

2,91

1,91

2

0,92

2,22

1,34

3,25

3

0,55

2,77

0,81

4,06

4

0,19

2,96

0,28

4,34

Ось yy

-

2,96

-

4,34

Определим по формулам (118) и (119) дополнительные усилия от воздействия вертикальных нагрузок на изогнутые от горизонтальных перемещений оси свай. Результаты расчетов дополнительных усилий в сваях записаны в табл. 38.

Таблица 38

Оси свай

Dг, см

Жесткая заделка, тс×м

Шарнирное сопряжение

МEN  » МпрN

DмA

Dмпр, тс×м

1

4,3

2,17

-1,08

2,09

2

3,05

1,54

-0,77

1,48

3

1,83

0,92

-0,46

0,89

4

0,61

0,3

-0,15

0,3

Сопоставление основных усилий в сваях (изгибающих моментов) по табл. 35 от воздействия горизонтальных перемещений с дополнительными усилиями по табл. 38 от воздействия вертикальных нагрузок на искривленные оси свай показывает большой удельный вес вторых по сравнению с первыми; особенно это относится к варианту с шарнирной заделкой голов свай в ростверк, для которого дополнительные изгибающие моменты составляют 90 % величины основных. Для жесткой заделки дополнительные моменты в уровне опоры сваи составляют около 18 %.

От воздействия горизонтальных нагрузок (ветровых и наклонов земной поверхности) в продольном направлении здания (отсека), равных 0,7 тс, определим сначала по формуле (110) перемещения свай, а затем по формулам (107) величины возникающих усилий.

Для жесткой заделки

Для шарнирного сопряжения

По формулам (107):

QАН = 0,96×0,73 = 0,7 тс;

QАН = 3,33×0,21 = 0,7 тс;

QВН = -0,96×0,44 = -0,42 тс;

QВН = -3,33×0,335 = -1,11 тс;

МАН = -0,96×1,39 = -1,33 тс×м;

МАН = -3,33×0,41 = -1,36 тс×м;

МпрN = 0,96×0,69 = 0,66 тс×м.

МпрN = 3,33×0,54 = 1,8 тс×м.

Таблица 39

Номер свай

Жесткая заделка

Шарнирное сопряжение

QАр, тс

QВр, тс

МАр, тс×м

Мпр.р, тс×м

QАр, тс

QВр, тс

Мпр.р, тс×м

1

2,9

-1,75

-6,38

4,48

1,11

-1,77

4,53

2

2,17

-1,31

-4,74

3,28

0,9

-1,44

3,51

3

1,46

-0,8

-3,14

2,11

0,7

-1,11

2,51

4

0,75

-0,45

-1,54

0,94

0,5

-0,79

1,51

Расчетные усилия в сваях от всех воздействий следует определять по формулам (120) и (121), суммируя соответствующие усилия от воздействия горизонтальных перемещений (см. табл. 35), дополнительных усилий от вертикальных нагрузок (см. табл. 38) и от суммарного воздействия наклонов земной поверхности и ветровой нагрузки. Результаты расчетов суммарных усилий сведены в табл. 39. Продемонстрируем подсчет расчетных усилий для сваи 1, имеющей жесткую заделку головы в ростверк:

QАр = 0,8 (3,14 + 0,7 · 0,7) = 2,9 тс;

МАр = -0,8 (5,97 + 0,7 · 1,33 + 1,08) = -6,38 тс×м.

Сравнение максимальных суммарных усилий по табл. 39 для жесткой заделки и шарнирного сопряжения показывает, что при больших горизонтальных перемещениях (сваи 1 и 2) в варианте с жесткой заделкой усилия до 40 % (момент) и 60 % (поперечная сила) больше усилий, возникающих в варианте свайных фундаментов с шарнирным сопряжением, а при относительно малых перемещениях (свая 4) максимальные значения усилий отличаются незначительно. Но при этом опорные реакции QАр в сваях с жесткой заделкой до 2,6 раза превышают опорные реакции в сваях с шарнирным сопряжением (сваи 1 и 2); в этом сечении - максимальные значения изгибающего момента, что требует соответствующего усиления свай армированием в этом уровне, с одной стороны, и передачи больших усилий на ростверк - с другой. Расчетные продольные усилия в ростверке следует вычислять по величинам опорных усилий QАр и Мар, как это выше было сделано для воздействия горизонтальных перемещений.

Пример 41. Определить максимальные усилия в железобетонной свае сечением 40 ´ 40 см, имеющей жесткую заделку в низкий ростверк (Н = 0) при воздействии горизонтального перемещения грунта Dг = 1 см, Свая-стойка длиной 6 м погружена забивкой через слой глины, имеющей модуль вертикальной деформации Ео = 120 кгс/см2, и опирается острием на прочный грунт. Жесткость сваи EI = 270´108 кгс×см2. Модуль боковой деформации грунта, определенный по формуле (101), составляет Ег = 60 кгс/см2; коэффициент Пуассона для глины m = 0,42.

Решение. Коэффициент  = 0; по графику рис. 47 находим b = 140; a = 0,45. По формуле (100) определяем длину участка b, предварительно определив по табл. 31, при

п = 600; 40 = 15; w = 2,44; w (1 - m2) = 2,01;

b = 576 см; b + с = 1,45×5,76 = 8,3 м.

Условие (94) -  не выполняется, но выполняется условие (114); следовательно, для определения максимальных усилий в свае необходимо применить формулы (115) и (116).

По формуле (117) определим опорную реакцию в уровне острия сваи N = 1280 кгс; по формуле (113) максимальная ордината эпюры давления грунта р = 11,75 кгс/см = 1,175 тс/м. По формулам (115) и (116) максимальные усилия в свае Q = 3,42 тс; М = 6,4 тс×м.

Эпюры прогиба, давлений, поперечных сил и изгибающих моментов в свае соответствуют схемам на рис. 49А.

Проверим прогиб конца сваи под воздействием распределенной нагрузки с максимальной ординатой р и сосредоточенной силы N, имеющей противоположный знак, приложенной на конце сваи-консоли:

 что равно заданному перемещению Dг.

Пример 42. Определить максимальные усилия в железобетонной свае-стойке сечением 40´40 см, имеющей шарнирную заделку в низкий ростверк при воздействии горизонтального перемещения Dг = 1 см. Грунтовые условия, длина и жесткость сваи - по примеру 41.

Решение. Коэффициент  По графику рис. 48 находим b = 50; a = 0,62. По формуле (100) длина участка b при w(1 - m2) = 2,01:b = 4,62 м, b + c = 1,62 · 4,62 = 7,47 м.

Условие (94) не выполняется, но выполняется условие (114).

Расчет максимальных усилий в свае необходимо вести по формулам (111) - (113); получим р = 9,85 кгс/см = 0,985 тс/м; Q = 1,95 тс; M = 3,7 тс×м.

Эпюры прогиба, давлений, поперечных сил и изгибающих моментов в свае соответствуют схемам, изображенным на рис. 49, Б.

Проверим, каковы будут максимальные усилия в свае при применении формул (95) и (96).

По графику рис. 48 определим: qЕ = 0,28; qA = 0,62; тпр = 0,45. Длина b останется такой же. По формулам (97) и (98) с учетом p1 = 0,835 тс/м получим Q = 2,58 тс; M = 5,9 тс×м; по формулам (95) и (96) максимальные усилия QA = 1,6 тс; Mпр = 2,66 тс×м. Как видим, усилия, определенные по формулам (95) и (96), оказались меньше, чем по формулам (111) и (112): по поперечной силе на 18 %, а по изгибающему моменту по 28 %.

Пример 43. Рассчитать усилия в связях-распорках каркасного здания длиной 30 м (рис. 42) с нормативной нагрузкой на куст свай из 6 шт. Nв = 150 тс под каждой колонной под воздействием горизонтальных деформаций интенсивностью e = 3,5 мм/м. Ростверк отделен от фундаментов швом скольжения с коэффициентом трения f = 0,2.

Решение. Принимаем шарнирную заделку голов свай в ростверк. Усилия в связях-распорках следует определять по формулам (79) и (80). Расчеты осуществим в табличной форме для одного ряда колонн (табл. 40); коэффициенты т¢ приняты по табл. 29. Общий характер эпюры продольных усилий в связях-распорках представлен на рис. 42, в. Следует учесть также дополнительные нагрузки на связи-распорки от давления грунта на фундаменты.

Таблица 40

Оси колонн

Ti, тс

Коэффициент т¢

N, тс

1

30

1

30

2

30

0,85

51

3

30

0,7

63

Поперечную силу на куст свай определим по формуле (80): Ti = 0,2×150 = 30 тс, а на одну сваю - Ti = 30/6 = 5 тс.

Сваи следует рассчитать на эту горизонтальную нагрузку (с учетом коэффициента 0,8) как для шарнирного сопряжения с низким ростверком при Н = 0 и значениях  b = 50; a = 62 и соответствующих жесткостных и упругих характеристиках свай и грунта.

12. ОСОБЕННОСТИ ПРОЕКТИРОВАНИЯ СВАЙНЫХ ФУНДАМЕНТОВ В СЕЙСМИЧЕСКИХ РАЙОНАХ

12.1. При проектировании свайных фундаментов из свай, свай-оболочек и свай-столбов (ниже в настоящем разделе именуемых для краткости общим названием «сваи») в сейсмических районах кроме требований настоящей главы должны соблюдаться также требования главы СНиП по строительству в сейсмических районах, при этом в дополнение к требованиям к инженерным изысканиям для проектирования свайных фундаментов, изложенным в разделе 3 настоящей главы, должны быть использованы данные о микросейсморайонировании территории (или участка) строительства.

12.2. Свайные фундаменты зданий и сооружений с учетом сейсмических воздействий должны рассчитываться на особое сочетание нагрузок по предельным состояниям первой группы. При этом предусматривается:

а) определение несущей способности сваи на сжимающую и выдергивающую нагрузку в соответствии с требованиями раздела 5 настоящей главы;

б) проверка сечений по сопротивлению материала на совместное действие расчетных усилий (сжимающей силы, изгибающего момента и перерезывающей силы), величины которых определяются по формулам п. 7 приложения к настоящей главе в зависимости от расчетных значений сейсмических сил;

в) проверка устойчивости грунта по условию ограничения давления, передаваемого на грунт боковыми поверхностями свай в соответствии с требованиями п. 6 приложения к настоящей главе.

При указанных в подпунктах «а» - «в» расчетах должны выполняться также дополнительные требования, приведенные в пп. 12.3 - 12.8 настоящей главы.

Примечание. Для фундаментов с высоким свайным ростверком расчетные значения сейсмических сил следует определять как для зданий или сооружений с гибкой нижней частью, увеличивая коэффициент динамичности b в 1,5 раза, если период колебаний основного тона составляет 0,4 с и более. При этом значение коэффициента динамичности b должно быть не более 3 и не менее 1,2.

12.3. Влияние сейсмических воздействий на величины R и f при расчете несущей способности свай на сжимающую или выдергивающую нагрузку должно учитываться путем умножения их на понижающий коэффициент условий работы грунта основания тс, приведенный в табл. 41 (17).

Таблица 41 (17)

Расчетная сейсмичность зданий и сооружений

Коэффициент условий работы тс для корректировки значений R и f при грунтах

песчаных, плотных и средней плотности

глинистых консистенций

маловлажных и средней влажности

водонасыщенных*

твердой, полутвердой и тугопластичной

мягкопластичной*

текучепластичной*

7

0,95

0,9

0,95

0,85

0,75

8

0,85

0,8

0,9

0,8

0,7

9

0,75

0,7

0,85

0,7

0,6

Примечания: 1. Графы, отмеченные звездочкой, относятся только к сопротивлению грунта на боковой поверхности.

2. Определение несущей способности свай-стоек, опирающихся на скальные и крупнообломочные грунты, производится без введения дополнительных коэффициентов условий работы тс.

12.4. При определении несущей способности свай Фс, работающих на сжимающие и выдергивающие нагрузки с учетом сейсмических воздействий (п. 12.2 настоящей главы), сопротивление грунта на боковой поверхности сваи до расчетной глубины hp (п. 12.5 настоящей главы) принимается равным нулю.

12.5. Расчетная глубина hp, до которой не учитывается сопротивление грунта на боковой поверхности, определяется по формуле

                                                        [126 (34)]

где aд - коэффициент деформации, определяемый по формуле (6) приложения к настоящей главе.

12.6. Расчет сваи по условию ограничения давления, оказываемого на грунт боковой поверхностью сваи, выполняемый по формуле (14) приложения к настоящей главе, при воздействии сейсмических нагрузок следует производить, принимая значения расчетного угла внутреннего трения j1 уменьшенными на следующие величины: для расчетной сейсмической нагрузки 7 баллов - на 2 град, 8 баллов - 4 град, 9 баллов - на 7 град.

К пп. 12.1 - 12.6. Несущая способность , тс, висячей сваи, работающей на осевую сжимающую нагрузку, с учетом сейсмических воздействий может быть определена по формуле

                                (127)

где т, тR, R, F, и, mf, li, - значения те же, что и в формулах [(7 (7)] и [14 (10)];

mc и тci - коэффициенты условий работы, учитывающие влияние сейсмических колебаний на напряженное состояние грунта под нижним концом и на боковой поверхности сваи в i-м слое грунта, которые могут приниматься по табл. 41 (17) для забивных призматических свай и свай-оболочек, применяющихся в фундаментах зданий и сооружений, а также свай-столбов, применяющихся в фундаментах опор мостов; для набивных свай (кроме применяющихся в фундаментах опор мостов), эти коэффициенты принимаются по табл. 41 а;

Таблица 41 а

Расчетная сейсмичность, баллы

тс

тсi

Маловлажные песчаные грунты средней плотности и плотные, за исключением пылеватых

Глинистые грунты консистенции

твердой

полутвердой и тугопластичной

тугопластичной

мягкопластичной

текучепластичной

7

0,85

1

0,9

0,9

0,8

0,74

8

0,75

0,95

0,8

0,8

0,7

0,65

9

0,6

0,8

0,65

0,65

0,6

0,5

mRc - коэффициент условий работы нижнего конца сваи при сейсмических воздействиях, принимаемый равным единице для забивных свай, для набивных свай с приведенной глубиной погружения  для набивных свай с меньшей приведенной глубиной погружения коэффициент mRc определяется по формуле

где Н и М - расчетные значения соответственно горизонтальной силы и изгибающего момента, приложенных к свае в уровне поверхности грунта, при особом сочетании нагрузок с учетом сейсмических воздействий;

b - коэффициент, равный 0,01 м/тс;

d - диаметр ствола сваи или наибольший диаметр поперечного сечения уширения для свай с уширенной пятой;

fi - значения те же, что и в формулах [7 (7) и 10 (14)], учитываемые с глубины hр, которая для забивных свай определяется по формуле 126 (34), а для набивных свай и свай-оболочек - по формуле

где  - коэффициент, принимаемый для набивных свай диаметром менее 0,8 м  для свай-оболочек и набивных свай диаметром 0,8 м и более  при шарнирном сопряжении ростверка со сваями и  при жесткой заделке свай в ростверк.

Набивные сваи в сейсмических районах следует устраивать в маловлажных устойчивых грунтах диаметром не менее 40 см при отношении длины к диаметру не более 20, обеспечивая надлежащий контроль качества изготовления свай, гарантирующий получение их формы и размеров в строгом соответствии с проектом. Как исключение, допускается прорезание прослоев водонасыщенных грунтов с применением извлекаемых обсадных труб или под глинистым раствором. В этом случае контроль качества их изготовления должен осуществляться авторами проекта.

Приведенная глубина погружения набивных свай с уширенной пятой определяется по формуле (5) приложения к главе СНиП II-17-77, где l - длина ствола сваи от поверхности грунта до начала уширения, если отношение диаметра уширения к диаметру ствола сваи не менее 1,5, в противном случае l - расстояние от поверхности грунта до подошвы уширенной пяты.

Несущую способность любых видов свай на выдергивающие нагрузки с учетом сейсмических воздействий следует определять только по результатам полевых испытаний свай имитированными сейсмическими воздействиями в соответствии с пояснениями к п. 12.8.

Проверка сечений железобетонных свай по сопротивлению материала на совместное действие расчетных усилий (продольной силы, изгибающего момента и поперечной силы) должна производиться в соответствии с главой СНиП по проектированию бетонных и железобетонных конструкций как для внецентренно-сжатого или растянутого элемента с учетом требований п. 5.2 настоящей главы СНиП. В отличие от требований примечания к п. 1 приложения к настоящей главе СНиП при расчете свайных фундаментов с учетом сейсмических воздействий проверка устойчивости грунта по условию ограничения давления, передаваемого на грунт боковыми поверхностями свай, должна выполняться в любом случае независимо от размеров сваи и вида грунта, окружающего сваю, при этом значения расчетного угла внутреннего трения jI принимаются уменьшенными в соответствии с указаниями п. 12.6.

Величины расчетных усилий в сваях, а также давление, передаваемое на грунт боковыми поверхностями свай, при особом сочетании нагрузок определяются в соответствии с приложением к настоящей главе СНиП. При этом для сваи с уширенной пятой значения коэффициентов, приведенных в табл. 2 приложения к настоящей главе, следует принимать как при заделке сваи в скалу на глубину, соответствующую длине ствола сваи в грунте до начала уширения, если отношение диаметра уширения к диаметру ствола не менее 1,5; в противном случае значения коэффициентов принимаются как при опирании сваи без уширения на нескальный грунт. Для наиболее распространенной конструкции свайного фундамента в сейсмических районах, когда сваи с приведенной глубины погружения  защемлены в низкий ростверк, исключающий возможность поворота головы свай, изгибающий момент  и поперечная сила Qмакс достигают максимального значения в уровне подошвы находящегося на грунте ростверка, а давление, передающееся на грунт боковыми поверхностями сваи sмакс, достигает максимального значения на глубине  указанные величины могут определяться по формулам:

                                                          (128)

Qмакс = Н;                                                      (129)

                                                      (130)

где Н - горизонтальная расчетная нагрузка, приходящаяся на сваю в уровне подошвы находящегося на грунте ростверка, тc;

aм, aр - коэффициенты, значения которых зависят от приведенной глубины погружения сваи : при  aм = 1,06; ap = 0,73; при  aм = 0,93, ap = 0,65.

bc - значение то же, что и в формуле (6) приложения к настоящей главе СНиП;

aд - коэффициент деформации, м-1, системы «свая-грунт» при расчете свайных фундаментов на особое сочетание нагрузок с учетом сейсмических воздействий определяется по результатам выполняемых форсированным методом испытаний одиночных свай горизонтальной статической нагрузкой; в случае прорезания сваями однородных слоев грунта с поверхности до глубины не менее 4 м можно определять коэффициент aд по формуле (6) приложения к настоящей главе СНиП.

Испытания одиночной сваи горизонтальной статической нагрузкой для определения коэффициента деформации aд производится без условной стабилизации перемещения на каждой ступени нагрузки, т.е. форсированным методом при постоянной скорости возрастания нагрузки с интервалом ее действия на каждой ступени в течение 5 мин. Величина ступени нагрузки принимается равной 1/10 - 1/12 предполагаемой величины предельной нагрузки в испытаниях, при достижении которой величина горизонтального перемещения сваи начинает непрерывно возрастать без увеличения нагрузки.

Коэффициент деформации aд, м-1, по результатам испытаний горизонтальной статической нагрузкой, приложенной в уровне поверхности грунта к одиночной свае, нижний конец которой не заделан в скалу, определяется по формуле

                                                      (131)

где

                                                       (132)

l - глубина погружения сваи в грунт, м;

yо - горизонтальное перемещение сваи в уровне поверхности грунта, м, соответствующее нагрузке Hо;

Hо - нагрузка, тс, меньшая на одну ступень, чем предельная при испытаниях;

Еб - начальный модуль упругости бетона сваи при сжатии и растяжении, тс/м2, принимаемый в соответствии с главой СНиП по проектированию бетонных и железобетонных конструкций;

А, В - коэффициенты, значения которых зависят от величины b: при b ³ 3 A = 1,34, В = 0, при b < 3 А = 1,14, B = 0,67.

Пример 44. Требуется рассчитать на особое сочетание нагрузок с учетом сейсмических воздействий свайный фундамент секции крупнопанельного здания при расчетной сейсмичности 8 баллов, сваи длиной 10 м, сечением 30´30 см из бетона марки М300 с ненапрягаемой стержневой арматурой забиты дизель-молотом на глубину 9,5 м. Верхние концы свай жестко заделаны в расположенный на грунте ростверк, исключающий возможность поворота головы сваи. Вертикальная нагрузка на одну сваю, расположенную под наружными продольными стенами, при особом сочетании нагрузок составляет: Nмакс = 53,9 тс; Nмин = 26,1 тс. Горизонтальная нагрузка на одну сваю в уровне поверхности грунта составляет Н = 4,5 тс.

Грунтовые условия. С поверхности на глубину 4 м залегает слой мягкопластичного суглинка, затем на глубину 4,5 м - тугопластичная глина и ниже - крупный песок, разведанный до глубины 7 м.

Физико-механические свойства грунтов:

суглинок мягкопластичный: go = 1,8 тс/м3, jI = 14°, cI = 0,64 тс/м2, е = 0,85, il = 0,55;

глина тугопластичная: go = 1,9 тс/м3, jI = 22°, cI = 1,7 тс/м2, e = 0,65, il = 0,3;

песок крупный: go = 2 тс/м3, jI = 31°, cI = 0,15 тс/м2, e = 0,55.

Решение. 1. Определяем коэффициент деформации aд по формуле (6) приложения к настоящей главе СНиП при следующих данных: начальный модуль упругости бетона Eб = 2,6×106 тс/м2 по СНиП II-21-75, момент инерции сечения  условная рабочая ширина сваи bc = 1,5×0,3 + 0,5 = 0,95; коэффициент пропорциональности для верхнего слоя грунта - мягкопластичного суглинка (IL = 0,55) - по табл. 1 приложения составляет K = 450 тс/м: коэффициент деформации

Длину верхнего участка сваи, вдоль которого сопротивление грунта на боковой поверхности не учитывается, определяем по формуле [126 (34)]:

Учитывать боковое сопротивление начинаем с глубины 5,3 м.

Несущую способность сваи на осевую сжимающую нагрузку с учетом сейсмических воздействий определяем по формуле (127), принимая: т = 1, тR = тRc = тf = 1; F = 0,09 м2; u = 1,2 м; R = 724 т/м2 [для глубины l = 9,5 м по табл. 1 (1)]: mс = 0,85 для песка под нижним концом сваи по табл. 41 (17); l1 = 5,3 м; f1 = 0 (по указаниям п. 12.4); l2 = 2 м (средняя глубина слоя глины l¢3 = 6,3 м); f2 = 4,2 тс/м2 по табл. 2 (2); mс2 = 0,9 по табл. 41 (17); l3 = 1,2 м (средняя глубина слоя глины l¢3 = 7,9 м); f3 = 4,4 тс/м2 по табл. 2 (2); тс3 = 0,9 по табл. 41 (17); l4 = 1 м (средняя глубина слоя песка l¢4 = 9 м), f4 = 6,34 тс/м2 по табл. 2 (2); тс4 = 0,85 по табл. 41 (17);

Расчетная нагрузка, допускаемая на сваю, в соответствии с формулой [1 (1)]

что удовлетворяет требованиям расчета.

2. Величину усилий в свае определяем по формулам (128) - (129): так как приведенная глубина погружения сваи  значение коэффициента ам = 0,93:

Qмакс = 4,5 тс.

Проверку сечений железобетонной сваи по сопротивлению материала необходимо выполнять как для внецентренно-сжатого элемента в соответствии с главой СНиП по проектированию бетонных и железобетонных конструкций, при этом расчетная длина сваи как стержня, жестко защемленного по концам, в соответствии с п. 5.2 принимается равной

3. Проверяем условие ограничения давления, передаваемого на грунт боковыми поверхностями сваи. Максимальное давление определяем по формуле (130) (приведенная глубина погружения сваи  коэффициент ар = 0,65):

Давление достигает максимального значения на глубине  При проверке условия ограничения давления по формуле (14) приложения для верхнего слоя грунта - мягкопластичного суглинка - принимаем в соответствии с п. 12.6 при расчетной сейсмичности 8 баллов: j1 = 14° - 4° = 10°;

что удовлетворяет требованиям расчета.

Несущую способность свай с учетом сейсмических воздействий в грунтовых условиях, отсутствующих в табл. 41 (17) или 41 а, следует определять по результатам полевых испытаний свай имитированными сейсмическими воздействиями в соответствии с пояснениями к п. 12.8.

В сейсмических районах при соответствующем технико-экономическом обосновании возможно применение свайных фундаментов с промежуточной подушкой из сыпучих материалов (щебня, гравия, песка крупного и средней крупности), конструктивная схема которых приведена на рис. 52.

Рис. 52. Схема свайного фундамента с промежуточной подушкой

1 - фундаментный блок; 2 - промежуточная подушка; 3 - железобетонные оголовки; 4 - железобетонные сваи; 5 - поверхность дна котлована

Свайные фундаменты с промежуточной подушкой не следует применять в набухающих и заторфованных грунтах, просадочных грунтах II типа по просадочности, а также на подрабатываемых территориях и на площадках с оползневыми и карстовыми явлениями.

Несущая способность свай, входящих в состав свайного фундамента с промежуточной подушкой и работающих на сжимающие нагрузки с учетом сейсмических воздействий, определяется по формуле (127); при этом учитывается сопротивление грунта вдоль всей боковой поверхности сваи, т.е. принимается hp = 0, а тRс = 1,2.

Поскольку в свайных фундаментах с промежуточной подушкой практически исключается передача на сваю горизонтальных нагрузок от колеблющегося сооружения, расчет свай на горизонтальные сейсмические нагрузки не производится. В связи с этим конструкция свай принимается такой же, как и для несейсмических районов.

При расчете свайных фундаментов с промежуточной подушкой с учетом сейсмических воздействий в необходимых случаях следует производить дополнительную проверку здания на сдвиг по подошве фундаментного блока, при этом коэффициент трения бетона по поверхности промежуточной подушки следует принимать равным 0,4, а коэффициент запаса на сдвиг должен быть не менее 1,2.

Фундаментный блок, устанавливаемый на промежуточную подушку, рассчитывается как ростверк обычного свайного фундамента в соответствии с главой СНиП по проектированию бетонных и железобетонных конструкций, при этом предполагается, что подошва блока опирается непосредственно на сваи.

Среднее давление на контакте промежуточной подушки и сваи (отношение расчетной нагрузки, приходящейся на одну сваю, к площади ее контакта с промежуточной подушкой) не должно превышать 250 тс/м2. Для увеличения площади контакта рекомендуется устраивать на сваях железобетонные оголовки. Расчет оголовка выполняется на действие равномерно распределенной нагрузки, равной среднему давлению на контакте с промежуточной подушкой, в соответствии с главой СНиП по проектированию бетонных и железобетонных конструкций.

Свайные фундаменты с промежуточной подушкой, применяемые в сейсмических районах, должны также отвечать требованиям расчета по деформациям, при этом осадка фундамента Sф, см, определяется по формуле

Sф = Sп + Sсв,                                                       (133)

где

                                                            (134)

Sсв - осадка свайного куста, определяемая в соответствии с указаниями раздела 7 настоящей главы СНиП, см;

Sп - величина сжатия промежуточной подушки, см;

Nф - расчетная вертикальная нагрузка, действующая на фундамент в уровне низа промежуточной подушки, при основном сочетании нагрузок с коэффициентом перегрузки, равным 1, кгс;

h - толщина промежуточной подушки, см;

Fог - площадь всех оголовков свай в фундаменте, см2;

Е - модуль деформации уплотненной промежуточной подушки; в зависимости от материала подушки принимается равным: для песка средней крупности - 150 кгс/см2, для крупного песка и известкового щебня - 200 кгс/см2, для гранитного щебня - 400 кгс/см2; в случае применения других материалов значение Е допускается принимать равным половине модуля деформации, определенного в приборе одноосного сжатия.

Определение расчетной нагрузки на сваю, а также выбор расстояния между сваями и их длины производится в соответствии с указаниями раздела 8 настоящей главы СНиП. В случае когда расчетная нагрузка на крайние сваи оказывается отрицательной, что означает отрыв подошвы фундаментного блока от промежуточной подушки, следует определить эпюру давления под подошвой блока как для фундамента на естественном основании, при этом расстояние от края подошвы блока до нулевой ординаты треугольной эпюры давлений должно быть не менее 1/3 ширины подошвы блока в направлении действия сейсмического момента.

Промежуточная подушка должна отсыпаться слоями не более 20 см с уплотнением до объемного веса не менее 1,9 тс/м3. Толщина промежуточной подушки над оголовками свай назначается в зависимости от расчетной нагрузки, приходящейся на одну сваю, и составляет: при нагрузках до 60 тс - 40 см; при нагрузках более 60 тс - 60 см.

Размеры промежуточной подушки в плане должны быть больше размеров фундаментного блока не менее чем на 30 см в каждую сторону. Размеры фундаментного блока в плане должны быть не менее размеров свайного куста по наружным граням оголовков. Независимо от формы поперечного сечения сваи оголовки могут приниматься квадратной формы в плане, при этом размер стороны оголовка а, см, должен находиться в пределах

                                            (135)

где d - диаметр круглого или сторона квадратного, или большая сторона прямоугольного поперечного сечения ствола сваи, см;

L - расстояние между осями свай в кусте, см.

Толщина железобетонного оголовка над плоскостью сваи должна быть не менее а - d.

Требования к изысканиям при проектировании свайных фундаментов с промежуточной подушкой и к полевым испытаниям свай предъявляются такие же, как и для обычных свайных фундаментов, применяемых в несейсмических районах.

Пример 45. Требуется рассчитать свайный фундамент с промежуточной подушкой под колонну производственного здания, возводимого на площадке с расчетной сейсмичностью 8 баллов. Расчетные нагрузки, действующие по верхнему обрезу фундамента, составляют: при основном сочетании N = 190 тс, М = 12 тс×м, Н = 8 тс; при особом сочетании N = 160 тс, М = 30 тс×м, Н = 20 тс. Грунтовые условия. С поверхности до глубины 7 м залегает слой мягкопластичного суглинка (Il = 0,6), подстилаемый крупными плотными песками. Сваи забивные железобетонные сечением 30´30 см длиной 8 м. Несущая способность свай, с учетом сейсмических воздействий, вычисленная по формуле (127) при hp = 0, составляет 105 тс. Нагрузка, допускаемая на сваю по формуле [1 (1)] настоящей главы СНиП:

Решение. Принимаем куст из свай с расстоянием между осями свай 90 см. Для вычисления собственного веса фундамента назначаем размер подошвы фундаментного блока 1,5´1,5 м, его высоту 1,2 м, толщину промежуточной подушки 0,6 м. Тогда вертикальная нагрузка на фундамент и момент в уровне подошвы фундаментного блока при особом сочетании соответственно составляет Nф = 170,3 тс; Мф = 54 тс×м.

Расчетная нагрузка на сваю определяется по формуле [(44 (26)] настоящей главы СНиП:

Nмакс = 72,5 тс < 75 тс; Nмин = 12,5 тс > 0.

Таким образом, максимальная нагрузка на сваю меньше расчетной допускаемой, а минимальная - положительна, т.е. отрыва подошвы не происходит.

Площадь оголовка в плане должна быть не менее

Принимаем квадратные оголовки с размером стороны а = 55 см и площадью 3025 см2 > 2900 см2. В этом случае удовлетворяется условие (135). Площадь оголовков на всех четырех сваях составляет Fог = 3025×4 = 12100 см2. Толщину оголовка над плоскостью торца сваи принимаем равной 30 см, что больше, чем а - d = 55 - 20 = 25 см. Свая заводится в оголовок на 10 см.

Высоту промежуточной подушки оставляем равной 60 см, поскольку вертикальная нагрузка, приходящаяся на сваю, больше 60 тс. Подушка выполняется из известкового щебня фракции 20 - 40 мм с модулем деформации Е = 200 кгс/см2.

Конструктивная схема фундамента приводится на рис. 52.

Проверяем фундамент на сдвиг по подошве фундаментного блока. Сдвигающая нагрузка равна 20 тс, удерживающая сила при коэффициенте трения между фундаментным блоком и подушкой, равном 0,4, составляет 160×0,4 = 64 тс. Коэффициент запаса на сдвиг определяется как отношение удерживающего и сдвигающего усилий, т.е.

Для расчета по деформациям вычисляем нормативную вертикальную нагрузку при основном сочетании, принимая осредненный коэффициент перехода к нормативным нагрузкам равным 1,15:

Осадка промежуточной подушки определяется по формуле (134):

Осадка свайного куста Sсв определяется в соответствии с указаниями раздела 7 настоящей главы СНиП и составляет Sсв = 2,9 см. Общая осадка фундамента Sф = 4,3 + 2,9 = 7,2 см, что меньше допустимой для данного типа зданий осадки, равной 8 см.

12.7. При расчете свайных фундаментов мостов влияние сейсмического воздействия на условия заделки свай в водонасыщенных пылеватых песках, текучепластичных и мягкопластичных глинах и суглинках и в текучих супесях следует учитывать путем понижения на 30 % значений коэффициентов пропорциональности К, приведенных для этих грунтов в табл. 1 приложения к настоящей главе.

При проверке давления на грунт допускается учитывать кратковременный характер воздействия сейсмической нагрузки путем повышения коэффициента h2 в формуле (14) приложения к настоящей главе. При расчетах однорядных фундаментов на нагрузки, действующие в плоскости, перпендикулярной ряду, значения коэффициента h2 увеличиваются на 10 %, в остальных случаях - на 30 %.

12.8. Несущая способность сваи Фс, тс, работающей на сжимающую нагрузку, по результатам полевых испытаний должна определяться с учетом сейсмических воздействий по формуле

Фс = kс · Ф,                                                 [136 (35)]

где Ф - несущая способность сваи, тс, определенная по результатам статических или динамических испытаний либо по данным статического зондирования грунта в соответствии с указаниями раздела 6 настоящей главы (без учета сейсмических воздействий);

kc - коэффициент, равный отношению значений несущей способности сваи Ф, полученных расчетом в соответствии с указаниями пп. 12.3 и 12.4 настоящего раздела с учетом сейсмических воздействий и раздела 5 без учета сейсмических воздействий.

К п. 12.8. Для забивных призматических свай и свай-оболочек, а также для набивных свай, применяемых в грунтовых условиях (для которых значения коэффициента тc приведены в табл. 41 (17) или (41а), величину коэффициента kc, характеризующего снижение несущей способности сваи при сейсмических воздействиях, можно определить по формуле

                                                            (137)

где  Ф - несущая способность сваи на вертикальную сжимающую нагрузку, тс, определяемая расчетом с учетом и без учета сейсмических воздействий соответственно по формуле (127) и [7 (7)] или 14 (10)].

В случае применения набивных свай, забивных призматических свай и свай-оболочек в грунтовых условиях, отличающихся от приведенных в табл. 41 (17) и (41а), а также в случае применения других видов свай, определение коэффициента kc следует производить по результатам полевых испытаний свай имитированными сейсмическими воздействиями по формуле

kс = т1 · m2,                                                        (138)

где т1, m2 - коэффициенты, учитывающие снижение несущей способности сваи на вертикальную нагрузку соответственно при изменении напряженного состояния грунта в процессе прохождения сейсмических волн и при горизонтальных динамических воздействиях от раскачивающегося сооружения.

Коэффициент т1 определяется по результатам испытаний на сейсмовзрывные воздействия свай, загруженных вертикальной статической нагрузкой.

Коэффициент m2 определяется по результатам испытаний свай, загруженных вертикальной статической нагрузкой, на горизонтальные динамические воздействия.

Испытания свай и определение коэффициентов т1 и m2 производятся по специальной методике.

12.9. Расчеты свайных фундаментов с учетом сейсмических воздействий в соответствии с указаниями пп. 12.2 - 12.8 в просадочных грунтах в случае возможности подъема уровня грунтовых вод в процессе эксплуатации зданий и сооружений, а также в случае неизбежного по технологическим или другим условиям замачивания основания должны производиться применительно к полностью замоченному просадочному грунту в пределах прогнозируемого уровня подъема, а в случае возможности только местного аварийного замачивания части грунта просадочной толщи - применительно к состоянию просадочных грунтов природной влажности (без учета возможности их аварийного замачивания). При этом одновременно должны быть выполнены все необходимые расчеты этих же свайных фундаментов применительно к случаю эксплуатации в просадочных грунтах при отсутствии сейсмических сил в соответствии с требованиями раздела 9 настоящей главы.

К п. 12.9. При проектировании свайных фундаментов в просадочных грунтах необходимо выполнить два самостоятельных расчета: 1) на основное сочетание нагрузок в соответствии с разделом 9 настоящей главы; 2) на особое сочетание нагрузок с учетом сейсмических воздействий в соответствии с настоящим разделом, при этом определение несущей способности сваи с учетом сейсмических воздействий в просадочных грунтах II типа производится без учета возможности развития негативного трения грунта.

При испытаниях свай в просадочных грунтах для определения их несущей способности на вертикальную нагрузку с учетом сейсмических воздействий в соответствии с разъяснениями к п. 12.8 необходимо учитывать требования п. 9.8 настоящей главы СНиП. В случае возможности проявления негативного трения за несущую способность сваи принимается меньшая из двух величин, вычисленных по формулам [136 (35)] и [75 (28)], при этом коэффициент kc определяется по формуле (137) или (138) в зависимости от вида испытаний свай.

12.10. При проектировании свайных фундаментов в сейсмических районах опирание нижнего конца свай следует предусматривать на скальные грунты, крупнообломочные грунты, плотные и средней плотности песчаные грунты, твердые, полутвердые и тугопластичные глинистые грунты.

Опирание нижних концов свай в сейсмических районах на рыхлые водонасыщенные пески, глинистые грунты мягкопластичной, текучепластичной и текучей консистенции не допускается.

К п. 12.10. При проектировании свайных фундаментов в сейсмических районах опирание свай на наклонные пласты скальных и крупнообломочных пород допускается, если устойчивость при сейсмических воздействиях массива грунта, расположенного на указанных породах, обеспечивается не за счет свайного фундамента и если при этом исключается возможность проскальзывания нижних концов свай.

Допускается опирание свай на плотные и средней плотности водонасыщенные пески, при этом их несущая способность, как правило, должна определяться по результатам полевых испытаний свай на имитированные сейсмические воздействия.

12.11. Величина заглубления в грунт сваи в сейсмических районах должна быть не менее 4 м, за исключением случаев опирания на скальные грунты.

13. ОСОБЕННОСТИ ПРОЕКТИРОВАНИЯ СВАЙНЫХ ФУНДАМЕНТОВ ОПОР ВОЗДУШНЫХ ЛИНИЙ ЭЛЕКТРОПЕРЕДАЧИ

13.1. При изысканиях на трассах воздушных линий электропередачи исследование грунтов, предусмотренное разделом 3 настоящей главы, в полном объеме следует выполнять для опор больших переходов. В остальных случаях допускается ограничиваться одним из видов исследования грунтов на площадке установки каждой опоры при условии выполнения не менее трех исследований на каждый километр линии.

Примечание. Классификация опор воздушных линий электропередачи и переходов приведена в Правилах устройства электроустановок.

13.2. Глубину бурения скважин при изысканиях для свайных фундаментов нормальных промежуточных опор следует назначать на 2 м ниже наибольшей глубины погружения нижнего конца свай, а для свайных фундаментов под нормальные угловые опоры - не менее чем на 4 м ниже погружения нижнего конца свай.

13.3. Для свайных фундаментов опор воздушных линий электропередачи не допускается применение булавовидных, пирамидальных и ромбовидных свай.

13.4. Глубина погружения свай в грунт, воспринимающих выдергивающие или горизонтальные нагрузки, должна быть не менее 4 м, а для фундаментов деревянных опор - не менее 3 м.

13.5. Деревянные сваи для фундаментов деревянных опор воздушных линий электропередачи допускается применять независимо от наличия и положения уровня грунтовых вод. При этом в зоне переменной влажности необходимо предусматривать усиленную защиту древесины от гниения.

13.6. Несущую способность забивных висячих свай, работающих на сжимающую нагрузку, следует определять по формуле (7) с учетом дополнительных указаний, приведенных в пп. 13.8 - 13.10 настоящей главы; при этом коэффициент условий работы т в формуле (7) следует принимать:

для нормальных промежуточных опор - т = 1,2;

для анкерных и угловых опор, а также для больших переходов - т = 1.

13.7. Несущую способность забивных свай, работающих на выдергивание, следует определять по формуле (9) с учетом дополнительных указаний, приведенных в пп. 13.8 - 13.10 настоящей главы; при этом коэффициент условий работы т в формуле (9) следует принимать:

для нормальных промежуточных опор - т = 1,2;

для анкерных и угловых опор - т = 1;

для опор больших переходов, если удерживающая сила веса свай и ростверка составляет 65 % или более от расчетной выдергивающей нагрузки - т = 0,8; если указанная удерживающая сила меньше 65 % расчетной нагрузки, - m = 0,6.

Таблица 42 (18)

Вид фундамента, характеристики грунта и нагрузки

Дополнительные коэффициенты условий работы тg при длине сваи

l > 25 d

l £ 25 d и отношении

1. Фундамент под нормальную промежуточную опору при расчете:

 

 

 

а) одиночных свай на выдергивающие нагрузки:

 

 

 

в песчаных грунтах

0,9

0,8

0,55

в глинистых грунтах при IL £ 0,6

1,15

1,05

0,7

то же, при IL > 0,6

1,5

1,35

0,9

б) одиночных свай на сжимающие нагрузки и свай в составе куста на выдергивающие нагрузки:

 

 

 

в песчаных грунтах

0,9

0,9

0,9

в глинистых грунтах при IL £ 0,6

1,15

1,15

1,15

то же, при IL > 0,6

1,5

1,5

1,5

2. Фундамент под анкерную, угловую, концевую опору при расчете:

 

 

 

а) одиночных свай на выдергивающие нагрузки:

 

 

 

в песчаных грунтах

0,8

0,7

0,5

в глинистых грунтах

1

0,9

0,6

б) свай в составе куста на выдергивающие нагрузки;

 

 

 

в песчаных грунтах

0,8

0,8

0,8

в глинистых грунтах

1

1

1

в) на сжимающие нагрузки во всех грунтах

1

1

1

Примечания: 1. В табл. 18 приняты обозначения: d - диаметр круглого, сторона квадратного или большая сторона прямоугольного сечения сваи; Q - горизонтальная составляющая расчетной нагрузки; N - вертикальная составляющая расчетной нагрузки.

2. При погружении одиночной сваи с наклоном в сторону действия горизонтальной составляющей нагрузки при угле наклона к вертикали более 10°, дополнительный коэффициент условий работы mд следует принимать как для вертикальной сваи, работающей в составе куста (по поз. 1б или 2б).

13.8. Несущая способность забивных свай, вычисленная по формуле (7), должна быть уменьшена на величину g = 1,1gô, а по формуле (9) увеличена на g = 0,9gô, (где g - вес сваи, тс; при расчетах выдергиваемых свайных фундаментов в обводненных грунтах принимается с учетом взвешивающего действия воды).

13.9. Расчетные сопротивления грунта под нижним концом забивных свай R и расчетные сопротивления на боковой поверхности забивных свай f в фундаментах опор воздушных линий электропередачи принимаются по табл. 1 и 2, причем в фундаментах нормальных опор расчетные значения f для глинистых грунтов при их консистенции IL ³ 0,3 следует повышать на 25 %.

13.10. Расчетные сопротивления грунта на боковой поверхности забивных свай f, вычисленные в соответствии с требованиями п. 13.9, должны быть умножены на дополнительные коэффициенты условий работы mg, приведенные в табл. 18.

13.11. При расчете на выдергивающие нагрузки сваи, работающей в свайном кусте из четырех и менее свай, расчетную несущую способность сваи следует уменьшить на 20 %.

13.12. Для свай, воспринимающих выдергивающие нагрузки, допускается предусматривать погружение их в лидерные скважины только при диаметре скважины, меньшем, чем диаметр или сторона сечения сваи, на 15 см и более.

14. ОСОБЕННОСТИ ПРОЕКТИРОВАНИЯ СВАЙНЫХ ФУНДАМЕНТОВ МАЛОЭТАЖНЫХ СЕЛЬСКОХОЗЯЙСТВЕННЫХ ЗДАНИЙ

14.1. Особенности проектирования свайных фундаментов, изложенные в настоящем разделе, распространяются на следующие виды одноэтажных сельскохозяйственных зданий: животноводческие и птицеводческие, склады сельскохозяйственных продуктов и сельскохозяйственной техники, открытые навесы различного назначения и т.п. при условии, что расчетная нагрузка в уровне цоколя стены зданий составляет не более 15 тс/м, а на колонну - не более 40 тс.

К п. 14.1. Здания этого типа составляют в сельском строительстве значительный удельный вес (около 50 % всех строящихся малоэтажных зданий) и имеют свои специфические особенности: конструктивная схема зданий малочувствительна к неравномерным осадкам и горизонтальным смещениям грунтов; отсутствует тяжелое крановое или подвесное оборудование; фундаменты воспринимают лишь собственный вес конструкций и ветровые нагрузки; в зданиях не предусматривается длительное пребывание обслуживающего персонала (что важно при определении критерия сейсмостойкости); суточные расходы воды, отнесенные к 1 м2 площади застройки, в десятки и сотни раз меньше, чем, например, у промышленных зданий (что важно при проектировании зданий на просадочных грунтах); зданий III и IV классов по долговечности около одной трети.

Для проектирования на просадочных грунтах сельскохозяйственные здания по характеру возможного замачивания основания разделяются на четыре группы:

1. Здания с сухим технологическим режимом, не имеющие внутренних водонесущих сетей (водопровода, канализации); склады сельхозпродуктов, сельхозтехники, навесы и др.

2. Здания с мокрым технологическим режимом, равномерным распределением источников замачивания по площади здания, возможным интенсивным замачиванием грунта основания по площади значительных размеров. В эту группу входят коровники, свинарники, имеющие гидросмыв и систему подпольных каналов гидросплава навоза, располагаемых вдоль всего здания, и птичники, имеющие систему купочных и канализационных канавок под поилками.

3. Здания с локальным мокрым технологическим режимом, при котором условия, оговоренные в п. 2, характерны только для отдельных помещений или участков зданий. В эту группу входят здания различного назначения, имеющие отдельные помещения с мокрым технологическим режимом (моечные, душевые и т.п.), а также здания свинарников с одиночными поперечными подпольными каналами гидросплава навоза, объединяющие систему продольных каналов, оборудованных скребковыми транспортерами. На локальных участках вероятность замачивания основания и удельные расходы воды значительно больше, чем на остальной площади здания.

4. Здания различного назначения с удельным расходом воды в основном менее 10 л/(сут×м2) и возможностью замачивания основания лишь в отдельных точках в аварийных случаях. Многие здания этого типа - птичники, овчарни и др. - имеют только разветвленную, но не заглубленную в пол или грунт систему водопровода, а проводки канализации отсутствуют или единичны. Утечка воды обнаруживается непосредственно после аварийного повреждения трубопроводов.

Кроме случаев замачивания основания, оговоренных в пп. 1 - 4, при проектировании свайных фундаментов должно учитываться замачивание основания или повышение влажности грунтов в случаях:

подъема уровня грунтовых вод (например, вследствие ирригационных работ и др.), вызывающего просадку нижних слоев грунта под действием только собственного веса вышележащих слоев или под действием нагрузки на сваи и собственного веса вышележащих слоев грунта;

медленного повышения влажности просадочного грунта основания, вызываемого нарушением природных условий испарения грунтовой влаги в зоне аэрации вследствие застройки и асфальтирования территории и постепенного накопления влаги при инфильтрации в грунт поверхностных вод.

Эти особенности сельскохозяйственных зданий должны быть учтены при определении объема инженерно-геологических изысканий, глубины разведочных и технических выработок, минимальной глубины погружения сваи при проектировании свайных фундаментов с учетом сейсмических воздействий и просадочных свойств грунтов.

14.2. При выполнении изыскательских работ для проектирования одноэтажных сельскохозяйственных зданий глубину зондирования грунта, а также глубину проходки скважин при изысканиях допускается принимать на 2 м ниже наибольшей глубины погружения свай.

К п. 14.2. Выработки в плане рекомендуется располагать по створам. Расстояние между выработками в створе не должно превышать 150 м. Для отдельных зданий может быть предусмотрено устройство одного створа с расстоянием между выработками не более 100 м. В местах расположения зданий (не далее 5 м от разбивочных осей) наличие технических выработок и точек зондирования обязательно. Для отдельно стоящих зданий число скважин должно быть не менее двух, а число точек зондирования - трех. При сооружении комплексов возможно уменьшать число скважин на каждом здании комплекса до одной.

По согласованию с проектной организацией - автором проекта - возможно изменение объема инженерно-геологических изысканий:

сокращение - в случае выявленной однородности грунтов и их достаточно высокой несущей способности (пески средней плотности в сочетании с плотными, глинистые грунты с консистенцией до 0,5, грунты I типа по просадочности с относительной просадочностью d £ 0,02 при давлении 3 кгс/см2; наличие точек зондирования в этом случае необязательно;

увеличение - в случае резкой неоднородности грунтов строительной площадки и наличия грунтов с низкой несущей способностью (глинистые грунты с консистенцией более 0,6, пески рыхлые, просадочные грунты и др.).

Глубина разведочных и технических скважин, зондирования принимается на 2 м ниже предполагаемой глубины погружения свай, но не менее 6 м. Для зданий с мокрым технологическим режимом и расходом воды более 10 л/сут на 1 м2 площади здания 15 % общего числа скважин, но не менее 2 должно проходить всю просадочную толщу. При мощности просадочной толщи более 20 м глубина скважин принимается равной 20 м. Глубина шурфов должна быть не менее 5 м для зданий комплексов и для отдельных зданий. Разрешается проходку шурфов заменять техническими скважинами с отбором образцов грунтоносами, исключающими нарушение плотности и структуры грунта. Для отдельных зданий разрешается устанавливать тип грунтовых условий по просадочности по региональным инженерно-геологическим картам с учетом опыта строительства и эксплуатации зданий и сооружений в районе строительства.

Приведенные глубины разведочных и технических выработок откосятся к спокойному рельефу (перепад отметок не более 1 м на 100 м). При большем перепаде отметок глубина выработок увеличивается на 1 м на каждый дополнительный метр перепада отметок.

Для комплексов число технических выработок, предназначенных для отбора монолитов грунтов при лабораторных определениях физико-механических характеристик, должно составлять не менее 50 % (но не менее 3) общего числа всех выработок.

При сложных грунтовых условиях строительной площадки (наличие слабых грунтов, наклонных пластов и др.) число технических выработок увеличивается до 20 % (но не менее 5). Для однородных грунтов число технических выработок разрешается уменьшать до 10 % (но не менее 2).

Отбор монолитов грунта из технических выработок для лабораторных исследований рекомендуется производить от поверхности грунта до глубины 7 м через 1 м, далее (для просадочных грунтов) через 2 - 3 м. Для однородных в плане и по глубине толщ просадочных грунтов II типа по просадочности большой мощности разрешается число монолитов, отбираемых в толще, расположенной глубже 7 м, уменьшать до 3. Обязателен отбор монолитов из слоев грунта, залегающих под нижними концами свай и консолями свай колонн.

14.3. При проектировании свайных фундаментов одноэтажных сельскохозяйственных зданий следует применять преимущественно короткие забивные сваи, сваи-колонны, а при отсутствии грунтовых вод - также набивные сваи в вытрамбованном в грунте ложе, буронабивные сваи длиной до 3 м с уплотненным трамбованном забоем и набивные сваи, устраиваемые в пробитых скважинах, предусмотренных в п. 2.6 «б» настоящей главы.

Примечания: 1. Применение свай-колонн для одноэтажных сельскохозяйственных зданий, возводимых в сейсмических районах, допускается при глубине погружения нижних концов свай-колонн в грунт от 2 м и более.

2. Уплотнение забоя скважины при устройстве буронабивных свай длиной до 3 м должно осуществляться путем втрамбовывания в грунт слоя щебня толщиной не менее 10 см.

К п. 14.3. В качестве свай-колонн могут использоваться как сваи-колонны с консолями по серии 1.821-1, так и типовые конструкции забивных свай с ненапрягаемой стержневой арматурой и поперечным армированием ствола.

14.4. Расчетные сопротивления грунта R, тс/м2, под нижним концом забивных свай при глубине погружения 2 м допускается принимать такими же, так и при глубине погружения 3 м по табл. 1 (1) настоящей главы.

14.5. Расчетные сопротивления грунта R, тс/м2, под нижним концом буронабивных свай с уплотненным забоем при глубине погружения свай 2 - 3 м следует принимать для глинистых грунтов по табл. 42 (19) и для песчаных грунтов средней плотности по табл. 43 (20), а для плотных песчаных грунтов табличные значения следует увеличить в 1,3 раза.

К п. 14.5. Расчетные сопротивления R под пятой коротких набивных свай, включенные в табл. 43 (19) и 43а (20), определены экспериментальным путем на площадках с различными грунтовыми условиями.

Таблица 43 (19)

Вид глинистых грунтов

Коэффициент пористости, е

Расчетные сопротивления глинистых грунтов R, тс/м2, под нижним концом буронабивных свай при глубине их погружения 2 - 3 м, при показателе консистенции IL, равном

£ 0

0,2

0,4

0,6

Супеси

0,5

80

65

55

45

Суглинки

0,7

65

55

45

35

 

1,0

55

45

35

25

Глины

0,5

140

110

90

70

 

0,6

110

90

75

60

 

0,8

70

60

50

40

Таблица 43a (20)

Вид песчаных грунтов средней плотности

Расчетные сопротивления песчаных грунтов R, тс/м2, под нижним концом буронабивных свай при глубине их погружения 2 - 3 м

Крупный

200

Средней крупности

150

Мелкий маловлажный

90

Мелкий влажный

70

Пылеватый маловлажный

70

Пылеватый влажный

50

Статические испытания вертикальными сжимающими нагрузками набивных свай с забоем, уплотненным трамбованием, и с неуплотненным забоем позволили установить существенную роль уплотнения забоя. При наличии шлама в скважине пята забивных свай включается в работу лишь при больших осадках (3 - 5 см и более). Поэтому в п. 14.5 указано, что расчетные сопротивления грунта под пятой свай, приведенные в табл. 43 (19) и 43a (20), относятся к случаям, когда забой скважин уплотнен трамбованием или другими проверенными способами.

14.6. Несущую способность сваи-колонны с погружаемыми в грунт железобетонными консолями, работающей на осевую сжимающую нагрузку, следует определять как сумму сопротивлений грунта под нижним ее концом, под консолями и по боковой поверхности по формуле

Ф = т (RF + RкFк + иSfi li),                                      [139 (36)]

где т, R, F, u, fi и li - обозначения те же, что в формуле [7 (7)] настоящей главы;

rk  - расчетное сопротивление грунта под консолями, тc/м2, при погружении их в грунт на глубину 0,5 - 1 м, принимаемое по табл. 44 (21);

fk  - площадь проекции консолей на горизонтальную плоскость, м.

Таблица 44 (21)

Вид грунтов

Состояние грунтов

Расчетное сопротивление грунта под консолями свай-колонн Rк, тс/м2.

показатель консистенции IL, и степень влажности G

коэффициент пористости, е

Супеси

IL = 0,2

0,5

0,7

55

40

Суглинки

IL = 0,5

0,5

0,7

40

30

Глины

IL = 0,2

0,5

1

80

50

 

IL = 0,5

0,5

1

60

35

П

крупные

0 < G £ 1

< 0,55

0,55 - 0,7

90

75

е

средней крупности

0 < G £ 1

< 0,55

0,55 - 0,7

75

65

с

мелкие

0 < G £ 0,5

< 0,6

0,6 - 0,75

65

55

к

 

0 < G £ 0,8

< 0,6

0,6 - 0,75

55

40

и

пылеватые

0 < G £ 0,5

< 0,6

0,6 - 0,8

50

30

Лесс и лессовидные суглинки в состоянии

G = 0,8

0,75

35

полного водонасыщения

 

1

20

Супеси и суглинки, послойно уплотненные

G = 0,5

0,65

30

при оптимальной влажности

G = 0,8

0,65

20

К п. 14.6. Расчетные сопротивления грунта RК под консолями свай-колонн серии 1.821-1 определены экспериментальным путем на площадках с различными грунтовыми условиями. Исследования показали, что давление, передаваемое консолями, меняет характер контактных боковых давлений и увеличивает силы трения по боковой поверхности. Для упрощения методики расчета в формуле [139 (36)] средний член комплексно учитывает весь эффект, получаемый за счет консолей; силы трения сохранены такими же, как для призматических свай.

14.7. Для свай всех видов, размеры которых определены в проекте по конструктивным соображениям и несущая способность которых полностью не используется, статические испытания допускается прекращать при величине осадки менее 30 мм, если при этом максимальная достигнутая нагрузка составляет не менее 1,5 расчетной нагрузки, допускаемой на сваю и принятой в проекте.

К п. 14.7. Статические испытания свайных фундаментов рекомендуется проводить на площадках со сложными инженерно-геологическими условиями (глинистые грунты с консистенцией IL > 0,6, пески рыхлые, просадочные грунты с пористостью более 48 % и т.п.) и при проектировании зданий крупных комплексов. Эти испытания должны выполняться, как правило, на стадии инженерно-геологических изысканий. Статические испытания свай проводятся в отдельных редких случаях как контрольные в соответствии с главой СНиП III-9-74 и в период строительства, если при добивке свай (погружаемых в сельском строительстве, как правило, до проектной отметки) отказ оказался больше проектного. Испытаниям подвергается не менее двух свай.

14.8. Расчет свайных фундаментов и свай-колонн одноэтажных сельскохозяйственных зданий на устойчивость фундаментов при действии сил морозного пучения грунтов основания в соответствии с методикой, установленной главой СНиП по проектированию оснований зданий и сооружений, является во всех случаях обязательным.

К п. 14.8. Сваи-колонны и свайные фундаменты сельскохозяйственных зданий обычно несут сосредоточенные нагрузки от 5 до 25 тс и погонные нагрузки от 3 до 10 тс. Силы пучения по СНиП II-75-74 имеют такой же порядок. Поэтому проверка на выпучивание для малонагруженных свайных фундаментов является обязательной.

ПРИЛОЖЕНИЕ К ГЛАВЕ СНиП

РАСЧЕТ СВАЙ, СВАЙ-ОБОЛОЧЕК И СВАЙ-СТОЛБОВ НА СОВМЕСТНОЕ ДЕЙСТВИЕ ВЕРТИКАЛЬНЫХ И ГОРИЗОНТАЛЬНЫХ НАГРУЗОК И МОМЕНТОВ

А. ОСНОВНОЙ МЕТОД

1. Расчет свай, свай-оболочек и свай-столбов (именуемых ниже для краткости общим названием сваи) на совместное действие вертикальных и горизонтальных нагрузок и моментов в соответствии со схемой, приведенной на рис. 1 (1), должен включать:

Рис. 1 (1). Схема нагрузок на сваю

а) расчет свай по деформациям, который сводится к проверке соблюдения условий допустимости расчетных величин горизонтального перемещения головы сваи Dг и угла ее поворота j:

Dг £ Sпр;                                                     [1 (1)]

j £ jпр,                                                    [2 (2)]

где Dг и j - расчетные величины соответственно горизонтального перемещения головы сваи, м, и угла ее поворота, рад, определяемые в соответствии с указаниями п. 4 настоящего приложения;

Sпр и jпр - предельно допускаемые величины соответственно горизонтального перемещения головы сваи, м, и угла ее поворота, рад, устанавливаемые в задании на проектирование здания или сооружения;

б) расчет устойчивости грунта основания, окружающего сваю, выполняемый в соответствии с требованиями п. 6 настоящего приложения;

в) проверку сечений свай по сопротивлению материала по предельным состояниям первой и второй группы (по прочности, по образованию и раскрытию трещин) на совместное действие расчетных усилий: сжимающей силы, изгибающего момента и перерезывающей силы. Указанный расчет сваи должен выполняться в зависимости от материала свай в соответствии с требованиями п. 4.2 главы СНиП II-17-77.

Расчетные величины изгибающих моментов, поперечных сил и продольных сил, действующих в различных сечениях сваи, должны определяться согласно требованиям п. 7 настоящего приложения.

В случае жесткой заделки сваи в ростверк, если исключается возможность поворота ее головы (например, в жесткий ростверк с двумя или более рядами свай, установленных в направлении действия горизонтальной силы), в расчетах необходимо учитывать момент заделки М = Мз, действующий в месте сопряжения сваи с ростверком и определяемый в соответствии с указаниями п. 8 настоящего приложения.

Примечание. Расчёт устойчивости грунта основания, окружающего сваю, не требуется для свай размером поперечного сечения d £ 0,6 м, погруженных в грунт на глубину более 10d, за исключением случаев погружения свай в илы или глинистые грунты текучепластичной и текучей консистенции (здесь d - наружный диаметр круглого, или сторона квадратного или большая сторона прямоугольного сечения сваи).

Таблица 1 (1)

Вид грунта, окружающего сваи, и его характеристика

Коэффициент пропорциональности К, тс/м4 для свай

забивных

набивных, свай-оболочек и свай-столбов

Глины и суглинки текуче-пластичные (0,75 < IL £ 1)

65 - 250

50 - 200

Глины и суглинки мягко-пластичные (0,5 < IL £ 0,75); супеси пластичные (0 £ IL £ 1); пески пылеватые (0,6 £ e £ 0,8)

250 - 500

200 - 400

Глины и суглинки тугопластичные и полутвердые (0 £ IL £ 0,5); супеси твердые (IL < 0); пески мелкие (0,6 £ е £ 0,75); пески средней крупности (0,55 £ е £ 0,7)

500 - 800

400 - 600

Глины и суглинки твердые (IL < 0); пески крупные (0,55 £ е £ 0,7)

800 - 1300

600 - 1000

Пески гравелистые (0,55 £ е £ 0,7); гравий и галька с песчаным заполнителем

 

1000 - 2000

Примечания: 1. Меньшие значения коэффициента К в табл. 1 (1) соответствуют более высоким значениям показателя консистенции il глинистых и коэффициента пористости е песчаных грунтов, указанным в скобках, а большие значения коэффициента К - соответственно более низким значениям IL и е. Для грунтов с промежуточными значениями характеристик IL и е величины коэффициента К определяются интерполяцией.

2. Коэффициент К для плотных песков должен приниматься на 30 % выше, чем наибольшие значения указанных в табл. 1 (1) коэффициентов К для заданного вида грунта.

2. При расчете свай на горизонтальную нагрузку грунт, окружающий сваю, допускается рассматривать как упругую линейно-деформируемую среду, характеризующуюся коэффициентом постели Сz, тс/м3.

Расчетную величину коэффициента постели Сz, тс/м3, грунта на боковой поверхности сваи при отсутствии опытных данных допускается определять по формуле

Сz = Кz,                                                               [3 (3)]

где К - коэффициент пропорциональности, тс/м4, принимаемый в зависимости от вида грунта, окружающего сваю по табл. 1 (1);

z - глубина расположения сечения сваи в грунте, м, для которой определяется коэффициент постели, по отношению к поверхности грунта при высоком ростверке или к подошве ростверка при низком ростверке.

К п. 2. Если консистенция глинистых грунтов дается не численно, а в виде наименования, и пески указываются как средней плотности, то величина К принимается равной среднему арифметическому из указанных в табл. 1 (1) пределов К для данного вида грунта.

При наличии в пределах длины сваи нескольких слоев грунта разрешается для определения сопротивления грунта на боковой поверхности сваи пользоваться одним приведенным значением коэффициента пропорциональности К, принимаемым в зависимости от грунтов, расположенных до глубины lK, м:

lK = 3,5 d1 + 1,5,                                                 (4)

где d1 - наружный диаметр круглого или сторона квадратного или прямоугольного сечения сваи, параллельная плоскости действия нагрузки, м.

Если в пределах глубины lK, отсчитываемой от поверхности грунта при высоком ростверке или от подошвы ростверка при низком ростверке, расположен один слой грунта, то приведенное значение К принимается равным значению, соответствующему этому грунту.

Если в пределах глубины lK расположено два слоя грунта, то приведенное значение К определяется по формуле

                           (5)

где lI - толщина первого (верхнего) слоя грунта, м;

ki и KII - коэффициенты пропорциональности, принимаемые по табл. 1 (1) для грунтов I и II слоев.

В расчетах фундаментов опор мостов момент М = М3, действующий на сваю в месте сопряжения с ростверком, рекомендуется определять согласно прил. 15.

3. Все расчеты свай следует выполнять применительно к приведенной глубине расположения сечения сваи в грунте z и приведенной глубине погружения сваи в грунт, определяемых по формулам:

                                                              [6 (4)]

;                                                              [7 (5)]

где z и l - действительная глубина расположения сечения сваи в грунте и действительная глубина погружения свай (ее нижнего конца) в грунт, соответственно отсчитываемые от поверхности грунта - при высоком ростверке или от подошвы ростверка - при низком ростверке, м:

aд - коэффициент деформации, 1/м, определяемый по формуле

                                                         [8 (6)]

где К - обозначение то же, что и в формуле [3 (3)];

Eб - начальный модуль упругости бетона сваи при сжатии и растяжении, тс/см2, принимаемый в соответствии с главой СНиП по проектированию бетонных и железобетонных конструкций; для деревянных свай - модуль упругости древесины, принимаемый по нормам проектирования деревянных конструкций;

I - момент инерции поперечного сечения сваи, м4;

bс - условная ширина сваи, м, принимаемая равной: для свай-оболочек, а также свай-столбов и набивных свай с диаметром стволов от 0,8 м и более bc = 1,5d + 1 м, а для остальных видов и размеров сечений свай bc = d + 0,5 м;

d - наружный диаметр круглого или сторона квадратного, или сторона прямоугольного сечения сваи в плоскости, перпендикулярной действию нагрузки, м.

К п. 3. Величины aд, соответствующие различным значениям  1/м5, приведены в табл. 2.

Таблица 2

 м-5

aд-5)

 (м-5)

aд-5)

1

0,100

2711,3

0,486

1,104

0,102

2767,6

0,488

1,217

0,104

2824,8

0,49

1,338

0,106

2882,9

0,492

1,469

0,108

2942

0,494

1,611

0,11

3002

0,496

1,762

0,112

3063

0,498

1,925

0,114

3125

0,5

2,082

0,116

3188

0,502

2,288

0,118

3252

0,504

2,449

0,12

3317,1

0,506

2,703

0,122

3383,1

0,508

2,932

0,124

3450,3

0,51

3,176

0,126

3518,4

0,512

3,436

0,128

3587,7

0,514

3,713

0,13

3658

0,516

4,007

0,132

3729,5

0,518

4,32

0,134

3802

0,52

4,653

0,136

3875,7

0,522

5,005

0,138

3950,5

0,524

5,378

0,14

4026,5

0,526

5,774

0,142

4103,6

0,528

6,222

0,144

4182

0,53

6,634

0,146

4261,5

0,532

7,101

0,148

4342,2

0,534

7,594

0,15

4424,1

0,536

8,114

0,152

4507,3

0,538

8,662

0,154

4591,7

0,54

9,239

0,156

4677,3

0,542

9,847

0,158

4764,5

0,544

10,486

0,16

4852,5

0,546

11,158

0,162

4942

0,548

11,864

0,164

5032,8

0,55

12,605

0,166

5125

0,552

13,383

0,168

5218,5

0,554

14,199

0,17

5313,4

0,556

15,054

0,172

5409,7

0,558

15,949

0,174

5507,3

0,56

16,887

0,176

5606,4

0,562

17,869

0,178

5706,8

0,564

18,896

0,18

5808,7

0,566

19,969

0,182

5912,1

0,568

21,091

0,184

6016,9

0,57

22,262

0,186

6123,2

0,572

23,485

0,188

6231

0,574

24,761

0,19

6340,3

0,576

26,091

0,192

6451,2

0,578

27,479

0,194

6563,6

0,58

28,925

0,196

6677,5

0,582

30,432

0,198

6793

0,584

32

0,2

6910,2

0,586

33,632

0,202

7028,9

0,588

35,331

0,204

7149,2

0,59

37,097

0,206

7271,2

0,592

38,933

0,208

7394,9

0,594

40,841

0,210

7520,2

0,596

42,823

0,212

7647,3

0,598

44,882

0,214

7776

0,6

47,018

0,216

7906,5

0,602

49,236

0,218

8038,7

0,604

51,536

0,22

8172,7

0,606

53,922

0,222

8308,4

0,608

56,395

0,224

8446

0,61

58,958

0,226

8585,3

0,612

61,613

0,228

8726,5

0,614

64,363

0,23

8869,6

0,616

67,211

0,232

9014,5

0,618

70,158

0,234

9161,3

0,62

73,208

0,236

9310,1

0,622

76,363

0,238

9460,7

0,624

79,626

0,24

9613,3

0,626

83

0,242

9767,8

0,628

86,487

0,244

9924,4

0,63

90,09

0,246

10083

0,632

93,812

0,248

10243

0,634

97,656

0,25

10406

0,636

101,636

0,252

10571

0,638

105,721

0,254

10738

0,64

109,95

0,256

10906

0,642

114,314

0,258

11077

0,644

118,81

0,26

11250

0,646

123,45

0,262

11426

0,648

128,24

0,264

11597

0,65

133,17

0,266

11783

0,652

138,25

0,268

11964

0,654

143,49

0,27

12148

0,656

148,88

0,272

12335

0,658

154,44

0,274

12523

0,66

160,16

0,276

12714

0,662

166,04

0,278

12907

0,664

172,1

0,28

13103

0,666

178,34

0,282

13301

0,668

184,75

0,284

13501

0,67

191,35

0,286

13704

0,672

198,14

0,288

13909

0,674

205,11

0,29

14117

0,676

212,28

0,292

14327

0,678

219,65

0,294

14539

0,68

227,23

0,296

14754

0,682

235,01

0,298

14972

0,684

243

0,3

15192

0,686

251,21

0,302

15415

0,688

259,64

0,304

15640

0,69

268,29

0,306

15868

0,692

277,17

0,308

16099

0,694

286,29

0,31

16332

0,696

295,65

0,312

16568

0,698

305,24

0,314

16807

0,7

315,09

0,316

17048

0,702

325,19

0,318

17293

0,704

335,54

0,32

17540

0,706

346,16

0,322

17790

0,708

357,05

0,324

18042

0,71

368,2

0,326

18298

0,712

379,38

0,328

18556

0,714

391,35

0,33

18818

0,716

403,36

0,332

19082

0,718

415,65

0,334

19349

0,72

428,25

0,336

19619

0,722

441,15

0,338

19838

0,724

454,35

0,34

20169

0,726

467,88

0,342

20448

0,728

481,72

0,344

20731

0,73

495,88

0,346

21016

0,732

510,38

0,348

21305

0,734

525,22

0,35

21597

0,736

540,4

0,352

21892

0,738

555,92

0,354

22190

0,74

571,81

0,356

22492

0,742

588,05

0,358

22796

0,744

604,66

0,36

23104

0,746

621,65

0,362

23416

0,748

639,01

0,364

23730

0,75

656,76

0,366

24049

0,752

674,9

0,368

24370

0,754

693,44

0,37

24695

0,756

712,38

0,372

25023

0,758

731,74

0,374

25355

0,76

751,52

0,376

25691

0,762

771,72

0,378

26030

0,764

792,35

0,38

26372

0,766

813,42

0,382

26718

0,768

834,94

0,384

27068

0,77

856,91

0,386

27421

0,772

879,34

0,388

27778

0,774

902,24

0,39

28139

0,776

925,61

0,392

28503

0,778

949,47

0,394

28872

0,78

973,81

0,396

29244

0,782

998,65

0,398

29620

0,784

1024

0,4

29999

0,786

1049,9

0,402

30383

0,788

1076,2

0,404

30771

0,79

1103,1

0,406

31162

0,792

1130,6

0,408

31557

0,794

1158,6

0,41

31957

0,796

1187,1

0,412

32360

0,798

1216,2

0,414

32768

0,8

1245,9

0,416

3,3180

0,802

1276,1

0,418

33595

0,804

1306,9

0,42

34015

0,806

1338,3

0,422

34440

0,808

1370,3

0,424

34868

0,81

1403

0,426

35300

0,812

1436,2

0,428

35737

0,814

1468,5

0,43

36179

0,816

1504,6

0,432

36624

0,818

1539,7

0,434

37074

0,82

1575,6

0,436

37528

0,822

1612

0,438

37987

0,824

1649,2

0,44

38450

0,826

1687

0,442

38918

0,828

1725,5

0,444

39390

0,83

1764,7

0,446

39867

0,832

1804,6

0,448

40349

0,834

1845,3

0,45

40835

0,836

1886,7

0,452

41326

0,838

1928,8

0,454

41821

0,84

1971,6

0,456

42321

0,842

2015,2

0,458

42826

0,844

2059,6

0,46

43336

0,846

2104,8

0,462

43851

0,848

2150,8

0,464

44371

0,85

2197,5

0,466

44895

0,852

2245,1

0,468

45424

0,854

2293,5

0,47

45959

0,856

2342,7

0,472

46498

0,858

2392,7

0,474

47043

0,86

2443,6

0,476

47592

0,862

2495,4

0,478

48147

0,864

2548

0,48

48707

0,866

2601,6

0,482

49272

0,868

2656

0,484

 

 

Под глубиной l нужно понимать фактическую глубину погружения свай при опирании их на нескальный грунт или на скальную породу без заделки (забуривания) в него. В случаях, когда набивные сваи, сваи-оболочки или сваи-столбы погружены через толщу нескального грунта и заделаны не менее 0,5 м в невыветрелый скальный грунт (скальную породу), глубину l необходимо принимать равной

l = lс + Dl,                                                         (9)

где lс - глубина расположения кровли невыветрелого скального грунта, м, отсчитываемая от поверхности грунта при высоком ростверке или от подошвы ростверка при низком ростверке;

Dl - дополнительная глубина, м, принимаемая равной:

а) при заделке в магматические породы (гранит, диорит, базальт и др.) Dl = 0;

б) при заделке в прочие породы Dl = d/2.

В расчетах фундаментов опор мостов необходимо:

а) жесткость поперечного сечения сваи Eбl, тс/м2, определять согласно указаниям главы СНиП по проектированию мостов и труб;

б) при определении условной ширины bс для свай круглого сечения всех видов вводить в приведенные выше формулы коэффициент kф = 0,9, а для свай-оболочек, свай-столбов или набивных свай диаметром стволов 0,8 м и более, образующих в направлении действия внешней нагрузки один или несколько рядов, вводить в соответствующую формулу для определения условной ширины дополнительный коэффициент, принимаемый равным

                                            (10)

но не более 1.

Здесь k1 - коэффициент, зависящий от числа пр свай-оболочек, свай-столбов или набивных свай, расположенных в вертикальной плоскости, параллельной плоскости действия нагрузок (в одном ряду): при пр = 2 k1 = 0,6; при пр = 3 k1 = 0,5; при пр ³ 4 k1 = 0,45;

Lp - расстояние в свету (на уровне поверхности грунта) между сваями-оболочками, сваями-столбами или набивными сваями, м.

d - обозначение то же, что и в формуле 8 (6) настоящего приложения.

4. Расчетные величины горизонтального перемещения сваи в уровне подошвы ростверка Dг, м, и угол ее поворота y, рад, следует определять по формулам:

                                   [11 (7)]

,                                          [12 (8)]

где Н и М - расчетные значения поперечной силы, тс, и изгибающего момента, тс×м, действующие со стороны ростверка на голову сваи [см. рис. 1 (1)]:

lo - длина участка сваи, м, равная расстоянию от подошвы ростверка до поверхности грунта;

Еб и I - обозначения те же, что и в формуле [8 (6)];

yо и jо - горизонтальное перемещение, м, и угол поворота поперечного сечения сваи, рад, в уровне поверхности грунта при высоком ростверке, а при низком ростверке - в уровне его подошвы; определяются в соответствии с требованиями п. 5 настоящего приложения.

Примечание. В настоящем приложении считаются положительными:

момент и горизонтальная сила, приложенные к голове сваи, если момент и сила направлены соответственно по часовой стрелке и вправо;

изгибающий момент и поперечная сила в сечении сваи, если момент и сила, передающиеся от верхней условно отсеченной части сваи на нижнюю, направлены соответственно по часовой стрелке и вправо;

горизонтальное смещение сечения сваи и его поворот, если они направлены соответственно вправо и по часовой стрелке.

К п. 4. Для свай, опертых на нескальный грунт, при приведенной глубине погружения  и для свай, опертых на скалу, при  перемещения Dг и j можно определять табличным методом, приведенным в разделе Б настоящего приложения, или по приближенным формулам:

в случае, когда голова сваи свободна от закрепления против поворота:

                                                    (13)

                                               (14)

в случае, когда возможность поворота головы сваи исключена:

 j = 0                                            (15)

где lМ - длина изгиба сваи, м;

Dг, j, H, M, Eб, и I - обозначения те же, что и в формулах [11 (7)] и [12 (8)] настоящего приложения.

Длина изгиба lМ сваи определяется по формуле

                                                      (16)

где l0 - обозначение то же, что и в формулах [11 (7)] и [12 (8)] настоящего приложения;

aд - коэффициент деформации сваи, определяемый по п. 3 настоящего приложения;

k2 - коэффициент, который в первом из указанных случаев принимается по рис. 2, а во втором - по табл. 3.

Таблица 3

ЕбI тc×м2

Значения коэффициента k2 при lo, м

0

1

2

3

5

10

³ 15

 

 

£ 103

2,35

2,15

2,05

2

1,95

1,95

-

 

2,6

104

2,35

2,2

2,1

2,05

2

1,95

1,95

 

 

³ 105

2,35

2,25

2,15

2,1

2,05

2

1,95

 

 

£ 103

2,3

2,1

2

1,95

1,9

1,85

-

 

2,8

104

2,3

2,15

2,1

2

1,95

1,9

1,85

 

 

³ 105

2,3

2,2

2,15

2,1

2

1,95

1,9

 

 

£ 103

2,25

2,05

1,95

1,9

1,85

1,8

-

 

3

104

2,25

2,1

2

1,95

1,9

1,85

1,8

 

 

³ 105

2,25

2,15

2,1

2

1,95

1,85

1,85

 

 

£ 103

2,25

2,05

1,95

1,9

1,85

1,8

-

 

³ 3,5

104

2,25

2,1

2

1,95

1,9

1,8

1,8

 

 

³ 105

2,25

2,15

2,05

2

1,95

1,85

1,8

 

Рис. 2. График для определения коэффициента k2

5. Горизонтальное перемещение yo, м, и угол поворота j, рад, следует определять по формулам:

yo = Hodнн + Modнм                                             [17 (9)]

jo = Hodмн + Modмм                                            [18 (10)]

где Ho и Мo - расчетные значения соответственно поперечной силы, тс, и изгибающего момента, тс×м, в рассматриваемом сечении сваи, принимаемые равными Но = Н и Мо = М + Нlo [здесь Н и М - значения те же, что и в формулах 11 (7) и [12 (8)];

dHH - горизонтальное перемещение сечения, м/тс, от силы Hо = 1 [рис. 3 (2), а];

dHM - горизонтальное перемещение сечения, 1/тс, от момента Мо = 1 [рис. 3 (2), б];

dМH - угол поворота сечения, 1/тс, от силы Hо = 1 [рис. 3 (2), а];

dММ - угол поворота сечения, 1/(тс×м), от момента Мо = 1 [рис. 3 (2), б].

Перемещения dНH, dМH = dНМ и dММ вычисляются по формулам:

                                                [19 (11)]

                                      [20 (12)]

                                               [21 (13)]

где aд, fб, I - значения те же, что и в формуле [8 (6)];

A0, В0, C0 - безразмерные коэффициенты, принимаемые по табл. 4 (2) в зависимости от приведенной глубины заложения свай в грунте , определяемой по формуле [7 (5)]. При величине , соответствующей промежуточному значению, указанному в табл. 4 (2), ее следует округлить до ближайшего табличного значения.

Таблица 4 (2)

При опирании сваи на нескальный грунт

При опирании сваи на скалу

При заделке сваи в скалу

A0

B0

C0

A0

B0

C0

A0

B0

C0

0,5

72,004

192,026

576,243

48,005

96,037

192,291

0,042

0,125

0,5

0,6

50,007

111,149

278,059

33,314

55,609

92,912

0,072

0,18

0,6

0,7

36,745

70,023

150,278

24,507

35,059

50,387

0,114

0,244

0,699

0,8

28,14

46,943

88,279

18,775

23,533

29,763

0,17

0,319

0,798

0,9

22,244

33,008

55,307

14,851

16,582

18,814

0,241

0,402

0,896

1

18,03

24,106

36,486

12,049

12,149

12,582

0,329

0,494

0,992

1,1

14,916

18,16

25,123

9,933

9,196

8,836

0,434

0,593

1,086

1,2

12,552

14,041

17,914

8,418

7,159

6,485

0,556

0,698

1,176

1,3

10,717

11,103

13,235

7,208

5,713

4,957

0,695

0,807

1,262

1,4

9,266

8,954

10,05

6,257

4,664

3,937

0,849

0,918

1,342

1,5

8,101

7,319

7,838

5,498

3,889

3,24

1,014

1,028

1,415

1,6

7,154

6,129

6,268

4,887

3,308

2,758

1,186

1,134

1,48

1,7

6,375

5,189

5,133

4,391

2,868

2,419

1,361

1,232

1,535

1,8

5,73

4,456

4,299

3,935

2,533

2,181

1,532

1,321

1,581

1,9

5,19

3,878

3,679

3,653

2,277

2,012

1,693

1,397

1,617

2

4,737

3,418

3,213

3,381

2,081

1,891

1,841

1,46

1,644

2,2

4,032

2,758

2,591

2,977

1,819

1,758

2,08

1,545

1,675

2,4

3,526

2,327

2,227

2,713

1,673

1,701

2,24

1,586

1,685

2,6

3,163

2,048

2,013

2,518

1,6

1,687

2,33

1,596

1,687

2,8

2,905

1,869

1,889

2,153

1,572

1,693

2,371

1,593

1,687

3

2,727

1,758

1,818

2,403

1,568

1,707

2,385

1,586

1,691

3,5

2,502

1,641

1,757

2,394

1,597

1,739

2,389

1,584

1,711

4

2,441

1,621

1,751

2,419

1,618

1,75

2,401

1,6

1,732

Рис. 3 (2). Схема перемещений сваи в грунте

а - от действия силы Но = 1, приложенной в уровне поверхности грунта; б - от действия момента Мо = 1

К п. 5. Заделанными в скале [см. табл. 4 (2)] могут рассматриваться набивные сваи, сваи-оболочки, заполненные бетоном, и сваи-столбы, если они забурены в скальный грунт на глубину, достаточную для выполнения условия п. 4.3 главы СНиП II-17-77. При этом их несущую способность Ф следует определять по формуле (4) указанной главы СНиП, принимая расчетное сопротивление скального грунта под нижним концом набивной сваи, сваи-оболочки и сваи-столба равным

                                              (22)

где Rнсж, kг, hз, и dз - обозначения те же, что и в формуле (5) главы СНиП;

ke - коэффициент, определяемый по графику рис. 4 в зависимости от приведенного эксцентриситета

                                          (23)

Ml, Ql, и nl - расчетные значения изгибающего момента, поперечной силы и продольной силы в сечении набивной сваи, сваи-оболочки или сваи-столба на глубине z = l, вычисляемые по формулам п. 7 настоящего приложения.

Рис. 4. График для определения коэффициента kе

При  набивные сваи, сваи-оболочки или сваи-столбы могут рассматриваться как заделанные в скале, если проверена их несущая способность на действие расчетной продольной нагрузки (согласно пп. 4.3 и 5.4 главы СНиП II-17-77) и прочность заделки по формуле

                                           (24)

где Ml, Ql, Rнсж, hз, и dз - обозначения те же, что и в формулах (22) и (23).

6. Расчет устойчивости основания, окружающего сваю, должен производиться по условию [25 (14)] ограничения расчетного давления sz, оказываемого на грунт боковыми поверхностями свай

                               [25 (14)]

где sz - расчетное давление на грунт, тс/м2, боковой поверхности сваи, определяемое по формуле [27 (16)], на следующих глубинах z, м, отсчитываемых при высоком ростверке от поверхности грунта, а при низком ростверке - от его подошвы:

а) при  - на двух глубинах, соответствующих z = l/3 и z= l,

б) при  - на глубине  где aд определяется по формуле [8 (6)];

gI - расчетный объемный вес грунта ненарушенной структуры, тс/м3, определяемый в водонасыщенных грунтах с учетом взвешивания в воде;

jI и cI - расчетные значения соответственно угла внутреннего трения грунта, град, и удельного сцепления грунта, тс/м2 принимаемые в соответствии с указаниями п. 4.6 настоящей главы;

x - коэффициент, принимаемый при забивных сваях и сваях-оболочках x = 0,6, а при всех остальных видах свай x = 0,3;

h1 - коэффициент, равный единице, кроме случаев расчета фундаментов распорных сооружений (например, распорных пролетных строений), в которых следует принимать h1 = 0,7;

h2 - коэффициент, учитывающий долю постоянной нагрузки в суммарной нагрузке, определяемый по формуле

                                                 [26 (15)]

Здесь Мп - момент от внешних постоянных расчетных нагрузок в сечении фундамента на уровне нижних концов свай, тс×м;

Мв - то же, от внешних временных расчетных нагрузок, тс×м;

 - коэффициент, принимаемый n = 2,5, за исключением случаев расчета;

а) особо ответственных сооружений, для которых при  принимается  и при  принимается  при промежуточных значениях  значение  определяется интерполяцией;

б) фундаментов с однорядным расположением свай на внецентренно-приложенную вертикальную сжимающую нагрузку, для которых следует принимать  независимо от величины .

Примечание. Если расчетные горизонтальные давления на грунт sz не удовлетворяют условию [25 (14)], но при этом несущая способность свай по материалу недоиспользована, и перемещения сваи меньше предельно допускаемых величин, то при приведенной глубине свай  расчет следует повторить, приняв уменьшенное значение коэффициента пропорциональности К (п. 2 настоящего приложения). При новом значении К необходимо проверить прочность сваи по материалу, ее перемещения, а также соблюдение условия [25 (14)].

7. Расчетное давление sz, тс/м2, на грунт по контакту с боковой поверхностью сваи, возникающее на глубине z, а также расчетный изгибающий момент Mz, тс×м, поперечную силу Qz, тс, продольную силу Nz, тс, действующие на глубине z в сечении сваи, следует определять по формулам:

                          [27 (16)]

                    [28 (17)]

                        [29 (18)]

Nz = N,                                                    [30 (19)]

где К - коэффициент пропорциональности, определяемый по табл. 1 (1) настоящего приложения;

aд, еб, I - значения те же, что и в формуле [8 (6)];

 - приведенная глубина, определяемая по формуле [6 (4)] в зависимости от значения действительной глубины z, для которой определяются величины давления sz, момента Mz и поперечной силы Qz;

Н0, М0, y0 и jо - обозначения те же, что и в пп. 4 и 5 настоящего приложения;

 - коэффициенты, значения которых принимаются по табл. 5 (3);

N - расчетная осевая нагрузка, тс, передаваемая на голову сваи.

Таблица 5 (3)

Приведенная глубина расположения сечения сваи в грунте

Коэффициенты

A1

B1

C1

D1

A3

B3

C3

D3

A4

B4

C4

D4

0

1

0

0

0

0

0

1

0

0

0

0

1

0,1

1

0,1

0,005

0

0

0

1

0,1

-0,005

0

0

1

0,2

1

0,2

0,02

0,001

-0,001

0

1

0,2

-0,02

-0,003

0

1

0,3

1

0,3

0,045

0,005

-0,005

-0,001

1

0,3

-0,045

-0,009

-0,001

1

0,4

1

0,4

0,08

0,011

-0,011

-0,002

1

0,4

-0,08

-0,021

-0,003

1

0,5

1

0,5

0,125

0,021

-0,021

-0,005

0,999

0,5

-0,125

-0,042

-0,008

0,999

0,6

0,999

0,6

0,18

0,036

-0,036

-0,011

0,998

0,6

-0,18

-0,072

-0,016

0,997

0,7

0,999

0,7

0,245

0,057

-0,057

-0,02

0,996

0,699

-0,245

-0,114

-0,03

0,994

0,8

0,997

0,799

0,32

0,085

-0,085

-0,034

0,992

0,799

-0,32

-0,171

-0,051

0,989

0,9

0,995

0,899

0,405

0,121

-0,121

-0,055

0,985

0,897

-0,404

-0,243

-0,082

0,98

1

0,992

0,997

0,499

0,167

-0,167

-0,083

0,975

0,994

¾0,499

-0,333

-0,125

0,967

1,1

0,987

1,095

0,604

0,222

-0,222

-0,122

0,96

1,09

-0,603

-0,443

-0,183

0,946

1,2

0,979

1,192

0,718

0,288

-0,287

-0,173

0,938

1,183

-0,716

-0,575

-0,259

0,917

1,3

0,969

1,287

0,841

0,365

-0,365

-0,238

0,907

1,273

-0,838

-0,73

-0,356

0,876

1,4

0,955

1,379

0,974

0,456

-0,455

-0,319

0,866

1,358

-0,967

-0,91

-0,479

0,821

1,5

0,937

1,468

1,115

0,56

-0,559

-0,42

0,811

1,437

-1,105

-1,116

-0,63

0,747

1,6

0,913

1,553

1,264

0,678

-0,676

-0,543

0,739

1,507

-1,248

-1,35

-0,815

0,652

1,7

0,882

1,633

1,421

0,812

-0,808

-0,691

0,646

1,566

-1,396

-1,613

-1,036

0,529

1,8

0,843

1,706

1,584

0,961

-0,956

-0,867

0,53

1,612

-1,547

-1,906

-1,299

0,374

1,9

0,795

1,77

1,752

1,126

-1,118

-1,074

0,385

1,64

-1,699

-2,227

-1,608

0,181

2

0,735

1,823

1,924

1,308

-1,295

-1,314

0,207

1,646

-1,848

-2,578

-1,966

-0,057

2,2

0,575

1,887

2,272

1,72

-1,693

-1,906

-0,271

1,575

-2,125

-3,36

-2,849

-0,692

2,4

0,347

1,874

2,609

2,195

-2,141

-2,663

-0,949

1,352

-2,339

-4,228

-3,973

-1,592

2,6

0,033

1,755

2,907

2,724

-2,621

-3,6

-1,877

0,917

-2,437

-5,14

-5,355

-2,821

2,8

-0,385

1,49

3,128

3,288

-3,103

-4,718

-3,108

0,197

-2,346

-6,023

-6,99

-4,445

3

-0,928

1,037

3,225

3,858

-3,541

-6

-4,688

-0,891

-1,969

-6,765

-8,84

-6,52

3,5

-2,928

-1,272

2,463

4,980

-3,919

-9,544

-10,34

-5,854

1,074

-6,789

-13,692

-13,826

4

-5,853

-5,941

-0,927

4,548

-1,614

-11,731

-17,919

-15,076

9,244

-0,358

-15,611

-23,14

К п. 7. Для свай, опертых на нескальный грунт, при приведенной глубине погружения в грунт  и для свай, опертых на скалу, при  расчетное давление на грунт sz, тс/м2 по контакту с боковой поверхностью сваи, возникающее на глубине  (см. п. 6), а также наибольшее значение расчетного изгибающего момента Ммакс, тс×м, на участке сваи, расположенном в грунте, можно определять табличным методом, приведенным в разделе Б настоящего приложения, или по приближенным формулам:

                                            (31)

                                            (32)

где Мo, Нo и aд - обозначения те же, что и в п. 7 настоящего приложения;

x1 - коэффициент, который при значения  принимается равным 0,7, а в интервале  определяется по формуле

                                                   (33)

k3 - коэффициент; при  k3 = 0,65; при  k3 = 0,7 и при  k3 = 0,75.

8. Расчетный момент заделки М3, тс×м, учитываемый при расчете свай, имеющих жесткую заделку в ростверк, которой обеспечивается невозможность поворота головы сваи, следует определять по формуле

                                 [34 (20)]

где все буквенные обозначения те же, что и в предыдущих формулах.

При этом знак минус означает, что при горизонтальной силе Н, направленной слева направо, на голову сваи со стороны заделки передается момент, направленный против часовой стрелки.

Для свай, опертых на нескальный грунт, при приведенной глубине погружения в грунт  и для свай, опертых на скалу, при  допускается расчетный момент М3 вычислять табличным методом, приведенным в разделе Б настоящего приложения, или по приближенной формуле

                                                  (35)

где Н - расчетное значение поперечной силы, тс;

k4 - коэффициент, принимаемый по табл. 6;

lM - длина изгиба сваи, определяемая по формуле (16) и табл. 3 (см. п. 4).

Таблица 6

Eб I, тс×м2

Значения коэффициента k4, при lo, м

0

1

2

3

5

³ 10

£ 103

0,83

0,93

0,97

0,98

0,99

1

104

0,83

0,9

0,94

0,96

0,98

1

³ 105

0,83

0,88

0,92

0,94

0,97

1

Пример. 1. Требуется определить горизонтальное перемещение и угол поворота головы сваи, а также расчетные значения наибольшего изгибающего момента и продольной силы для проверки прочности и трещиностойкости ствола сваи. Свая железобетонная круглая полая с наружным диаметром d = 0,6 м и внутренним dв = 0,4 м. Голова сваи расположена на высоте lo = 2 м от поверхности-грунта (рис. 5, а). Свая погружена в мелкий песок на глубину l = 8 м. Начальный модуль упругости бетона Еб = 2,9×106 тс/м2. К голове сваи приложены внешние нагрузки в виде вертикальной силы N, горизонтальной силы H и момента М, нормативные значения которых соответственно равны 30 тс, 4 тc и 2 тс×м. Коэффициенты перегрузки в расчетах по первой группе предельных состояний: для вертикальной силы 1,1 или 0,9, для горизонтальной силы и момента 1,2.

Рис. 5. К примеру расчета

a - схема сваи; б - эпюра Мz при Н = 4 тс и М = 2 тс×м

Решение. Момент инерции поперечного сечения сваи

Жесткость поперечного сечения сваи при изгибе

Еб I = 2,9×106×5,1×10-3 = 14,8×103 тс×м2.

В соответствии с п. 3 определяем условную ширину сваи:

bc = 1,5 d + 0,5 = 1,5×0,6 + 0,5 = 1,4 м.

Согласно п. 2, для мелкого песка коэффициент пропорциональности

Из табл. 2 следует, что значению

соответствует величина коэффициента деформация

aд = 0,572 м-1.

По формуле [7 (5)] определяем приведенную глубину погружения сваи в грунт:

Приняв, согласно табл. 4 (2), Ао = 2,441, Во = 1,621 и Со = 1,751, по формулам [19 (11)] - [21 (13)] вычисляем перемещения сваи в уровне поверхности грунта от единичных усилий, приложенных в том же уровне [см. рис. 3 (2)]:

Согласно п. 5, изгибающий момент и поперечная сила в сечении сваи на уровне поверхности грунта при расчете по второй группе предельных состояний равны:

Мо = М + Нlo = 2 + 4×2 = 10 тс×м;

Но = Н = 4 тс.

По формулам [17 (19)] и [18 (10)] определяем горизонтальное перемещение и угол поворота сечения сваи на уровне поверхности грунта:

уо = 4×8,809×10-4 + 10×3,347×10-4 = 68,71×10-4 м = 0,69 см;

jо =4×3,347×10-4 + 10×2,068×10-4 = 34,07×10-4 рад.

Искомые перемещения сваи находим по формулам [11 (7)] и [12 (8)];

Найдем величину наибольшего изгибающего момента Ммакс для расчета трещиностойкости ствола сдай. Для этого, пользуясь формулой [28 (17)], определяем изгибающие моменты Mz в поперечных сечениях сваи, расположенных на разных глубинах z от поверхности грунта

Дальнейшие вычисления по определению значений Mz, приведенные с использованием данных табл. 5 (3), сведены в табл. 7. По результатам этих вычислений на рис. 5, б построена эпюра Mz, из которой следует, что можно принять Mмакс = 14 тс×м.

Таблица 7

z, м

А3

В3

С3

D3

33,28 А3

28,84 B3

10 С3

6,993 D3

Mz, тс×м

0,87

0,5

-0,021

-0,005

0,999

0,5

-0,69

-0,14

9,99

3,5

12,9

1,75

1

-0,167

-0,083

0,975

0,994

-5,56

-2,39

9,75

6,95

13,5

2,62

1,5

-0,559

-0,42

0,811

1,437

-18,6

-12,11

8,11

10,05

11,7

3,5

2

-1,295

-1,314

0,207

1,646

-43,1

-37,9

2,07

11,51

8,4

5,25

3

-3,54

-6

-4,688

-0,891

-117,81

-173,04

-46,88

-6,23

2,1

7

4

-1,614

-11,731

-17,919

-15,076

-53,71

-338,32

-179,19

-105,43

0

Учитывая формулу [30 (19)], приходим к выводу, что в расчете трещиностойкости ствола сваи следует принять изгибающий момент и продольную силу равными соответственно 14 тс×м и 30 тс, а в расчете прочности ствола - 1,2×14 = 16,8 тс×м и 1,1×30 = 33 тс или 0,9×30 = 27 тс.

В заключение определим величины перемещений Dг и y сваи, а также величину наибольшего изгибающего момента Mмакс, пользуясь приближенными формулами, которые могут быть применены, так как приведенная длина сваи

Приняв по графику рис. 2 значение k2 = 1,85, по формуле (16) определим длину изгиба сваи:

Из формул (13) и (14) следует:

По формуле (32) получаем:

Результаты, полученные по приближенным формулам достаточно хорошо совпадают с соответствующими результатами, полученными выше по более общим формулам.

Пример 2. Для сваи, рассмотренной в примере 1, но работающей в условиях, исключающих возможность поворота ее головы, определить горизонтальное перемещение Dг последней от действия горизонтальной силы Н = 12 тс.

Решение. Используя значения перемещений dНН, dМН = dНМ и dММ, а также жесткости ЕбI поперечного сечения сваи, по формуле [34 (20)] вычисляем момент заделки М = М3 (момент, действующий в месте сопряжения сваи с ростверком):

Определяем, согласно п. 5, изгибающий момент и поперечную силу в сечении сваи на уровне поверхности грунта и затем по формулам [17 (9)] и [18 (10)] горизонтальное перемещение и угол поворота этого сечения:

Мо = М + Нlo = -31 + 12×2 = -7 тс×м;

Но = Н = 12 тс.

уо = 12×8,809×10-4 - 7×3,347×10-4 = 82,28×10-4 м = 0,82 см;

jо = 12×3,347×10-4 - 7×2,068×10-4 = 25,68×10-4 рад.

По формуле [11 (7)] вычисляем искомое значение горизонтального перемещения головы сваи:

Нетрудно убедиться, что при подстановке значений величин в формулу [12 (8)] получается y = 0; это является свидетельством правильности вычислений.

В заключение определим величину Dг по приближенной формуле (13).

Не прибегая к интерполяции, по табл. 3 устанавливаем, что значениям  ЕбI = 14,8×10 тс×м2 и lo = 2 м соответствует k2 = 2.

По формулам (16) и (15) имеем:

 м = 1,13 см.

Б. ТАБЛИЧНЫЙ МЕТОД

Приведенный ниже табличный метод применим для свай и свай-оболочек, не заделанных в скальный грунт при величине  для свай и свай-оболочек при опирании или заделке их в скальный грунт метод применим при

Усилия и перемещения свай и свай-оболочек в любой точке на глубине Z, м, (см. рис. 1) определяются по формулам:

                                       (36)

                                      (37)

                                              (38)

                                              (39)

sz = Кzyz,                                                      (40)

где ,  - функции, принимаемые по табл. 8 в зависимости от приведенной глубины заложения свай в грунт  и приведенной координаты рассматриваемой точки  (где l и z - действительная глубина погруженной в грунт части сваи и действительная координата рассматриваемой точки, м, согласно рис. 1);

aд - коэффициент деформации, 1/м, определяемый по формуле (6) приложения к главе СНиП II-17-77;

Eб - начальный модуль упругости бетона сваи при сжатии и растяжении, тс/м2, определяемый в соответствии с главой СНиП II-21-74 «Бетонные и железобетонные конструкции. Нормы проектирования»;

I - момент инерции поперечного сечения сваи, м4;

К - коэффициент пропорциональности, тс/м4, принимаемый в зависимости от вида грунта, окружающего сваю или сваю-оболочку, по табл. 1 настоящего приложения;

Ho и Мо - соответственно расчетные значения поперечной силы, тс, и изгибающего момента, тс×м, в рассматриваемом сечении сваи или сваи-оболочки, принимаемые равными

Н = Нo,                                                          (41)

Мo = М + Нlo,                                                    (42)

где Н и М - соответственно расчетные значения поперечной силы, тс, и изгибающего момента, тс×м, действующих со стороны ростверка на голову сваи (см. рис. 1).

Момент заделки М3, тс×м, учитываемый при расчете свай и свай-оболочек, имеющих жесткую заделку в низкий ростверк, обеспечивающий исключение возможности поворота головы сваи (см. рис. 2) в случае использования табличного метода при  определяется по формуле

                                                     (43)

где ,  - значения функций  и  в уровне поверхности грунта (при Z = 0);

Но и aд - обозначения те же, что и в формулах (36) - (40).

При этом знак минус означает, что при горизонтальной силе Н, направленной слева направо, на голову сваи со стороны заделки передается момент, направленный против часовой стрелки.

Расчетные величины горизонтального перемещения головы сваи и сваи-оболочки в уровне подошвы плиты ростверка Dг, м, и угол ее поворота, рад, для расчета свай и свай-оболочек по деформациям при использовании табличного метода следует определять так же, как и при использовании основного метода по формулам [11 (7)] и [12 (8)] настоящего приложения с той лишь разницей, что уо и yо определяются по формулам (36) и (37).

Пример. Требуется определить горизонтальные перемещения сваи в уровне поверхности грунта и в уровне приложения горизонтальной силы Н, а также величину наибольшего изгибающего момента Ммакс в поперечном сечении сваи. Свая железобетонная круглая полая с наружным диаметром dн = 0,6 м и внутренним диаметром dв = 0,4 м, длиной 10 м. Горизонтальная сила Н = 4,15 тс приложена на высоте lo = 2 м от поверхности грунта, начальный модуль упругости бетона сваи Eб = 2,8×106 тс/м2.

Решение. Момент инерции поперечного сечения сваи равен:

Жесткость поперечного сечения сваи при изгибе равна:

ЕбI = 2,8×106×5,1×10-3 = 14,28×103 тс×м2.

В соответствии с п. 3 настоящего приложения к главе СНиП вычисляем условную расчетную ширину сваи:

bс = 1,5 d + 0,5 = 1,5×0,6 + 0,5 = 1,4.

Таблица 8

 = aдz

 

 = 2,6

0

2,109

2,058

1

0

3,246

2,109

0

1

 

0,21

1,703

1,85

0,997

-0,04

2,808

2,088

0,203

0,936

 

0,47

1,255

1,594

0,912

-0,167

2,275

2,006

0,421

0,716

 

0,73

0,873

1,348

0,907

-0,329

1,67

875

0,568

0,405

 

0,99

0,552

1,125

0,801

-0,485

1,302

718

0,629

0,065

 

1,25

0,285

0,985

0,658

-0,604

0,877

556

0,604

-0,248

 

1,51

0,063

0,785

0,492

-0,664

0,492

41

0,506

-0,49

 

1,77

-0,127

0,68

0,319

-0,649

0,141

297

0,359

-0,621

 

2,03

-0,295

0,618

0,162

-0,543

-0,186

225

0,196

-0,608

 

2,29

-0,451

0,592

0,046

-0,333

-0,499

193

0,059

-0,413

 

2,55

0,604

0,588

0

0

-0,809

187

0

0

 

 = 2,7

0

2

1,978

1

0

3,095

2

0

1

 

0,22

1,596

1,762

0,997

-0,04

2,665

1,977

0,211

0,934

 

0,49

1,156

1,496

0,97

-0,167

2,142

1,888

0,436

0,71

 

0,76

0,787

1,242

0,904

-0,327

1,65

1,748

0,587

0,396

 

1,03

0,483

1,012

0,795

-0,477

1,201

1,579

0,647

0,056

 

1,3

0,238

0,816

0,65

-0,587

0,798

1,406

0,62

0,253

 

1,57

0,039

0,663

0,483

-0,638

0,44

1,251

0,517

-0,489

 

1,84

-0,124

0,556

0,312

-0,616

0,119

1,131

0,366

-0,614

 

2,11

-0,265

0,493

0,158

-0,511

-0,175

1,055

0,199

-0,596

 

2,33

-0,394

0,467

0,045

-0,31

-0,455

1,022

0,06

-0,403

 

2,65

-0,519

0,463

0

0

-0,73

1,016

0

0

 

 = 2,8

0

1,922

1,917

1

0

2,968

1,912

0

1

 

0,22

1,507

1,997

0,041

0,121

2,542

1,887

0,219

0,933

 

0,5

1,072

1,417

0,969

-0,169

2,026

1,792

0,451

0,703

 

0,78

0,713

1,154

0,899

-0,327

1,544

1,642

0,604

0,385

 

1,06

0,423

0,917

0,787

-0,47

1,109

1,462

0,665

0,046

 

1,34

0,196

0,717

0,64

-0,571

0,726

1,278

0,634

-0,259

 

1,62

0,018

0,561

0,473

-0,613

0,392

1,114

0,527

-0,488

 

1,9

-0,123

0,452

0,303

-0,585

0,098

0,988

0,371

-0,605

 

2,18

-0,24

0,389

0,152

-0,48

-0,166

0,908

0,201

-0,583

 

2,46

-0,344

0,363

0,043

-0,288

-0,414

0,872

0,06

-0,392

 

2,74

-0,445

0,359

0

0

-0,657

0,867

0

0

 

 = 2,9

0

1,841

1,87

1

0

2,862

1,841

0

1

 

0,23

1,434

1,638

0,997

-0,042

2,437

1,815

0,226

0,931

 

0,52

1,001

1,353

0,997

-0,327

1,924

1,713

0,465

0,696

 

1,1

0,371

0,838

0,779

-0,465

1,449

1,553

0,622

0,374

 

1,39

0,158

0,633

0,629

-0,557

1,026

1,362

0,681

0,035

 

1,68

0,001

0,475

0,462

-0,59

0,66

1,167

0,646

-0,266

 

1,97

-0,122

0,366

0,294

-0,555

0,347

0,994

0,534

-0,486

 

2,26

-0,218

0,302

0,147

-0,449

0,079

0,862

0,374

-0,596

 

2,55

-0,301

0,277

0,041

-0,267

-0,157

0,776

0,202

-0,569

 

2,84

-0,381

0,272

0

0

0,377

0,742

0,06

-0,38

 

 = 3

0

1,786

1,835

1

0

2,773

1,786

0

1

 

0,24

1,374

1,596

0,996

-0,043

2,347

1,757

0,234

0,928

 

0,54

0,94

1,3

0,965

-0,175

1,834

1,648

0,48

0,688

 

0,84

0,592

1,021

0,889

-0,329

1,364

1,476

0,638

0,361

 

1,14

0,324

0,771

0,77

-0,461

0,951

1,275

0,696

0,022

 

1,44

0,125

0,562

0,617

-0,545

0,599

1,071

0,656

-0,273

 

1,74

-0,018

0,402

0,449

-0,576

0,306

0,89

0,54

-0,486

 

2,04

-0,121

0,293

0,283

-0,526

0,061

0,751

0,376

-0,585

 

2,34

-0,198

0,23

0,14

-0,419

-0,15

0,665

0,202

-0,553

 

2,64

-0,263

0,204

0,039

-0,246

-0,343

0,627

0,06

-0,367

 

2,94

-0,323

0,2

0

0

‑0,529

0,621

0

0

 

 = 3,1

0

1,742

1,809

1

0

2,7

1,742

0

1

 

0,25

1,324

1,562

0,996

-0,049

2,27

1,711

0,242

0,926

 

0,56

0,887

1,257

0,963

-0,178

0,56

1,756

1,959

0,494

 

0,87

0,543

0,968

0,883

-0,332

1,288

1,415

0,654

0,347

 

1,18

0,283

0,714

0,76

-0,46

0,882

1,201

0,708

0,008

 

1,49

0,096

0,502

0,604

-0,533

0,543

0,986

0,664

‑0,281

 

1,8

-0,033

0,34

0,435

-0,546

0,268

0,797

0,543

‑0,488

 

2,11

-0,121

0,231

0,272

‑0,497

0,44

0,654

0,376

-0,573

 

2,42

-0,181

0,169

0,133

-0,39

‑0,143

0,565

0,201

-0,535

 

2,73

-0,229

0,144

0,036

-0,225

-0,311

0,526

0,059

‑0,352

 

3,04

-0,273

0,14

0

0

-0,473

0,5

0

0

 

 = 3,2

0

1,708

1,79

1

0

2,639

1,798

0

1

 

0,26

1,282

1,535

0,996

-0,046

2,205

1,676

0,249

0,923

 

0,58

0,842

1,22

0,96

-0,183

1,686

1,552

0,507

0,669

 

0,9

0,499

0,925

0,877

-0,336

1,219

1,361

0,669

0,332

 

1,22

0,246

0,664

0,749

-0,458

0,819

1,136

0,72

-0,007

 

1,54

0,07

0,449

0,59

‑0,523

0,491

0,912

0,67

-0,29

 

1,86

-0,047

0,287

0,421

-0,526

0,232

0,716

0,544

-0,481

 

2,18

-0,12

0,179

0,26

-0,47

0,028

0,568

0,374

-0,561

 

2,5

-0,166

0,118

0,126

-0,361

-0,137

0,477

0,198

-0,517

 

2,82

-0,2

0,094

0,034

-0,204

-0,282

0,437

0,058

-0,336

 

3,14

-0,229

0,09

0

0

-0,421

0,431

0

0

 

 = 3,3

0

1,682

1,777

1

0

2,59

1,682

0

1

 

0,26

1,248

1,513

0,996

-0,048

2,149

1,648

0,257

0,92

 

0,59

0,802

1,189

0,958

-0,188

-

-

-

-

 

0,92

0,461

0,886

0,87

-0,341

1,156

1,315

0,682

0,315

 

1,25

0,218

0,62

0,737

-0,457

0,76

1,079

0,729

-0,023

 

1,58

0,046

0,403

0,575

-0,514

0,443

0,845

0,674

-0,299

 

1,91

-0,059

0,242

0,405

-0,506

1,199

0,643

0,543

-0,479

 

2,24

-0,12

0,135

0,247

-0,443

0,013

0,491

0,371

-0,547

 

2,57

-0,153

0,076

0,118

-0,333

-0,132

0,399

0,195

-0,496

 

2,9

-0,173

0,052

0,031

-0,184

-0,256

0,359

0,057

-0,319

 

3,23

-0,19

0,049

0

0

-0,372

0,352

0

0

 

 = 3,4

0

1,663

1,767

1

0

2,551

1,663

0

1

 

0,27

1,219

1,495

0,995

-0,05

2,102

1,626

0,264

0,917

 

0,61

0,768

1,162

0,955

-0,194

1,57

1,488

0,534

0,647

 

0,95

0,426

0,852

0,862

-0,347

1,099

1,276

0,695

0,298

 

1,29

0,184

0,581

0,724

-0,458

0,706

1,029

0,738

-0,04

 

1,63

0,025

0,363

0,558

-0,505

0,399

0,786

0,676

-0,308

 

1,97

-0,07

0202

0,388

-0,488-

0,168

0,578

0,539

-0,476

 

2,31

-0,119

0,097

0,233

-0,416

-0,001

0,424

0,365

-0,532

 

2,65

-0,141

0,04

0,109

-0,305

-0,127

0,33

0,19

-0,475

 

2,99

-0,15

0,018

0,029

-0,165

-0,231

0,29

0,055

-0,301

 

3,33

-0,15

0,015

0

0

0,328

0,283

0

0

 

 = 3,5

0

1,648

1,716

1

0

2,52

1,648

0

1

 

0,28

1,195

1,481

0,996

-0,052

2,062

1,61

0,272

0,913

 

0,63

0,737

1,139

0,952

-0,2

1,521

1,464

0,546

0,634

 

0,98

0,395

0,812

0,854

-0,353

1,046

1,241

0,707

0,279

 

1,33

0,157

0,546

0,71

-0,459

1,657

0,984

0,744

-0,058

 

1,68

0,006

0,327

0,541

-0,497

0,357

0,732

0,675

-0,318

 

2,03

-0,079

0,168

0,73

-0,47

0,139

0,519

0,534

-0,473

 

2,38

0,118

0,066

0,218

-0,391

-0,013

0,363

0,357

-0,516

 

2,73

-0,13

0,011

0,1

-0,278

-0,122

0,269

0,185

-0,452

 

3,08

-0,13

0,01

0,026

-0,145

-0,208

0,229

0,053

-0,282

 

3,43

-0,126

0,013

0

0

-0,286

0,223

0

0

 

 = 3,6

0

1,638

1,756

1

0

2,495

1,636

0

1

 

0,29

1,174

1,469

0,994

0,055

2,028

1,597

0,279

0,909

 

0,65

0,709

1,117

0,949

‑0,207

1,477

1,443

0,558

0,621

 

1,01

0,366

0,793

0,846

-0,36

0,98

1,21

0,117

0,259

 

1,87

0,133

0,514

0,696

-0,461

0,61

0,942

0,748

0,077

 

1,73

-0,011

0,294

0,522

-0,49

0,318

0,634

0,672

-0,328

 

2,09

-0,087

0,138

0,351

-0,452

0,113

0,467

0,526

-0,469

 

2,45

-0,025

0,309

0,348

-0,5

-0,117

0,039

0,203

-0,366

 

2,81

-0,118

0,215

0,178

-0,439

-0,12

0,013

0,091

-0,252

 

3,17

-0,187

0,176

0,05

-0,263

-0,111

0,032

0,023

-0,127

 

3,53

-0,248

0,17

0

0

‑0,095

0,035

0

0

 

 = 3,7

0

1,631

1,754

1

0

2,477

1,631

0

1

 

0,3

1,156

1,458

0,994

-0,057

1,998

1,588

0,286

0,906

 

0,67

0,684

1,097

0,945

-0,214

1,437

1,426

0,570

0,607

 

1,04

0,34

0,766

0,836

-0,368

0,953

1,182

0,727

0,239

 

1,41

0,111

0,484

0,681

-0,463

0,567

0,904

0,751

‑0,096

 

1,78

-0,026

0,265

0,503

-0,482

0,282

0,639

0,667

-0,338

 

2,15

-0,094

0,111

0,332

-0,435

0,088

0,419

0,515

‑0,465

 

2,52

-0,116

0,116

0,187

-0,342

-0,036

0,261

0,337

‑0,482

 

2,89

-0,111

0,032

0,082

-0,227

-0,113

0,168

0,17

-0,404

 

3,26

-0,095

0,05

0,02

-0,109

-0,167

0,13

0,048

-0,243

 

3,63

‑0,076

0,052

0

0

-0,214

0,124

0

0

 

 = 3,8

0

1,626

1,752

1

0

2,463

1,626

0

1

 

0,3

1,139

1,448

0,994

-0,06

1,973

1,581

0,294

0,901

 

0,68

0,66

1,079

0,941

-0,221

1,401

1,411

0,582

0,593

 

1,06

0,316

0,741

0,827

-0,375

0,911

1,156

0,736

0,217

 

1,44

0,09

0,457

0,665

-0,465

0,526

0,869

0,752

-0,116

 

1,82

0,039

0,238

0,484

-0,475

0,249

0,598

0,66

-0,348

 

2,2

-0,099

0,088

0,312

‑0,418

0,066

0,376

0,503

-0,461

 

2,58

-0,114

0,003

0,171

-0,318

-0,045

0,219

0,324

-0,464

 

2,96

-0,108

0,048

0,072

-0,203

-0,109

0,128

0,161

-0,379

 

3,34

-0,081

0,063

0,017

-0,092

-0,149

0,09

0,044

-0,223

 

3,72

-0,056

0,065

0

0

‑0,182

0,084

0

0

 

 = 3,9

0

1,623

1,751

1

0

2,452

1,623

0

0

 

0,31

1,126

1,44

0,993

-0,062

1,951

1,576

0,301

0,897

 

0,7

0,639

1,051

0,938

-0,228

1,367

1,397

0,593

0,577

 

1,09

0,294

0,717

0,817

-0,383

0,872

1,132

0,743

0,195

 

1,48

0,072

0,43

0,648

-0,467

0,488

0,836

0,752

-0,137

 

1,87

-0,051

0,214

0,463

-0,468

0,218

0,56

0,651

-0,358

 

2,26

-0,104

0,067

0,292

-0,401

0,045

0,336

0,468

-0,456

 

2,65

-0,111

0,019

0,155

-0,295

-0,054

0,181

0,309

-0,446

 

3,04

-0,095

0,06

0,063

-0,179

-0,105

0,092

0,151

-0,354

 

3,43

-0,068

0,073

0,014

-0,076

-0,132

0,057

0,041

-0,202

 

3,82

-0,039

0,075

0

0

-0,153

0,051

0

0

 

 = 4

0

1,622

1,751

1

0

2,445

1,622

0

1

 

0,32

1,113

1,431

0,993

0,065

1,931

1,572

0,308

0,892

 

0,72

0,618

1,044

0,933

0,24

1,336

1,385

0,603

0,562

 

1,12

0,273

0,694

0,806

-0,391

0,836

1,109

0,75

0,172

 

1,52

0,055

0,405

0,631

-0,47

0,453

0,805

0,75

-0,157

 

1,92

-0,062

0,191

0,442

-0,461

0,189

0,524

0,64

-0,368

 

2,32

-0,107

0,049

0,271

-0,385

0,026

0,3

0,472

-0,451

 

2,72

-0,109

0,032

0,139

-0,273

-0,061

0,147

0,294

-0,427

 

3,12

-0,088

0,069

0,053

-0,157

-0,101

0,062

0,141

-0,328

 

3,52

-0,057

0,08

0,011

-0,061

-0,117

0,028

0,038

-0,182

 

3,92

-0,025

0,082

0

0

-0,127

0,028

0

0

 

Из табл. 1 приложения для мелкого песка средней плотности принимаем коэффициент пропорциональности:

Находим вспомогательную величину r

а по ней из табл. 2 приложения находим значение коэффициента деформации:

aд = 0,570 1/м.

Вычисляем приведенную глубину заложения сваи в грунте:

Горизонтальное перемещение уо и угол поворота yо сечения сваи в уровне поверхности грунта определяем по формулам (36) и (37) при z = 0.

При этом следует принять Ho = H = 4,15 тс;

Мо = М + Hlo = 4,15×2 = 8,3 тс×м.

По табл. 7 при  (так как l = 4,6 > 4) и z = 0 находим:

 

 

Далее найдем по формулам (36) и (37):

Максимальное значение изгибающего момента находим по формуле (38) при следующих значениях Но и Мо взятых с коэффициентом перегрузки 1,2:

Но = 4,15×1,2 = 5 тс;

Мо = 8,3×1,2 = 10 тс×м.

При этом выражение (38) принимает вид:

По полученному выражению найдем значения изгибающего момента при различных значениях z, используя табличные величины функций  и  при l = 4 (см табл. 7):

при  или при

при  или при

при  или при

при  или при

Из приведенных вычислений видно, что максимальное значение изгибающего момента Ммакс = 14,57 тс×м

ПРИЛОЖЕНИЕ 1

МЕТОДИЧЕСКИЕ ПРИНЦИПЫ ТЕХНИКО-ЭКОНОМИЧЕСКОЙ ОЦЕНКИ ПРОЕКТНЫХ РЕШЕНИЙ СВАЙНЫХ ФУНДАМЕНТОВ

1. Эффективность применения фундаментов различных типов и конструкций может быть установлена только на основе их вариантного проектирования и технико-экономической оценки проектных решений.

При обоснованиях должны рассматриваться все типы фундаментов, отвечающие техническим требованиям применения в данных инженерно-геологических условиях строительства.

Технико-экономическая оценка вариантов свайных фундаментов включает:

анализ технической целесообразности и рациональности использования фундамента рассматриваемого типа или свай различных конструкций в рассматриваемых условиях;

анализ проектных решений в части их конструктивной и эксплуатационной равнонадежности;

сравнительный анализ технико-экономических показателей проектных решений.

Стоимостные показатели по сравниваемым вариантам должны рассчитываться для условий одного и того же района строительства в едином уровне цен на конструкции и материалы с применением единой сметно-нормативной базы или единых принципов определения показателей.

2. Техническая целесообразность использования свай различных видов оценивается:

технической допустимостью применения рассматриваемых видов фундаментов или свай в заданных грунтовых и других условиях строительной площадки (обеспечение изготовления фундаментов при гарантированном качестве работ, возможность транспортировки элементов фундамента заданных габаритов в пределах и вне пределов строительной площадки, возможность погружения свай в заданных грунтовых условиях до требуемых отметок и т.п.);

реальной возможностью выполнения работ по устройству выбранных типов фундаментов и конструкций свай с учетом технической вооруженности строительной организации, которая будет осуществлять производство работ;

возможностью получения допустимости осадок фундаментов и необходимой по проекту несущей способности свай в заданных грунтовых условиях.

При сравнении различных видов фундаментов следует рассматривать только рациональные конструкции. Это означает, что:

при сравнении, например, ленточных и свайных фундаментов необходимо выявить первоначально в каждом виде рациональный тип фундамента из всех возможных вариантов, а затем сравнить их между собой;

нельзя сравнивать тщательно проработанный вариант фундамента с вариантом для конкретного объекта, в котором конструкции фундаментов не являются оптимальными;

в целях сокращения числа рассматриваемых вариантов необходимо исключать из рассмотрения варианты с низким коэффициентом использования несущей способности свай, существенно отличающихся от единицы, или переработать их, добиваясь повышения этого коэффициента (под коэффициентом использования несущей способности свай принимается отношение суммарной расчетной нагрузки от здания или сооружения к суммарной нагрузке, допустимой по несущей способности всех свай в его фундаменте).

Для правильной оценки сравниваемые фундаменты должны быть разработаны с учетом обеспечения одних и тех же условий эксплуатации, рассчитаны в соответствии с действующими нормами на одинаковые нагрузки с одинаковой степенью достоверности расчета и при одинаковых планировочных решениях надземной части и грунтовых условий.

3. Сопоставление технико-экономических показателей фундаментов различных видов возможно только при их равнонадежности.

В противном случае при расчете технико-экономических показателей фундаментов на естественном основании должны учитываться затраты на конструктивные мероприятия по повышению пространственной жесткости здания, дополнительные затраты по его эксплуатации (на внеплановые ремонты и наблюдения за осадками), а также стоимость мероприятий по улучшению основания.

При сравнении проектных решений свайных фундаментов технико-экономические показатели допускается определять только для изменяемой части нулевого цикла. При сопоставлении свайных фундаментов жилых зданий с низким и высоким ростверком, а также свайных на естественном основании технико-экономические показатели должны рассчитываться для всего нулевого цикла до уровня низа перекрытия первого этажа, если не имеется конструктивных изменений в надземной части здания, и с учетом затрат на их устройство, если последние имеют место.

Для обеспечения сравнимости все технико-экономические показатели проектных решений фундаментов относятся на единую для рассматриваемых вариантов единицу измерения - 100 тс расчетной нагрузки от здания или сооружения. Наряду с этим в качестве расчетной единицы измерения для объекта в целом можно принимать: для жилых зданий - 1 м2 общей приведенной площади; для одноэтажных промышленных зданий - 1 м2 площади, измеренной в осях здания; для многоэтажных промышленных зданий - 1 м2 развернутой площади здания; для отдельно стоящих опор - один фундамент.

Установление сравнительной эффективности применения свайных фундаментов различных конструкций на основе сопоставления технико-экономических показателей только одиночных свай не допускается.

4. Технико-экономическая оценка вариантов проектных решений фундаментов производится по основным и дополнительным технико-экономическим показателям.

К основным показателям относятся приведенные затраты, себестоимость; к дополнительным - капитальные вложения в материально-техническую базу, общая и построечная трудоемкость, продолжительность работ, расход материалов.

В качестве решающего показателя принимаются приведенные затраты, определяемые в общем случае с учетом себестоимости работ, капитальных вложений в базу, трудоемкости и продолжительности возведения фундаментов, расхода материалов.

Критерием сравнительной экономической эффективности проектных решений фундаментов является минимум приведенных затрат.

При этом должны соблюдаться требования ТП 101-76 «Технические правила по экономному расходованию строительных материалов».

Расчет общей трудоемкости как суммы трудозатрат на всех переделах - на предприятиях, при транспортировании, на строительной площадке - позволяет учесть народнохозяйственные издержки производства. Определение только построечной трудоемкости отражает лишь отраслевой принцип технико-экономической оценки проектных решений конструкций.

Сравнительная экономическая эффективность проектных решений фундаментов может определяться на основе сопоставления только себестоимости или сметной стоимости их устройства в случаях, если:

разница в себестоимости устройства фундаментов по сравниваемым вариантам составляет более 5 %;

производство анализируемых конструкций фундаментов не требует дополнительных капитальных вложений;

эксплуатационная надежность зданий, фундаменты которых сопоставляются, одинакова.

ПРИЛОЖЕНИЕ 2

ОПРЕДЕЛЕНИЕ МОДУЛЯ ДЕФОРМАЦИИ ГРУНТОВ Е ПО РЕЗУЛЬТАТАМ КОМПРЕССИОННЫХ ИСПЫТАНИЙ

Существующие методы расчета осадок фундаментов (в том числе кустов свай) зданий и сооружений предусматривают использование модулей деформаций грунтов Е, как правило, определенных по результатам испытаний грунтов штампом статическими нагрузками.

Модули деформации, полученные по результатам компрессионных испытаний, из-за несоответствия условий испытаний грунта в компрессионном приборе условиям деформаций грунта в натуре по своей величине оказываются меньшими, чем модули деформаций тех же грунтов, получаемые при штамповых испытаниях.

Величину модуля деформации грунта Е, соответствующего результатам штамповых испытаний, можно определить по величине модуля деформации грунта Ек, полученного по результатам компрессионных испытаний по формуле

Е = ткЕк,                                                              (1)

где тк - корректировочный коэффициент, величину которого для аллювиальных, делювиальных и озерно-ледниковых глинистых грунтов от текучепластичной до тугопластичной консистенции можно принимать по таблице.

Вид грунта

Коэффициент тк при коэффициенте пористости грунта e, равном

0,4

0,5

0,6

0,7

0,8

0,9

1

1,1

1,2

1,3

1,4

Супеси

4

4

3,5

3

2

-

-

-

-

-

-

Суглинки

5

5

4,5

4

3

2,5

-

-

-

-

-

Глины

-

-

6

6

5,5

5

4,5

4

3,5

2,5

2

ПРИЛОЖЕНИЕ 3

ОПРЕДЕЛЕНИЕ СОСТАВА И ОБЪЕМА ИНЖЕНЕРНЫХ ИЗЫСКАНИЙ ДЛЯ ПРОЕКТИРОВАНИЯ ФУНДАМЕНТОВ ИЗ ВИСЯЧИХ СВАЙ

Категория сложности грунтовых условий в таблице принимается:

первая - однослойная или многослойная по составу толща грунтов с практически горизонтальными или слабо наклонными слоями (уклон границ слоев не более 0,05), в пределах каждого слоя грунты однородны по свойствам;

вторая - однослойная или многослойная по составу толща грунтов с недостаточно выдержанными границами между слоями (уклон границ слоев не более 0,1), в пределах слоев грунты неоднородны по свойствам;

третья - многослойная по составу и неоднородная по свойствам толща грунтов с невыдержанными границами между слоями (уклон границ слоев более 0,1), отдельные слои могут выклиниваться.

Характеристика проектируемого здания или сооружения

Состав изысканий

Объем изысканий при категории сложности грунтовых условий применительно к свайным фундаментам

первой

второй

третьей

Гражданские здания до 9 этажей включительно с нагрузками от несущих стен на фундамент не более 50 тс/м и промышленные сооружения с нагрузками на колонну каркаса не более 300 тс при массовой застройке

1. Бурение скважин

По сетке 70´70 м, но не менее 1 скважины на каждое здание (сооружение)

По сетке 50´50 м, но не менее 2 скважин на каждое здание

По сетке 30´30 м, но не менее 2 скважин на каждое здание

2. Лабораторные исследования грунтов

Не менее 6 определений каждого показателя в пределах одного инженерно-геологического элемента

То же, что для первой категории

 

3. Статическое зондирование

По сетке 35´35 м, но не менее 2 точек на каждое здание

По сетке 25´25 м, но не менее 3 точек на каждое здание

По сетке 15´15 м, но не менее 5 точек на каждое здание

 

4. Испытания инвентарной сваи малого сечения

Не менее 3 испытаний на каждой конкретной глубине в пределах одного инженерно-геологического элемента

То же, что для первой категории

Гражданские здания до 16 этажей включительно с нагрузками от несущих стен на фундамент не более 300 тс/м и промышленные сооружения с нагрузками на колонну каркаса не более 2000 тс

1. Бурение скважин

По сетке 50´50 м, но не менее 2 скважин на каждое здание

По сетке 40´40 м, но не менее 3 скважин на каждое здание

По сетке 30´30 м, но не менее 4 скважин на каждое здание

2. Лабораторные исследования грунтов

Не менее 6 определений каждого показателя в пределах одного инженерно-геологического элемента

То же, что для первой категории

 

3. Статическое зондирование

По сетке 25´25 м, но не менее 5 точек на каждое здание

По сетке 20´20 м, но не менее 7 точек на каждое здание

По сетке 15´15 м, но не менее 10 точек на каждое здание

 

4. Прессиометрия

Не менее 6 испытаний в пределах одного инженерно-геологического элемента

То же, что для первой категории

 

5. Испытания инвентарной сваи малого сечения

Не менее 3 испытаний инвентарной сваи и 1 испытания натурной сваи на каждой конкретной глубине в пределах

То же, что для первой категории

 

6. Испытания натурной сваи

одного инженерно-геологического элемента.

 

Высотные жесткие здания и сооружения (16 - 28-этажные здания, силосные корпуса, доменные печи, промышленные трубы), а также прочие здания и сооружения с нагрузкой на колонну каркаса более 2000 тс

1. Бурение скважин

По сетке 40´40 м, но не менее 3 скважин на каждое здание

По сетке 30´30 м, но не менее 4 скважин на каждое здание

По сетке 20´20 м, но не менее 5 скважин на каждое здание

2. Лабораторные исследования грунтов

Не менее 6 определений каждого показателя в пределах одного инженерно-геологического элемента

То же, что для первой категории

 

3. Статическое зондирование

По сетке 20´20 м, но не менее 6 точек на каждое здание

По сетке 15´15 м, но не менее 8 точек на каждое здание

По сетке 10´10 м, но не менее 10 точек на каждое здание

 

4. Прессиометрия

Не менее 6 испытаний в пределах одного инженерно-геологического элемента

То же, что для первой категории

 

5. Испытания штампом

Не менее 2 испытаний на каждой конкретной глубине в пределах одного инженерно-геологического элемента при отклонении результатов от среднего не более 30 %

То же, что для первой категории

Изыскания по видам работ должны проводиться в последовательности, указанной в таблице. Лабораторные исследования грунтов проводятся параллельно со статическим зондированием и прессиометрией. Места испытаний натурных свай и инвентарных свай малого сечения должны располагаться на расстоянии 1 - 2 м от скважин и от точек статического зондирования. Скважины и точки зондирования должны располагаться на том же расстоянии друг от друга.

Намеченная программой глубина погружения инвентарных свай малого сечения и натурных свай для испытаний должна корректироваться по результатам бурения и статического зондирования.

При одиночной застройке зданиями до 9 этажей и сооружениями с нагрузкой на колонну до 300 тс число скважин и точек статического зондирования увеличивается в 2 раза относительно указанных в таблице.

При отсутствии данных о коэффициенте перехода в особых грунтовых условиях от инвентарной сваи малого сечения к натурной, а также при длине свай более 12 м испытания инвентарных свай заменяются испытаниями натурных. При проектировании набивных свай натурные испытания производятся во всех случаях.

При горизонтальных нагрузках более 0,05 от вертикальной должны намечаться испытания натурных свай статической горизонтальной нагрузкой.

Если на площадке залегают рыхлые песчаные грунты или глинистые грунты с показателем консистенции > 0,6 и не намечается прорезка этих грунтов сваями на полную мощность, состав, объем и методика изыскательских работ определяются индивидуально.

Изменение видов и объемов работ против рекомендуемых в таблице должно быть обосновано и согласовано с организацией, выдавшей техническое задание.

ПРИЛОЖЕНИЕ 4

РАСЧЕТ НЕСУЩЕЙ СПОСОБНОСТИ СВАИ-ОБОЛОЧКИ С ГРУНТОВЫМ ЯДРОМ С УЧЕТОМ СОПРОТИВЛЕНИЯ ГРУНТА НА ЕЕ ВНУТРЕННЕЙ ПОВЕРХНОСТИ

Несущая способность Ф, тс, свай-оболочек с внутренним диаметром до 1,5 м, не заполняемых бетоном и погружаемых без выемки или с частичной неопережающей выемкой грунта из полости с учетом сопротивления грунта на внутренней боковой поверхности (при условии оставления на конечном этапе погружения грунтового ядра высотой не менее двух диаметров), определяется по формуле

Ф = т (тп1 RFо + ин Smп2 fi lнi + тд ив Smп2 fi lвi),                       (1)

где т - коэффициент условий работы, принимаемый равным 1;

тп1 - поправочный коэффициент, учитывающий влияние способа погружения сваи-оболочки на сопротивление грунта под нижним концом сваи, принимаемый по табл. 3 (3) главы СНиП II-17-77;

R - расчетное сопротивление грунта под нижним концом сваи-оболочки, тс/м, определяемое по табл. 1 (1) главы СНиП II-17-77;

Fо - площадь опирания сваи-оболочки, м, принимаемая равной площади поперечного сечения нетто, т.е. площади кольца;

ин - наружный периметр сваи-оболочки, м;

mп2 - поправочный коэффициент, учитывающий влияние способа погружения сваи на сопротивление грунта на боковой поверхности, принимаемой по табл. 3 (3) главы СНиП II-17-77;

fi - расчетное сопротивление i-го слоя грунта основания на наружной поверхности и в пределах грунтового ядра высотой не более двух диаметров на внутренней поверхности сваи-оболочки, тс/м2, принимаемое по табл. 2 (2) СНиП II-17-77; при этом толщина слоев и средняя глубина расположения слоев грунта в пределах грунтового ядра принимается такой же, что и для соответствующих наружных слоев;

lнi - толщина i-го слоя грунта, соприкасающегося с наружной боковой поверхностью сваи-оболочки, м;

mд - дополнительный коэффициент условий работы, учитывающий особенности сопротивления грунтового ядра по внутренней поверхности сваи-оболочки, принимаемый равным 1 для всех грунтов, за исключением супеси с консистенцией IL > 0 и суглинков и глин с консистенцией IL > 0,5, для которых тд = 0;

ив - внутренний периметр сваи-оболочки, м;

lвi - толщина i-го слоя грунта (грунтового ядра), м, соприкасающегося с внутренней боковой поверхностью сваи-оболочки, причем при высоте грунтового ядра более двух диаметров сваи-оболочки в расчет вводится высота грунтового ядра Slвi, равная не более двух диаметров сваи-оболочки.

Пример 1. Требуется определить несущую способность железобетонной сваи-оболочки наружным диаметром 1,2 м, внутренним диаметром 1 м, длиной 17 м, погруженной вибратором типа ВП-80 на глубину 15,6 м и опирающейся на песчаный грунт. Грунтовые условия приведены на рисунке.

Схем грунтовых условий

I - глина IL = 0,4; II - суглинок IL = 0,5; III - глина IL = 0,3; IV - песок мелкий пылеватый; V - глина IL = 0,7; VI - глина IL = 1,1; VII - глина IL = 1,1; VIII - глина IL = 0,5; IX - глина IL = 0,5; X - песок мелкий средней плотности; XI - песок мелкий средней плотности водонасыщенный; XII - песок мелкий водонасыщенный

Таблиц 1

№ слоя i

Глубина середины слоя, м

Характеристика грунтов

fi, тс/м2

lнi, м

mп2

fi lнi mп2, тс/м

1

0,2

Глина IL = 0,4

0,35

0,4

0,9

0,12

2

0,85

Суглинок IL = 0,5

1,02

0,9

0,9

0,82

3

1,9

Глина IL = 0,3

2,93

1,2

0,9

3,17

4

2,85

Песок мелкий пылеватый

2,42

0,7

1

1,7

 

 

Глина:

 

 

 

 

5

4,2

IL = 0,7

0,92

2

0,9

1,66

6

5,25

IL = 0,7

1

0,1

0,9

0,09

 

5,85

IL = 1,1

0,6

1,1

0,9

0,59

8

7,3

IL = 1,1

0,6

1,8

0,9

0,97

9

9,2

IL = 0,5

2,66

2

0,9

4,78

10

10,6

IL = 0,5

2,71

0,8

0,9

1,95

11

11,55

IL = 0,5

2,73

1,1

0,9

2,71

12

12,85

Песок мелкий средней плотности

5,01

1,5

1

7,51

13

14,6

То же, насыщенный водой

5,08

2

1

10,16

 

 

 

 

 

 

Smп2 fi lнi = 36,23 тс/к

Таблица 2

№ слоя i

Глубина середины слоя, м

fi, тс/м2

lвi, м

mп2

mп2 fi lвi, тс/м

1

13,4

5,04

0,4

1

9,7

2

14,6

5,08

2

1

10,16

 

 

 

 

 

mп2S fi lвi = 12,86

Решение. При определении сопротивления на внутренней поверхности сваи-оболочки учитываются два слоя песка мелкого средней плотности. Расчет приведен в табл. 1.

При определении сопротивления на внутренней поверхности сваи-оболочки учитываются два слоя песка мелкого средней плотности. Расчет приведен в табл. 2.

Подставив полученные данные в формулу (1), определяем несущую способность сваи-оболочки:

Ф = т (тп1 RFо + ин Smп2 fi lнi + тд ив Smп2 fi lвi) =

= 1(1,1×293,6×0,346 + 3,77×36,23 + 1×3,14×12,86) =

= (111,6 + 136 + 40,4) = 287 тс.

Расчетная нагрузка по грунту основания на сваю-оболочку

ПРИЛОЖЕНИЕ 5

ТАБЛИЦА ДЛЯ ПРЕДВАРИТЕЛЬНОЙ ОЦЕНКИ РАСЧЕТНОЙ НАГРУЗКИ, ДОПУСКАЕМОЙ НА ЗАБИВНЫЕ железобетонные сВАИ

Тип молота и масса ударной части

Длина сваи, м

Сечение сваи, см

Расчетная нагрузка, допускаемая на сваю, тс, при остаточном отказе, см, от одного удара

0,2

0,3

0,4

0,5

0,6

0,7

0,8

0,9

1

1,1

1,2

1,3

1,4

1,5

 

5

25´25

30´30

51,3

58,3

41,3

46,8

35,4

40

31,3

35,3

28,3

31,8

26

29,2

24,1

27

22,6

25,2

21,3

23,7

20,2

22,5

19,2

21,3

18,3

20,3

17,6

19,5

16,9

18,6

I

6

25´25

30´30

50,3

56,9

40,5

45,6

34,7

38,9

30,7

34,4

27,7

31

25,5

28,4

23,6

26,3

22,1

24,6

20,8

23,1

19,8

21,8

18,8

20,7

17,9

19,8

17,2

18,9

16,5

18,1

 

7

30´30

25´25

55,5

49,4

44,6

39,7

38

34

33,6

30,1

30,2

27,2

27,7

25

26

23,2

24

21,7

22,5

20,4

21,3

19,3

20,2

18,4

19,3

17,5

18,4

16,8

17,6

16,2

 

5

25´25

30´30

65,6

75,9

53

61,2

45,6

52,4

40,4

46,3

36,6

41,9

33,6

38,4

31,2

35,3

29,3

33,4

27,5

31,5

26,2

29,8

25

28,4

24

27,2

23

26

22,1

25

 

6

25´25

30´30

64,8

74,5

52,3

60

44,4

51,3

39,8

45,4

36,1

41,1

33,2

37,7

30,8

34,9

29,2

32,7

27,2

30,8

25,8

29,2

24,6

27,8

23,4

26,6

22,4

25,4

21,6

24,5

 

7

25´25

30´30

64

73,2

51,7

58

44,3

50,4

39,3

44,6

35,5

40,3

32,6

37

30,2

34,2

28,4

32,1

26,8

30,2

25,5

28,6

24,3

27,2

23,8

26

22,3

25

21,4

24

II

8

30´30

35´35

72,1

79,6

58,1

63,8

49,7

54,4

43,9

48

39,6

43,2

36,4

39,7

33,8

36,7

31,5

34,3

29,7

32,3

28,1

30,7

26,8

29,2

25,5

27,9

24,5

26,6

23,6

25,6

 

9

30´30

35´35

70,4

78

57,4

63

48,7

53,8

42,9

47,2

39

42,6

35,9

39,1

33,3

36,3

31,1

33,8

29,3

31,8

27,7

30,1

26,4

28,6

25,2

27,2

24,1

26,1

23,1

25

 

10

30´30

35´35

69,9

76,7

56,4

61,6

48,2

52,7

42,5

46,6

38,5

42

35,3

38,4

32,8

35,6

30,7

33,2

28,9

31,2

27,3

29,5

26

28

24,8

26,7

23,7

25,6

22,8

24,5

 

11

30´30

35´35

69

75,4

55,5

60,6

47,4

51,7

42

45,8

38,1

41,3

34,8

37,7

32,4

35

30,3

32,7

28,5

30,7

26,9

29

26

27,6

24,4

26,3

23,4

25,1

22,6

24

 

12

30´30

35´35

68,5

74,4

54,9

59,9

46,6

50

41,5

45

37,5

40,6

34,5

37,2

31,9

34,5

29,8

32,2

28,2

30,2

26,6

28,6

25,3

27,1

24,1

25,9

23,2

24,8

22,2

23,7

 

6

30´30

114,8

92,6

79,5

70,5

64

59

54,6

51,5

48,8

46,3

44,2

42

40,4

38,9

 

7

30´30

112,9

91,6

78,6

69,9

63,4

58,4

54,4

50,8

48,2

45,6

43,4

41,7

40

38,5

 

8

30´30

35´35

112,2

127

90,8

102,5

78

88

69,3

78,1

62,8

70,7

57,8

65

53,8

60,4

50,5

56,7

47,7

53,1

45,2

50,6

43,1

48,1

41,2

45,8

39,6

44,2

38,1

42,6

 

9

30´30

35´35

111

125,4

89,8

101,3

77,1

86,9

68,5

77,1

62,2

69,9

57,2

64,2

53,3

59,7

49,9

56

47,1

52

44,8

50

43,2

47,7

40,8

45,6

39,3

43,6

37,7

42,1

 

10

30´30

35´35

110,3

123,9

89,2

100

76,6

85,8

68,1

76,1

61,7

68,9

56,8

63,4

52,9

58,9

49,6

55,2

46,8

52,

44,4

49,4

42,4

47,1

40,6

44,9

38,9

43,2

37,5

41,4

III

11

30´30

35´35

109,3

122,7

88,4

99,1

76

84,9

67,5

75,4

61,2

68,3

56,3

62,8

52,4

58,3

49,2

54,6

46,4

51,6

44,1

48,8

41,9

46,5

40,2

44,5

38,6

42,6

37,1

41

 

12

30´30

35´35

108,3

121,6

87,6

98,1

75,3

84,2

66,8

74,6

60,6

67,6

55,8

62,1

51,9

57,7

48,7

54,1

46,5

51

43,6

48,4

41,7

46,2

39,9

44

38,8

42,4

36,8

40,8

 

13

35´35

120,5

97,5

84,5

74

65,9

61,5

57,2

53,6

50,6

48,1

45,8

43

41,9

40,4

 

14

35´35

119,2

96,5

83,6

73,4

65,6

61

56,6

53

50,1

47,4

45,3

43,3

41,5

40

 

15

35´35

118,5

95,5

81,6

72,4

65,6

60,5

56,1

52,6

49,6

46,8

44,7

42,7

41

39,4

 

16

35´35

117

94,9

81,1

72

65,1

59,8

55,6

52

49,1

46,6

44,5

42,4

40,6

39,1

 

5

25´25

30´30

59,9

68,9

48,4

55,4

41,5

47,4

36,8

41,9

33,3

37,9

30,6

34,8

28,4

32,3

26,6

30,2

25,1

28,4

23,8

27

23,1

25,7

21,7

24,7

20,8

23,4

20

22,5

 

6

25´25

30´30

59

67,6

47,7

54,4

40,8

46,5

36,2

41,1

32,8

37,2

30,2

34,1

28

31,6

26,1

29,6

24,7

27,8

23,5

26,4

22,3

25,1

21,4

24

20,4

23

19,7

22

IV

7

25´25

30´30

58,2

66,2

46,9

53,3

40,2

45,5

35,7

40,3

32,3

36,4

29,3

33,3

27,5

30,9

25,8

28,9

24,3

27,2

23,1

25,8

22

24,5

21

23,4

20,1

22,5

19,4

21,5

 

8

30´30

35´35

65,2

71,8

52,4

57,5

44,8

49,1

39,6

43,3

35,8

39

32,8

35,7

30,5

33,7

28,4

30,8

26,8

29

25,8

27,4

24,2

26,2

23,1

25,3

22,1

24,2

21,2

22,8

 

9

30´30

35´35

64

70,5

51,3

56,8

44,1

48,2

39

42,6

35

38,3

32,8

35,2

30

32,6

28

30,3

26,4

28,5

25

26,9

23,7

25,7

22,6

24,4

21,6

23,2

20,8

22,3

 

10

30´30

35´35

63

70

51

56

43,5

47,4

38

41,8

34,7

37,6

31,8

34,5

29,4

31,8

27,5

29,7

26

28

24,6

26,4

23,3

25

22,2

23,8

21,2

22,8

20,5

21,8

 

6

25´25

30´30

72,2

84,6

58,3

68,3

50,1

58,5

44,5

51,9

40,3

47

37,1

43,2

34,5

40,1

32,4

37,5

30,7

35,4

28,9

33,5

27,6

32

26,4

30,6

25,4

29,3

24,4

28,2

 

7

25´25

30´30

71,3

82

57,6

66,1

49,5

56,7

43,9

50,2

39,8

45,4

36,7

41,5

34,1

38,8

32

36,3

30,2

34,2

28,6

32,5

27,3

30,8

26,1

29,5

25

28,3

24,1

27,2

 

8

30´30

35´35

81

90

65,3

72,4

56

61,9

49,6

54,7

44,9

49,5

41,3

45,3

38,3

42

35,9

39,3

33,8

37

32,1

35,1

30,5

33,3

29,2

31,8

28

30,4

26,9

29,3

V

9

30´30

35´35

79,9

88,7

64,3

71,3

55,1

60,9

48,8

53,9

44,2

48,7

40,6

44,7

38

41,4

35,3

38,7

33,3

36,4

31,7

34,5

30,1

32,8

28,7

31,3

27,6

29,9

26,5

28,7

 

10

30´30

35´35

78,8

87,4

63,6

70,2

54,5

60

48,2

53,1

43,7

47,9

40,1

43,9

37,2

40,7

34,8

38,1

32,9

35,9

31,1

33,8

29,6

32,1

28,2

30,7

27,1

29,5

26

28,3

 

11

30´30

35´35

77,8

86,4

62,8

69,4

53,7

59,4

47,6

52,5

43,1

47,4

39,6

43,4

36,7

40,3

34,4

37,6

32,4

35,3

30,8

33,3

29,3

31,7

28

30,2

26,8

38,9

25,8

27,7

 

12

30´30

35´35

74,2

84,6

62,2

68,2

53

58,2

47

51,5

42,5

46,6

39

42,6

36,2

39,4

33,9

36,9

32

34,8

30,4

32,9

28,8

31,2

27,6

29,8

26,4

28,5

25,4

27,4

 

5

25´25

30´30

54,9

63

44,2

50,6

37,9

43,3

33,6

38,3

30,4

34,6

27,9

31,7

25,9

29,3

24,3

27,4

22,9

25,8

21,7

24,4

20,7

23,2

19,7

22,2

18,5

21,2

18,2

20,3

 

6

25´25

30´30

54

61,6

43,5

49,5

37,3

42,3

33,1

37,3

29,9

33,7

27,5

30,6

25,5

28,7

23,9

26,8

22,5

25,2

21,3

23,9

20,3

22,8

19,4

21,7

18,5

20,7

17,8

19,8

 

7

25´25

30´30

53,2

60,3

42,8

48,4

36,7

41,4

32,5

36,6

29,4

33

27

30,3

25

28

23,4

26,2

22,1

24,2

21

23,3

19,9

22,2

19

21,1

18,2

20,3

17,6

19,4

VI

8

30´30

35´35

59,2

64,9

47,5

51,9

40,6

44,2

35,9

39

32,3

35,1

29,6

32,1

27,5

29,6

25,6

27,7

24,1

26

22,8

24,5

21,7

23,4

20,7

22,1

19,8

21,1

19

19,7

 

9

30´30

35´35

58,2

63,9

46,7

51,1

39,9

43,4

35,2

38,3

31,8

34,4

29,1

31,5

27

29,1

25,2

27,1

23,7

25,5

22,4

23,3

21,4

22,2

20,3

21

19

19,9

18,6

19

 

10

30´30

35´35

57,2

62,5

45,9

49,9

39,2

42,5

34,6

37,4

31,2

33,6

28,6

30,8

26,5

28,4

24,7

26,5

23,3

24,9

22,1

23,6

21

22,3

20

21,2

18,9

20,3

17,9

19,4

 

11

30´30

35´35

56,4

61,6

45,5

49,2

38,7

41,8

34,2

36,9

30,9

33,2

28,2

30,3

26,1

28,1

24,4

26,1

23

24,5

21,7

23,1

20,6

21,8

19,7

21,1

18,8

19,9

18,1

19,1

 

12

30´30

35´35

55,6

60,6

44,6

48,4

38,3

41,2

33,7

35,3

30,4

32,7

27,6

29,9

25,8

27,6

24,1

26,7

22,6

24

21,4

22,7

20,4

21,5

19,4

20,5

18,5

19,6

17,8

18,7

 

6

25´25

30´30

79,5

91,7

64,3

74

55,3

63,5

49,1

56,3

44,5

51

41

46,9

38,2

43,6

35,8

40,9

33,8

38,6

32,1

36,6

30,4

34,8

29,2

33,3

28,1

31,9

27,1

30,7

 

7

25´25

30´30

78,3

90,5

63,3

73

54,4

62,7

48,3

55,6

43,8

50,3

40,3

46,3

37,5

43

35,2

40,3

33,3

38

31,7

36,2

30,1

34,4

28,9

32,8

27,5

31,4

26,7

30,3

 

8

30´30

35´35

84,9

99,7

68,5

80,3

58,7

68,7

52,1

60,9

47,1

55

43,3

50,5

40,2

46,9

37,7

43,9

35,6

41,3

33,6

39

32,1

37,1

30,7

35,5

29,5

34,2

28,3

32,7

 

9

30´30

35´35

88,2

98

71,1

78,9

61

67,5

54,1

59,8

49

54

45,1

49,6

41,9

46

39,2

43,1

37

40,5

35,1

38,5

33,4

36,6

31,9

35

30,6

33,5

29,6

32,2

VII

10

30´30

35´35

87,1

96,6

70,3

77,7

60,3

66,5

53,4

58,9

48,4

53,3

44,5

48,9

41,3

45,3

38,7

42,4

36,5

39,9

34,7

37,9

33,1

36

31,5

34,4

30,2

32,9

29

31

 

11

30´30

35´35

86

95,2

69,4

76,6

59,5

65,5

52,8

58

47,8

52,4

43,9

48,1

40,8

44,6

38,2

41,8

36

39,3

34,3

37,7

32,5

36,8

31,1

34,2

29,8

32,8

28,7

31,7

 

12

30´30

35´35

85,3

95,8

68,5

77

59

66

52

58,2

47,3

52,6

43,4

48,2

40,4

45

37,8

42

35,4

39,1

33,8

37,4

32,3

35,7

30,9

34,1

29,6

32,5

28,4

30,6

 

13

35´35

93

74,9

63,8

56,6

51,1

47

43,6

40,6

38,3

36,3

34,6

32,9

31,6

30,2

 

14

35´35

91,7

73,5

63

55,9

50,4

46,1

42,8

40,1

37,8

35,8

34

32,4

31,1

29,8

 

15

35´35

90,9

73

62,3

55,1

49,9

45,6

42,3

39,7

37,3

35,4

33,5

32,1

30,8

29,5

 

16

35´35

89,5

71,9

61,6

54,6

49,3

45,2

41,9

39,2

36,8

34,9

33,2

31,6

30,3

29,1

 

6

30´30

93,3

75,1

64,4

57,1

51,8

47,8

44,2

41,6

39,2

37,2

35,4

33,9

32,5

31,2

 

7

30´30

91,5

73,7

63,1

56

50,9

46,9

43,4

40,7

38,5

36,5

34,8

33,2

31,4

30,6

 

8

30´30

35´35

90

99,6

72,5

80,3

62,2

68,5

55,2

60,6

49,8

55

46

50,4

42,6

46,8

39,9

44

37,6

41,3

35,7

39,2

34,1

37,2

32,6

35,6

31,2

34

30

32,8

 

9

30´30

35´35

88,5

98

71,5

79

61,4

67,4

54,2

59,8

49,2

54

45,3

49,6

41,9

46,2

39,4

43,1

37,1

40,6

35,2

38,6

33,6

36,6

32,1

34,9

30,8

43,5

29,6

32,1

 

10

30´30

35´35

87,3

96,5

70,5

77,5

60,5

66,4

53,6

58,8

48,6

53,1

44,6

48,7

41,4

45,3

38,7

42,4

36,5

39,8

34,3

37,8

33

35,8

31,5

34,2

30,3

32,8

29,1

31,5

VIII

11

30´30

35´35

86

94,9

69,2

76,1

59,5

65

52,7

57,8

47,7

52,3

43,9

47,9

40,7

44,5

38,1

41,6

35,9

39,1

34,3

37,1

32,4

35,2

31,2

33,7

29,8

32,3

28,6

31

 

12

30´30

35´35

85,1

93,6

68,7

75

58,9

64,4

52

56,9

44,8

51,4

43,3

47,2

40,3

43,7

37,7

41

35,6

39,2

33,7

36,6

32,1

34,8

30,7

33,2

29,5

31,8

28,3

30,5

 

13

35´35

92

74

63,2

56

50,7

46,2

43,2

40,4

37,9

36

34,2

32,6

31,2

29,9

 

14

35´35

90,8

73

62,6

55,2

50

45,6

42,4

39,7

37,4

35,3

33,7

32,2

30,8

29,5

 

15

35´35

89,5

72,1

61,6

54,2

49,4

45,3

42

38,8

36,9

35

33,2

31,7

30,4

29,1

 

16

35´35

88,9

71,4

61

54

48,8

44,6

41,4

3,3

36,5

34,5

32,8

30,6

29,9

28,8

 

6

30´30

114,3

88,5

76,1

67,4

61,3

56,4

52,2

49,2

46,4

44

42,1

40,3

38,6

37,1

 

7

30´30

108

87,3

75

66,6

60,5

55,6

51,9

48,6

45,8

43,5

41,6

39,7

38,2

36,7

 

8

30´30

35´35

107,5

119

86,4

96,2

74

82,5

65,5

73,2

59,5

66,3

54,8

60,7

51

56,4

47,7

53

44,8

49,6

43

47,3

40,6

45,2

39,1

43

37,6

41,4

36,1

39,8

IX

9

30´30

35´35

105

117,5

85

95

73,2

81,1

64,8

72

58,9

65,3

54

59,9

50,3

55,6

46,3

52

44,3

49

42,3

46,6

40,3

44,5

38,5

42,5

37,1

40,6

35,7

39,2

 

10

30´30

35´35

104,8

115,8

83,9

93,5

72,3

80

64,1

70,9

58,1

64,3

53,5

59

49,8

54,8

46,6

51,3

44,2

48,4

41,8

45,5

39,8

43,6

38,1

41,7

36,5

40,1

35,1

38,4

 

12

30´30

35´35

108,3

121,6

87,6

98,1

75,3

84,2

66,8

74,6

60,6

67,6

55,8

62,1

51,9

57,7

48,7

54,1

46,5

51

43,6

48,4

41,7

46,2

39,9

44

38,8

42,4

36,8

40,8

X

13

14

35´35

35´35

120,5

119,2

97,5

96,5

84,5

83,6

74

73,4

65,9

65,6

61,5

61

57,2

56,6

53,6

53

50,6

50,1

48,1

47,4

45,8

45,3

43

43,3

41,9

41,5

40,4

40

 

15

16

35´35

35´35

118,5

117

95,5

94,9

81,6

81,1

72,4

72

65,6

65,1

60,5

59,8

56,1

55,6

52,6

52

49,6

49,1

46,8

46,6

44,7

44,5

42,7

42,4

41

40,6

39,4

39,1

 

5

25´25

30´30

59,9

68,9

48,4

55,4

41,5

47,4

36,8

41,9

33,3

37,9

30,6

34,8

28,4

32,3

26,6

30,2

25,1

28,4

23,8

27

23,1

25,7

21,7

24,7

20,8

23,4

20

22,5

 

6

25´25

30´30

59

67,6

47,7

54,4

40,8

46,5

36,2

41,1

32,8

37,2

30,2

34,1

28

31,6

26,1

29,6

24,7

27,8

23,5

26,4

22,3

25,1

21,4

24

20,4

23

19,7

22

XI

7

25´25

30´30

58,2

66,2

46,9

53,3

40,2

45,5

35,7

40,3

32,3

36,4

29,3

33,3

27,5

30,9

25,8

28,9

24,3

27,2

23,1

25,8

22

24,5

21

23,4

20,1

22,5

19,4

21,5

 

8

30´30

35´35

65,2

71,8

52,4

57,5

44,8

49,1

39,6

43,3

35,8

39

32,8

35,7

30,5

33,7

28,4

30,8

26,8

29

25,8

27,4

24,2

26,2

23,1

25,3

22,1

24,2

21,2

22,8

 

9

30´30

35´35

64

70,5

51,3

56,8

44,1

48,2

39

42,6

35

38,3

32,8

35,2

30

32,6

28

30,3

26,4

28,5

25

26,9

23,7

25,7

22,6

24,4

21,6

23,2

20,8

22,3

 

10

30´30

35´35

63

70

51

56

43,5

47,4

38

41,8

34,7

37,6

31,8

34,5

29,4

31,8

27,5

29,7

26

28

24,6

26,4

23,3

25

22,2

23,8

21,2

22,8

20,5

21,8

 

6

25´25

30´30

72,2

84,6

58,3

68,3

50,1

58,5

44,5

51,9

40,3

47

37,1

43,2

34,5

40,1

32,4

37,5

30,7

35,4

28,9

33,5

27,6

32

26,4

30,6

25,4

29,3

24,4

28,2

 

7

25´25

30´30

71,3

82

57,6

66,1

49,5

56,7

43,9

50,2

39,8

45,4

36,7

41,5

34,1

38,8

32

36,3

30,2

34,2

28,6

32,5

27,3

30,8

26,1

29,5

25

28,3

24,1

27,2

 

8

30´30

35´35

81

90

65,3

72,4

56

61,9

49,6

54,7

44,9

49,5

41,3

45,3

38,3

42

35,9

39,3

33,8

37

32,1

35,1

30,5

33,3

29,2

31,8

28

30,4

26,9

29,3

XII

9

30´30

35´35

79,9

88,7

64,3

71,3

55,1

60,9

48,8

53,9

44,2

48,7

40,6

44,7

38

41,4

35,3

38,7

33,3

36,4

31,7

34,5

30,1

32,8

28,7

31,3

27,6

29,9

26,5

28,7

 

10

30´30

35´35

78,8

87,4

63,6

70,2

54,5

60

48,2

53,1

43,7

47,9

40,1

43,9

37,2

40,7

34,8

38,1

32,9

35,9

31,1

33,8

29,6

32,1

28,2

30,7

27,1

29,5

26

28,3

 

11

30´30

35´35

77,8

86,4

62,8

69,4

53,7

59,4

47,6

52,5

43,1

47,4

39,6

43,4

36,7

40,3

34,4

37,6

32,4

35,3

30,8

33,3

29,3

31,7

28

30,2

26,8

38,9

25,8

27,7

 

12

30´30

35´35

74,2

84,6

62,2

68,2

53

58,2

47

51,5

42,5

46,6

39

42,6

36,2

39,4

33,9

36,9

32

34,8

30,4

32,9

28,8

31,2

27,6

29,8

26,4

28,5

25,4

27,4

 

5

25´25

30´30

54,9

63

44,2

50,6

37,9

43,3

33,6

38,3

30,4

34,6

27,9

31,7

25,9

29,3

24,3

27,4

22,9

25,8

21,7

24,4

20,7

23,2

19,7

22,2

18,5

21,2

18,2

20,3

 

6

25´25

30´30

54

61,6

43,5

49,5

37,3

42,3

33,1

37,3

29,9

33,7

27,5

30,6

25,5

28,7

23,9

26,8

22,5

25,2

21,3

23,9

20,3

22,8

19,4

21,7

18,5

20,7

17,8

19,8

 

7

25´25

30´30

53,2

60,3

42,8

48,4

36,7

41,4

32,5

36,6

29,4

33

27

30,3

25

28

23,4

26,2

22,1

24,2

21

23,3

19,9

22,2

19

21,1

18,2

20,3

17,6

19,4

XIII

8

30´30

35´35

59,2

64,9

47,5

51,9

40,6

44,2

35,9

39

32,3

35,1

29,6

32,1

27,5

29,6

25,6

27,7

24,1

26

22,8

24,5

21,7

23,4

20,7

22,1

19,8

21,1

19

19,7

 

9

30´30

35´35

58,2

63,9

46,7

51,1

39,9

43,4

35,2

38,3

31,8

34,4

29,1

31,5

27

29,1

25,2

27,1

23,7

25,5

22,4

23,3

21,4

22,2

20,3

21

19

19,9

18,6

19

 

10

30´30

35´35

57,2

62,5

45,9

49,9

39,2

42,5

34,6

37,4

31,2

33,6

28,6

30,8

26,5

28,4

24,7

26,5

23,3

24,9

22,1

23,6

21

22,3

20

21,2

18,9

20,3

17,9

19,4

 

11

30´30

35´35

56,4

61,6

45,5

49,2

38,7

41,8

34,2

36,9

30,9

33,2

28,2

30,3

26,1

28,1

24,4

26,1

23

24,5

21,7

23,1

20,6

21,8

19,7

21,1

18,8

19,9

18,1

19,1

 

12

30´30

35´35

55,6

60,6

44,6

48,4

38,3

41,2

33,7

35,3

30,4

32,7

27,6

29,9

25,8

27,6

24,1

26,7

22,6

21

21,4

22,7

20,4

21,5

19,4

20,5

18,5

19,6

17,8

18,7

 

6

25´25

30´30

79,5

91,7

64,3

74

55,3

63,5

49,1

56,3

44,5

51

41

46,9

38,2

43,6

35,8

40,9

33,8

38,6

32,1

36,6

30,4

34,8

29,2

33,3

28,1

31,9

27,1

30,7

 

7

25´25

30´30

78,3

90,5

63,3

73

5,4

62,7

48,3

55,6

43,8

50,3

40,3

46,3

37,5

43

35,2

40,3

33,3

38

31,7

36,2

30,1

34,4

28,9

32,8

27,5

31,4

26,7

30,3

 

8

30´30

35´35

84,9

99,7

68,5

80,3

58,7

68,7

52,1

60,9

47,1

55

43,3

50,5

40,2

46,9

37,7

43,9

35,6

41,3

33,6

39

32,1

37,1

30,7

35,5

29,5

34,2

28,3

32,7

 

9

30´30

35´35

88,2

98

71,1

78,9

61

67,5

54,1

59,8

49

54

45,1

49,6

41,9

46

39,2

43,1

37

40,5

35,1

38,5

33,4

36,6

31,9

35

30,6

33,5

29,6

32,2

XIV

10

30´30

35´35

87,1

96,6

70,3

77,7

60,3

66,5

53,4

58,9

48,4

53,3

44,5

48,9

41,3

45,3

38,7

42,4

36,5

39,9

34,7

37,9

33,1

36

31,5

34,4

30,2

32,9

29

31

 

11

30´30

35´35

86

95,2

69,4

76,6

59,5

65,5

52,8

58

47,8

52,4

43,9

48,1

40,8

44,6

38,2

41,8

36

39,3

34,3

37,7

32,5

36,8

31,1

34,2

29,8

32,8

28,7

31,7

 

12

30´30

35´35

85,3

95,8

68,5

77

59

66

52

58,2

47,3

52,6

43,4

48,2

40,4

45

37,8

42

35,4

39,1

33,8

37,4

32,3

35,7

30,9

34,1

29,6

32,5

28,4

30,6

 

13

35´35

93

74,9

63,8

56,6

51,1

47

43,6

40,6

38,3

36,3

34,6

32,9

31,6

30,2

 

14

35´35

91,7

73,5

63

55,9

50,4

46,1

42,8

40,1

37,8

35,8

34

32,4

31,1

29,8

 

15

35´35

90,9

73

62,3

55,1

49,9

45,6

42,3

39,7

37,3

35,4

33,5

32,1

30,8

29,5

 

16

35´35

89,5

71,9

61,6

54,6

49,3

45,2

41,9

39,2

36,8

34,9

33,2

31,6

30,3

29,1

 

6

30´30

93,3

75,1

64,4

57,1

51,8

47,8

44,2

41,6

39,2

37,2

35,4

33,9

32,5

31,2

 

7

30´30

91,5

73,7

63,1

56

50,9

46,9

43,4

40,7

38,5

36,5

34,8

33,2

31,4

30,6

 

8

30´30

35´35

90

99,6

72,5

80,3

62,2

68,5

55,2

60,6

49,8

55

46

50,4

42,6

46,8

39,9

44

37,6

41,3

35,7

39,2

34,1

37,2

32,6

35,6

31,2

34

30

32,8

 

9

30´30

35´35

88,5

98

71,5

79

61,4

67,4

54,2

59,8

49,2

54

45,3

49,6

41,9

46,2

39,4

43,1

37,1

40,6

35,2

38,6

33,6

36,6

32,1

34,9

30,8

33,5

29,6

32,1

 

10

30´30

35´35

87,3

96,5

70,5

77,5

60,5

66,4

53,6

58,8

48,6

53,1

44,6

48,7

41,4

45,3

38,7

42,4

36,5

39,8

34,3

37,8

33

35,8

31,5

34,2

30,3

32,8

29,1

31,5

XV

11

30´30

35´35

86

94,9

69,2

76,1

59,5

65

52,7

57,8

47,7

52,3

43,9

47,9

40,7

44,5

38,1

41,6

35,9

39,1

34,3

37,1

32,4

35,2

31,2

33,7

29,8

32,3

28,6

31

 

12

30´30

35´35

85,1

93,6

68,7

75

58,9

64,4

52

56,9

44,8

51,4

43,3

47,2

40,3

43,7

37,7

41

35,6

39,2

33,7

36,6

32,1

34,8

30,7

33,2

29,5

31,8

28,3

30,5

 

13

35´35

92

74

63,2

56

50,7

46,2

43,2

40,4

37,9

36

34,2

32,6

31,2

29,9

 

14

35´35

90,8

73

62,6

55,2

50

45,6

42,4

39,7

37,4

35,3

33,7

32,2

30,8

29,5

 

15

35´35

89,5

72,1

61,6

54,2

49,4

45,3

42

38,8

36,9

35

33,2

31,7

30,4

29,1

 

16

35´35

88,9

71,4

61

54

48,8

44,6

41,4

38,3

36,5

34,5

32,8

30,6

29,9

28,8

 

6

30´30

114,3

88,5

76,1

67,4

61,3

56,4

52,2

49,2

46,4

44

42,1

40,3

38,6

37,1

 

7

30´30

108

87,3

75

66,6

60,5

55,6

51,9

48,6

45,8

43,5

41,6

39,7

38,2

36,7

 

8

30´30

35´35

107,5

119

86,4

96,2

74

82,5

65,5

73,2

59,5

66,3

54,8

60,7

51

56,4

47,7

53

44,8

49,6

43

47,3

40,6

45,2

39,1

43

37,6

41,4

36,1

39,8

 

9

30´30

35´35

105

117,5

85

95

73,2

81,1

64,8

72

58,9

65,3

54

59,9

50,3

55,6

46,3

52

44,3

49

42,3

46,6

40,3

44,5

38,5

42,5

37,1

40,6

35,7

39,2

 

10

30´30

35´35

104,8

115,8

83,9

93,5

72,3

80

64,1

70,9

58,1

64,3

53,5

59

40,8

54,8

46,6

51,3

44,2

48,4

41,8

45,5

39,8

43,6

38,1

41,7

36,5

40,1

35,1

38,4

 

11

30´30

35´35

103

113,9

83,1

91,8

71,4

78,7

62,4

70

57,5

62,6

52,6

58,1

49,2

53,9

45,9

50,6

43,4

47,6

41,3

45,2

39,2

43

37,4

41,1

36,2

39,5

34,9

36,6

XVI

12

30´30

35´35

101,6

113,1

82

90,9

70,3

77,8

62,5

69,2

56,7

62,3

52,2

57,3

48,5

53,4

45,6

50

43

46,6

40,8

44,6

39,4

42,4

37,2

40,1

35,7

38,9

34,3

37,3

 

13

30´30

35´35

40´40

100,5

111,2

122,5

81,1

89,5

96,3

69,4

76,7

82

61,8

67,9

72,8

55,9

61,6

65,9

51,5

56,5

60,6

47,8

52,5

56

45

49,2

52,4

42,4

46,5

49,3

40,3

44

46,7

38,3

41,8

44,4

36,7

40

42,4

35,1

38,3

40,6

33,9

36,9

38,9

 

14

30´30

35´35

100,5

109,8

80,4

88,5

69

76

61,1

67,2

57,5

60,8

51

55,7

47,3

52

44,4

48,6

42

45,6

39,9

43,5

38

41,3

36,4

39,5

34,8

37,8

33,5

36,4

 

15

30´30

35´35

99,5

108,5

79,9

87,5

70,9

75,1

60,7

65,7

55

60

50,6

55,1

47

51,2

44,1

48

41,6

45,3

39,6

42,8

37,6

40,8

36

39

34,5

37,3

33,3

35,8

 

16

35´35

101,5

86,5

74,1

65,6

59,4

54,5

50,6

47,4

44,8

42,3

40,3

38,6

36,8

35,5

 

10

30´30

35´35

135

152

109

123

94,5

105,5

83,5

94

76,4

85,3

70,5

79

65,1

72,9

61,4

68,2

58

65,4

55

61,4

52,6

68,4

50,3

55,8

48,7

53,8

46,8

51,6

 

11

30´30

35´35

134

150

108,5

122

93,6

104,5

83

92,5

75,2

83,3

69,5

77,4

64,1

72,1

60,3

67,6

57,5

63,6

54

60,4

51,6

57,8

49,6

55,1

47,3

53

46,3

51,2

 

12

30´30

35´35

133

149,5

107,5

120,5

92,6

103,5

82,5

91,8

74,8

83,3

69

76,4

63,6

71

59,8

66,9

57

64,4

54

60

51,2

57

49,3

54,7

46,8

52,5

45,4

50,4

 

13

30´30

35´35

40´40

131,5

147

161

100,5

119

130

91,6

102

111,5

81,5

93,8

98,5

74,3

82

89,1

68

75,6

81,8

63,1

70,3

76

59,3

66,3

71,1

56,4

62

66,9

53,6

59,4

64

50,7

56,4

60,9

48,7

54

58,3

46,3

51,8

55,9

44,8

50

53,7

 

14

30´30

35´35

40´40

130,5

147

159

105,5

116,8

128,4

91

101

109,4

81

89,5

97,6

73,3

81,4

88,5

67,5

75

81

63,1

69,8

75

59,3

65,4

70,6

55,5

61,5

66,2

53,1

58,5

63,3

50,6

55,8

60,4

48,7

53,3

57,5

46,3

51,2

55,4

44,9

49,3

53

XVII

15

30´30

35´35

40´40

129

143,5

157,5

105

116

127,1

90,1

100

112,9

80

88,5

96,3

72,6

80,6

87,2

67

74

80,4

62,3

68,9

74,6

58,4

64,6

70

55

60,6

65,3

52,6

58

62,6

50,1

55,1

59,6

41,8

52,9

57

45,8

50,8

54,6

44,4

48,7

52,6

 

16

35´35

40´40

142,2

157

115,1

125

99

107,5

87,9

94,6

80

86,1

73,5

79,2

68,2

73,6

64

68,9

61

64,6

57,2

61,9

54,6

58,9

52,4

55,6

50

53,9

48,2

51,9

 

17

35´35

141,2

114,2

93

86,9

78,9

72,3

67,5

63,1

59,6

56,8

54

51,6

49,8

47,7

 

18

35´35

139,5

113

97,2

86

79,1

72,1

66,9

62,6

59

56,1

53,5

51,2

49,1

47,4

 

19

35´35

138,5

112,1

96,4

85,3

77,4

71,2

65,7

62

58,3

55,4

53

50,7

48,6

46,9

 

20

35´35

135,9

109,8

95

84,6

76,7

70,5

65,6

61,8

57,9

54,2

52,7

50,2

48,2

46,4

Примечание: I - дизельный С-995, масса 1,25 т (трубчатый); II - дизельный С-996, масса 1,8 т (трубчатый); III - дизельный С-1048, масса 3,5 т (трубчатый); IV - дизельный С-268, масса 1,8 т (штанговый); V - дизельный С-330, масса 2,5 т (штанговый); VI - паровоздушный СССМ-750-570, масса 1,8 т; VII - дизельный С-1047, масса 2,5 т (трубчатый); VIII - паровоздушный МПВП-3000, масса 3,25 т; - паровоздушный МПВП-4500, масса 4,25 т; Х - дизельный С-1048, масса 3,5 т (трубчатый); ХI - дизельный С-268, масса 1,8 т (штанговый); XII - дизельный С-330, масса 2,5 т (штанговый); XIII - паровоздушный СССМ-750-570, масса 1,8 т; XIV - дизельный С-1047, масса 2,5 т (трубчатый); XV - паровоздушный МПВП-3000, масса 3,25 т; ХVI - паровоздушный МПВП-4500, масса 4,25 т; ХVII - паровоздушный МПВП-6000, масса 6,5 т.

ПРИЛОЖЕНИЕ 6

РАСЧЕТ ОСАДОК СВАЙНЫХ ФУНДАМЕНТОВ ОПОР МОСТОВ

Расчет осадок свайных фундаментов опор мостов рекомендуется производить с использованием эквивалентного модуля общей деформации Еэ.о как условного фундамента на естественном основании, габариты которого принимаются в соответствии с указаниями п. 7.1 главы СНиП II-17-77.

Величина полной осадки свайного фундамента S, см, в этом случае может быть определена по формуле

                                                 (1)

где ni - число слоев, на которые разбита расчетная сжимаемая толща, ограниченная глубиной z, м, определяемой в соответствии с указаниями прил. 3 главы СНиП II-15-74;

pi - полусумма дополнительных (к природному) вертикальных нормальных давлений, кгс/см2, возникающих на верхней и нижней границах i-го слоя грунта от давления, передаваемого условным фундаментом, определяемых в соответствии с указаниями прил. 3 главы СНиП II-15-74;

hi - толщина i-го слоя грунта, см;

Еэ.о - эквивалентный модуль общей деформации, величину которого рекомендуется определять по графикам рис. 1 и 2;

Рис. 1. График для определения эквивалентного модуля общей деформации песка

a - для рыхлых песков с коэффициентом пористости e - 0,8 при любом зерновом составе и для пылеватых песков средней плотности; б - для мелких песков средней плотности с коэффициентом пористости e - 0,7; в - для плотных песков с коэффициентом пористости e - 0,6

Рис. 2. График для определения эквивалентного модуля общей деформации глинистых грунтов

Dс - осадка, см, одиночкой сваи или сваи-оболочки от расчетной нагрузки Р, определяемая по графику рис. 3;

Dя - дополнительная осадка, см, возникающая в результате обжатия грунтового ядра круглых полых свай и свай-оболочек, погружаемых с открытым нижним концом, принимаемая для сплошных и полых круглых свай с закрытым нижним концом равной нулю, а для полых круглых свай с открытым нижним концом и для свай-оболочек - в соответствии с данными табл. 1 в зависимости от давления Ро, действующего по площади торца грунтового ядра.

Рис. 3. График для определения осадки одиночной железобетонной сваи, погруженной в пески

Дополнительная осадка сваи и сваи-оболочки, возникающая за счет обжатия грунтового ядра Dя, см

Ро, кгс/см2

Осадка Dя, см, при диаметре грунтового ядра, м

0,5

1,5

2,5

10

0,3

0,6

1

20

0,5

1

1,5

30

0,7

1,4

2

40

0,9

1,8

2,5

50

1

2

3

60

1,1

-

-

70

1,2

-

-

80

1,3

-

-

90

1,4

-

-

100

1,5

-

-

Примечания: 1. Таблица составлена для случая, когда высота грунтового ядра в оболочке более 2 м.

2. Для промежуточных диаметров ядра значения величин Dя определяют интерполяцией.

3. Для оболочек с грунтовым ядром диаметром 1,5 м и более величины Ро ограничены 50 кгс/см2, так как допускать в этом случае большие давления не рекомендуется.

ПРИЛОЖЕНИЕ 7

РАСЧЕТ ОДИНОЧНЫХ СВАЙ И СВАЙНЫХ ГРУПП ПО ДЕФОРМАЦИЯМ

1. Осадки свай, как и осадки фундаментов на естественном основании, согласно СНиП II-15-74, определяются при помощи расчетной схемы линейно-деформируемого полупространства.

2. Рассматриваются сваи длиной l и диаметром d, расположенные в двухслойном основании. Верхний слой толщины l, который сваи прорезают, имеет модуль сдвига G1 и коэффициент Пуассона m1, а нижний, на который опираются сваи, представляет собой однородное линейно-деформируемое полупространство с характеристиками G2 и m2. Здесь Gi = Eoi/2(1 + mi), где Еoi - модуль общей деформации i-го слоя. Осадка головы сваи под действием приложенной к ней вертикальной нагрузки Р равна:

.                                                            (1)

 

Безразмерный коэффициент b определяется по формуле

,                                           (2)

где b* = 0,171 ln (km G1 l/G2d) - коэффициент, соответствующий абсолютно жесткой свае (EF = ¥);

a* = 0,171 ln (km1 l/d) - тот же коэффициент для случая однородного основания с характеристиками G1 и m1;

c1 = EF/G1l2 - относительная жесткость сваи;

EF - жесткость ствола сваи на сжатие;

l1 - определяется по графику на рис. 1 при c = c1;

km - определяется по формуле (3) при m = (m1 + m2)/2;

km1 - определяется по формуле (3) при m = m1.

3. Коэффициент km, входящий в формулы для определения коэффициентов b* и a*, вычисляется по формуле

km = 2,82 - 3,78m + 2,18m2.                                             (3)

Показатель l, определяющий увеличение осадки за счет сжатия ствола, берется по графику на рис. 1.

Рис. 1. График зависимости l (х)

4. Формулами (1), (2) можно пользоваться при нагрузках, не превосходящих предела пропорциональности, и при условии l/d > 5, G1l/G2d > 1. В качестве предела пропорциональности можно в первом приближении принять несущую способность свай, определенную по формуле (7) СНиП II-17-77, с учетом коэффициента надежности. Для случая G1l/G2d < 1, когда свая работает как свая-стойка, а также для свай со значительным уширением пяты, передающих нагрузку в основном через пяту, осадку головы можно приближенно подсчитать по формуле

                                                  (4)

Здесь первый член дает осадку пяты сваи как полусферического штампа диаметром dп на однородном полупространстве (коэффициент 0,22 соответствует значению коэффициента Пуассона m2 = 0,33), а второй определяет сжатие ствола сваи.

5. При подсчете осадок группы свай необходимо учитывать их взаимовлияние. Дополнительная осадка сваи, находящейся на расстоянии w (расстояние измеряется между осями свай) от сваи, к которой приложена нагрузка Р, равна:

                                                          (5)

где

                                          (6)

km - определяется по формуле (3) при m = (m1 + m2)/2.

6. В отличие от формул (1), (2), которые справедливы только при нагрузках, не превышающих предел пропорциональности, формулы (5), (6) работают при любых нагрузках.

7. Для того чтобы от основания общего вида перейти к двухслойному, описанному в п. 2, нужно осреднить по глубине деформативные характеристики грунта вокруг сваи и под ней. При этом G1 и m1 определяются осреднением соответствующих характеристик грунтов, залегающих до глубины l, равной длине сваи, а для определения G2 и m2 осредняют характеристики грунтов, залегающих на глубину l до 1,5l, т.е. на глубину 0,5l ниже острия сваи. Осреднение проводится по формуле

,

где Х - рассматриваемая характеристика;

hi - толщина i-го слоя грунта, в пределах которого изменением характеристики Х можно пренебречь.

8. Таким образом, расчет осадки каждой сваи в группе при заданном распределении нагрузок между сваями включает:

а) определение деформативных характеристик основания G1, m1, G2, m2;

б) определение осадки сваи под действием приложенной к ней нагрузки;

в) определение дополнительных осадок от действия нагрузок, приложенных к сваям, находящимся от данной на расстоянии, не превышающем kmG1l/2G2;

г) суммирование осадок, определенных в пп. «б» и «в».

9. В случае, когда распределение нагрузок между сваями в группе неизвестно, формулы (1), (4) и (5) могут использоваться для расчета взаимодействия свайного фундамента с надфундаментной конструкцией. При этом для определения нагрузок на сваи удобно использовать метод сил строительной механики.

Пример расчета. Рассмотрим куст, состоящий из трех буронабивных свай диаметром 0,6 м и длиной 16 м. Расстояние между осями свай w = 2 м (рис. 2, 3). Грунт от поверхности до глубины 8,5 м представляет собой суглинок с модулем деформации Е¢о = 1000 тс/м2 и коэффициентом Пуассона m¢ = 0,36. Ниже залегает супесь с параметрами деформируемости Е¢¢о = 2300 тс/м2 и m¢¢ = 0,33.

Рис. 2. Свая и деформативные параметры основания

Рис. 3. План свайного куста

Определим деформационные характеристики приведенного двухслойного основания по п. 7:

 

Подсчитаем все необходимые для расчета коэффициенты и параметры:

km1 = 2,82 - 3,78×0,35 + 2,18×0,352 = 1,77;

km = 2,82 - 3,78×0,34 + 2,18×0,342 = 1,79;

Модуль Юнга материала ствола сваи

Е = 2×106 тс/м2,

поэтому жесткость ствола на сжатие

Относительная жесткость сваи

По графику (см. рис. 1) находим l1 = 0,85;

таким образом полная осадка каждой сваи, если все сваи загружены одинаковой нагрузкой Р, равна (с учетом взаимовлияния):

При P = 300 тс

S = 1,32×10-4×300 = 3,96×10-2 » 4 см.

10. Расчет винтовой сваи, работающей на вдавливающую или выдергивающую нагрузку, по деформациям сводится к ограничению расчетной осевой нагрузки N, тс, действующей на сваю от сооружения (при коэффициенте перегрузки, равном единице):

N £ rФ,                                                            (7)

где r - коэффициент, зависящий от соотношения S/D и определяемый по графику рис. 4 (S - допустимое осевое перемещение, м; D - диаметр лопасти винтовой сваи, м);

Ф - величина несущей способности винтовой сваи, тс, определяемая по формуле [18 (14)] или по результатам испытаний сваи осевой вдавливающей или выдергивающей нагрузкой.

Рис. 4. График зависимости r от S/D

Пример 2. Требуется проверить винтовую сваю по деформациям, используя данные примера 17 раздела 5 настоящего Руководства, приняв допустимое перемещение S = 0,01 м и расчетную нагрузку N = 60 тс.

Находим

По графику рис. 3 определяем r = 0,62;

= 0,62×85,4 = 52,9 тс.

Условие (7) не удовлетворяется, так как 60 тс > 52,9 тс. В соответствии с приведенным расчетом по деформациям следует расчетную нагрузку на сваю N принять не более 52,9 тс, увеличив для этого число свай.

Пример 3. Требуется проверить сваю по деформациям, используя данные примера 17 и приняв допустимое перемещение S = 0,02 м и расчетную нагрузку N = 60 тc.

Находим

По графику рис. 3 определяем r = 0,78;

= 0,78×85,4 = 66,6 тс.

Условие (7) удовлетворяется, так как 60 тс < 66,6 тс.

ПРИЛОЖЕНИЕ 8

ОПРЕДЕЛЕНИЕ СТАБИЛИЗИРОВАННЫХ ОСАДОК СВАЙ ПО РЕЗУЛЬТАТАМ ИХ СТАТИЧЕСКИХ ИСПЫТАНИЙ

1. Расчет осадок во времени фундаментов из свай, работающих как одиночные, рекомендуется производить по результатам статических испытаний пробных свай, расположенных в контуре здания или сооружения. Статические испытания должны быть выполнены по ГОСТ 5686-78 с условной стабилизацией не более 0,1 мм за 1 ч, если под нижними концами свай залегают грунты песчаные или глинистые с консистенцией от твердой до тугопластичной, и не более 0,1 мм за 2 ч, если под нижними концами свай залегают глинистые грунты от мягкопластичной до текучей консистенции.

2. Предварительно стабилизированная осадка сваи Spi от постоянной нагрузки, соответствующей ступени нагрузки pi с учетом фактора времени, может быть определена по упрощенной методике путем вычисления ее по формуле

Spi = D1 + D2 + St2,                                                   (1)

где D1 - осадка сваи, полученная при статических испытаниях от нагрузки, предшествующей ступени pi,

D2 - осадка за время увеличения нагрузки на ступень (принимается равной дополнительной осадке сваи при испытаниях спустя 5 мин с момента приложения ступени нагрузки);

St2 - расчетная осадка сваи за время t2, которая вычисляется по формуле

,                                                 (2)

где St1 - принимают равным значению осадки сваи спустя 3 ч с момента увеличения нагрузки на ступень (при t1 = 3 ч) за вычетом осадки D2.

Для расчета осадки St2 и времени t2 за условную стабилизацию осадки принимают ее скорость vs стаб » 1 мм/год.

Значения Sp1, D1, D2, St1 и St2 показаны на рис. 1.

Значения t2 в зависимости от St1 приведены в табл. 1.

Рис. 1. Схема расчета осадки сваи

Таблица 1

St1

t2, год

St1

t2, год

0

0

1,2

13

0,3

2

1,4

16

0,5

3

1,6

20

0,6

5

1,8

23

0,7

6

2

27

0,8

7

3

47

0,9

8

4

72

1

10

5

100

Примечание. Значения t2 при промежуточных величинах St1, определяют интерполяцией.

3. Окончательно осадка сваи S при постоянной нагрузке Р в момент времени t > tу.с определяется по формуле

                                     (3)

где Sy.c - условно стабилизированная осадка пробной сваи, мм, определяемая по графику S = f(P) статических испытаний при нагрузке Р;

 - величина условной стабилизации, мм/ч;

ty.c - время, ч, необходимое для достижения условной стабилизации при нагрузке Р и определяемое по графикам S = f(t);

t - время, ч, действия нагрузки Р;

т - коэффициент, вычисляемый по результатам статических испытаний пробных свай по формуле

                                                      (4)

где mj - частное значение коэффициента для j-й ступени нагрузки, характеризующейся развитой во времени и затухающей кривой S = f(t), определяемой в соответствии с указаниями п. 4 настоящего приложения;

k - число ступеней нагрузки, для которых определяется тj.

4. Для определения коэффициента т, строится график зависимости скорости осадки свай  от времени t в логарифмических координатах, состоящий из двух прямых с точкой пересечения в момент времени tп. Коэффициент тj представляет собой абсолютную величину тангенса угла наклона прямой при tп < t £ ty.c и вычисляется по формуле

,                             (5)

где

;                                           (6)

здесь n - число опытных точек на графике  при tп < t £ ty.c.

5. Время полной стабилизации осадки tстаб определяется по формуле

,                                         (7)

где  - критерий полной стабилизации, например, 1 мм/год.

Пример 1. Определить стабилизированную осадку сваи Sp от постоянной нагрузки, соответствующей ступени нагрузки Pi = 55 тс по упрощенной методике. В соответствии с результатами статических испытаний (см. рис. 1) значения: D1 = 3,5 мм; D2 = 0,3 мм; St1 = 0,8 мм.

Решение. По табл. 1 время достижения стабилизации осадки, соответствующее скорости vв = 1 мм/год, при St1 = 0,8 мм, равно t2 =7 лет.

По формуле (2) вычисляем St2:

 мм.

Стабилизированную осадку сваи определим по формуле (1):

Spi = D1 + D2 + St2 = 3,5 + 0,3 + 21,2 = 25 мм.

Пример 2. Требуется определить конечную осадку фундамента из свай, работающих как одиночные, время стабилизации осадки и коэффициент перехода z. Нагрузка на одну сваю 50 тс. Нижние концы свай залегают в суглинке мягкопластичной консистенции. Статические испытания пробной сваи выполнены с условной стабилизацией 0,1 мм за 2 ч. Результаты испытаний приведены на рис. 2.

Рис. 2. Графики зависимости S = f(p) и S = f(t)

Решение. В логарифмических координатах графики зависимости скорости осадки пробной сваи от времени (рис. 3) имеют точку перелома при tп = 1,5 - 4 ч. В интервале времени tп < t £ ty.c значения коэффициента тj для ступеней нагрузки 40, 45, 50 и 55 тс определяются по формуле (5). Подготовительные вычисления сведены в табл. 2.

Рис. 3. Графики зависимости скорости осадки сваи от времени по ступеням нагрузки

Таблица 2

P1, тс

ti, ч

lg ti

 

(lg ti)2

, мм/ч

lg

lg lg ti

n

40

2,5

0,398

 

0,1584

 

0,15

-0,824

 

-0,328

 

 

 

3,5

0,544

 

0,296

 

0,13

-0,886

 

-0,482

 

 

 

5

0,699

 

0,4885

 

0,1

-1

 

-0,699

 

 

 

7

0,845

 

0,714

 

0,075

-1,125

 

-0,951

 

 

 

10

1

3,486

1

2,657

0,05

-1,301

-5,136

-1,301

-3,761

5

45

2,5

0,398

 

0,1584

 

0,2

-0,699

 

-0,2782

 

 

 

3,5

0,544

 

0,296

 

0,15

-0,824

 

-0,448

 

 

 

5

0,699

 

0,4886

 

0,11

-0,9586

 

-0,67

 

 

 

7

0,854

 

0,714

 

0,1

‑1

 

-0,854

 

 

 

9

0,954

 

0,9103

 

0,075

-1,125

 

-1,073

 

 

 

11

1,041

 

1,0845

 

0,06

-1,222

 

-1,272

 

 

 

13

1,114

5,595

1,2409

4,893

0,05

-1,301

-7,1296

-1,449

-6,0442

7

50

2,5

0,398

 

0,1584

 

0,2

-0,699

 

-0,2782

 

 

 

3,5

0,544

 

0,296

 

0,15

-0,824

 

-0,448

 

 

 

5

0,699

 

0,4886

 

0,125

-0,903

 

-0,631

 

 

 

7

0,854

 

0,714

 

0,1

-0,903

 

-0,854

 

 

 

9

0,954

 

0,9106

 

0,075

-1,125

 

-1,073

 

 

 

11

1,041

 

1,0845

 

0,075

-1,125

 

-1,171

 

 

 

13

1,114

 

1,2409

 

0,05

-1,222

 

-1,3612

 

 

 

15

1,176

6,771

1,3832

6,2758

0,05

-1,301

-8,199

-1,5301

-7,3465

8

55

4,5

0,653

 

0,4264

 

0,25

-9,602

 

-0,3931

 

 

 

6

0,778

 

0,6053

 

0,2

-0,699

 

-0,5438

 

 

 

8

0,903

 

0,8154

 

0,15

-0,824

 

-0,74407

 

 

 

10

1

 

1

 

0,125

-0,903

 

-0,903

 

 

 

12

1,079

 

1,1642

 

0,11

-0,939

 

-1,0348

 

 

 

14

1,146

 

1,3133

 

0,1

-1

 

-1,146

 

 

 

20

1,301

 

1,6926

 

0,075

-1,125

 

-1,4636

 

 

 

25

1,398

 

1,9544

 

0,06

-1,222

 

-1,7084

 

 

 

36

1,556

9,814

2,4211

11,393

0,05

-1,301

-6,635

-2,0244

-9,9612

9

;

;

Коэффициент т определим по формуле (4):

Время полной стабилизации осадки при нагрузке 50 тc определим по формуле (7), подставив tу.c = 15 час и Sстаб = 1 мм/год:

 = 36514 ч » 4,17 года.

Конечную осадку сваи определим по формуле (3), подставив t = 36514 ч и Sy.c = 9,5 мм:

Определим коэффициент перехода z:

Пример 3. Требуется определить конечную осадку фундамента из свай, работающих как одиночные, время стабилизации осадки и коэффициент перехода z. Нагрузка на одну сваю 50 тс. Нижние концы свай залегают в суглинке тугопластичной консистенции. Статические испытания пробной сваи выполнены с условной стабилизацией 0,1 мм за 2 ч. Результаты испытаний приведены на рис. 4.

Рис. 4. Графики зависимости скорости осадки сваи от времени по ступеням нагрузки

Решение. В логарифмических координатах графики зависимости скорости осадки пробной сваи от времени (рис. 5) имеют точки перелома при tп = 1 - 3 ч. В интервале времени tп < t £ ty.c значения коэффициента тj для ступеней нагрузки 33,6; 38,4; 48 и 52,8 тс определяются по формуле (5). Подготовительные вычисления сведены в табл. 3.

Рис. 5. Графики зависимости скорости осадки свай от времени по ступеням нагрузки

Таблица 3

P1, тс

ti, ч

lg ti

 

(lg ti)2

, мм/ч

lg

lg lg ti

n

33,6

1,25

0,0969

 

0,0094

 

0,3

-0,523

 

-0,0507

 

 

 

2

0,301

 

0,0906

 

0,15

-0,824

 

-0,248

 

 

 

3

0,477

 

0,2275

 

0,1

-1

 

-0,477

 

 

 

5

0,699

1,5739

0,4886

0,8161

0,05

-1,301

-3,648

-0,9094

-1,6851

4

38,4

1,25

0,0969

 

0,0094

 

0,4

-0,3979

 

-0,0386

 

 

 

3

0,477

 

0,2275

 

0,125

-0,8931

 

-0,426

 

 

 

5

0,699

 

0,4886

 

0,075

-1,1249

 

-0,7863

 

 

 

6

0,7782

2,0511

0,6056

1,3311

0,05

-1,301

-3,7169

-1,0124

-2,2633

4

48

1,25

0,0969

 

0,0094

 

0,41

-0,3872

 

-0,0375

 

 

 

2

0,301

 

0,0906

 

0,3

-0,523

 

-0,1574

 

 

 

3

0,477

 

0,2275

 

0,2

-0,699

 

-0,3334

 

 

 

4

0,6021

 

0,3625

 

0,15

-0,824

 

-0,4961

 

 

 

6

0,7782

 

0,6056

 

0,1

-1

 

-0,7782

 

 

 

7

0,845

 

0,714

 

0,075

-1,1249

 

-0,9505

 

 

 

9

0,9542

4,0554

0,9105

2,9201

0,05

-1,301

-5,8591

-1,2444

-3,9945

7

52,8

2,75

0,4493

 

0,2019

 

0,6

-0,2219

 

-0,0997

 

 

 

3,5

0,5441

 

0,296

 

0,4

-0,3979

 

-0,2165

 

 

 

5

0,699

 

0,4886

 

0,3

0,523

 

-0,3656

 

 

 

6,5

0,8295

 

0,6881

 

0,2

0,699

 

-0,5798

 

 

 

8

0,9031

 

0,8156

 

0,175

0,757

 

-0,6837

 

 

 

10

1

 

1

 

0,125

0,8931

 

-0,8931

 

 

 

12

1,0792

 

1,1647

 

0,1

1

 

-1,0792

 

 

 

14

1,1461

6,6503

1,3135

5,9684

0,1

1

-5,4919

-1,1461

-5,0595

8

Коэффициент т определим по формуле (4):

Время tу.c, необходимое для достижения сваей условной стабилизации 0,1 мм за 1 ч при нагрузке 50 тс, определим интерполяцией tу.c = 8,5 ч.

Время полной стабилизации осадки при нагрузке 50 тс определим по формуле (7), подставив tу.c = 8,5 ч.  и

Конечную осадку сваи определим по формуле (3) при t = 2407 ч;  tу.c = 8,5 ч и Sу.с = 14,7 мм:

Подставив в формулу (3) t = ¥, получим S¥ = 19,42 мм.

Определим коэффициент перехода z:

ПРИЛОЖЕНИЕ 9

РАСЧЕТ ЖЕЛЕЗОБЕТОННЫХ ЛЕНТОЧНЫХ РОСТВЕРКОВ СВАЙНЫХ ФУНДАМЕНТОВ ПОД КИРПИЧНЫЕ И КРУПНОБЛОЧНЫЕ СТЕНЫ

1. Ростверки под стенами кирпичных и крупноблочных зданий, опирающиеся на железобетонные сваи, расположенные в один или в два ряда, должны рассчитываться на эксплуатационные нагрузки и на нагрузки, возникающие в период строительства.

2. Расчет ростверка на эксплуатационные нагрузки следует вести из условия распределения нагрузки в виде треугольников с наибольшей ординатой р, тс/м, над осью сваи, которая определяется по формуле

,                                                            (1)

где L - расстояние между осями свай по линии ряда или рядов, м;

qo - равномерно распределенная нагрузка от здания на уровне низа ростверка (вес стен, перекрытий, ростверка и полезная нагрузка), тс/м;

а - длина полуоснования эпюры нагрузки, м, определяемая по формуле

,                                                 (2)

где Ер - модуль упругости бетона ростверка, кгс/см2;

Iр - момент инерции сечения ростверка, см4;

ек - модуль упругости кладки стены над ростверком, кгс/см2;

bк - ширина стены, опирающейся на ростверк (ширина цоколя), м.

3. Наибольшую ординату эпюры нагрузки над гранью сваи р0, тс/м, можно определить по формуле

,                                                         (3)

где qo, a - значения те же, что и в формуле (1):

Lp - расчетный пролет, м, принимаемый равным 1,05 Lсв, (где Lсв - расстояние между сваями в свету, м.)

Для различных схем нагрузок расчетные изгибающие моменты Моп и Мпр определяются по формулам, приведенным в табл. 1.

Таблица 1

№ п.п.

Область применения

Схема применения

Момент на опоре Моп

Момент в середине пролета Мпр

1

2

а < S

 

 

3

4

a ³ Lсв

5

а < S

4. Расчетные изгибающие моменты Моп и Мпр могут быть определены также по графикам рис. 1 - 5, построенным применительно к наиболее часто встречающимся размерам ростверка и материалам кладки; высота ростверка hp = 30, 40 и 50 см; марка бетона ростверка М 150 - 200; кирпичная кладка из кирпича марки 100 на растворе марки 50 и 75.


Рис. 1. График для определения опорного и пролетного моментов в свайном ростверке шириной 50 см при толщине стены и цоколя соответственно 55 и 51 см

Рис. 2. График для определения опорного и пролетного моментов в свайном ростверке шириной 50 см при толщине стены и цоколя соответственно 64 и 55 см

Рис. 3. График для определения опорного и пролетного моментов в свайном ростверке шириной 60 см при толщине стены и цоколя соответственно 68 и 64 см.

Рис. 4. График для определения опорного и пролетного моментов в свайном ростверке шириной 40 см при толщине стены и цоколя 51 см

Рис. 5. График для определения опорного и пролетного моментов в свайном ростверке шириной 40 см при толщине стены и цоколя 38 см


Рис. 6. Схема свайного ростверка

В зависимости от ширины ростверка и ширины цоколя графики следует принимать согласно табл. 2.

Таблица 2

№ рисунка

Ширина ростверка bp, см

Ширина цоколя bк см

1

50

51

2

50

55

3

60

64

4

40

51

5

40

38

5. Поперечную перерезывающую силу, тс, в ростверке на грани сваи можно определить по формуле

,                                                         (4)

где qо и Lp - обозначения те же, что и в формулах (1) и (3).

6. Расчет ростверка в продольном направлении на нагрузки, возникающие в период строительства, производится из условия, что расчетные усилия в ростверке - опорный и пролетный моменты, тс×м, а также поперечная сила, тс, определяются по следующим формулам:

Mоп = -0,083qкL2p;                                              (5)

Mпp = 0,042qкL2p                                                (6)

,                                                        (7)

где qk - вес свежеуложенной кладки высотой 0,5 L, но не меньшей, чем высота одного ряда блоков, определенный с коэффициентом перегрузки n = 1,1 тс/м;

Lp и L - обозначения те же, что и в формулах (1) и (3).

Расчет ростверка при двухрядном расположении свай в поперечном направлении, производится как однопролетной балки на двух опорах.

При наличии проемов, когда высота кладки от верха ростверка до низа проема менее 1/3 L, следует учитывать вес кладки стен до верхней грани железобетонных перемычек, а при каменных перемычках - вес кладки стен до отметки, превышающей отметку верха проема на 1/3 его ширины.

7. Проверка прочности кладки стены или цоколя над сваей на смятие производится в соответствии с главой СНиП по проектированию каменных и армокаменных конструкций.

Пример 1. Требуется определить расчетные усилия в монолитном железобетонном ростверке шириной bp = 50 см, высотой hp = 40 см, на который опирается стена из силикатного кирпича шириной bс = 64 см при ширине цоколя bк = 51 см. Марка бетона по прочности на сжатие М150, кирпича 100, раствора 75. Сваи сечением 30×30 см расположены в один ряд, расстояние между осями свай L = 2 м. Расчетная нагрузка на уровне низа ростверка q0 = 20 тс/м (рис. 6).

Решение

а) Определение усилий в ростверке от эксплуатационных нагрузок

Для упрощения определения расчетного пролетного Mпp и опорного Моп моментов можно воспользоваться графиком рис. 1.

На оси абсцисс в правой части графика откладываем расчетный пролет Lp, равный

Lp = 1,05 lcв = 1,05×1,7 = 1,78 м,

где lcв =L - d = 2 - 0,3 = 1,7 м.

Из полученной при этом точки восстанавливаем перпендикуляр до пересечения его с кривой A = f(Lp, a) для опорного момента Моп при высоте ростверка 40 см, марке бетона М150 и раствора 75. Из точки пересечения б проводим горизонтальную прямую бв параллельно оси абсцисс.

На оси абсцисса левой части графика откладываем величину, соответствующую погонной нагрузке на уровне низа ростверка, qо=20 тс/м. Из полученной при этом точки восстанавливаем перпендикуляр до пересечения с горизонтальной прямой бв. Точка в пересечения этого перпендикуляра с горизонтальной прямой определяет расчетный опорный момент Моп = 4,95 тс×м.

Для определения пролетного момента Мпр из точки на оси абсцисс, определяющей расчетный пролет Lp, восстанавливаем перпендикуляр до пересечения с кривой A = f(Lp, а) для пролетного момента Мпр при марках бетона и раствора кладки, соответствующих условию задачи, т.е. 150 и 75. Далее поступаем аналогично тому, как указано выше. В результате получаем расчетный пролетный момент, равный Мпр = 2,42 тс×м.

б) Определение усилий в ростверке от нагрузок в период строительства

Вес кладки qк определяем исходя из ее высоты, равной 0,5 L.

qк = n×0,5Lbcgк,

где п - коэффициент перегрузки п = 1,1;

bс - ширина стены (bс = 0,64 м);

gк - объемный вес кирпичной кладки (gк = 1,9 тс/м3);

qк = 1,1×0,5×1,77×0,64×1,9 = 1,18 тс/м.

Опорный момент определяем по формуле (5):

Mоп = -0,083qкL2p = -0,083×1,18×1,542 = -0,232 тс×м.

Пролетный момент определяем по формуле (6):

Mпp = 0,042qкL2p = 0,042×1,18×1,542 = 0,118 тс×м.

Поперечную силу определяем по формуле (7):

По полученным расчетным усилиям в соответствии с требованиями главы СНиП II-21-75 «Бетонные и железобетонные конструкции» и СНиП II-В.2-71 «Каменные и армокаменные конструкции» определяется продольное и поперечное армирование ростверка и проверяется прочность кирпичной кладки на местное сжатие (смятие) над сваей.

Пример 2. Требуется определить расчетное усилие от эксплуатационных нагрузок в монолитном железобетонном ростверке шириной bр = 100 см, высотой hp = 50 см, на который опирается стена из силикатного кирпича шириной bc = 64 см при ширине цоколя bк = 64 см. Марки бетона, кирпича, раствора и сечение свай такие же, как и в примере 1. Сваи расположены в два ряда в шахматном порядке. Расстояние между осями свай в ряду 1,6 м, а между смежными сваями в разных рядах вдоль оси стены L = 0,8 м. Расчетная нагрузка на уровне низа ростверка qо = 60 тс/м.

Решение. Расчет начинаем с определения основных расчетных характеристик материала и сечения ростверка.

Модуль упругости бетона ростверка Еб принимаем по табл. 18 главы СНиП II-21-75: Ер = 2,1×105 кгс/см2.

Момент инерции сечения ростверка равен:

Модуль упругости кирпичной кладки принимаем

Ек = 12750 кгс/см2.

По формуле (2) вычисляем длину полуоснования эпюры нагрузки:

Расстояние между сваями в свету Lcв и расчетный пролет ростверка равны:

Lcв = 0,8 - 0,3 = 0,5 м; Lp = 1,05 Lcв = 1,05×0,5 = 0,525 м.

Так как а = 2,08 м > Lcв = 0,5 м, опорный и пролетный моменты следует определять по формулам, приведенным в табл. 1 данного приложения для схемы 4.

 тс×м.

Поперечную силу определяем по формуле

ПРИЛОЖЕНИЕ 10

РАСЧЕТ ЖЕЛЕЗОБЕТОННЫХ ЛЕНТОЧНЫХ (БАЛОЧНЫХ) РОСТВЕРКОВ СВАЙНЫХ ФУНДАМЕНТОВ ПОД КРУПНОПАНЕЛЬНЫЕ СТЕНЫ

1. Расчет балочных ростверков крупнопанельных зданий высотой до 12 этажей должен производиться из условия совместной работы ростверка и опирающихся на него стеновых панелей первого этажа (или подвала).

2. Расчет дается только для случая, когда соблюдаются следующие условия:

а) панели стен из тяжелого бетона:

                                                      (1)

б) панели стен из легкого бетона:

                                                       (2)

где bр и bп - ширина соответственно ростверка и панели, м;

Ер и Еп - модули упругости материала, тс/см2, соответственно ростверка и панели.

3. Балочные ростверки рассчитываются на действие: изгибающего момента и перерезывающей силы, нормальной растягивающий силы, приложенной по верхней грани ростверка над крайними опорами: нормальной сжимающей силы, приложенной по верхней грани ростверка над промежуточными опорами.

Расчет ростверков ведется как железобетонных балок в соответствии с требованиями главы СНиП по проектированию бетонных и железобетонных конструкций на воздействия, определяемые по пп. 4 - 7 настоящего приложения.

4. Расчет балочных ростверков необходимо выполнять на нагрузку от стеновых панелей ро и на нагрузку, приложенную непосредственно к ростверку p1.

Величина нагрузки на ростверк от стеновой панели ро и протяженность ао этой нагрузки (рис. 1) определяются по формулам:

ро =aоkoqo,                                                         (3)

                                                              (4)

где po - расчетная нагрузка на ростверк, тс/м;

Рис. 1. Расчетные схемы ростверков

а - многопролетного; б - однопролетного с панелью без проема; в - то же, с проемом

ao - протяженность нагрузки ро, м (если стеновая панель опирается на ростверк через плиты перекрытия, то величина ao увеличивается на толщину перекрытия);

ao - коэффициент, определяемый для однопролетной балки по табл. 1 и зависящий от соотношения геометрических размеров панели и ростверка, проектной марки растворного шва и величины нагрузки, приложенной непосредственно к ростверку (за вычетом собственного веса ростверка и веса панелей перекрытия);

kо - коэффициент увеличения нагрузки в меньшем пролете ростверка, зависящий от соотношения смежных пролетов, принимаемый:

kо = 1 при Lр.макс/Lр.мин < 1,5;

kо = 1,4 при Lр.макс/Lр.мин = 2;

kо = 1,6 при Lр.макс/Lр.мин = 3;

qо - вся вышележащая нагрузка, приложенная равномерно - распределенно в уровне верха ростверка (кроме нагрузки p1);

Lp - расчетный пролет ростверка, определенный по формуле

Lp = 1,05 Lcв;                                                      (5)

Lcв - пролет в свету между сваями (или оголовками), м.

Примечание. Если панели имеют дверные проемы, то на участках опирания панели ростверки рассчитываются на равномерно распределенную нагрузку.

Таблица 1

Коэффициент aо

p1 < 500 кгс/м

p1 > 650 кгс/м

hp = 40

hp = 60

hp = 40 см

hp = 60 см

M100

M4 - 10

M100

M4 - 10

M100

M4 - 10

M100

M4 - 10

0,5

1,9

1,5

1,5

1,1

1,9

1,5

1,5

1,2

1

3,3

2,2

2,5

1,7

4

2,5

3

2

1,6

5

3,3

2,8

2,6

7

4,5

5

3,3

2

7,4

5,2

5,9

4,2

10

7,2

7,8

5,8

Примечания: 1. В таблице приняты следующие обозначения: Нo - высота панели, м; Lp - расчетная величина пролета ростверка; hp - высота ростверка, м; М - проектная марка растворного шва.

2. Величина коэффициента aо для промежуточных значений высоты ростверка, нагрузки марки растворного шва и при промежуточных величинах  определяются интерполяцией.

Для балок высотой более 0,6 м (но £ 0,8 м) значение aо принимается по таблице с коэффициентом 0,8, а для балок менее 0,4 м (но не менее 0,3 м) - как для балок высотой 0,4 м.

5. Нормальная растягивающая и сжимающая сила Nр и Ncж в тс определяются по формулам:

Nр = Lqo;                                                            (6)

Ncж = L1qo,                                                         (7)

где qo - значение то же, что и в формуле (3):

L и L1 - коэффициенты, м, определяемые по табл. 2 в зависимости от отношения  и проектной марки раствора шва.

Таблица 2

Коэффициенты L и L1

 

Коэффициент L для ростверков

Коэффициент L1 при растворе шва марки

однопролетных при растворе шва марки

многопролетных при растворе шва марки

M100

M4 - 10

M100

M4 - 10

M100

M4 - 10

0,5

0,37

0,45

0,25

0,4

0,09

0,06

1

0,7

0,9

0,5

0,7

0,18

0,12

1,5

1

1,35

0,75

1,1

0,26

0,18

2

1,25

1,8

1

1,5

0,34

0,24

Примечания: 1. Обозначения Lp и Но те же, что и в табл. 1.

2. Величины коэффициентов L и L1 при промежуточных значениях  определяются интерполяцией.

6. Стеновые панели, опирающиеся на ростверк, следует проверить на местные сжимающие напряжения в местах их контакта с ростверком (над сваями).

Длину зоны контакта ао можно принимать по формуле (4), пользуясь табличными данными применительно к случаю раствора проектной марки 100.

7. Стеновые панели в нижней зоне необходимо проверить на равнодействующую горизонтальных растягивающих усилий N, тс, по формуле

N = Nб.с - 0,8 Nр(сж),                                            (8)

где N - равнодействующая горизонтальных растягивающих усилий, тс;

Nб.с - горизонтальное усилие, тс, в нижней зоне панели, рассчитанной как балки-стенки пролетом

.

8. Балочные ростверки свайных фундаментов должны выполняться из тяжелых бетонов сборными или монолитными.

9. Расположение монтажных (подъемных) петель в сборных ростверках должно предусматриваться по геометрической оси элементов ростверка с тем, чтобы после укладки плит (панелей) перекрытия петли балок ростверка были бы в шве между плитами перекрытия.

Если стеновая панель устанавливается непосредственно на ростверковую балку, монтажные петли должны быть срезаны заподлицо с верхней плоскостью ростверковой балки.

10. Верхняя поверхность сборных элементов ростверка должна быть ровной и гладкой. Стрела выгиба ростверка не должна превышать 5 мм.

11. В случае, если на ростверк опирается:

панель без проема, то она должна опираться не менее чем на две сваи;

панель с проемом, то под каждым участком панели (при длине участка ³ 3d) необходимо располагать не менее двух свай (где d - размер поперечного сечения сваи);

две панели, то в месте их примыкания необходимо установить сваи.

Пример 1. Требуется рассчитать однопролетный ростверк (рис. 2) при следующих исходных данных: равномерно распределенная нагрузка по верху ростверка от панелей qо = 25 тс/м; нагрузка, приложенная непосредственно к ростверку, p1 = 1 тс/м; высота панели Hп = 3 м; длина панели L = 3,35 м; высота ростверка hp = 0,5 м; пролет ростверка в свету Lсв = 2,85 м; толщина панели 12 см; проектная марка растворного шва 100; проектная марка бетона панели 150 и бетона балки 200.

Решение. Находим расчетный пролет

Lp = Lсв×1,05 = 2,85×1,05 = 3 м.

Определим отношение . По табл. 1 и 2 находим коэффициенты ao = 3,5 и L = 0,7 м.

Величина нагрузки на ростверк по формуле

ро =aоkoqo = 3,5×1×25 = 87,5 тс/м.

Протяженность нагрузки ро, т. е. величина ао по формуле (4), будет равна:

Величина нормальной растягивающей силы

Nр = Lqo = 0,7×25 = 17,5 тс.

Величина поперечной силы

Q = (р1 Lр +poao) 0,5 = (1×3 + 87,5×0,86) 0,5 = 39,1 тс.

Величина опорного момента

Суммарный пролетный момент

Проверим нижнюю зону панели на растягивающее усилие по формуле (8). Для этого рассчитаем панель как обычную балку-стенку размером 3´3 м с равномерно распределенной нагрузкой поверху qо = 25 тс/м, пролетом  В результате строим эпюру горизонтальных напряжений в панели для середины пролета (см. рис. 2).

Рис. 2. Схема для расчета ростверка

а - фактические нагрузки; б - расчетные нагрузки; в - эпюра горизонтальных напряжений в панели

По эпюре горизонтальных напряжений находим величину Nб.с:

Nб.с = 14,9 тс,

а по формуле (8) - величину N:

N = Nб.с - 0,8 Nр(сж) = 14,9 - 0,8×17,5 = -0,9 тс.

Принимая во внимание, что высоты растянутых зон в панели, опертой на ростверк, и в панели, не опирающейся на ростверк, будут практически равными, найдем величину растягивающих напряжений sр, соответствующую величине

Rp = 6,3 кгс/см2 - расчетное сопротивление бетона при марке бетона панели М150 (табл. 13 главы СНиП II-21-75).

Таким образом, прочность панели в растянутой зоне обеспечивается.

ПРИЛОЖЕНИЕ 11

РАСЧЕТ ЖЕЛЕЗОБЕТОННЫХ ПЛИТНЫХ РОСТВЕРКОВ СВАЙНЫХ ФУНДАМЕНТОВ ПОД КОЛОННЫ ЗДАНИЙ И СООРУЖЕНИЙ

1. Расчет железобетонных плитных ростверков свайных фундаментов под колонны должен производиться по прочности, а в случае возможности воздействия на ростверк агрессивных грунтовых вод - по раскрытию трещин.

2. Расчет ростверков по прочности необходимо производить: на продавливание ростверка колонной, на продавливание нижней плиты ростверка угловой сваей, на поперечную силу в наклонных сечениях, на изгиб ростверка и на местное смятие под торцами колонн. При расчете ростверка, предназначенного под сборные железобетонные колонны, необходимо также проверять прочность стакана ростверка.

3. Расчет на продавливание ростверка колонной и его нижней плиты угловой сваей должен производиться в соответствии с требованиями главы СНиП по проектированию бетонных и железобетонных конструкций в части расчета на продавливание плитных конструкций без поперечной арматуры с учетом дополнительных требований, изложенных в п. 4 и 5 настоящего приложения.

4. Расчет на продавливание ростверка колонной по п. 3 настоящего приложения должен выполняться при следующих условиях (рис. 1):

а) считается, что продавливание ростверка колонной происходит по пирамиде продавливания, боковые стороны которой проходят от наружных граней колонны до ближайших граней свай, а при многорядном расположении свай, кроме того, по поверхности пирамиды продавливания, две или все четыре боковые стороны которой наклонены под углом 45°;

б) рабочая высота ростверка hо при определении габаритов пирамиды продавливания принимается равной расстоянию от верха нижней рабочей арматурной сетки до дна стакана в случае стаканного сопряжения ростверка с колонной и до верха ростверка в случае опирания на ростверк стальной или монолитной колонны;

в) расчетная продавливающая сила Nпр в случае центрально нагруженных ростверков принимается равной сумме реакций всех свай, расположенных за пределами нижнего основания пирамиды продавливания, причем реакции свай в этом случае подсчитываются только от нормальной силы, действующей в сечении колонны у обреза ростверка. В случае же продавливания внецентренно-нагруженных ростверков величина продавливающей силы принимается Nпр = 2SPфi, где SPфi - сумма реакций всех свай, расположенных с одной стороны от оси колонны в наиболее нагруженной части ростверка за вычетом реакций свай, расположенных в зоне продавливания с той же стороны от оси колонны.

Рис. 1. Схема расчета ростверка на продавливание колонной

При стаканном сопряжении сборной колонны с ростверком и эксцентриситете e >0,5dк, (dк - высота сечения колонны) величину SPфi допускается определять, принимая величину момента не более M = 0,5dкN, при этом высота ростверка определяется из расчета на продавливание по периметру колонны. При полном моменте M = eN и соответствующей ему сумме реакций SPфi высота ростверка должна, кроме того, проверяться на продавливание по наружному периметру стакана;

г) рабочая высота составных ростверков принимается как для цельных ростверков той же высоты.

5. При сборных железобетонных двухветвевых колоннах, имеющих общий стакан, расчет ростверка на продавливание выполняется как при колонне сплошного прямоугольного сечения, соответствующего внешним габаритам двухветвевой колонны. Расчет нижней плиты ростверка на продавливание угловой сваей по п. 3 настоящего приложения должен производиться при следующих условиях (рис. 2):

а) считается, что две рабочие боковые поверхности пирамиды продавливания проходят от плоскости внутренних граней сваи до ближайших граней ступени при ступенчатом ростверке;

б) рабочая высота ростверка hi при определении габаритов пирамиды продавливания принимается равной высоте нижней ступени ростверка;

в) расчетная продавливающая сила Nnp принимается равной расчетной нагрузке на угловую сваю, включая влияние местной нагрузки (например, от стенового заполнения) с учетом моментов в двух направлениях.

6. Расчет прочности наклонных сечений ростверка на действие поперечной силы и на изгиб должен производиться в соответствии с требованиями главы СНиП по проектированию бетонных и железобетонных конструкций применительно к случаю изгибаемых элементов без поперечной арматуры с учетом дополнительных требований, изложенных в пп. 7 и 8.

При расчете на поперечную силу предельные значения расчетных величин должны приниматься как для сплошных плит.

Рис. 2. Схема расчета нижней плиты ростверка на продавливание угловой сваей

7. На действие поперечной силы должны проверяться наклонные сечения ростверка, проходящие от плоскости внутренних граней свай до ближайшей грани подколонника или ступени ростверка (рис. 3).

Рис. 3. Схема расчета наклонных сечений ростверка на действие поперечной силы

При многорядном расположении свай проверка прочности наклонных сечений ростверка должна производиться по сечениям, проходящим через внутренние грани каждого ряда свай.

8. Расчет прочности ростверка на изгиб производится в сечениях по граням колонны, а также по наружным граням стакана ростверка или по граням ступеней ростверка.

Расчетный изгибающий момент для каждого сечения определяется как сумма моментов от реакции свай (от расчетных нагрузок на ростверк) и от местных расчетных нагрузок, приложенных к консольному свесу ростверка по одну сторону от рассматриваемого сечения по формулам:

Мai = SРф.п x - Мo,                                                (1)

Мвi = SРф.п yi - Мo.                                               (2)

где Мai и Мвi - изгибающие моменты в рассматриваемых сечениях, тс×м;

Рф.п - расчетная нагрузка на сваю, нормальная к площади подошвы ростверка, тс,

хi и yi - расстояния соответственно от осей свай до рассматриваемого сечения, м;

Мo и Мo - изгибающие моменты в рассматриваемых сечениях от местной нагрузки, тс×м.

Примечание. При работе свай на выдергивание необходимо производить проверку прочности ростверка на изгиб на действие отрицательных реакций свай.

9. В ростверках стаканного типа, когда отношение толщины стакана к высоте его уступа или к глубине стакана равно или более 0,75, стенки стакана допускается не армировать. При отношении толщины стенок стакана к высоте его уступа или к глубине стакана менее 0,75 стенки стакана ростверка должны рассчитываться как железобетонные элементы в соответствии с требованиями главы СНиП по проектированию бетонных и железобетонных конструкций с учетом дополнительных требований п. 10 настоящего приложения.

10. Расчет продольной арматуры стенок стакана производится на внецентренное сжатие как коробчатого сечения в плоскости заделанного торца колонны (рис. 4, сечение I - I).

Рис. 4. Схема расчета продольной арматуры стенок стакана

Минимальная площадь продольной арматуры в стенках стакана должна составлять не менее 0,05 % расчетного сечения бетона стакана. При этом должны удовлетворяться требования по анкеровке продольной арматуры стенок стакана в плитной части ростверка.

Поперечная арматура в стенках стакана в сечениях II - II и II¢ - II¢ (см. рис. 4) должна определяться по расчетному моменту от действия сил относительно оси, проходящей через точку К или K1 поворота колонны.

Величины моментов, тс×м, при этом допускается принимать равными:

при

Mк1 = M + Qyп - 0,7 о;                                        (3)

при

Mк1 = 0,8 (M + Qyп - N),                              (4)

где М - изгибающий момент на уровне верха стакана, тc×м;

N - продольная сила, тc;

Q - поперечная сила на уровне верха стакана, тc;

dк - сторона поперечного сечения колонны, м;

уп - глубина стакана, м.

Определенный по формуле (4) момент Мк принимается не менее величины Мк1, определенной по формуле (3).

ПРИЛОЖЕНИЕ 12

ОСОБЕННОСТИ ПРОЕКТИРОВАНИЯ БЕЗРОСТВЕРКОВЫХ СВАЙНЫХ ФУНДАМЕНТОВ КРУПНОПАНЕЛЬНЫХ ЖИЛЫХ ДОМОВ

1. Безростверковые свайные фундаменты могут применяться для крупнопанельных домов высотой до 12 этажей (включительно) с несущими поперечными стенами, с шагом до 6 м, плиты перекрытий в которых, как правило, имеют размер на комнату в случаях, когда:

сваи расположены под панельными стенами в один ряд.

стеновая панель или часть ее до проема опирается не менее чем на две сваи;

максимальное расстояние между сваями под поперечными стенами не превышает 2,2 м (при использовании типовых панелей без дополнительного армирования это расстояние определяется расчетом).

2. Устройство безростверковых свайных фундаментов при опирании свай на крупнообломочные и скальные грунты, в сейсмических районах, на просадочных, набухающих и заторфованных грунтах, а также на подрабатываемых территориях и при наличии карстов не допускается.

3. Каждая панель несущих стен технического подполья и первого этажа должна опираться не менее чем на две сваи.

4. Стеновые панели и краевые участки плит перекрытий, опирающиеся на оголовки, следует считать работающими на растяжение при изгибе совместно как балки-стенки таврового сечения (рис. 1). Поэтому при необходимости дополнительная арматура, количество которой определяется расчетом в соответствии с пп. 5 - 7 настоящего приложения, может быть размещена в плитах перекрытия над техническим подпольем.

Рис. 1. Схема расчета стеновой панели совместно с панелями перекрытий

5. Величина растягивающего усилия N, тс, в вертикальном тавровом сечении может быть определена по формуле

N = 0,2ql,                                                                (1)

где ql - вертикальная нагрузка, тс, от всех этажей в пролете между гранями соседних оголовков свай.

6. Высота растянутой зоны стеновой панели (ребра тавра) принимается не более 0,2l где l - расстояние между гранями соседних оголовков свай. Вводимая в совместную работу ширина краевых участков плит перекрытия (ширина свесов полки) в каждую сторону от оси стеновой панели не должна превышать 1/2 ширины оголовка свай (см. рис. 1).

7. Усилие N, тс, должно быть воспринято расчетной арматурой растянутой зоны, размеры которой определяются по п. 6 настоящего приложения.

Не менее 70 % арматуры расчетного участка плит перекрытий должно располагаться непосредственно под стеновой панелью (т.е. по контуру плит перекрытий).

8. Плиты перекрытия над техническим подпольем размером на комнату допускается рассчитывать, как плиты на точечных опорах с частичным защемлением в несущих стенах краев плит на опорах от собственного веса перекрытая и полезной нагрузки на первый этаж. Величина момента полного защемления может быть уменьшена на 15 %. Нагрузка от стеновых панелей учитывается при расчете на растягивающие усилия N, тс, по формуле (1) настоящего приложения.

9. Оголовки на сваях следует замоноличивать бетоном марки не ниже М 200 с тщательным вибрированием. Допускается производить замоноличивание оголовков цементным раствором марки М 200 на крупном песке (пескобетоном). Отклонение верха оголовков от заданной отметки не должно превышать 1 см. Оголовок на свае следует замоноличивать симметрично по отношению к осям сваи.

10. Для заделки сваи в оголовке предусматривается отверстие, вертикальное сечение которого может быть пирамидальным, коническим или колоколообразным. Ширина отверстия понизу должна превышать ширину грани сваи на 100 мм, а отверстие поверху должно быть не менее 200 мм. Минимальная толщина стенок стакана понизу составляет 50 мм, защитный слой с наружной стороны - 30 мм.

Вертикальная ось оголовка должна совпадать с вертикальной осью сваи.

11. Оголовок, имеющий внутреннюю полость с углом наклона к вертикали a, рассчитывается:

а) на растягивающее усилие Т, воспринимаемое горизонтальными хомутами (рис. 2);

Рис. 2. Расчет оголовка

б) как короткая консоль при внецентренном нагружении оголовка (рис. 3);

в) на поперечную силу с учетом монолитного заполнения внутренней полости.

12. Расчет стенок оголовков на растягивающее усилие Т рекомендуется производить:

а) для квадратного оголовка по формуле

Т = 0,25 P ctg(a + j),                                                       (2)

где Р - расчетная нагрузка на сваю, тс;

a - угол наклона внутренней полости оголовка к вертикали, град;

j - угод трения бетона по бетону, град. (tgj = 0,65);

б) для круглого оголовка по формуле

Т = 0,158 P ctg(a + j),                                                     (3)

13. Расчет оголовка как короткой консоли при эксцентренном приложении расчетной нагрузки (см. рис. 3) должен выполняться на поперечную силу и момент в соответствии с требованиями главы СНиП II-21-75.

14. На поперечную силу от эксплуатационных нагрузок сборный оголовок рассчитывается как оголовок сплошного сечения. При этом необходимо учесть неоднородность сборного оголовка и монолитного заполнения, приняв в формуле (81) главы СНиП II-21-75 коэффициент k4 = 0,8.

15. Изгибающий момент в плоскости грани сваи от силы допускается определять по формуле

                                                     (4)

где lб - длина опоры, м;

bб - ширина опоры, м;

Rпр - расчетное сопротивление бетона осевому сжатию, тс/м2.

16. Расчет свай безростверкового свайного фундамента на горизонтальные ветровые нагрузки и моментные воздействия следует производить в соответствии с указаниями приложения главы СНиП II-17-77.

Пример 1. Требуется рассчитать безростверковый свайный фундамент при следующих исходных данных: расчетная нагрузка на уровне верха оголовка q = 25,4 тс/м; расчетная вертикальная нагрузка на сваю Р = 40 тс; расчетная горизонтальная нагрузка Q = 0,5 тс, сваи марки С8-30; оголовок сечением 0,6´0,6 м, высотой h = 0,4 м; расстояние между гранями соседних оголовков l = 1 м; марка бетона по прочности на сжатие оголовка и заполнителя M200; расчетная нагрузка на оголовок от плиты перекрытия N = 10 тс; ширина опоры lб = 0,16 м; продольная арматура, расположенная в панелях стены и перекрытия на участке растянутой зоны: 4Æ5В-1 и 2Æ10А-III.

Решение. 1. Определяем момент, действующий на сваю с учетом допускаемого отклонения сваи в плане (см. рис. 3):

Момент от расчетной горизонтальной силы Q = 0,5 тс равен 1,8 тс×м.

Рис. 3. Расчет оголовка

2. Проверяем прочность материала сваи С8-30 из бетона марки М 200, армированной 4Æ12А-I на внецентренное сжатие. Согласно графикам, в типовом проекте для восприятия расчетной нагрузки Р = 40 тс и М = 6,05 тс×м требуется свая сечением 30´30 см из бетона марки М 250, армированная 4Æ16А-III. Увеличиваем армирование, приняв 4Æ16А-III из условия восприятия нагрузок в эксплуатационный период.

3. Проверяем прочность оголовка на местное сжатие (смятие) от воздействия N = 10 тс. По формуле (96) главы СНиП II-21-75:

Nдоп = mсм rсм fсм;

fсм = 0,16×0,15 = 0,024 м2;

Rсм = gб Rпр = 1,4×900 = 1260 тс/м2;

Nдоп = 0,75×1260×0,024 = 22,7 тс > N = 10 тс.

4. Определяем растягивающее усилие на уровне верха оголовка:

N = 0,2ql = 0,2×25,4×1 = 5,08 тс.

5. Устанавливаем величину растягивающего усилия, воспринимаемого арматурой в растянутой зоне:

4Æ12А-I - F = 0,79 см2; Ra = 3150 кгс/см2;

4Æ16А-III - F = 1,57 см2; Ra = 3400 кгс/см2;

Nдоп = 0,79×3150×1,57×3400 = 7,83 тс > N = 5,08 тс.

Следовательно, установки дополнительной арматуры в растянутой зоне не требуется.

6. Определяем усилие растяжения, действующее на стенку оголовка:

Т = 0,25 P ctg(a + j) = 0,25×40 ctg (20,5° + 33°) = 7,4 тс;

 a = 20,5°.

Требуемое сечение арматуры Fx класса В-I (см. рис. 2) составляет

Fx = T : Ra = 7400 : 3150 = 2,35 см2.

Следовательно, 5Æ6В-I (F = 1,41 см2) недостаточно для восприятия растягивающего усилия. Принимаем 4Æ5В-I (F = 0,79 см2) и поверху 2Æ10А-III (F = 1,57 см2)

Tдоп = 0,79×3150 + 1,57×3400 = 7,83 тс > Т = 7,4 тс.

7. Определяем величину поперечной силы, воспринимаемой оголовком как короткой консолью, по формуле (81) главы СНиП II-21-75:

 тс,

но принимаем не более

Qк = 2Rpbho = 2×75×0,6×0,35 = 18,9 тс ≥ 10 тc.

8. Изгибающий момент, действующий на короткую консоль, равен:

Для восприятия данного момента достаточно арматуры 4Æ10А-III.

ПРИЛОЖЕНИЕ 13

РАСЧЕТ И ПРОЕКТИРОВАНИЕ ФУНДАМЕНТОВ ИЗ КОРОТКИХ КОЗЛОВЫХ СВАЙ

1. Особенностью козловых свай является их наклон к вертикали, в результате чего увеличивается площадь опирания на грунт и изменяются условия работы сваи в грунте. Это несколько повышает несущую способность свай на вертикальные вдавливающие и весьма существенно повышает сопротивление свай горизонтальным нагрузкам.

2. Несущая способность фундамента с козловыми сваями складывается из сопротивления грунта под острием, сил трения по их боковым поверхностям и дополнительных сил сопротивления от отпора грунта по нижней наклонной боковой поверхности сваи на участке, расположенном в ее верхней части.

3. Короткие козловые сваи можно применять для устройства фундаментов под стены и колонны. При ленточных ростверках могут быть применены парные или одиночные сваи. Для устройства фундаментов под колонны могут быть использованы парные козловые сваи и сваи, погружаемые с наклоном от центра фундамента в различных направлениях (рис. 1).

Рис. 1. Типы фундаментов из козловых свай

а - ленточные; б, в - отдельно стоящие прямоугольные

4. Короткие козловые сваи, образуемые из свай или забивных блоков с односторонним заострением, могут быть использованы при возведении арочных сооружений, в которых возникают горизонтальные нагрузки (рис. 2).

Рис. 2. Конструктивная схема фундаментов на сваях с односторонним заострением

5. Фундаменты из коротких козловых свай рекомендуется применять в глинистых грунтах с показателем консистенции IL >0,4, а также в пылеватых и мелких песках.

6. Размеры свай и угол их наклона выбираются в зависимости от величины и характера нагрузок и от инженерно-геологических условий строительной площадки. Угол наклона свай к вертикали рекомендуется принимать в пределах 7 - 20°.

7. Головы свай должны располагаться на минимальном расстоянии друг от друга, определяемом условиями забивки и конструктивными особенностями сооружения.

8. Несущая способность забивной козловой сваи по грунту определяется по формуле

,                                 (1)

где т - коэффициент условий работы, равный 1;

R - расчетное сопротивление грунта под нижним концом сваи;

F - площадь поперечного сечения сваи, м2;

и - периметр сваи, м;

fi - расчетное сопротивление по боковой поверхности i-го слоя грунта;

li - толщина i-го слоя грунта, расположенного в пределах верхнего участка сваи длиной 2 м;

dн - размер нижней стороны сечения наклонной сваи, м;

 - дополнительное сопротивление от отпора грунта на боковой поверхности нижней наклонной грани сваи, расположенной в пределах верхнего ее участка длиной 2 м, тс/м2, определяемое по таблице.

9. Для устройства фундаментов на козловых сваях иногда используют призматические сваи с односторонним заострением, погружаемые попарно. При внедрении таких свай в грунт за счет возникновения реактивного сопротивления грунта по скошенной поверхности сваи возникает момент, который поворачивает сваю в грунте относительно шарнирного закрепления головки сваи в наголовнике. Ввиду возникновения больших моментов в самой свае, а также невозможности значительного поворота длинных свай в грунте рекомендуется принимать длину таких свай не более 4 - 5 м, а сечение их может быть увеличено до сечения забивных блоков.

Глубина расположения слоя грунта, м

Величина отпора грунта , тс/м2, при консистенции fL

0

0,4

0,7

0,8

1

10,5

8,5

3,5

2,4

2

9

7,5

3

2,2

3

7,5

6

2,5

2

4

6,5

5

2

1,8

5

5

4

1,8

1,6

6

3

2,5

1,5

1,4

Примечание. Для промежуточных значений il величины  определяются по интерполяции.

Прочность сваи должна проверяться на воздействие момента, который возникает при погружении сваи в грунт.

10. Угол наклона сваи с односторонним заострением к вертикали при полном ее погружении в грунт может быть определен по формуле

                                       (2)

где l - длина сваи, м;

a - угол заострения сваи, град;

h - коэффициент угла скольжения, который зависит от отношения v = l/b (где b - размер стороны сечения сваи в плоскости поворота сваи) и определяется по графику (рис. 3);

Рис. 3. Зависимость a от h для различных значений v = l/b

е - основание натурального логарифма:

А - полное перемещение головы сваи по вертикали при погружении сваи в грунт. Определяется по формуле

A = l - hг,                                                            (3)

где hг - высота головы сваи, выступающей над поверхностью грунта.

Пользуясь формулой (2), можно заранее определить угол наклона сваи q и рассчитать необходимую величину погружения сваи с односторонним заострением.

Отношение v = l/b рекомендуется принимать в пределах 5 - 20.

ПРИЛОЖЕНИЕ 14

РАСЧЕТ СВАЙНЫХ ФУНДАМЕНТОВ МОСТОВ ПРОТИВ ГЛУБОКОГО СДВИГА

1. Расчет свайных фундаментов мостов против глубокого сдвига рекомендуется производить по круглоцилиндрическим поверхностям.

Радиус и положение оси наиболее опасной круглоцилиндрической поверхности скольжения при расчете определяют подбором. При этом поверхности скольжения могут назначаться как за пределами свай, так и пересекающими их (в зависимости от места расположения слоя слабого грунта).

Рис. 1. Схема расчета на глубокий сдвиг по круглоцилиндрическим поверхностям

2. Для произвольно принятой круглоцилиндрической поверхности скольжения радиусом R момент Мсд и предельный момент Мпр, взятые относительно оси этой поверхности (точки О на рис. 1), вычисляются по формулам1:

                                            (1)

                                        (2)

1 При определении предельного момента Mпр сопротивление свай скольжению грунта по круглоцилиндрической поверхности, пересекающей сваи, не учитывается.

где Gi - сила, равная сумме расчетного веса i-й части сползающего массива, заключенной между двумя вертикальными плоскостями и равнодействующей, расположенной в ее пределах внешней нагрузки. При поверхности скольжения, пересекающей сваи, в силу Gi не включается вес опоры и давление пролетного строения. Если поверхность скольжения в пределах i-го участка проходит по водопроницаемому слою (песку, супеси) или по границе водопроницаемого и водонепроницаемого слоев, то вес Gi следует определять с учетом взвешивания грунта, расположенного ниже уровня воды при расчетном паводке;

ri - плечо силы Gi относительно точки О (положительно при расположении силы Gi справа от вертикали, проходящей через точку О);

Т - расчетное значение горизонтальной силы, передаваемой сползающему массиву от торможения временной нагрузки в пролете. При наличии наклонных свай, пересекаемых поверхностью скольжения, принимает Т = 0;

rт - плечо силы Т относительно точки О;

ai - угол между вертикалью и радиусом, проведенным из точки О к точке пересечения силы Gi с круглоцилиндрической поверхностью скольжения;

ji и сi - расчетные значения угла внутреннего трения и удельного сцепления грунта, пересекаемого поверхностью скольжения в пределах i-го участка, определяемые в соответствии с требованиями п. 4.6 настоящего Руководства;

bi - средняя (условная) ширина поверхности сползания грунта в пределах i-го участка;

li - длина поверхности сползания грунта в пределах i-го участка;

ni - число участков, на которое сползающий массив разделен вертикальными плоскостями (рекомендуется принимать n ³ 8).

3. При определении ширины bi поверхности скольжения и весов отдельных участков сползающего массива поперечный разрез i-го участка принимается в соответствии с рис. 2, а (в случае устоя, поддерживающего насыпь) или рис. 2, б (в случае опоры, расположенной на крутом склоне). Через jсp на рис. 2 обозначено приведенное (средневзвешенное) расчетное значение угла внутреннего трения для грунтов выделенного участка сползающей части массива.

Рис. 2. Поперечный разрез участка сползающего массива

а - устоя, поддерживающего насыпь; б - опоры, расположенной на крутом склоне

Разбивку сползающего массива вертикальными плоскостями следует производить так, чтобы поверхность скольжения в пределах каждой выделенной части массива проходила по одному слою грунта.

4. Значения Мсд и Мпр следует определять для нескольких произвольно заданных цилиндрических поверхностей скольжения, различающихся положением точки О и значениями радиуса R. Эти значения должны удовлетворять условию

                                                       (3)

где тсд - коэффициент условий работы, принимаемый равным 1, если поверхность скольжения не пересекает сваи, и равным 1,1, если пересекает;

kн = 1,4 - коэффициент надежности.

ПРИЛОЖЕНИЕ 15

РАСЧЕТ СВАЙНЫХ ФУНДАМЕНТОВ ОПОР МОСТОВ

1. Свайные фундаменты опор мостов следует рассчитывать как пространственные конструкции.

Если фундаменты имеют вертикальную плоскость симметрии и внешняя нагрузка действует в этой плоскости, то расчеты фундаментов с жестким ростверком (как низким, так и высоким) допускается производить по плоской расчетной схеме согласно приводимым ниже указаниям.

Примечание. Плоской расчетной схемой свайного фундамента называется его проекция на плоскость действия внешней нагрузки.

2. Свайные фундаменты рассчитываются с использованием прямоугольной системы координат xOz (рис. 1). Ее начало совмещается с точкой О, расположенной в уровне подошвы ростверка. В случае симметричной плоской расчетной схемы фундамента эта точка принимается на вертикальной оси симметрии схемы; в случае несимметричной плоской расчетной схемы фундамента с одними вертикальными сваями1 - на вертикали, проходящей через центр тяжести поперечных сечений всех свай, а в остальных случаях - произвольно. Ось х горизонтальна и направлена вправо; ось z вертикальна и направлена вниз.

1 Здесь и далее так же, как и в приложении к главе СНиП II-17-77, под названием «свая» следует понимать сваю, сваю-оболочку и сваю-столб.

Рис. 1. Плоская расчетная схема свайного фундамента

3. Положение каждой (i-й) сваи на плоской расчетной схеме определяется координатой хi точки пересечения оси сваи с осью х и углом ji между осью сваи и вертикалью; угол ji положителен, когда ось сваи расположена справа от проведенной через ее голову вертикали (см. рис. 1).

4. Действующие на фундамент внешние нагрузки приводятся к точке О и раскладываются на силы Нх и Nф, направленные вдоль осей х и z соответственно, и момент Му относительно точки О. Силы Нх и Nф, положительны, когда их направления совпадают с положительными направлениями осей х и z соответственно; момент Му положителен, когда он действует по часовой стрелке (см. рис. 1).

Примечание. Силы Нх и Nф и момент My, приведенные к точке О, используются во всем расчете фундамента, за исключением определения усилий (изгибающих моментов и поперечных сил) в сечениях ростверка. Эти усилия следует определять с учетом фактической передачи усилий на ростверк от надфундаментной конструкции и от свай.

5. В общем случае поступательные смещения а и с подошвы ростверка в направлении осей х и z соответственно и угол b его поворота относительно точки О определяются в результате решения системы канонических уравнений:

                                               (1)

где rаа, rас ... rbb - коэффициенты канонических уравнений, определяемые согласно п. 6 настоящего приложения.

В случае симметричной плоской расчетной схемы фундамента, а также в случае несимметричной плоской расчетной схемы, но при наличии только вертикальных свай система уравнений (1) упрощается и ее решение может быть представлено в виде:

                                              (2)

где

                                                     (3)

Смещения a и с положительны, когда их направления совпадают с положительными направлениями осей х и z соответственно: угол b положителен, когда поворот ростверка вокруг точки О происходит по часовой стрелке.

Примечание. Определение величины вертикального перемещения с не исключает необходимости определения осадки основания фундамента как условного на естественном основании согласно указаниям пп. 4.5 и 7.1 главы СНиП II-17-77.

6. Величины rаа, rас ... rbb в общем случае расчета определяются по формулам:

                                                    (4)

ro = r1 - r2.                                                        (5)

где r1, r2, r3 и r4 - характеристики жесткости сваи, представляющие собой силы и моменты, передаваемые от сваи на ростверк при его единичных смещениях вдоль (рис. 2, а) и поперек (рис. 2, б) оси сваи, а также при его единичном повороте (рис. 2, в). Определяются согласно пп. 7 и 8 настоящего приложения;

ki - число свай в ряду, который на плоскую расчетную схему проектируется как одна (i-я) свая;

nоб - общее число свай в фундаменте;

r1, r2 и r3 - величины, определяющие в расчетах фундаментов с низким ростверком влияние сопротивления грунта, окружающего ростверк, на коэффициенты канонических уравнений.

Рис. 2. Схемы перемещения ростверка, соответствующие

а - силе r1; б - силе r2 и моменту r3; в - силе r3 и моменту r4

В формулах (4) знаки S означают суммирование по всем рядам свай (по всем п сваям на плоской расчетной схеме фундамента).

В частном случае, когда рассчитывается фундамент с одними вертикальными сваями, формулы (4) упрощаются и принимают вид:

                                                (6)

Величины r1, r2 и r3 определяются по формулам:

                                   (7)

где bп и hп - ширина (размер ростверка в направлении, перпендикулярном плоскости действия внешней нагрузки) и глубина заложения ростверка в грунте;

К - коэффициент пропорциональности, принимаемый в зависимости от вида грунта, окружающего ростверк, согласно п. 2 приложения к главе СНиП II-17-77 как для набивных свай, свай-оболочек и свай столбов.

Если размеры котлована в плане превышают размеры ростверка и не обеспечивается контроль за послойной укладкой и уплотнением обратной засыпки грунта, то в расчетах фундаментов с низким ростверком следует принимать, как и в расчетах фундаментов с высоким ростверком, r1 = 0, r2 = 0 и r3 = 0.

Примечание. При возможности размыва дна у опоры поверхность грунта следует принимать на отметке местного размыва при расчетном паводке.

7. Характеристику жесткости сваи r1 следует определять по формуле

                                                          (8)

где eбf - жесткость поперечного сечения сваи, определяемая согласно главе СНиП по проектированию мостов и труб;

lN - длина сжатия сваи.

Длину сжатия lN, м, следует определять по формулам:

при опирании набивных свай, свай-оболочек или свай-столбов на скалу и при опирании забивных свай на скалу, крупнообломочные грунты с песчаным заполнителем и глинистые грунты твердой консистенции

lN = lo + l;                                                      (9)

при опирании на нескальный грунт забивных свай

                                                       (10)

при опирании на нескальный грунт набивных свай, свай-оболочек или свай-столбов

                                                   (11)

где lо - длина участка сваи, м, расположенного выше поверхности грунта (в качестве lо допускается принимать расстояние по вертикали от подошвы ростверка до поверхности грунта); при низком ростверке lо = 0;

l - фактическая глубина погружения сваи (см. п. 3 приложения к главе СНиП II-17-77), м;

Ф - несущая способность сваи при работе на сжимающую нагрузку, тс, определяемая согласно указаниям п. 5.5 той же главы СНиП;

Сп - коэффициент постели грунта под подошвой набивной сваи, сваи-оболочки или сваи-столба, тс/м3;

Fп - площадь подошвы набивной сваи, сваи-оболочки или сваи-столба, м2, определяемая по диаметру их ствола, а при наличии уширенной пяты - по наибольшему диаметру уширения.

Коэффициент постели Сп, тс/м3, принимается равным

                                                         (12)

но не менее

                                                       (13)

где К - коэффициент пропорциональности, тс/м4, принимаемый в зависимости от вида грунта, расположенного под подошвой набивной сваи, сваи-оболочки или сваи-столба, согласно п. 2 приложения к указанной главе СНиП;

l1 - фактическая глубина погружения сваи в грунт, м, отсчитываемая и при высоком, и при низком ростверке от поверхности грунта;

dп - диаметр подошвы набивной сваи, сваи-оболочки или сваи-столба, м, принимаемый равным диаметру их ствола, а при наличии уширенной пяты - наибольшему диаметру уширения.

8. Характеристики жесткости сваи r2, r3 и r4 (см. п. 6 настоящего приложения) определяются по формулам:

;                                  (14)

где d1 и d3 - горизонтальное смещение и угол поворота сечения сваи (со свободным верхним концом) в уровне подошвы-ростверка от горизонтальной силы Н = 1, приложенной в том же уровне (рис. 3,а); d3 и d2 - то же, от момента М = 1 (рис. 3,б).

Рис. 3. Схемы перемещений свай со свободным верхним концом от действия

а - силы Н = 1; б - момента М = 1

Перемещения d1, d2 и d3 вычисляются по формулам:

                                       (15)

где dНН, dМН и dММ - перемещения сечения сваи в уровне поверхности грунта от единичных усилий, приложенных в том же уровне; определяются согласно указаниям п. 5 приложения к главе СНиП II-17-77.

Для фундамента с низким ростверком lo = 0, и, следовательно,

d1 = dНН; d3 = dМН; d2 = dММ                                             (16)

Если сваи оперты на нескальный грунт и имеют приведенную глубину погружения в грунт ³2,6 (см. п, 3 указанного приложения), то значения r2, r3 и r4 допускается определять по приближенным формулам:

                                    (17)

где lм - длина изгиба сваи, вычисляемая по формуле (16) приложения к главе СНиП II-17-77, в которой значение k2 следует принимать по табл. 3 этого приложения.

9. Продольная Ni и поперечная Hi нагрузки (в случае вертикальной сваи - вертикальная и горизонтальная нагрузки) и момент Mi, действующие в месте сопряжения с ростверком на каждую сваю ряда, который на плоскую расчетную схему проектируется как одна (i-я) свая, определяются по формулам:

                              (18)

Для вертикальных свай формулы (18) принимают вид:

N = r1(c + xi b); H = r2a + r3 b; M = r4b - r3 a.                             (19)

Усилия Ni, Hi и Мi положительны, когда они направлены соответственно вниз, вправо и по часовой стрелке (рис. 4).

Рис. 4. Положительные направления усилий, передаваемых от ростверка на сваю

10. Расчет сваи на совместное действие продольной Ni и поперечной Hi нагрузок и момента Мi (см. рис. 4) следует производить как для вертикальной сваи согласно указаниям приложения к главе СНиП II-17-77.

11. Если расчет фундамента производится с учетом сопротивления грунта перемещениям низкого ростверка (см. п. 6 настоящего приложения), то следует проверить выполнение условия

                                              (20)

где sп - горизонтальное давление на грунт, передаваемое ростверком на уровне его подошвы; определяется согласно п. 12 настоящего приложения;

h1 и h2 - коэффициенты, принимаемые согласно п. 6 приложения к главе СНиП II-17-77; при вычислении значения h2 по формуле [26 (15)] этого приложения следует принимать

hп - глубина заложения в грунте подошвы ростверка;

jI и gI - расчетные характеристики грунта, окружающего ростверк (угол внутреннего трения и объемный вес), определяемые с учетом указаний п. 6 приложения к главе СНиП II-17-77.

Примечание. Если давление sп не удовлетворяет условию (20), но при этом несущая способность свай по материалу недоиспользована и перемещения верха опоры меньше предельно допускаемых величин, рекомендуется в число внешних нагрузок включить силу

                                               (21)

приняв ее приложенной к передней грани ростверка на высоте hп/3 от его подошвы; здесь bп - ширина ростверка (см. п. 6 настоящего приложения).

На исправленные (в результате учета силы Нп) внешние нагрузки следует заново рассчитать фундамент, приняв r1 = 0, r2 = 0 и r3 = 0.

12. Горизонтальное давление на грунт, передаваемое ростверком на уровне его подошвы, определяется по формуле

sп = K hп a,                                                        (22)

где К, hп и а - те же величины, что и в формулах (1), (2) и (7) настоящего приложения.

Пример. Требуется определить продольную N и поперечную Н нагрузки и момент М, действующие в месте сопряжения с ростверком на каждую сваю, при следующих расчетных значениях внешних нагрузок на фундамент, приведенных к точке, расположенной в уровне подошвы ростверка на вертикальной оси симметрии фундамента: Nф = 990 тс; Нх = 48 тс и Му = 510 тс×м. Плоская расчетная схема фундамента и грунтовые условия показаны на рис. 5, а; план расположения свай в уровне подошвы ростверка приведен на рис. 5, б. Сваи железобетонные сечением 35´35 см; жесткости их поперечного сечения при сжатии и изгибе соответственно равны: EбF = 3,09×103 тс; EбI = 3,15×103 тс×м2.

Рис. 5. К примеру расчета свайного фундамента

а - его плоская расчетная схема; б - план расположения свай в уровне подошвы ростверка

Решение. В соответствии с п. 3 приложения к главе СНиП II-17-77 условная ширина сваи bc = 1,5d + 0,5 = 1,5 · 0,35 + 0,5 = 1,03 м.

Согласно п. 2 того же приложения, для мягкопластичного суглинка принимаем коэффициент пропорциональности

По табл. 2 приложения к главе СНиП находим, что значению

соответствует коэффициент деформации aд = 0,657 м-1.


Таблица

№ сваи на схеме

xi, м

sin ji

cos ji

a sin ji, м

xi b, м

c + xi b, м

(c + xi b)× ×cos ji, м

Гр. 5 - гр. 8, м

Ni=r1×(гр. 5 + гр. 8), тс

a cos ji, м

(c + xi b)× ×sin ji, м

Гр. 11 - гр. 12, м

r2×(гр. 11-гр. 12), тс

-r3×(гр. 11 - гр. 12), тс×м

Нi = гр. 14-r3b, тс

M = r1b + гр. 15, тс×м

1

2

3

4

5

6

7

8

9

10

11

12

13

14

15

16

17

1

-2,25

-0,242

0,97

-0,5387×10-3

-3,015×10-4

1,081×10-3

1,049×10-3

0,510×10-3

18,6

2,159×10-3

-0,2016×10-3

2,421×10-3

0,284

-0,944

0,232

-0,706

2

-2,25

0

1

0

-3,015×10-4

1,081×10-3

1,081×10-3

1,081×10-3

39,3

2,226×10-3

0

2,226×10-3

0,265

-0,868

0,213

-0,63

3

-0,75

0

1

0

-1,005×10-4

1,282×10-3

1,282×10-3

1,282×10-3

46,7

2,226×10-3

0

2,226×10-3

0,265

-0,868

0,213

-0,63

4

0,75

0

1

0

1,005×10-4

1,484×10-3

1,484×10-3

1,484×10-3

54

2,226×10-3

0

2,226×10-3

0,265

-0,868

0,213

-0,63

5

2,25

0

1

0

3,015×10-4

1,685×10-3

1,685×10-3

1,685×10-3

61,3

2,226×10-3

0

2,226×10-3

0,265

-0,868

0,213

-0,63

6

2,25

0,242

0,97

0,5387×10-3

3,015×10-4

1,685×10-3

1,634×10-3

2,173×10-3

79,1

2,159×10-3

0,4078×10-3

0,751×10-3

0,088

-0,343

0,036

-0,105


По формуле [7 (5)] указанного приложения определяем приведенную глубину погружения сваи в грунт:

Учитывая, что концы свай оперты на скалу (сланцы), по табл. 4 (2) приложения к главе СНиП принимаем Ао = 2,406; Bo = 1,568; Со = 1,707 и по формулам [19 (11)] - [21 (13)] этого приложения определяем перемещения сваи в уровне поверхности грунта от единичных усилий, приложенных в том же уровне:

По формулам (15) настоящего приложения определяем перемещения сечения сваи в уровне подошвы ростверка от единичных усилий, приложенных в том же уровне:

Определяем знаменатель в формулах (14)*, а затем по ним - характеристики жесткости свай r2, r3 и r4:

* Здесь и далее даются ссылки на формулы только настоящего приложения.

Так как свая оперта на скалу, длину сжатия сваи определяем по формуле (9) и затем по формуле (8) - характеристику жесткости сваи r1:

lN = 4 + 4,5 = 8,5 м;

По формулам (5) и (4) определяем коэффициенты канонических уравнений, учитывая, что

k1 = k6 = 3; k2 = k5 = 2; k3 = k4 = 5;

x1 = x2 = -2,25 м; x3 = -0,75 м;   x4 = 0,75 м;

x5 = x6 = 2,25 м;

j1 = - 14° (sinj1 = - 0,242; cosj1 = 0,97);

j2 = j3 = j4 = j5 = 0;

j6 = - 14° (sinj6 = 0,242; cosj6 = 0,97);

ro = 3,64×104 - 0,1169×103 = 3,63×104 тс/м;

raa = 3,63×104×3×0,2422×2 + 20×0,1169×103 = 1,51×104 тс/м;

rab = 3,63×104×3×2,25×1,242×0,97×2 -

- 0,3901×103(3×0,97×2 + 14×1) = 10,73×104 тс;

rcc = 3,63×104×(3×0,972×2 + 14×12) +20×0,1169×103 = 71,56×104 тс/м;

rbb = 3,63×104×(3×2,252×0,972 + 2×2,252×12 + 5×0,752×12)×2 + 0,1169×103(2,252 + 0,752)5×2 + 2×0,3901×103×3×2,25×0,242×2 + 20×1,779×103 = 202,3×104 тс/м;

Так как плоская расчётная схема фундамента имеет ось симметрии, то перемещения ростверка определяем, пользуясь формулами (3) и (2):

a = (202,3×104×48 - 10,73×104×48)×5,252×10-11 = 2,226×10-3 рад;

b = (1,51×104×510 - 10,73×104×48)×5,252×10-11 = 1,34×10-4 рад;

По формулам (18) находим значения продольной и поперечной нагрузок и момента, действующих в месте сопряжения с ростверком на каждую из свай. Все вычисления сводим в таблицу, в которой принято:

r3b = 0,3901×103×1,34×10-4 = 0,052 тс;

r4b = 1,779×103×1,34×10-4 = 0,238 тс×м;

Результаты расчета контролируем, проверяя выполнение условий равновесий ростверка:

Nф = Ski(Ni cosji - Hi sinji);

Hx = Ski(Ni sinji + Hi cosji);

My = Ski [(Ni cosji - Hi sinji)xi + Mi].

Убеждаемся, что эти равенства удовлетворяются:

Ski(Ni cosji - Hi sinji) = 3 (18,6×0,97 + 0,232×0,242) + 2×39,3 + 5×46,7 + 5×54 + 2×61,3 +

+ 3 (79,1×0,97 - 0,036×0,242) = 980 тс = Nф;

Ski(Ni sinji + Hi cosji) = 3(-18,6×0,242 + 0,232×0,97) + 2×(2 + 5)×0,213 +

+ 3(79,1×0,242 + 0,036×0,97) = 48 тс = Hx;

Ski [(Ni cosji - Hi sinji)xi + Mi] = 3 [(18,6×0,97 + 0,232×0,242) (-2,25) - 0,706] +

+ 2 [39,3 (-2,25) - 0,63] + 5 [46,7 (-0,75)-0,63] + 5(54×0,75 - 0,63) + 2 (61,3×2,25 - 0,63) +

+ 3 [(79,1×0,97 - 0,036×0,242) 2,25 - 0,105] = 510 тс×м = My.

СОДЕРЖАНИЕ

1. Общие положения. 2

2. Виды свай. 6

3. Требования к изысканиям.. 16

4. Основные указания по расчету. 21

5. Расчет свай, свай-оболочек и свай-столбов по несущей способности. 25

6. Определение несущей способности свай и свай-оболочек по результатам полевых исследований. 65

7. Расчет свайных фундаментов и их оснований по деформациям.. 79

8. Проектирование свайных фундаментов. 93

9. Особенности проектирования свайных фундаментов в просадочных грунтах. 109

10. Особенности проектирования и расчета свайных фундаментов в набухающих грунтах. 128

11. Особенности проектирования свайных фундаментов на подрабатываемых территориях. 132

12. Особенности проектирования свайных фундаментов в сейсмических районах. 157

13. Особенности проектирования свайных фундаментов опор воздушных линий электропередачи. 168

14. Особенности проектирования свайных фундаментов малоэтажных сельскохозяйственных зданий. 169

Приложение 1 Методические принципы технико-экономической оценки проектных решений свайных фундаментов. 197

Приложение 2 Определение модуля деформации грунтов е по результатам компрессионных испытаний. 199

Приложение 3 Определение состава и объема инженерных изысканий для проектирования фундаментов из висячих свай. 199

Приложение 4 Расчет несущей способности сваи-оболочки с грунтовым ядром с учетом сопротивления грунта на ее внутренней поверхности. 202

Приложение 5 Таблица для предварительной оценки расчетной нагрузки, допускаемой на забивные железобетонные сваи. 204

Приложение 6 Расчет осадок свайных фундаментов опор мостов. 210

Приложение 7 Расчет одиночных свай и свайных групп по деформациям.. 212

Приложение 8 Определение стабилизированных осадок свай по результатам их статических испытаний. 216

Приложение 9 Расчет железобетонных ленточных ростверков свайных фундаментов под кирпичные и крупноблочные стены.. 223

Приложение 10 Расчет железобетонных ленточных (балочных) ростверков свайных фундаментов под крупнопанельные стены.. 232

Приложение 11 Расчет железобетонных плитных ростверков свайных фундаментов под колонны зданий и сооружений. 237

Приложение 12 Особенности проектирования безростверковых свайных фундаментов крупнопанельных жилых домов. 241

Приложение 13 Расчет и проектирование фундаментов из коротких козловых свай. 245

Приложение 14 Расчет свайных фундаментов мостов против глубокого сдвига. 248

Приложение 15 Расчет свайных фундаментов опор мостов. 250

 

 



© 2013 Ёшкин Кот :-)