Информационная система
«Ёшкин Кот»

XXXecatmenu

ВЕДОМСТВЕННЫЕ СТРОИТЕЛЬНЫЕ НОРМЫ

УКАЗАНИЯ
ПО ОПРЕДЕЛЕНИЮ ГРУЗОПОДЪЕМНОСТИ
ДЕРЕВЯННЫХ МОСТОВ
С УЧЕТОМ ИХ ТЕХНИЧЕСКОГО СОСТОЯНИЯ

ВСН 12-73
МИНАВТОДОР РСФСР

МОСКВА 2000

 

В Указаниях изложены рекомендации по обследованию деревянных мостов, определению их грузоподъемности с учетом технического состояния, упрощенным испытаниям, пропуску единичных тяжелых нагрузок и временному усилению. Они предназначены для работников дорожно-эксплуатационной службы с целью оказания помощи в ускоренном определении грузоподъемности мостов и возможности пропуска по ним различных типов автомобилей, автопоездов и тракторов.

Указания разработаны дорожно-исследовательской лабораторией Воронежского инженерно-строительного института.

Указания составлены канд. техн. наук доц. В.А. Дементьевым, инж. Н.И. Сулиным и канд. физ.-мат. наук доц. О.Б. Иевлевой.

Замечания и дополнения к Указаниям следует направлять в Техническое управление Минавтодора РСФСР.

Рис. 25, табл. 21.

Министерство строительства и эксплуатации автомобильных дорог РСФСР

Ведомственные строительные нормы

ВСН 12-73

Указания по определению грузоподъемности деревянных мостов с учетом их технического состояния

I. ОБЩИЕ ПОЛОЖЕНИЯ

§ 1. На автомобильных дорогах РСФСР эксплуатируется большое количество деревянных мостов. Из-за гниения древесины и других дефектов многие из них потеряли свою проектную грузоподъемность. Ослабления скреплений и расстройства соединений и узлов могут быть устранены службой ремонта и содержания дорог. Загнивание же элементов без их замены устранить нельзя. Для таких мостов приходится ограничивать подвижную нагрузку.

Кроме того, за последние годы в СССР выпущено много новых автомобилей, автопоездов, колесных и гусеничных тракторов. Они эксплуатируются на дорогах, и работникам дорожно-эксплуатационной службы часто приходится решать вопрос о возможности их пропуска по тому или другому мосту.

Однако обоснованное и сравнительно быстрое определение допускаемой нагрузки для мостов с загниванием несущих элементов и другими дефектами в дорожно-эксплуатационных хозяйствах нередко встречает трудности.

В данных Указаниях изложена методика определения грузоподъемности деревянных мостов с учетом их технического состояния.

Разработанная методика проста и доступна линейным работникам службы ремонта и содержания дорог.

§ 2. Определение грузоподъемности моста состоит из трех этапов: 1) обследования моста; 2) определения грузоподъемности элементов моста; 3) испытания моста.

В отдельных случаях для больших и сложных мостов эти работы могут быть подробно выполнены мостоиспытательными станциями по индивидуальным программам.

Однако, как правило, определение грузоподъемности не только малых, средних, но и больших мостов должно производиться работниками дорожно-эксплуатационной службы по сокращенной программе.

Чтобы определить, какую нагрузку можно пропускать по мосту, необходимо его обследовать, выбрать худшие один пролет и одну опору и по простым формулам и таблицам определить, какие автомобили можно пропускать по мосту. В некоторых случаях бывает необходимо провести упрощенные испытания моста. Указанную работу могут быстро выполнить сами работники дорожно-эксплуатационной службы, пользуясь методикой данных Указаний.

 

Внесены дорожно-исследовательской лабораторией Воронежского инженерно-строительного института MB и СО РСФСР (ДИЛ ВИСИ)

Утверждены Министерством строительства и эксплуатации автомобильных дорог РСФСР 11 апреля 1973 г.

Срок введения
1 июня 1974 г.

 

§ 3. Указания содержат:

1) методику обследования мостов по сокращенной программе;

2) методику определения грузоподъемности мостов по формулам грузоподъемности отдельных элементов и таблицам;

3) методику упрощенных испытаний мостов;

4) рекомендации по пропуску единичных тяжелых нагрузок и временному усилению мостов;

5) приложения-таблицы, облегчающие вычисления.

§ 4. Приведенные в Указаниях примеры определения грузоподъемности и таблицы эквивалентных нагрузок предусматривают пропуск по мосту одной машины.

При двухполосном движении, когда на пролетном строении могут находиться одновременно два автомобиля, в формулы определения грузоподъемности ферм и сосредоточенных прогонов следует подставлять коэффициент поперечной установки, вычисленный для двух машин на мосту. При этом по ширине проезжей части автомобили должны быть установлены так, чтобы расстояние между бортами в свету оставалось не менее 10 см, а габариты машин не выступали за пределы проезжей части.

II. ОБСЛЕДОВАНИЕ ДЕРЕВЯННЫХ МОСТОВ

1. ОБСЛЕДОВАНИЕ ПРОЕЗЖЕЙ ЧАСТИ, ПРОЛЕТНЫХ СТРОЕНИЙ И ОПОР

§ 5. Для определения грузоподъемности моста необходимо, в первую очередь, произвести его обследование. Обследование производится с целью определения состояния моста, уточнения размеров и сечений его элементов, определения качества материала, возможных дефектов и повреждений в конструкции.

§ 6. Перед обследованием необходимо собрать и изучить весь имеющийся в дорожно-эксплуатационном предприятии по данному мосту материал проект, по которому строили мост, возможные отступления от проекта, акты скрытых работ, мостовую книгу, акты осмотров и т.п.

§ 7. Обследование производится старшим инженером, в помощь которому выделяется техник и двое рабочих. Для выполнения работ по обследованию указанная бригада должна быть укомплектована необходимыми инструментами и принадлежностями.

§ 8. Обследование моста производится путем: а) тщательного внешнего осмотра всех элементов; б) измерения пролетов, расстояний между элементами и их сечений; в) выявления загнивания элементов, изломов и трещин в несущих элементах, сколов во врубках, расстройств и ненормальностей работы узлов; г) составления схемы моста, поперечных разрезов и эскизных чертежей основных узлов; д) съемки плана и продольного профиля сооружения, которая производится только при значительных деформациях моста, влияющих на его грузоподъемность.

§ 9. Документом обследования является карта обследования моста и определения его грузоподъемности, которая состоит из четырех разделов: 1) общие сведения; 2) сведения о пролетных строениях и опорах; 3) сведения о техническом состоянии элементов моста и их грузоподъемности; 4) расчеты грузоподъемности элементов. Пример составления карты приводится в приложении 1.

§ 10. В разделе I карты обследования должна быть показана схема моста в масштабе 1:500 - 1:2000 с указанием профиля живого сечения реки.

В заголовке общей схемы указывают название реки и местонахождение моста на дороге.

На схеме моста указывают: номера опор, считая по ходу километража дороги; длину моста по настилу; величины расчетных пролетов моста; расстояние от горизонта воды до низа пролетных строений; наибольшую глубину воды в реке; ширину реки в межень; грунт дна и берегов.

В таблице с пояснениями к схеме моста указывают: данные о проезжей части моста (номера пролетов, тип проезжей части, техническое состояние); данные о пролетных строениях (номера пролетов, тип несущей части, материал, техническое состояние); данные об опорах (номера опор, тип конструкции, материал, техническое состояние); номера пролетов и опор, имеющих наихудшее техническое состояние, основные дефекты, снижающие их грузоподъемность; месторасположение и характер возможных объездов моста и наличие бродов.

§ 11. В разделе II карты обследования для простых балочных мостов должны быть показаны (приложение 1, форма 2):

схемы наихудших по техническому состоянию пролетных строений моста, отличающихся друг от друга по конструкции или по размерам (фасады и поперечные разрезы) в масштабе 1:100 - 1:200;

схемы наихудших по техническому состоянию и наиболее высоких опор, отличающихся друг от друга по конструкции или размерам (фасады и виды поперек моста) в масштабе 1:100 - 1:200;

чертежи отдельных деталей или узлов в масштабе 1:10 - 1:20.

На схемах должны быть обозначены номера пролетов и опор и приведены следующие данные:

а) по проезжей части: конструкция проезжей части; сечение верхнего настила; сечение нижнего настила; расстояние между поперечинами; сечение поперечин в отрубе;

б) по пролетному строению: конструкция пролетного строения; расчетный пролет; количество прогонов в поперечном сечении моста; расстояние между осями прогонов; сечение прогонов в середине пролета;

в) по опорам: конструкция опор; высота опоры (от грунта до низа пролетного строения); расстояние между осями свай по фасаду моста; расстояние между осями свай поперек моста; наличие и расположение горизонтальных и диагональных схваток; расстояние стыков свай до низа пролетных строений; диаметр свай в стыке и у насадки; сечение насадки на тонком конце; конструкция стыка свай.

§ 12. В разделе II карты обследования для деревянных мостов с фермами должны быть показаны (приложение 1, форма 3):

схемы наихудших по техническому состоянию пролетных строений, отличающихся друг от друга по конструкции или размерам (фасады и поперечные разрезы) в масштабе 1:200 - 1:500;

чертежи отдельных деталей или узлов в масштабе 1:10 - 1:20.

На схемах должны быть обозначены номера пролетов и опор и приведены следующие данные:

а) по настилу, поперечинам и прогонам те же сведения, что и по настилу, поперечинам и прогонам простых балочных мостов;

б) по поперечным балкам: конструкция поперечных балок; расчетный пролет балок; расстояние между осями поперечных балок вдоль моста; сечение балок в середине их пролета.

Для поперечных балок на шпонках или колодках составляют дополнительно чертеж, на котором указывают конструкцию и материал шпонок или колодок; размеры шпонок или колодок (длина, высота); расстояние между осями шпонок или колодок; глубину врубок;

в) по главным фермам: конструкция ферм; расчетный пролет ферм; количество ферм в поперечном сечении моста; расстояния между осями ферм; расчетная высота ферм в середине пролета; сечение нижнего пояса ферм в середине пролета; количество и величина панелей; сечение верхнего пояса ферм в середине пролета; сечение раскосов; сечение тяжей в фермах Гау-Журавского; наличие связей.

Дополнительно составляют чертеж стыка нижнего пояса, ближайшего к середине пролета, на котором указывают все элементы прикрепления, их размеры и расположение. Для сквозных ферм Гау-Журавского дополнительно составляют чертежи двух узлов (опорного и в пролете), на которых указывают все детали и их размеры;

г) по опорам те же сведения, что и для опор простых балочных мостов.

§ 13. При осмотре проезжей части должны быть определены степень износа дощатого настила, наличие изломов, надежность прикрепления досок верхнего настила, плотность опирания досок нижнего настила на поперечины или подуклонки. Нижние доски настила должны быть проверены на загнивание, для этого в трех - пяти местах вскрывают доски верхнего настила.

§ 14. При осмотре конструкции балочной клетки определяют состояние поперечин, прогонов, поперечных балок; плотность опирания элементов конструкции проезжей части друг на друга и на фермы; расположение стыков поперечин; состояние сопряжений в составных балках (колодки, шпонки, врубки и т.п.); состояние древесины (загнивание, недопустимые пороки, трещины, изломы); состояние болтовых и других соединений.

§ 15. При осмотре главных ферм (балок) и связей деревянных пролетных строений определяют общее состояние конструкций и наличие дефектов в их элементах, стыковых и узловых сопряжениях (скалывание древесины, разрывы, обмятия, искривления, зазоры, расстройства узлов); наличие загнивания древесины, недопустимых пороков; состояние болтовых, нагельных, гвоздевых, шпоночных и других соединений.

При определении состояния болтов и нагелей производится выборочное остукивание их в количестве не менее 10 % общего числа. Особенно тщательно должны быть осмотрены металлические тяжи ферм Гау-Журавского, стыки нижних поясов и узлы сопряжения раскосов с поясами. Проверку степени натяжения тяжей в фермах Гау-Журавского производят ударом молотка, покачиванием тяжей руками или пробным закручиванием гаек.

Кроме того, необходимо проверить плотность прикрепления связей и надежность их работы при пропуске по мосту временных нагрузок.

§ 16. При осмотре опор должно быть установлено их общее состояние, наличие механических повреждений (изломы свай, их загнивание и истирание, повреждение связей, расстройство обшивки); состояние сопряжений - неплотности во врубках, скалывание, смятие, состояние болтовых соединений, вертикальность стоек опор, надежность их соединения связями и работы под нагрузкой.

Перекосы опор определяют при помощи отвеса и уровня по насадкам. Величину местного размыва определяют промерами глубины воды вокруг опоры и на расстоянии 2 - 3 м от нее.

Особое внимание при осмотре опор должно быть обращено на состояние свай на уровне переменного увлажнения. В этих местах должны быть проверены на загнивание все сваи опор.

2. ОПРЕДЕЛЕНИЕ И УЧЕТ ЗАГНИВАНИЯ ЭЛЕМЕНТОВ МОСТА

§ 17. Загниванию древесина подвергается, в первую очередь, в местах возможного застаивания воды, переменного увлажнения и недостаточного проветривания конструкции. Наиболее вероятными местами нахождения гнили являются:

в настилах - места опирания верхнего настила на нижний и нижнего на поперечины;

Рис. 1. Загнивание поперечин

Рис. 2. Загнивание прогонов:

а - одноярусных; б - двухъярусных

Рис. 3. Загнивание свай в стыке:

I - зона гниения

Рис. 4. Загнивание свай:

а) в воде; б) в грунте; 1 - зона гниения, 2 - увлажненная зона

Рис. 5. Загнивание дощато-гвоздевой фермы

в поперечинах - места опирания на них нижнего настила (рис. 1);

в прогонах - места опирания на них поперечин (рис. 2) и места их опирания на насадки;

в насадках - места опирания на них прогонов и сопряжения со сваями (стойками);

в сваях (стойках) - места сопряжения с насадками, места прикрепления схваток, места сроста стоек со сваями (рис. 3), в зоне колебаний горизонта воды (рис. 4, а), на суходоле - у поверхности земли (рис. 4, б);

Рис. 6. Загнивание верхнего узла                    Рис. 7. Загнивание опорного узла

                                                                            фермы Гау-Журавского

в деревянных фермах - места опирания поперечных балок на фермы (рис. 5 и 6), узлы ферм (рис. 6, 7), стыки поясов (рис. 8), места прикрепления связей.

§ 18. Загнивание древесины устанавливают путем осмотра, простукивания, сверления буравом отверстия диаметром 1,0 - 1,5 см и прощупывания штырем-щупом.

§ 19. При осмотре обращают внимание на цвет, запах и структуру древесины. Коричневый или бурый цвет показывает, что древесина поражена гнилью. Загнившая древесина утрачивает приятный смолистый запах и приобретает запах гнили. Наличие на древесине продольных и поперечных трещин и легкого распада на мелкие куски характеризует злокачественную гниль, при которой пораженная древесина не только негодна, но и опасна для окружающих здоровых элементов.

§ 20. При здоровом лесе звук при ударе должен быть ясный и чистый. Глухой звук будет свидетельствовать о наличии гнили, при этом наружные слои древесины часто бывают здоровыми.

§ 21. При сверлении выход из-под бурава стружки желто-красного и коричневого цвета свидетельствует о поражении дерева гнилью. При обнаружении гнили дерево должно быть просверлено до появления здоровой стружки (белая или серая с запахом здорового леса), после чего замеряют глубину, пораженную гнилью.

§ 22. Сечение дерева, которое может быть принято за расчетное при учете поражения древесины гнилью, устанавливают следующим образом:

а) для бревен при загнивании по всему периметру - путем уменьшения их расчетного диаметра на удвоенную глубину загнивания (геометрические характеристики определяют по таблице приложения 2);

б) для бревен при одностороннем загнивании (см. рис. 2, а) - геометрические характеристики сечений определяют с учетом загнивания по таблице приложения 3;

в) для досок - путем уменьшения их размеров на величину загнивания;

г) для пластин при загнивании со стороны плоской грани - путем уменьшения их ширины на глубину загнивания.

3. ИНСТРУМЕНТАЛЬНЫЕ ИЗМЕРЕНИЯ И СЪЕМКИ

§ 23. К инструментальным измерениям и съемкам относятся: а) проверка размеров сооружения; б) проверка размеров сечений; в) проверка положения опор; г) съемка продольного профиля моста; д) съемка продольного профиля ферм; е) съемка плана моста и ферм.

§ 24. Для определения грузоподъемности мостов в большинстве случаев можно ограничиваться только проверкой размеров сооружения и сечений его элементов. Съемки продольного профиля и плана необходимо производить, когда пролетные строения или опоры моста имеют значительные деформации, влияющие на его грузоподъемность.

§ 25. Размеры моста и его элементов определяют двукратным измерением. При допустимых расхождениях за измеренную величину следует принимать среднее арифметическое значение из двух измерений. При недопустимых расхождениях производят повторные измерения.

Для одноименных элементов моста (например, прогонов, поперечин и т.п.) производят выборочное измерение трех элементов в пролете. За расчетный размер принимают среднее арифметическое значение.

§ 26. Точность измерений деревянных конструкций принимается: а) при проверке величины пролетов, панелей, размеров опор и длин элементов - 5 см; б) при проверке сечений элементов из круглого и пиленого леса - 1 см; в) при проверке расположения нагелей и болтов по длине элементов - 1 см; г) при проверке расположения нагелей и болтов по сечению - 0,5 см.

Проверка сечений металлических элементов, применяемых в деревянных мостах (болтов, тяжей, хомутов), производится с точностью до 1 мм.

§ 27. Продольные профили моста снимают у правого и левого колесоотбойных брусьев. Точки для нивелировки выбирают в середине каждого пролета и над опорами, а также во всех характерных местах изменения профиля.

§ 28. Съемку плана проезжей части моста производят в сечениях посередине каждого пролета и над опорами. При съемке фиксируют положение граней колесоотбойных брусьев относительно визирной линии, разбиваемой теодолитом по оси моста.

III. НОРМАТИВЫ ДЛЯ ОПРЕДЕЛЕНИЯ ГРУЗОПОДЪЕМНОСТИ МОСТОВ

§ 29. Грузоподъемность моста в целом характеризуется наименьшей грузоподъемностью отдельных его элементов.

§ 30. На грузоподъемность эксплуатируемых деревянных мостов влияют следующие дефекты: поражение древесины гнилью; сколы древесины по рабочим площадкам врубок, узловых подушек, шпонок, стыков; поперечные трещины и разрывы в растянутых и изгибаемых элементах; расстройства узлов и сопряжений элементов; повреждения и расстройства связей пролетных строений и перекосы главных ферм; недостаточное натяжение металлических тяжей в фермах Гау-Журавского, изломы свай и связей опор; подмывы и перекосы опор.

§ 31. Дефекты эксплуатируемых мостов можно разделить на легкоустранимые (ослабления скреплений, зазоры в узлах) и трудноустранимые (гниль, сколы, разрывы).

При определении грузоподъемности следует учитывать все дефекты, которые до пропуска по мосту нагрузки устранить не представляется возможным (загнивание элементов, сколы древесины по рабочим площадкам, поперечные трещины, трудноустранимые перекосы). Площади сечений и моменты сопротивления для таких элементов определяют с учетом уменьшения за счет гнили, трещин, ржавления. Определяют устойчивость конструкций при перекосах и дополнительные напряжения от эксцентриситета приложения нагрузки.

Все остальные дефекты - ослабления металлических тяжей и скрепляющих болтов, зазоры в узлах, расстройства связей, перекосы элементов - должны быть устранены перед пропуском нагрузки.

§ 32. Грузоподъемность деревянных мостов, согласно данным Указаниям, определяется по допускаемым нагрузкам. Для каждого несущего элемента моста заранее подсчитывают допускаемую подвижную нагрузку, действующую на проезжей части моста. Эту допускаемую нагрузку для элементов проезжей части (поперечин) определяют в виде сосредоточенной силы, которую затем сравнивают с давлениями на колесо различных марок автомобилей.

Для других несущих элементов (прогонов, главных ферм, опор) допускаемую нагрузку на проезжей части определяют в виде равномерно распределенной эквивалентной нагрузки (т/пог. м), которую сравнивают по таблицам приложений 5 или 6 с эквивалентными нагрузками для данной длины пролета от различных марок автомобилей. Затем в комплексе с проезжей частью решают, какие автомобили можно пропускать по мосту.

Допускаемую нагрузку определяют для нескольких основных несущих элементов (поперечин, прогонов, поясов, ферм, стыков, узлов, свай) и записывают в раздел III карты обследования моста.

Грузоподъемность моста в целом определяется элементом с наименьшей допускаемой нагрузкой.

Для определения допускаемых нагрузок в Указаниях приведены формулы, которые не требуют больших вычислений, поэтому грузоподъемность элементов моста можно определить быстро.

§ 33. Грузоподъемность всех элементов моста определяют по методике предельных состояний и нормативам технических условий проектирования железнодорожных, автодорожных и городских мостов и труб (СН 200-62).

§ 34. Расчетные сопротивления для древесины сосны принимают по табл. 1.

Таблица 1

Расчетные сопротивления древесины сосны

Виг напряженного состояния

Обозначение

Сопротивление, кгс/см2

Изгиб:

 

 

а) брусья, бревна

Rи

160

б) доски

Rи

140

Растяжение вдоль волокон

Rр

100

Сжатие и смятие вдоль волоком

Rс; Rсм

130

»      »    »      всей поверхности поперек волокон

Rс 90°; Rсм 90°

18

Смятие поперек волокон:

 

 

а) в лобовых врубках, шпонках и узловых подушках

-

32

б) в опорных плоскостях конструкции

-

23

в) под шайбами при углах смятия от 90 до 60°

-

40

Скалывание (наибольшее) вдоль волокон при изгибе

Rски

24

Скалывание (среднее по площадке) в соединениях на врубках и шпонках, учитываемое в пределах длины не более 10 глубин врезки и двух толщин брутто элемента:

 

 

 

 

 

 

вдоль волокон

Rск

16

поперек волокон

Rск 90°

8

§ 35. Расчетное сопротивление древесины смятию или складыванию под углом α к направлению волокон определяют по формуле

                                                    (1)

где R0 - расчетное сопротивление вдоль волокон; R90 - то же, поперек волокон.

§ 36. Для древесины других пород расчетные сопротивления следует принимать по табл. 1 с введением коэффициентов перехода согласно табл. 2.

Таблица 2

Коэффициенты перехода для древесины других пород

Наименование пород

Изгиб, сжатие, растяжение вдоль волокон

Сжатие и смятие поперек волокон

Скалывание

Коэффициент перехода

Ель

1,0

1,0

1,0

Лиственница

1,2

1,2

1,0

Кедр сибирский

0,9

0,9

0,9

Пихта

0,8

0,8

0,8

Дуб

1,3

2,0

1,3

Ясень, клен, граб

1,3

2,0

1,6

Бук

1,1

1,6

1,3

§ 37. Расчетное сопротивление на растяжение и сжатие, а на изгиб - для выполненных из бревен с сохранением естественной коничности мостов простых балочных систем и простых конструкций проезжей части мостов других систем допускается повышать на 20 %.

§ 38. Расчет элементов из бревен с сохранением естественной коничности производится с учетом сбега, принимаемого равным 1 см на 1 м длины бревна.

§ 39. Центрально сжатые цельные элементы, помимо проверки на прочность по площади нетто, проверяют на устойчивость. Расчетную площадь поперечного сечения принимают равной площади брутто, если ослабления не превышают 25 % последней, или же 4/3 площади нетто, если ослабления превышают 25 %.

При проверке устойчивости сжатых деревянных стержней коэффициент продольного изгиба φ принимают по табл. 3.

§ 40. Расчетную несущую способность на один срез сквозных цилиндрических нагелей определяют по формулам табл. 4 и принимают меньшей из трех условий:

1) смятия в средних элементах;

2) смятия в крайних элементах;

3) изгиба нагеля.

Таблица 3

Коэффициент продольного изгиба φ для центрально сжатых деревянных стержней

Коэффициент φ

Коэффициент φ

0

1,00

100

0,31

10

0,99

110

0,26

20

0,97

120

0,21

30

0,93

130

0,18

40

0,87

140

0,16

50

0,80

150

0,14

60

0,71

160

0,12

70

0,61

170

0,11

75

0,55

180

0,10

80

0,48

190

0,09

90

0,38

200

0,08

Примечание. λ - гибкость; l0 - свободная длина элемента, см; r - радиус инерции, см, определяемый:

а) для круглого сечения по формуле r = d/4; б) для прямоугольного сечения по формуле r = 0,29h, где d - диаметр, см; h - меньшая сторона прямоугольника, см.

Таблица 4

Расчетная несущая способность на один срез сквозного цилиндрического нагеля в соединениях элементов из сосны

Схема соединения

Расчетное условие

Расчетная несущая способность на один срез, кгс

стального цилиндрического нагеля

гвоздя

дубового цилиндрического нагеля

Симметричное

а) смятие в средних элементах

45 c d

45 с d

25 с d

б) смятие в крайних элементах

70 a d

70 а d

45 a d

Несимметричное

а) смятие во всех элементах равной толщины, а также в более толстых элементах односрезных соединений

30 с d

30 с d

17 с d

б) смятие в более тонких крайних элементах

70 a d

70 a d

45 а d

Симметричное или несимметричное

Изгиб сквозного нагеля

165d2 + 2a2, но не более 230d2

230d2 + a2, но не более 370d2

40d2 + 2a2, но не более 60d2

Примечание. d - диаметр нагеля, см; c - толщина средних, а также равных и более толстых элементов односрезных соединений, см; а - толщина крайних, а также более тонких элементов односрезных соединений, см.

Для глухих стальных нагелей несущую способность на один срез (в кгс) определяют по формуле

                                                                    (2)

где d - диаметр нагеля, см.

§ 41. Если усилие, передаваемое нагелем, направлено под углом α к волокнам элементов, расчетную несущую способность нагеля также определяют по формулам табл. 4, но полученные значения для условий смятия средних и крайних элементов умножают на коэффициент Ka по табл. 5, а для условий изгиба нагеля - на корень квадратный из этого коэффициента.

Таблица 5

Коэффициент Ka

Угол, град

Диаметр стальных нагелей, мм

Для дубовых нагелей

12

16

20

24

Ka

30

0,95

0,90

0,90

0,90

1,00

60

0,75

0,70

0,65

0,60

0,80

90

0,70

0,60

0,55

0,50

0,70

Примечание. Для гвоздей коэффициент Ka принимают равным единице независимо от угла направления усилия.

§ 42. Для металлических элементов деревянных мостов расчетные сопротивления принимают по табл. 6.

Расчетные сопротивления металла сварных швов принимают такие же, как для основного металла сварных элементов.

§ 43. Схемы подвижных нагрузок при определении грузоподъемности мостов принимают для реальных марок автомобилей и тракторов по справочникам и таблице приложения 7.

§ 44. При определении грузоподъемности мостов учитывают коэффициенты перегрузки п для постоянной и временной нагрузок, которые принимают:

Таблица 6

Расчетные сопротивления для Ст. 3 мост и Ст. 3

Вид напряженного состояния

Расчетное сопротивление, кгс/см2

Вид напряженного состояния

Расчетное сопротивление, кгс/см2

Растяжение и сжатие

1900

Срез основного металла

1140

Изгиб

2000

» заклепок

1330

 

 

Смятие заклепок

3325

1) для постоянных нагрузок от веса деревянных элементов моста и давления грунта - 1,2 и 0,9;

2) для подвижной временной нагрузки от автомобилей - 1,4;

3) для подвижной нагрузки от гусеничных и колесных тракторов и автопоездов с большегрузными прицепами - 1,1.

Коэффициент перегрузки для постоянных нагрузок принимают меньше единицы, когда возможное уменьшение собственного веса сооружения или давления земли является более невыгодным сочетанием.

§ 45. Вертикальные прогибы пролетных строений мостов от подвижной автомобильной нагрузки не должны превышать:

1) для деревянных ферм 1/300l;

2) для простых прогонов и элементов проезжей части 1/180l.

При пропуске по мостам гусеничных и колесных тракторов и автопоездов с большегрузными прицепами допускаемые величины прогибов увеличиваются на 20 %.

Расчетный модуль упругости древесины при определении прогибов только от временной нагрузки независимо от породы леса принимают 100000 кгс/см2.

§ 46. Для вычисления постоянной нагрузки принимают следующие объемные веса материалов в зависимости от породы деревьев:

Сосна, ель, кедр:

Непропитанные............................................................. 0,6 т/м3

пропитанные.................................................................. 0,7 »

Дуб, лиственница:

Непропитанные............................................................. 0,8 »

Пропитанные................................................................. 0,9 »

IV. ОПРЕДЕЛЕНИЕ ГРУЗОПОДЪЕМНОСТИ МОСТОВ

1. БАЛОЧНЫЕ МОСТЫ

§ 47. Грузоподъемность балочных мостов определяется главным образом несущей способностью прогонов. При большом давлении на колесо могут быть также перенапряжены поперечины и нижний настил. Большое загнивание свай и другие дефекты опор нередко являются причиной снижения грузоподъемности мостов.

Для балочных мостов необходимо, в первую очередь, проверить грузоподъемность прогонов в пролете с наихудшим техническим состоянием, затем в зависимости от состояния элементов и рода нагрузок - грузоподъемность поперечин, настила, опоры.

Определение грузоподъемности поперечин

§ 48. При нижнем поперечном настиле, уложенном на прогоны, поперечины как отдельный конструктивный элемент отсутствуют. Их заменяют элементы поперечного настила. При указанной конструкции отдельно производить расчет поперечин не требуется.

Когда проезжая часть состоит из двойного дощатого настила, уложенного на отдельные поперечины (рис. 9), для них делают самостоятельный расчет. При этом учитывают упругое распределение нагрузки нижним настилом, если стыки досок расположены вразбежку.

Рис. 9. Схема к расчету поперечин с учетом упругого распределения нагрузки

Коэффициент упругой передачи нагрузки для поперечин определяют по формуле

                                                                      (3)

где с - расстояние между осями поперечин, см; d - расстояние между осями прогонов, см; Iп - момент инерции поперечин, см4; Iн - момент инерции досок нижнего настила, воспринимающих давление колеса, см4 (обычно три или две доски).

В зависимости от соотношения жесткостей настила и поперечин давление колеса распределяется настилом на три или большее число поперечин.

Если kп ³  давление колеса распределяется на три поперечины (см. рис. 9). При этом наибольшее давление на среднюю поперечину P1 находят по формулам:

                                                                          (4)

                                                                     (5)

где P1 - давление на среднюю поперечину (над которой стоит груз); Рк - давление на колесо; α1 - коэффициент упругого распределения.

Если kп < , но ³ 0,055, давление колеса распределяется на пять поперечин. Наибольшее давление на среднюю поперечину P1 определят по формуле (4), а коэффициент находят по формуле

                                                             (6)

Постоянную нагрузку ввиду ее малости можно не учитывать. Грузоподъемность поперечин определяют по формуле

                                                          (7)

где Рк - допускаемое давление на колесо автомобиля или колесного трактора, кгс; W - момент сопротивления одной поперечины, определяемый по таблице приложения 2; d - расстояние между осями прогонов, см; α1 - коэффициент упругого распределения нагрузки, который определяется по таблице приложения 8 или по формулам (5) или (6); b0 - ширина обода колеса, см; Кп - коэффициент на породу леса; nвр - коэффициент перегрузки временной нагрузки.

Пример 1. Балочный мост имеет продольный двойной настил из досок: верхний - 5´20 см, нижний - 7´20 см. Настил уложен на поперечины диаметром 20 см, которые лежат на прогонах с расстоянием между их осями 61 см. Прогоны двухъярусные, расстояние между их осями - 100 см.

Обследованием установлено, что верхний настил изношен до 30 %, нижний имеет гниль на глубину до 1,5 см. Поперечины имеют вверху стес на глубину 1 см и загнивание сверху серповидного профиля на глубину 1,5 см (см. рис. 1), что вместе со стесом составляет глубину 2,5 см.

Все элементы моста сделаны из сосны. Стыки поперечин расположены вразбежку, поэтому их грузоподъемность определяем с учетом упругого распределения нагрузки нижним настилом.

По формуле (3) определяем коэффициент упругой передачи нагрузки для поперечин

где Iп = 4986 см4 - момент инерции поперечин, принятый с учетом одностороннего загнивания серповидного профиля на глубину 2,5 см по таблице приложения 3; Iн - момент инерции трех досок настила с учетом загнивания, на которые передается давление колеса,  см4.

Коэффициент упругой передачи kп = 10,68 > , следовательно, давление колеса передается на три поперечины.

Коэффициент упругого распределения α1 для вычисления давления на среднюю поперечину будет

Момент сопротивления поперечины диаметром 20 см с учетом одностороннего серповидного загнивания на толщину 2,5 см принимаем по таблице приложения 3:

Wп = 570 см3,

Грузоподъемность поперечины определяют по формуле (7)

 кгс = 4,85 тс.

Допускаемое давление на ось автомобиля будет 9,70 тс. Грузоподъемность поперечин обеспечивает эксплуатацию по мосту всех автомобилей, кроме МАЗ-200, МАЗ-525, МАЗ-530 и БелАЗ-540,

Определение грузоподъемности сближенных (разбросных) прогонов при автомобильной или колесной нагрузке

§ 49. Грузоподъемность прогонов определяют по допускаемой эквивалентной нагрузке. Сначала определяют допускаемую для прогонов равномерно распределенную эквивалентную нагрузку в тс/пог. м. Затем по таблице приложения 5 сравнивают эту нагрузку с эквивалентными нагрузками для различных марок автомобилей. По мосту могут пропускаться все автомобили, у которых эквивалентная нагрузка равна или меньше допускаемой для прогонов.

Если стыки поперечин расположены вразбежку, при определении грузоподъемности прогонов учитывают упругое распределение временной нагрузки поперечинами на прогоны. При пролете прогонов не более 7,50 м упругое распределение учитывается так же, как при расчете поперечин. Но при расчете прогонов нагрузка в поперечном направлении моста распределяется на прогоны от нескольких колес. Поэтому наиболее нагруженным может оказаться прогон не под колесом, а один из соседних b или с (рис. 10). Приходящиеся на прогоны давления от колес необходимо суммировать.

Рис. 10. Схема к расчету сближенных прогонов

Грузоподъемность прогонов проверяют в сечении по середине пролета. При этом учитывают также постоянную нагрузку от веса проезжей части и собственного веса прогона. Постоянную нагрузку на 1 пог. м прогона определяют по таблице приложения 9 путем умножения потребности леса на 1 м2 моста на расстояние между осями прогонов и его объемный вес.

Так же как при расчете поперечин, сначала определяют коэффициент упругой передачи нагрузки для прогонов по формуле

                                                               (8)

где d - расстояние между осями прогонов; Iпр - момент инерции прогона; l - расчетный пролет прогонов; Iп - момент инерции поперечин, воспринимающих давление колеса при автомобильной нагрузке (обычно двух или трех поперечин). В зависимости от соотношения жесткостей поперечин и прогонов давление может распределиться на три, пять или большее количество прогонов. Если kпр ³ , давление колеса распределяется на три прогона. Если kпр < , но ³ 0,055, давление распределяется на пять прогонов (см. рис. 10).

По величине коэффициента упругой передачи kпр и количеству прогонов, на которое распределяется давление, по таблице приложения 8 находят коэффициенты упругого распределения α1, α2 и α3. Индексы при коэффициентах α1, α2 и α3 соответствуют порядковым номерам давлений на прогоны от отдельных колес Р1, Р2 и Р3 (см. рис. 10).

Пользуясь коэффициентами упругого распределения а, вычисляют давления на прогоны от отдельных колес и суммарные давления по формулам (9):

                                 (9)

Из формулы (9) видно, что наиболее нагруженным является прогон, для которого суммарный коэффициент β будет максимальным. Поэтому по коэффициентам упругого распределения α и положению колес можно заранее определить наиболее нагруженный прогон, который принимают за расчетный.

Грузоподъемность прогонов определяют по формуле

                                                       (10)

где Рэ - допускаемая эквивалентная нагрузка на прогон, кгс/см; W - момент сопротивления прогона с учетом загнивания, см3; Кп - коэффициент на породу леса; q - постоянная нагрузка в кгс на 1 пог. см прогона от веса проезжей части и собственного веса прогона вычисляется по таблице приложения 9; l - расчетный пролет прогона, см; d - расстояние между осями прогонов, см; λ - плечо давления колеса, стоящего в промежутке между прогонами (см. рис. 10);  - максимальный суммарный коэффициент, на который следует умножить давление колеса, чтобы получить расчетное давление на прогон (см. формулы 9).

Пример 2. Балочный мост с габаритом 7 м имеет пролеты между осями свай 5,00, перекрытые одноярусными сближенными прогонами с расстоянием между осями 0,60 м. На прогоны уложен сплошной настил из пластин 20/2 см, а по нему продольный настил из досок 5´20 см.

Обследованием моста установлено, что наихудший пролет имеет загнивание нижнего настила сверху на глубину 1 см и одностороннее серповидное загнивание прогонов сверху на глубину 3 см. С учетом естественной коничности диаметр прогона в середине пролета 28 см.

При взаимно перпендикулярных настилах приближенно считается, что давление колеса верхним продольным настилом передается на две пластины. Таким образом, в упругом распределении нагрузки на прогоны участвуют две пластины. С учетом загнивания по таблице приложения 2 берем момент инерции двух пластин 19/2. Серповидное загнивание прогонов учитываем, беря момент инерции для них по таблице приложения 3.

По формуле (8) определяем коэффициент упругой передачи для прогонов

Коэффициент kпр = 0,159 меньше , но больше 0,055.

Следовательно, давление распределяется на пять прогонов.

По таблице приложения 8 для kпр = 0,159 находим значения коэффициентов упругого распределения a1 = 0,381, a2 = 0,260, a3 = 0,050. Ширину колеи автомобиля приближенно принимают равной 190 см. (Она должна соответствовать марке автомобилей, которые предполагается пропускать по мосту). Тогда λ = 50 см.

Определяем значения коэффициентов β:

Принимают βmax = 0,381.

Постоянную нагрузку от веса проезжей части и прогона определяют по таблице приложения 9:

q = V0γd = 0,27 · 0,6 · 0,6 = 0,097 т/м = 0,97 кг/см,

где V0 - потребность леса на 1 м2 моста, м3; γ - плотность древесины; d - расстояние между осями прогонов.

Грузоподъемность прогонов по формуле (10) будет

 кгс/см = 3,34 тс/м.

По таблице приложения 5 для пролета 5 м определяем, что при допускаемой эквивалентной нагрузке 3,34 тс/м по мосту можно эксплуатировать колесные тракторы К-700, автомобили КАЗ, Урал, МАЗ-502 и меньшей грузоподъемности.

Определение грузоподъемности сближенных прогонов при гусеничной нагрузке

§ 50. При гусеничной нагрузке (рис. 11) грузоподъемность сближенных прогонов удобнее определять путем проверки прочности прогонов на пропуск конкретной машины. Тем более, что на практике обычно приходится решать вопрос о возможности пропуска по мосту не нескольких разных нагрузок, а одной с конкретной расчетной схемой.

Рис. 11. Схема гусеничной нагрузки

Прочность сближенных прогонов на пропуск гусеничной нагрузки проверяется по формуле

                               (11)

где σ - напряжение в прогоне от гусеничной нагрузки, кгс/см2; q - постоянная нагрузка в кгс на 1 пог. см; l - расчетный пролет прогона, см; Рг - равномерно распределенная нагрузка от давления одной гусеницы в кгс на 1 пог. см ее длины; d - расстояние между осями прогонов поперек моста, см; bг - ширина гусеницы, см; α1 и α2 - коэффициенты упругого распределения давления гусеницы, которые определяют по таблицам приложений 10 или 11 в зависимости от числа прогонов, на которые передается давление и от отношений:

сг - опорная длина гусеницы, см; kпр - коэффициент упругой передачи для прогонов, определяемый по формуле (8), при этом момент инерции поперечин берется для такого их количества, которое находится на прогоне под нагрузкой гусеницы; R - расчетное сопротивление древесины, определяемое по табл. 1 § 34 с учетом коэффициентов по табл. 2 § 36.

Пример 3. Для балочного моста с пролетами по 5 м, описанного в примере 2, требуется определить возможность пропуска трактора Т-180Г с навесным плугом ПН-8-35.

С учетом естественной коничности прогоны в середине пролета имеют расчетный диаметр 28 см с серповидным загниванием сверху на глубину 3 см. Расстояние между осями прогонов 60 см. Поперечины из пластин 20/2 имеют загнивание сверху на глубину 1 см.

По приложению 7 для трактора Т-180Г находим Рг = 3,88 тс/м, сг = 232 см, bг = 70 см.

Давление гусеницы передается на

 поперечин.

Коэффициент упругой передачи будет

kпр = 0,0265 < 0,055, следовательно, давление передается на семь прогонов. Приближенно принимаем передачу на пять прогонов:

;

По таблице приложения 11 находим коэффициенты упругого распределения

α1 = 0,0206, α2 = 0,0175.

По формуле (11) определяем напряжение в наиболее нагруженном прогоне:

= 150,1 кгс/см2 < R =192 кгс/см2,

R = 160 · 1,2 = 192 кгс/см2.

Напряжение в прогоне менее расчетного сопротивления для древесины. Следовательно, трактор Т-180Г по мосту пропускать можно.

Определение грузоподъемности сосредоточенных прогонов при автомобильной или колесной нагрузке

§ 51. Сосредоточенные прогоны располагаются на значительном расстоянии друг от друга (1,20 - 1,80 м), упругое распределение сосредоточенной нагрузки проезжей частью невелико, поэтому оно не учитывается.

Распределение временной нагрузки между прогонами учитывается коэффициентом поперечной установки, который показывает, какая часть давления оси передается на расчетный прогон. Коэффициент поперечной установки определяется в предположении разрезанности поперечин над прогонами по закону рычага.

Так же как при сближенных прогонах, при определении грузоподъемности сосредоточенных прогонов сначала по формуле вычисляют допускаемую эквивалентную нагрузку, а затем по приложению 5 определяют марки автомобилей, которые можно пропускать по мосту.

Колея грузовых отечественных автомобилей Е (рис. 12) колеблется от 174 до 240 см. Она, как правило, больше расстояния между осями прогонов. Поэтому второе колесо при допущении разрезанности поперечин на расчетный прогон А не влияет. Следовательно, при одном автомобиле на мосту (рис. 12, а) коэффициент поперечной установки будет равен 0,5.

Рис. 12. Схемы к определению коэффициента поперечной установки автомобильной нагрузки для сосредоточенных прогонов:

а - один автомобиль на мосту; б - два автомобиля на мосту

При двух автомобилях на мосту (рис. 12, б) коэффициент поперечной установки определяют по формуле

                                                         (12)

где λ1 и λ2 - расстояния от соседних прогонов до колес, стоящих между этими прогонами и расчетным прогоном (см. рис. 12, б).

Грузоподъемность прогонов при автомобильной и колесной нагрузках определяют по формуле

                                                        (13)

где Рэ - допускаемая эквивалентная нагрузка на прогон, кгс/см; W - момент сопротивления прогона, см3; q - постоянная нагрузка от веса проезжей части и собственного веса прогона, кгс/см; l - расчетный пролет прогона, см; Ка - коэффициент поперечной установки; nвр - коэффициент перегрузки временной нагрузки.

Пример 4. Балочный мост с трехъярусными прогонами имеет расчетные пролеты по 6,5 м. Расстояние между осями прогонов равно 1,40 м. Прогоны из лиственницы имеют диаметр в середине пролета 29 см. Верхнее бревно имеет сверху серповидное загнивание на глубину 4 см, снизу - стес шириной 1/3 диаметра; среднее бревно имеет такие же стесы сверху и снизу; нижнее бревно имеет стес только сверху.

По таблицам приложения 2 и 3 определяют суммарный момент сопротивления прогона с учетом загнивания и стесов

W = 1670 + 2386 + 2340 = 6402 см3.

Здесь для верхнего бревна момент инерции взят по таблице приближенно без учета стеса внизу.

Постоянную нагрузку на прогон определяют по приложению 9:

q = Vγd = 0,59 · 0,8 · 1,40 = 0,66 тс/м = 6,6 кгс/см.

По формуле (13) определяем допускаемую эквивалентную нагрузку на прогон

 кгс/см = 2,87 тс/м.

По таблице приложения 5 находим, что при указанной допускаемой эквивалентной нагрузке можно эксплуатировать по мосту автомобили МАЗ-205, МАЗ-503, ЛАЗ-699А, все автомобили КАЗ, Урал и меньшей грузоподъемности.

Определение грузоподъемности сосредоточенных прогонов при гусеничной нагрузке

§ 52. При гусеничной нагрузке грузоподъемность сосредоточенных прогонов определяют путем проверки прочности прогонов на пропуск конкретной машины.

Сначала определяют коэффициент поперечной установки гусеничной нагрузки по формуле (рис. 13):

                                                        (14)

где Kг - коэффициент поперечной установки гусеничной нагрузки; bг - ширина гусеницы; d1 и d2 - расстояния между осями прогонов.

Рис. 13. Схема к определению коэффициента поперечной установки гусеничной нагрузки для сосредоточенных прогонов

При опорной длине гусеницы сг больше или равной пролету напряжения в прогоне проверяют по формуле

                                            (15)

где Рг - давление в кгс на 1 см от одной гусеницы; Кг - коэффициент поперечной установки гусеничной нагрузки.

При опорной длине гусеницы сг меньше пролета напряжения в прогоне проверяют по формуле

                                (16)

где сг - опорная длина гусеницы, см.

Остальные обозначения указаны выше.

Пример 5. Для балочного моста, описанного в примере 4, требуется определить возможность пропуска трактора Т-180 по условию прочности прогонов. Трактор Т-180 имеет общий вес 15,6 тс; опорную длину гусеницы сг = 2,32 м; давление на 1 пог. см одной гусеницы Рг = 33,6 кгс/см; ширину гусеницы bг = 0,70 м.

В предыдущем примере определена постоянная нагрузка q = 6,6 кгс/см и момент сопротивления трехъярусного прогона с учетом загнивания W = 6402 см3.

Коэффициент поперечной установки гусеничной нагрузки по формуле (14) будет

Опорная длина гусеницы сг = 2,32 м меньше пролета, равного 6,5 м. Поэтому напряжение в прогоне проверяется по формуле (16):

= 222 кгс/см2 = R = 231 кгс/см2,

R = 160 · 1,2 · 1,2 = 231 кгс/см2.

При определении расчетного сопротивления учтены коэффициенты 1,2 на породу леса (лиственницу) и простоту конструкции 1,2 согласно § 36 и 37.

Напряжение в прогоне меньше расчетного сопротивления. Поэтому трактор Т-180 пропускать по мосту можно.

Определение грузоподъемности составных прогонов при автомобильной или колесной нагрузке

§ 53. Грузоподъемность составных прогонов определяют так же, как сосредоточенных прогонов, но момент сопротивления берут для составного сечения с учетом коэффициента составности. Кроме прочности на изгиб, грузоподъемность составных прогонов определяется условиями прочности на скалывание колодок или шпонок, а также условиями прочности на скалывание и смятие бревна или бруса между колодками или шпонками.

При определении момента сопротивления сечения, площадок скалывания и смятия учитывают загнивание элементов и трещины по рабочим площадкам.

Если по плоскостям скалывания будет обнаружено значительное количество трещин, гниль и сильные обмятия в гнездах колодок, грузоподъемность составных прогонов определяют как грузоподъемность сосредоточенных с учетом ослабления их колодками (шпонками).

А. Грузоподъемность составных прогонов по условию прочности на изгиб определяют по формуле

                                                      (17)

где Рэ - допускаемая эквивалентная нагрузка, кгс/см; W - момент сопротивления составного сечения прогона, см3, определяемый по формулам приложения 4; η - коэффициент составности, который согласно СН 200-62 принимают:

Для двухъярусных балок пролетом до 6 м

η = 0,85

Для двухъярусных балок пролетом до 9 м и более

η = 0,90

Для трехъярусных балок пролетом до 6 м

η = 0,80

Для трехъярусных балок пролетом до 9 м и более

η = 0,85

Остальные обозначения указаны выше. Числовой коэффициент формулы (17) учитывает коэффициент 0,9 согласно п. 5 примечаний § 602 СН 200-62.

Б. Грузоподъемность составных прогонов по условию прочности на скалывание колодок или шпонок определяют по формуле

                                             (18)

где Н0 - плечо внутренней пары составного сечения в см, определяют по формулам приложения 4; пк - количество колодок или шпонок на длине половины пролета; bк - ширина колодки или шпонки, см (рис. 14); ак - длина колодки или шпонки.

Рис. 14. Прогон составного сечения на колодках

Числовой коэффициент формулы (18) учитывает коэффициент условий работы 0,8 согласно табл. 67 § 633 СН 200-62.

В. Грузоподъемность составных прогонов по условию смятия бревна или бруса колодками определяют по формуле

                                             (19)

где Fсм - площадь смятия бревна или бруса одной колодкой (определяют по глубине врезки колодки в бревно, см. рис. 14).

Г. Грузоподъемность составных прогонов по условию скалывания бревна или бруса между колодками определяют по формуле

                                              (20)

где ас - расстояние между колодками, см, у опор (см. рис. 14); bс - ширина площадки скалывания бревна или бруса между колодками (см. рис. 14); пк - количество колодок или шпонок на длине половины пролета.

Числовой коэффициент формулы (20) учитывает коэффициент условий работы 0,8 согласно табл. 67 § 633 СН 200-62.

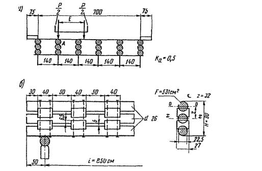
Пример 6. Балочный мост с трехъярусными составными прогонами имеет пролеты по 8,5 м. Расстояние между осями прогонов 1,4 м. Составные прогоны изготовлены из сосновых бревен диаметром 26 см, соединенных дубовыми колодками и болтами (рис. 15). По длине пролета колодки расположены на равных расстояниях по 90 см между их осями. Длина промежутков между торцами колодок составляет 50 см, глубина врезок колодок в бревна - 6,5 см.

Бревна и колодки загниваний древесины и обмятий не имеют, но на расстоянии 2,50 м от опоры нижнее бревно расчетного прогона в промежутке между колодками имеет почти сквозную трещину по площадке скалывания.

Определяем постоянную нагрузку на прогон:

q = V0γd = 0,62 · 0,6 · 1,40 = 0,52 тс/м = 5,2 кгс/см.

По формулам приложения 4 определяем момент сопротивления составного сечения прогона.

Момент инерции относительно оси х - х (см. рис. 15):

 см4;

 см3.

Коэффициент составности принимаем 0,85.

А. Грузоподъемность составного прогона по условию прочности на изгиб.

= 40,8 кгс/см - 4,08 тс/м.

Б. Грузоподъемность составного прогона по условию прочности на скалывание колодок. Плечо внутренней пары составного сечения определяем по формуле приложения 4:

По чертежу обследования моста (см. рис. 15) длина колодок aк = 40 см, ширина колодок bк = 27 см, их количество на длине полупролета nк = 4.

Колодки изготовлены из дуба, поэтому коэффициент на породу леса при скалывании будет 1,3.

Допускаемую эквивалентную нагрузку определяем по формуле (18):

= 42,6 кгс/см = 4,26 тс/м.

В. Грузоподъемность прогонов по условию смятия бревна колодками. При глубине врезки колодок 6,5 см в бревно диаметром 26 см площадь сегмента, подвергающаяся смятию, равна 104 см2.

Рис. 15. К примеру определения грузоподъемности составных прогонов:

a - невыгоднейшая установка одного автомобиля для прогона А; б - конструкция составного прогона

Допускаемая эквивалентная нагрузка

30,1 кгс/см = 3,01 тс/м.

Г. Грузоподъемность прогонов по условию скалывания бревна между колодками.

Расстояние между колодками ac = 50 см, ширина врубки (хорды) bс = 22,5 см (см. рис. 15).

На расстоянии 2,5 м от опоры в промежутке между шпонками бревно прогона имеет трещину по площадке скалывания. Этот участок в работе бревна на скалывание не учитываем. Поэтому количество колодок в формуле (20) уменьшаем до 3.

Допускаемая эквивалентная нагрузка будет

= 22,2 кгс/см = 2,22 тс/м.

Грузоподъемность составного прогона определяется условием скалывания бревна с трещиной, так как при этом допускаемая нагрузка получилась наименьшая 2,22 тс/м. По таблице приложения 5 для пролета 8,5 м находим, что при указанной эквивалентной нагрузке по мосту можно пропускать автомобили ЗИЛ, ЛАЗ, МАЗ-205. Нельзя пропускать автомобили МАЗ-200 и более тяжелые.

2. ОПОРЫ БАЛОЧНЫХ МОСТОВ

Определение грузоподъемности свайных опор балочных мостов

§ 54. Опоры деревянных мостов чаще всего имеют загнивание свай на уровнях изменения горизонтов воды, при сопряжении насадок со сваями и в местах опирания прогонов на насадки. При сближенных прогонах грузоподъемность опоры определяется прочностью насадки на изгиб, смятием насадки при сопряжении со сваями, прочностью свай на сжатие с учетом продольного изгиба и несущей способностью свай по грунту.

При определении грузоподъемности опор сначала определяют допускаемую эквивалентную нагрузку, по которой, пользуясь таблицей приложения 5, определяют марки автомобилей или тракторов, которые можно пропускать по мосту.

А. Определение грузоподъемности опоры по условию прочности насадки на изгиб. Наиболее опасным является сечение насадки при сопряжении ее со сваей, так как в этом сечении большой опорный изгибающий момент, насадка ослаблена врубкой и часто имеет загнивание.

Грузоподъемность опоры по условию прочности насадки на изгиб в сечении над сваей определяют по формуле

                                                 (21)

где Рэ - допускаемая для опоры эквивалентная нагрузка при загружении двух смежных пролетов, кгс/см; W - момент сопротивления насадки в сечении над сваей с учетом загнивания и ослабления врубкой, см3; Кп - коэффициент на породу леса; l - расчетный пролет пролетного строения, см; ∑ω - сумма площадей участков линии влияния момента в насадке над сваей (рис. 16) берется из таблицы приложения 12 или 13; ∑z - сумма ординат под продольными рядами колес линии влияния момента в насадке над сваей (см. рис. 16) берется из таблицы приложения 12 или 13; q0 - постоянная нагрузка в кгс на 1 см2 площади моста от веса пролетного строения и проезжей части; nвр - коэффициент перегрузки временной нагрузки.

Рис. 16 Схемы к определению усилий в свайной опоре:

а - схема опоры; б - линия влияния изгибающего момента Мв в насадке; в - линия влияния давления на сваю В

Б. Определение грузоподъемности опоры по условию прочности насадки на смятие. При сопряжении сваи с насадкой последняя работает на смятие поперек волокон. Расчетное напряжение древесины на смятие волокон в 4 - 5 раз меньше сжатия и изгиба вдоль волокон. Площадь смятия в сопряжении бывает небольшая, поэтому эта проверка необходима.

Грузоподъемность опоры по условию прочности насадки на смятие определяют по формуле

                                                (22)

где Fсм - площадь смятия насадки при сопряжении со сваей, см2; ∑ω - сумма площадей участков линии влияния давления на сваю (см. рис. 16) берется из таблицы приложения 12 или 13; ∑z - сумма ординат под продольными рядами колес линии влияния давления на сваю (см. рис. 16) берется из таблицы приложения 12 или 13.

Остальные обозначения указаны выше.

В. Определение грузоподъемности опоры по условию прочности свай или стоек на сжатие с продольным изгибом. Сваи чаще всего загнивают на уровне меженных вод, где рабочее сечение значительно уменьшается. Кроме того, сечение сваи бывает ослаблено в стыке.

Грузоподъемность опоры по условию прочности свай или стоек на сжатие с учетом продольного изгиба определяют по формуле

                                               (23)

где φ - коэффициент продольного изгиба, который принимают по табл. 3 § 39; F - площадь сечения сваи или стойки, см2, которую принимают без учета ослаблений, если они не превышают 25 %. Если ослабления превышают 25 %, то принимают условную площадь F = Fн, где Fн - площадь ослабленного сечения.

Г. Определение грузоподъемности опоры по условию прочности свай на сжатие по ослабленному сечению. В старых мостах с большим загниванием свай на уровне меженных вод может оказаться более опасной работа свай на сжатие в ослабленном сечении без учета продольного изгиба.

Грузоподъемность опоры в этом случае определяют по формуле

                                                (24)

Пример 7. Балочный мост со сближенными прогонами имеет расчетные пролеты по 5,50 м. Опоры однорядные из пяти свай, сосновые, расстояние между сваями поперек моста - 1,50 м, диаметр свай - 24 см, диаметр насадки - 28 см. Глубина воды в межень у опоры - 1,00 м, на высоте 0,5 м от межени расположены стыки свай вполдерева, высота стоек опор от стыка до низа насадки - 3,80 м. Насадка соединена со сваями посредством врубок и шипов 6´6 см, глубина врубки в насадку составляет 4,5 см (рис. 17). Сваи связаны на уровне стыков горизонтальной схваткой и диагональными схватками.

Обследованием моста установлено, что сваи на уровне межени имеют загнивание по всему периметру на глубину 3 см. Выше межени сваи, схватка и насадка загниваний не имеют.

Рис. 17. К примеру определения грузоподъемности свайной опоры:

а - схема опоры; б - деталь конструкции узла В сопряжения насадки со сваей

По мосту предполагается эксплуатировать автомобили МАЗ-503 с колеей 190 см.

Грузоподъемность опоры по условию прочности насадки на изгиб в сечении над сваей определяем по формуле (21):

= 29,6 кгс/см = 2,96 тс/м,

где W = 1640 см3 - момент сопротивления насадки в узле В определен по таблице приложения 2 с учетом врубки и гнезда под шип; q0 - постоянная нагрузка на 1 см2 проезжей части моста определяется по таблице приложения 9:

q0 = 0,30 · 0,6 = 0,18 тс/м2 = 0,018 кгс/см2.

Грузоподъемность опоры по условию прочности насадки на смятие определяем по формуле (22):

= 24,7 кгс/см = 2,47 тс/м,

где Fсм = 346 см2 - площадь смятия насадки при сопряжении ее со сваей шипом будет (см. рис. 17);

Fсм = 452 - 2 ´ 41 - 36 = 346 см2.

Площадь сваи с учетом загнивания по всему периметру на глубину 3 см определяем путем уменьшения ее диаметра на 6 см.

Fн = 254 см2.

Ослабление сваи загниванием составляет больше 25 %, поэтому в расчете на сжатие с продольным изгибом принимаем условную площадь

 см2.

Грузоподъемность опоры по условию прочности свай на сжатие с учетом продольного изгиба определяем по формуле (23):

= 75,8 кгс/см = 7,58 тс/м,

где φ = 0,680 принят по табл. 3 § 39.

Грузоподъемность опоры по условию работы свай на сжатие по ослабленному сечению определяем по формуле (24):

= 84,1 кгс/см = 8,41 тс/м.

Грузоподъемность опоры определяется наименьшей допускаемой эквивалентной нагрузкой, полученной 2,47 тс/м из условий работы насадки на смятие.

В таблице эквивалентных нагрузок приложения 5 при определении грузоподъемности опор необходимо пролет брать удвоенный, так как давление на опору передается с двух смежных пролетов. Расчетные формулы (21 - 24) выведены для линии влияния с длиной загружения, равной двум пролетам. Но в формулы пролет подставляется обычный.

Из таблицы приложения 5 видно, что при пролете (длине загружения) 2 ´ 5,5 = 11 м для автомобиля МАЗ-503 эквивалентная нагрузка составляет 2,05 тс/м. Она меньше допускаемой, равной 2,47 тс/м. Следовательно, автомобили МАЗ-503 по мосту пропускать можно.

3. МОСТЫ С ФЕРМАМИ

Определение грузоподъемности пролетных строений с дощато-гвоздевыми фермами

§ 55. При пролетных строениях с дощато-гвоздевыми фермами сначала определяют грузоподъемность поперечин, затем главных ферм. Грузоподъемность поперечин определяют так же, как в балочных мостах (см. § 48).

Дощато-гвоздевые фермы имеют большое количество швов, в которых может задерживаться влага и пыль. Условия проветривания недостаточные, поэтому эти фермы часто подвергаются загниванию, особенно в условиях теплого и влажного климата. В вертикальных швах загнивают пояса, стыковые накладки, стенка.

Грузоподъемность дощато-гвоздевых ферм определяется из условий прочности: нижнего пояса в ослабленном сечении; нижнего пояса в середине пролета; стыка нижнего пояса.

Невыгоднейшее расположение для расчетной фермы подвижной нагрузки поперек моста учитывают коэффициентом поперечной установки. Для автомобильной нагрузки величину коэффициента поперечной установки определяют:

при одном автомобиле на мосту (рис. 18, а) по формуле

                                                             (25)

Рис. 18. Схемы к определению коэффициента поперечной установки для ферм:

а - один автомобиль на мосту; б - два автомобиля на мосту

при двух автомобилях на мосту (рис. 18, б) по формуле

                                                         (26)

где d - расстояние между осями ферм; λ - расстояние соседних колес от смежных ферм; Е - колея автомобиля, который намечается пропускать по мосту.

При определении грузоподъемности сначала определяют допускаемую нагрузку, а по ней марки автомобилей, которые можно пропускать по мосту.

A. Грузоподъемность дощато-гвоздевых ферм по условию прочности нижнего пояса в ослабленном сечении. Сечение пояса по длине пролета выбирают с наибольшим загниванием или другими дефектами. Грузоподъемность нижнего пояса в сечении на расстоянии х от опоры определяют по формуле

                                              (27)

где Рэ - допускаемая эквивалентная нагрузка, кгс/см; Fн - площадь сечения нижнего пояса, см2, с учетом ослабления и загнивания; h - расчетная высота фермы (расстояние между осями поясов), см; q - постоянная нагрузка на 1 см главной фермы, кгс; l - расчетный пролет главной фермы, см; Ка - коэффициент поперечной установки автомобильной нагрузки, определяемый по формуле (25) или (26); х - расстояние от опоры до сечения пояса или стыка с наибольшим загниванием, см.

Б. Грузоподъемность дощато-гвоздевых ферм по условию прочности нижнего пояса в середине пролета. Кроме ослабленного сечения, нижний пояс фермы необходимо проверять на прочность в середине пролета. Грузоподъемность нижнего пояса в середине пролета удобно определять по формуле

                                                       (28)

B. Грузоподъемность дощато-гвоздевых ферм по условию прочности стыка нижнего пояса. Стык по длине пролета выбирают с наибольшим загниванием или другими дефектами, влияющими на его прочность, но ближе к середине пролета. В дощато-гвоздевых фермах стыки нижнего пояса делают на гвоздях или нагелях. Обычно стыком перекрывается только часть досок пояса, а остальные стыкуются в другом сечении. На стык должна передаваться та часть полного усилия пояса, которая соответствует перекрываемой стыком площади пояса. Грузоподъемность стыка нижнего пояса определяют по формуле

                                          (29)

где Рэ - допускаемая эквивалентная нагрузка по условию прочности стыка, кгс/см; Тн - расчетная несущая способность одного среза нагеля или гвоздя, кгс, определяемая согласно указаниям § 40 и 41 с учетом коэффициента на породу леса; mс - количество срезов одного нагеля; тн - количество нагелей в полунакладке; μ - коэффициент, который показывает, какая часть полного усилия пояса должна передаваться на стык.

Коэффициент μ равен отношению площади сечения досок, перекрываемых стыком, к полному сечению пояса.

Определение грузоподъемности узловых поперечных балок в мостах с решетчатыми фермами

§ 56. Проезжая часть в мостах с решетчатыми пролетными строениями (например, Гау-Журавского) опирается на поперечные балки, которые располагаются в узлах ферм. При определении их грузоподъемности необходимо учитывать продольную невыгоднейшую установку подвижной временной нагрузки, при которой рассчитываемая балка будет испытывать наибольшее давление. На рис. 19 показаны невыгоднейшие продольные установки автомобильной и гусеничной нагрузок для узловой поперечной балки А. Балку А выбирают с наибольшим загниванием. Грузоподъемность определяют по прочности на изгиб в середине пролета с наибольшим расстоянием между главными фермами.

Рис. 19. Схемы к определению наибольшего давления на узловую поперечину в мостах с решетчатыми фермами:

а - схема невыгоднейшей установки автомобиля для поперечной балки А; б - загружение линии влияния давления на балку А автомобильной нагрузкой; в - загружение линии влияния давления на балку А гусеничной нагрузкой

А. Автомобильная или колесная нагрузка при езде поверху. При автомобильной или колесной нагрузке грузоподъемность узловых поперечных балок определяется по формуле

                                                       (30)

где d - расстояние между осями главных ферм, см (берется наибольшее); ап - длина панелей главной фермы, см.

Б. Гусеничная нагрузка при езде поверху. При гусеничной нагрузке грузоподъемность узловых поперечных балок определяется путем проверки прочности балок на пропуск конкретной машины.

При опорной длине гусеницы сг £ 2ап напряжения в узловых балках проверяют по формуле

                               (31)

где Рг - давление от одной гусеницы, кгс, на 1 пог. см ее длины; сг - опорная длина гусеницы, см; bг - ширина гусеницы, см.

При опорной длине гусеницы сг > 2ап напряжения в узловых балках проверяют по формуле

                                             (32)

Определение грузоподъемности пролетных строений с фермами Гау-Журавского

§ 57. При определении грузоподъемности пролетных строений с фермами Гау-Журавского сначала определяют грузоподъемность элементов проезжей части (поперечин, прогонов, узловых поперечных балок), а затем грузоподъемность главных ферм.

Фермы Гау-Журавского подвергаются загниванию в стыках поясов, в узлах сопряжения раскосов с поясами, в местах прикрепления связей. Кроме загнивания, снижение грузоподъемности ферм может происходить за счет сколов и трещин по рабочим площадкам в шпоночных стыках нижнего пояса, в зубьях узловых подушек. Металлические тяжи подвергаются коррозии, и рабочее сечение их уменьшается.

Грузоподъемность ферм Гау-Журавского обычно определяется прочностью следующих элементов: 1) нижнего пояса в ославленном сечении; 2) нижнего пояса в середине пролета; 3) стыков нижнего пояса; 4) узловых подушек на скалывание; 5) узловых подушек на смятие; 6) металлических тяжей.

Невыгоднейшее расположение для расчетной фермы подвижной нагрузки поперек моста учитывается коэффициентом поперечной установки. Для автомобильной нагрузки величина коэффициента поперечной установки определяется по формуле (25) или (26) § 55.

Грузоподъемность ферм Гау-Журавского по условию прочности нижнего пояса в ослабленном сечении определяют по формуле

                                              (27a)

где х - расстояние от опоры до верхнего наиболее удаленного от опоры узла данной панели (рис. 20).

Остальные обозначения формулы (27а) указаны в § 55.

Грузоподъемность ферм Гау-Журавского по условию прочности нижнего пояса в середине пролета определяют по формуле

                                                  (28 а)

Грузоподъемность ферм Гау-Журавского по условию прочности древесины на скалывание между шпонками в стыке нижнего пояса определяют по формуле

                                             (33)

где Fск - суммарная площадь скалывания древесины между шпонками в полунакладках стыка, см2; μ - коэффициент, который показывает, какая часть полного усилия пояса должна передаваться на стык.

Рис. 20. Схема к определению усилий в ферме Гау-Журавского

В числовом коэффициенте формулы 33) учтен коэффициент условий работы 0,7 согласно § 633 СН 200-62.

Грузоподъемность ферм Гау-Журавского по условию прочности металлических накладок стыка нижнего пояса определяют по формуле

                                            (34)

где Fм - суммарная площадь сечения металлических накладок стыка с учетом ослаблений отверстиями для болтов и коррозией, см2.

Если стыки нижнего пояса в фермах Гау-Журавского перекрыты не металлическими шпоночными накладками, а деревянными на нагелях, то грузоподъемность стыка определяют по формуле (29) § 55.

Грузоподъемность фермы Гау-Журавского по условию прочности подушки или пояса в опорном узле на скалывание определяют по формуле

                                 (35)

где Fск - площадь скалывания зубьев подушки или пояса в опорном узле, см2; α - угол наклона опорного раскоса к горизонту (см. рис. 20); Rск - расчетное сопротивление древесины сосны скалыванию, определяемое по табл. 1 § 34; тск - коэффициент условий работы на скалывание, который принимают равным 0,8 для подушек с двумя зубьями и равным единице для подушек с одним зубом.

Грузоподъемность фермы Гау-Журавского по условию прочности подушки или пояса в опорном узле на смятие определяют по формуле

                              (36)

где Rсм - расчетное сопротивление древесины сосны смятию, определяемое по табл. 1 § 34; Fсм - площадь смятия зубьев подушки или пояса в опорном узле, см2.

Грузоподъемность ферм Гау-Журавского по условию прочности металлических тяжей определяют по формуле

                               (37)

где х - расстояние от расчетного тяжа до ближайшей опоры (см. рис. 20); Fт - площадь сечения тяжа с учетом ослаблений резьбой и коррозией.

V. УПРОЩЕННЫЕ ИСПЫТАНИЯ МОСТОВ, ПРОПУСК ЕДИНИЧНЫХ ТЯЖЕЛЫХ НАГРУЗОК И РЕКОМЕНДАЦИИ ПО УСИЛЕНИЮ

1. УПРОЩЕННЫЕ ИСПЫТАНИЯ МОСТОВ

§ 58. Испытания мостов производятся с целью выяснения их работы под нагрузкой, особенно элементов конструкции, имеющих различные дефекты, влияние которых трудно учесть при определении грузоподъемности теоретическим методом.

§ 59. Дорожно-эксплуатационные организации производят упрощенные испытания мостов, которые должны дополнять данные обследования мостов и ускоренного определения их грузоподъемности по формулам данных Указаний.

Для испытания выбирают по одному пролету от каждого типа пролетных строений моста, одинаковых по конструкции и равных по величине. Испытанию подвергаются пролетные строения с наихудшим техническим состоянием.

§ 60. В процессе упрощенных испытаний балочных мостов и мостов с фермами производят: определение прогибов в середине пролета всех ферм (прогонов); измерение смещений и обмятий в интенсивно работающих соединениях с дефектами (стыках, врубках, узлах); определение осадок опор; наблюдения за деформациями пролетных строений в горизонтальной плоскости; наблюдения за работой элементов конструкции с дефектами и выяснение влияния последних на грузоподъемность моста.

§ 61. При упрощенном испытании для измерения деформаций могут быть использованы следующие инструменты: для измерения прогибов - прецизионный нивелир с точностью до 0,1 мм или обычный нивелир с точностью до 1 мм; для измерения горизонтальных деформаций пролетных строений и опор - теодолит для измерения смещений, сдвигов и обмятий - штангенциркуль с нониусом.

§ 62. Перед измерением прогибов производят выбор мест для установки нивелира и прикрепления реек. Расстояние от нивелира до нивелируемых точек должно быть не более 75 м. Рейки прибивают строго по вертикали к основным элементам конструкции (поясам ферм, прогонам).

Рис. 21. Схемы прикрепления реек для измерения прогибов при помощи нивелира:

а - в пролете балочного моста; б - в пролете моста с фермами; 1 - рейка

Прикрепление реек к второстепенным элементам конструкции (связям, схваткам, подкосам, распоркам), а также к элементам, испытывающим местные деформации (узловым подушкам, подгаечникам, раскосам), не допускается. На рис. 21 показано прикрепление реек для измерения прогибов в балочных мостах и мостах с фермами Гау-Журавского.

Рейки могут быть изготовлены из брусков сечением 5´5 см и закрепленной на них миллиметровой бумаги.

Нивелировать желательно с одной стоянки инструмента, устанавливая нивелир за пределами испытываемой конструкции на неподвижном основании. Особенно удобно измерять прогибы береговых пролетных строений. Нивелир в этом случае устанавливают на берегу или откосе конуса. Не следует устанавливать нивелир на деревянной опоре или проезжей части моста, так как они при загружении моста временной нагрузкой деформируются и искажают результаты испытания.

§ 63. При измерении прогибов в пролетных строениях на постоянных и низких свайных опорах (не выше 3 м) деформации опор можно не измерять, так как они будут небольшими. В пролетных строениях на высоких свайных, рамных или ряжевых опорах осадка опор может сильно отразиться на величине прогиба, поэтому ее необходимо измерять и учитывать. Для этого рейки прикрепляют как можно ближе к центру опорного узла.

§ 64. В поперечном сечении пролетного строения прогибы измеряют во всех фермах или прогонах. Это дает возможность узнать, как фактически распределяется временная нагрузка между отдельными балками и уточнить расчет.

§ 65. Для измерения смещений в стыках и узлах по обе стороны от места ожидаемой деформации забивают гвозди и расстояние между ними в процессе испытания измеряют штангенциркулем.

§ 66. Измерения горизонтальных деформаций верхних поясов из плоскости ферм производят теодолитом. Визирная ось должна проходить параллельно продольной оси пояса на расстоянии 0,5 - 1 м. Наблюдения ведутся по рейкам, прикрепленным к поясу.

§ 67. В качестве нагрузки для статического испытания моста могут быть использованы автомобили, тракторы, катки, которые могут в испытываемом мосту создать такие же усилия, как от заданной нагрузки. Но целесообразнее использовать в качестве испытательной нагрузки автомобиль той марки, которую предполагается эксплуатировать по мосту.

Вес нагрузки, применяемой для испытания, должен быть определен перед испытанием путем взвешивания на автомобильных или вагонных весах. При отсутствии возможности взвешивания всей нагрузки на весах можно определить вес автомобиля по каталогу, а вес грунта в кузове путем тщательного обмера или взвешивания по частям.

§ 68. Марка автомобиля и вес нагрузки для испытания должны назначаться после предварительного определения грузоподъемности по формулам данных Указаний.

§ 69. На проезжей части моста необходимо произвести предварительную разметку продольного и поперечного расположения испытательной нагрузки.

Максимальным усилиям в элементах моста соответствует такая установка одного автомобиля, при которой: а) продольный ряд колес располагается над осью фермы или одним из средних прогонов; б) задняя ось располагается над серединой пролета (установка, соответствующая максимальному усилию в прогонах); в) задняя ось располагается над опорой (установка, соответствующая максимальным усилиям в элементах опоры).

§ 70. Надвигать нагрузку в пролет следует с малой скоростью, следя за работой узлов и соединений. Над серединой пролета и над опорами следует делать остановки. Нагрузку выдерживают 10 - 15 мин и берут отсчеты по рейкам. После снятия нагрузки или передвижки ее в новое положение также делают выдержку 10 - 15 мин и берут отсчеты без нагрузки.

Каждую установку нагрузки и отсчеты по рейкам необходимо производить дважды. Затем нагрузку следует пропускать со скоростью, допускаемой при эксплуатации моста.

Перед проведением испытаний необходимо подсчитать теоретические прогибы для фермы или прогонов от испытательной нагрузки. В процессе испытания сравнивают полученные результаты с теоретическими.

§ 71. Отсчеты по рейкам, а также результаты измерений смещений в узлах и соединениях заносят в журнал, в котором отмечают причины скачков, скорость движения нагрузки, продолжительность отдельных циклов испытания, состояние погоды.

Максимальные, упругие и остаточные значения прогибов в середине пролета (рис. 22) определяют по формулам:

максимальный прогиб

                                                   (38)

остаточный прогиб

                                                   (39)

упругий прогиб

                                                     (40)

где f1 - суммарный прогиб (без учета осадки опор); f2 - суммарный остаточный прогиб (без учета остаточной осадки опор); ∆1 и ∆2 - максимальная осадка опор (упругая + остаточная); ∆'1 и ∆'2 - остаточная осадка опор.

Рис. 22. Схема к определению максимального, остаточного и упругого прогибов

Оценка результатов испытания производится сравнением измеренных прогибов с теоретическими, подсчитанными по формулам строительной механики от испытательной нагрузки. Статической характеристикой жесткости ферм и балок является конструктивный коэффициент, получаемый как отношение упругого измеренного прогиба к теоретическому, подсчитанному от испытательной нагрузки

                                                             (41)

Для решетчатых ферм коэффициент φ находится в пределах 0,9 - 1,1, для балок 0,7 - 0,8.

Оценка жесткости пролетных строений может также производиться путем сравнения измеренных упругих прогибов с допускаемыми, указанными в § 45.

§ 72. После испытания все конструкции моста должна быть тщательно осмотрены с целью установления дефектов, которые могут появиться в узлах, стыках и других элементах при испытаниях. Кроме того, необходимо измерить ранее отмеченные дефекты и определить, не увеличились ли они.

§ 73. Мост считается выдержавшим испытание, если не будет обнаружено:

в балочных мостах - вновь появившихся трещин в прогонах, поперечинах и других несущих элементах; скалывания древесины и сильных обмятий во врубках и сопряжениях; расшатанных сопряжений; перекосов опор и выпучивания стоек или свай;

в мостах с фермами - выпучивания сжатых элементов (верхних поясов, раскосов, стоек, опорных рам); разрывов растянутых элементов (нижних поясов, стыковых накладок, тяжей); расстройства стыков, узлов и других соединений; сколов древесины и сильных обмятий; перекосов опор и выпучивания свай; превышения полученных при испытании упругих прогибов над допускаемыми.

§ 74. Старые мосты с большими дефектами, грузоподъемность которых определить расчетом затруднительно, можно испытывать пробной нагрузкой. Пробную нагрузку назначают равной ориентировочной грузоподъемности моста, определенной приближенным расчетом.

Испытания начинают с пропуска по мосту с малой скоростью и остановками над серединами пролетов и опорами нагрузки, равной половине веса пробной. Постепенно вес пропускаемой нагрузки увеличивают, добавляя 1/10 веса пробной нагрузки. При каждом увеличении нагрузки и пропуске ее по мосту внимательно следят за работой элементов конструкции, прогибами и другими деформациями.

При нормальной работе элементов конструкции и отсутствии недопустимых деформаций вес пропускаемой нагрузки доводят до полного веса пробной нагрузки. Пробную нагрузку полного веса пропускают по мосту 4 раза: первые 2 раза - с малой скоростью и остановками, вторые 2 раза - со скоростью, допускаемой при эксплуатации моста.

2. ПРОПУСК ЕДИНИЧНЫХ ТЯЖЕЛЫХ НАГРУЗОК

§ 75. При эксплуатации мостов часто возникает необходимость пропуска по ним единичных тяжелых нагрузок: автопоездов с неделимыми грузами (экскаваторами, трансформаторами), тяжелых гусеничных тракторов и т.п. Деревянные мосты имеют небольшой собственный вес пролетных строений, поэтому увеличение временной нагрузки оказывает большое влияние на усилия в элементах. Для пропуска тяжелых нагрузок деревянные мосты часто требуется усиливать или создавать для этого специальные условия.

§ 76. По мостам, находящимся в удовлетворительном состоянии, фактическая грузоподъемность которых соответствует проектной расчетной нагрузке, можно безопасно пропускать единичные тяжелые нагрузки, указанные в табл. 7.

§ 77. Все автомобили, у которых давление на ось больше, чем указано в табл. 7, прицепы большой грузоподъемности и прочие тяжелые колесные и гусеничные нагрузки, вызывающие опасения, могут пропускаться по мосту только после предварительной проверки расчетом согласно данным Указаниям и по письменному разрешению главного инженера управления дороги. В разрешении необходимо указывать условия движения нагрузки по мосту.

После каждого пропуска единичной тяжелой нагрузки необходимо тщательно осмотреть все узлы и соединения элементов, обращая особое внимание на более слабые элементы конструкции.

§ 78. Безопасность пропуска единичных тяжелых нагрузок без усиления моста во многих случаях можно достигнуть путем создания специальных условий движения по мосту. К таким условиям относятся:

1) более выгодное расположение нагрузки поперек моста.

Если наиболее слабыми элементами являются главные фермы или прогоны, колеса нагрузки следует размещать между ними так, чтобы нагрузка распределялась на возможно большое количество ферм, а коэффициент поперечной установки был минимальным. Перед пропуском нагрузки линии движения колес на проезжей части следует разметить или сделать нашивку специальных колей.

Если слабыми элементами являются поперечные балки, что часто бывает при езде понизу, то нагрузку следует пропускать возможно ближе к ферме.

Целесообразное размещение нагрузки поперек моста должно определяться на основании расчета;

2) уменьшение динамического эффекта при пропуске нагрузки, которое достигается путем ремонта верхнего настила и создания более ровной проезжей части, ликвидации толчков при сопряжении моста с насыпями и уменьшения скорости движения до 5 км/ч;

Таблица 7

Тяжелые единичные нагрузки, которые безопасно можно пропускать по мостам

По проекту мост рассчитан на нагрузки

Отдельные колесные машины или тягачи с трейлерами

Отдельные гусеничные машины

Общий вес, тс

Наибольшее давление на ось, тс

Наименьшее расстояние между осами при наибольшем давлении, м

Общий вес, тс

Наибольшее давление, тс/пог. м

Н-8 и НГ-30

30

7,6

1,0

30

3,75

Н-8 и НГ-60

60

7,6

0,6

60

6,00

Н-10 и НГ-30

30

9,5

1,3

30

3,75

Н-10 и ГН-60

60

9,5

1,0

60

6,00

H-13 и НГ-60

60

12,3

1,2

60

6,00

3) запрещение при пропуске единичных тяжелых нагрузок всех видов движения по мосту, в том числе и пешеходного;

4) проведение эксплуатационных мероприятий по улучшению состояния моста и надежности работы его элементов под нагрузкой (подтяжка всех поковок, замена поломанных элементов, ликвидация неплотностей в соединениях, подклинка слабоработающих элементов).

§ 79. Если в результате обследования моста окажется, что его грузоподъемность не обеспечивает пропуск заданных нагрузок и это нельзя осуществить путем создания специальных условий движения, то необходимо решить вопрос о временном усилении моста или переводе движения на объезд.

3. КРАТКИЕ РЕКОМЕНДАЦИИ ПО ВРЕМЕННОМУ УСИЛЕНИЮ МОСТОВ

§ 80. Усиление настила производят укладкой сверху колей из досок или жердей. Колеи устраивают шириной 1,0 м, расстояние между ними в свету принимают 1,0 м. Стык досок или жердей делают вразбежку.

Однако если настил сильно изношен или имеет большое загнивание, вместо усиления его целесообразнее заменить новым.

§ 81. Усиление поперечин производят путем укладки поверх существующего настила продольных колей из досок, брусьев или бревен, как указано в § 80. Продольные колеи повышают жесткость настила и увеличивают грузоподъемность поперечин.

§ 82. Усиление прогонов балочных мостов производится следующими способами: укладкой поверх настила колей из брусьев или бревен; подведением дополнительных промежуточных опор; превращением двухъярусных прогонов в составные путем соединения бревен досками на гвоздях.

Укладка поверх существующего настила колеи из брусьев или бревен позволяет одновременно произвести усиление прогонов, поперечин и настила. Для включения в работу всех бревен колеи на них укладывают поперечный и продольный настилы или бревна сплачивают горизонтальными болтами и штырями.

В поперечном сечении каждой колеи укладывают четыре - пять бревен или брусьев. Бревна колеи окантовывают на два канта шириной, равной одной трети диаметра. Длину бревен принимают равной длине пролета. Стыки колей располагают над осями опор.

В колее из бревен с настилом поперечный настил устраивают из досок толщиной 6 см, на который укладывают продольный настил из досок толщиной 4 см. Доски настила крепят к бревнам гвоздями.

При усилении балочных мостов подведением дополнительных опор в середине каждого пролета устанавливают раму. Между насадкой дополнительной опоры и прогонами оставляют зазор 10 - 12 см, в который забивают парные клинья под каждый прогон. После пропуска нескольких нагрузок клинья подбивают и закрепляют гвоздями.

§ 83. В опорах обычно усиливают насадки и иногда сваи опор. При недостаточной поперечной жесткости опоры ставят дополнительные схватки или укосины. Насадки усиливают: постановкой парных брусьев, которые по бокам врубаются в сваи, и подклинкой насадки в серединах пролетов между сваями; постановкой между существующими сваями дополнительных стоек и подклинкой над ними насадки.

Диаметр дополнительных стоек принимают равным диаметру свай, с которыми их скрепляют горизонтальными и диагональными схватками.

При недостаточной грузоподъемности или плохом состоянии свай их усиление производят путем постановки дополнительных рам с каждой стороны существующей опоры. Между насадками дополнительных рам и прогонами (подбалками) забивают парные клинья, которые крепят гвоздями. Рамы расшивают горизонтальными и диагональными схватками.

При перекосах опор, возникающих от неравномерной осадки, производят их усиление постановкой дополнительной сваи или стойки с просевшей стороны и подклиниванием насадки.

§ 84. Усиление дощато-гвоздевых ферм производят: подведением дополнительных опор; подведением металлических шпренгелей; постановкой дополнительных накладок в стыках.

Подведение дополнительных опор применяют в случае недостаточной грузоподъемности поясов ферм или стыков поясов. При этом над временными опорами на дощатые фермы ставят дополнительные парные ребра жесткости.

При невозможности постановки дополнительных опор дощато-гвоздевые фермы усиливают шпренгелями, которые делают из круглой стали или пучков высокопрочной проволоки.

§ 85. Усиление ферм Гау-Журавского производят: увеличением площади сечения поясов; постановкой дополнительных накладок в стыках; постановкой дополнительных тяжей; увеличением площади скалывания и смятия врубок узловых подушек; подведением дополнительных опор; подведением металлических шпренгелей.

Нижние пояса ферм могут быть усилены стальными тяжами, которые закрепляются в соседних, менее напряженных панелях. Тяжами могут быть усилены стыки нижнего пояса, стыки верхнего и нижнего поясов усиливают также дополнительными накладками.

Грузоподъемность узловых подушек повышают путем прикрепления к поясу коротышей, которые расклинивают с подушками.

Усиление на продольный изгиб раскосов в плоскости ферм производят увеличением их площади нашивкой досок, а их плоскости ферм - постановкой между ветвями раскосов колодок.

Дополнительные опоры располагают в середине пролета под узлами ферм. При этом усиливают тяжи и сжатые раскосы, примыкающие к дополнительной опоре. В пролетных строениях с ездой поверху над временной опорой устанавливают дополнительную стойку. Над опорой усиления фермы поддомкрачивают и подклинивают.

§ 86. Все усиляемые конструкции и элементы усиления должны быть рассчитаны на прочность и устойчивость.

ПРИЛОЖЕНИЯ

ПРИЛОЖЕНИЕ 1

Форма 1

КАРТА ОБСЛЕДОВАНИЯ МОСТА

через р............................. на....................... км дороги Тамбов - Грязи

Раздел I. Общие сведения

Проезжая часть

Пролеты

0 - 1, 1 - 2, 2 - 3

3 - 4, 4 - 5, 5 - 6

6 - 7, 7 - 8, 8 - 9

Тип

Двойной продольный настил из досок на поперечинах

Верхний продольный из досок, нижний поперечный из пластин на сближенных прогонах

Двойной продольный настил на поперечинах из досок

Пролетные строения

Пролеты

0 - 1, 1 - 2, 2 - 3

3 - 4, 4 - 5, 5 - 6

6 - 7, 7 - 8, 8 - 9

Тип несущей части

Двухъярусные сосредоточенные прогоны

Фермы Гау-Журавского

Двухъярусные сосредоточенные прогоны

Материал

Сосна

Сосна; узловые подушки дубовые

Сосна

Опоры

№ опор

1,2

3, 4, 5, 6

7, 8

Тип

Однорядные свайные

Пространственные свайные

Однорядные свайные

Материал

Сосна

Сосна

Сосна

Пролеты и опоры с наихудшим состоянием

Пролеты 1 - 2, 3 - 4, опора № 4

Возможность устройства объезда

Объезд в летнее время возможен на расстоянии 150 м выше моста, но надо делать временный мост l = 80 м

Форма 2

Раздел II. Сведения о пролетных строениях и опорах (пример заполнения карты для балочных мостов)

Пролет 1 - 2; опора № 2 (М 1:100)

Форма 3

Раздел II. Сведения о пролетных строениях и опорах (пример заполнения карты для мостов с фермами)

Пролет 3 - 4; опора № 4 (М 1:150)

Форма 4

Раздел III. Сведения о техническом состоянии элементов моста и их грузоподъемности (пример заполнения карты для мостов с фермами)

Пролет 3 - 4; опора № 4

Элементы моста

№ пролета или опоры с наихудшим состоянием

Состояние элементов (загнивания, повреждения, расстройства)

Грузоподъемность, тс или тс/м

1

2

3

4

Верхний настил

3 - 4

Изношен на 50 %

-

Нижний настил

3 - 4

Вверху имеет загнивание на 1 см

-

 

 

 

Поперечины

3 - 4

Вверху имеют загнивание на 1 см

Pк

 

 

7,1 тс

Прогоны

3 - 4

Верхний ярус - загнивание вверху 4,5 см и по бокам. Нижний ярус - загнивание по бокам 1 см

Pэ

3,5 тс/м

 

 

Узловые поперечные балки

3 - 4

Имеют вверху загнивание на 1 см

Рэ

 

 

2,7 тс/м

Главные фермы

3 - 4

Гнили нет. Пояса и раскосы имеют продольные трещины усушки

Рэ

2,1 тс/м

Стыки нижнего пояса

3 - 4

Имеется скол древесины у одной шпонки

Рэ

1,8 тс/м

 

 

Узлы ферм

3 - 4

Некоторые подкосы отстали от подушек. Зазоры до 1 см.

Рэ

2,3 тс/м

Насадки опоры

3 - 4

Дефектов не имеют

Рэ

3,2 тс/м

Сваи опоры

№ 4

Имеют загнивание по всему периметру на глубину 1 см у ГМВ

Рэ

4,4 тс/м

 

 

Карту составил: (должность)

Проверил: (должность)

Дата:

Примечания. 1. Карту делают на четырех неразрезных страницах плотной бумаги.

2. К карте прилагают расчеты определения грузоподъемности элементов моста.

ПРИЛОЖЕНИЕ 2

Площади F, статические моменты S, моменты инерции I и моменты сопротивления W для различных профилей бревен

Диаметр бревен, см

Обозначения

1

2

3

4

5

6

7

8

9

13

F

133

129

132

125

131

664

66

S

182

160

175

138

169

91

48

I

1402

1261

1359

1128

1317

701

196

W

216

199

211

200

215

108

52

14

F

154

149

153

145

151

77

77

S

228

200

220

173

212

114

60

I

1886

1696

1828

1517

1771

943

264

W

269

249

263

250

268

135

65

15

F

177

172

175

166

174

83

83

S

280

246

270

212

260

140

74

I

2485

2335

2409

1999

2334

1242

347

W

331

306

324

308

330

166

80

16

F

201

195

199

189

198

101

101

S

340

300

328

258

315

170

90

I

3217

2893

3118

2588

3022

1608

450

W

492

372

393

374

401

201

98

17

F

227

220

225

214

223

113

113

S

399

358

393

310

378

199

108

I

4100

3687

3974

3298

3851

2050

573

W

482

446

471

448

480

241

117

18

F

254

247

252

240

250

127

127

S

486

455

477

425

468

243

129

I

5153

4635

4995

4145

4840

2576

720

W

573

530

559

532

570

286

139

19

F

283

275

281

267

279

142

142

S

572

536

561

500

550

286

152

I

6397

5752

6200

5146

6009

3198

894

W

673

623

658

626

671

337

164

20

F

314

305

312

296

309

157

157

S

667

625

654

583

642

334

178

I

7854

7062

7613

6318

7378

3927

1098

W

785

726

767

730

783

393

191

21

F

346

336

343

326

341

173

173

S

772

723

757

675

743

386

206

I

9548

8584

9253

7680

8967

4773

1334

W

909

841

888

845

906

455

221

22

F

380

369

377

358

374

190

190

S

887

832

871

776

854

444

236

I

11499

10343

11116

9251

10801

5749

1067

W

1045

967

1021

971

1042

524

254

23

F

415

403

412

391

409

208

208

S

1014

950

995

887

976

507

270

I

13737

12350

13310

11050

12900

6868

1920

W

1194

1105

1167

1110

1190

597

290

24

F

452

439

449

426

445

226

226

S

1152

1080

1131

1008

1109

576

307

I

16286

14640

15780

13102

15300

8142

2276

W

1357

1255

1326

1261

1352

679

330

25

F

491

478

487

462

483

245

245

S

1302

1220

1278

1139

1253

651

347

I

19175

17246

18586

15430

18012

9587

2680

W

1534

1418

1499

1425

1528

767

373

26

F

531

516

527

500

522

265

265

S

1465

1368

1433

1277

1405

390

733

I

22432

20175

21743

18046

21070

11216

3135

W

1726

1595

1686

1603

1719

863

419

27

F

572

536

568

539

563

286

286

S

1640

1537

1610

1435

1579

820

437

I

26087

23463

25286

20987

24505

13043

3646

W

1932

1786

1888

1795

1925

966

469

28

F

616

598

611

580

606

308

308

S

1829

1714

1796

1610

1781

915

488

I

30172

27137

29245

24273

28342

15086

4216

W

2155

1993

2106

2002

2147

1078

523

29

F

661

641

655

622

650

330

330

S

2032

1905

1995

1778

1956

1016

542

I

34719

32220

33652

27930

32613

17359

4852

W

2394

2214

2340

2224

2386

1197

583

30

F

707

688

701

666

695

353

353

S

2250

2109

2208

1868

2165

1125

600

I

39761

35750

38540

31987

37349

19880

5557

W

2651

2451

2590

2462

2641

1326

644

31

F

755

733

749

711

742

377

377

S

2482

2327

2437

2172

2389

1241

662

I

45333

40760

43941

36470

42584

22666

6335

W

2925

2704

2858

2717

2914

1463

710

32

F

804

781

798

758

791

402

402

S

2731

2559

2680

2389

2628

1365

728

I

51472

46280

49891

41408

48350

25736

7193

W

3217

2974

3143

2988

3205

1619

781

33

F

855

831

848

806

841

428

428

S

2995

2807

2940

2620

2882

1468

798

I

58214

52358

56426

46832

54683

29107

8135

W

3528

3262

3447

3278

3515

1764

857

34

F

908

882

901

855

893

454

454

S

3275

3070

3215

2865

3152

1637

873

I

65597

58990

63583

52772

61618

32798

9167

W

3850

3568

3771

3585

3844

19130

937

35

F

962

934

954

902

946

481

481

S

3573

3348

3507

3126

3439

1786

952

I

73662

66253

71400

59200

69194

36831

10294

W

4209

3892

4113

3910

4194

2105

1022

36

F

1018

988

1010

959

1001

509

509

S

3888

3644

3816

3401

3742

1944

1036

I

82448

74155

79916

66328

77447

41224

11522

W

4580

4235

4476

4255

4563

2290

1112

37

F

1075

1044

1066

1013

1058

538

538

S

4221

3956

4143

3693

4062

2110

1125

I

91988

82744

89173

74011

86410

45994

12857

W

4973

4598

4859

4620

4954

2487

1208

38

F

1134

1101

1125

1069

1116

567

567

S

4572

4285

4188

4000

4401

2286

1219

I

102350

92059

99211

82342

86145

51177

14304

W

5387

4981

5264

5004

5367

2694

1308

39

F

1195

1160

1185

1126

1175

597

597

S

4943

4633

4852

4324

4757

2471

1317

I

113561

102140

110070

91360

106670

56780

15870

W

5824

5384

5691

5410

5802

2912

1414

Примечание. F - площадь сечения, см2; S - статический момент, см3;

I - момент инерции, см4; W - момент сопротивления, см3.

ПРИЛОЖЕНИЕ 3

Моменты инерции I и моменты сопротивления W бревен при одностороннем серповидном загнивании сверху


Диаметр, см

Обозначение

Глубины загнивания m, см

1,0

2,0

3,0

4,0

5,0

6,0

7,0

8,0

9,0

10,0

11,0

12,0

13,0

14,0

15,0

16,0

17,0

1

2

3

4

5

6

7

8

9

10

11

12

13

14

15

16

17

18

19

14

I

1466

1116

828,7

579,8

416,3

277,5

175,1

 

 

 

 

 

 

 

 

 

 

W

225,5

185,9

149,9

119,6

92,5

69,4

50

 

 

 

 

 

 

 

 

 

 

15

I

1965

1527

1161

862,2

621,7

432,7

288,3

 

 

 

 

 

 

 

 

 

 

W

280,8

234,8

193,9

156,8

124,3

96,2

72

 

 

 

 

 

 

 

 

 

 

16

I

2583

2042

1585

1206

894

645

448

299

 

 

 

 

 

 

 

 

 

W

345

292

244

201

163

129

100

75

 

 

 

 

 

 

 

 

 

17

I

3336

2078

2116

1642

1248

926

667

464

 

 

 

 

 

 

 

 

 

W

420

357

302

253

208

168

133

103

 

 

 

 

 

 

 

 

 

18

I

4243

3451

2769

2187

1697

1289

956

688

478

 

 

 

 

 

 

 

 

W

499

431

369

312

261

215

174

138

105

 

 

 

 

 

 

 

 

19

I

5323

4382

3563

2857

2256

1750

1329

985

709

 

 

 

 

 

 

 

 

W

592

516

445

381

322

269

222

179

142

 

 

 

 

 

 

 

 

20

I

6596

5488

4516

3671

2943

2323

1801

1367

1013

729

 

 

 

 

 

 

 

W

694

610

531

459

392

332

277

227

184

146

 

 

 

 

 

 

 

21

I

8088

6792

5648

4646

3776

3026

2388

1852

1405

1041

 

 

 

 

 

 

 

W

809

715

628

547

472

404

341

285

234

189

 

 

 

 

 

 

 

22

I

9818

8315

6981

5804

4773

3878

3107

2452

1900

1442

1068

 

 

 

 

 

 

W

935

832

735

645

562

485

414

350

292

240

194

 

 

 

 

 

 

23

I

11811

10081

8536

7165

5955

4896

3977

3186

2513

1947

1477

 

 

 

 

 

 

W

1074

960

854

754

662

576

497

425

359

300

246

 

 

 

 

 

 

24

I

14093

12115

10399

8752

7344

6103

5017

4074

3263

2573

1993

1512

 

 

 

 

 

W

1225

1101

985

875

773

678

590

509

435

368

307

252

 

 

 

 

 

25

I

16691

14441

12411

10588

8962

7519

6247

5134

4169

3339

2632

2038

 

 

 

 

 

W

1391

1256

1128

1008

896

791

694

604

521

445

376

314

 

 

 

 

 

26

I

19633

17087

14780

12700

10833

9163

7690

6388

5249

4261

3412

2690

2083

 

 

 

 

W

1571

1424

1285

155

1032

917

810

710

618

533

455

384

320

 

 

 

 

27

I

22950

20081

17473

15111

12982

11072

9368

7857

6526

5362

4352

3484

2746

 

 

 

 

W

1765

1606

1456

1314

1180

1054

937

827

725

631

544

464

392

 

 

 

 

28

I

26665

23452

20518

17851

15436

13259

11307

9565

8021

6661

5472

4441

3555

2802

 

 

 

W

1975

1804

1642

1488

1342

1201

1077

957

843

740

644

555

474

400

 

 

 

29

I

30816

27230

23945

20917

18221

15753

13530

11536

9757

8181

6793

5580

4528

3624

 

 

 

W

2201

2017

1842

1676

1518

1370

1230

1099

976

861

755

656

566

483

 

 

 

30

I

35435

31448

27784

24428

21367

18584

16065

13795

11761

9946

8339

6923

5685

4613

3692

 

 

W

2444

2246

2058

1879

1709

1549

1397

1254

1120

995

878

769

669

577

492

 

 

31

I

40554

36137

32066

28327

24902

21779

18939

16370

14056

11981

11315

8494

7055

5789

4696

 

 

W

2704

2492

2290

2098

1916

1742

1578

1422

1278

1141

1013

894

783

681

587

 

 

32

I

46209

41332

36826

32673

28859

25367

22182

19289

16670

14311

12198

10314

8645

7175

5892

4779

 

W

2981

2755

2540

2334

2138

1951

1775

1607

1450

1292

1162

1031

910

797

693

597

 

33

I

52435

47068

42095

37501

33268

29382

25824

22579

19631

16964

14563

12411

10492

8793

7298

5992

 

W

3277

3037

2806

2586

2376

2176

1986

1806

1636

1475

1324

1182

1049

926

811

705

 

34

I

59271

53381

47912

42843

38165

33854

29895

26272

22969

19968

17253

14809

12619

10669

8940

7419

6091

W

3595

3336

3091

2856

2632

2418

2214

2021

1838

1664

1500

1346

1202

1067

941

824

717

35

I

66753

60309

54311

48740

43582

58817

34429

30400

26713

23351

20299

17538

15052

12825

10841

9085

7539

W

3927

3655

3394

3145

2954

2677

2459

2252

2055

1868

1692

1525

1368

1221

1084

956

838

36

I

74923

67890

61330

55223

49555

44306

39458

34994

30896

27147

23728

20625

17810

15292

13029

11013

9228

W

4281

3994

3717

3451

3197

2954

2721

2499

2289

2088

1898

1719

1549

1390

1241

1101

941

Примечание. Момент инерции и момент сопротивления вычисляют по формулам:

 где d - диаметр бревна, см;


ПРИЛОЖЕНИЕ 4

Моменты инерции, моменты сопротивления и статические моменты составных сечений из бревен и брусьев

Условные обозначения:

F - площадь поперечного сечения одного бревна;

d - диаметр бревна;

z - расстояние от нейтральной оси х - х до оси бревна ила бруса О - О;

h - высота одного бруса;

b - ширина бруса;

H - полная высота составного сечения;

H0 - плечо внутренней пары.

Тип составного сечения

Момент инерции составного сечения относительно оси х - х Ix

Момент сопротивления составного сечения относительно оси x - x Wx

Статический момент половины составного сечения относительно оси х - х Sx

Плечо внутренней пары

1

2

3

4

5

ПРИЛОЖЕНИЕ 5

Эквивалентные нагрузки в тс/пог. м для треугольных линий влияния с вершиной в середине пролета от автомобилей и колесных тракторов, эксплуатируемых на дорогах РСФСР


Модель автомобиля

Пролет, м

2,0

2,5

3,0

3,5

4,0

4,5

5,0

5,5

6,0

6,5

7,0

7,5

8,0

8,5

9,0

9,5

10,0

1

2

3

4

5

6

7

8

9

10

11

12

13

14

15

16

17

18

ГАЗ-51А

3,75

3,00

2,50

2,14

1,88

1,67

1,50

1,37

1,25

1,15

1,10

1,06

1,01

0,97

0,92

0,89

0,86

ГАЗ-63А

3,32

2,66

2,21

1,90

1,66

1,48

1,33

1,21

1,11

1,02

0,98

0,96

0,93

0,90

0,87

0,84

0,82

ГАЗ-93А

3,81

3,05

2,54

2,14

1,90

1,70

1,52

1,38

1,27

1,17

1,12

1,06

1,02

0,98

0,94

0,90

0,87

ГАЗ-53Ф

4,50

3,60

3,00

2,58

2,25

2,00

1,80

1,64

1,50

1,38

1,29

1,21

1,15

1,11

1,06

1,02

0,97

ПАЗ-652Б

4,90

3,93

3,27

2,81

2,46

2,18

1,96

1,74

1,64

1,51

1,40

1,34

1,29

1,27

1,21

1,17

1,13

ЗИЛ-ММЗ-585

5,82

4,67

3,89

3,34

2,92

2,59

2,33

2,12

1,94

1,79

1,67

1,55

1,46

1,40

1,35

1,30

1,25

ЗИЛ-164А

6,16

4,93

4,11

3,53

3,08

2,76

2,47

2,24

2,06

1,90

1,76

1,65

1,54

1,48

1,42

1,37

1,32

ЗИЛ-ММЗ-555

6,55

5,24

4,36

3,74

3,28

2,91

2,62

2,38

2,19

2,02

1,92

1,83

1,76

1,69

1,62

1,55

1,49

ЗИЛ-130

6,95

5,56

4,56

3,98

3,48

2,10

2,78

2,53

2,32

2,14

1,98

1,86

1,77

1,70

1,63

1,57

1,51

ЗИЛ-157

3,94

3,48

3,29

3,08

2,84

2,63

2,44

2,29

2,13

2,00

1,89

1,79

1,74

1,68

1,63

1,58

1,53

ЗИЛ-131

3,59

2,87

2,78

2,64

2,47

2,31

2,15

2,02

1,90

1,78

1,73

1,69

1,65

1,63

1,56

1,51

1,47

ЗИЛ-158В

7,15

5,73

4,78

4,09

3,58

3,18

2,86

2,61

2,38

2,20

2,05

1,91

1,79

1,68

1,59

1,51

1,45

ЗИЛ-127

8,13

6,51

5,42

4,65

4,06

3,62

3,25

2,96

2,72

2,50

2,33

2,17

2,03

1,91

1,81

1,71

1,63

ЗИЛ-ММЗ-164 АН с ММЗ-584Б

5,67

4,54

3,79

3,24

2,84

2,52

2,27

2,06

1,90

1,75

1,62

1,52

1,42

1,37

1,36

1,35

1,33

ЗИЛ-130В1 с ОдАЗ-794

6,00

4,80

4,00

3,48

3,00

2,67

2,40

2,18

2,00

1,85

1,74

1,68

1,60

1,53

1,47

1,41

1,36

Урал-355М

5,22

4,18

3,48

2,99

2,61

2,32

2,09

1,90

1,74

1,61

1,49

1,39

1,33

1,27

1,22

1,17

1,13

Урал-377 (порожний)

3,41

2,73

2,27

1,95

1,71

1,52

1,36

1,24

1,14

1,05

0,98

0,93

0,91

0,88

0,83

0,82

0,81

Урал-377

5,50

4,40

3,91

3,77

3,57

3,37

3,17

2,99

2,81

2,71

2,51

2,46

2,40

2,33

2,25

2,19

2,15

КАЗ-600АВ

5,68

4,55

3,79

3,25

2,84

2,53

2,27

2,07

1,89

1,75

1,63

1,52

1,42

1,37

1,33

1,28

1,24

КАЗ-608 с КАЗ-717

5,92

4,75

4,46

3,97

3,70

3,47

3,25

3,05

2,87

2,70

2,55

2,42

2,37

2,33

2,29

2,24

2,19

ЛАЗ-697Е

6,89

5,60

4,52

3,94

3,44

3,06

2,75

2,50

2,30

2,12

1,97

1,84

1,72

1,62

1,58

1,53

1,48

ЛАЗ-699А

7,99

6,39

5,31

4,56

3,99

3,55

3,19

2,90

2,67

2,46

2,28

2,13

2,00

1,88

1,77

1,68

1,60

МАЗ-502

7,45

5,96

4,96

4,26

3,72

3,31

2,98

2,71

2,49

2,29

2,13

1,99

1,86

1,75

1,65

1,61

1,57

МАЗ-205

9,27

7,41

6,17

5,30

4,63

4,12

3,70

3,37

3,09

2,85

2,65

2,48

2,36

2,27

2,18

2,10

2,02

МАЗ-200 (порожний)

3,32

2,66

2,21

1,90

1,66

1,48

1,33

1,21

1,11

1,02

0,95

0,89

0,83

0,78

0,74

0,73

0,72

МАЗ-200

10,06

8,05

6,71

5,75

5,03

4,48

4,03

3,66

3,36

3,10

2,88

2,69

2,52

2,37

2,24

2,15

2,08

МАЗ-503

9,36

7,50

6,24

5,35

4,68

4,16

3,74

3,41

3,13

2,90

2,79

2,68

2,57

2,47

2,37

2,28

2,20

МАЗ-200В с ОдАЗ-795

10,20

8,17

6,80

5,84

5,10

4,54

4,08

3,71

3,40

3,14

2,92

2,72

2,55

2,40

2,27

2,18

2,12

МАЗ-500

10,00

8,00

6,66

5,72

5,00

4,45

4,00

3,64

3,34

3,08

2,86

2,67

2,54

2,45

2,36

2,27

2,20

МАЗ-525 (порожний)

13,18

10,53

8,79

7,54

6,59

5,86

5,27

4,80

4,40

4,06

3,77

3,52

3,29

3,10

2,925

2,77

2,72

МАЗ-525

32,80

26,24

21,86

18,76

16,40

14,60

13,12

11,92

10,94

10,10

9,37

8,75

8,20

7,70

7,28

6,89

6,70

МАЗ-530 (порожний)

12,45

9,95

8,30

7,12

6,23

6,16

5,87

5,76

5,54

5,31

5,09

4,87

4,76

4,74

4,70

4,64

4,58

МАЗ-530

30,45

24,35

20,28

17,40

15,20

15,04

14,61

14,09

13,52

12,92

12,41

11,90

11,54

11,36

11,00

10,74

10,51

КрАЗ-213Б

6,89

5,51

4,90

4,71

4,48

4,21

3,96

3,74

3,52

3,33

3,15

3,04

2,99

2,89

2,84

2,77

2,70

КрАЗ-222Б

8,74

6,99

6,20

6,00

5,68

5,34

5,03

4,74

4,47

4,23

4,00

3,79

3,60

3,44

3,28

3,14

3,00

КрАЗ-221Б с ОрАЗ-935

8,88

7,14

7,10

6,66

6,22

5,80

5,40

5,06

4,74

4,46

4,20

3,98

3,78

3,53

3,42

3,32

3,22

КрАЗ-219 (порожний)

4,30

3,44

2,86

2,46

2,27

2,15

2,02

1,90

1,79

1,69

1,60

1,52

1,44

1,36

1,31

1,25

1,20

КрАЗ-219

9,45

7,55

6,71

6,47

6,14

5,78

5,43

5,11

4,82

4,55

4,31

4,08

3,89

3,71

3,54

3,38

3,24

БелАЗ-540 (порожний)

10,86

8,68

7,24

6,21

5,43

4,8

4,34

3,95

3,62

3,34

3,10

3,06

3,00

2,95

2,84

2,82

2,76

БелАЗ-540

32,41

25,92

21,60

18,55

16,21

14,42

12,95

11,80

10,82

9,98

9,26

8,86

8,53

8,24

7,94

7,65

7,39

К-700 (трактор)

1,70

6,16

5,14

4,40

3,85

3,42

3,08

2,80

2,57

2,45

2,36

2,27

2,18

2,10

2,02

1,94

1,87

Продолжение приложения 5

Модель автомобиля

Пролет, м

11

12

13

14

15

16

17

18

20

22

24

26

28

30

32

36

40

44

1

2

3

4

5

6

7

8

9

10

11

12

13

14

15

16

17

18

19

ГАЗ-51А

0,80

0,75

0,70

0,66

0,62

0,59

0,56

0,53

0,48

0,44

0,41

0,38

0,36

0,33

0,31

0,28

0,25

0,23

ГАЗ-63А

0,77

0,72

0,68

0,65

0,61

0,58

0,55

0,53

0,48

0,45

0,41

0,39

0,36

0,34

0,32

0,29

0,26

0,24

ГАЗ-93А

0,81

0,75

0,71

0,66

0,63

0,59

0,56

0,54

0,49

0,45

0,41

0,38

0,36

0,34

0,32

0,28

0,26

0,24

ГАЗ-53Ф

0,91

0,85

0,80

0,75

0,71

0,67

0,64

0,61

0,55

0,51

0,47

0,43

0,41

0,38

0,36

0,32

0,29

0,27

ПАЗ-652Б

1,06

1,00

0,94

0,89

0,84

0,80

0,76

0,73

0,67

0,61

0,57

0,53

0,50

0,47

0,44

0,39

0,36

0,33

ЗИЛ-ММЗ-585М

1,17

1,08

1,02

0,97

0,91

0,87

0,82

0,79

0,72

0,66

0,61

0,57

0,53

0,50

0,47

0,42

0,38

0,35

ЗИЛ-164А

1,23

1,15

1,08

1,01

0,96

0,91

0,86

0,82

0,75

0,67

0,63

0,59

0,55

0,52

0,49

0,44

0,40

0,36

ЗИЛ-ММЗ-555

1,39

1,30

1,11

1,14

1,08

1,03

0,97

0,92

0,84

0,77

0,71

0,66

0,62

0,58

0,55

0,49

0,44

0,40

ЗИЛ-130

1,41

1,32

1,23

1,16

1,10

1,04

0,98

0,94

0,86

0,78

0,73

0,68

0,63

0,59

0,56

0,50

0,45

0,41

ЗИЛ-151

1,34

1,27

1,20

1,14

1,09

1,04

0,99

0,95

0,87

0,80

0,75

0,70

0,65

0,62

0,58

0,52

0,48

0,44

ЗИЛ-131

1,25

1,20

1,14

1,09

1,04

1,01

0,96

0,92

0,85

0,79

0,73

0,69

0,65

0,61

0,58

0,52

0,47

0,43

ЗИЛ-158В

1,39

1,32

1,26

1,21

1,15

1,10

1,05

1,01

0,93

0,87

0,81

0,76

0,71

0,67

0,63

0,57

0,52

0,47

ЗИЛ-127

1,46

1,41

1,35

1,30

1,25

1,20

1,15

1,11

1,03

0,96

0,89

0,84

0,79

0,74

0,71

0,64

0,58

0,54

ЗИЛ-ММЗ-164АН с ММЗ-584Б

1,28

1,23

1,19

1,14

1,08

1,05

1,02

0,99

0,93

0,89

0,84

0,79

0,75

0,72

0,69

0,62

0,57

0,53

ЗИЛ-130В1 с ОдАЗ 794

1,35

1,33

1,30

1,27

1,24

1,20

1,16

1,13

1,06

0,99

0,93

0,87

0,83

0,79

0,75

0,68

0,62

0,58

Урал-355М

1,05

0,98

0,92

0,86

0,82

0,77

0,73

0,70

0,64

0,58

0,54

0,50

0,47

0,44

0,41

0,37

0,34

0,31

Урал-377 (порожний)

0,68

0,67

0,66

0,64

0,62

0,60

0,59

0,57

0,53

0,50

0,47

0,44

0,42

0,42

0,38

0,34

0,32

0,29

Урал-377

1,82

1,74

1,66

1,58

1,51

1,45

1,39

1,32

1,23

1,14

1,06

0,99

0,93

0,88

0,83

0,75

0,68

0,62

КАЗ-600АВ

1,16

1,09

1,02

0,97

0,92

0,87

0,83

0,79

0,72

0,66

0,62

0,57

0,54

0,50

0,47

0,42

0,38

0,35

КАЗ-608 с КАЗ-717

2,10

1,99

1,91

1,85

1,78

1,72

1,66

1,61

1,50

1,40

1,31

1,23

1,17

1,10

1,05

0,95

0,87

0,80

ЛАЗ-697Е

1,40

1,32

1,24

1,18

1,12

1,06

1,01

0,96

0,88

0,81

0,76

0,70

0,66

0,62

0,59

0,53

0,48

0,44

ЛАЗ-699А

1,45

1,39

1,33

1,27

1,22

1,17

1,12

1,08

1,00

0,93

0,86

0,81

0,76

0,72

0,68

0,61

0,56

0,51

МАЗ-502

1,60

1,43

1,36

1,29

1,23

1,18

1,12

1,08

0,99

0,92

0,85

0,80

0,75

0,71

0,67

0,60

0,65

0,50

МАЗ-205

1,88

1,78

1,65

1,56

1,47

1,39

1,32

1,26

1,15

1,05

0,97

0,91

0,85

0,80

0,75

0,67

0,61

0,56

МАЗ-200 (порожний)

0,70

0,68

0,65

0,63

0,61

0,58

0,56

0,54

0,50

0,47

0,44

0,41

0,39

0,37

0,35

0,31

0,28

0,26

МАЗ-200

1,95

1,82

1,72

1,62

1,53

1,45

1,38

1,32

1,20

1,11

1,02

0,95

0,89

0,84

0,79

0,71

0,64

0,59

МАЗ-503

2,05

1,91

1,79

1,69

1,60

1,51

1,43

1,37

1,25

1,14

1,06

0,98

0,92

0,86

0,81

0,73

0,66

0,60

МАЗ-200В с ОдАЗ-795

2,14

2,12

2,08

2,05

2,00

1,95

1,87

1,84

1,73

1,63

1,54

1,45

1,37

1,31

1,24

1,13

1,03

0,95

МАЗ-500

2,05

1,92

1,80

1,70

1,61

1,52

1,45

1,38

1,26

1,16

1,01

1,00

0,93

0,88

0,83

0,74

0,67

0,61

МАЗ-525 (порожний)

2,66

2,58

2,47

2,39

2,30

2,21

2,13

2,05

1,90

1,78

1,66

1,56

1,47

1,39

1,31

1,19

1,09

1,00

МАЗ-525

6,36

6,03

5,73

5,44

5,18

4,94

4,72

4,52

4,15

3,84

3,57

3,34

3,13

2,95

2,78

2,50

2,28

2,09

МАЗ-530 (порожний)

3,70

3,50

2,45

3,35

3,26

3,17

3,07

2,98

2,79

2,63

2,47

2,34

2,21

2,10

1,99

1,81

1,66

1,53

МАЗ-530

9,06

8,50

8,17

7,85

7,53

7,23

6,95

6,88

6,20

5,77

5,39

5,06

4,76

4,50

4,26

3,85

3,51

3,22

КрАЗ-214Б

2,28

2,18

2,10

2,01

1,92

1,84

1,77

1,70

1,57

1,46

1,34

1,28

1,20

1,13

1,07

0,97

0,88

0,81

КрАЗ-222Б

2,77

2,03

2,51

2,39

2,28

2,18

2,08

1,99

1,84

1,71

1,59

1,48

1,39

1,31

1,24

1,12

1,02

0,93

КрАЗ-221Б с ОдАЗ-935

3,03

2,85

2,70

2,55

2,44

2,42

2,41

2,40

2,35

2,27

2,19

2,11

2,01

1,93

1,87

1,71

1,58

1,48

КрАЗ-219 (порожний)

11,1

1,03

0,97

0,95

0,93

0,90

0,88

0,85

0,80

0,76

0,72

0,68

0,64

0,61

0,58

0,53

0,48

0,45

КрАЗ-219

2,99

2,78

2,59

2,48

2,37

2,26

2,17

2,08

1,92

1,78

1,66

1,55

1,46

1,38

1,30

1,17

1,07

0,98

БелАЗ-540

2,63

2,50

2,38

2,27

2,16

2,06

1,97

1,89

1,74

1,61

1,50

1,40

1,32

1,24

1,17

1,06

0,96

0,88

БелАЗ-540

6,90

6,46

6,07

5,73

5,42

5,14

4,88

4,65

4,25

3,91

3,62

3,37

3,15

2,95

2,78

2,50

2,26

2,07

К 700 (трактор)

1,75

1,64

1,54

1,45

1,37

1,30

1,23

1,17

1,07

0,98

0,91

0,85

0,79

0,74

0,69

0,63

0,57

0,52

ПРИЛОЖЕНИЕ 6

Эквивалентные нагрузки в тс/пог. м для треугольных линий влияния с вершиной на конце пролета от автомобилей и колесных тракторов, эксплуатируемых на дорогах РСФСР

Модель автомобиля

Пролет, м

2,0

2,5

3,0

3,5

4,0

4,5

5,0

5,5

6,0

6,6

7,0

7,5

8,0

8,5

9,0

9,5

10,0

1

2

3

4

5

6

7

8

9

10

11

12

13

14

15

16

17

18

ГАЗ-51А

3,75

3,00

2,50

2,20

2,02

1,86

1,72

1,85

1,49

1,40

1,32

1,24

1,17

1,11

1,06

1,01

0,96

ГАЗ-93А

3,81

3,05

2,54

2,23

2,04

1,88

1,74

1,62

1,51

1,41

1,33

1,25

1,18

1,12

1,06

1,02

0,97

ГАЗ-63А

3,32

2,66

2,21

1,97

1,86

1,75

1,64

1,54

1,45

1,37

1,29

1,22

1,16

1,11

1,07

1,01

0,97

ГАЗ-53Ф

4,50

3,60

3,00

2,58

2,31

2,13

1,97

1,83

1,71

1,60

1,50

1,42

1,34

1,27

1,21

1,14

1,10

ПАЗ-652Б

4,91

3,93

3,27

2,80

2,59

2,45

2,27

2,13

2,00

1,88

1,78

1,69

1,60

1,52

1,45

1,39

1,33

ЗИЛ-ММЗ-585

5,82

4,67

3,89

3,34

2,92

2,71

2,51

2,34

2,19

2,05

1,93

1,83

1,73

1,64

1,57

1,49

1,43

ЗИЛ-164А

6,17

4,94

4,11

3,52

3,08

2,85

2,64

2,46

2,29

2,15

2,02

1,91

1,81

1,72

1,64

1,56

1,49

ЗИЛ-ММЗ-555

6,55

5,24

4,36

3,84

3,52

3,24

2,99

2,78

2,59

2,43

2,29

2,16

2,04

1,94

1,84

1,76

1,68

ЗИЛ-130

6,95

5,56

4,64

3,98

3,54

3,27

3,03

2,82

2,63

2,47

3,32

2,19

2,07

1,97

1,88

1,79

1,71

ЗИЛ-151

5,66

4,89

4,27

3,78

3,38

3,07

3,00

2,83

2,65

2,51

2,37

2,25

2,14

2,03

1,94

1,86

1,78

ЗИЛ-131

4,95

4,31

3,78

3,38

3,03

2,76

2,62

2,52

2,40

2,28

2,19

2,09

2,00

1,92

1,80

1,77

1,70

ЗИЛ-158В

7,15

5,73

4,78

4,09

3,58

3,18

2,91

2,75

2,66

2,53

2,41

2,31

2,21

2,11

2,02

1,94

7,86

ЗИЛ-127

8,13

6,51

5,42

4,65

4,07

3,61

3,25

2,96

2,83

2,71

2,60

2,50

2,40

2,30

2,21

2,14

2,05

ЗИЛ-ММЗ-164АН с ММЗ-584Б

5,67

4,54

3,79

3,24

2,84

2,73

2,66

2,57

2,47

2,38

2,28

2,21

2,11

2,04

1,98

1,93

1,86

ЗИЛ-130В1 с ОдАЗ-794

6,00

4,80

4,00

3,48

3,20

2,94

2,72

2,58

2,36

2,25

2,18

2,12

2,05

1,98

1,95

1,91

1,87

Урал-355М

5,22

4,18

3,48

2,99

2,66

2,44

2,26

2,10

1,96

1,84

1,73

1,63

1,54

1,47

1,39

1,33

1,27

Урал-377 (порожний)

3,41

2,73

2,28

2,05

1,83

1,71

1,61

1,57

1,52

1,47

1,42

1,36

1,31

1,26

1,21

1,17

1,13

Урал-377

7,15

6,35

5,64

5,03

4,54

4,14

3,80

3,66

3,49

3,34

3,18

3,04

2,90

2,78

2,68

2,56

2,46

КАЗ-600АВ

5,68

4,55

3,79

3,25

2,84

2,66

2,47

2,32

2,17

2,05

1,93

1,83

1,73

1,65

1,57

1,50

1,44

КАЗ-608 с КАЗ-717

7,40

6,49

5,74

5,10

4,60

4,18

3,82

3,66

3,55

3,43

3,30

3,17

3,04

2,98

2,91

2,82

2,74

ЛАЗ-697Е

6,89

5,51

4,60

3,94

3,44

3,16

2,97

2,81

2,63

2,48

2,35

2,23

2,12

2,02

1,93

1,85

1,78

ЛАЗ-699А

7,99

6,40

5,33

4,56

3,99

3,55

3,20

2,91

2,78

2,66

2,55

2,44

2,34

2,19

2,15

2,07

1,99

МАЗ-502

7,45

5,98

4,97

4,26

3,73

3,31

3,16

3,00

2,86

2,71

2,53

2,46

2,35

2,25

2,15

2,07

1,98

МАЗ-205

9,27

7,42

6,18

5,30

4,72

4,36

4,05

3,77

3,52

3,31

3,11

2,94

2,78

2,65

2,52

2,41

2,30

МАЗ-200 (порожний)

3,32

2,66

2,21

1,90

1,66

1,48

1,45

1,41

1,36

1,31

1,26

1,21

1,16

1,12

1,08

1,04

1,00

МАЗ-200

10,06

8,06

6,73

5,75

5,03

4,48

4,16

3,89

3,65

3,43

3,25

3,06

2,91

2,76

2,64

2,52

2,41

МАЗ-503

9,36

7,50

6,25

5,55

5,14

4,74

4,40

4,09

3,83

3,59

3,85

3,19

3,02

2,87

2,73

2,60

2,49

МАЗ-200В с ОдАЗ-795

10,20

8,17

6,80

5,84

5,10

4,54

4,22

3,96

3,88

3,79

3,68

3,57

3,44

3,34

3,29

3,12

3,05

МАЗ-500

10,00

8,01

6,68

5,73

5,08

4,73

4,40

4,10

3,85

3,61

3,40

3,22

3,05

2,90

2,77

2,64

2,52

МАЗ-525 (порожний)

13,18

10,52

9,78

7,52

6,59

5,85

5,49

5,33

5,15

4,95

4,78

4,60

4,42

4,26

4,10

3,95

3,81

МАЗ-525

32,80

26,25

21,85

18,75

16,40

14,69

13,43

12,70

12,05

11,45

10,87

10,35

9,86

9,44

9,03

8,68

8,30

МАЗ-530 (порожний)

12,45

11,94

11,06

10,15

9,35

8,60

7,98

7,42

6,98

6,88

6,70

6,53

6,34

6,14

5,95

5,78

5,95

МАЗ-530

30,45

29,50

27,15

24,85

22,85

21,05

19,50

18,12

17,00

16,35

15,69

15,08

14,45

13,90

13,37

12,87

12,37

КрАЗ-214В

8,95

7,94

7,05

6,30

5,69

5,17

4,75

4,57

4,39

4,20

4,02

3,86

3,69

3,54

3,40

3,27

3,15

КрАЗ-222Б

11,35

10,08

8,95

8,00

7,20

6,56

6,01

5,35

5,27

4,92

4,82

4,58

4,36

4,16

4,01

3,83

3,68

КрАЗ-221Б с ОдАЗ-935

12,43

10,80

9,46

8,40

7,55

6,85

6,24

5,75

5,34

4,95

4,64

4,37

4,15

4,05

3,92

3,88

3,85

КрАЗ-219 (порожний)

4,55

4,04

3,58

3,20

2,89

2,63

2,41

2,22

2,06

1,93

1,90

1,85

1,80

1,76

1,71

1,66

1,61

КрАЗ-219

12,26

10,85

9,67

8,64

7,79

7,06

6,50

6,00

5,55

5,18

4,90

4,76

4,52

4,35

4,17

4,00

3,84

БелАЗ-540 (порожний)

10,86

8,70

7,25

6,21

6,00

5,78

5,53

5,26

5,00

4,76

4,53

4,32

4,11

3,95

3,78

3,65

3,48

БелАЗ-540

35,41

25,95

21,65

18,52

17,05

15,85

14,73

13,78

12,91

12,13

11,42

10,82

10,27

9,74

9,30

8,88

8,49

К-700 (трактор)

7,10

6,16

5,14

4,71

4,36

4,04

3,76

3,50

3,28

3,07

2,90

2,74

2,59

2,46

2,35

2,24

2,14

Продолжение приложения 6

Модель автомобиля

Пролет, м

11

12

13

14

15

16

17

18

20

22

24

26

28

30

32

36

40

44

1

2

3

4

5

6

7

8

9

10

11

12

13

14

15

16

17

18

19

ГАЗ-51А

0,89

0,82

0,76

0,71

0,67

0,63

0,59

0,56

0,51

0,47

0,43

0,40

0,37

0,34

0,32

0,29

0,26

0,24

ГАЗ-63А

0,89

0,83

0,77

0,72

0,68

0,64

0,61

0,57

0,52

0,48

0,44

0,41

0,38

0,36

0,34

0,30

0,27

0,25

ГАЗ-93А

0,90

0,83

0,77

0,72

0,67

0,63

0,60

0,57

0,51

0,47

0,43

0,10

0,37

0,35

0,33

0,29

0,26

0,24

ГАЗ-53Ф

1,01

0,93

0,87

0,81

0,76

0,72

0,68

0,64

0,58

0,53

0,49

0,45

0,42

0,39

0,31

0,32

0,30

0,27

ПАЗ-652Б

1,23

1,14

1,06

0,99

0,93

0,88

0,83

0,79

0,71

0,65

0,60

0,56

0,52

0,49

0,46

0,41

0,37

0,34

ЗИЛ-ММЗ-585

1,31

1,22

1,13

1,05

0,99

0,93

0,87

0,83

0,76

0,69

0,64

0,59

0,55

0,52

0,48

0,43

0,39

0,36

ЗИЛ-164А

1,37

1,27

1,18

1,10

1,03

0,97

0,92

0,87

0,79

0,72

0,66

0,62

0,57

0,54

0,50

0,45

0,41

0,37

ЗИЛ-ММЗ-555

1,54

1,43

1,32

1,24

1,16

1,03

1,03

0,98

0,88

0,81

0,74

0,69

0,64

0,60

0,56

0,50

0,45

0,41

ЗИЛ-130

1,57

1,45

1,35

1,26

1,18

1,12

1,06

1,00

0,90

0,83

0,76

0,70

0,66

0,61

0,58

0,52

0,46

0,42

ЗИЛ-151

1,61

1,50

1,40

1,31

1,23

1,16

1,10

1,05

0,95

0,87

0,80

0,75

0,70

0,65

0,61

0,55

0,50

0,45

ЗИЛ-131

1,58

1,47

1,38

1,29

1,22

1,15

1,08

1,04

0,95

0,87

0,80

0,75

0,70

0,65

0,62

0,55

0,50

0,46

ЗИЛ-158В

1,73

1,61

1,51

1,42

1,34

1,27

1,20

1,14

1,04

0,95

0,87

0,82

0,76

0,71

0,67

0,60

0,54

0,50

ЗИЛ-127

1,92

1,79

1,68

1,58

1,49

1,41

1,34

1,28

1,16

1,07

0,99

0,92

0,86

0,81

0,76

0,68

0,62

0,56

ЗИЛ-ММЗ-164АН с ММЗ-584Б

1,77

1,68

1,59

1,51

1,43

1,37

1,30

1,25

1,14

1,06

0,98

0,92

0,86

0,81

0,76

0,68

0,62

0,57

ЗИЛ-130В1 с ОдАЗ-794

1,78

1,69

1,62

1,53

1,47

1,41

1,35

1,28

1,19

1,11

1,03

0,96

0,90

0,85

0,80

0,72

0,67

0,60

Урал-355М

1,17

1,08

1,00

0,94

0,88

0,83

0,78

0,74

0,67

0,61

0,57

0,52

0,49

0,46

0,43

0,38

0,34

0,31

Урал-377 (порожний)

1,00

0,94

0,89

0,84

0,80

0,76

0,72

0,69

0,63

0,38

0,54

0,50

0,47

0,44

0,42

0,37

0,34

0,31

Урал-377

2,28

2,12

1,95

1,86

1,76

1,66

1,57

1,50

1,36

1,25

1,15

1,07

1,00

0,94

0,88

0,79

0,72

0,66

КАЗ-600АВ

1,32

1,23

1,14

1,07

1,01

0,95

0,90

0,85

0,77

0,70

0,65

0,60

0,56

0,53

0,49

0,44

0,40

0,36

КАЗ-608 с КАЗ-717

2,59

2,46

2,30

2,21

2,10

2,00

1,91

1,82

1,67

1,54

1,44

1,34

1,25

1,18

1,12

1,00

0,91

0,84

ЛАЗ-697Е

1,63

1,51

1,41

1,32

1,24

1,17

1,11

1,05

0,95

0,87

0,81

0,75

0,70

0,65

0,61

0,55

0,49

0,45

ЛАЗ-699А

1,85

1,73

1,62

1,52

1,44

1,36

1,29

1,23

1,12

1,02

0,95

0,88

0,82

0,77

0,74

0,65

0,59

0,54

МАЗ-502

1,84

1,71

1,60

1,50

1,41

1,35

1,26

1,20

1,09

1,00

0,92

0,86

0,80

0,75

0,71

0,63

0,57

0,52

МАЗ-205

2,11

1,95

1,82

1,70

1,59

1,50

1,42

1,34

1,21

1,11

1,02

0,95

0,88

0,83

0,78

0,69

0,62

0,57

МАЗ-200 (порожний)

0,93

0,87

0,82

0,77

0,73

0,69

0,66

0,62

0,57

0,52

0,48

0,45

0,42

0,40

0,37

0,34

0,30,

0,28

МАЗ-200

2,21

2,05

1,91

1,78

1,68

1,58

1,49

1,42

1,28

1,17

1,08

1,00

0,93

0,87

0,82

0,73

0,66

0,60

МАЗ-503

2,29

2,12

1,97

1,84

1,73

1,63

1,54

1,46

1,32

1,20

1,11

1,03

0,96

0,90

0,84

0,75

0,68

0,62

МАЗ-200В с ОдАЗ-795

2,92

2,78

2,66

2,54

2,42

2,32

2,22

2,13

1,97

1,86

1,70

1,59

1,49

1,41

1,33

1,20

1,09

1,00

МАЗ-500

2,32

2,16

2,00

1,87

1,76

1,65

1,56

1,48

1,34

1,23

1,13

1,05

0,98

0,91

0,86

0,77

0,69

0,63

МАЗ-525

7,70

7,15

6,67

6,27

5,89

5,66

5,28

5,01

4,55

4,17

3,85

3,57

3,34

3,12

2,94

2,63

2,38

2,17

МАЗ-525 (порожний)

3,54

3,32

3,12

2,94

2,78

2,63

2,50

2,38

2,17

2,00

1,84

1,72

1,61

1,51

1,42

1,27

1,15

1,05

МАЗ-530

5,25

4,95

4,67

4,43

4,20

4,00

3,80

3,63

3,32

3,06

2,84

2,64

2,48

2,33

2,18

1,97

1,79

1,64

МАЗ-530

11,56

10,80

9,96

9,54

9,02

8,52

8,10

7,70

7,02

6,46

5,97

5,55

5,18

4,88

4,58

4,10

3,27

3,40

КрАЗ-214Б

2,92

2,73

2,56

2,41

2,26

2,14

2,03

1,94

1,76

1,62

1,50

1,39

1,30

1,22

1,15

1,03

0,93

0,85

КрАЗ-222Б

3,41

3,17

2,97

2,78

2,62

2,48

2,36

2,23

2,02

1,86

1,71

1,60

1,49

1,40

1,32

1,17

1,06

0,97

КрАЗ-221Б с ОдАЗ-935

3,77

3,66

3,54

3,45

3,36

3,27

3,17

3,09

2,91

2,72

2,56

2,42

2,30

2,18

2,07

1,88

1,73

1,59

КрАЗ-219 (порожний)

1,52

1,43

1,35

1,28

1,22

1,17

1,10

1,05

0,97

0,89

0,83

0,78

0,72

0,68

0,64

0,58

0,52

0,48

КрАЗ-219

3,57

3,33

3,12

2,92

2,76

2,61

2,47

2,36

2,14

1,96

1,81

1,68

1,58

1,48

1,39

1,24

1,12

1,02

БелАЗ-540 (порожний)

3,23

3,00

2,81

2,64

2,47

2,35

2,22

2,11

1,92

1,76

1,63

1,51

1,41

1,32

1,24

1,11

1,00

0,92

БелАЗ-540

9,08

8,40

7,81

7,30

6,84

6,44

6,10

5,77

5,22

4,77

4,40

4,07

3,79

3,55

3,33

2,97

2,68

2,44

К-700 (трактор)

1,97

1,82

1,69

1,58

1,48

1,40

1,32

1,25

1,13

1,04

0,96

0,88

0,82

0,77

0,72

0,65

0,58

0,53


ПРИЛОЖЕНИЕ 7

Характеристики гусеничных тракторов

Трактор

Навесное оборудование

Q, тс

cг, мм

Рг, тс/м

bг, мм

b, мм

ДТ-54А

ПРС-4-30

6,30

1622

1,94

390

1435

Т-74

ПРС-4-30

6,40

1622

1,97

390

1435

Т-100МГП

ПН-8-35

13,90

2400

2,90

203

1880

Т-100МГП

-

12,25

2400

2,56

203

1880

Т-100М

-

11,45

2400

2,39

203

1880

Т-180

ПН-8-35

17,50

2320

3,78

700

2040

Т-180

-

15,60

2320

3,36

700

2040

Т-180Г

ПН-8-35

18,00

2320

3,88

700

2040

Т-180Г

-

16,30

2320

3,52

700

2040

Д-275А

Бульдозер

18,50

2320

3,99

700

2040

ДЭТ-250

ПН-8-35

28,50

3000

4,75

690

2450

ДЭТ-250

-

26,80

3000

4,47

690

2450

Д-384А

Бульдозер

31,40

3000

5,23

690

2450

Примечание. Q - полный вес трактора с навесным оборудованием или без него; сг - опорная длина гусеницы; Рг - давление одной гусеницы; bг - ширина гусеницы; b - расстояние между осями гусениц.

ПРИЛОЖЕНИЕ 8

Коэффициенты упругого распределения давления колеса α для определения грузоподъемности балочных мостов со сближенными прогонами

На три элемента

На пять элементов

На семь элементов

К

а1

а2

К

а1

а2

а3

К

а1

а2

а3

а4

10

0,914

0,043

0,30

0,444

0,272

0,006

0,05

0,284

0,228

0,126

0,004

9

0,904

0,048

0,28

0,436

0,271

0,011

0,04

0,268

0,221

0,128

0,018

8

0,894

0,053

0,26

0,430

0,270

0,015

0,03

0,250

0,211

0,130

0,035

7

0,882

0,059

0,24

0,422

0,269

0,021

0,02

0,226

0,196

0,134

0,057

6

0,866

0,067

0,22

0,414

0,267

0,026

0,01

0,194

0,175

0,137

0,091

5

0,846

0,077

0,20

0,404

0,265

0,033

0,005

0,170

0,161

0,140

0,114

4

0,818

0,091

0,19

0,398

0,264

0,037

0,001

0,150

0,147

0,142

0,136

3,5

0,800

0,100

0,18

0,394

0,263

0,041

0

0,143

0,143

0,143

0,143

3,0

0,778

0,111

0,17

0,388

0,261

0,045

 

 

 

 

 

2,5

0,750

0,125

0,16

0,382

0,260

0,049

 

 

 

 

 

2,0

0,714

0,143

0,15

0,376

0,258

0,054

 

 

 

 

 

1,5

0,666

0,167

0,14

0,370

0,256

0,059

 

 

 

 

 

1,0

0,600

0,200

0,13

0,362

0,255

0,064

 

 

 

 

 

0,9

0,582

0,209

0,12

0,356

0,253

0,070

 

 

 

 

 

0,8

0,564

0,218

0,11

0,346

0,251

0,076

 

 

 

 

 

0,7

0,544

0,228

0,10

0,338

0,248

0,083

 

 

 

 

 

0,6

0,524

0,238

0,09

0,330

0,245

0,090

 

 

 

 

 

0,5

0,500

0,250

0,08

0,320

0,242

0,098

 

 

 

 

 

0,4

0,474

0,263

0,07

0,310

0,238

0,107

 

 

 

 

 

0,333

0,454

0,273

0,06

0,298

0,235

0,116

 

 

 

 

 

0,30

0,444

0,278

0,055

0,292

0,233

0,121

 

 

 

 

 

0,20

0,412

0,294

 

 

 

 

 

 

 

 

 

0,10

0,374

0,313

 

 

 

 

 

 

 

 

 

0,05

0,354

0,323

 

 

 

 

 

 

 

 

 

ПРИЛОЖЕНИЕ 9

Потребность материалов на 1 м2 площади моста для пролетного строения и проезжей части

Расчетный пролет, м

Потребность материалов на 1 м2 площади моста

Источники и примечания

соснового леса, м32

металла, кг/м2

1

2

3

4

I. Балочные мосты со сближенными прогонами

4,5

Типовые проекты Гипроавтотранса, 1961

5,5

Справочник инженера-дорожника. Том «Проектирование мостов и труб». М., Автотрансиздат, 1964

6,0

В числителе приведена потребность материалов при нижнем настиле из накатин; в знаменателе - из пластин, уложенных на прогоны

6,5

7,5

II. Белочные мосты с сосредоточенными прогонами

4,5

Типовые проекты Дальстройпроекта с корректировкой

5,5

В числителе приведена потребность материалов при нижнем настиле из накатин; в знаменателе - из пластин, уложенных на поперечины

6,5

7,5

III. Пролетные строения с дощато-гвоздевыми фермами

13,2

0,48

18,2

Справочник инженера-дорожника. Том «Проектирование мостов и труб». М., Автотрансиздат, 1964

17,2

0,53

16,0

21,2

0,52

15,6

32,0

0,67

19,0

41,5

0,76

18,5

IV. Пролетные строения с фермами Гау-Журавского при езде поверху

21,5

0,66

23,5

Справочник 1964 инженера-дорожника, 1964

31,5

0,70

27,8

41,5

0,68

22,7

Площадь моста вычисляют как произведение расстояния в свету между перилами на полную длину пролетного строения.

ПРИЛОЖЕНИЕ 10

Коэффициенты упругого распределения давления гусеничной нагрузки а1 и а2 при распределении на три прогона

 

а1

а2

а1

а2

а1

а2

а1

а2

а1

а2

1

2

3

4

5

6

7

8

9

10

11

0,0005

0,0425

0,0413

0,0400

0,0400

0,0353

0,0350

0,0267

0,0267

0,0150

0,0150

0,002

0,0444

0,0403

0,0414

0,0393

0,0359

0,0345

0,0273

0,0263

0,0153

0,0148

0,004

0,0459

0,0395

0,0428

0,0386

0,0369

0,0340

0,0279

0,0260

0,0157

0,0146

0,005

0,0466

0,0391

0,0434

0,0383

0,0373

0,0333

0,0282

0,0258

0,0158

0,0146

0,010

0,0498

0,0376

0,0464

0,0368

0,0395

0,0328

0,0298

0,0251

0,0167

0,0141

0,020

0,0550

0,0350

0,0516

0,0342

0,0435

0,0308

0,0324

0,0238

0,0182

0,0134

0,030

0,0598

0,0326

0,0558

0,0321

0,0467

0,0292

0,0346

0,0227

0,0193

0,0128

0,040

0,0639

0,0305

0,0599

0,0300

0,0498

0,0276

0,0369

0,0216

0,0204

0,0123

0,050

0,0675

0,0288

0,0631

0,0285

0,0528

0,0264

0,0389

0,0205

0,0225

0,0118

0,060

0,0706

0,0272

0,0660

0,0270

0,0553

0,0248

0,0409

0,0195

0,0225

0,0113

0,070

0,0732

0,0259

0,0686

0,0257

0,0575

0,0239

0,0425

0,0188

0,0234

0,0108

0,080

0,0755

0,0249

0,0709

0,0245

0,0596

0,0227

0,0439

0,0180

0,0242

0,0104

0,090

0,0778

0,0236

0,0734

0,0233

0,0615

0,0217

0,0455

0,0173

0,0250

0,0100

0,100

0,0799

0,0226

0,0753

0,0223

0,0634

0,0208

0,0467

0,0166

0,0257

0,0096

ПРИЛОЖЕНИЕ 11

Коэффициенты упругого распределения гусеничной нагрузки а1, а2 и c3 при распределении на пять прогонов

а

0,0005

а1

0,0280

0,0258

0,0222

0,0170

а2

0,0257

0,0247

0,0215

0,0163

а3

0,0228

0,0224

0,0199

0,0152

0,001

а1

0,0301

0,0277

0,0237

0,0181

а2

0,0263

0,0252

0,0216

0,0163

а3

0,0212

0,0210

0,0183

0,0146

0,002

а1

0,0332

0,0304

0,0258

0,0194

а2

0,0272

0,0261

0,0225

0,0170

а3

0,0187

0,0187

0,0171

0,0137

0,003

а1

0,0357

0,0327

0,0276

0,0206

а2

0,0279

0,0269

0,0232

0,0175

а3

0,0168

0,0168

0,0156

0,0123

0,004

а1

0,0378

0,0346

0,0291

0,0217

а2

0,0285

0,0276

0,0237

0,0178

а3

0,0151

0,0151

0,0143

0,0114

0,005

а1

0,0396

0,0364

0,0305

0,0227

а2

0,0201

0,0282

0,0243

0,0183

а3

0,0136

0,0136

0,0130

0,0105

0,010

а1

0,0470

0,0432

0,0362

0,0268

а2

0,0303

0,0297

0,0260

0,0196

а3

0,0087

0,0087

0,0084

0,0070

ПРИЛОЖЕНИЕ 12

Суммы ординат под продольными рядами колес одного автомобиля и площади линий влияния для определения грузоподъемности свайных опор

Четырехсвайная опора

r, см

Момент в сечении B или С

Давление на сваю B или С

z

ω л. в.

z'

ω' л. в.

E = 1,7

E = 1,9

E = 2,1

E = 1,7

E = 1,9

E = 2,1

100

7,86

7,74

8,42

1000

0,868

0,926

1,003

110

110

9,63

8,60

8,55

1210

0,851

0,875

0,930

121

120

12,10

10,15

9,35

1440

0,858

0,852

0,879

132

130

15,00

12,40

10,7

1690

0,887

0,853

0,855

143

140

18,40

15,20

12,7

1960

1,02

0,872

0,849

154

150

22,30

18,45

15,4

2250

1,13

0,945

0,860

165

160

25,10

21,80

18,5

2560

1,22

1,05

0,886

176

170

28,20

25,20

21,9

2890

1,30

1,14

0,987

187

180

31,00

28,4

25,2

3240

1,36

1,23

1,08

198

190

33,70

31,6

28,6

3610

1,42

1,30

1,16

209

200

36,00

34,4

31,8

4000

1,47

1,36

1,23

220

210

38,20

37,1

35,0

4410

1,52

1,41

1,30

231

220

40,00

38,4

37,7

4840

1,56

1,46

1,35

242

230

41,50

41,6

40,5

5290

1,60

1,50

1,40

253

240

43,10

43,7

42,8

5760

1,62

1,54

1,44

264

250

44,20

45,3

45,1

6250

1,65

1,58

1,48

275

260

45,10

46,9

47,3

6760

1,68

1,60

1,52

286

270

45,90

48,5

48,9

7290

1,70

1,63

1,55

297

280

46,90

49,4

50,6

7840

1,72

1,65

1,58

308

290

47,10

50,3

52,2

8410

1,74

1,68

1,60

319

300

47,30

51,1

53,8

9000

1,76

1,70

1,63

330

ПРИЛОЖЕНИЕ 13

Суммы ординат под продольными рядами колес одного автомобиля и площади линий влияния для определения грузоподъемности свайных опор

Пятисвайная опора

r, см

Момент в сечении B

Момент в сечении С

Давление на сваю В

Давление на сваю С

z

ω л. в.

z

ω л. в.

z'

ω' л. в.

z

ω' л. в.

E = 1,7

E = 1,9

E = 2,1

E = 1,7

E = 1,9

E = 2,1

E = 1,7

E = 1,9

E = 2,1

E = 1,7

E = 1,9

E = 2,1

100

8,40

7,97

8,36

1071

6,05

6,17

6,93

714

0,921

0,975

1,02

114

0,884

0,958

-

92,8

110

10,7

9,14

8,78

1300

8,84

6,40

6,64

864

0,888

0,928

0,982

126

0,853

0,893

0,961

102

120

13,6

11,1

9,86

1540

12,2

8,31

6,94

1030

0,877

0,896

0,935

137

0,840

0,856

0,901

111

130

16,9

13,8

11,7

1810

15,6

12,3

7,69

1200

0,880

0,879

0,902

149

0,849

0,840

0,862

120

140

20,5

17,1

14,1

2100

18,6

15,8

12,1

1400

1,02

0,874

0,850

160

0,930

0,841

0,839

130

150

24,6

20,5

17,3

2410

21,5

18,8

17,2

1600

1,12

0,953

0,876

172

11,05

0,860

0,840

139

160

26,6

24,0

20,6

2740

24,4

21,9

19,0

1830

1,22

1,06

0,902

183

1,13

0,966

0,848

149

170

29,6

27,6

24,1

3100

27,3

24,8

22,0

2060

1,30

1,15

0,966

195

1,21

1,06

0,904

158

180

31,6

30,1

27,6

3470

29,2

27,6

25,0

2310

1,35

1,22

1,08

206

1,27

1,14

0,992

167

190

33,6

33,0

30,6

3870

31,1

30,5

27,8

2580

1,43

1,30

1,16

218

1,34

1,21

1,07

176

200

35,6

35,1

33,6

4290

32,9

32,4

30,4

2850

1,47

1,35

1,23

229

1,39

1,28

1,15

186

210

36,8

37,1

36,6

4730

34,8

34,3

33,7

3150

1,50

1,40

1,30

240

1,44

1,32

1,21

195

220

37,6

39,1

38,6

5190

36,7

36,2

35,6

3450

1,56

1,44

1,34

252

1,48

1,37

1,27

204

230

38,3

40,8

40,6

5670

38,6

38,0

37,4

3780

1,58

1,48

1,39

263

1,54

1,42

1,32

214

240

39,0

41,6

42,6

6180

40,4

39,9

39,3

4040

1,62

1,52

1,43

275

1,56

1,46

1,36

222

250

39,7

42,3

44,6

6700

42,3

41,8

41,2

4460

1,64

1,56

1,47

286

1,59

1,50

1,40

232

260

39,6

44,0

45,6

7250

43,8

43,5

43,0

4830

1,68

1,59

1,51

298

1,62

1,53

1,44

241

270

39,0

43,6

46,2

7800

44,4

45,5

45,0

5200

1,69

1,62

1,53

309

1,64

1,56

1,47

250

280

38,2

44,4

47,0

8400

45,2

47,5

46,9

5590

1,71

1,64

1,57

320

1,66

1,59

1,51

260

290

37,3

44,9

47,6

9010

49,0

48,6

48,6

6000

1,72

1,67

1,59

332

1,68

1,62

1,54

269

300

36,9

43,7

48,5

9650

47,2

49,3

50,5

6420

1,74

1,68

1,62

343

1,69

1,64

1,57

278

СОДЕРЖАНИЕ

I. Общие положения. 1

Ii. Обследование деревянных мостов. 2

1. Обследование проезжей части, пролетных строений и опор. 2

2. Определение и учет загнивания элементов моста. 5

3. Инструментальные измерения и съемки. 7

Iii. Нормативы для определения грузоподъемности мостов. 8

Iv. Определение грузоподъемности мостов. 12

1. Балочные мосты.. 12

2. Опоры балочных мостов. 24

3. Мосты с фермами. 28

V. Упрощенные испытания мостов, пропуск единичных тяжелых нагрузок и рекомендации по усилению.. 32

1. Упрощенные испытания мостов. 32

2. Пропуск единичных тяжелых нагрузок. 36

3. Краткие рекомендации по временному усилению мостов. 37

Приложение 1. Карта обследования моста. 38

Приложение 2. Площади F, статические моменты S, моменты инерции I и моменты сопротивления W для различных профилей бревен. 43

Приложение 3. Моменты инерции I и моменты сопротивления W бревен при одностороннем серповидном загнивании сверху. 45

Приложение 4. Моменты инерции, моменты сопротивления и статические моменты составных сечений из бревен и брусьев. 48

Приложение 5. Эквивалентные нагрузки в тс/пог. м для треугольных линий влияния с вершиной в середине пролета от автомобилей и колесных тракторов, эксплуатируемых на дорогах РСФСР. 48

Приложение 6. Эквивалентные нагрузки в тс/пог. м для треугольных линий влияния с вершиной на конце пролета от автомобилей и колесных тракторов, эксплуатируемых на дорогах РСФСР. 53

Приложение 7. Характеристики гусеничных тракторов. 57

Приложение 8. Коэффициенты упругого распределения давления колеса α для определения грузоподъемности балочных мостов со сближенными прогонами. 57

Приложение 9. Потребность материалов на 1 м2 площади моста для пролетного строения и проезжей части. 57

Приложение 10. Коэффициенты упругого распределения давления гусеничной нагрузки а1 и а2 при распределении на три прогона. 58

Приложение 11. Коэффициенты упругого распределения гусеничной нагрузки а1, а2 и c3 при распределении на пять прогонов. 59

Приложение 12. Суммы ординат под продольными рядами колес одного автомобиля и площади линий влияния для определения грузоподъемности свайных опор. 59

Приложение 13. Суммы ординат под продольными рядами колес одного автомобиля и площади линий влияния для определения грузоподъемности свайных опор. 60

 



© 2013 Ёшкин Кот :-)