Информационная система
«Ёшкин Кот»

XXXecatmenu

МИНИСТЕРСТВО ЭНЕРГЕТИКИ И ЭЛЕКТРИФИКАЦИИ СССР
ГЛАВНИИПРОЕКТ

ВСЕСОЮЗНЫЙ ОРДЕНА ТРУДОВОГО КРАСНОГО ЗНАМЕНИ
НАУЧНО-ИССЛЕДОВАТЕЛЬСКИЙ ИНСТИТУТ ГИДРОТЕХНИКИ
имени Б. Е. ВЕДЕНЕЕВА

РЕКОМЕНДАЦИИ ПО МЕТОДИКЕ
ЛАБОРАТОРНЫХ ИСПЫТАНИЙ ГРУНТОВ
НА ВОДОПРОНИЦАЕМОСТЬ
И СУФФОЗИОННУЮ УСТОЙЧИВОСТЬ

П 12-83

ВНИИГ

ЛЕНИНГРАД

1983

Рекомендации по методике лабораторных испытаний грунтов на водопроницаемость и суффозионную устойчивость являются практическим пособием по экспериментальному определению в лабораторных условиях указанных свойств связных и несвязных зернистых грунтов, исключая их устойчивость к химической суффозии. Рекомендации развивают и поясняют соответствующие разделы СНиП, регламентирующие фильтрационные расчеты оснований гидротехнических сооружений и плотин из грунтовых материалов.

Рекомендации составлены с учетом современных достижений в данной области фильтрационных исследований грунтов и предназначены главным образом для инженерно-технического персонала специализированных подразделений научно-исследовательских и проектных организаций, занимающихся определением и контролем фильтрационно-суффозионных свойств грунтов.

ВВЕДЕНИЕ

Характеристики фильтрационно-суффозионных свойств грунтов являются важнейшими исходными данными для проектирования любого напорного гидротехнического сооружения. Прежде всего, они необходимы для выбора рациональной схемы его подземного контура, расчета конструкции водоупорного элемента, а также для оценки фильтрационных утечек, скорости консолидации грунта в основании и т.п. Поэтому большое внимание уделяется совершенствованию методов определения водопроницаемости и местной фильтрационной прочности грунтов, на которых возводится само сооружение, или же используемых в качестве строительного материала при его возведении.

В ряде публикаций можно найти сведения о методических разработках, проводившихся в этом направлении за последнее время у нас и за рубежом. Однако все эти сведения не систематизированы и не собраны в одном методическом пособии.

Потребность в таком документе возникла давно и обусловлена не только целесообразностью унификации методов испытаний, но и необходимостью избавиться от ошибочных оценок фильтрационно-суффозионных свойств грунтов вследствие неверной интерпретации результатов самих испытаний, что нередко случается, когда, например, упускают из вида смену режимов фильтрации воды в грунте или наличие в нем воздуха (пневмокольматаж). Предполагается, что таким пособием явятся настоящие Рекомендации. В них обобщен, в частности, многолетний опыт экспериментального изучения фильтрационно-суффозионных свойств грунтов (особенно глинистых) в Лаборатории фильтрационных исследований им. акад. Н. Н. Павловского ВНИИГа им. Б. Е. Веденеева.

Рекомендации составлены заведующим этой лабораторией ст. научн. сотр., канд. техн. наук В. Н. Жиленковым.

Министерство энергетики и электрификации СССР

Рекомендации по методике лабораторных испытаний грунтов на водопроницаемость и суффозионную устойчивость

П 12-83

ВНИИГ

1. ОБЩИЕ ПОЛОЖЕНИЯ

1.1. Рекомендации являются практическим пособием по экспериментальному определению в лабораторных условиях водопроницаемости и суффозионной устойчивости образцов связных и несвязных зернистых грунтов, исключая их устойчивость к химической суффозии (выщелачиванию). В Рекомендациях не рассматриваются методические приемы определения указанных свойств грунтов в процессе их промораживания и оттаивания, они развивают и поясняют в деталях соответствующие разделы СНиП по проектированию оснований гидротехнических сооружений и СНиП по проектированию плотин из грунтовых материалов, которыми регламентируются выбор расчетных характеристик грунтов, проектирование подземного контура сооружений и водоупорных элементов каменно-земляных плотин.

1.2. В Рекомендациях рассматриваются методические приемы, наиболее широко используемые в настоящее время при экспериментальном определении в лабораторных условиях водопроницаемости и суффозионной устойчивости зернистых грунтов. В связи с этим также дана общая типизация видов суффозии зернистых (нескальных) грунтов в зависимости от характера воздействия на них фильтрационного потока.

1.3. При изучении в лабораторных условиях фильтрационно-суффозионных свойств грунтов мы определяем характеристики, отличающиеся в той или иной мере от характеристик, получаемых в результате испытаний грунтов in situ, даже в местах отбора проб.

Внесены ВНИИГом имени Б. Е. Веденеена

Утверждены ВНИИГом имени Б. Е. Веденеева
решением № 12 от 24.03 1983 г.
по согласованию с Главниипроектом Минэнерго СССР

Срок введения
IV кв. 1983 г.

Поэтому, во-первых, по своему объему пробы должны быть достаточно представительными, т.е. каждая проба должна иметь полный набор фракций частиц, содержащихся в грунте; во-вторых, места отбора проб и их количество надо назначать исходя из предварительно установленной схемы геологического строения массива основания с учетом тех предполагаемых изменений режима фильтрации грунтовых вод, какие могут произойти в результате создания напора на сооружение, для проектирования которого используются определяемые характеристики грунтов.

1.4. Испытывая в лаборатории образцы грунтов или отдельные фрагменты сооружения и воспроизводя по своему желанию различные характерные случаи суффозионного разрушения грунта, мы получаем исключительную возможность определить не только критические состояния фильтрационного потока, но и изучить более общие закономерности во взаимодействии грунта с фильтрационным потоком, что редко удается сделать при проведении экспериментов в натурных условиях.

Обращаться к экспериментальному определению характеристик фильтрационно-суффозионных свойств грунтов надо тогда, когда имеются сомнения, что эти характеристики можно с надлежащей точностью получить расчетным путем, используя соответствующие зависимости, или же, - когда отсутствуют надежные исходные данные о состоянии грунта (его геотехнические характеристики).

1.5. Предполагается, что пробы грунтов должны отбираться для последующего их испытания в лаборатории по методике, регламентируемой существующими руководствами по проведению инженерно-изыскательских работ.

Термины и определения

Водопроницаемость грунта - свойство грунта, заключающееся в способности пропускать через себя воду. Количественно водопроницаемость характеризуется коэффициентом фильтрации.

Фильтрация - движение жидкости в пористой среде (грунте).

Фильтрационный поток - поток фильтрующейся в грунте жидкости.

Скорость фильтрации - воображаемая (условная) скорость движения фильтрующейся в грунте жидкости, равная отношению ее расхода в данном живом сечении к полной площади этого сечения.

Действительная скорость фильтрационного потока - средняя скорость движения жидкости в самих пустотах (порах) грунта, вмещающего фильтрационный поток.

Ламинарная фильтрация - движение фильтрующейся жидкости со скоростью, линейно зависящей от градиента напора.

Турбулентная фильтрация - движение фильтрующейся жидкости со скоростью, пропорциональной градиенту напора в степени меньше единицы.

Коэффициент фильтрации - коэффициент пропорциональности в формуле Дарси, характеризующий степень водопроницаемости данного пористого тела (грунта).

Свободная поверхность фильтрационного потока - поверхность, разделяющая две части пористого тела (грунта), одна из которых заполнена фильтрующейся жидкостью.

Напорная фильтрация - фильтрация жидкости в условиях, когда поверхности, выделяющие область фильтрации вдоль потока жидкости, непроницаемы.

Безнапорная фильтрация - случай фильтрации жидкости, когда фильтрационный поток имеет свободную поверхность, на которой сохраняется постоянство функции тока.

Скелет грунта - совокупность частиц грунта (преимущественно крупнозернистых фракций), образующих пространственную систему (структуру), на которую передается действующее на грунт внешнее давление.

Заполнитель грунта - совокупность частиц, находящихся в поровом пространстве скелета грунта, на которые не передается действующее на грунт внешнее давление.

Гидравлически эквивалентный диаметр пор - вычисленный по расходу фильтрации диаметр поровых каналов в грунте, приблизительно равный поперечникам каналов в местах их сужений (перехватов).

Фильтрационная прочность грунта - способность грунта сопротивляться разрушающему воздействию фильтрационного потока, которое может иметь вид внутреннего размыва (внутренней суффозии), поверхностного размыва (эрозии), отрыва и выпора целых масс грунта, а также вымывания из грунта содержащихся в нем растворимых минералов (химическая суффозия); фильтрационную прочность грунта обычно характеризуют наибольшей допустимой в данных условиях величиной градиента напора или скорости фильтрующейся через грунт воды, при которой не возникает опасных деформаций грунта, а также резкого изменения его проницаемости.

Суффозионная устойчивость - сохранение частицами грунта своего первоначального положения при воздействии на них фильтрационного потока.

Механическая суффозия - размыв грунта фильтрационным потоком, проявляющийся в виде отрыва и перемещения отдельных его частиц и целых агрегатов внутри пор или трещин.

Контактный размыв - разновидность механической суффозии мелкозернистого, чаще всего глинистого грунта, характеризующаяся разрушением (эрозией) поверхности грунта фильтрационным потоком, который протекает вдоль этой поверхности в смежном, более проницаемом грунте (коллекторе).

Контактный выпор - разновидность механической суффозии водонасыщенного глинистого грунта, т.е. грунта, частицы которого подвержены слипанию (сцеплению); характерным признаком выпора является выдавливание грунта под действием фильтрационных сил в пустоты другого грунта, например, в поровое пространство крупнозернистого материала обратного фильтра.

Деструкция при замачивании (размокание) - нарушение структуры грунта (в том числе несвязного), характеризуемое его разрыхлением и полной потерей связности вследствие внутрипорового давления, возникающего при интенсивном капиллярном впитывании грунтом воды во время его замачивания, и прекращения действия капиллярных (менисковых) сил.

Сегрегация грунта - распределение частиц разнозернистого грунта по крупности (фракционирование), происходящее главным образом во время отсыпки и планировки грунта.

Глинистый грунт - грунт, содержащий некоторое количество (обычно не менее 5 % по массе) очень мелких частиц какого-либо глинистого минерала, вследствие чего этот грунт приобретает свойство, характеризуемое связностью структуры (сцеплением, прочностью на разрыв). Глинистый грунт должен иметь индекс пластичности более 0,03. В зависимости от величины индекса пластичности различают три разновидности глинистых грунтов: супеси, суглинки и глины.

Мелкозем - совокупность содержащихся в грунте мелкозернистых фракций с размерами частиц меньше одного миллиметра.

Водоупорный элемент - являющееся частью сооружения устройство, выполненное из слабопроницаемого материала (например, глинистого грунта), обеспечивающее водоудерживающую способность данного сооружения. Водоупорными элементами плотины могут быть ядро, экран, понур.

Буквенные обозначения

Обозначения выбраны с учетом рекомендаций стандарта СЭВ в строительстве и Международной ассоциации по механике грунтов и фундаментостроению:

gw          - удельный вес воды;

gs           - удельный вес твердых частиц грунта;

gd          - удельный вес сухого грунта;

е            - коэффициент пористости;

п           - пористость;

w           - влажность;

wL         - предел текучести;

wp         - предел пластичности;

Ip           - число (индекс) пластичности;

   - показатель текучести;

g        - ускорение свободного падения;

v        - кинематический коэффициент вязкости воды;

D0, d0        - гидравлический эквивалентный диаметр пор грунта или зернистого материала;

H, h       - гидравлический напор;

Q, g       - расход воды;

u        - скорость фильтрации;

I         - градиент напора;

k        - коэффициент фильтрации;

    - коэффициент неоднородности грунта (по Хазену);

j   - коэффициент формы сечения порового канала.

2. ИСПЫТАНИЯ ГРУНТОВ НА ВОДОПРОНИЦАЕМОСТЬ

Основные закономерности фильтрации воды в зернистых грунтах

2.1. Поровое пространство зернистых грунтов может быть представлено в виде достаточно сложной системы пересекающихся в пространстве искривленных трубок (поровых каналов), каждая из которых имеет сужения и расширения. Известно, что ламинарное движение в капилляре любой ньютоновской жидкости, в том числе воды, подчиняется закону Хагена-Пуазейля, в соответствии с которым расход протекающей через капилляр жидкости пропорционален четвертой степени его диаметра (в данном случае - поперечника порового канала в грунте) и прямо пропорционален градиенту напора жидкости. Рассматривая грунт в целом как недеформируемую пористую среду, последнее условие можно выразить в виде закона Дарси:

u = kлi.                                                               (2.1)

2.2. Таким образом, одним из главных моментов в оценке расчетными способами водопроницаемости грунта (как, впрочем, и его устойчивости к внутренней суффозии) является определение гидравлически эквивалентного поперечника d0 поровых каналов, приблизительно равного просвету в местах их сужений.

Имеется несколько наиболее употребительных выражений этого важного параметра зернистого грунта, основанных главным образом на схематизированных представлениях о структуре.

Величину d0 рекомендуется определять по следующим формулам:

d0 = 0,22hкd50,                                                         (2.2)

где hк = dn/d100-n параметр неоднородности грунта (по В.И. Кондратьеву), определяемый по интегральной кривой распределения его частиц по крупности так, как это показано на рис. 1; d50 - средний по обеспеченности размер частиц грунта.

.                                                    (2.3)

Для монозернистых грунтов (с одинаковыми по крупности частицами) при наиболее вероятной их пористости, близкой к 0,4, величина поперечника d0 » 0,2d50.

Кроме того, если известны пористость п и коэффициент ламинарной фильтрации грунта kл, расчетный поперечник его поровых каналов также можно вычислить по формуле:

.                                                   (2.4)

2.3. Входящий в выражение (2.4) коэффициент формы сечений поровых каналов в грунте j = 0,45(1 + 0,306Б), где Б - балл окатанности по пятибалльной шкале А.В. Хабакова.

1 Мелентьев В.А. Песчаные и гравелистые грунты намывных плотин, - Л.: Госэнергоиздат, 1960. - 163 с.

Согласно этой шкале зерна с режущими краями (щебнистый грунт) имеют нулевой балл окатанности. Зерна, сохранившие первоначальную форму со слегка окатанными ребрами и углами, имеют один балл, а со сглаженными рёбрами, в очертании которых заметны прямолинейные отрезки, - два балла. Хорошо окатанные зерна, сохранившие лишь следы первоначальной огранки, - три балла. И лишь идеально окатанные зерна, а также зерна с равномерно и хорошо окатанной поверхностью - четыре балла.

Для определения на глаз (визуально) средней окатанности зерен грунта оценивают согласно шкале окатанность 50 - 100 его зерен. Затем умножают количество зерен данной группы пi на их балл di и сумму произведений делят на общее количество зерен N, т.е. .

2.4. Имея в виду, что в большинстве случаев температура воды, фильтрующейся в толще грунта, примерно равна 5 - 7 °С (v = 0,016), формулу (2.4) можно упростить:

 (см).                                                    (2.4¢)

Например, грунт с коэффициентом фильтрации kл = 0,05 см/с (43 м/сут), пористостью п = 0,30 и j = 0,75 (частицы средней окатанности) имеет поровые каналы с расчетным диаметром, см:

Рис. 1. Вспомогательное графическое построение для определения расчетного диаметра пор зернистого материала d0

Примечание. Следует иметь в виду, что в очень разнозернистом (hx > 25) грунте мелкие фракции могут распределяться неравномерно в порах крупных фракций (скелета), в связи с чем грунт становится неоднородным по своей структуре и оценка поперечника его поровых каналов по формулам (2.2) и (2.3) часто приводит к большим ошибкам. В этом случае предпочтительнее воспользоваться формулой (2.4).

Зная d0 зернистого несвязного грунта, нетрудно вычислить его коэффициент ламинарной фильтрации:

                                                         (2.5)

и турбулентной фильтрации:

,                                               (2.6)

где b =  (здесь d0* - безразмерная величина отношения диаметра поровых каналов к первоначально выбранной единице длины).

2.5. Критическая скорость, соответствующая началу отклонения от линейной фильтрации (закона Дарси):

.                                                 (2.7)

Соответственно критический градиент напора

.                                                   (2.8)

Принимая g = 981 см/с2; v = 0,01 см2/с и вводя обозначение jd20 = S, получим более удобные для расчетов выражения:

,                                                                  (2.9)

.                                                           (2.10)

Как видно из (2.7), критическое число Рейнольдса зависит от диаметра d0 и не является постоянной величиной при фильтрации воды в зернистом грунте:

.                           (2.11)

Из формулы (2.7) также следует, что при увеличении d0, например от 0,1 до 1,0 см, критическая скорость изменяется очень незначительно: в пределах от 3 до 2 см/с, в то время как критический градиент напора соответственно уменьшается почти в сто раз.

Используя данные выражения, можно заранее выяснить, до каких пределов допустимо увеличивать градиент напора или расход, сохраняя при этом ламинарный режим фильтрации воды в испытываемом грунте. И здесь же следует иметь в виду, что квадратичное сопротивление движению воды в грунте достигается при более чем десятикратном возрастании скорости фильтрации по отношению к критическому ее значению. В промежуточном диапазоне изменения скорости наблюдается переходный режим фильтрации.

Вместе с тем в начале переходного режима часто возникает так называемая перемежающаяся фильтрация, при которой наблюдается резкое отклонение градиент-скоростной характеристики в сторону увеличения потерь напора, аналогичное установленному Никурадзе изменению гидравлического сопротивления движению воды в трубе в переходной области.

2.6. При испытании на водопроницаемость зернистого грунта следует иметь в виду, что на величину гидравлического сопротивления образца грунта могут ощутимо влиять стенки камеры, в которую помещен данный образец. Этот, так называемый «эффект пристенной фильтрации», обусловленный наличием вблизи стенок сравнительно крупных пор, становится пренебрежимо малым при отношении диаметра камеры к диаметру зерен монофракционного грунта Dк/d > 40 (см. посвященную этому вопросу работу Францини в Amer. Geophys. Union, 1956, № 37, № 6, p. 735 - 737).

Для разнозернистых грунтов это отношение лучше заменить на Dк/d0 > 200, которое должно удовлетворяться наряду с другим условием Dк/dмакс > 4.

О влиянии пневмокольматажа на водопроницаемость зернистых грунтов.
Методы устранения этого влияния

2.7. Определяя в лабораторных условиях водопроницаемость зернистых грунтов, не следует забывать о возможном, подчас весьма существенном, снижении проницаемости вследствие закупорки пор воздухом, выделившимся из протекавшей через грунт воды (рис. 2). Часто это называют пневмокольматажем.

Растворенный воздух выделяется из воды после резкого снижения давления при поступлении ее из городского водопровода в систему водоснабжения лаборатории, а также при ее нагревании. Выделение воздуха в обоих случаях происходит из-за уменьшения его растворимости в воде и, как правило, в наибольшей мере это проявляется зимой и весной. Поэтому для качественного проведения эксперимента необходимо осуществить мероприятия, частично или полностью предотвращающие пневмокольматаж испытываемого грунта.

К таким мероприятиям относятся:

предварительный подогрев воды до температуры воздуха в помещении лаборатории (или на 2 - 3° выше), после чего подогретая вода должна в течение одних-двух суток отстояться в водонапорном резервуаре (баке), из которого затем ее подают к установкам;

использование кипяченой или дистиллированной воды (если потребление ее в эксперименте сравнительно невелико);

предварительное вакуумирование используемой в эксперименте воды.

Эти способы борьбы с пневмокольматажем относятся к активным способам, поскольку их общим признаком является деаэрация воды, используемой в качестве флюида, перетекающего через поровое пространство грунта.

Существуют также пассивные способы, к которым относятся:

испытание грунта в случае, когда с низовой стороны образца создают достаточно высокое противодавление, препятствующее выделению из воды растворенного в ней воздуха;

очень быстрое испытание грунта при малых градиентах напора и расходах фильтрации, вследствие чего пневмокольматаж за время опыта проявляется незначительно.

В некоторых случаях (при испытании несуффозионных грунтов) выделившийся воздух можно удалять из грунта «продувкой», резко и на короткое время повышая напор воды и затем вновь возвращаясь к исходному его значению. Таким образом не только выясняют наличие пневмокольматажа, но и определяют, в какой мере он повлиял на водопроницаемость грунта в данный момент испытаний.

Иллюстрацией подобного случая является показанный на рис. 3 график изменения величины отношения скорости фильтрации воды и градиента ее напора в процессе испытаний монозернистого гравия крупностью 3 - 5 мм.

В наибольшей мере влияние пневмокольматажа проявляется при испытаниях песчано-гравийных грунтов с коэффициентами фильтрации от 1 до 1000 м/сут. В пылеватых и тем более глинистых грунтах с поперечником пор меньше 0,1 мм пневмокольматаж практически отсутствует, поскольку выделившийся в столь тонких порах воздух оказывается сжатым достаточно большим капиллярным давлением, превышающим 7 кПа, в связи с чем не может долго находиться в свободном состоянии. Вычисленный по полученной (рис. 4) зависимости Нк = 0,66/d50 средний поперечник поровых каналов в монозернистом грунте d0 = 0,4 d50 (при косинусе угла смачивания cos q = 0,86 и поверхностном натяжении воды s = 7,5×10-4 Н/см).

Рис. 2. Графики зависимостей относительной проницаемости kr мелкозернистого несвязного грунта от его водонасыщения

1 - по воде, 2 - по воздуху

Рис. 3. График зависимости v(i), иллюстрирующий влияние пневмокольматажа на водопроницаемость зернистого материала (гравия крупностью 3 - 5 мм)

I - зона ламинарного режима; II - зона переходного режима; III- зона турбулентного режима; 1 - начальный участок графика при ламинарной фильтрации воды; 2 - изменение скорости фильтрации при переходном режиме и отсутствии пневмокольматажа; 3 - фактическое изменение скорости фильтрации; 4 - участок графика при турбулентном (квадратичном) режиме; 5 - нисходящая ветвь графика при постепенном снижении градиента напора; 6 - изменение коэффициента фильтрации материала, вычисленного исходя из предположения о линейной зависимости скорости от градиента

В крупнопористом грунте (при d0 > 3 мм) пузырьки выделившегося воздуха всплывают вверх под действием Архимедовой силы или же легко продавливаются в направлении движения фильтрационного потока.

Рис. 4. График изменения пассивного капиллярного поднятия воды в монофракционных песчаных и гравийных грунтах. График получен по данным опытов Жиленкова (1) и Гильгарда (2)

dc - средний для данной фракции размер частиц

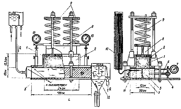
2.8. Для обеспечения методически приемлемых условий фильтрационно-суффозионных испытаний грунтов в лаборатории необходимо располагать специальной аппаратурой и отлаженной системой водоснабжения, позволяющей проводить эксперименты по заданным программам, поддерживая в течение всего опыта напор и расход воды в требуемых пределах, а также подавать в прибор воду достаточно высокого качества (без механической взвеси и избытка растворенного воздуха). Поэтому специализированная лаборатория, в которой проводятся такие испытания, должна иметь соответствующую технологическую оснастку, подобную, например, показанной на схеме рис. 5.

Определение водопроницаемости несвязных зернистых грунтов

2.9. Водопроницаемость несвязного зернистого грунта следует определять, используя специальные фильтрационно-суффозионные устройства: вертикальные приборы с цилиндрической рабочей камерой (пермеаметры) или горизонтальные грунтовые лотки. С помощью этих устройств можно испытывать грунты только с нарушенной структурой.

Рис. 5. Типовая схема технологической оснастки лабораторного помещения, в котором проводятся фильтрационно-суффозионные испытания грунтов

1 - водонапорный бак с запасом подогретой воды; 2 - ответвление городского водопровода; 3 - трубопровод для подачи воды от насосной установки; 4 - трубопровод для подачи воды из бака; 5 - приборы для испытаний грунтов; 6 - воздушно-масляные установки, к которым подключены гидравлические домкраты приборов; 7 - электрический водоподогреватель; 8 - воздушный компрессор; 9 - аккумулятор сжатого воздуха; 10 - насосная установка; 11 - бак для воды; 12 - канализационный коллектор

2.10. Для испытания грунта с ненарушенной структурой (образец которого отбирают, вдавливая в грунт пробоотборное кольцо) необходимо конструкцию вертикального прибора изменить так, чтобы в качестве рабочей камеры использовалось само кольцо. Аналогичным образом для этой цели приспособлен фильтрационно-компрессионный прибор, описание которого дано в приложении 4.

В приложении 1 даны пояснения методики испытаний на водопроницаемость несвязных грунтов с помощью вертикального прибора, а в приложении 2 - с помощью лотка.

Испытания на водопроницаемость связных (глинистых) грунтов

2.11. Методика лабораторных испытаний на водопроницаемость связных грунтов имеет ряд особенностей, обусловленных:

очень низкими коэффициентами фильтрации, значения которых обычно не превосходят 10-6 см/с и быстро (экспоненциально) уменьшаются в процессе уплотнения грунта;

способностью связных грунтов приобретать агрегатную (комковатую) структуру, существенно влияющую на величину водопроницаемости и характер ее изменения в процессе уплотнения грунта;

способностью многих глинистых грунтов набухать при замачивании или, наоборот, уплотняться (что характерно для так называемых просадочных лессовидных суглинков);

относительно большими потенциалами капиллярного впитывания воды;

зависимостью уплотняемости грунта (при заданной энергии уплотнения) от его начальной влажности.

Здесь следует иметь в виду, что уплотнение связного грунта протекает в два этапа: на первом происходит разрушение отдельных комьев и исчезновение вследствие этого наиболее крупных вторичных пор, а на втором - уменьшается объем первичной пористости. В случае, если начальная влажность грунта меньше оптимальной, энергия уплотнения затрачивается главным образом на разрушение комьев.

Рис. 6. Графики осредненных зависимостей между коэффициентами фильтрации и пористости перемятых глинистых грунтов (при температуре воды 20 °С)

2.12. Для предварительной оценки проницаемости грунта и контроля процесса его испытания следует пользоваться установленной зависимостью между коэффициентами фильтрации и пористости грунта, которая может быть представлена в виде:

k = k0ехр bе,                                                     (2.12)

где k0 - коэффициент, имеющий размерность скорости, среднее значение которого при температуре 20 °С равно 4×10-11 см/с; b - показатель, характеризующий интенсивность снижения проницаемости грунта при его уплотнении.

Эта зависимость, графически показанная на рис. 6, справедлива в пределах изменения е примерно от 0,1 до 0,8. Для большинства связных грунтов, не имеющих макроагрегатной (комковатой) структуры и не содержащих растворимые соли, показатель

.                                                 (2.13)

Коэффициент eL, являющийся важнейшим геомеханическим параметром грунта, рекомендуется определять экспериментально (по объему грунтового теста, имеющего влажность, равную wL) или вычислять по предлагаемой формуле:

.                                                   (2.14)

Из выражения (2.13) следует, что наибольшей интенсивностью снижения проницаемости при уплотнении обладают низкопластичные супесчаные грунты (eL < 0,7), а наименьшей - тяжелые глины и разложившийся торф (eL > 1,3).

2.13. Для определения по формуле (2.12) коэффициента фильтрации глинистого грунта, в составе которого имеются «плавающие» в мелкоземе крупные частицы (гравий, щебень), надо вначале выяснить плотность мелкозема с частицами менее 0,1 см. Коэффициент пористости рекомендуется вычислять по формуле:

,                                          (2.15)

где pм и рк - относительные величины массосодержания мелких и крупных частиц в грунте (в долях единицы); gdг - удельный вес сухого грунта; gsк и gsм - удельные веса твердых частиц крупно- и мелкозема.

Коэффициент фильтрации такого (разнозернистого) грунта

kг = kмpм.                                                             (2.16)

2.14. Уменьшение проницаемости глинистого грунта в процессе его уплотнения нагрузкой также можно оценить расчетом по формуле:

,                                                    (2.17)

где k1 - коэффициент фильтрации грунта при начальном уплотнении давлением р1; k2 - коэффициент фильтрации грунта, дополнительно уплотненного давлением р2; а - абсолютный коэффициент компрессии грунта, величину которого в предварительных расчетах можно принимать равной 0,1.

2.15. Оценивая проницаемость водоупорных элементов сооружений, выполненных из глинистых грунтов, следует иметь в виду, что фильтрация воды и водных растворов в этих грунтах строго подчиняется закону Дарси при сколь угодно малых градиентах напора. Вместе с тем, однако, в каждом конкретном случае необходимо учитывать влияние осмоса на перенос растворенного вещества. Интенсивность осмотического переноса обычно определяют экспериментальными исследованиями этого процесса.

2.16. Водопроницаемость глинистых грунтов следует определять с помощью фильтрационно-компрессионных приборов, которые с достаточным приближением позволяют воспроизвести условия формирования структуры грунта в процессе его уплотнения. Конструктивно такие приборы должны быть обязательно приспособлены для испытаний образцов-монолитов грунта, отобранных непосредственно из сооружения или из опытных насыпей, поскольку только таким образом можно выявить влияние на проницаемость других технологических факторов, таких как начальная влажность, комковатость, замораживание или высыхание в процессе укладки и т.п.

2.17. Образцы-монолиты рекомендуется отбирать с помощью режущих колец, которые легко транспортировать и хранить в специальном контейнере, описание которого дано в приложении 3. Сами испытания грунта следует проводить по методике, изложенной в приложении 4.

2.18. Рабочую камеру прибора, предназначенного для испытаний на водопроницаемость глинистых грунтов, следует делать из материала, имеющего одинаковый с грунтом коэффициент температурных деформаций. Подходящими в этом отношении являются металлы (бронза, алюминий, сталь). Органическое стекло (плексиглас), обладающее слишком высоким температурным коэффициентом, использовать для этого нежелательно, поскольку при отсутствии термостатирования прибора всякое случайное повышение температуры воздуха в помещении может привести к отслаиванию стенки рабочей камеры от грунта.

2.19. Одновременно с испытаниями рекомендуется параллельно проводить контрольные анализы зернового состава грунта, а также дополнительно определять его начальную влажность, плотность и величину геомеханического параметра еi. По всем этим данным уточняется затем обобщенная характеристика проницаемости грунта, выражаемая зависимостью k(e).

3. ОПРЕДЕЛЕНИЕ ХАРАКТЕРИСТИК СУФФОЗИОННОЙ УСТОЙЧИВОСТИ ГРУНТОВ

Исходные предпосылки видовой классификации нарушений суффозионной устойчивости зернистых (нескальных) грунтов

3.1. Для более полного понимания сущности явления суффозии и правильного выбора расчетной схемы при оценке местной фильтрационной прочности нескального основания надо знать некоторые общие закономерности возникновения и протекания процессов суффозии. Полезно в связи с этим классифицировать проявления суффозии, например, так, как это представлено на схемах рис. 7.

Рис. 7. Схемы проявления шести основных видов внешней суффозии нескальных грунтов (обозначения в тексте)

3.2. Прежде всего, суффозия нескального грунта, возникающая в теле или в основании гидротехнического сооружения, может рассматриваться в зависимости от характера ее проявления как внешняя или внутренняя.

Внешняя суффозия - это разрушение грунта фильтрационным потоком, проявляющееся в виде:

поверхностного размыва (эрозии) грунта потоком, протекающим внутри обратного фильтра дренажа, по щелям (например, под подошвой сооружения) или внутри полых трещин в скальном массиве, кровля которого сложена мелкозернистым грунтом (эти виды суффозии поясняются схемами а, б и в на рис. 7);

отрыва и выноса частиц грунта непосредственно с его поверхности и из приконтактной зоны на участках разгрузки фильтрационного потока (нисходящего или восходящего), например, при выходе в дренаж (схемы г и д на рис. 7);

выпора на отдельных участках основания целых объемов грунта, который при этом обычно разуплотняется под действием фильтрационных сил (схема е на рис. 7).

Внешнюю суффозию, проявляющуюся в том виде, как это показано на схемах а, в рис. 7, называют также контактным размывом (соответственно случаи зернистого и трещинного коллекторов).

Надо помнить, что суффозионная устойчивость несвязного грунта в зоне его контакта с другим более крупнопористым грунтом или материалом дренажа существенно зависит от направления фильтрационного потока по отношению к направлению силы тяжести. Так при нисходящем потоке (схема г на рис. 7) грунт оказывается более устойчивым вследствие образования в контактной зоне сводиков из отдельных сравнительно крупных частиц, в то время как при восходящем потоке (схема д рис. 7) такие сводики не образуются.

3.3. Внутренняя суффозия нескальных грунтов может проявиться в следующих видах.

1. Объемная суффозия (рис. 8, а), возникающая сразу во всем объеме однородного грунта, где градиенты напора фильтрационного потока достигают «критических» значений, при которых начинается перемещение мелких не защемленных частиц заполнителя в порах скелета грунта. Интенсивность объемной суффозии, т.е. массовый расход транспортируемых потоком частиц заполнителя возрастает по мере увеличения градиента напора.

Вследствие такой суффозии может резко измениться проницаемость грунта, а также его деформативность, особенно в тех случаях, когда под действием фильтрационных сил начинает разрушаться скелет грунта.

Разновидностью внутренней суффозии также является выщелачивание содержащихся в грунте водорастворимых минералов, например, гипса. Сам процесс выщелачивания обычно называют химической суффозией.

2. Фронтальная суффозия (рис. 8, б).

Отрыв и перемещение мелких частиц грунта, заполняющих в определенной зоне поры его скелета, когда процесс суффозии развивается сразу на достаточно больших участках поверхности, ограничивающей внутри грунта эту зону.

Рис. 8. Схемы четырех разновидностей внутренней суффозии нескальных грунтов

а - объемная; б - фронтальная; в - контактный размыв мелкозернистого пропластка; г - канальная

В результате фронтальной суффозии также может произойти резкое изменение проницаемости грунтовой толщи и ее деформативных свойств:

контактный размыв мелкозернистого пропластка в слоисто-неоднородной толще грунта (рис. 8, в), в результате которого могут произойти значительные деформации основания;

канальная суффозия, возникающая в виде так называемых грифонов, когда наиболее мелкие частицы грунта во взвешенном состоянии перемещаются по каналам сосредоточенных выходов фильтрационного потока из толщи основания (рис. 8, г).

3.4. Для правильной оценки суффозионной устойчивости грунтов необходимо совершенно отчетливо представлять, в силу каких причин и при каких обстоятельствах возникают и развиваются суффозионные процессы во всех их разнообразных формах; ниже приведены некоторые наиболее общие критерии суффозионной устойчивости нескальных грунтов.

Принципы оценки суффозионной устойчивости нескальных грунтов

3.5. Проявление любого из первых пяти видов внешней суффозии (рис. 7, а - д) обусловлено возможностью свободного перемещения в порах обратного фильтра или в неплотностях (щелях) под подошвой сооружения отдельных частиц грунта, либо их агрегатов, которые под действием фильтрационных сил оказались оторванными от контактной поверхности. Таким образом, для предотвращения этих видов внешней суффозии достаточно правильно подобрать обратный фильтр по крупности зерен его материала исходя из условия «непросыпаемости» частиц защищаемого грунта и сохранения их устойчивости в зоне контакта с обратным фильтром.

Это условие, как правило, выполняется, если гидравлически эквивалентный диаметр пор обратного фильтра D0 (см. 3.11) не превосходит размера тех частиц защищаемого грунта, которые имеют обеспеченность не более 70 % (по интегральной кривой зернового состава).

Примечание. В тех случаях, когда проектная толщина слоев обратного фильтра не превышает 30 см, надо при оценке диаметра пор D0 учитывать возможность сегрегации разнозернистого материала фильтра по времени его отсыпки и для полной уверенности вводить в расчетные зависимости максимальный размер частиц этого материала.

3.6. Условия суффозионного разрушения грунтов, обладающих структурной связностью, характеризуемой индексом пластичности Ip ³ 0,03, будут существенно отличаться от условий, при которых возникает суффозия грунтов несвязных.

3.7. Характерной особенностью поверхностного размыва (эрозии) связного грунта, поясняемого схемами а, б и в на рис. 7, является то, что этот размыв возможен лишь при турбулентном режиме фильтрационного потока. В таком случае в качестве критерия суффозионной устойчивости грунта удобно принимать критические значения скорости и градиента напора потока воды в порах обратного фильтра дренажа (схема рис. 7, а), в щели под подошвой сооружения (схема 7, б) или в трещине (схема 7, в), при которых ламинарный режим потока переходит в турбулентный.

Для первой схемы критическая скорость движения воды в порах обратного фильтра

.                                                       (3.1)

Из формулы (3.1) следует, что при увеличении гидравлически эквивалентного диаметра пор зернистого материала обратного фильтра от 0,1 до 1,0 см критическая скорость изменяется очень незначительно: в пределах от 3 до 2 см/с, в то время как критический градиент напора соответственно уменьшается почти в сто раз.

Также при турбулентном режиме будет происходить размыв грунта в щели, образовавшейся под подошвой сооружения или в полой трещине (схемы 7, б, в). Если известен градиент напора на данном участке щели (трещины), наибольшее допустимое ее раскрытие (при котором сохранится суффозионная устойчивость грунта) можно оценить по формуле:

 (см).                                                             (3.2)

Следует иметь в виду, что при параметрах фильтрационного потока в крупнозернистом пропластке (коллекторе), близких к критическим, могут размываться лишь слабосвязные глинистые грунты, обладающие сцеплением менее 1 кПа.

3.8. Сопротивляемость размыву конкретного глинистого грунта можно оценить с большей точностью, используя для этого индекс размываемости c, равный отношению величин скоростей: критической vк в данном коллекторе к размывающей скорости vр, которую следует определять на основании результатов испытаний грунта в лабораторных условиях.

Для предварительных расчетов можно воспользоваться зависимостью:

,                                                       (3.3)

где е, eL - коэффициенты пористости размываемого глинистого грунта.

3.9. Суффозионную устойчивость слаборазнозернистых (hx < 10) несвязных грунтов по отношению к контактному размыву можно оценивать по эмпирической формуле:

.                                                         (3.4)

Поскольку любое установленное расчетным или экспериментальным путем значение размывающей скорости находится за пределами области линейной фильтрации, подчиняющейся закону Дарси, соответствующую величину размывающего градиента напора следует определять либо по заранее известной градиентскоростной характеристике коллектора, вмещающего фильтрационный поток, либо расчетом, используя подходящее выражение градиента, например, двучленную зависимость Форхеймера:

,                                                          (3.5)

где kл и kт - коэффициенты ламинарной и турбулентной фильтрации, которые для зернистого коллектора рекомендуется определять по формулам (2.5) и (2.6).

3.10. Контактную устойчивость частиц монофракционного несвязного грунта в зоне разгрузки в дренаж восходящего фильтрационного потока (схема д рис. 7) можно характеризовать соответствующей величиной iв выходного градиента напора, зависящей от отношения диаметра D0 пор дренажа к диаметру d частиц и определяемой по графикам на рис. 9.

Устойчивость разнозернистого грунта в данном случае надлежит оценивать по результатам его экспериментальных испытаний.

3.11. Суффозионную устойчивость грунта по отношению к выпору (схема е рис. 7) рекомендуется определять по предварительно прогнозируемой тем или иным способом эпюре градиентов напора на участках выхода (разгрузки) фильтрационного потока в нижний бьеф или дренаж.

Рис. 9. Изменение градиентов напора фильтрационного поперечного потока, вызывающего контактную суффозию монофракционного грунта, в зависимости от отношения диаметра D0 пор дренажа к диаметру d частиц грунта:

1 - при затухающей по времени суффозии ; 2 - при незатухающей суффозии .

Для этого следует вначале выяснить (например, по методу ЭГДА) характер распределения напора вдоль подземного контура сооружения и в зонах разгрузки фильтрационного потока, а затем, вычисляя по формуле осредненные градиенты напора

,                                                            (3.6)

вычертить эпюры градиентов на участках разгрузки.

Если окажется, что при выходе фильтрационного потока непосредственно в нижний бьеф градиенты напора не превышают значений 0,3, а при выходе в закрытый дренаж 0,6, то внутренне несуффозионный грунт основания сооружения можно считать устойчивым здесь к выпору.

3.12. Необходимым условием возникновения первых трех разновидностей внутренней суффозии в нескальных основаниях (исключая суффозию при возникновении грифонов), поясняемых схемами на рис. 8, а, б и в, является возможность перемещения мелких «незащемленных» частиц в поровых каналах грунта.

Данное условие с некоторым запасом может быть выражено неравенством:

dм > d0,                                                              (3.7)

где dм - размер мелких частиц (заполнителя грунта); d0 - расчетный поперечник поровых каналов в грунте.

Другое - гидромеханическое условие возникновения внутренней суффозии заключается в способности фильтрационного потока перемещать в порах грунта мелкие его частицы. Это условие может быть записано в виде неравенства:

i > iсф,                                                                (3.8)

где i - градиент напора фильтрационного потока в грунте; iсф - градиент напора, при котором возникает внутренняя суффозия.

3.13. Таким образом, одним из самых главных моментов в оценке устойчивости грунта к внутренней суффозии является определение расчетного поперечника d0 поровых каналов в грунте, который примерно равен просвету в местах их сужений и может быть принят в качестве гидравлически эквивалентного диаметра поровых каналов. Величину d0 надо определять, основываясь на геоструктурных и фильтрационных характеристиках грунта и используя формулы (2.2) или (2.4).

3.14. После того как установлен поперечный размер поровых каналов в грунте, выясняют возможность внутренней его суффозии путем определения суммарного количества (по весу) мелких частиц, которые могут быть вымыты из грунта фильтрационным потоком (считая, что вымываются из грунта лишь те частицы, размер которых меньше d0).

3.15. Величину критического градиента напора, при котором произойдет вымыв этих частиц, следует определять экспериментальным путем, для чего надо испытывать грунт, воспроизводя в опытах те условия фильтрации, какие по всем предположениям должны быть во время эксплуатации сооружения.

3.16. Исходя из условия сохранения первоначальной водопроницаемости грунта считают допустимым вымыв в результате внутренней объемной суффозии (схема на рис. 8, а) 2 - 5 % самых мелких его частиц, а по условию сохранения несущей способности в отдельных случаях допускается вымывание до 15 % общей массы частиц грунта, в связи с чем оценка фильтрационной прочности грунта дается в зависимости от выполнения в данном конкретном случае основного из этих двух условий.

3.17. Внутренняя фронтальная суффозия в нескальном грунте (схема на рис. 8, б) сопровождается вследствие вымыва большого количества мелких частиц весьма существенным увеличением поперечников поровых каналов.

Возникающее при этом суффозионное разуплотнение грунта может распространяться на значительную глубину и вызвать его деформацию.

Этот вид суффозии характерен для грунта, состоящего из заполнителя и скелета, между которыми нет промежуточных фракций, что выражается относительно большим участком разрыва дифференциальной кривой распределения частиц грунта по крупности (рис. 10, а).

3.18. Вопрос о суффозионной устойчивости такого грунта (у которого пористость скелета пс > 0,5) решается в следующем порядке.

Для обеих составляющих (заполнитель и скелет), на которые может быть разделен грунт, строят суммарные кривые распределения частиц, принимая каждую составляющую за целое, а затем по суммарной кривой скелета определяют dc50 и коэффициент разнозернистости hс. Для определения диаметра поровых каналов скелета следует вычислить его пористость:

,                                                         (3.9)

где pc - относительное (в долях единицы) содержание частиц скелета в общей массе грунта; gd - удельный вес сухого грунта;  - удельный вес вещества частиц скелета.

Сравнивая величину пс со значением пористости скелета, находящегося отдельно от заполнителя, можно судить о том, каким деформациям подвергнется грунт, если произойдет вымыв всех мелких его частиц. Для выполнения таких расчетов на рис. 10, б приведены графики изменения пористости сыпучих (несвязных) грунтов в зависимости от коэффициента их разнозернистости. Пористость нормально уплотненного материала скелета также можно определить по формуле:

пс = 0,43hс-0,135.                                                     (3.10)

Рис. 10. Пример графоаналитического построения для последующей оценки суффозионных свойств разнозернистого грунта

а - исходные характеристики зернового состава грунта: 1, 2 - соответственно интегральная и дифференциальная кривые; 3 - интегральная кривая мелкозернистой составляющей; 4 - то же скелета; б - зависимость пористости от коэффициента разнозернистости сыпучих (несвязных грунтов): 5 - при средней по плотности укладке грунта; 6, 7 - соответственно при рыхлой и очень плотной укладке

Таким образом, зная зерновой состав скелета грунта, легко тем или иным путем определить среднюю величину его пористости и диаметр поровых каналов .

Если окажется, что  < , то вымыв мелких частиц произойдет только с поверхности грунта и распространение суффозии вглубь быстро прекратится вследствие образования в порах скелета сводиков из относительно крупных частиц, содержащихся в заполнителе (мелкозернистой составляющей) грунта. Фронтальная суффозия в этом случае не представит никакой опасности. И, наоборот, если d0 > , то она может распространиться во всей толще грунта.

3.19. Контактный размыв мелкозернистого пропластка в слоисто-неоднородной толще грунта имеет характер эрозии и проявляется лишь при турбулизации фильтрационного потока в крупнозернистом пропластке, в связи с чем контактный размыв будет отсутствовать, если скорость фильтрации в пропластке не превысит критического ее значения. Если в мелкозернистом пропластке содержится определенное количество дресвяно-щебнистых частиц, не способных пройти через поры крупнозернистого пропластка, то суффозионная устойчивость размываемого мелкозернистого пропластка резко повышается.

Это связано с тем, что в процессе размыва формируется «естественный» обратный фильтр из крупных частиц, вследствие чего начавшийся размыв быстро затухает и через некоторое время полностью прекращается.

3.20. Максимальную глубину размыва fр, равную величине возможной деформации толщи грунта, рекомендуется вычислять по формуле:

,                                                         (3.11)

где dp - расчетный размер частиц мелкозернистого пропластка, проходящих при размыве через поры крупнозернистого пропластка; рр - относительная величина (в долях единицы) суммарной массы в мелкозернистом пропластке частиц с размерами < dp; gsп - удельный вес вещества частиц мелкозернистого пропластка; gdп - удельный вес сухого грунта этого пропластка.

3.21. При оценке фильтрационной прочности основания следует учитывать, что механическая суффозия может представлять опасность лишь в случаях, когда имеются условия для транспортировки (удаления) фильтрационным потоком продуктов суффозии за пределы той зоны, где развивается суффозия. Если же зона оказывается замкнутой, то, как правило, суффозионные процессы в ней быстро затухают после незначительного переотложения мелких частиц и закупорки ими участков выхода фильтрационного потока из этой зоны.

3.22. Средние статистические величины коэффициентов фильтрации или разрушающих (критических) скоростей и градиентов напора фильтрационного потока, вычисленные на основании результатов испытаний грунта, являются согласно СНиП проектирования оснований гидротехнических сооружений нормативными значениями его характеристик, каждая из которых должна в данном случае относиться к конкретному виду суффозионного разрушения.

Расчетное значение характеристики надлежит согласно тому же СНиП определять, понижая нормативное ее значение путем деления на коэффициент безопасности, который при определении коэффициента фильтрации грунта следует принимать равным единице, а при определении его суффозионной устойчивости - двум.

Методы экспериментального определения суффозионной устойчивости грунтов

3.23. Эксперименты, проводимые в лаборатории для определения суффозионной устойчивости грунтов, следует рассматривать, прежде всего, как имитационные, поскольку в этих экспериментах фрагментарно воспроизводятся условия взаимодействия фильтрационного потока с грунтом конкретного сооружения или его основания. Только таким путем могут быть получены феноменологические зависимости, отражающие характерные закономерности суффозионного разрушения грунта.

3.24. Следует также иметь в виду, что возникшая при определенных условиях суффозия грунта не обязательно приведет к нарушению его фильтрационной прочности, т.е. к потере способности грунта сохранять при воздействии фильтрационного потока заданную механическую прочность и водопроницаемость. Соответственно в качестве меры местной фильтрационной прочности принимают то предельное (критическое) значение градиента напора потока (а иногда его скорости), при котором нарушения структуры или формы грунтового массива в рассматриваемой области становятся опасными для сооружения.

3.25. Эти предельно допустимые значения градиента напора или скорости фильтрационного потока рекомендуется выяснять в эксперименте, методика проведения которого разрабатывается применительно к одной или сразу нескольким конкретным схемам воздействия фильтрационного потока на испытываемый грунт (см. классификацию суффозионных явлений, приведенную выше).

Испытания грунта на устойчивость к объемной суффозии

3.26. Испытаниям на устойчивость к объемной суффозии подвергаются разнозернистые грунты, в том числе с супесчаным и глинистым заполнителем (мелкоземом), для которых характерен структурный критерий, выражаемый неравенством (3.7). Следует в связи с этим испытывать грунт с полным набором входящих в него частиц, для чего надо иметь приборы с рабочими камерами соответствующих размеров (поперечником и высотой), которые должны, как минимум, в четыре раза превосходить размер наиболее крупных частиц.

3.27. В зависимости от воспроизводимого в опыте направления фильтрационного потока испытывать грунт можно в вертикальном фильтрационно-суффозионном приборе или в горизонтальном лотке.

С особым вниманием в процессе испытаний надо следить за проявлениями характерных признаков суффозии:

возникновением местных размывов грунта (грифонов);

увеличением интенсивности выноса частиц за пределы испытываемого образца по мере увеличения градиента напора;

изменением расхода фильтрации;

деформациями образца.

Желательно также контролировать изменение крупности выносимых из грунта частиц.

Общие методические приемы испытаний описаны в приложении 5.

3.28. Как правило, устойчивость грунта к внутренней объемной суффозии определяется степенью заполнения мелкоземом пор его скелета.

В табл. 1 приведено минимальное (по данным ВНИИ ВОДГЕО) содержание мелкозернистой (d < 1 мм) компоненты грунта, при которых обеспечивается сплошность заполнения пор скелета, имеющего рыхлую структуру (пс = 0,45).

Таблица 1

Мелкоземный заполнитель

Индекс пластичности Iр

Расчетный удельный вес мелкозема gdм, г/см3

Влажность мелкозема, wм

Минимальное содержание мелкозема

Супесь

0,04

1,60

0,15

0,32

Суглинок

0,09

1,59

0,165

0,30

Глина

0,25

1,26

0,31

0,24

Эти данные следует рассматривать как ориентировочные при предварительной оценке суффозионных свойств грунта.

Оптимальная влажность, при которой обеспечивается достаточно хорошая уплотняемость грунта,

w0 = wpмpм + wc,                                                (3.12)

где wc = 0,02 - 0,03 - влажность, обеспечивающая смачивание частиц скелета.

Определение суффозионной устойчивости грунта при воздействии на него потока воды в щели или в полой трещине (схемы 7 а, б, в)

3.29. Суффозия грунта в виде размыва его поверхности, являющейся стенкой трещины, может произойти при сосредоточенной фильтрации воды по трещинам, образовавшимся в силу разных причин (например, землетрясения) в водоупорном элементе (ядре, экране) каменно-земляной плотины или в береговых массивах (трещины бортового отпора). Характеристики суффозионной устойчивости грунта (размывающую скорость, градиент напора) рекомендуется в данном случае определять, испытывая грунт в щелевом суффозионном лотке так, как это описано в приложении 6.

Для определения суффозионной устойчивости грунта при воздействии на него потока воды со стороны устья «оперяющей» полой трещины (схема в на рис. 7) или, например, открытого шва между плитами крепления откоса грунтовой плотины, проводить испытания надо используя установки типа Бора по методике, которая описана в приложении 7.

Определение сопротивляемости грунтов контактному выпору

3.30. Контактный выпор как разновидность механической суффозии характерен лишь для грунтов, обладающих связностью (сцеплением частиц).

Вследствие контактного выпора может произойти местное нарушение фильтрационной прочности водоупорного элемента (понура, ядра, экрана) каменно-земляной плотины или другого сооружения, в связи с чем определение критериев сопротивляемости глинистого грунта выпору надо рассматривать как составную часть общей характеристики его суффозионных свойств.

3.31. В данном случае фильтрационную прочность глинистого грунта водоупорного элемента следует характеризовать критическим значением выходного градиента напора iвп, при котором начинаются пластические деформации глинистого грунта вследствие его выдавливания в наиболее крупные поры материала обратного фильтра дренажа или в трещины основания (рис. 11).

Если известен поперечник этих пор Dп, критическое значение выходного градиента

,                                                       (3.13)

где Rр = 0,1eхр, МПа - долговременная прочность грунта на разрыв; x = , D*п - безразмерное отношение диаметра поры к первоначально выбранной единице длины, см.

3.32. Оценивая фильтрационную прочность глинистого грунта на выпор, необходимо иметь, как минимум, двукратный запас в величине градиента напора по отношению к критическому его значению, которое может быть определено по формуле (3.13).

Эту формулу можно использовать для расчетов при коэффициенте пористости грунта

.                                              (3.14)

Рис. 11. Графики изменения разрушающего градиента напора при контактном выпоре глинистого грунта с показателем текучести IL = 1

Для облегчения расчетов на рис. 12 приведены графики изменения долговременной прочности в зависимости от е и eL конкретного грунта. Как видно, малопластичные супесчаные грунты с eL £ 0,75 более чувствительны к изменению плотности и значительно быстрее набирают прочность при уплотнении, чем суглинки и глины.

3.33. Выражение (3.13) критического градиента напора можно использовать для расчетов суффозионной устойчивости глинистых грунтов, не содержащих крупнозернистых (дресвяно-щебнистых) включений. Если такие включения имеются, а также в тех случаях, когда надо более подробно выяснить характер поведения грунта при контактном его выпоре, особенно при действии внешнего давления, рекомендуется обращаться к эксперименту, методика которого описана в приложении 8.

3.34. Разновидностью контактной суффозии также является перемещение под действием поперечного фильтрационного потока частиц несвязного грунта в поры более крупного зернистого материала (например, в поры обратного фильтра) или, что то же самое, перемещение частиц в поровом пространстве неоднородного по зерновому составу грунта (рис. 8, б).

Рис. 12. Изменение долговременной прочности глинистых грунтов на разрыв

Данная разновидность суффозии по своей физической сущности будет принципиально отличаться от контактного выпора связного грунта и поэтому разрушающие (критические) значения выходных градиентов напора будут иными. Они намного меньше разрушающих градиентов для связных грунтов.

Вместе с тем различными оказываются разрушающие выходные градиенты при восходящем и нисходящем фильтрационном потоке, что подтверждается приводимыми на рис. 9 графиками изменения этих градиентов в зависимости от соотношения размеров частиц грунта и диаметра пор, в которые частицы перемещаются под воздействием фильтрационного потока.

Определение сопротивляемости грунтов контактному размыву

3.35. В случаях, когда оценка суффозионной устойчивости грунта по существующим зависимостям оказывается недостаточной или когда условия воздействия фильтрационного потока на грунт не совсем обычны (например, наличие пульсаций давления в потоке или колебаний всей системы), рекомендуется обращаться к экспериментальным испытаниям грунта, используя для этого специальные приборы типа фильтрационно-суффозионного лотка. Методика таких испытаний описана в приложении 9.

В процессе испытаний должны воспроизводиться (имитироваться) главные обстоятельства суффозионного разрушения грунта, какие, по всем предположениям, будут иметь место в натуре:

положение размываемой поверхности грунта по отношению к коллектору, вмещающему продольный фильтрационный поток;

наклон этой поверхности к горизонту;

величина контактных напряжений в грунте;

гидродинамический режим фильтрационного потока в коллекторе (не стационарность, пульсации, величина пьезометрического напора и т.д.);

интенсивность и направление фильтрационного потока в самом испытываемом грунте.

При отсутствии в лаборатории суффозионного лотка испытания грунта на контактный размыв можно (с некоторыми ограничениями) проводить в вертикальных приборах-пермеаметрах, используя приемы, описанные в приложении 10.

Рекомендуется при испытаниях обращать внимание на качество подаваемой в коллектор воды: она должна быть обязательно деаэрированной, поскольку наличие в воде мелких пузырьков воздуха приводит к резкому снижению гидродинамического воздействия на структуру размываемого грунта и завышению получаемых в опыте размывающих скоростей и градиентов напора.

Приложение 1

МЕТОДИКА ИСПЫТАНИЙ НА ВОДОПРОНИЦАЕМОСТЬ НЕСВЯЗНОГО ЗЕРНИСТОГО ГРУНТА В ВЕРТИКАЛЬНОМ ФИЛЬТРАЦИОННО-СУФФОЗИОННОМ ПРИБОРЕ

Наиболее распространенным в настоящее время вертикальным фильтрационно-суффозионным прибором, предназначенным для испытаний на водопроницаемость и фильтрационную прочность зернистых грунтов с нарушенной структурой, является прибор (рис. 13), включающий следующие основные элементы: 1 - рабочую камеру цилиндрической формы, выполненную из прозрачного материала, например, оргстекла; 2 - неподвижную опорную решетку, расположенную в нижней части рабочей камеры; 3 - конический отстойник; 4 - присоединенный к отстойнику пескосборник, в котором собираются вымываемые из грунта частицы; 5 - патрубок для выпуска профильтровавшейся через грунт воды (при нисходящей фильтрации) или для ее впуска (при восходящей фильтрации); 6 - приспособление для поддержания на постоянной отметке уровня вытекающей из прибора воды; 7 - подвижная решетка, посредством которой равномерно распределяется по площади образца внешняя нагрузка; 8 - шток, передающий нагрузку от силового домкрата; 9 - устройство для измерения деформаций сжатия образца грунта; 10 - приспособление (вантуз) для выпуска воздуха из верхнего отсека рабочей камеры; 11 - крышку рабочей камеры; 12 - приспособление для создания и измерения напора воды, подаваемой в рабочую камеру; 13 - тройниковые краники для регулирования поступления воды в пьезометры и выпуска из них воздуха; 14 - трубчатые пьезометры.

Подготавливая грунт к испытаниям на водопроницаемость, необходимо сначала отобрать представительную его пробу (навеску), руководствуясь следующими правилами:

а) толщина образца грунта, уложенного в рабочую камеру прибора, не должна быть меньше половины диаметра камеры;

б) по зерновому составу грунт в приборе (образец) практически не должен отличаться от исходной пробы или грунта с определенными расчетными характеристиками;

в) размер наиболее крупных частиц в грунте (образце) не должен превышать одной четверти диаметра рабочей камеры прибора, в связи с чем надо заранее выбирать для испытаний прибор соответствующего калибра;

г) сильно разнозернистый грунт с hx > 15 перед укладкой в прибор надо хорошо перемешать и увлажнить до wн = 2 - 3 %, чтобы уменьшить сегрегацию (фракционирование);

Рис. 13. Вертикальный фильтрационно-суффозионный прибор

д) перед самой укладкой грунта в прибор надо взять контрольную пробу на влажность, а оставшуюся его часть взвесить.

Подготовленный таким образом грунт можно затем укладывать в прибор, но, чтобы при этом не допустить просыпания его частиц через крупные отверстия решетки, надо ее прикрыть либо мелкой сеткой, либо подстилающим слоем 15 из зернистого материала, подобранного по принципу обратного фильтра. Тут же следует определить по трем-четырем точкам отметку (заглубление) сетки или подстилающего слоя, принимая за ноль отсчета верхнюю торцевую плоскость камеры прибора.

Грунт надо укладывать в прибор отдельными слоями, подвергая его легкому уплотнению трамбованием, а около стенок камеры - штыкованием (чтобы здесь не осталось крупных, так называемых пристенных пор).

Затем на поверхности уложенного грунта 16 делают пригрузочный слой (подсыпку) 17 для более равномерного распределения расхода воды, втекающей в верхний отсек рабочей камеры. При необходимости грунт до испытаний на водопроницаемость подвергают уплотнению расчетным давлением, фиксируя при этом его деформацию (осадку верхней решетки).

Последним этапом подготовки к испытаниям является водонасыщение дистиллированной пли кипяченой водой, которую для этого подают с капельным расходом в нижний отсек рабочей камеры через сливной бачок 6. Во время замачивания открывают выпускные отверстия пьезометрических краников, облегчая тем самым выдавливание воздуха из грунта.

После замачивания грунта верхний отсек камеры заливают водой и присоединяют пьезометры. Затем приступают непосредственно к определению водопроницаемости грунта, для чего измеряют тем или иным способом стабильный расход Q воды, профильтровавшейся при некотором ее напоре H через грунт. Деля этот расход на площадь сечения w камеры прибора, находят скорость фильтрации v = Q/w, и одновременно по показаниям пьезометров вычисляют градиенты напора in на каждом из контролируемых участков испытываемого образца. И, наконец, по формуле Дарси (если фильтрация воды в образце происходит при ламинарном режиме) определяют коэффициенты фильтрации соответственно для любого из этих участков:

.

Приложение 2

МЕТОДИКА ИСПЫТАНИЙ НА ВОДОПРОНИЦАЕМОСТЬ НЕСВЯЗНОГО ГРУНТА В ГОРИЗОНТАЛЬНОМ ЛОТКЕ

Водопроницаемость несвязного грунта также можно определить, испытывая его в горизонтальном лотке (рис. 14), с помощью которого создают условия напорной или безнапорной фильтрации воды в грунте. В первом случае лоток должен иметь приспособление в виде поршня, установленного в верхней части рабочей камеры и обеспечивающего ее герметизацию. Это вызывает существенное усложнение конструкции лотка. Но сама методика испытаний грунта в напорном лотке практически ничем не отличается от методики экспериментов по определению проницаемости грунтов с помощью вертикального фильтрационно-суффозионного прибора.

Рис. 14. Испытания грунта на водопроницаемость в безнапорном фильтрационном лотке

1 - испытываемый грунт; 2 - депрессионная поверхность; 3 - капиллярная кайма

Не столь существенны отличия испытаний грунта в безнапорном лотке.

Прежде всего, необходимо убедиться в том, что капиллярная кайма в грунте особенно не повлияет на величину площади живого сечения фильтрационного потока.

В данном случае необходимо подбирать высоту засыпки грунта в зависимости от его крупности (точнее, высоты капиллярного поднятия в нем воды). Такими грунтами могут быть крупнозернистые пески или песчано-гравийные грунты.

Понижая ступенями в процессе испытаний грунта уровень нижнего бьефа в лотке и измеряя при этом стабильные расходы воды и одновременно пьезометрические уровни на границах отдельных участков, определяют средние значения коэффициента фильтрации грунта в пределах каждого из этих участков:

,

где В - ширина рабочей камеры лотка; ln - средняя длина участка (отсека); Тп - средняя высота отсека, ограниченная депрессионной поверхностью потока; Dhn - изменение напора по длине отсека.

Коэффициент фильтрации всей испытываемой засыпки (образца) грунта можно вычислить, используя формулу Дюпюи:

,

где L - общая длина засыпки грунта в лотке; h1 и h2 - уровни воды в верхнем и нижнем бьефах лотка.

Приложение 3

КОНТЕЙНЕР ДЛЯ ХРАНЕНИЯ И ТРАНСПОРТИРОВКИ ОБРАЗЦОВ ГРУНТА, ОТОБРАННЫХ С ПОМОЩЬЮ РЕЖУЩИХ КОЛЕЦ

Известно, что при невозможности испытаний образцов грунта на месте, их приходится парафинировать для предохранения от высыхания и механических повреждений во время перевозки. Парафинирование отнимает много времени, в последующем усложняет процесс подготовки образцов к испытаниям.

Рис. 15. Контейнер для транспортировки и хранения образцов грунта, отобранных с помощью колец

В связи с этим предлагается специальный контейнер для хранения и транспортировки образцов грунта, отобранных с помощью колец, без парафинирования. Контейнер, конструкция которого поясняется чертежом на рис. 15, представляет собой две пластины, изготовленные из толстой фанеры или текстолита, соединенные болтами. Между этими пластинами помещают кольца с грунтом. Для обеспечения полной герметизации колец на внутренней поверхности пластин укрепляется резиновая или полиэтиленовая прокладка. После того, как кольца с грунтом уложены в контейнер, гайки на болтах закручиваются и, таким образом, кольца оказываются плотно прижатыми к прокладкам. Практически удобнее всего помещать в контейнер от 8 до 12 колец. Для переноски контейнера к нему прикрепляется ручка.

Приложение 4

МЕТОДИКА ИСПЫТАНИЙ НА ВОДОПРОНИЦАЕМОСТЬ ОБРАЗЦОВ ГЛИНИСТЫХ ГРУНТОВ

Испытания образцов с нарушенной структурой

Водопроницаемость глинистых грунтов с нарушенной структурой определяют обычно в лабораторных условиях с помощью фильтрационно-компрессионных приборов, один из которых показан на рис. 16.

В этом приборе образец грунта, помещенный в цилиндрическую рабочую камеру, подвергается сжатию при действии усилия, передаваемого от гидравлического пресса через шток на верхнюю подвижную решетку. Одновременно осуществляется фильтрация воды, подаваемой из поплавкового бачка-дозатора, автоматически поддерживающего заданную величину напора. Деформацию (сжатие) образца грунта в процессе его испытаний определяют по показаниям мессуры, закрепленной на штоке. Напор воды, действующий на весь образец, определяют по показаниям пьезометров, соединенных с верхним и нижним бьефами. В тех случаях, когда необходимо выяснить распределение пьезометрического напора по толщине образца грунта, используют для этого электрические преобразователи давления (датчики) индуктивного типа, присоединенные непосредственно к штуцерам пьезометров на стенке рабочей камеры прибора. С внутренней стороны стенки каждый из этих штуцеров должен быть снабжен водоприемником из пористой керамики в виде диска диаметром около 1 см.

Следует иметь в виду, что уплотнять грунт до заданной начальной плотности допустимо лишь путем предварительного его сжатия, но не трамбованием, так как при трамбовании возникают отдельные сильно уплотненные слои, наличие которых является причиной неравномерного распределения напора по толщине образца и вследствие этого возможна ошибка в определении проницаемости грунта.

Сразу после начального уплотнения грунта его замачивают дистиллированной водой или химически равновесным раствором содержащихся в нем солей в направлении снизу вверх до тех пор, пока вода не проникнет через всю толщу образца, после чего камеру прибора заполняют водой до уровня слива, расположенного на постоянной отметке. Поднимая бачок дозатора или расходомерную трубку, создают напор, достаточный для точного измерения объема фильтрата.

Во время испытаний грунтов в фильтрационно-компрессионных приборах особое внимание необходимо уделять полному удалению воздуха из подстилающего слоя, на который укладывается образец, так как скопившийся под нижней поверхностью образца воздух препятствует протеканию воды при малых ее напорах, что затем ошибочно интерпретируется как отклонение от закона Дарси. Удаление воздуха обычно осуществляют через кран, расположенный чуть ниже образца, наклоняя при этом прибор, установленный в обойме, которую можно поворачивать в вертикальной плоскости (рис. 17).

Рис. 16. Рабочая схема испытаний грунта в вертикальном фильтрационно-суффозионном приборе

Рис. 17. Схема усовершенствованного фильтрационно-суффозионного прибора с поворотным нагрузочным устройством

1 - цилиндрическая рабочая камера; 2 - испытываемый грунт (заполнитель); 3 - отстойник; 4 - грунтосборник; 5 - сливной бачок; 6 - патрубок; 7 - обойма; 8 - червячный механизм; 9 - ось; 10 - вилка; 11 - хвостовик; 12 - трубчатая стойка; 13 - опорная крестовина; 12 - пьезометрический щит; 15 - гидравлический домкрат; 15 - чашка; 17 - седиментометр

В соответствии с основной целью исследований, которая обычно заключается в выяснении характера изменения проницаемости грунта по мере его уплотнения, в каждом опыте постепенно увеличивают (отдельными ступенями) сжимающее давление. Таким образом, весь опыт в данном случае подразделяется на ряд этапов (периодов), продолжительность которых зависит в основном от времени полного затухания осадок и выравнивания расходов фильтрации.


Рис. 18. Пример графической интерпретации результатов испытаний грунта в фильтрационно-компрессионном приборе


Таблица 2

ОПЫТ № 301    Прибор № 1                                                                       Объект: Ирганайская ГЭС

Площадь сечения рабочей камеры                                 Грунт из месторождения 53, участок А, шурф 827, глубина 0,2 - 4,2 м.

w = 94,3 см2                                                                       Лаб. № 145 (eL = 0,70; Iр = 0,14), мелкозем.

 

Время измерения

Отметка верхнего бьефа

Отметка нижнего бьефа

Напор

Показания индикаторов

Величина суммарной осадки поршня

Высота образца

Объемный вес грунта

Пористость грунта

Коэффициент пористости грунта

Градиент напора

Объем профильтровавшейся воды

Продолжительность периода измерений

Расход фильтрации

Скорость фильтрации

Температура воды

воздуха

Скорость фильтрации, приведенная к Т = 20 °C

Коэффициент фильтрации

 

часы, дни

Ñ

ВБ, см

Ñ

НБ, см

Н, см

см

S, см

h, см

g, г/см3

n, %

e, %

i

V, см3

Т, с

Q, cм3/c

v, см3

t

v20°, см/с

k, см/с

1

2

 

Начальные данные:

 

0,0

-

 

7,02

1,483

0,453

0,828

 

 

 

 

 

 

 

 

 

17.10.80

После уплотнения давлением s = 12 КПа и

 

 

 

 

 

 

 

 

 

 

 

 

замачивания образца:

 

 

 

 

 

 

 

 

 

 

 

 

 

 

 

 

0,26

-

0,26

6,994

1,489

0,450

0,818

 

 

 

 

 

 

 

 

 

18.10.80

 

 

 

 

 

 

 

 

 

 

 

 

 

 

 

 

 

 

 

1300 - 1500

112,8

49,8

63,05

3,40

-

0,340

6,680

1,558

0,425

0,739

9,44

76

7200

0,0106

1,12×10-4

21,5

1,11×10-4

1,18×10-5

 

1535 - 1635

112,8

49,8

63,05

3,40

-

0,340

6,680

1,558

0,425

0,739

9,44

39

3600

0,0108

1,14×10-4

21,5

1,13×10-4

1,20×10-5

 

1710

Сжимающая нагрузка увеличена до s = 18 КПа

 

 

 

 

 

 

 

 

 

 

 

19.10.80

 

 

 

 

 

 

 

 

 

 

 

 

 

 

 

 

 

 

 

930 - 1030

112,8

50,1

62,7

5,73

-

0,73

6,447

1,615

0,404

0,678

9,73

11

3600

0,0031

3,24×10-5

20,0

3,24×10-5

3,3×10-6

 

1040°

Сжимающая нагрузка постепенно увеличена до s = 42 КПа

 

 

 

 

 

 

 

 

 

 

2010

Расход фильтрации определялся по понижению уровня воды в пьезометре ВБ

 

 

 

 

 

 

 

 

1030 - 1130

204,2

50,4

154,6

10,6

-

1,058

5,962

1,745

0,356

0,553

25,9

0,96

3600

2,65×10-4

2,81×10-6

20,0

2,81×10-6

1,08×10-7

 

1330 - 1630

197,1

50,4

148,9

10,6

-

1,058

5,962

1,745

0,356

0,553

24,9

2,57

10800

2,38×10-4

2,52×10-6

21,0

2,49×10-6

9,98×10-8

 

 

 

 

 

 

 

 

 

 

 

 

 

 

 

 

 

 

 

 


Используя полученные в опыте данные, вычисляют затем значения коэффициентов фильтрации и пористости грунта, изменение которых во времени (вместе с другими характерными параметрами) можно наглядно представить в виде графиков, как это показано на рис. 18.

Не следует при этом забывать, что вычисленный по расходу и градиенту напора коэффициент фильтрации грунта надо привести для последующих сравнений к определенной температуре (лучше - к 20 °С). Все экспериментальные и полученные расчетом данные рекомендуем во время испытаний записывать в таблицу, наиболее удобная форма которой показана (табл. 2).

Рис. 19. Фильтрационно-компрессионный прибор (обозначения в тексте)

При весьма малых расходах фильтрации (Q < 10-5 см3/с) определять их удобно по понижению уровня в пьезометрической трубке, одновременно используемой в этом случае для создания напора воды. Так, если известен начальный напор воды в трубке H0 и напор Ht, через интервал времени t, коэффициент фильтрации грунта

,

где dт -диаметр пьезометрической трубки; Dк - диаметр поперечного сечения рабочей камеры прибора; Т - толщина образца грунта.

Как видно, при понижениях уровня воды ко времени отсчета, не превышающих 0,05Н0, коэффициент фильтрации можно вычислять, не считаясь с этим понижением, т.е. средний за данный интервал времени градиент напора, принимать iс = Н0/Т.

Испытание образцов с ненарушенной структурой

Наиболее достоверные данные о проницаемости грунта могут быть получены в результате испытаний образцов, отобранных с помощью режущих колец непосредственно из самого сооружения или опытного его фрагмента.

Эти образцы вместе с кольцами помещают в специально приспособленные для проведения такого рода испытаний фильтрационно-компрессионные приборы. Конструкция одного из них приведена на рис. 19, из которого видно, что пробоотборное кольцо 3 с находящимся в нем грунтом 4 расположено между верхней 6 и нижней 1 камерами прибора. Эти камеры снабжены тремя откидными тягами 11, с помощью которых осуществляется плотная стыковка обеих камер с кольцом, благодаря чему появляется возможность подавать через краны 10 и 12 под напором воду в одну из камер, откуда она поступает в испытываемый грунт. С целью равномерного распределения потока воды по площади образца, а также для предотвращения продавливания грунта в отверстия решеток 2 и 5 снизу и сверху образца рекомендуется укладывать фильтровальную бумагу и тонкую латунную сетку с ячейками не более 0,05 см.

Рис. 20. Стенд фильтрационно-компрессионных приборов с поворотными нагрузочными устройствами

До начала испытаний прибор помещают в нагрузочное устройство, позволяющее переворачивать прибор перед водонасыщением грунта и создавать усилие, необходимое для его уплотнения. Стенд фильтрационно-компрессионных приборов, снабженных такими нагрузочными устройствами, показан на рис. 20.

После окончания испытаний образца грунта надо обязательно (и, по возможности, точнее) определить его конечную влажность wк, чтобы по ней вычислить коэффициент пористости

и таким образом дополнительно проконтролировать величину плотности грунта, вычисленную по осадке верхней решетки, передающей на грунт усилие от домкрата.

Приложение 5

МЕТОДИКА ИСПЫТАНИЙ ГРУНТА НА УСТОЙЧИВОСТЬ К ОБЪЕМНОЙ СУФФОЗИИ

Методика испытаний грунта на устойчивость к объемной суффозии практически не отличается от методики испытаний на водопроницаемость, которая достаточно подробно описана в приложении 1. В данном случае необходимо соблюдать те же правила водонасыщения грунта перед испытаниями и осуществлять меры по предотвращению выделения из воды воздуха в процессе самого испытания. Поэтому очень часто, проводя один эксперимент, стараются одновременно получить характеристики водопроницаемости и суффозионной устойчивости грунта.

Отличительной является операция по контролю интенсивности суффозии, которую надлежит выполнять с помощью специальных приспособлений - грунтосборников (песколовок) или использовать более сложные электромеханические устройства - суффозиометры.

Рис. 21. Песколовка револьверного типа (обозначения в тексте)

Конструкция одного из таких приспособлений - револьверной песколовки - поясняется чертежом на рис. 21, из которого видно, что песколовка состоит из двух дисков 1 и 2, находящихся на общей оси 3. На верхнем диске 2 имеется отверстие 4, совмещенное с патрубком 5, с помощью которого песколовку присоединяют к отстойнику прибора 6.

В нижнем вращающемся диске 1 имеется несколько (два-три) отверстий 7 с уплотнительными шайбами из фторопласта 8. Каждое из этих отверстий может быть совмещено с отверстием 4 в верхнем диске. В отверстия ввернуты трубки-капсулы 9 из прозрачного материала, в которых улавливаются выпавшие из отстойника частицы грунта 10. Поворачивая по мере необходимости нижний диск, разобщают с отверстием 4 одну из трубок с находящимися в ней частицами грунта и совмещают с этим отверстием другую предварительно заполненную водой трубку (для чего в верхнем диске высверлено небольшое дополнительное отверстие 11).

Таким образом, в течение одного опыта можно многократно отбирать порции частиц, вынесенных из испытываемого грунта. Однако здесь надо иметь в виду, что подстилающий образец грунта зернистый материал должен быть подобран так, чтобы через него свободно проходили вымываемые из грунта частицы.

Более оперативно можно получить информацию об интенсивности суффозии, если использовать электромеханический суффозиометр (рис. 22), позволяющий непрерывно и с высокой точностью взвешивать осадок частиц, выпавших из отстойника прибора. Подключив к суффозиометру регистрирующий прибор, можно получить запись изменения суффозии во времени, кроме того, обеспечить синхронизацию этой записи с другими получаемыми в опыте характеристиками (расходом фильтрации, напором).

При проведении опыта надо учитывать, что по мере увеличения расхода фильтрации скорость протекания воды через отстойник прибора также возрастает, в связи с чем наиболее мелкие частицы могут не успеть седиментировать и попасть в суффозиометр; они уйдут транзитом на слив. В этом случае рекомендуется осуществлять осаждение таких частиц в дополнительном отстойнике достаточно больших размеров. Каждый отстойник должен иметь днище в виде перевернутой пирамиды или конуса с крутыми (более 50°) стенками, чтобы обеспечить сползание вниз осевших частиц.

Испытания грунта начинают, как правило, при заведомо неопасных для него градиентах напора, который постепенно увеличивают ступенями по 10 - 20 % до тех пор, пока не обнаружатся признаки суффозии (появление очагов размыва, вынос частиц, деформация образца, изменение его проницаемости). При этом надо, не меняя напора, выяснить установившееся значение перечисленных показателей состояния грунта, после чего можно еще повысить напор и вновь повторить те же операции.

Рис. 22. Схема электромеханического суффозиометра

1 - размываемый грунт; 2 - отстойник; 3 - соединительный патрубок; 4 - прозрачный сосуд; 5 - чашка-пескосборник; 6 - капроновая нить; 7 - стеклянная трубка; 8 - пластинчатая пружина; 9 - индуктивный датчик перемещения; 10 - электронный блок

Приложение 6

МЕТОДИКА ИСПЫТАНИЙ ГРУНТА НА РАЗМЫВ ПОТОКОМ ВОДЫ В ТРЕЩИНЕ (ЩЕЛИ)

Такие испытания можно выполнить в лабораторных условиях с помощью суффозионного щелевого лотка. Лоток (рис. 23) состоит из рабочей камеры 1 с находящейся в ней подвижной кассетой 2, куда уложен образец грунта 3, приспособлений - щелемеров 4, расположенных на прозрачной крышке 5 камеры лотка, и устройства для перемещения кассеты, состоящего из прикрепленных к ней тяг 6, соединенных также с траверсой 7, на концевых участках которой имеются винты 8. Места прохода тяг через дно камеры герметизированы сальниками 9, а для уплотнения промежутка между кассетой и дном камеры здесь помещена легко сжимаемая и водонепроницаемая прокладка 10, например, из губчатой резины.

Рис. 23. Суффозионный щелевой лоток с подвижной кассетой (обозначения в тексте)

На торцевых стенках камеры имеются патрубки 11, через которые подается и отводится вода, а перед этими патрубками в камере установлены струераспределительные решетки 12. Для уменьшения сбойности течения потока на концевых участках щели кассета снабжена открылками 13. На крышке камеры лотка размещены штуцеры 14, к которым присоединяются пьезометры для измерения напора потока воды в щели.

Для проведения испытаний образец грунта 3 (в виде бруска с выровненной верхней гранью) укладывают по возможности без нарушения его естественной структуры в кассету 2, которая находится в рабочей камере 1 лотка, и фиксируют положение образца в кассете с помощью твердеющего раствора.

Закрывают лоток крышкой 5, присоединяют к штуцерам 14 пьезометры, а к патрубкам 11 - приспособления для создания напора и слива воды, после чего замачивают образец, заполняя камеру водой.

Если при впитывании воды происходит деструкция поверхностного слоя образца, его плотно прижимают к крышке, что легко осуществить при наличии подвижной кассеты.

Затем, вращая винты 8, устанавливают и измеряют с помощью щелемеров 4 начальное раскрытие щели и, постепенно увеличивая напор воды, доводят скорость и гидравлический уклон потока в щели до прогнозируемых значений этих параметров в натуре и одновременно наблюдают через прозрачную крышку лотка за состоянием поверхности образца, контролируя щелемерами раскрытие щели.

В случае размыва (эрозии) поверхности об интенсивности этого явления можно судить не только по увеличению раскрытия щели, но также по изменению ее проницаемости, характеризуемой средней скоростью потока при данном градиенте напора, который определяют по показаниям пьезометров.

Приложение 7

МЕТОДИКА ИСПЫТАНИЙ ГРУНТОВ НА СУФФОЗИОННУЮ УСТОЙЧИВОСТЬ ПРИ ВОЗДЕЙСТВИИ ПОТОКА ВОДЫ СО СТОРОНЫ УСТЬЯ «ОПЕРЯЮЩЕЙ» ПОЛОЙ ТРЕЩИНЫ (ЩЕЛИ)

Эта часто встречающаяся и весьма опасная разновидность механической суффозии по сути является контактным размывом грунта фильтрационным потоком в трещинном коллекторе. Впервые для изучения данной разновидности суффозии (применительно к оценке фильтрационной прочности сопряжения ядра каменно-земляной плотины со скальным основанием) во ВНИИГе им. Б.Е. Веденеева были созданы специальные установки, получившие название БОРА (что значит боковой размыв). Одна из таких установок Бора-2 показана на фотографии рис. 24, а ее схема - на рис. 25.

Эта установка позволяет воспроизвести условия размыва грунта потоком воды в одиночной трещине с регулируемым раскрытием, которая образуется при расстыковке двух частей бетонной призмы, предварительно расколотой в продольном направлении и являющейся своего рода трещинным коллектором. Для выявления особенностей процесса размыва как при потолочном, так и боковом его вариантах, установка снабжена поворотной платформой, на которой размещается бетонная призма. Кроме того, для стабилизации потока воды трещина имеет достаточно большой разгонный участок.1

1 Общая длина трещины в установке Бора-2 составляет 100 см, а разгонного участка - 50 см.

Рис. 24. Установка Бора для испытания грунта на суффозионную устойчивость к контактному размыву фильтрационным потоком в трещинном коллекторе, (обозначения в тексте)

Методика испытаний грунта на установке Бора-2 заключается в следующем. Испытываемый грунт 1 помещают в рабочую камеру 2, расположенную непосредственно на верхней грани бетонной призмы 3 над устьем продольной трещины 4, разделяющей эту призму на две части, одна из которых неподвижно закреплена на платформе 5, а другую можно с помощью тяг 6 перемещать в поперечном направлении, устанавливая тем самым заданное раскрытие трещины.

Величину раскрытия при этом контролируют по показаниям мессур 7, укрепленных на платформе.

Уложенный грунт затем уплотняют до расчетного объемного веса с помощью поршня 8, воспринимающего необходимое для уплотнения усилие от нагрузочного устройства 9 (гидравлического домкрата, пружин). После консолидации грунта через трещину пропускают поток воды, постепенно увеличивая его напор, пока не начнется размыв грунта. Градиенты напора определяют по пьезометрам 10, присоединенным к штуцерам пьезометрических каналов (отверстий) 11, выходящих в трещину.

Рис. 25. Схема установки Бора (обозначения в тексте)

Интенсивность размыва грунта определяют по нарастанию массы его частиц, выносимых в отстойник 12 и по осадке поршня, регистрируемой мессурами 13. По нарастанию интенсивности размыва и осадок поршня, по мере увеличения скорости течения воды в трещине можно определить ее размывающую величину, которая является характеристикой суффозионной устойчивости грунта при данном воздействии на него фильтрационного потока и данном раскрытии трещины.

При окончательной оценке суффозионной устойчивости грунта следует иметь в виду, что разнозернистые грунты обладают несравненно более высокой устойчивостью к рассматриваемому виду воздействия на грунт фильтрационного потока, поскольку в процессе потолочного размыва устье трещины перекрывается крупными частицами, т.е. над трещиной самопроизвольно образуется своего рода обратный фильтр, предохраняющий грунт от дальнейшего размыва, в связи с чем местная деформация (осадка) грунта над устьем трещины с раскрытием d ограничится величиной

,

где D =  - параметр раскрытия трещины; рd - относительное содержание в грунте частиц (по массе) с размерами, не превышающими раскрытие трещины; yс = 45° + j/2 - угол наклона к горизонту плоскости обрушения (сдвига) грунта над выработкой (в данном случае над размываемым сводом).

В отношении данного вида суффозии потенциально опасными трещинами в скальном массиве основания грунтового сооружения (или в бетонной плите крепления откоса плотины) являются лишь сквозные трещины с раскрытиями свыше 0,5 мм, так как в более тонких трещинах «размывающие» градиенты напора в десятки раз превосходят практически возможные их значения.

Приложение 8

МЕТОДИКА ЛАБОРАТОРНЫХ ИСПЫТАНИЙ ГЛИНИСТОГО ГРУНТА НА ФИЛЬТРАЦИОННУЮ ПРОЧНОСТЬ В УСЛОВИЯХ КОНТАКТНОГО ВЫПОРА

Наиболее простым и доступным способом определения в лабораторных условиях сопротивляемости глинистого грунта контактному выпору является способ его испытаний в вертикальном фильтрационно-суффозионном приборе с цилиндрической рабочей камерой, диаметр которой должен в четыре-пять раз превышать размер наиболее крупных включений как в самом глинистом грунте, так и в грунте дренажа.

Испытания сводятся к определению разрушающих градиентов напора фильтрующейся через образец глинистого грунта жидкости. Для этого образец помещают в рабочую камеру прибора, укладывая его непосредственно на подстилающий слой крупнозернистого грунта дренажа, и после соответствующего уплотнения пропускают через него поток жидкости при постепенно возрастающем ее напоре до тех пор, пока не произойдет разрушение образца вследствие контактного выпора грунта.

Методически более совершенными являются испытания грунта с помощью специального прибора, конструкция которого поясняется чертежом на рис. 26.

Рис. 26. Прибор для определения фильтрационной прочности грунта в условиях контактного выпора

1 - корпус; 2 - центральная перфорированная трубка; 3 - поршень; 4 - испытываемый грунт; 5 - штуцеры с отверстиями (фильеры); 6 - регулировочный кран; 7 - манометр; 8 - распределительная сетка; 9 - дренажная сетка; 10 - дренажные отверстия; 11 - кювет для сбора воды; 12 - сливная трубка; 13 - индикатор осадки грунта; 14 - выдвижная подставка для индикатора; 15 - пробка

Прибор имеет цилиндрический корпус 1, по оси которого расположена перфорированная трубка 2. Сверху в корпус вставлен массивный поршень 3, передающий внешнее давление на испытываемый грунт 4, который помещен в кольцевое пространство между корпусом и перфорированной трубкой. В корпус прибора ввинчены штуцеры (фильеры) 5 с отверстиями различного диаметра, моделирующими поры в грунте основания экрана или в обратном фильтре дренажа.

Во время проведения опыта вода (жидкость) через кран 6 поступает внутрь перфорированной трубки 2, откуда протекает в грунт и фильтрует к периферии под действием напора, величину которого определяют по показаниям манометра 7.

Для равномерного притока воды (жидкости) к грунту трубка 2 снаружи окружена металлической сеткой 8 галунного плетения. Дренирование фильтрационного потока осуществляется такой же сеткой 9, расположенной на внутренней поверхности корпуса, в котором для лучшего оттока воды имеются дренажные отверстия 10. Профильтровавшаяся вода вытекает через эти отверстия и собирается в кювете 11, откуда она по сливной трубке 12 поступает в мерный сосуд. Суммарную осадку грунта определяют по показаниям трех симметрично расположенных на поршне индикаторов 13, причем опорой для их штоков служат выдвижные подставки 14, закрепленные на корпусе прибора. Эти подставки позволяют легко устанавливать начальные нулевые показания индикаторов.

Рис. 27. Установка для определения фильтрационной прочности грунтов при контактном выпоре

Фильтрационную прочность грунта определяют по величине выходного градиента напора, измеренного в то время, когда начинается разрушение грунта в фильере с отверстием данного диаметра. При этом по мере завершения контактного выпора фильеры последовательно закупоривают, ввинчивая в них пробки 15, что позволяет в одном опыте испытать грунт при его выпоре в несколько отверстий различного диаметра и установить таким образом зависимость между критическим градиентом и диаметром отверстий.

Величину градиента на контуре разгрузки потока определяют по формуле для осесимметричной фильтрации в напорном пласте:

,

где H0 - напор жидкости внутри перфорированной трубки; r0 и R - расстояния от оси прибора до распределительной сетки и дренажной.

Один из таких приборов с рабочей камерой диаметром 31 см и высотой 26 см показан на фотографии (рис. 27). Вертикальная сжимающая нагрузка, постоянно передаваемая поршнем на грунт, может достигать в этом приборе 250 H/см2.

Приложение 9

ИСПЫТАНИЯ ГРУНТА НА КОНТАКТНЫЙ РАЗМЫВ В ФИЛЬТРАЦИОННО-СУФФОЗИОННОМ ЛОТКЕ

Фильтрационно-суффозионный лоток (рис. 28), чаще всего используемый для испытаний грунта на контактный размыв, состоит из рабочей камеры в виде открытой сверху прямоугольной коробки, к торцевым решетчатым стенкам которой присоединены: с одной стороны - фор-камера, куда подают воду, а с другой - отстойник с водосливом. Одну из боковых стенок камеры обычно делают прозрачной, чтобы можно было наблюдать, как происходит размыв грунта. На противоположной боковой стенке имеются отверстия с присоединенными к ним (через трехходовые краники) пьезометрами.

После заполнения рабочей камеры грунтом сверху в нее вставляют массивный поршень, с помощью которого передается на грунт сжимающее усилие, воспринимаемое от гидравлического домкрата или рычажного устройства.1

В зависимости от заданных условий испытываемый грунт укладывают либо под коллектором - слоем крупнозернистого материала, - либо над ним (случай так называемого потолочного размыва). Считается обязательным торцевые участки слоя грунта на длине около 10D50 защищать от размыва (экранировать) тонкой металлической фольгой, так как на этих участках возникает сбойность (перемежаемость) фильтрационного потока, не характерная для внутренней зоны коллектора.

1 Иногда сжимающее давление создают при помощи «гидравлической подушки», в связи с чем рабочую камеру лотка плотно закрывают крышкой, под которой укладывают «подушку».

К самим испытаниям приступают после водонасыщения грунта и полной его консолидации под нагрузкой, о чем судят по прекращению осадки поршня (или расширения гидравлической подушки), регистрируемой индикаторами, установленными на поршне.

Рис. 28. Горизонтальный фильтрационно-суффозионный лоток

В процессе испытаний главное внимание следует обратить на выяснение наименьших значений скорости и градиента напора фильтрационного потока в коллекторе, при которых возникает устойчивый размыв грунта (эти значения называют размывающими); интенсивности размыва (расхода выносимых потоком частиц грунта) по мере увеличения скорости потока и соответствующих смещений размываемой поверхности (о чем свидетельствует осадка поршня).

Для большей наглядности все характерные для процесса испытаний грунта данные выражают в виде графиков, как это показано на рис. 29. Здесь, например, можно отчетливо видеть, как быстро прекращается контактный размыв разнозернистого грунта вследствие появления в процессе размыва отмостки из содержащихся в грунте крупных частиц, которые не могут пройти через поры коллектора.

Рис. 29. Рекомендуемый образец графической интерпретации результатов испытаний грунта на контактный размыв

1 - суглинисто-щебнистый грунт gd = 1,972 г/см3; h =10,2 см; wн = 10,9 %; 2 - гравий крупностью 5 - 7 мм, n = 0,39

Рис. 30. Схема и результаты испытаний грунта на контактный размыв в вертикальном фильтрационно-суффозионном приборе

1 - супесчано-щебнистый грунт Сафедобского месторождения  = 1,70 г/см3, wн = 0,7 %;  = 1,76 г/см3; 2 - обратный фильтр (галечник) D = 2 - 40 мм, gd = 1,90 г/см3, n = 0,28; 3 - песколовка

Примечания. 1. Снижение коэффициента фильтрации галечника при градиентах 0,003 - 0,02 обусловлено влиянием закупорки пор воздухом.

2. Скорость движения воды в порах обратного фильтра подсчитывалась по формуле v0 = v/n.

Приложение 10

ПРОВЕДЕНИЕ ИСПЫТАНИЙ ГРУНТА НА КОНТАКТНЫЙ РАЗМЫВ В ВЕРТИКАЛЬНОМ ФИЛЬТРАЦИОННО-СУФФОЗИОННОМ ПРИБОРЕ

Для испытаний по данной схеме (рис. 30) выбирают подходящий по размерам вертикальный прибор с цилиндрической рабочей камерой, в которую укладывают грунт и одновременно материал коллектора (например, материал первого слоя обратного фильтра, защищающего от размыва глинистое ядро каменно-земляной плотины). Для формирования при этом более четкого сопряжения (плоскости контакта) грунта и материала коллектора между ними при укладке помещают тонкую пластинку, которую потом извлекают.

Чтобы избежать деструкции грунта при замачивании (размокания), нижнюю поверхность образца надо защищать надлежаще подобранным по крупности частиц подстилающим слоем, как это показано на схеме опыта (рис. 30). Данному требованию соответствует обычно слой гравия крупностью 5 - 7 мм.

Сверху укладывают пригрузку, которая должна быть менее проницаема, чем материал коллектора, иначе произойдет преждевременный и к тому же нехарактерный размыв входного фрагмента образца. Однако его можно защитить от размыва в этом месте с помощью тонкой фольги или пленки.

При наличии внешней силы, воспринимаемой верхней решеткой, можно в процессе испытаний фиксировать ее осадку, обусловленную контактным размывом грунта, и тем самым получить дополнительное объективное свидетельство о характере протекания размыва (см. график осадок на рис. 30). В остальном испытания проводятся так же, как и в горизонтальном фильтрационно-суффозионном лотке.

СПИСОК РЕКОМЕНДУЕМОЙ ЛИТЕРАТУРЫ

1. Определение водопроницаемости несвязных грунтов

1. Справочное руководство гидрогеолога. - Л.: Недра, 1979, т. 2. Гл. III. Лабораторные методы и эмпирические формулы, применяемые для определения коэффициента фильтрации горных пород, с. 70 - 84.

2. Ж. Коста, Г. Санглера. Механика грунтов. Практический курс (перевод с франц.). - М.: Стройиздат, 1982. Гл. 1. Физические характеристики грунтов; Гл. 2. Грунтовая вода, с. 15 - 87.

3. Кондратьев В. Н. Фильтрация и механическая суффозия в несвязных грунтах. - Симферополь, Крымиздат, 1958. - 75 с.

4. Павчич М. П., Балыков Б. И. Методы определения коэффициента фильтрации грунтов. - М.: Энергия, 1976. - 115 с.

5. Жиленков В. Н. О закономерностях фильтрации в трещинной и зернистой средах закрепляющих растворов типа Ньютоновской жидкости. - Материалы VII Всесоюзного совещания по закреплению и уплотнению грунтов / ВНИИГ им. Б. Е. Веденеева, 1971, с. 504 - 510.

6. Гидродинамические и физико-химические свойства горных пород / Под ред. Н. Н. Веригина. - М.: Недра, 1977. - 271 с. Гл. I. Классификация гидродинамических параметров, способы их определения и уравнения гидродинамики; Гл. II. Лабораторные определения параметров горных пород, с. 13 - 14.

7. Бэр Я., Заславский Д., Ирмей С. Физико-математические основы фильтрации воды. - М.: Мир, 1971. - 452 с.

8. Cisler J. у Kuraz V. Zarizeni ke sledovani stavu a pohybu v nenasycene zemine. - Vodni Hospodarstvi, 1971, № 12, ser. A, p. 341 - 344; fig. 5, lit.: 3.

Лабораторное устройство для наблюдения за уровнем и движением воды в ненасыщенном грунте.

9. Горелик Л. В. О длительности растворения газа в грунтовой воде. - Известия ВНИИГ им. Б. Е. Веденеева, т. 107, 1975, с. 137 - 147.

10. Аверьянов С. Ф. Зависимость водопроницаемости почво-грунтов от содержания в них воздуха. - ДАН СССР, т. 69, № 2, 1949.

11. Булычев В. Г. Теория газонасыщенных грунтов. - М.: Стройвоенмориздат, 1948.

12. Говорков В. М., Шебалин К. Н. Влияние вибрации на выделение газа из жидкой фазы. - Инженерно-физический журнал, 1964, № 2.

13. Кутателадзе С. С., Зысин В. А. Нагрев и деаэрация воды при непосредственном смешении ее с паром. - В кн.: За новое советское энергооборудование, 1939.

14. Bouwer H. Unsaturated flow in groundwater hydraulic. - Proc. ASCE, 1964, vol. 90, № HY5, p.

15. Corey A. T. Measurement of water and air permeability in unsaturated soil. - Proc. Soil Sci. Soc. Am., 1957, vol. 21, p. 7 - 10.

16. Ведерников В. В. Определение коэффициента фильтрации почво-грунтов при неполном их насыщении. - Известия ВУЗов: Геология и разведка, 1973, № 8, с. 86 - 88.

17. Гузов М. 3. Условия фильтрации в фильтрационных приборах и новый метод определения коэффициентов фильтрации в лабораторных условиях. - Труды Киевского гидромелиоративного института, 1956, вып. 6, с. 119 - 131.

18. Lee К. L. and Black D. К. Time to dissolve air bubble in drain line. - Proc. Amer. Soc. Civ. Engrs, J. Soil Mech. and Foundat. Div., 1972, vol. 98, № SM2, p. 181 - 194.

Время, необходимое для растворения воздушных пузырьков в дренажной трубе.

19. Amar S., Dupny H. Etude stir la permeabilite des sols fins mesuree en laboratoire. - Lab. Ponts Chauss., Rapp. Rech., 1973, № 23, p. 1 - 34.

Исследование водопроницаемости мелкозернистых грунтов в лаборатории.

2. Определение водопроницаемости связных (глинистых) грунтов

20. Терцаги К., Пек Р. Механика грунтов в инженерной практике / Пер. с англ. - М.: Госстройиздат, 1958.

21. Чаповский Е. Г. Лабораторные работы по грунтоведению и механике грунтов. - М.: Недра, 1966. - 136 с.

22. Ломтадзе В. Д. Методы лабораторных исследований механических свойств горных пород. - Л.: Недра, 1972. - 171 с.

23. Жиленков В. Н. Водопроницаемость экранирующих покрытий из глинистого грунта. - Известия ВНИИГ им. Б. Е. Веденеева, т. 115, 1977, с. 101 - 109.

24. Энгельгардт В. Поровое пространство осадочных пород / Пер. с нем. - М.: Недра, 1964. - 232 с.

25. Павилонский В. М. Методика определения коэффициента фильтрации глинистых грунтов при малых градиентах напора. - Труды ВНИИ ВОДГЕО: Гидротехника, вып. 44, 1974, с. 96 - 100.

26. Бьеррум Л., Хадер Дж. Изменение водопроницаемости уплотненных глинистых грунтов / Пер. с норвежского. - В кн.: Проблемы инженерной геологии, вып. 2, 1960, с.

27. Vanicek I., Pachta V. Problematika laboratorniho stanoveni soucinitele propustnosti jilovitych zemin. - Vodni hospodarstvi, 1976, № 12, s. 319 - 323.

Проблема лабораторного определения коэффициента фильтрации глинистых грунтов.

28. Горбунов Б. П. Определение фильтрационных свойств глинистых грунтов в одометрах. - Труды НИИ оснований, 1961, № 61.

29. Бойченко П. О. К расчетам коэффициента фильтрации связных грунтов по кривой консолидации. - Ученые записки ЛГУ, 1953, 159, № 3, с. 142 - 169.

30. Мигин С. И. К методике определения коэффициента фильтрации глинистых грунтов. - Труды ВНИИ ВОДГЕО: Гидротехника, М.: 1961, с. 13 - 18.

31. Шемшурин В. А. О зависимости между коэффициентами фильтрации и удельным сопротивлением песчано-глинистых пород. - Гидротехническое строительство, 1962, № 9.

32. Фоменко И. Е., Глумов И. Ф. Лабораторный метод изучения движения жидкостей через пористую среду при малых градиентах давления. - Нефтепромысловое дело, 1966, № 8.

33. Инструкция по определению коэффициента фильтрации связных грунтов на приборе Ф-1М. - Госгеолтехиздат, 1962.

34. Зауэрбрей И. И. К вопросу о коэффициенте фильтрации грунтов и методике его исследования. - Известия ВНИИГ, 1932, т. 3, т. 5.

3. Суффозионная устойчивость несвязных грунтов

35. Рекомендации по проектированию обратных фильтров гидротехнических сооружений: П 92-80/ВНИИГ. - Л., 1981.

36. Ziems Jurgen L., Zur Klassifizierung der mechanischen Erdstoffvermungen durch Wirkungen des Sickerwassers, Wasserwirtschaft-Wassertechnik, 1967, Bd. 17, № 2, S. 50 - 55.

37. Каныгин Л. Е. Расчет обратных фильтров с учетом естественных вариаций гранулометрического состава грунтов. - Гидротехническое строительство, 1978, № 5, с. 29 - 32.

38. Развитие исследований по теории фильтрации в СССР. - М.: Наука, 1969. Гл. 8. Фильтрационные деформации, разрушения и прочность нескальных грунтов, с. 314 - 335.

39. Лубочков Е. А. Графический и аналитический способы определения суффозионных свойств несвязных грунтов. - Известия ВНИИГ им. Б. Е. Веденеева, 1965, т. 78, с. 255 - 280.

4. Суффозионная устойчивость связных грунтов

40. Жиленков В. Н. Водоупорные свойства грунтов ядер и экранов высоких плотин. - Л.: Энергия, 1968. - 115 с.

41. Жиленков В. Н. Исследования фильтрационной прочности глинистых грунтов в условиях контактного выпора. - Известия ВНИИГ им. Б. Е. Веденеева: Сборник научных трудов, 1981, т. 146, с. 86 - 95.

42. Жиленков В. Н., Шевченко Н. И. О сопротивляемости глинистых грунтов контактному размыву фильтрационным потоком. - Известия ВНИИГ им. Б. Е. Веденеева: Сборник научных трудов, 1981, т. 146, с. 3 - 12.

43. Горькова И. М. Структурные и деформационные особенности осадочных пород. - М.: Недра, 1965.

44. Кульчицкий Л. И. Природа гидратации глинистых минералов и гидрофильность глинистых пород. - В кн.: Связанная вода в дисперсных системах, вып. 2. - М., 1972.

45. Рейтбурд Ц. М., Царева А. М., Пономарев В. В. Методика изучения текстуры глинистых пород. - В кн.: Современные методы изучения физико-механических свойств пород. М., 1968.

46. Зиман А. Д. Адгезия пыли и порошков. - М.: Химия, 1976. - 380 с.

47. Ларионов Л. К. Инженерно-геологическое изучение структуры рыхлых осадочных пород. - Л.: Недра, 1966.

48. Тан Тьянг-ки. Структурная механика глин. - В кн.: Вопросы геотехники. М., 1959, № 3.

49. Мирцхулава И. Е. О зависимости сопротивления размыву связных грунтов от сцепления. - ДАН СССР, 1959, 124, № 1.

50. Ларионов Л. К., Руднева И. Е., Зайончек В. Г. Определение прочностных характеристик донных грунтов лабораторными методами. - Вестник ЛГУ, т. 24: Геология и география, вып. 4, 1981, с. 20 - 25.

51. Rehfeld Е. Die Erosionsbeständigkeit bindiger Lockergesteine - die wichtigste Grundlage zur Dimensionierung von Dichtungsschichten aus natürlichen Erdstoff Wissenschaftliche Zeitschrift der Technischen Universität Dresden. 16, № 5, 1967.

52. Zaslavsky D., Kassiff G. Theoretical formulation of piping mechanism in cohesive soils. - Geotechnique, 1965, vol. XV, .№ 3, p. 305 - 316.

53. Жиленков В. Н. К оценке фильтрационной прочности трещиноватого массива полускальных пород. - Известия ВНИИГ им. Б. Е. Веденеева: Сборник научных трудов, т. 137, 1980, с. 93 - 99.

СОДЕРЖАНИЕ

Введение. 1

1. Общие положения. 2

Термины и определения. 2

Буквенные обозначения. 4

2. Испытания грунтов на водопроницаемость. 4

Основные закономерности фильтрации воды в зернистых грунтах. 4

О влиянии пневмокольматажа на водопроницаемость зернистых грунтов. Методы устранения этого влияния. 7

Определение водопроницаемости несвязных зернистых грунтов. 9

Испытания на водопроницаемость связных (глинистых) грунтов. 9

3. Определение характеристик суффозионной устойчивости грунтов. 12

Исходные предпосылки видовой классификации нарушений суффозионной устойчивости зернистых (нескальных) грунтов. 12

Принципы оценки суффозионной устойчивости нескальных грунтов. 14

Методы экспериментального определения суффозионной устойчивости грунтов. 18

Приложения. 22

Приложение 1. Методика испытаний на водопроницаемость несвязного зернистого грунта в вертикальном фильтрационно-суффозионном приборе. 22

Приложение 2. Методика испытаний на водопроницаемость несвязного грунта в горизонтальном лотке. 23

Приложение 3. Контейнер для хранения и транспортировки образцов грунта, отобранных с помощью режущих колец. 24

Приложение 4. Методика испытаний на водопроницаемость образцов глинистых грунтов. 25

Приложение 5. Методика испытаний грунта на устойчивость к объемной суффозии. 30

Приложение 6. Методика испытаний грунта на размыв потоком воды в трещине (щели) 32

Приложение 7. Методика испытаний грунтов на суффозионную устойчивость при воздействии потока воды со стороны устья «оперяющей» полой трещины (щели) 33

Приложение 8. Методика лабораторных испытаний глинистого грунта на фильтрационную прочность в условиях контактного выпора. 35

Приложение 9. Испытания грунта на контактный размыв в фильтрационно-суффозионном лотке. 36

Приложение 10. Проведение испытаний грунта на контактный размыв в вертикальном фильтрационно-суффозионном приборе. 39

Список рекомендуемой литературы.. 39

 



© 2013 Ёшкин Кот :-)