Информационная система
«Ёшкин Кот»

XXXecatmenu

ГОСТ 11506-73

МЕЖГОСУДАРСТВЕННЫЙ СТАНДАРТ

БИТУМЫ НЕФТЯНЫЕ

 

Метод определения температуры размягчения
по кольцу и шару

 

 

 

Москва
Стандартинформ
2008

 

 

 

 

МЕЖГОСУДАРСТВЕННЫЙ СТАНДАРТ

БИТУМЫ НЕФТЯНЫЕ

Метод определения температуры размягчения по кольцу и шару

Petroleum bitumen. The method of the determination of softening point
by ring and ball

ГОСТ
11506-73

Дата введения 01.07.74

Настоящий стандарт распространяется на нефтяные битумы, битумные составы, сырье для производства битумов, гудроны, асфальты деасфальтизации и подобные им нефтепродукты (далее битумы) и устанавливает метод определения температуры размягчения этих продуктов по кольцу и шару от 20 до 200 °С.

Сущность метода заключается в определении температуры, при которой битум, находящийся в кольце заданных размеров, в условиях испытания размягчается и, перемещаясь под действием стального шарика, коснется нижней пластинки.

(Измененная редакция, Изм. № 2, 3).

1. АППАРАТУРА И РЕАКТИВЫ

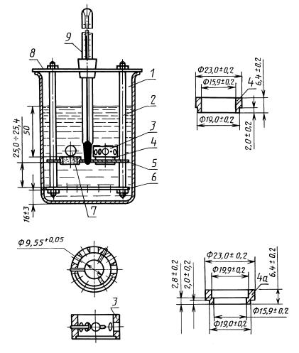
1.1. При определении температуры размягчения нефтяного битума применяют аппарат (чертеж), в комплект которого входят:

стакан (баня) из термостойкого стекла диаметром не менее 85 мм и высотой не менее 120 мм;

кольцо латунное ступенчатое или гладкое. Допускается применять ступенчатое кольцо с верхним внутренним диаметром (17,7 ± 0,2) мм;

пластинки металлические, расстояние между которыми 25,0-25,4 мм. Верхняя пластинка имеет три отверстия: два для помещения колец и третье - для термометра;

штатив, поддерживающий пластинки;

направляющая металлическая накладка для концентрического размещения шариков; допускается проводить определение без направляющей накладки;

шарики стальные по ГОСТ 3722 с номинальным диаметром 9,525 мм и массой (3,50 ± 0,05) г каждый.

Допускается использовать автоматические и полуавтоматические аппараты, а также аппараты с четырьмя гнездами, основные размеры рабочей части которых соответствуют требованиям настоящего стандарта;

пластинка полированная металлическая или стеклянная;

термометр ртутный типа ТН-3 и ТН-7 по ГОСТ 400;

сито с металлической сеткой № 07 по ГОСТ 6613;

нож для срезания битума;

горелка газовая или плитка электрическая с регулировкой нагрева;

глицерин по ГОСТ 6823 или по ГОСТ 6824, или по ГОСТ 6259;

декстрин по ГОСТ 6034;

1 - стеклянный стакан; 2 - штатив; 3 - накладка; 4 - латунное гладкое кольцо; - латунное ступенчатое кольцо;
5 - верхняя пластинка; 6 - нижняя пластинка; 7 - шарик; 8 - крышка; 9 - термометр

тальк;

пинцет;

секундомер.

стакан фарфоровый или металлический для расплавления битума;

палочка стеклянная или металлическая для перемешивания битума;

вода дистиллированная по ГОСТ 6709.

Примечание. Все металлические части испытательной аппаратуры должны быть изготовлены из нержавеющих материалов.

(Измененная редакция, Изм. № 1, 2, 3).

2. ПОДГОТОВКА К ИСПЫТАНИЮ

2.1. Перед испытание образец битума, при наличии влаги, обезвоживают осторожным нагреванием без перегрева до температуры на 80-100 °С выше ожидаемой температуры размягчения, но не ниже 120 °С и не выше 180 °С. Обезвоженный и расплавленный до подвижного состояния битум процеживают через сито и затем тщательно перемешивают до полного удаления пузырьков воздуха.

Масса пробы битума около 50 г.

2.2. Битум наливают с некоторым избытком в два гладких или ступенчатых кольца (для битумов с температурой размягчения свыше 80 °С используют два ступенчатых кольца, которые первоначально подогревают с помощью горелки или электрической плитки до предполагаемой температуры размягчения битума), помещенные на пластинку, покрытую смесью декстрина с глицерином (1 : 3) или талька с глицерином (1 : 3), при этом следует избегать образования пузырьков воздуха.

2.3. После охлаждения колец с битумом на воздухе в течение 30 мин при (25 ± 10) °С избыток битума гладко срезают нагретым ножом вровень с краями колец.

2.1-2.3 (Измененная редакция, Изм. № 2).

2.4. Для битума с температурой размягчения свыше 110 °С избыток битума срезают после охлаждения на воздухе в течение 5 мин, а затем выдерживают еще 15 мин.

2.5. Для битумов с температурой размягчения ниже 30 °С кольца с битумом помещают на 30 мин в стакан с водой, температура которой (5 ± 1) °С. Избыток битума срезают нагретым ножом.

(Измененная редакция, Изм. № 2, 3).

3. ПРОВЕДЕНИЕ ИСПЫТАНИЯ

3.1. Для битумов с температурой размягчения ниже 80 °С кольца с битумом помещают в отверстия верхней пластинки аппарата. В среднее отверстие верхней пластинки вставляют термометр так, чтобы нижняя точка ртутного резервуара была на одном уровне с нижней поверхностью битума в кольцах.

Штатив с испытуемым битумом в кольцах и направляющими накладками помещают в стеклянный стакан (баню), заполненный дистиллированной свежевскипяченой водой, температура которой (5 ± 1) °С, уровень воды над поверхностью колец не менее 50 мм.

По истечении 15 мин штатив вынимают из бани, на каждое кольцо в центре поверхности битума кладут пинцетом стальной шарик, охлажденный в бане до (5 ± 1) °С, и опускают подвеску обратно в баню, избегая появления пузырьков воздуха на поверхности битума.

Устанавливают баню на нагревательный прибор так, чтобы плоскость колец была строго горизонтальной. Температура воды в бане после первых 3 мин подогрева должна со скоростью (5 ± 0,5) °С в минуту.

Для обеспечения равномерности нагрева по высоте бани применяют механическую или ручную мешалку.

(Измененная редакция, Изм. № 3).

3.2. Для битумов с температурой размягчения свыше 80 °С определение проводят по п. 3.1 со следующими изменениями:

для битумов с температурой размягчения от 80 до 110 °С в баню наливают смесь воды с глицерином (1 : 2);

для битумов с температурой размягчения свыше 110 °С в баню наливают глицерин;

температура выдерживания образцов битумов в течение 15 мин в бане, наполненной глицерином с водой или глицерином, должна быть (34 ± 1) °С;

шарик должен быть нагрет в бане до (34 ± 1) °С;

3.3. Для каждого кольца и шарика отмечают температуру, при которой выдавливаемый шариком битум коснется нижней пластинки.

Примечание. Если шарик продавливает битум, то испытание повторяют. Если при повторном испытании продавливание повторяется, то отмечают это в результате.

3.1-3.3 (Измененная редакция, Изм. № 2).

4. ОБРАБОТКА РЕЗУЛЬТАТОВ

4.1. За температуру размягчения битума принимают среднее арифметическое значение двух параллельных определений, округленных до целого числа.

(Измененная редакция, Изм. № 1).

4.2. Сходимость метода

Два результата определения, полученные одним лаборантом на одних и тех же аппаратуре и пробе битума, признаются достоверными (при 95 %-ной вероятности), если расхождение между ними не превышает значения, указанного в таблице.

Температура размягчения, °С

Сходимость, °С

Воспроизводимость, °С

До 80

1

2

Св. 80

2

4

(Измененная редакция, Изм. № 2).

4.3. Воспроизводимость метода

Два результата определения, полученные в разных лабораториях на одной и той же пробе битума, признаются достоверными (с 95 %-ной доверительной вероятностью), если расхождение между ними не превышает значения, указанного в таблице.

(Введены дополнительно, Изм. № 1).

ИНФОРМАЦИОННЫЕ ДАННЫЕ

1. РАЗРАБОТАН И ВНЕСЕН Министерством нефтеперерабатывающей и нефтехимической промышленности СССР

2. УТВЕРЖДЕН И ВВЕДЕН В ДЕЙСТВИЕ Постановлением Государственного комитета СССР по стандартам от 18.07.73 № 1753

Изменение № 3 принято Межгосударственным советом по стандартизации, метрологии и сертификации (протокол № 21 от 30 мая 2002 г.)

За принятие изменения проголосовали:

Наименование государства

Наименование национального органа по стандартизации

Азербайджанская Республика

Азгосстандарт

Республика Армения

Армгосстандарт

Республика Беларусь

Госстандарт Республики Беларусь

Республика Казахстан

Госстандарт Республики Казахстан

Кыргызская Республика

Кыргызстандарт

Республика Молдова

Моддовастандарт

Российская Федерация

Госстандарт России

Республика Таджикистан

Таджикстандарт

Туркменистан

Главгосслужба«Туркменстандартлары»

Республика Узбекистан

Узгосстандарт

Украина

Госстандарт Украины

3. ВЗАМЕН ГОСТ 11506-65

4. ССЫЛОЧНЫЕ НОРМАТИВНО-ТЕХНИЧЕСКИЕ ДОКУМЕНТЫ

Обозначение НТД, на который дана ссылка

Номер пункта, подпункта, перечисления, приложения

ГОСТ 400-80

1.1

ГОСТ 3722-81

1.1

ГОСТ 6034-74

1.1

ГОСТ 6259-75

1.1

ГОСТ 6613-86

1.1

ГОСТ 6709-72

1.1

ГОСТ 6823-2000

1.1

ГОСТ 6824-96

1.1

5. Ограничение срока действия снято по протоколу № 4-93 Межгосударственного совета по стандартизации, метрологии и сертификации (ИУС 4-94)

6. ИЗДАНИЕ (январь 2008 г.) с Изменениями № 1, 2, 3, утвержденными в октябре 1983 г., мае 1987 г. и декабре 2002 г. (ИУС 1-84, 9-87, 4-2003)

СОДЕРЖАНИЕ

 

 



© 2013 Ёшкин Кот :-)