Информационная система
«Ёшкин Кот»

XXXecatmenu

ГОСУДАРСТВЕННЫЙ СТАНДАРТ СОЮЗА ССР

ТРУБЫ ЖЕЛЕЗОБЕТОННЫЕ
БЕЗНАПОРНЫЕ

ТЕХНИЧЕСКИЕ УСЛОВИЯ

ГОСТ 6482-88

ГОСУДАРСТВЕННЫЙ СТРОИТЕЛЬНЫЙ КОМИТЕТ СССР

Москва

ГОСУДАРСТВЕННЫЙ СТАНДАРТ СОЮЗА ССР

ТРУБЫ ЖЕЛЕЗОБЕТОННЫЕ БЕЗНАПОРНЫЕ

Технические условия

Reinforced concrete non-pressure pipes. Specifications

ГОСТ
6482-88

Дата введения 01.01.90

Настоящий стандарт распространяется на железобетонные безнапорные раструбные и фальцевые трубы (далее - трубы) с круглым отверстием, изготовляемые из тяжелого бетона и предназначенные для прокладки подземных трубопроводов, транспортирующих самотеком бытовые жидкости и атмосферные сточные воды, а также подземные воды и производственные жидкости, не агрессивные к железобетону и уплотняющим резиновым кольцам.

Если транспортируемая жидкость или грунты являются агрессивными по отношению к железобетону или уплотняющим резиновым кольцам, то трубы и резиновые кольца должны удовлетворять дополнительным требованиям, установленным в проекте трубопровода.

Стандарт не распространяется на железобетонные водопропускные трубы, укладываемые под насыпями железных и автомобильных дорог.

1. ТЕХНИЧЕСКИЕ ТРЕБОВАНИЯ

1.1. Трубы следует изготовлять в соответствии с требованиями настоящего стандарта по технологической документации, утвержденной в установленном порядке.

1.2. Основные параметры и размеры

1.2.1. Трубы подразделяются на типы:

Т - цилиндрические раструбные со стыковыми соединениями, уплотняемыми герметиками или другими материалами;

ТП - то же, с подошвой;

ТБ - цилиндрические раструбные с упорным буртиком на стыковой поверхности втулочного конца трубы и стыковыми соединениями, уплотняемыми резиновыми кольцами;

ТБП - то же, с подошвой;

ТС - цилиндрические раструбные со ступенчатой стыковой поверхностью втулочного конца трубы и стыковыми соединениями, уплотняемыми резиновыми кольцами;

ТСП - то же, с подошвой;

ТФП - цилиндрические фальцевые с подошвой и стыковыми соединениями, уплотняемыми герметиками или другими материалами.

1.2.2. Форма, размеры и показатели материалоемкости труб должны соответствовать указанным в приложении 1.

1.2.3. Трубы подразделяют на три группы по несущей способности:

первую - при расчетной высоте засыпки грунтом 2 м;

вторую      »          »               »            »               »     4 м;

третью       »          »               »            »               »     6 м.

Допускается для конкретных условий строительства трубопровода применять трубы при другой расчетной высоте засыпки грунтом.

1.2.4. Прочностные характеристики труб должны обеспечивать их эксплуатацию при расчетной высоте засыпки грунтом в усредненных условиях, которым соответствуют:

основание под трубой - грунтовое плоское для труб без подошвы диаметрами условного прохода (Dу) до 500 мм включ. и труб с подошвой всех диаметров или грунтовое профилированное с углом охвата 90° для труб без подошвы Dу более 500 мм;

засыпка - грунтом плотностью 1,8 т/м3 с нормальным уплотнением для труб без подошвы Dу до 800 мм включ. и труб с подошвой всех диаметров или повышенным уплотнением для труб без подошвы Dу более 800 мм;

временная нагрузка на поверхности земли НГ-60.

1.2.5. Армирование труб, в зависимости от их несущей способности, а также арматурные изделия труб приведены в приложении 2.

1.2.6. Резиновые кольца круглого сечения, применяемые для стыковых соединений, изготовляют в соответствии с требованиями нормативно-технической документации (НТД) на эти кольца. Размеры колец в нерастянутом состоянии должны соответствовать указанным в табл. 1.

Таблица 1

мм

Dу

Размеры резиновых колец для стыков труб

Внутренний диаметр

Диаметр поперечного сечения

400

450

24

500

545

600

660

800

835

1000

1035

1200

1230

1400

1440

1600

1650

30

2000

2070

2400

2480

1.2.7. Трубы обозначают марками в соответствии с требованиями ГОСТ 23009. Марка труб состоит из буквенно-цифровых групп, разделенных дефисом.

Первая группа содержит обозначение типа трубы, ее диаметр условного прохода в сантиметрах и полезную длину в дециметрах.

Во второй группе указывают несущую способность, обозначаемую арабской цифрой.

Пример условного обозначения (марки трубы типа Т, Dу 600 мм, полезной длиной 5000 мм, третьей группы по несущей способности:

Т60.50-3

То же, трубы типа ТС, Dу 1000 мм, полезной длиной 3500 мм, второй группы по несущей способности:

ТС100.35-2

1.3. характеристики

1.3.1. Трубы должны быть прочными и трещиностойкими и при испытании их нагружением выдерживать контрольные нагрузки, указанные в табл. 2.

Таблица 2

Dу, мм

Контрольная равномерно распределенная нагрузка на метр полезной длины трубы, кН/м (тс/м)

по проверке прочности

по проверке трещиностойкости

Группа по несущей способности

первая

вторая

третья

первая

вторая

третья

400

-

32,4(3,3)

47,1(4,8)

-

17,8(1,8)

25,92,6)

500

-

41,2(4,2)

53,0(5,4)

-

22,7(2,3)

24,2(3,0)

600

-

42,2(4,3)

53,9(5,5)

-

23,2(2,4)

29,6(3,0)

800

-

62,8(6,4)

78,5(8,0)

-

34,5(3,5)

43,2(4,4)

1000

-

66,7(6,8)

92,2(9,4)

-

36,7(3,7)

50,7(5,2)

1200

51,0(5,2)

80,4(8,2)

127,5(13,0)

28,0(2,9)

44,2(4,5)

70,1(7,1)

1400

61,8(6,3)

93,2(9,5)

133,4(13,6)

34,0(3,5)

51,3(5,2)

73,4(7,5)

1600

74,5(7,6)

104,0(10,6)

156,9(16,0)

41,0(4,2)

57,2(5,8)

86,3(8,8)

2000

99,0(10,1)

132,4(13,5)

-

54,5(5,6)

72,8(7,4)

-

2400

127,5(13,0)

156,9(l6,0)

-

70,1(7,1)

86,3(8,8)

-

1.3.2. Трубы должны быть водонепроницаемыми и выдерживать внутреннее испытательное гидростатическое давление, равное 0,05 МПа (0,5 кгс/см2).

1.3.3. Трубы должны удовлетворять требованиям ГОСТ 13015.0:

по показателям фактической прочности бетона (в проектном возрасте и отпускной);

по морозостойкости;

по отклонению от толщины защитного слоя бетона до арматуры;

к маркам стали для арматурных изделий.

1.3.4. Трубы следует изготовлять из тяжелого бетона по ГОСТ 26633 класса по прочности на сжатие В25.

1.3.5. Нормируемую отпускную прочность бетона труб принимают равной 70 % класса бетона по прочности на сжатие.

Указанную нормируемую отпускную прочность бетона на сжатие допускается уменьшать или увеличивать в соответствии с требованиями ГОСТ 13015.0.

1.3.6. Водонепроницаемость бетона труб должна соответствовать марке по водонепроницаемости W4.

1.3.7. Водопоглощение бетона труб не должно быть более 6 % по массе.

1.3.8. Для армирования труб следует применять:

стержневую горячекатаную арматурную сталь классов A-I и A-III по ГОСТ 5781;

проволоку класса Вр-I по ГОСТ 6727.

1.3.9. Форма и размеры арматурных изделий и их положение в трубах должны соответствовать указанным в приложении 2.

1.3.10. Сварные арматурные изделия должны удовлетворять требованиям ГОСТ 10922 и настоящего стандарта.

1.3.11. Отклонения от номинального диаметра и длины каркаса, шаг спиральной арматуры не должны превышать ±5 мм.

Отклонения по числу шагов спиральной арматуры каркасов не должны превышать:

±2 - для труб полезной длины 5 м;

±1     »        »          »            »     2,5 или 3,5 м.

1.3.12. Значения действительных отклонений геометрических параметров труб не должны превышать предельных, указанных в табл. 3.

Таблица 3

мм

Пред. откл. номинального значения

Dу

внутреннего диаметра трубы

di

толщины стенки трубы

t

длины трубы

li

наружного диаметра втулочного конца труб типов Т и ТП

de

наружного диаметра втулочного конца и буртика труб типов ТБ, ТБП, ТС и ТСП

de, d3, d4, d5

внутреннего диаметра раструба труб типов

глубины раструба трубы

l2

диаметра конусной части фальцев d1, d2, d3, d4

глубины фальцев

l2, l3

Т и ТП

d1

ТБ, ТС, ТБП, ТСП

d1

1

2

3

4

5

6

7

8

9

10

11

400

500

±4

-4

+5

+20

-10

±4

±2

±4

±2

+10

-5

-

-

600

800

1000

±5

±5

±5

1200

1400

1600

±6

-5

+6

±6

±3

±6

±3

±2

±2

2000

2400

±8

-6

+8

±8

±8

±4

±6

Примечания:

1. Размеры труб, которые не приведены в табл. 3, являются справочными для изготовления форм.

2. Для груб типа Т, Dу 1600 мм допускается принимать предельные отклонения геометрических параметров, отличные от указанных в табл. 3, на основании расчета точности стыкового соединения по ГОСТ 21780-83 и при обеспечении выполнения требований настоящего стандарта по прочности и трещиностойкости труб.

1.3.13. Отклонения от перпендикулярности торцевой поверхности к продольной оси фальцевых труб не должны превышать, мм:

10 - для труб диаметрами условного прохода 1000-1600 мм;

12      »     »               »                   »               »     2000-2400 мм.

1.3.14. Размеры раковин, местных наплывов и впадин на поверхности труб и их торцах, а также околов бетона не должны превышать указанных в табл. 4.

Таблица 4

мм

Вид поверхности трубы

Диаметр или наибольший размер раковины

Высота местного наплыва (выступа) или глубины впадины

Глубина околов бетона торцов

Суммарная длина околов бетона торцов на 1 м ребра

Наружная и внутренняя

15

5

-

-

Стыковая для труб типов ТВ, ТБП, ТС, ТСП

6

3 (впадины)

2 (наплыва)

-

-

Торцевая

15

5

5

50

Примечание. Раковины на трубах, размеры которых превышают указанные в табл. 4, устраняют путем заделки раствором состава по массе 1:2 (цемент : песок).

1.3.16. Трещины на поверхностях труб не допускают, за исключением усадочных шириной не более 0,05 мм.

1.4. Комплектность

1.4.1. Трубы типов ТБ, ТБП, ТС и ТСП поставляют потребителю в комплекте с резиновыми уплотняющими кольцами.

1.5. Маркировка

1.5.1 Маркировка труб - по ГОСТ 13015.2.

Маркировочные надписи следует наносить на наружную поверхность раструба или одного из концов фальцевой трубы.

2. ПРИЕМКА

2.1. Приемка труб - по ГОСТ 13015.1 и настоящему стандарту. При этом трубы принимают:

по результатам периодических испытаний - по показателям прочности трещиностойкости и водонепроницаемости труб, а также морозостойкости, водонепроницаемости и водопоглощения бетона;

по результатам приемо-сдаточных испытаний - по показателям прочности бетона (классу бетона по прочности на сжатие и отпускной прочности), соответствия арматурных изделий рабочим чертежам, прочности сварных соединений, точности геометрических параметров, толщины защитного слоя бетона до арматуры, качества бетонной поверхности, ширины усадочных трещин.

В процессе серийного производства периодические испытания труб нагружением для контроля их прочности и трещиностойкости могут не проводиться, если осуществляется неразрушающий контроль этих показателей по ГОСТ 13015.1.

2.2. Периодические испытания труб по прочности и трещиностойкости проводят: Dу 400 - 1600 мм - раз в 3 мес, Dу 2000 и 2400 мм - раз в 6 мес.

2.3. Периодические испытания труб на водонепроницаемость, а также бетона труб на водонепроницаемость и водопоглощение проводят раз в 3 мес.

2.4. Трубы по показателям точности геометрических параметров, качества поверхностей (кроме стыковой поверхности раструба и втулочной части труб типов ТБ, ТС, ТБП и ТСП) и толщины защитного слоя бетона до арматуры следует принимать по результатам выборочного контроля.

Трубы типов ТБ, ТС, ТБП и ТСП по размерам и качеству стыковой поверхности раструба и втулочной части следует принимать по результатам сплошного контроля. Допускается осуществлять приемку этих труб по размерам стыковой поверхности раструба и втулочной части по результатам выборочного контроля, если осуществляется операционный контроль соответствующих размеров собранных форм перед формованием.

3. МЕТОДЫ КОНТРОЛЯ

3.1. Испытания труб нагружением для контроля их прочности и трещиностойкости проводят в соответствии с требованиями ГОСТ 8829 и настоящего стандарта.

3.1.1. Испытанию подвергают целую трубу или вырезанный из ее цилиндрической части отрезок длиной не менее 1 м.

Для испытания может быть использована труба, прошедшая гидростатическое испытание на водонепроницаемость.

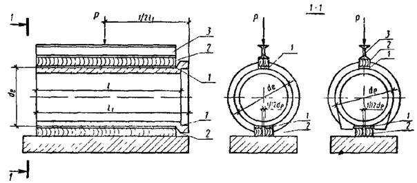
3.1.2 Схемы опирания и нагружения труб приведены:

раструбных - на черт 1;

фальцевых - на черт. 2.

Трубу устанавливают горизонтально на два деревянных бруса, уложенных параллельно продольной оси трубы на неподвижное основание. Сверху на трубу устанавливают деревянный брус вдоль верхней образующей цилиндрической части, на него ставят стальную траверсу.

Схема испытания раструбной трубы

Описание: Untitled-1

1 - резиновая прокладка или цементный раствор; 2 - деревянные бруски; 3 - стальная траверса

Черт. 1

Схема испытания фальцевой трубы

Описание: Untitled-1

1 - резиновая прокладка или цементный раствор; 2 - деревянные бруски; 3 - стальная траверса

Черт. 2

С целью равномерной передачи нагрузки на трубу под верхний брус и на нижние бруски укладывают выравнивающий слой цементного раствора или полосы листовой резины толщиной 20 - 30 мм. Резиновые полосы должны иметь твердость по Шopy от 45 до 60.

Деревянные бруски должны быть сечением 100´100 мм.

Жесткость траверсы должна быть такой, чтобы ее прогиб при максимальном нагружении не превышал 1/720 длины испытываемой трубы.

3.1.3. Испытательное оборудование должно обеспечивать погрешность измерения нагрузки не более 3 %.

3.1.4. Нагружение при испытании проводят ступенями равномерно, наращивая нагрузку в течение 2-3 мин до достижения 0,1 контрольной (по проверке прочности), указанной в табл. 2, и поддерживая ее в течение 10 мин. При достижении нагрузки, равной контрольной (по проверке трещиностойкости), измеряют наибольшую ширину раскрытия трещин измерительными лупами по ГОСТ 25706-83 или микроскопами по ГОСТ 14968.

3.1.5. Прочность труб оценивают значением нагрузки, вызывающей одно из нижеследующих состояний, которые свидетельствуют, что сопротивление трубы действию этой нагрузки исчерпано:

1) текучесть спиральной арматуры, что в трубах с двойным каркасом характеризуется шириной раскрытия трещин более 1,5 мм; в трубах с одинарным каркасом - шириной раскрытия трещин более 2,0 мм;

2) раздробление бетона от сжатия;

3) разрыв спиральной арматуры;

4) отрыв арматуры в шелыге или лотке трубы.

3.1.6. Трубу считают выдержавшей испытание на прочность, если разрушение ее не произошло при контрольной нагрузке, указанной в табл. 2.

3.1.7. Трубу считают выдержавшей испытание на трещиностойкость, если наибольшая ширина раскрытия трещин на поверхности трубы при нагрузке, указанной в табл. 2, окажется не более 0,2 мм.

3.2. Гидростатическое испытание труб типов ТБ, ТБП, ТС, ТСП на водонепроницаемость следует проводить на установках, имеющих заглушки со стыками, конструкция которых аналогична конструкции стыкового соединения, принятого для труб указанных типов.

Испытание труб типов Т, ТП и ТФП следует проводить, на установках с плоскими заглушками.

3.2.1. Для испытания на водонепроницаемость отобранную трубу герметически закрывают с обоих концов заглушками и наполняют водой, не допуская образования «воздушных мешков», затем в течение 1 мин, равномерно повышают давление до 0,05 МПа (0,5 кгс/см2) и выдерживают трубу под этим давлением 10 мин.

Значение давления определяют на уровне шелыги трубы манометром по ГОСТ 2405. Допускается перед испытанием замачивать трубы в течение 48 ч в ванне или на испытательном стенде путем заполнения их водой.

3.2.2. Трубы считают выдержавшими испытание на водонепроницаемость, если к моменту его окончания не будет обнаружено просачивание воды сквозь стенку в виде течи или отдельных капель.

Появление сырых пятен на наружной поверхности трубы не может служить основанием для браковки трубы.

3.3. Прочность бетона на сжатие следует определять по ГОСТ 10180.

При испытании труб неразрушающими методами фактическую отпускную прочность бетона на сжатие следует определять ультразвуковым методом по ГОСТ 17624 или приборами механического действия по ГОСТ 22690.0 - ГОСТ 22690.4.

3.4. Для оценки прочности бетона труб результаты испытаний вибрированных образцов-кубов умножают на переводной коэффициент, значение которого устанавливают опытным путем, в зависимости от технологии изготовления труб.

3.5. Водонепроницаемость бетона следует определять по ГОСТ 12730.0 и ГОСТ 12730.5 на образцах, изготовленных вибрированием из бетонной смеси рабочего состава.

3.6. Водопоглощение бетона труб следует определять по ГОСТ 12730.0 и ГОСТ 12730.3 на образцах, отобранных из разных мест трубы. Допускается использовать образцы трубы, испытанной на прочность. Образцы должны быть без видимых трещин.

3.7. Морозостойкость бетона следует определять по ГОСТ 10060 на образцах, изготовленных вибрированием из бетонной смеси рабочего состава.

3.8. Сварные арматурные изделия следует контролировать по ГОСТ 10922.

3.9. Размеры и положение арматурных каркасов, а также толщину защитного слоя бетона до арматуры следует определять по ГОСТ 17625 и ГОСТ 22904.

3.10. Размеры, отклонения от перпендикулярности торцевых плоскостей и качество поверхностей труб проверяют методами, установленными ГОСТ 26433.0 и ГОСТ 26433.1.

3.11. Геометрические размеры контролируют металлическими рулетками по ГОСТ 7502, штангенциркулем по ГОСТ 166, нутромером по ГОСТ 868.

Все применяемые средства измерения должны быть не ниже 2-го класса точности, Допускается применять специальные нестандартизованные средства измерения геометрических размеров, прошедшие метрологическую аттестацию в соответствии с ГОСТ 8.326.

3.12. Размеры труб проверяют следующим образом:

толщину стенок на концах труб измеряют в четырех местах по двум взаимно перпендикулярным диаметрам;

наружные диаметры втулочного конца раструбных труб и их буртика, внутренний диаметр и глубину раструба измеряют по двум взаимно перпендикулярным диаметрам (максимальному и минимальному). Внутренний диаметр раструба следует измерять в средней части его глубины (l2);

внутренний диаметр цилиндрической части труб измеряют по двум взаимно перпендикулярным диаметрам - максимальному и минимальному - на расстоянии 0,2-0,4 м от торца трубы.

диаметры и глубину фальцев в фальцевых трубах измеряет по двум взаимно перпендикулярным диаметрам. Диаметры фальцев измеряют в середине глубины фальцев (l2, l3);

высоту буртика труб измеряют в четырех местах по двум взаимно перпендикулярным диаметрам;

длину трубы измеряют по четырем образующим в двух диаметрально противоположных сечениях.

4. ТРАНСПОРТИРОВАНИЕ И ХРАНЕНИЕ

4.1. Транспортирование и храпение труб - по ГОСТ 13015.4.

4.2. Трубы следует хранить на складе готовой продукции в штабелях рассортированными по маркам.

Примечание. Трубы полезной длиной менее 5 м допускается хранить в вертикальном положении при обеспечении их устойчивости.

4.2.1. Число рядов труб по высоте должно быть не более указанного в табл. 5.

Таблица 5

Dу, мм

Число рядов труб по высоте

От 400 до 1000 включ.

4

1200

3

От 1400 до 2400 включ.

2

4.2.2. Под нижний ряд труб штабеля должны быть уложены параллельно друг другу две подкладки на расстоянии 0,2 м длины трубы от ее торцов. Конструкция подкладок не должна позволять раскатываться нижнему ряду труб.

ПРИЛОЖЕНИЕ 1
Обязательное

ФОРМА, РАЗМЕРЫ И ПОКАЗАТЕЛИ МАТЕРИАЛОЕМКОСТИ ТРУБ

1. Форма и параметры труб приведены:

типа Т - на черт. 3 и в табл. 6;

типа ТБ - на черт. 4 и в табл. 7;

типа ТС - на черт. 5, 10 и в табл. 8;

типа ТП - на черт. 6 и в табл. 9;

типа ТБП - на черт. 7 и в табл. 10;

типа ТСП - на черт. 8, 10 и в табл. 11;

типа ТФП - на черт. 9 и в табл. 12;

Трубы типов ТС и ТСП полезной длиной 2500 и 3500 мм изготовляют по технологии, допускающей полную немедленную распалубку.

Примечания: 1. Трубы всех типов могут изготовляться большей полезной длины, чем указана в табл. 6 - 12.

2. Трубы dy 1600 - 2400 мм допускается по согласованию с потребителем этих труб изготовлять меньшей полезной длины, чем указана в табл. 6, 7, 9, 10, 12, но не менее 2500 мм.

3. Допускается до 01.01.91 на действующем оборудовании изготовлять фальцевые цилиндрические трубы dy 400 - 2400 мм и раструбные dy 2000 и 2400 мм, а также трубы типов ТБ, ТС, ТБП и ТСП с размерами стыковых поверхностей, отличными от указанных в табл. 7, 8, 10, 11.

4. Трубы типов ТБ и ТБП допускается изготовлять с технологическим уклоном стыковой поверхности раструба и втулочного конца до 2°.

5. По технологическим условиям допускается изготовлять трубы с размерами раструбов l3 и l4, отличными от указанных в табл. 6 - 11, при соблюдении минимальной толщины стенки раструба, установленной настоящим стандартом.

2. Марки и показатели материалоемкости (расход бетона и стали) труб в зависимости от их несущей способности приведены в табл. 13.

Трубы типа Т

Описание: Untitled-1

Черт. 3

Таблица 6

Трубы типа Т

Dу, мм

Типоразмер трубы

Размеры труб, мм

Справочная масса трубы, т

di

de

d1

d2

t

l

l1

l2

l3

l4

400

Т40.50

400

500

530

650

50

5000

5100

100

150

75

0,95

500

T50.50

500

620

650

790

60

85

1,4

600

T60.50

600

720

750

890

1,7

800

T80.50

800

960

990

1170

80

5110

110

200

105

3,0

1000

T100.50

1000

1200

1230

1450

100

125

4,8

1200

Т120.50

1200

1420

1450

1690

110

135

6,0

1400

T140.50

1400

1620

1650

1890

7,0

1600

Т160.50

1600

1840

1870

2130

120

145

8,7


Трубы типа ТБ

Описание: Untitled-1

Черт. 4


Таблица 7

Трубы типа ТБ

Dу, мм

Типоразмер трубы

Размеры труб, мм

Справочная масса трубы, т

di

de

d1

d2

t

t1

а

l

l1

l2

l3

l4

h

h1

h2

400

ТБ40.50

400

500

531

684

50

76,5

44

5000

5145

145

365

102

92

11

6

0,95

500

TБ50.50

500

620

651

834

60

91,5

59

5160

160

425

105

107

1,5

600

TБ60.50

600

720

751

934

1,7

800

TБ80.50

800

960

991

1210

80

109,5

482

125

3,0

1000

TБ100.50

1000

1200

1231

1498

100

133,5

590

149

7

4,8

1200

ТБ120.50

1200

1420

1451

1740

110

144,5

69

5170

170

634

115

160

6,3

1400

TБ140.50

1400

1620

1651

1946

147,5

74

5175

175

163

13

7,3

1600

ТБ160.50

1600

1840

1871

2196

120

159

84

5185

185

654

125

178

9,0

Трубы типа ТС

Описание: Untitled-1

Черт. 5


Таблица 8

Трубы типа TC

Dу, мм

Типоразмер трубы

Размеры труб, мм

Справочная масса трубы, т

di

de

d1

d2

d3

d4

d5

d6

t

t1

l

l1

l2

l3

l4

l5

h

a

r1

r2

r3

400

ТС40.25

400

500

510

687

501

477

470

465

50

88,5

2500

2650

150

365

70

25

93,5

15

4

2

4

0,52

TC40.50

5000

5150

0,95

500

ТС50.25

500

620

631

837

621

596

589

584

60

103

2500

2660

160

425

108,5

5

0,78

TC50.50

5000

5160

1,5

600

ТС60.25

600

720

731

937

721

696

689

684

2500

2660

5

0,92

TC60.50

5000

5160

126,5

1,7

800

ТС80.35

800

960

971

1213

961

936

929

924

80

121

3500

3660

482

2,2

TC80.50

5000

5160

3,0

1000

ТС100.35

1000

1200

1212

1499

1202

1176

1169

1164

100

143,5

3500

3670

170

590

30

149,5

20

3,5

TC100.50

5000

5170

4,8

1200

ТС120.35

1200

1420

1433

1742

1422

1397

1390

1385

110

154,5

3500

3675

175

634

161

6

3

4,5

TC120.50

5000

5175

6,3

1400

ТС140.35

1400

1620

1633

1948

1621

1597

1591

1577

157,5

3500

3690

190

75

164

-

5,3

TC140.50

5000

5190

7,3

1600

ТС160.35

1600

1840

1854

2172

1842

1811

1805

1791

120

159

3500

3690

654

166

6,5

TC160.50

5000

5190

9,0

Трубы типа ТП

Описание: Untitled-1

Черт. 6

Таблица 9

Трубы типа ТП

Dу, мм

Типоразмер трубы

Размеры труб, мм

Справочная масса трубы, т

di

de

d1

d2

t

l

l1

l2

l3

l4

l5

l6

h

h1

h2

b

b1

b2

1000

TП100.50

1000

1200

1230

1450

100

5000

5110

110

200

125

210

120

1230

440

30

800

160

30

5,5

1200

ТП120.50

1200

1420

1450

1690

110

135

1450

520

960

190

7,3

1400

ТП140.50

1400

1620

1650

1890

1660

650

40

1200

240

40

8,8

1600

ТП160.50

1600

1840

1870

2130

120

145

1880

660

10,5

2000

TП200.45

2000

2260

2300

2580

130

4500

4630

130

220

160

230

150

2310

730

50

1300

260

50

12,5

2400

ТП240.30

2400

2700

2740

3060

150

3000

3140

140

240

180

240

2750

880

1600

320

12,0

Трубы типа ТБП

Описание: Untitled-1

Черт. 7

Таблица 10

Трубы типа ТБП

Dу, мм

Типоразмер трубы

Размеры труб, мм

Справочная

масса трубы, т

di

de

d1

d2

d3

t

t1

a

l

l1

l2

l3

l4

l5

h

h1

h2

h3

h4

b

b1

b2

1000

ТБП100.50

1000

1200

1231

1430

1220

100

99,5

59

5000

5160

160

220

105

210

1230

440

30

115

10

800

160

30

5,3

1200

ТБП120.50

1200

1420

1451

1670

1440

110

109,5

69

5170

170

115

220

1450

520

125

960

190

6,8

1400

ТБП140.50

1400

1620

1651

1876

1646

112,5

74

5175

175

1660

650

40

128

13

1200

240

40

8,5

1600

ТБП160.50

1600

1840

1878

2116

1866

120

119

84

5185

185

230

125

230

1880

660

138

10,0

Трубы типа ТСП

Описание: Untitled-1

Черт. 8

Таблица 11

Трубы типа ТСП

Dу, мм

Типоразмер трубы

Размеры труб, мм

Суммарная масса трубы, т

di

de

d1

d2

d3

d4

d5

d6

t

t1

l

l1

l2

l3

l4

l5

l6

h

h1

h2

h3

b

b1

b2

r1

r2

r3

1000

ТСП100.35

1000

1200

1212

1430

1202

1176

1169

1164

100

109

3500

3670

170

220

70

30

180

1230

440

30

115

800

160

30

5

2

5

4,0

ТСП100.50

5000

5170

5,5

1200

ТСП120.35

1200

1420

1433

1670

1422

1397

1390

1385

110

118,5

3500

3675

175

1450

520

125

960

190

6

3

5,0

ТСП120.50

5000

5175

7,0

1400

ТСП140.35

1400

1620

1633

1876

1621

1597

1591

1577

121,5

3500

3690

190

75

195

1660

650

40

128

1200

240

40

-

-

6,3

ТСП140.50

5000

5190

9,0

1600

ТСП160.35

1600

1840

1854

2116

1842

1811

1805

1791

120

131

3500

3690

230

1880

660

138

7,5

ТСП160 50

5000

5190

10,5

Трубы типа ТФП

Описание: Untitled-1

Черт. 9

Таблица 12

Трубы типа ТФП

Dу, мм

Типоразмер трубы

Размеры труб, мм

Справочная масса трубы, т

di

de

d1

d2

d3

d4

t

l

l1

l2

l3

h

h1

h2

h3

h4

h5

h6

b

b1

b2

1000

ТФП100.50

1000

1200

1078

1118

1074

1126

100

5000

5070

55

80

1230

440

30

41

39

37

37

800

160

30

5,3

1200

ТФП120.50

1200

1420

1280

1324

1280

1334

110

5090

75

100

1450

520

48

40

43

40

960

190

6,8

1400

ТФП140.50

1400

1620

1480

1524

1480

1534

1660

650

40

1200

240

40

8,5

1600

ТФП160.50

1600

1840

1700

1740

1690

1750

120

1880

660

50

50

45

45

10,0

2000

ТФП200.45

2000

2260

2108

2160

2100

2170

130

4500

4590

2310

730

50

54

50

1300

260

50

11,8

2400

ТФП240.30

2400

2700

2510

2570

2514

2590

150

3000

3110

95

120

2750

880

65

55

55

57

1600

320

11,0


Описание: Untitled-1

Описание: Untitled-1

Черт. 10

Таблица 13

Марки и показатели материалоемкости

Марка трубы

Расход материалов

Бетон, м3

Сталь, кг

Т40.50-2

0,38

20,0

Т40.50-3

25,6

Т50.50-2

0,56

27,3

Т50.50-3

32,3

Т60.50-2

0,66

36,7

Т60.50-3

43,2

Т80.50-2

1,2

68,6

Т80.50-3

84,7

Т100.50-2

1,9

88,6

Т100.50-3

125,6

Т120.50-1

2,4

132,3

Т120.50-2

189,4

Т120.50-3

273,7

Т140.50-1

2,8

194,3

Т140.50-2

278,2

Т140.50-3

379,3

Т160.50-1

3,5

251,6

T160.50-2

342,2

Т160.50-3

497,3

ТБ40.50-2

0,38

19,9

ТБ40.50-3

25,4

ТБ50.50-2

0,58

26,9

ТБ50.50-3

32,3

ТБ60.50-2

0,68

36,6

ТБ60.50-3

43,6

ТБ80.50-2

1,2

68,3

ТБ80.50-3

85,6

ТБ100.50-2

1,9

88,2

ТБ100.30-3

123,7

ТБ120.50-1

2,5

132,5

ТБ120.50-2

188,4

ТБ120.50-3

278,4

ТБ140.50-1

2,9

197,2

ТБ140.50-2

280,5

ТБ140.50-3

388,6

ТБ160.50-1

3,6

256,3

ТБ160.50-2

346,9

ТБ160.50-3

513,1

ТС40.25-2

0,21

10,4

ТС40.25-3

13,3

ТС40.50-2

0,38

19,9

ТС40.50-3

25,4

ТС50.25-2

0,31

14,2

ТС50.25-3

16,9

ТС50.50-2

0,58

26,9

ТС50.50-3

32,3

ТС60.25-2

0,37

19,1

ТС60.25-3

22,7

ТС60.50-2

0,68

36,6

ТС60.50-3

43,6

ТС80.35-2

0,88

48,8

ТС80.35-3

61,1

ТС80.50-2

1,2

68,3

ТС80.50-3

85,6

ТС100.35-2

1,4

63,2

ТС100.35-3

88,8

ТС100.50-2

1,9

88,4

ТC100.50-3

123,9

TC120.35-1

1,8

104,5

ТС120.35-2

144,7

ТС 120.35-3

207,5

ТC120.50-1

2,5

141,5

ТС120.50-2

196,8

ТC120.50-3

286,1

ТС140.35-1

2,1

151,5

ТС140.35-2

210,9

ТC140.35-3

286,5

ТС.140.50-1

2,9

207,8

ТС.140.50-2

289,4

ТС.140.50-3

396,5

ТС160.35-1

2,6

195,4

ТС160.35-2

259,3

ТС160.35-3

375,5

ТС160.50-1

3,6

269,5

ТС160.50-2

356,8

ТС160.50-3

521,2

ТП100.50-2

2,2

88,6

ТП100.50-3

125,6

ТП120.50-1

2,9

132,3

ТП120.50-2

189,4

ТП120.50-3

273,4

ТП140.50-1

3,5

194,3

TП140.50-2

278,2

TП140.50-3

379,3

ТП160.50-1

4,2

251,6

ТП160.50-2

342,2

ТП160.50-3

497,3

ТП200.45-1

5,0

450,9

ТП200.45-2

562,5

ТП240.30-1

4,8

456,4

ТП240.30-2

547,0

ТБП100.50-2

2,1

89,4

ТБП100.50-3

126,7

ТБП120.50-1

2,7

133,5

ТБП120.50-2

191,3

ТБII120.50-3

276,2

ТБП140.50-1

3,4

196,1

ТБП140.50-2

279,9

ТБП140.50-3

381,8

ТБП160.50-1

4,0

253,6

ТБП160.50-2

344,8

ТБП160.50-3

501,4

ТСП100.35-2

1,6

64,3

ТСП100.35-3

91,8

ТСП100.50-2

2,2

89,5

ТСП100.50-3

126,9

ТСП120.35-1

2,0

105,6

ТСП120.35-2

147,5

ТСП120.35-3

205,3

ТСП120.50-1

2,8

142,5

ТСП120.50-2

199,8

ТСП120.50-3

283,9

ТСП140.35-1

2,5

150,0

ТСП140.35-2

210,4

TCП140.35-3

280,0

ТСП140.50-1

3,6

205,4

ТСП140.50-2

289,1

ТСП140.50-3

390,0

ТСП160.35-1

3,0

191,7

ТСП160.35-2

257,1

ТСП160.35-3

363,9

ТСП160.50-1

4,2

264,3

ТСП160.50-2

354,7

ТСП160.50-3

509,6

ТФП100.50-2

2,1

84,2

ТФП100.50-3

117,9

ТФП120.50-1

2,8

126,9

ТФП120.50-2

180,1

ТФП120.50-3

266,0

ТФП140.50-1

3,4

188,6

ТФП140.50-2

268,0

ТФП140.50-3

371,1

ТФП160.50-1

4,0

246,0

ТФП160.50-2

331,5

ТФП160.50-3

490,0

ТФП200.45-1

4,7

438,1

ТФП200.45-2

552,4

ТФП240.30-1

4,4

442,8

ТФП240.30-2

537,5

ПРИЛОЖЕНИЕ 2
Обязательное

АРМИРОВАНИЕ ТРУБ

1. Армирование труб приведено:

типа Т - на черт. 11, 12;

типа ТБ - на черт 13, 14;

типа ТС - на черт. 15, 16;

типа ТП - на черт. 17-19, 27;

типа ТБП - на черт. 20, 21;

типа ТСП - на черт. 22, 23;

типа ТФП - на черт. 24-27.

Примечания: 1. При формовании труб в вертикальном положении допускается опирать цилиндрические арматурные каркасы на поддон форм.

2. Для раструбных труб допускается раздельное армирование раструба и цилиндрической части трубы, при этом цилиндрический каркас должен устанавливаться на всю длину трубы.

3. В трубах типов ТС и ТСП с двойными каркасами допускается армирование втулочной части выполнять по черт. 28.

4. Допускается при соответствующем технико-экономическом обосновании армирование труб Dy 1200 мм по другим, утвержденным в установленном порядке рабочим чертежам, которое обеспечивает выполнение требований настоящего стандарт по трещиностойкости, прочности и водонепроницаемости труб без увеличения материалоемкости, в том числе расхода стали.

2 Спецификация арматурных изделий и расход стали на одну трубу диаметром условного прохода до 1000 мм включ. приведены в табл. 14, а диаметром условного прохода 1200 и более - в табл. 15.

3. Форма и размеры арматурных каркасов приведены на черт. 29 - 37 и табл. 16, 17.

Спецификация и расход стали на арматурные изделия приведены в табл. 18.

Примечания: 1. Допускается изготовление двухзаходной спирали при условии обеспечения замкнутого витка на концах каркаса.

2. Допускается по согласованию с институтом «Мосинжпроект» Главмосархитектуры Мосгорисполкома изменение арматуры каркасов труб при условии сохранения формы, диаметра и длины каркаса и без увеличения расхода стали.

4. Каркасы К4 и К5, устанавливаемые в лотке и шелыге труб Dy 2000 и 2400 мм, должны быть равномерно распределены по длине трубы.

5. Для обеспечения проектной толщины защитного слоя бетона до арматуры к каркасу следует прикреплять пластмассовые или бетонные фиксаторы.

Фиксаторы следует устанавливать по периметру каркаса на расстоянии 500-600 мм, но не менее 4 шт. под углом 90° друг к другу, а по длине - не реже чем через 1000 мм.

Допускается применение фиксаторов из отходов арматурной стали.

6. Изготовление арматурных изделий следует производить контактной точечной сваркой в соответствии с требованиями ГОСТ 14098-85.

7 Спиральную и продольную арматуру цилиндрических каркасов следует сваривать между собой в каждом пересечении или через одно пересечение при обязательном шахматном расположении сварных соединений.

8. Фиксаторы Ф1-Ф3, предназначенные для соединения арматурных цилиндрических каркасов между собой, следует устанавливать по периметру каркасов через два шага продольных стержней, а по длине:

в 6 рядов - для труб полезной длиной 4,5 и 5 м;

в 5 рядов      »        »          »            »     3,5 м;

в 4 ряда        »        »          »            »     3 м.

Допускается применение других фиксаторов, обеспечивающих взаимную фиксацию каркасов без увеличения расхода стали.

9. По требованию потребителя в трубах устанавливают два закладных изделия марки М1, предназначенных для защиты трубопроводов от электрокоррозии.

Конструкция закладного изделия и его положение в трубе приведены на черт. 38. При этом закладные изделия должны располагаться по одной образующей наружной поверхности трубы, а в трубах с подошвой эта образующая должна быть в верхней части трубы.

Спецификация и расход стали на одно закладное изделие M1 приведены в табл. 19. При изготовлении труб с этими закладными изделиями общий расход стали на одну трубу, указанный в табл. 13, должен быть увеличен на 0,3 кг.

10. На наружной и внутренней поверхностях труб Dy 2000 и 2400 мм без подошвы (см. п. 1 приложения 1) вдоль образующих цилиндрической части труб, проходящих посередине зон установки каркасов поперечного армирования, должны быть нанесены несмываемой краской фиксирующие полосы с надписями «лоток» и на диаметрально противоположной стороне - «шелыга».


АРМИРОВАНИЕ ТРУБ ТИПА Т

Dy = 400 - 1000 мм

Описание: Untitled-1

Черт. 11

Dy = 1200 - 1600 мм

Описание: Untitled-1

Черт. 12

АРМИРОВАНИЕ ТРУБ ТИПА ТБ

Dy = 400 - 1000 мм

Описание: Untitled-1

Черт. 13

Dy = 1200 - 1600 мм

Описание: Untitled-1

Черт. 14

АРМИРОВАНИЕ ТРУБ ТИПА ТС

Dy = 400- 1000 мм

Описание: Untitled-1

Черт. 15

Dy = 1200 - 1600 мм

Описание: Untitled-1

Черт. 16

АРМИРОВАНИЕ ТРУБ ТИПА ТП

Dy = 1000 мм

Описание: Untitled-2

Черт. 17

Dy = 1200 - 1600 мм

Описание: Untitled-1

Черт. 18

Dy = 2000 - 2400 мм

Описание: Untitled-1

Черт. 19

АРМИРОВАНИЕ ТРУБ ТИПА ТБП

Dy = 1000 мм

Описание: Untitled-1

Черт. 20

Dy = 1200 - 1600 мм

Описание: Untitled-1

Черт. 21

АРМИРОВАНИЕ ТРУБ ТИПА ТСП

Dy = 1000 мм

Описание: Untitled-1

Черт. 22

Dy = 1200 - 1600 мм

Описание: Untitled-1

Черт. 23

АРМИРОВАНИЕ ТРУБ ТИПА ТФП

Dy = 1000 мм

Описание: Untitled-1

Черт. 24

Dy = 1200 - 1600 мм

Описание: Untitled-1

Черт. 25

Dy = 2000 - 2400 мм

Описание: Untitled-1

Черт. 26

Описание: Untitled-1

Черт. 27


Вариант армирования труб типов ТС и ТСП

Описание: Untitled-1

Черт. 28

Таблица 14

Спецификация арматурных изделий и расход стали (кг) на одну трубу Dy до 1000 мм включ.

Марка трубы

Каркас

Изделия арматурные

Марка

Количество

Арматура класса

Всего

A-III

А-I

Bp-I

ГОСТ 5781

ГОСТ 6727

Æ6

Æ8

Итого

Æ6

Итого

Æ4

Æ5

Итого

Т40.50-2

КП1

1

-

-

-

10,2

10,2

9,8

-

9,8

20,0

Т40.50-3

КП2

1

-

-

-

10,2

10,2

-

15,4

15,4

25,6

Т50.50-2

КП3

1

-

-

-

10,3

10,3

-

17,0

17,0

27,3

Т50.50-3

КП4

1

-

-

-

10,3

10,3

-

22,0

22,0

32,3

Т60.50-2

КП5

1

-

-

-

12,5

12,5

-

24,2

24,2

36,7

Т60.50-3

КП6

1

-

-

-

12,5

12,5

-

30,7

30,7

43,2

Т80.50-2

КП7

1

53,7

-

53,7

14,9

14,9

-

-

-

68,6

Т80.50-3

КП8

1

69,8

-

69,8

14,9

14,9

-

-

-

84,7

Т100.50-2

КП9

1

66,8

-

66,8

21,8

21,8

-

-

-

88,6

T100.50-3

КП10

1

-

103,8

103,8

21,8

21,8

-

-

-

125,6

ТБ40.50-2

КП59

1

-

-

-

10,3

10,3

9,6

-

9,6

19,9

ТБ40.50-3

КП60

1

-

-

-

10,3

10,3

-

15,1

15,1

25,4

ТБ50.50-2

КП63

1

-

-

-

10,3

10,3

-

16,6

16,6

26,9

ТБ50.50-3

КП64

1

-

-

-

10,3

10,3

-

22,0

22,0

32,3

ТБ60.50-2

КП67

1

-

-

-

12,6

12,6

-

24,0

24,0

36,6

TБ60.50-3

КП68

1

-

-

-

12,6

12,6

-

31,0

31,0

43,6

ТБ80.50-2

КП71

1

53,4

-

53,4

14,9

14,9

-

-

-

68,3

ТБ80.50-3

КП72

1

70,7

-

70,7

14,9

14,9

-

-

-

85,6

ТБ100.50-2

КП75

1

66,4

-

66,4

21,8

21,8

-

-

-

88,2

ТБ100.50-3

КП76

1

-

101,9

101,9

21,8

21,8

-

-

-

123,7

TC40.25-2

КП57

1

-

-

-

5,3

5,3

5,1

-

5,1

10,4

TC40.25-3

КП58

1

-

-

-

5,3

5,3

-

8,0

8,0

13,3

TC40.50-2

КП59

1

-

-

-

10,3

10,3

9,6

-

9,6

19,9

TC40.50-3

КП60

1

-

-

-

10,3

10,3

-

15,1

15,1

25,4

TC50.25-2

КП61

1

-

-

-

5,3

5,3

-

8,9

8,9

14,2

TC50.25-3

КП62

1

-

-

-

5,3

5,3

-

11,6

11,6

16,9

TC50.50-2

КП63

1

-

-

-

10,3

10,3

-

16,6

16,6

26,9

TC50.50-3

КП64

1

-

-

-

10,3

10,3

-

22,0

22,0

32,3

TC60.25-2

КП65

1

-

-

-

6,5

6,5

-

12,6

12,6

19,1

TC60.25-3

КП66

1

-

-

-

6,5

6,5

-

16,2

16,2

22,7

TC60.50-2

КП67

1

-

-

-

12,6

12,6

-

24,0

24,0

36,6

TC60.50-3

КП68

1

-

-

-

12,6

12,6

-

31,0

31,0

43,6

TC80.35-2

КП69

1

38,2

-

38,2

10,6

10,6

-

-

-

48,8

TC80.35-3

КП70

1

50,5

-

50,5

10,6

10,6

-

-

-

61,1

TC80.50-2

КП71

1

53,4

-

53,4

14,9

14,9

-

-

-

68,3

TC80.50-3

КП72

1

70,7

-

70,7

14,9

14,9

-

-

-

85,6

TC100.35-2

КП73

1

47,7

-

47,7

15,5

15,5

-

-

-

63,2

TC100.35-3

КП74

1

-

73,3

73,3

15,5

15,5

-

-

-

88,8

TC100.50-2

КП77

1

66,6

-

66,6

21,8

21,8

-

-

-

88,4

TC100.50-3

КП78

1

-

102,1

102,1

21,8

21,8

-

-

-

123,9

ТП100.50-2

КП9

1

66,8

-

66,8

21,8

21,8

-

-

-

88,6

ТП100.50-3

КП10

1

-

103,8

103,8

21,8

21,8

-

-

-

125,6

ТБП100.50-2

КП24

1

67,4

-

67,4

22,0

22,0

-

-

-

89,4

ТБП100.50-3

КП25

1

-

104,7

104,7

22,0

22,0

-

-

-

126,7

ТСП100.35-2

КП35

1

48,6

-

48,6

15,7

15,7

-

-

-

64,3

ТСП100.35-3

КП36

1

-

76,1

76,1

15,7

15,7

-

-

-

91,8

ТСП100.50-2

КП37

1

67,5

-

67,5

22,0

22,0

-

-

-

89,6

ТСП100.50-3

КП38

1

-

104,9

104,9

22,0

22,0

-

-

-

126,9

ТФП100.50-2

КП146

1

63,2

-

63,2

21,0

21,0

-

-

-

84,2

ТФП100.50-3

КП147

1

-

96,9

96,9

21,0

21,0

-

-

-

117,9


Таблица 15

Спецификация арматурных изделий и расход стали (кг) на одну трубу D, 1200 мм и более

Марка трубы

Основной каркас

Каркас

Фиксатор

Изделия арматурные

наружный

внутренний

втулочной части

поперечного армирования

Арматура класса

Всего

Марка

Количество

Марка

Количество

А-III

A-I

Вр-I

Марка

Количество

Марка

Количество

Марка

Количество

ГОСТ 5781

ГОСТ 6727

Æ6

Æ8

Итого

Æ6

Æ8

Итого

Æ8

Итого

Т120.50-1

КП11

1

КП127

1

-

-

-

-

Ф1

60

87,0

-

87,0

42,9

-

42,9

2,4

2,4

132,3

Т120.50-2

КП12

1

КП128

1

-

-

-

-

Ф1

60

-

144,1

144,1

42,9

-

42,9

2,4

2,4

189,4

Т120.50-3

КП13

1

КП129

1

-

-

-

-

Ф1

60

-

228,4

228,4

42,9

-

42,9

2,4

2,4

273,7

Т140.50-1

КП14

1

КП133

1

-

-

-

-

Ф1

72

139,5

-

139,5

51,9

-

51,9

2,9

2,9

194,3

Т140.50-2

КП15

1

КП134

1

-

-

-

-

Ф1

72

-

223,4

223,4

51,9

-

51,9

2,9

2,9

278,2

T140.50-3

КП16

1

КП135

1

-

-

-

-

Ф1

72

-

324,5

324,5

51,9

-

51,9

2,9

2,9

379,3

T160.50-1

КП17

1

КП139

1

-

-

-

-

Ф2

78

192,1

-

192,1

56,4

-

56,4

3,1

3,1

251,6

T160.50-2

КП18

1

КП140

1

-

-

-

-

Ф2

78

-

282,7

282,7

56,4

-

56,4

3,1

3,1

342,2

T160.50-3

КП19

1

KП141

1

-

-

-

-

Ф2

78

-

437,8

437,8

56,4

-

56,4

3,1

3,1

497,3

ТБ120.50-1

КП82

1

КП109

1

-

-

-

-

Ф1

60

86,5

-

86,5

43,6

-

43,6

2,4

2,4

132,5

ТБ120.50-2

KII83

1

КП110

1

-

-

-

-

Ф1

60

-

142,4

142,4

43,6

-

43,6

2,4

2,4

188,4

ТБ120.50-3

КП84

1

KП111

1

-

-

-

-

Ф1

60

-

232,4

232,4

43,6

-

43,6

2,4

2,4

278,4

ТБ140.50-1

КП91

1

КП115

1

-

-

-

-

Ф1

72

141,3

-

141,3

53,0

-

53,0

2,9

2,9

197,2

ТБ140.50-2

КП92

1

КП116

1

-

-

-

-

Ф1

72

-

224,6

224,6

53,0

-

53,0

2,9

2,9

280,5

ТБ140.50-3

КП93

1

КП117

1

-

-

-

-

Ф1

72

-

332,7

332,7

53,0

-

53,0

2,9

2,9

388,6

ТБ160.50-1

кп100

1

КП121

1

-

-

-

-

Ф2

78

195,6

-

195,6

57,6

-

57,6

3,1

3,1

256,3

TБ160.50-2

КП101

1

КП122

1

-

-

-

-

Ф2

78

-

286,2

286,2

57,6

-

57,6

3,1

3,1

346,9

ТБ160.50-3

КП102

1

КП123

1

-

-

-

-

ф2

78

-

452,4

452,4

57,6

-

57,6

3,1

3,1

513,1

ТС120.35-1

КП79

1

КП106

1

К1

1

-

-

Ф1

50

61,7

8,8

70,5

32,0

-

32,0

2,0

2,0

104,5

ТС120.35-2

КП80

1

KП107

1

К1

1

-

-

Ф1

50

-

110,7

110,7

32,0

-

32,0

2,0

2,0

144,7

ТС120.35-3

КП81

1

КП108

1

К1

1

-

-

Ф1

50

-

173,5

173,5

32,0

-

32,0

2,0

2,0

207,5

ТС120.50-1

КП85

1

КП109

1

К1

1

-

-

Ф1

60

85,7

8,8

94,5

44,6

-

44,6

2,4

2,4

141,5

ТС120.50-2

КП86

1

КП110

1

К1

1

-

-

Ф1

60

-

149,8

149,8

44,6

-

44,6

2,4

2,4

196,8

ТС120.50-3

КП87

1

КП111

1

К1

1

-

-

Ф1

60

-

239,1

239,1

44,6

-

44,6

2,4

2,4

286,1

ТС140.35-1

КП88

1

КП112

1

К2

1

-

-

Ф1

60

100,3

10,0

110,3

38,8

-

38,8

2,4

2,4

151,5

ТС140.35-2

КП89

1

КП113

1

К2

1

-

-

Ф1

60

-

169,7

169,7

38,8

-

38,8

2,4

2,4

210,9

ТС140.35-3

КП90

1

КП114

1

К2

1

-

-

Ф1

60

-

245,3

245,3

38,8

-

38,8

2,4

2,4

286,5

TС140.50-1

КП94

1

КП115

1

К2

1

-

-

Ф1

72

140,8

10,0

150,8

54,1

-

54,1

2,9

2,9

207,8

ТС140.50-2

КП95

1

КП116

1

К2

1

-

-

Ф1

72

-

232,4

232,4

54,1

-

54,1

2,9

2,9

289,4

ТС140.50-3

КП96

1

КП117

1

К2

1

-

-

Ф1

72

-

339,5

339,5

54,1

-

54,1

2,9

2,9

396,5

ТС160.35-1

КП97

1

КП118

1

К3

1

-

-

Ф3

65

139,1

11,4

150,5

42,3

-

42,3

2,6

2,6

195,4

TC160.35-2

КП98

1

КП119

1

К3

1

-

-

Ф2

65

-

214,4

214,4

42,3

-

42,3

2,6

2,6

259,3

ТС160.35-3

КП99

1

КП120

1

К3

1

-

-

Ф2

65

-

330,6

330,6

42,3

-

42,3

2,6

2,6

375,5

ТС160.50-1

КП103

1

КП121

1

К3

1

-

-

Ф2

78

196,1

11,4

207,5

58,9

-

58,9

3,1

3,1

269,5

TC160-50-2

КП104

1

КП122

1

К3

1

-

-

Ф2

78

-

294,8

294,8

58,9

-

58,9

3,1

3,1

356,8

ТС160.50-3

КП105

1

КП123

1

К3

1

-

-

Ф2

78

-

459,2

459,2

58,9

-

58,9

3,1

3,1

521,2

ТП120.50-1

КП11

1

КП127

1

-

-

-

-

Ф1

60

87,0

-

87,0

42,9

-

42,9

2,4

2,4

132,3

ТП120.50-2

КП12

1

КП128

1

-

-

-

-

Ф1

60

-

144,1

144,1

42,9

-

42,9

2,4

2,4

189,4

ТП120.50-3

КП13

1

КП129

1

-

-

-

-

Ф1

60

-

228,4

228,4

42,9

-

42,9

2,4

2,4

273,4

ТП140.50-1

КП14

1

KП133

1

-

-

-

-

Ф1

72

139,5

-

139,5

51,9

-

51,9

2,9

2,9

194,3

ТП140.50-2

КП15

1

КП134

1

-

-

-

-

Ф1

72

-

223,4

223,4

51,9

-

51,9

2,9

2,9

278,2

ТП140.50-3

кп16

1

КП135

1

-

-

-

-

Ф1

72

-

324,5

324,5

51,9

-

51,9

2,9

2,9

379,3

ТП160.50-1

КП17

1

КП139

1

-

-

-

-

Ф2

78

192,1

-

192,1

56,4

-

56,4

3,1

3,1

251,6

ТП160.50-2

КП18

1

КП140

1

-

-

-

-

Ф2

78

-

282,7

282,7

56,4

-

56,4

3,1

3,1

342,2

ТП160.50-3

КП19

1

КП141

1

-

-

-

-

Ф2

78

-

437,8

437,8

56,4

-

56,4

3,1

3,1

497,3

ТП200.45-1

КП20

1

КП142

1

-

-

К4

40

Ф2

96

-

336,3

336,3

72,8

38,0

110,8

3,8

3,8

450,9

ТП200.45-2

КП21

1

КП143

1

-

-

К4

40

Ф2

96

-

447,9

447,9

72,8

38,0

110,8

3,8

3,8

562,5

ТП240.30-1

КП22

1

КП144

1

-

-

К5

28

Ф3

76

-

363,3

363,3

57,7

31,6

89,3

3,8

3,8

456,4

ТП240.30-2

КП23

1

КП145

1

-

-

К5

28

Ф3

76

-

453,9

453,9

57,7

31,6

89,3

3,8

3,8

547,0

ТБП120.50-1

КП26

1

КП127

1

-

-

-

-

Ф1

60

88,0

-

88,0

43,1

-

43,1

2,4

2,4

133,5

ТБП120.50-2

КП27

1

КП128

1

-

-

-

-

Ф1

60

-

145,8

145,8

43,1

-

43,1

2,4

2,4

191,3

ТБП120.50-3

КП28

1

КП129

1

-

-

-

-

Ф1

60

-

230,7

230,7

43,1

-

43,1

2,4

2,4

276,2

ТБП140.50-1

КП29

1

КП133

1

-

-

-

-

Ф1

72

141,0

-

141,0

52,2

-

52,2

2,9

2,9

196,1

ТБП140.50-2

KП30

1

КП134

1

-

-

-

-

Ф1

72

-

224,8

224,8

52,2

-

52,2

2,9

2,9

279,9

ТБП140.50-3

КП31

1

КП135

1

-

-

-

-

Ф1

72

-

326,7

326,7

52,2

-

52,2

2,9

2,9

381,8

ТБП160.50-1

КП32

1

КП139

1

-

-

-

-

ф2

78

193,7

-

193,7

56,8

-

56,8

3,1

3,1

253,6

ТБП160.50-2

кп33

1

КП140

1

-

-

-

-

Ф2

78

-

284,9

293,9

56,8

-

56,8

3,1

3,1

344,8

ТБП160.50-3

КП34

1

КП141

1

-

-

-

-

Ф2

78

-

441,5

441,5

56,8

-

56,8

3,1

3,1

501,4

ТСП120.35-1

КП39

1

КП124

1

К1

1

-

-

Ф1

50

63,4

8,8

72,2

31,4

-

31,4

2,0

2,0

105,6

ТСП120.35-2

КП40

1

КП125

1

К1

1

-

-

Ф1

50

-

114,1

114,1

31,4

-

31,4

2,0

2,0

147,5

ТСП120.35-3

KП41

1

КП126

1

К1

1

-

-

Ф1

50

-

171,9

171,9

31,4

-

31,4

2,0

2,0

205,3

ТСП120.50-1

КП42

1

КП127

1

К1

1

-

-

Ф1

60

87,2

8,8

96,0

44,1

-

44,1

2,4

2,4

142,5

ТСП120.50-2

КП43

1

КП128

1

К1

1

-

-

Ф1

60

-

153,3

153,3

44,1

-

44,1

2,4

2,4

199,8

ТСП120.50-3

КП44

1

КП129

1

К1

1

-

-

Ф1

60

-

237,4

237,4

44,1

-

44,1

2,4

2,4

283,9

ТСП140.35-1

КП45

1

КП130

1

K2

1

-

-

Ф1

60

99,6

10,0

109,6

38,0

-

38,0

2,4

2,4

150,0

ТСП140.35-2

KП46

1

KII131

1

K2

1

-

-

Ф1

60

-

170,0

170,0

38,0

-

38,0

2,4

2,4

210,4

ТСП140.35-3

КП47

1

КП132

1

К2

1

-

Ф1

60

-

239,6

239,6

38,0

-

38,0

2,4

2,4

280,0

ТСП140.50-1

КП48

1

КП133

1

K2

1

-

-

Ф1

72

139,2

10,0

149,2

53,3

-

53,3

2,9

2,9

205,4

ТСП140.50-2

КП49

1

КП134

1

K2

1

-

-

Ф1

72

-

232,9

232,9

53,3

-

53,3

2,9

2,9

289,1

ТСП140.50-3

КП50

1

КП135

1

К3

1

-

-

Ф1

72

-

333,8

333,8

53,3

-

53,3

2,9

2,9

390,0

ТСП160.35-1

КП51

1

КП136

1

К3

1

-

-

Ф2

65

136,3

11,4

147,7

41,4

-

41,4

2,6

2,6

191,7

ТСП160.35-2

КП52

1

КП137

1

К3

1

-

-

Ф2

65

-

213,1

213,1

41,4

-

41,4

2,6

2,6

257,1

ТСП160.35-3

КП53

1

КП138

1

К3

1

-

-

Ф2

65

-

319,9

319,9

41,4

-

41,4

2,6

2,6

363,9

ТСП160.50-1

КП54

1

КП139

1

К3

1

-

-

Ф2

78

191,8

11,4

203,2

58,0

-

58,0

3,1

3,1

264,3

ТСП160.50-2

КП55

1

КП140

1

К3

1

-

-

Ф2

78

-

293,6

293,6

58,0

-

58,0

3,1

3,1

354,7

ТСП160.50-3

KП56

1

КП141

1

К3

1

-

-

Ф2

78

-

448,5

448,5

58,0

-

58,0

3,1

3,1

509,6

ТФП120.50-1

КП148

1

КП161

1

-

-

-

-

Ф1

60

82,4

-

82,4

42,1

-

42,1

2,4

2,4

126,9

ТФП120.50-2

КП149

1

КП162

1

-

-

-

-

Ф1

60

-

135,6

135,6

42,1

-

42,1

2,4

2,4

180,1

ТФП120.50-3

КП150

1

КП163

1

-

-

-

-

Ф1

60

-

221,5

221,5

42,1

-

42,1

2,4

2,4

266,0

ТФП140.50-1

KП151

1

КП164

1

-

-

-

-

Ф1

72

134,6

-

134,6

51,1

-

51,1

2,9

2,9

188,6

ТФП140.50-2

КП152

1

КП165

1

-

-

-

-

Ф1

72

-

214,0

214,0

51,1

-

51,1

2,9

2,9

268,0

ТФП140.50-3

КП153

1

КП166

1

-

-

-

-

Ф1

72

-

317,1

317,1

51,1

-

51,1

2,9

2,9

371,1

ТФП160.50-1

КП154

1

КП167

1

-

-

-

-

Ф2

78

187,4

-

187,4

55,5

-

55,5

3,1

3,1

246,0

ТФП160.50-2

KП155

1

КП168

1

-

-

-

-

Ф2

78

-

272,9

272,9

55,5

-

55,5

3,1

3,1

331,5

ТФП160.50-3

КП156

1

КП169

1

-

-

-

-

Ф2

78

-

431,4

431,4

55,5

-

55,5

3,1

3,1

490,0

ТФП200.45-1

КП157

1

КП170

1

-

-

К4

40

Ф2

96

-

324,8

324,8

71,5

38,0

109,5

3,8

3,8

438,1

ТФП200.45-2

КП158

1

КП171

1

-

-

К4

40

Ф2

96

-

439,1

439,1

71,5

38,0

109,5

3,8

3,8

552,4

ТФП240.30-1

КП159

1

КП172

1

-

-

К5

28

Ф3

76

-

351,5

351,5

55,9

31,6

87,5

3,8

3,8

442,8

ТФП240.30-2

КП160

1

КП173

1

-

-

К5

28

Ф3

76

-

446,2

446,2

55,9

31,6

87,5

3,8

3,8

537,5

Каркасы КП1-КП23

Описание: Untitled-1

Черт. 29

Каркасы КП24-КП56

Описание: Untitled-1

Черт. 30

Каркасы КП57-КП78

Описание: Untitled-1

Черт. 31

Каркасы КП79-КП105

Описание: Untitled-1

Черт. 32

Каркасы КП106-КП123

Описание: Untitled-1

Черт. 33

Каркасы КП124-КП145

Описание: Untitled-1

Черт. 34

Каркасы КП146-КП173

Описание: Untitled-1

Черт. 35


Таблица 16

Размеры арматурных каркасов КП1-КП173

Размеры, мм

Марка каркаса

d1

d2

d3

d4

m

b

b1

b2

l

Число шагов спиральной арматуры

a

п

n1

КП1

430

440

580

590

70

90

15

50

5095

2

69

40°

КП2

441

591

КП3

540

551

710

721

80

100

35

75

60

КП4

60

65

80

КП5

640

651

810

821

65

95

30

63

74

32°44¢

КП6

50

40

65

96

КП7

858

870

1068

1080

60

120

40

70

5105

3

79

27°42¢

КП8

45

10

33

106

КП9

1068

1080

1318

1330

60

135

25

55

79

24°

КП10

1082

1332

70

75

110

67

КП11

1358

1370

1628

1640

115

155

30

88

41

l8°57¢

КП12

1372

1642

125

120

183

37

КП13

75

20

57

63

КП14

1558

1570

1828

1840

80

155

25

65

59

15°39¢

 

КП15

1572

1842

90

65

110

52

 

КП16

60

95

78

 

КП17

1778

1790

2068

2080

65

165

55

88

72

14°24¢

 

КП18

1792

2082

80

15

55

59

 

КП19

50

35

60

94

 

КП20

2194

2208

2514

2528

75

185

35

73

4625

56

11°37¢

 

КП21

55

-

28

77

 

КП22

2634

2648

2994

3008

55

190

-

28

3135

4

49

9°44¢

 

КП23

43

29

51

62

 

КП24

1068

1080

1298

1310

60

135

15

45

5155

3

80

24°

 

КП25

1082

1312

70

55

90

68

 

КП26

1358

1370

1608

1620

115

145

100

158

5165

41

18°57¢

 

КП27

1372

1622

125

65

128

38

 

кп28

75

15

53

64

 

КП29

1558

1570

1814

1826

80

150

15

55

5170

60

15°39¢

 

кп30

1572

1828

90

45

90

53

 

КП31

60

15

45

80

 

КП32

1778

1790

2054

2066

65

155

10

43

5180

74

14°24¢

 

КП33

1792

2068

80

20

60

60

 

КП34

50

45

96

 

КП35

1068

1080

1298

1310

60

135

25

55

3665

55

24°

 

КП36

1082

1312

70

35

70

47

 

КП37

1080

1310

60

25

55

5165

80

 

кп38

1082

1312

70

65

100

68

 

КП39

1358

1370

1608

1620

115

145

-

58

3570

28

18°57¢

 

КП40

1372

1622

125

95

158

25

 

КП41

75

70

108

42

 

КП42

1370

1620

115

120

178

5070

40

 

КП43

1372

1622

125

95

158

37

 

КП44

75

70

108

62

 

КП45

1558

1570

1814

1826

80

150

25

65

3580

40

15°39¢

 

КП46

1572

1828

90

75

120

35

 

КП47

60

45

75

53

 

КП48

1570

1826

80

85

125

5080

58

 

КП49

1572

1828

90

45

90

52

 

КП50

60

75

78

 

КП51

1778

1790

2054

2066

65

155

35

88

3580

49

14°24¢

 

КП52

1792

2068

80

20

60

40

 

КП53

50

45

64

 

КП54

1790

2066

65

40

73

5080

72

 

КП55

430

1792

622

2068

80

-

40

59

 

КП56

50

20

45

94

 

КП57

440

614

70

-

47

85

2637

-

36

40°

 

КП58

441

615

 

КП59

440

614

25

60

5135

72

 

КП60

441

615

 

КП61

540

551

762

755

80

20

2650

32

 

КП62

60

-

30

43

 

КП63

80

40

80

5150

63

 

КП64

60

70

84

 

КП65

640

651

862

855

65

45

78

2650

39

32°44¢

 

КП66

50

30

55

51

 

KП67

65

10

43

5150

78

 

КП68

50

30

55

101

 

КП69

858

870

1108

1102

60

40

70

3650

59

27°42¢

 

КП70

45

25

48

79

 

КП71

60

40

70

5150

84

 

КП72

45

63

112

 

КП73

1068

1080

1374

1366

60

50

80

3660

59

24°

 

КП74

1082

1368

70

20

55

51

 

КП75

1080

1366

60

40

70

5150

84

 

КП76

1082

1368

70

40

75

72

 

КП77

1080

1366

60

50

58

5160

84

 

КП78

1082

1368

70

85

72

 

КП79

1358

1370

1686

1680

115

42

100

3562

30

18°57¢

 

КП80

1372

1682

125

117

180

27

 

КП81

75

42

80

46

 

КП82

1370

1680

115

30

88

5160

44

 

КП83

1372

1682

125

90

153

40

 

КП84

75

65

103

67

 

KII85

1370

1680

115

47

105

5062

43

 

КП86

1372

1682

125

117

180

39

 

КП87

75

42

80

66

 

КП88

1558

1570

1883

1880

80

62

102

3567

43

15°39¢

 

КП89

1572

1882

90

82

127

38

 

КП90

60

22

52

58

 

КП91

1570

1880

80

65

105

5165

63

 

КП92

1572

1882

90

110

56

 

КП93

60

95

84

 

КП94

1570

2116

1880

80

42

82

5067

62

 

КП95

1572

1882

90

52

97

55

 

КП96

60

22

52

83

 

КП97

1778

1790

2110

65

57

90

3572

53

14°24¢

 

КП98

1792

2112

80

62

102

43

 

КП99

50

52

77

69

 

КП100

1790

2110

65

35

68

5175

78

 

КП101

1792

2112

80

65

105

63

 

КП102

50

55

80

101

 

КП103

1790

2110

65

35

68

5072

78

 

КП104

1792

2112

80

42

82

62

 

КП105

50

52

77

99

 

кп106

1250

1262

1578

1572

115

27

85

3662

31

18°57¢

 

КП107

1264

1574

125

92

155

28

 

кп108

75

67

105

47

 

кП109

1262

1572

115

30

88

5160

44

 

кп110

1264

1574

125

90

153

40

 

КП111

75

65

103

67

 

КП112

1450

1462

1778

1772

80

87

127

3672

44

15°39¢

 

КП113

1464

1774

90

97

142

39

 

КП114

60

67

97

59

 

КП115

1462

1772

80

65

105

5165

63

 

КП116

1464

1774

90

110

56

 

КП117

60

95

84

 

КП118

1650

1662

1988

1982

65

32

65

3677

55

14°24¢

 

КП119

1664

1984

80

87

127

44

 

КП120

50

57

82

71

 

КП121

1662

1982

65

35

68

5175

78

 

КП122

1664

1984

80

65

105

63

 

КП123

50

55

80

101

 

КП124

1250

1262

-

-

115

90

148

3495

29

18°57¢

 

КП125

1264

125

50

113

27

 

КП126

75

88

45

 

КП127

1262

115

95

153

4995

42

 

КП128

1264

125

50

113

39

 

КП129

75

88

65

 

КП130

1450

1462

80

65

105

3495

42

15°39¢

 

КП131

1464

90

95

140

37

 

КП132

60

65

95

56

 

КП133

1462

80

45

85

4995

61

 

КП134

1464

-

-

90

-

65

110

54

 

КП135

60

95

81

 

КП136

1650

1662

65

45

78

3495

52

14°24¢

 

КП137

1664

80

105

42

 

КП138

50

25

50

68

 

КП139

1662

65

50

83

4995

75

 

КП140

1664

80

45

85

61

 

КП141

50

25

50

98

 

КП142

2066

2080

75

-

38

4495

59

11°37¢

 

КП143

55

25

53

80

 

КП144

2466

2480

65

93

2995

52

9°44¢

 

КП145

43

-

22

68

 

КП146

1068

1080

60

55

85

4985

81

24°

 

КП147

1082

70

15

50

70

 

КП148

1358

1370

115

110

168

5010

42

18°57¢

 

КП149

1372

125

65

190

39

 

КП150

75

103

65

 

КП151

1558

1570

80

60

100

61

15°39¢

 

КП152

1572

90

80

125

54

 

КП153

60

20

50

82

 

КП154

1778

1790

65

-

33

76

14°24¢

 

КП155

1792

80

60

100

61

 

КП156

50

40

65

98

 

КП157

2194

2208

75

15

53

4510

59

11°37¢

 

КП158

55

40

67

80

 

КП159

2634

2648

25

53

3010

53

9°44¢

 

КП160

43

16

37

68

 

КП161

1250

1262

115

90

148

4990

42

18°57¢

 

КП162

1264

125

45

107

39

 

КП163

75

82

65

 

КП164

1450

1462

80

40

80

61

15°39¢

 

КП165

1464

90

60

105

54

 

КП166

60

-

30

82

 

KП167

1650

1662

65

45

78

75

14°24¢

 

КП168

1664

80

40

80

61

 

КП169

50

20

45

98

 

КП170

2066

2080

75

65

103

4485

58

11°37¢

 

КП171

55

15

42

80

 

KП172

2466

2480

-

28

2985

53

9°44¢

 

КП173

43

34

55

67

 

Каркасы К1-К3

Описание: Untitled-1

Черт. 36

Таблица 17

Размеры, мм

Марка каркаса

с

l

Число шагов n

К1

25

4450

22

К2

40

5080

25

К3

85

5770

28

Каркасы К4, К5

Описание: Untitled-1

Черт. 37


Таблица 18

Спецификация и расход стали на одно арматурное изделие

Марка изделия

Позиция

Эскиз стержня (размеры в мм)

Диаметр, мм

Длина, мм

Количество

Общая длина, м

Расход стали

Диаметр, мм

Масса позиции, кг

Масса изделия, кг

КП1

1

¾¾¾¾¾¾¾

4BpI

106660

1

106,7

4BpI

9,8

20,0

2

Описание: Untitled-1

6A1

5126

9

46,1

6A1

10,2

КП2

3

¾¾¾¾¾¾¾

5BpI

106900

1

106,9

5BpI

15,4

25,6

2

См. КП1

6A1

5126

9

46,1

6A1

10,2

КП3

4

¾¾¾¾¾¾¾

5BpI

118140

1

118,1

5BpI

17,0

27,3

5

Описание: Untitled-1

6A1

5131

9

46,2

6A1

10,3

КП4

6

¾¾¾¾¾¾¾

5BpI

153010

1

153,0

5BpI

22,0

32,3

5

См. КП3

6AI

5131

9

46,2

6AI

10,3

КП5

7

¾¾¾¾¾¾¾

5BpI

167850

1

167,8

5BpI

24,2

36,7

5

См. КП3

6A1

5131

11

56,4

6AI

12,5

КП6

8

¾¾¾¾¾¾¾

5BpI

213540

1

213,5

5BpI

30,7

43,2

5

См. КП3

6АI

5131

11

56,4

6AI

12,5

КП7

9

¾¾¾¾¾¾¾

6AIII

241710

1

241,7

6AIII

53,7

68,7

10

Описание: Untitled-1

6A1

5148

13

66,9

6AI

14,9

КП8

11

¾¾¾¾¾¾¾

6AIII

314290

1

314,3

6AIII

69,8

84,7

10

См. КП7

6A1

5148

13

66,9

6AI

14,9

КП9

12

¾¾¾¾¾¾¾

6AIII

300930

1

300,9

6AIII

66,8

88,6

13

Описание: Untitled-1

6A1

5157

19

98,0

6AI

21,8

КП10

14

¾¾¾¾¾¾¾

8АIII

262870

1

262,9

8АIII

103,8

125,6

13

См. КП9

6AI

5157

19

98,0

6AI

21,8

КП11

15

¾¾¾¾¾¾¾

6AIII

214320

1

214,3

6AIII

47,6

69,4

16

Описание: Untitled-1

6A1

5161

19

98,1

6A1

21,8

КП12

17

¾¾¾¾¾¾¾

8АIII

200385

1

200,4

8АIII

79,2

101,0

16

См. КП11

6AI

5161

19

98,1

6AI

21,8

КП13

18

¾¾¾¾¾¾¾

8АIII

309455

1

309,5

8АIII

122,3

144,1

16

См. КП11

6AI

5161

19

98,1

6AI

21,8

КП14

19

¾¾¾¾¾¾¾

6AIII

336660

1

336,7

6AIII

74,7

101,1

16

См. КП11

6AI

5161

23

118,7

6AI

26,4

КП15

20

¾¾¾¾¾¾¾

8АIII

304505

1

304,5

8АIII

120,3

146,7

16

См. КП11

6AI

5161

23

118,7

6AI

26,4

КП16

21

¾¾¾¾¾¾¾

8АIII

434770

1

434,6

8АIII

171,7

198,1

16

См. КП11

6AI

5161

23

118,7

6AI

26,4

КП17

22

¾¾¾¾¾¾¾

6AIII

459610

1

459,6

6AIII

102,0

130,7

23

Описание: Untitled-1

6AI

5165

25

129,1

6AI

28,7

КП18

24

¾¾¾¾¾¾¾

8АIII

383285

1

383,3

8АIII

151,4

180,1

23

См. КП17

6AI

5165

25

129,1

6AI

28,7

КП19

25

¾¾¾¾¾¾¾

8АШ

583115

1

583,1

8АШ

230,3

259,0

23

См. КП17

6AI

5165

25

129,1

6AI

28,7

КП20

26

¾¾¾¾¾¾¾

8АШ

452820

1

452,8

8АШ

178,9

211,2

27

6AI

4691

31

145,4

6AI

32,3

КП21

28

¾¾¾¾¾¾¾

8АШ

595255

1

595,3

8АШ

235,1

267,4

27

См. КП20

6AI

4691

31

145,4

6AI

32,3

КП22

29

¾¾¾¾¾¾¾

8АШ

489910

1

489,9

8АШ

193,5

219,9

30

Описание: Untitled-1

6AI

3210

37

118,8

6AI

26,4

КП23

31

¾¾¾¾¾¾¾

8АШ

603895

1

603,9

8АШ

238,5

264,9

30

См. КП22

6AI

3210

37

118,8

6AI

26,4

КП24

32

¾¾¾¾¾¾¾

6AIII

303400

1

303,4

6AIII

67,4

89,4

33

6AI

5203

19

98,9

6AI

22,0

КП25

34

¾¾¾¾¾¾¾

8АШ

264980

1

265,0

8АШ

104,7

126,7

33

См. КП24

6AI

5203

19

98,9

6AI

22,0

КП26

35

¾¾¾¾¾¾¾

6AIII

218960

1

219,0

6AIII

48,6

70,6

36

Описание: Untitled-1

6AI

5217

19

99,1

6AI

22,0

КП27

37

¾¾¾¾¾¾¾

8AIII

204820

1

204,8

8AIII

80,9

102,9

36

См. КП26

6AI

5217

19

99,1

6AI

22,0

КП28

38

¾¾¾¾¾¾¾

8AIII

315500

1

315,5

8AIII

124,6

146,6

36

См. КП26

6AI

5217

19

99,1

6AI

22,0

КП29

39

¾¾¾¾¾¾¾

6AIII

343190

1

343,2

6AIII

76,2

102,9

40

6AI

5223

23

120,1

6AI

26,7

КП30

41

¾¾¾¾¾¾¾

8AIII

308115

1

308,1

8AIII

121,7

148,4

40

См. КП29

6AI

5223

23

120,1

6AI

26,7

КП31

42

¾¾¾¾¾¾¾

8AIII

440210

1

440,2

8AIII

173,9

200,6

40

См. КП29

6AI

5223

23

120,1

6AI

26,7

КП32

43

¾¾¾¾¾¾¾

6AIII

466720

1

466,7

6AIII

103,6

132,7

44

Описание: Untitled-1

6AI

5237

25

130,9

6AI

29,1

КП33

45

¾¾¾¾¾¾¾

8AIII

388955

1

318,9

8AIII

153,6

182,7

44

См. КП32

6AI

5237

25

130,9

6AI

29,1

КП34

46

¾¾¾¾¾¾¾

8AIII

592440

1

592,4

8AIII

234,0

263,1

44

См. КП32

6AI

5237

25

130,9

6AI

29,1

КП35

47

¾¾¾¾¾¾¾

6AIII

219145

1

219,1

6AIII

48,6

64,3

48

Описание: Untitled-1

6AI

3713

19

70,5

6AI

15,7

КП36

49

¾¾¾¾¾¾¾

8AIII

192620

1

192,6

8AIII

76,1

91,8

48

См. КП35

6AI

3713

19

70,5

6AI

15,7

КП37

50

¾¾¾¾¾¾¾

6AIII

303970

1

304,0

6AIII

67,5

89,5

51

Описание: Untitled-1

6AI

5213

19

99,1

6AI

22,0

КП38

52

¾¾¾¾¾¾¾

8AIII

265460

1

265,5

8AIII

104,9

126,9

51

См. КП37

6AI

5213

19

99,1

6AI

22,0

КП39

53

¾¾¾¾¾¾¾

6АIII

159260

1

159,3

6АIII

35,4

50,7

54

6AI

3622

19

68,8

6AI

15,3

КП40

55

¾¾¾¾¾¾¾

8AIII

149825

1

149,8

8AIII

59,2

74,5

54

См. КП32

6AI

3622

19

68,8

6AI

15,3

КП41

56

¾¾¾¾¾¾¾

8AIII

223825

1

223,8

8AIII

88,4

103,7

54

См. КП32

6AI

3622

19

68,8

6AI

15,3

КП42

57

¾¾¾¾¾¾¾

6AIII

215385

1

215,4

6AIII

47,8

69,4

58

Описание: Untitled-1

6AI

5122

19

97,3

6AI

21,6

КП43

59

¾¾¾¾¾¾¾

8AIII

201545

1

201,5

8AIII

79,6

101,2

58

См. КП42

6AI

5122

19

97,3

6AI

21,6

КП44

60

¾¾¾¾¾¾¾

8AIII

310025

1

310,0

8AIII

122,5

144,1

58

См. КП42

6AI

5122

19

97,3

6AI

21,6

КП45

61

¾¾¾¾¾¾¾

6AIII

242700

1

242,7

6AIII

53,9

72,5

62

6AI

3633

23

83,6

6AI

18,6

КП46

63

¾¾¾¾¾¾¾

8AIII

220860

1

220,9

8AIII

87,3

105,9

62

См. КП45

6AI

3633

23

83,6

6AI

18,6

КП47

64

¾¾¾¾¾¾¾

8AIII

309335

1

309,3

8AIII

122,2

140,8

62

См. КП45

6AI

3633

23

83,6

6AI

18,6

КП48

65

¾¾¾¾¾¾¾

6AIII

335175

1

335,2

6AIII

74,4

100,6

66

6AI

5133

23

118,1

6AI

26,2

КП49

67

¾¾¾¾¾¾¾

8AIII

303175

1

303,2

8AIII

119,8

146,0

66

См. КП48

6AI

5133

23

118,1

6AI

26,2

КП50

68

¾¾¾¾¾¾¾

8AIII

432805

1

432,8

8AIII

171,0

197,2

66

См. КП48

6AI

5133

23

118,1

6AI

26,2

КП51

69

¾¾¾¾¾¾¾

6AIII

328305

1

328,3

6AIII

72,9

93,1

70

Описание: Untitled-1

6AI

3637

25

90,9

6AI

20,2

КП52

71

¾¾¾¾¾¾¾

8AIII

276380

1

276,4

8AIII

109,2

129,4

70

См. КП51

6AI

3637

25

90,9

6AI

20,2

КП53

72

¾¾¾¾¾¾¾

8AIII

412320

1

412,3

8AIII

162,9

183,1

70

См. КП51

6AI

3637

25

90,9

6AI

20,2

КП54

73

¾¾¾¾¾¾¾

6AIII

458070

1

458,1

6AIII

101,7

130,2

74

Описание: Untitled-1

6AI

5137

25

128,4

6AI

28,5

КП55

75

¾¾¾¾¾¾¾

8AIII

381920

1

381,9

8AIII

150,9

179,4

74

См. КП54

6AI

5137

25

128,4

6AI

28,5

КП56

76

¾¾¾¾¾¾¾

8AIII

581190

1

581,2

8AIII

229,6

258,1

74

См. КП54

6AI

5137

25

128,4

6AI

28,5

КП57

77

¾¾¾¾¾¾¾

4BpI

55410

1

55,4

4BpI

5,1

10,4

78

Описание: Untitled-1

6AI

2652

9

23,9

6AI

5,3

КП58

79

¾¾¾¾¾¾¾

5BpI

55530

1

55,5

5BpI

8,0

13,3

78

См. КП57

6AI

2652

9

23,9

6AI

5,3

КП59

80

¾¾¾¾¾¾¾

4BpI

104680

1

104,7

4BpI

9,6

19,9

81

Описание: Untitled-1

6AI

5147

9

46,3

6AI

10,3

КП60

82

¾¾¾¾¾¾¾

5BpI

104915

1

104,9

5BpI

15,1

25,4

81

См. КП59

6AI

5147

9

46,3

6AI

10,3

КП61

83

¾¾¾¾¾¾¾

5BpI

61550

1

61,6

5BpI

8,9

14,2

84

6AI

2664

9

24,0

6AI

5,3

КП62

85

¾¾¾¾¾¾¾

5BpI

80780

1

80,8

5BpI

11,6

16,9

84

См. КП61

6AI

2664

9

24,0

6AI

5,3

КП63

86

¾¾¾¾¾¾¾

5BpI

115640

1

115,6

5BpI

16,6

26,9

87

6AI

5164

9

46,5

6AI

10,3

КП64

88

¾¾¾¾¾¾¾

5BpI

152820

1

152,8

5BpI

22,0

32,3

87

См. КП63

6AI

5164

9

46,5

6AI

10,3

КП65

89

¾¾¾¾¾¾¾

5BpI

87830

1

87,8

5BpI

12,6

19,1

84

См. КП61

6AI

2664

11

29,3

6AI

6,5

КП66

90

¾¾¾¾¾¾¾

5BpI

112830

1

112,8

5BpI

16,2

22,7

84

См. КП61

6AI

2664

11

29,3

6AI

6,5

КП67

91

¾¾¾¾¾¾¾

5BpI

166490

1

166,5

5BpI

24,0

36,6

87

См. КП63

6AI

5164

11

56,8

6AI

12,6

КП68

92

¾¾¾¾¾¾¾

5BpI

215090

1

215,1

5BpI

31,0

43,6

87

См. КП63

6AI

5164

11

56,8

6AI

12,6

КП69

93

¾¾¾¾¾¾¾

6АIII

172190

1

172,2

6АIII

38,2

48,8

94

Описание: Untitled-1

6АI

3666

13

47,7

6АI

10,6

КП70

95

¾¾¾¾¾¾¾

6АIII

227280

1

227,3

6АIII

50,5

61,1

94

См. КП69

6АI

3666

13

47,7

6АI

10,6

КП71

96

¾¾¾¾¾¾¾

6АIII

240520

1

240,5

6АIII

53,4

68,3

97

Описание: Untitled-1

6АI

5166

13

67,2

6АI

14,9

КП72

98

¾¾¾¾¾¾¾

6АIII

318390

1

318,4

6АIII

70,7

85,6

97

См. КП71

6АI

5166

13

67,2

6АI

14,9

КП73

99

¾¾¾¾¾¾¾

6АIII

214955

1

215,0

6АIII

47,7

63,2

100

6АI

3679

19

69,9

6АI

15,5

КП74

101

¾¾¾¾¾¾¾

8АIII

185620

1

185,6

8АIII

73,3

88,8

100

См. КП73

6АI

3679

19

69,9

6АI

15,5

КП75

102

¾¾¾¾¾¾¾

6АIII

299235

1

299,2

6АIII

66,4

88,2

103

6АI

5169

19

98,2

6АI

21,8

КП76

104

¾¾¾¾¾¾¾

8АIII

257960

1

258,0

8АIII

101,9

123,7

103

См. КП75

6АI

5169

19

98,2

6АI

21,8

КП77

105

¾¾¾¾¾¾¾

6AIII

299780

1

299,8

6AIII

66,6

88,4

106

6A1

5179

19

98,4

6A1

21,8

КП78

107

¾¾¾¾¾¾¾

8АIII

258455

1

258,5

8АIII

102,1

123,9

106

См. КП77

6АI

5179

19

98,4

6АI

21,8

КП79

108

¾¾¾¾¾¾¾

6AIII

142730

1

142,7

6AIII

31,7

46,8

109

Описание: Untitled-1

6АI

3582

19

68,1

6АI

15,1

КП80

110

¾¾¾¾¾¾¾

8АIII

132405

1

132,4

8АIII

52,3

67,4

109

См. КП79

6АI

3582

19

68,1

6АI

15,1

КП81

111

¾¾¾¾¾¾¾

8АIII

214250

1

214,3

8АIII

84,6

99,7

109

См. КП79

6АI

3582

19

68,1

6АI

15,1

КП82

112

¾¾¾¾¾¾¾

6AIII

202500

1

202,5

6AIII

45,0

66,8

113

6АI

5180

19

98,4

6АI

21,8

КП83

114

¾¾¾¾¾¾¾

8АIII

187490

1

187,5

8АIII

74,1

95,9

113

См. КП82

6АI

5180

19

98,4

6АI

21,8

КП84

115

¾¾¾¾¾¾¾

8АIII

306095

1

306,1

8АIII

120,9

142,7

113

См. КП82

6АI

5180

19

98,4

6АI

21,8

КП85

116

¾¾¾¾¾¾¾

6АШ

198855

1

198,9

6АШ

44,2

65,6

117

Описание: Untitled-1

6AI

5082

19

96,6

6AI

21,4

КП86

118

¾¾¾¾¾¾¾

8АIII

184125

1

184,1

8АIII

72,7

94,1

117

См. КП85

6АI

5082

19

96,6

6АI

21,4

КП87

119

¾¾¾¾¾¾¾

8АIII

300450

1

300,5

8АIII

118,7

140,1

117

См. КП85

6АI

5082

19

96,6

6АI

21,4

КП88

120

¾¾¾¾¾¾¾

6АШ

230640

1

230,6

6АШ

51,2

69,5

121

6AI

3587

23

82,5

6AI

18,3

КП89

122

¾¾¾¾¾¾¾

8АIII

206340

1

206,3

8АIII

81,5

99,8

121

См. КП88

6АI

3587

23

82,5

6АI

18,3

КП90

123

¾¾¾¾¾¾¾

8АIII

304110

1

304,1

8АIII

120,1

138,4

121

См. КП88

6АI

3587

23

82,5

6АI

18,3

КП91

124

¾¾¾¾¾¾¾

6АШ

329465

1

329,5

6АШ

73,1

99,6

125

Описание: Untitled-1

6AI

5185

23

119,3

6AI

26,5

КП92

126

¾¾¾¾¾¾¾

8АIII

294285

1

294,3

8АIII

116,2

142,7

115

См. КП91

6АI

5185

23

1193

6АI

26,5

КП93

127

¾¾¾¾¾¾¾

8AIII

436000

1

436,0

8AIII

172,2

198,7

125

См. КП91

6AI

5185

23

119,3

6AI

26,5

КП94

125

¾¾¾¾¾¾¾

6АШ

327115

1

327,1

6АШ

72,6

98,6

129

6AI

5087

23

117,0

6AI

26,0

КП95

130

¾¾¾¾¾¾¾

8AIII

288655

1

288,7

8AIII

114,0

140,0

129

См. КП94

6AI

5087

23

117,0

6AI

26,0

КП96

131

¾¾¾¾¾¾¾

8AIII

427555

1

4270

8AIII

168,9

194,9

129

См. КП94

6AI

5087

23

117,0

6AI

26,0

КП97

132

¾¾¾¾¾¾¾

6АШ

320230

1

320,2

6АШ

71,1

91,1

133

6AI

3593

25

89,8

6AI

20,0

КП98

134

¾¾¾¾¾¾¾

8AIII

262695

1

262,7

8AIII

103,8

123,8

133

См. КП97

6AI

3593

25

89,8

6AI

20,0

КП99

135

¾¾¾¾¾¾¾

8AIII

412905

1

412,9

8AIII

163,1

183,1

133

См. КП97

6AI

3593

25

89,8

6AI

20,0

КП100

136

¾¾¾¾¾¾¾

6АШ

456895

1

456,9

6АШ

101,4

130,2

137

6AI

5196

25

129,9

6AI

28,8

КП101

138

¾¾¾¾¾¾¾

8AIII

375445

1

375,4

8AIII

148,3

177,1

137

См. КП100

6AI

5196

25

129,9

6AI

28,8

КП102

139

¾¾¾¾¾¾¾

8AIII

593373

1

593,4

8AIII

234,4

263,2

137

См. КП100

6AI

5196

25

129,9

6AI

28,8

КП103

140

¾¾¾¾¾¾¾

6AIII

458910

1

458,9

6AIII

101,9

130,2

141

6AI

5093

25

127,3

6AI

28,3

КП104

142

¾¾¾¾¾¾¾

8AIII

368240

1

308,2

8AIII

145,5

173,8

141

См. КП103

6AI

5093

25

127,3

6AI

28,3

КП105

143

¾¾¾¾¾¾¾

8AIII

581775

1

581,8

8AIII

229,8

258,1

141

См. КП103

6AI

5093

25

127,3

6AI

28,3

КП106

144

¾¾¾¾¾¾¾

6AIII

135160

1

135,2

6AIII

30,0

45,5

145

Описание: Untitled-1

6AI

3682

19

70,0

6AI

15,5

КП107

146

¾¾¾¾¾¾¾

8AIII

125435

1

125,4

8AIII

49,6

65,1

145

Cм. КП106

6AI

3682

19

70,0

6AI

15,5

КП108

147

¾¾¾¾¾¾¾

8AIII

203000

1

203,0

8AIII

80,2

95,7

145

Cм. КП106

6AI

3682

19

70,0

6AI

15,5

КП109

148

¾¾¾¾¾¾¾

6AIII

186800

1

186,8

6AIII

41,5

63,3

113

См. КП82

6AI

5180

19

98,4

6AI

21,8

КП110

149

¾¾¾¾¾¾¾

8AIII

173010

1

173,1

8AIII

68,3

90,1

113

См. КП82

6AI

5180

19

98,4

6AI

21,8

КП111

150

¾¾¾¾¾¾¾

8AIII

282410

1

282,4

8AIII

111,6

133,4

113

См. КП82

6AI

5180

19

98,4

6AI

21,8

КП112

151

¾¾¾¾¾¾¾

6AIII

221145

1

221,1

6AIII

49,1

68,0

152

Описание: Untitled-1

6AI

3692

23

84,9

6AI

18,9

КП113

153

¾¾¾¾¾¾¾

8AIII

197895

1

197,9

8AIII

78,2

97,1

152

См. КП112

6AI

3692

23

84,9

6AI

18,9

КП114

154

¾¾¾¾¾¾¾

8AIII

291750

1

291,8

8AIII

115,2

134,1

152

См. КП112

6AI

3692

23

84,9

6AI

18,9

КП115

155

¾¾¾¾¾¾¾

6AIII

307145

1

307,1

6AIII

68,2

94,7

125

См. КП91

6AI

5185

23

119,3

6AI

26,5

КП116

156

¾¾¾¾¾¾¾

8AIII

274440

1

274,4

8AIII

108,4

134,9

125

См. КП91

6AI

5185

23

119,3

6AI

26,5

КП116

157

¾¾¾¾¾¾¾

8AIII

406570

1

406,6

8AIII

160,6

187,1

125

См. КП91

6AI

5185

23

119,3

6AI

26,5

КП118

158

¾¾¾¾¾¾¾

6AIII

306200

1

306,2

6AIII

68,0

88,5

159

Описание: Untitled-1

6AI

3698

25

92,5

6AI

20,5

КП119

160

¾¾¾¾¾¾¾

8AIII

251180

1

251,2

8AIII

99,2

119,7

159

См. КП118

6AI

3698

25

92,5

6AI

20,5

КП120

161

¾¾¾¾¾¾¾

8AIII

394990

1

395,0

8AIII

156,0

176,5

159

См. КП118

6AI

3698

25

92,5

6AI

20,5

КП121

162

¾¾¾¾¾¾¾

6AIII

424520

1

424,5

6AIII

94,2

123,0

137

См. КП100

6AI

5196

25

129,9

6AI

28,8

КП122

163

¾¾¾¾¾¾¾

8AIII

349050

1

349,1

8AIII

137,9

166,7

137

См. КП100

6AI

5196

25

12,9

6AI

28,8

КП123

164

¾¾¾¾¾¾¾

8AIII

551620

1

551,6

8AIII

217,9

246,7

137

См. КП100

6AI

5196

25

129,9

6AI

28,8

КП124

165

¾¾¾¾¾¾¾

6AIII

125975

1

126,0

6AIII

28,0

42,7

166

3495

¾¾¾¾¾

6AI

3495

19

66,4

6AI

14,7

КП125

167

¾¾¾¾¾¾¾

8AIII

116750

1

116,8

8AIII

46,1

60,8

166

4995

¾¾¾¾¾

6AI

3495

19

66,4

6AI

14,7

КП126

168

¾¾¾¾¾¾¾

8AIII

189300

1

189,3

8AIII

74,8

89,5

166

3495

¾¾¾¾¾

6AI

3495

19

66,4

6AI

14,7

КП127

169

¾¾¾¾¾¾¾

6AIII

177710

1

177,7

6AIII

39,4

60,5

170

4995

¾¾¾¾¾

6AI

4995

19

94,9

6А1

21,1

КП128

171

¾¾¾¾¾¾¾

8AIII

164400

1

164,4

8AIII

64,9

86,0

170

4995

¾¾¾¾¾

6AI

4995

19

94,9

6AI

21,1

КП129

172

¾¾¾¾¾¾¾

8AIII

268705

1

268,7

8AIII

106,1

127,2

170

4995

¾¾¾¾¾

6AI

4995

19

94,9

6AI

21,1

КП130

173

¾¾¾¾¾¾¾

6AIII

205820

1

205,8

6AIII

45,7

63,5

166

3495

¾¾¾¾¾

6AI

3495

23

80,4

6AI

17,8

КП131

174

¾¾¾¾¾¾¾

8AIII

184275

1

184,3

8AIII

72,8

90,6

166

3495

¾¾¾¾¾

6AI

3495

23

80,4

6AI

17,8

КП132

175

¾¾¾¾¾¾¾

8AIII

271785

1

271,8

8AIII

107,4

125,2

166

3495

¾¾¾¾¾

6AI

3495

23

80,4

6AI

17,8

КП133

176

¾¾¾¾¾¾¾

6AIII

291945

1

291,9

6AIII

64,8

90,3

170

4995

¾¾¾¾¾

6AI

4995

23

114,9

6AI

25,5

КП134

177

¾¾¾¾¾¾¾

8AIII

260910

1

260,9

8AIII

103,1

128,6

170

4995

¾¾¾¾¾

6AI

4995

23

114,9

6AI

25,5

КП135

178

¾¾¾¾¾¾¾

8AIII

386860

1

386,9

8AIII

152,8

178,3

170

4995

¾¾¾¾¾

6AI

4995

23

114,9

6AI

25,5

КП136

179

¾¾¾¾¾¾¾

6AIII

285545

1

385,5

6AIII

63,4

82,8

166

3495

¾¾¾¾¾

6AI

3495

25

87,4

6AI

19,4

КП137

180

¾¾¾¾¾¾¾

8AIII

234265

1

234,3

8AIII

92,5

111,9

166

3495

¾¾¾¾¾

6AI

3495

25

87,4

6AI

19,4

КП138

181

¾¾¾¾¾¾¾

8AIII

368580

1

368,6

8AIII

145,6

165,0

166

3495

¾¾¾¾¾

6AI

3495

25

87,4

6AI

19,4

КП139

182

¾¾¾¾¾¾¾

6AIII

406030

1

406,0

6AIII

90,1

117,8

170

4995

¾¾¾¾¾

6AI

4995

25

124,9

6AI

27,7

КП140

183

¾¾¾¾¾¾¾

8AIII

332500

1

332,5

8AIII

131,3

159,0

170

4995

¾¾¾¾¾

6AI

4995

25

124,9

6AI

27,7

КП141

184

¾¾¾¾¾¾¾

8AIII

525415

1

525,4

8AIII

207,5

235,2

170

¾¾¾¾¾

6AI

4995

25

124,9

6AI

27,7

КП142

185

¾¾¾¾¾¾¾

8AIII

398635

1

398,6

8AIII

157,4

188,3

186

4495

¾¾¾¾¾

6AI

4495

31

139,3

6AI

30,9

КП143

187

¾¾¾¾¾¾¾

8AIII

538810

1

538,8

8AIII

212,8

243,7

186

4495

¾¾¾¾¾

6AI

4495

31

139,3

6AI

30,9

КП144

188

¾¾¾¾¾¾¾

8AIII

429910

1

429,9

8AIII

169,8

194,4

189

2995

¾¾¾¾¾

6AI

2995

37

110,8

6AI

24,6

КП145

190

¾¾¾¾¾¾¾

8AIII

545370

1

545,4

8AIII

215,4

240,0

189

2995

¾¾¾¾¾

6AI

2995

37

110,8

6AI

24,6

КП146

191

¾¾¾¾¾¾¾

6AIII

284730

1

284,7

6AIII

63,2

84,2

192

4985

¾¾¾¾¾

6AI

4985

19

94,7

6AI

21,0

КП147

193

¾¾¾¾¾¾¾

8AIII

245440

1

245,4

8AIII

96,9

117,9

192

4985

¾¾¾¾¾

6AI

4985

19

94,7

6AI

21,0

КП148

194

¾¾¾¾¾¾¾

6AIII

193510

1

193,5

6AIII

43,0

64,1

195

5010

¾¾¾¾¾

6AI

5010

19

95,2

6AI

21,1

КП149

196

¾¾¾¾¾¾¾

8AIII

178870

1

178,9

8AIII

70,7

91,8

195

5010

¾¾¾¾¾

6AI

5010

19

95,2

6AI

21,1

КП150

197

¾¾¾¾¾¾¾

8AIII

292520

1

292,5

8AIII

115,5

136,6

195

5010

¾¾¾¾¾

6AI

5010

19

95,2

6AI

21,1

КП151

198

¾¾¾¾¾¾¾

6AIII

314415

1

314,4

6AIII

69,8

95,4

195

5010

¾¾¾¾¾

6AI

5010

23

115,2

6AI

25,6

КП152

199

¾¾¾¾¾¾¾

8AIII

280920

1

280,9

8AIII

111,0

136,6

195

5010

¾¾¾¾¾

6AI

5010

23

115,2

6AI

25,6

КП153

200

¾¾¾¾¾¾¾

8AIII

416440

1

416,4

8AIII

164,5

190,1

195

5010

¾¾¾¾¾

6AI

5010

23

115,2

6AI

25,6

КП154

201

¾¾¾¾¾¾¾

6AIII

438595

1

438,6

6AIII

97,4

125,2

195

5010

¾¾¾¾¾

6AI

5010

25

125,3

6AI

27,8

КП155

202

¾¾¾¾¾¾¾

8AIII

358850

1

358,9

8AIII

141,8

169,6

195

5010

¾¾¾¾¾

6AI

5010

25

125,3

6AI

27,8

КП156

203

¾¾¾¾¾¾¾

8AIII

567405

1

567,4

8AIII

224,1

251,9

195

5010

¾¾¾¾¾

6AI

5010

25

125,3

6AI

27,8

КП157

204

¾¾¾¾¾¾¾

8AIII

424605

1

424,6

8AIII

167,7

198,7

205

4510

¾¾¾¾¾

6AI

4510

31

139,8

6AI

31,0

КП158

206

¾¾¾¾¾¾¾

8AIII

573980

1

574,0

8AIII

226,7

257,7

205

4510

¾¾¾¾¾

6AI

4510

31

139,8

6AI

31,0

КП159

207

¾¾¾¾¾¾¾

8AIII

461345

1

461,3

8AIII

182,2

206,9

208

3010

¾¾¾¾¾

6AI

3010

37

111,4

6AI

24,7

КП160

209

¾¾¾¾¾¾¾

8AIII

585730

1

585,7

8АШ

231,4

256,1

208

3010

¾¾¾¾¾

6AI

3010

37

111,4

6AI

24,7

КП161

210

¾¾¾¾¾¾¾

6AIII

177510

1

177,5

6AIII

39,4

60,4

211

4990

¾¾¾¾¾

6AI

4990

19

94,8

6AI

21,0

КП162

212

¾¾¾¾¾¾¾

8AIII

164240

1

164,2

8AIII

64,9

85,9

211

4990

¾¾¾¾¾

6AI

4990

19

94,8

6AI

21,0

КП163

213

¾¾¾¾¾¾¾

8AIII

268440

1

268,4

8AIII

106,0

127,0

211

4990

¾¾¾¾¾

6AI

4990

19

94,8

6AI

21,0

КП164

214

¾¾¾¾¾¾¾

6AIII

291655

1

291,7

6AIII

64,8

90,3

211

4990

¾¾¾¾¾

6AI

4990

23

114,8

6AI

25,5

КП165

215

¾¾¾¾¾¾¾

8AIII

260820

1

260,8

8AIII

103,0

128,5

211

4990

¾¾¾¾¾

6AI

4990

23

114,8

6AI

25,5

КП166

216

¾¾¾¾¾¾¾

8AIII

386400

1

386,4

8AIII

152,6

178,1

211

4990

¾¾¾¾¾

6AI

4990

23

114,8

6AI

25,5

КП167

217

¾¾¾¾¾¾¾

6AIII

405630

1

405,6

6AIII

90,0

117,7

211

4990

¾¾¾¾¾

6AI

4990

25

124,8

6AI

27,7

КП168

218

¾¾¾¾¾¾¾

8АШ

332000

1

332,0

8АШ

131,1

158,8

211

4990

¾¾¾¾¾

6AI

4990

25

124,8

6AI

27,7

КП169

219

¾¾¾¾¾¾¾

8AIII

524890

1

524,9

8AIII

207,3

235,0

211

4990

¾¾¾¾¾

6AI

4990

25

124,8

6AI

27,7

КП170

220

¾¾¾¾¾¾¾

8AIII

397785

1

397,8

8AIII

157,1

188,0

221

4485

¾¾¾¾¾

6AI

4485

31

139,0

6AI

30,9

КП171

222

¾¾¾¾¾¾¾

8AIII

537830

1

537,8

8AIII

212,4

243,3

221

4485

¾¾¾¾¾

6AI

4485

31

139,0

6AI

30,9

КП172

223

¾¾¾¾¾¾¾

8AIII

428505

1

428,5

8AIII

169,3

193,8

224

2985

¾¾¾¾¾

6AI

2985

37

110,4

6AI

24,5

КП173

225

¾¾¾¾¾¾¾

8AIII

543810

1

543,8

8AIII

214,8

239,3

224

2985

¾¾¾¾¾

6AI

2985

37

110,4

6AI

24,5

К1

226

4450

¾¾¾¾¾¾¾

8AIII

4450

5

22,3

8AIII

8,8

10,2

227

280

¾¾¾¾¾

6AI

280

23

16,4

6AI

1,4

К2

228

5080

¾¾¾¾¾¾¾

8AIII

5080

5

25,4

8AIII

10,0

11,6

227

280

¾¾¾¾¾

6AI

280

26

7,3

6AI

1,6

К3

229

5770

¾¾¾¾¾¾¾

8AIII

5770

5

28,9

8AIII

11,4

13,2

227

280

¾¾¾¾¾

6AI

280

29

8,1

6AI

1,8

К4

230

8AI

220

11

2,4

8AI

0,95

1,19

231

1100

¾¾¾¾¾¾¾

6AI

1100

1

1,1

6AI

0,24

К5

232

Описание: Untitled-1

8AI

260

11

2,9

8AI

1,13

1,37

231

1100

¾¾¾¾¾¾¾

6AI

1100

1

1,1

6AI

0,24

Ф1

233

5ВрI

235

1

0,24

5ВрI

0,04

0,04

Ф2

234

5ВрI

255

1

0,26

5ВрI

0,04

0,04

Ф3

235

5ВрI

295

1

0,30

5ВрI

0,05

0,05


Закладное изделие M1

Пример установки закладного изделия M1 в трубах типа ТБ

Черт. 38

Таблица 19

Спецификация и выборка стали на одно закладное изделие

Позиция

Эскиз

Диаметр или сечение, мм

Длина, мм

Количество

Общая длина, м

Выборка стали

Диаметр или сечение, мм

Масса, кг

Масса изделия, кг

236

Описание: Untitled-1

25´5

50

2

0,1

25´5

0,1

0,16

237

Болт М5´25 по ГОСТ 7805

-

-

2

-

Метизы

0,02

238

Гайка М5 по ГОСТ 5927

-

-

2

-

-

-

239

Шайба М5 по ГОСТ 11371

-

-

2

-

-

-

240

¾¾¾¾¾¾

3ВрI

350

1

0,35

3BpI

0,02

241

Гайка М16 по ГОСТ 5916

-

-

1

-

Гайка

0,02

ИНФОРМАЦИОННЫЕ ДАННЫЕ

1. РАЗРАБОТАН И ВНЕСЕН Всесоюзным научно-исследовательским институтом заводской технологии сборных железобетонных конструкций и изделий (ВНИИжелезобетон) Госстроя СССР

ИСПОЛНИТЕЛИ

В. И. Мелихов, канд. техн. наук; К. А. Маврин, канд. техн. наук (руководители темы); Ю. А. Куприков; Э. И. Гомзина; Н. К. Козеева; Л. П.Фомичева; А. Л. Ционский, канд. техн. наук; А. Е. Шмурнов. канд. техн. наук; В. С. Широков, канд. техн. наук; М. Г. Коревицкая, канд. техн. наук; М. И. Токарь, канд. техн. наук; Т. А. Клейман; А. Г. Зорич; Л. П. Хлюпин; Н. Л. Рипс; В. П. Пономарев; В. М. Варешкин; Г. А. Хау; П. И. Кривошеев; В. Я. Бачинский; Д. Г. Вальчук; Е. В. Рудемино-Дусятский; Р. М. Колтовская; В. И. Пименова; В. И. Деньщиков

2. УТВЕРЖДЕН И ВВЕДЕН В ДЕЙСТВИЕ Постановлением Государственного строительного комитета СССР от 30.09.88 № 200

3. Взамен ГОСТ 6482.0-79, ГОСТ 6482.1-79

4. ССЫЛОЧНЫЕ НОРМАТИВНО-ТЕХНИЧЕСКИЕ ДОКУМЕНТЫ

Обозначение НТД, на который дана ссылка

Номер пункта, подпункта, приложения

ГОСТ 8.326-78

3.11

ГОСТ 166-80

3.11

ГОСТ 868-82

3.11

ГОСТ 2405-80

3.2.1

ГОСТ 5781-82

1.3.8, приложение 2

ГОСТ 5916-70

Приложение 2

ГОСТ 5927-70

Приложение 2

ГОСТ 6727-80

1.3.8, приложение 2

ГОСТ 7502-80

3.11

ГОСТ 7805-70

Приложение 2

ГОСТ 8829-85

3.1

ГОСТ 10060-87

3.7

ГОСТ 10180-78

3.3

ГОСТ 10922-75

1.3.10, 3.8

ГОСТ 11371-78

Приложение 2

ГОСТ 12730.0-78

3.5, 3.6

ГОСТ 12730.3-78

3.6

ГОCT 12730.5-84

3.5

ГОСТ 13015.0-83

1.3.3, 1.3.5

ГОСТ 13015.1-81

2.1

ГОСТ 13015.2-83

1.5.1

ГОСТ 13015.4-84

4.1

ГОСТ 14098-85

Приложение 2

ГОСТ 14968-69

3.1.4

ГОСТ 17624-87

3.3

ГОСТ 17625-83

3.9

ГОСТ21780-83

1.3.4

ГОСТ 22690.0-77 - ГОСТ 22690.4-77

3.3

ГОСТ 22904-78

3.9

ГОСТ 23009-78

1.2.7

ГОСТ 25706-83

3.1.4

ГОСТ 26433.0-85

3.10

ГОСТ 26433.1-89

3.10

ГОСТ 26633-85

1.3.4

СОДЕРЖАНИЕ

 



© 2013 Ёшкин Кот :-)