Информационная система
«Ёшкин Кот»

XXXecatmenu

ГОСУДАРСТВЕННЫЙ СТАНДАРТ СОЮЗА ССР

КОНСТРУКЦИИ КАМЕННЫЕ

МЕТОД ОПРЕДЕЛЕНИЯ ПРОЧНОСТИ СЦЕПЛЕНИЯ
В КАМЕННОЙ КЛАДКЕ

ГОСТ 24992-81

 

ГОСУДАРСТВЕННЫЙ КОМИТЕТ СССР
ПО ДЕЛАМ СТРОИТЕЛЬСТВА

Москва

 

РАЗРАБОТАН Центральным научно-исследовательским институтом строительных конструкций (ЦНИИСК им. В.А. Кучеренко) Госстроя СССР

Институтом строительной механики и сейсмостойкости им. К.С. Завриева АН Грузинской ССР

ИСПОЛНИТЕЛИ

С. В. Поляков, д-р техн. наук, проф. (руководитель темы); В. А. Комейко, канд. техн. наук; И. Т. Котов, канд. техн. наук; А. В. Черкашин, канд. техн. наук; Ю. В. Измайлов, д-р техн. наук; Б. А. Новиков, канд. техн. наук; И. А. Цилосани, д-р техн. наук; Л. Н. Махатадзе, канд. техн. наук; Е. С. Сагателоса, канд. техн. наук; В. С. Мартынова; И. С. Лифанов

ВНЕСЕН Центральным научно-исследовательским институтом строительных конструкций им. В. А. Кучеренко

Директор А. Ф. Смирнов

УТВЕРЖДЕН И ВВЕДЕН В ДЕЙСТВИЕ Постановлением Государственного комитета СССР по делам строительства от 21 октября 1981 г. № 177

ГОСУДАРСТВЕННЫЙ СТАНДАРТ СОЮЗА ССР

КОНСТРУКЦИИ КАМЕННЫЕ

Метод определения прочности
сцепления в каменной кладке

Masonary Structures.

Method of Estimating

Bonding Strength in Masonry

ГОСТ
24992-81

Постановлением Государственного комитета СССР по делам строительства от 21 октября 1981 г. № 177 срок введения установлен

с 01.07 1982 г.

Настоящий стандарт распространяется на все виды каменной кладки, в том числе на панели и блоки из кирпича, природных и искусственных камней, стен зданий, строящихся в сейсмических районах, а также несейсмических районах, когда монолитность кладки определяется техническими требованиями по условиям эксплуатации.

Стандарт устанавливает метод определения прочности нормального сцепления (сопротивление кладки осевому растяжению по неперевязанным швам - далее прочности сцепления) раствора с кирпичом или камнем в кладке стен строящихся зданий или на специальных образцах в лабораторных условиях.

1. ОБЩИЕ ПОЛОЖЕНИЯ

1.1. Определение прочности сцепления производят путем испытания на осевое растяжение элементов кладки стен в построечных условиях или на специальных образцах, изготовленных в лаборатории.

1.2. Испытания прочности сцепления в кладке стен строящихся зданий проводят строительные лаборатории с целью контроля соответствия требованиям проекта.

1.3. Лабораторные испытания по определению прочности сцепления на контрольных образцах проводят центральные лаборатории строительных трестов (управлений), научно-исследовательские институты, а при изготовлении виброкирпичных панелей и блоков - заводские лаборатории.

2. ОПРЕДЕЛЕНИЕ ПРОЧНОСТИ СЦЕПЛЕНИЯ В КЛАДКЕ СТЕН СТРОЯЩИХСЯ ЗДАНИЙ

2.1. Для проведения контрольных испытаний на сцепление кладки из кирпича или камня на стройке следует выбирать участки стен по указанию представителя технического надзора.

Число таких участков в каждом здании должно быть не менее одного на этаж с отрывом по 5 кирпичей (камней) на каждом участке.

На участках стен, где были изменены применяемые материалы или резко менялись погодные условия, необходимо проводить дополнительные испытания.

2.2. Предельная прочность сцепления должна приниматься равной прочности сцепления раствора с кирпичом или камнем, достигаемой в кладке в возрасте 28 сут и при контрольном испытании - 3 мес.

Для предварительного прогнозирования предельной прочности сцепления в кладке стен зданий сейсмических районов испытания проводят через 7 или 14 сут после окончания кладки.

2.3. Испытания по определению прочности сцепления в кладке, выполняемой на растворах с противоморозными химическими добавками или способом замораживания, следует проводить только после оттаивания кладки в сроки, указанные в п. 2.2.

2.4. При испытании кладки на сцепление необходимо определять прочность раствора на сжатие, взятого из шва кладки по методике, приведенной в обязательном приложении 1.

2.5. Оборудование

Для испытания кладки на сцепление применяют следующее оборудование.

Установка, указанная на черт. 1 - 3. Перечень приборов и приспособлений, необходимых для изготовления установки, приведен в справочном приложении 2.

Скребок (черт. 4).

Тросовый захват диаметром 3 мм, длиной 370 - 400 мм для испытания кладки из кирпича.

Тросовый захват диаметром 5 мм, длиной 700 - 750 мм для испытания кладки из камней.

Гаечный ключ 10´12 мм, молоток, топорик, напильник.

2.6. Проведение испытания

2.6.1. Испытание кладки на сцепление проводят по схеме, указанной на черт. 5.

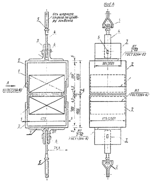
Устройство для испытания каменной (кирпичной) кладки на сцепление

Вид А

1 - гидравлический домкрат; 2 - манометр; 3 - рама; 4 -перекладина; 5 - переходник; 6 - траверса; 7 - тяги; 8 - стойки; 9 - регулировочный болт; 10 - шарнир; 11 - тросовый захват; 12 - испытуемый кирпич; 13 - узел троса.

Черт. 1

2.6.2. При испытании соблюдают следующие требования.

Вертикальные швы расчищают вокруг испытываемого кирпича (камня) при помощи скребков, не допуская сильных толчков и ударов.

Испытываемый кирпич 12 охватывают петлей из тросика 11 по боковым граням, затем петлю подтягивают перекладиной 4 при помощи регулировочного болта 9. Схема захвата кирпича и камня, подготовленного к испытанию, показана на черт. 6 и 7.

Раму 3 устанавливают так, чтобы ее стойки 8 опирались на соседние кирпичи (камни). На раму устанавливают гидравлический домкрат 1 с манометром 2. На подвижную часть домкрата при помощи шарнира 10 монтируют траверсу 6 с тягами 7, которые зацепляют за концы перекладины.

Детали устройства: рама, перекладина, траверса

Рама (поз. 3)

Перекладина (поз. 4)

Примечание. Размеры в скобках даны для перекладины, применяемой при испытании кладки из камней.

Траверса (поз. 6)

Черт. 2

Переходник (поз. 5)

Черт. 3

Скребок угловой (поз. 13)

Скребок прямой (поз. 14)

Черт. 4

Схема испытания каменной кладки на сцепление

Вид Б

1 - гидравлический домкрат; 2 - манометр; 3 - рама; 4 -перекладина; 5 - переходник; 6 - траверса; 7 - тяги; 8 - стойки рамы; 9 - регулировочный болт; 10 - шарнир; 11 - тросовый захват; 12 - испытуемый кирпич (камень); 13 - узел троса.

Черт. 5

Растягивающее усилие от домкрата передают на кирпич через траверсу, тяги и тросик.

2.6.3. При испытании нагрузка должна возрастать непрерывно с постоянной скоростью 0,006 МПа/с (0,06 кгс/см2 в секунду). За величину предельной нагрузки принимают максимальное усилие, достигнутое к моменту отрыва кирпича (камня).

2.6.4. При испытаниях следует фиксировать характер разрушения кладки (по поверхности контакта кирпича (камня) и раствора, по кирпичу (камню) или по раствору) и определить общую площадь контакта кирпича (камня) с раствором с погрешностью до 1 см2.

Схема захвата природного камня, подготовленного к испытанию

Черт. 6

Схема захвата кирпича, подготовленного к испытанию

1 - камень; 2 - кирпич; 3 - перекладина; 4 - регулировочный болт; 5 - тросовый захват.

Черт. 7

2.6.5. Прочность сцепления в каменной кладке оценивают пределом прочности элементов кладки при осевом растяжении.

Предел прочности при осевом растяжении вычисляют с погрешностью до 0,01 МПа (0,1 кгс/см2) как среднее арифметическое значение результатов 5 испытаний.

Результаты испытаний заносят в журнал по форме, приведенной в рекомендуемом положении 3.

2.7. Обработка результатов

2.7.1. Предел прочности сцепления при осевом растяжении  вычисляют по формуле

,

где  - предел прочности сцепления при осевом растяжении элемента кладки в возрасте t сут;

F - величина отрывающей нагрузки на образец;

А - общая площадь отрыва (брутто).

2.7.2. Определение предельной прочности сцепления кладки, испытанной в ранние сроки,  производят по формуле

 = ,

где  - предельная прочность сцепления раствора с кирпичом или камнем, достигаемая в кладке к возрасту 28 сут;

 - поправочный коэффициент.

2.7.3. Поправочный коэффициент, учитывающий возраст кладки, принимают по табл. 1.

Таблица 1

Возраст кладки, сут

Величина поправочного коэффициента

7

1,6

14

1,3

28

1,0

2.7.4. Средняя предельная прочность сцепления в кладке стен, определяемая как среднеарифметическая по результатам всех испытаний в здании, должна составлять не менее 90 % прочности, требуемой по проекту.

3. ОПРЕДЕЛЕНИЕ ПРОЧНОСТИ СЦЕПЛЕНИЯ НА ОБРАЗЦАХ В ЛАБОРАТОРНЫХ УСЛОВИЯХ

3.1. Изготовление образцов

3.1.1. Образцы изготавливают одновременно на растворе одного замеса в количестве 5 шт. Одновременно с изготовлением образцов готовят не менее 3 контрольных кубов из того же раствора для определения его марки.

Марку раствора по прочности на сжатие определяют по ГОСТ 5802-78.

3.1.2. Образцы следует изготавливать из двух целых кирпичей (камней) или из двух равных их половинок, уложенных постелями один на другой и соединенных между собой раствором (черт. 8).

Контрольные образцы для испытания на сцепление

а - из половинок кирпича; б - из пустотелого целого кирпича; в - из природного камня.

Черт. 8

Кирпич распиливают на половинки, не допуская разрушения граней. При распиливании допускается увлажнение кирпича с последующим выдерживанием половинок кирпича в помещении не менее суток.

Поверхности разреза в образце располагают в противоположные стороны.

Пустотелый кирпич и камни делить на половинки не разрешается.

3.1.3. Прочность сцепления в панелях и блоках из кирпича и камня определяют на образцах, указанных в п. 3.1.2.

Образцы готовят с соблюдением технологии, применяемой при изготовлении панелей и блоков.

3.1.4. Для изготовления образцов следует применять существующие металлические формы с использованием передвижных перегородок или специально изготовленные формы на необходимое число образцов.

Схема раскладки кирпича и формы показана на черт. 9.

Схема раскладки кирпича и формы

1 - образец; 2 - металлическая форма; 3 - коврик из резины; 4 - прокладка из плотной резины; 5 - швы, заполненные раствором; 6 - швы не заполненные раствором.

Черт. 9

3.1.5. Толщина растворных швов в образцах должна быть равна толщине принятой в кладке (10 - 15 см).

При изготовлении образцов в швах выбирают пазы по ложковой стороне глубиной 12 мм для установки захватов.

3.1.6. На подготовленные к испытанию образцы должна быть составлена ведомость по форме, приведенной в приложении 4. Образцы, а также растворные кубы следует маркировать несмываемой краской с указанием даты изготовления и номера.

3.1.7. Изготовленные образцы следует хранить в помещении температурой (20 ± 2) °С и относительной влажностью воздуха (65 ± 10) % или в натурных условиях.

3.1.8. Для определения прочности сцепления в зимней кладке изготовление образцов на обычных растворах и на растворах с химическими добавками производят на открытом воздухе и выдерживают их на морозе в течение 3 сут. После этого образцы и растворные кубы переносят в помещение, где их хранят в условиях, указанных в п. 3.1.7, до испытания.

3.1.9. Для оценки величины потери прочности сцепления в образцах, изготовленных в зимних условиях, изготавливают контрольные образцы в помещении и хранят их до испытания в соответствии с требованиями п. 3.1.7.

3.2. Оборудование

3.2.1. Для испытания на сцепление образцов из кирпича следует применять разрывную машину по ГОСТ 7855-77 и захватные приспособления, указанные на черт. 10.

Схема испытания образцов из кирпича на осевое растяжение

1 - образец; 2 - металлический захват; 3 - уголки 60´60´6 мм; 4 - металлическая пластина 20´90´6 мм; 5 - шарнир; 6 - шпилька.

Черт. 10

Зажимное устройство для закрепления образцов из камня

Примечания:

1. Материал - ВСт3пс6.

2. Сварку вести электродами типа Э42 по ГОСТ 9467-75.

3. Все швы h = 4 мм.

4. Гайки приварить к уголку.

5. В месте пропуска болта в уголке дать отверстие диаметром 20 мм.

Черт. 11

3.2.2. Для испытания образцов из камня следует применять установку, приведенную в п. 2.5 настоящего стандарта.

Для закрепления образцов используют зажимное устройство, показанное на черт. 11.

3.2.3. Допускается испытывать образцы из кирпича по п. 2.5.

Зажимное устройство для закрепления образцов из кирпича показано на черт. 12.

3.3. Подготовка и проведение испытаний

3.3.1. Образцы, подготовленные к испытанию, не должны иметь повреждений в швах, трещин и околов.

3.3.2. Перед испытанием образцы устанавливают в зажимное устройство и закрепляют их при помощи болтов.

3.3.3. Испытание образцов и обработку результатов проводят в соответствии с пп. 2.6 и 2.7 настоящего стандарта.

3.3.4. Результаты испытаний заносят в ведомость по форме, приведенной в рекомендуемом приложении 4.

Зажимное устройство для закрепления образцов из кирпича

Примечания:

1. Материал - ВСт3пс6.

2. Сварку вести электродами типа Э-42 по ГОСТ 9467-75.

3. Все швы h = 4 мм.

4. Гайки приварить к уголку.

5. В месте пропуска болта в уголке дать отверстие диаметром 20 мм.

Черт. 12

ПРИЛОЖЕНИЕ 1

Обязательное

ОПРЕДЕЛЕНИЕ ПРОЧНОСТИ РАСТВОРА, ВЗЯТОГО ИЗ ШВОВ КЛАДКИ, НА СЖАТИЕ

1. Прочность раствора определяют путем испытания на сжатие кубов с ребрами 3 - 4 см, изготовленных из двух пластинок, взятых из горизонтальных швов кладки.

Пластинки изготавливают в виде квадрата, сторона которого в 1,5 раза должна превышать толщину пластинки, равную толщине шва. Склеивание пластинок раствора для получения кубов с ребрами 3 - 4 см и выравнивание их поверхностей производят при помощи тонкого слоя гипсового теста (1 - 2 мм). Прочность раствора должна определяться как среднее арифметическое результатов испытаний пяти образцов.

Для определения прочности раствора в кубах с ребрами 7,07 см следует результаты испытаний кубов летних растворов с ребрами 3 - 4 см умножить на коэффициент 0,8, а результаты испытаний зимних растворов, отвердевших после оттаивания, - на коэффициент 0,65.

ПРИЛОЖЕНИЕ 2

Справочное

ПЕРЕЧЕНЬ ПРИБОРОВ И ПРИСПОСОБЛЕНИЙ, НЕОБХОДИМЫХ ДЛЯ ИЗГОТОВЛЕНИЯ УСТРОЙСТВА

Наименование

Количество

Примечание

1. Гидравлический домкрат грузоподъемностью 5 т по ГОСТ 20860-75

1

Шадринского автоагрегатного завода

2. Манометр на 10 МПа (100 кгс/см2) для кирпича, на 20 МПа (200 кгс/см2) для камня

2

 

3. Рама

1

Материал ВСт3пс

4. Перекладина

1

То же

5. Переходник

1

»

6. Траверса

1

»

7. Тяги l = 380 мм

2

Арматурная проволока класса ВI по ГОСТ 10922-75

8. Стойки-болты М8´70 по ГОСТ 7798-70

3

 

9. Регулировочный болт 8´40 по ГОСТ 7798-70

1

 

10. Шарнир d = 12 мм, l = 40 мм

1

Арматурная сталь класса АI по ГОСТ 10922-75

11. Трос d = 3 мм, l = 370 - 400 мм

1

 

12. Трос d = 5 мм, l = 700 - 750 мм

1

 

13. Скребок угловой d = 5 мм, l = 250 мм

1

 

14. Скребок прямой d = 5 мм, l = 250 мм

3

Из высокопрочной арматурной проволоки класса вII по гост 10922-75

ПРИЛОЖЕНИЕ 3

Рекомендуемое

ФОРМА

ЖУРНАЛ КОНТРОЛЬНЫХ ИСПЫТАНИЙ КЛАДКИ НА СЦЕПЛЕНИЕ В ПОСТРОЕЧНЫХ УСЛОВИЯХ

Объект __________________________________________

(наименование и адрес)

Дата возведения испытываемого участка кладки

Этаж, номер стены

Вид и марка кирпича (камня) и раствора по проекту

Возраст кладки, сут

Величина отрывающей нагрузки

Прочность сцепления, МПа (кгс/см2)

Прочность сцепления по проекту, МПа

Характеристика площади отрыва, %

Примечание

Частное значение

Среднее значение для участка

по контакту

по раствору

по кирпичу (камню)

 

 

 

 

 

 

 

 

 

 

 

 

Подписи:                           Представитель технического надзора

Представитель лаборатории

Производитель работ

ПРИЛОЖЕНИЕ 4

Рекомендуемое

ФОРМА

ВЕДОМОСТЬ ИСПЫТАНИЯ ОБРАЗЦОВ НА СЦЕПЛЕНИЕ В ЛАБОРАТОРНЫХ УСЛОВИЯХ

Характеристика кирпича (камня), вид, марка

Номера

Состав, конструкция и марка раствора

Возраст образцов при испытании, сут

Прочность растворных кубов на сжатие, МПа (кгс/см2)

Величина отрывающей нагрузки для образца, Н (кгс)

Плотность отрыва (брутто), см2

Прочность сцепления, МПа

Характеристика площади отрыва, %

серий

образцов в серии

Частное значение

Среднее значение

 

 

по контакту

по раствору

по кирпичу (камню)

1

2

3

4

5

6

7

3

9

10

 

 

 

 

 

 

 

 

 

 

 

 

СОДЕРЖАНИЕ

1. Общие положения. 2

2. Определение прочности сцепления в кладке стен строящихся зданий. 2

3. Определение прочности сцепления на образцах в лабораторных условиях. 8

Приложение 1 Определение прочности раствора, взятого из швов кладки, на сжатие. 12

Приложение 2 Перечень приборов и приспособлений, необходимых для изготовления устройства. 12

Приложение 3 Журнал контрольных испытаний кладки на сцепление в построечных условиях. 13

Приложение 4 Ведомость испытания образцов на сцепление в лабораторных условиях. 13

 



© 2013 Ёшкин Кот :-)