Скачать Рекомендации по технологическим схемам и параметрам обогащения крупного и мелкого угля в магнезитовых суспензиях (основные параметры)Дата актуализации: 10.08.2017
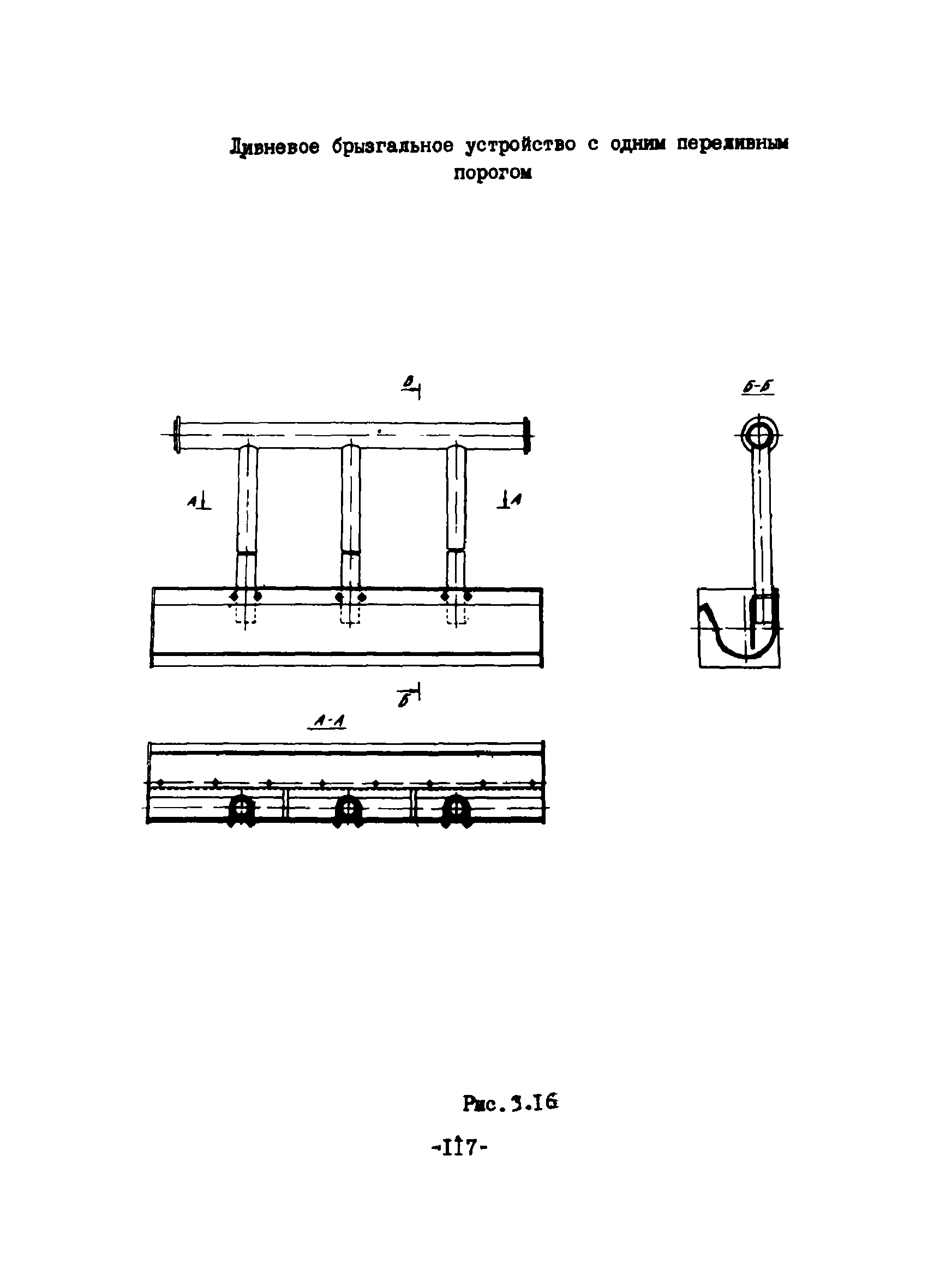
Рекомендации по технологическим схемам и параметрам обогащения крупного и мелкого угля в магнезитовых суспензиях (основные параметры)Статус: | cправочные материалы, мп, тпр | Название рус.: | Рекомендации по технологическим схемам и параметрам обогащения крупного и мелкого угля в магнезитовых суспензиях (основные параметры) | Дата добавления в базу: | 05.05.2017 | Дата актуализации: | 05.05.2017 | Область применения: | В работе приведены данные по характеристике магнетитовых утяжелителей, применяемых на фабриках Минуглепрома СССР, а также сформулированы требования их пригодности. Технологические схемы охватывают подготовку угля, собственно обогащение, обработку продуктов обогащения, регенерацию суспензии, приводятся характеристики основного и вспомогательного оборудования, применяемого в цикле тяжелосредного обогащения крупного и мелкого угля, основные параметры для расчета технологических схем. Специальные разделы посвящены современным отечественным средствам автоматизации, а также пуску, наладке и эксплуатации тяжелосредных комплексов. | Оглавление: | Введение 1 Характеристика магнетитовых утяжелителей и расчет основных параметров суспензий 1.1 Перечень поставщиков утяжелителей 1.2 Гранулометрический состав 1.3 Плотность и насыпная масса 1.4 Магнитные свойства и содержание магнитных фракций 1.5 Твердость, истираемость 1.6 Реологические параметры суспензии; нормы содержания шлама 1.7 Устойчивость суспензии 1.8 Расчет основных параметров суспензий 1.9 Расход утяжелителя и пути его снижения 1.10 Улучшение свойств суспензий 2. Схемы технологического процесса обогащения крупного и мелкого угля в магнетитовой суспензии 2.1 Выбор структуры технологической схемы тяжелосредного обогащения угля 2.2 Выбор структуры технологической схемы тяжело— 2.2 Условные обозначения основного и вспомогательного оборудования тяжелосредных комплексов 2.3 Технологические схемы обогащения крупного угля 2.3.1 Схемы подготовки угля 2.3.2 Схемы обогащения с разделением на два продукта 2.3.3 Схемы обогащения с разделением на три продукта 2.4 Технологические схемы обогащения мелкого угля 2.4.1 Схемы подготовки угля 2.4.2 Схемы обогащения мелкого угля в тяжелосредных гидроциклонах 2.4.3 Схемы отделения суспензии и магнетита, промывки и обезвоживания продуктов обогащения 2.5 Технологические схемы регенерации суспензии 2.5.1 Схема регенерации суспензии в одну стадию 2.5.2 Схема регенерации суспензии в две стадии 2.5.3 Схема раздельной регенерации суспензии 2.6 Приготовление магнетитовой суспензии 3. Оборудование, применяемое для обогащения угля в тяжелых средах 3.1 Сепараторы для обогащения крупного угля 3.2 Оборудование для обогащения мелкого угля 3.3 Сепараторы для регенерации суспензии 3.4 Вспомогательное оборудование 3.5 Брызгальные устройства 3.6 Насосы для перекачка суспензий 4. Основные показатели для расчета технологических схем обогащения угля в магнетитовой суспензии 4.1 Подготовка угля 4.1.1 Классификация угля сухая и мокрая. Обесшламливание угля 4.2 Обогащение крупного угля 4.2.1 Крупность машинных классов 4.2.2 Нагрузка на тяжелосредные сепараторы 4.2.3 Показатели технологии 4.3. Обогащение мелкого угля 4.3.1 Крупность машинных классов 4.3.2 Нагрузка на тежелосредные гидроциклы 4.3.3 Показатели технологии 4.4 Промывка и обезвоживание продуктов обогащения 4.5 Регенерация магнетитовой суспензии 4.5.1 Основные технологические задачи регенерации 4.5.2. Расчет количества и состава разбавленной суспензии 4.6. Эффективность обогащения угля в магнетитовой суспензии 5. Автоматизация процесса обогащения угля в магнетитовой суспензии 5.1 Комплекс аппаратуры автоматизации тяжелосредных установок РУТА 5.2 Комплекс аппаратуры автоматизации тяжелосредных установок КАТУ-1 5.3 Средства автоматизации процесса тяжелосредного обогащения 5.4. Монтаж, наладка и эксплуатация средств автоматизации 5.4.1 Установка пультов управления комплекса КАТУ-1 5.4.2 Монтаж периферийных устройств комплекса КАТУ-1 5.4.3 Монтаж технических емкостей и устройств, не входящих в состав комплекса КАТУ-1 6 Пуск, наладка и эксплуатация тяжелосредных установок 6.1 Подготовка к пуску, пуск и наладка тяжелосредных установок 6.2 Эксплуатация тяжелосредных установок 6.2.1 Общие положения 6.2.2 Эксплуатация сепараторов 6.2.3 Эксплуатация гидроциклонов 6.2.4 Эксплуатация электромагнитных сепараторов 6.2.5 Эксплуатация грохотов 6.2.6 Эксплуатация суспензионных насосов 6.3 Остановка тяжелосредных установок 6.4 Правила безопасности при эксплуатации тяжелосредных установок Заключение Список использованных источников | Разработан: | УкрНИИуглеобогащение Комплексный научно-исследовательский и проектно-конструкторский институт обогащения твердых горячих ископаемых ИОТТ Ворошиловский филиал института Гипроуглеавтоматизация
| Утверждён: | 21.12.1987 Минуглепром СССР (USSR Minugleprom )
| Расположен в: |
| Нормативные ссылки: | |
                                                                                                                                                                                                              
|