Информационная система
«Ёшкин Кот»

Скачать базу одним архивом
Скачать обновления
История создания базы
Карта сайта

Скачать ГОСТ Р 50267.19-96 Изделия медицинские электрические. Часть 2. Частные требования безопасности к детским инкубаторам

Дата актуализации: 10.08.2017

ГОСТ Р 50267.19-96

Изделия медицинские электрические. Часть 2. Частные требования безопасности к детским инкубаторам

Обозначение: ГОСТ Р 50267.19-96
Обозначение англ: GOST R 50267.19-96
Статус:заменен
Название рус.:Изделия медицинские электрические. Часть 2. Частные требования безопасности к детским инкубаторам
Название англ.:Medical electrical equipment. Part 2. Particular requirements for safety of baby incubators
Дата добавления в базу:05.05.2017
Дата актуализации:05.05.2017
Дата введения:01.01.2013
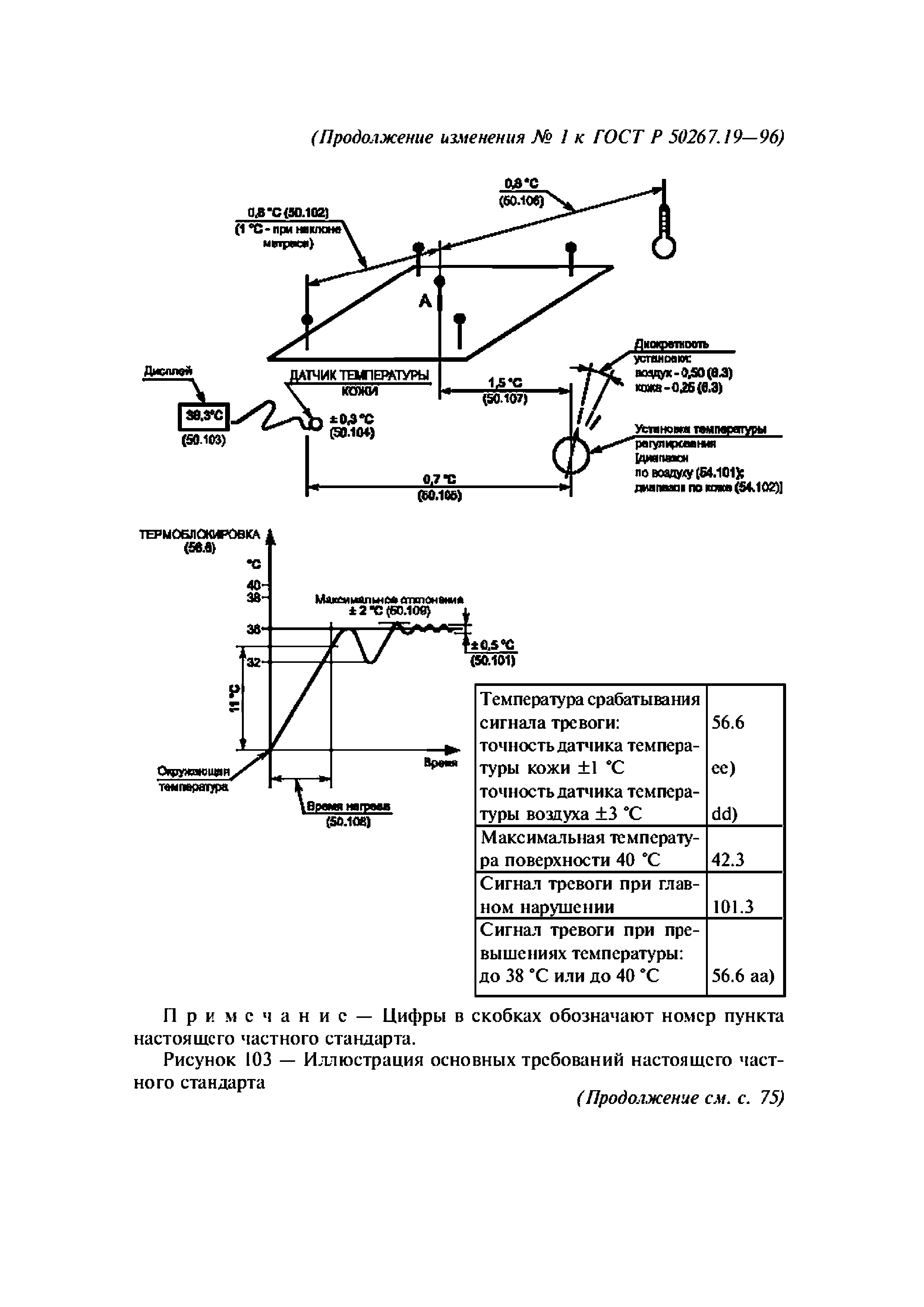
Область применения:Стандарт распространяется на безопасность медицинских электрических изделий. Так как настоящий стандарт относится в основном к безопасности, он содержит некоторые требования, касающиеся надежной работы, если это связано с безопасностью. Стандарт устанавливает частные требования безопасности к инкубаторам. Стандарт не распространяется на транспортные инкубаторы, используемые для транспортирования детей.
Оглавление:Введение
Нормативные ссылки
Раздел первый. Общие положения
Раздел второй. Условия окружающей среды
Раздел третий. Защита от опасностей поражения электрическим током
Раздел четвертый. Защита от механических опасностей
Раздел пятый. Защита от опасностей нежелательного или чрезмерного излучения
Раздел шестой. Защита от опасностей воспламенения горючих смесей анестетиков
Раздел седьмой. Защита от чрезмерных температур и других опасностей
Раздел восьмой. Точность рабочих характеристик и защита от представляющих опасность выходных характеристик
Раздел девятый. Ненормальная работа и условия нарушений; испытания на воздействие внешних факторов
Раздел десятый. Требования к конструкции
Раздел одиннадцатый. дополнительные требования
Приложение АА. Обоснование
Приложение ММ. Дополнительные требования к детским инкубаторам, отражающие потребности экономики страны
Разработан: ТК 11 Медицинские приборы и аппараты
Утверждён:23.12.1996 Госстандарт России (Russian Federation Gosstandart 677)
Издан: ИПК Издательство стандартов (1997 г. )
Расположен в:Техническая документация Электроэнергия ЗДРАВООХРАНЕНИЕ Медицинское оборудование Наркозные, дыхательные и реанимационные аппараты Экология ЗДРАВООХРАНЕНИЕ Медицинское оборудование Наркозные, дыхательные и реанимационные аппараты
Список изменений:
  • № 1 от 01.07.2004 (ИУС 4-2004, Текстовое изменение; Изменены ссылочные НД)
Чем заменён:
Нормативные ссылки:
ГОСТ Р 50267.19-96ГОСТ Р 50267.19-96ГОСТ Р 50267.19-96ГОСТ Р 50267.19-96ГОСТ Р 50267.19-96ГОСТ Р 50267.19-96ГОСТ Р 50267.19-96ГОСТ Р 50267.19-96ГОСТ Р 50267.19-96ГОСТ Р 50267.19-96ГОСТ Р 50267.19-96ГОСТ Р 50267.19-96ГОСТ Р 50267.19-96ГОСТ Р 50267.19-96ГОСТ Р 50267.19-96ГОСТ Р 50267.19-96ГОСТ Р 50267.19-96ГОСТ Р 50267.19-96ГОСТ Р 50267.19-96ГОСТ Р 50267.19-96ГОСТ Р 50267.19-96ГОСТ Р 50267.19-96ГОСТ Р 50267.19-96ГОСТ Р 50267.19-96ГОСТ Р 50267.19-96ГОСТ Р 50267.19-96ГОСТ Р 50267.19-96ГОСТ Р 50267.19-96ГОСТ Р 50267.19-96ГОСТ Р 50267.19-96ГОСТ Р 50267.19-96ГОСТ Р 50267.19-96ГОСТ Р 50267.19-96ГОСТ Р 50267.19-96ГОСТ Р 50267.19-96ГОСТ Р 50267.19-96ГОСТ Р 50267.19-96ГОСТ Р 50267.19-96ГОСТ Р 50267.19-96ГОСТ Р 50267.19-96ГОСТ Р 50267.19-96ГОСТ Р 50267.19-96ГОСТ Р 50267.19-96ГОСТ Р 50267.19-96ГОСТ Р 50267.19-96ГОСТ Р 50267.19-96ГОСТ Р 50267.19-96ГОСТ Р 50267.19-96

Текстовое изменение № 1 от 01.07.2004

№ 1№ 1№ 1№ 1№ 1№ 1№ 1№ 1№ 1№ 1№ 1

© 2013 Ёшкин Кот :-) Карта сайта