Информационная система
«Ёшкин Кот»

Скачать базу одним архивом
Скачать обновления
История создания базы
Карта сайта

Скачать Технологические схемы очистки от взвешенных веществ и обеззараживания шахтных вод. Каталог

Дата актуализации: 10.08.2017

Технологические схемы очистки от взвешенных веществ и обеззараживания шахтных вод. Каталог

Статус:cправочные материалы, мп, тпр
Название рус.:Технологические схемы очистки от взвешенных веществ и обеззараживания шахтных вод. Каталог
Дата добавления в базу:01.02.2017
Дата актуализации:05.05.2017
Область применения:Технологические схемы предназначены для использования проектными организациями при разработке проектов новых и реконструкции действующих очистных сооружений шахтных вод.
Оглавление:Введение
Пояснительная записка
   Характеристика шахтных вод
   Требования к качеству шахтных вод при их использовании и сбросе в водоемы
   Методы очистки шахтных вод
   Технологические схемы очистки
   Исходные данные для проектирования
Технологические схемы очистки от взвешенных веществ и обеззараживания шахтных вод, проверенные в промышленных условиях
   Технологическая схема очистки шахтной воды с использованием прудов—отстойников
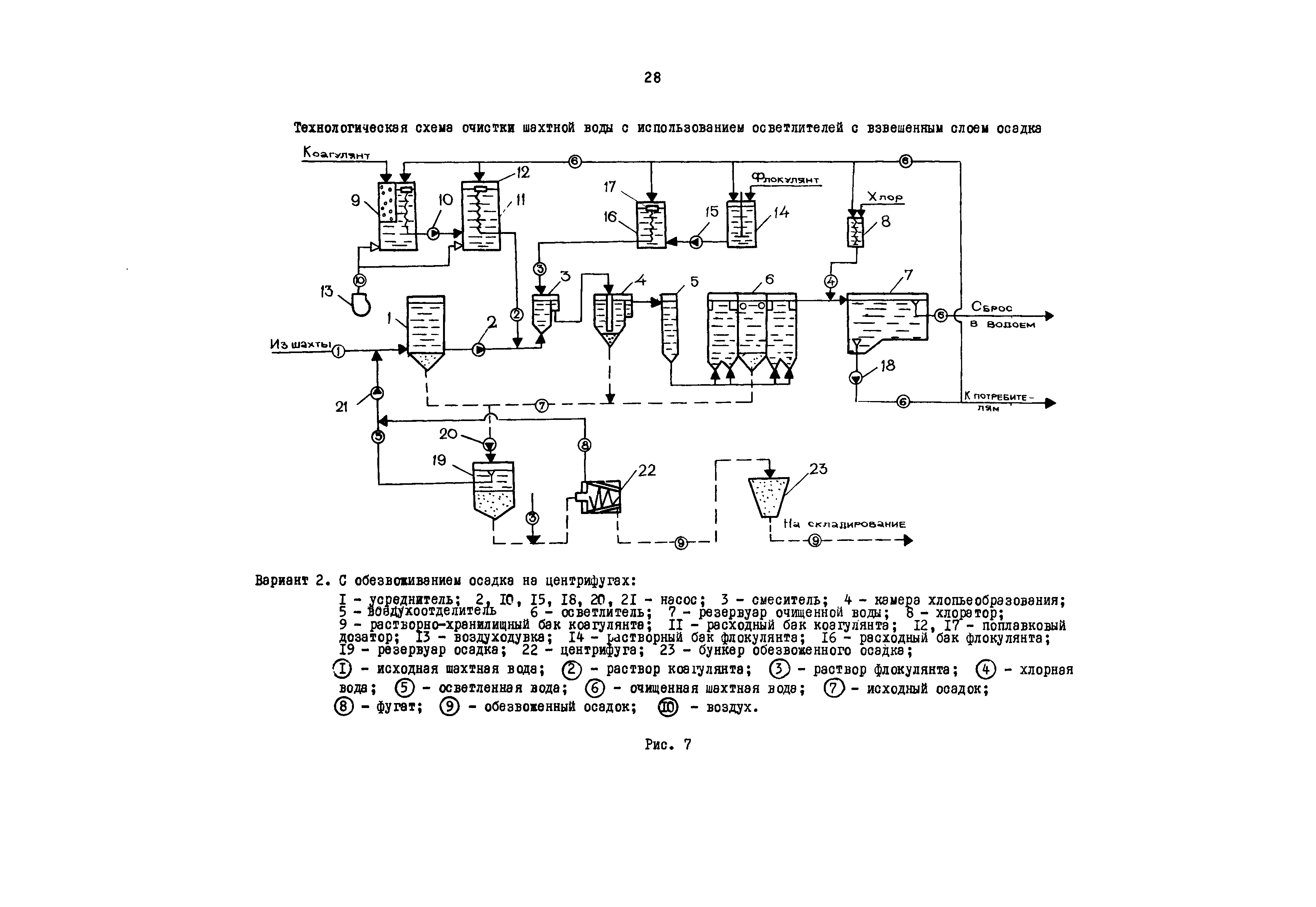
   Технологическая схема очистки шахтной воды с использованием осветлителей со взвешенным слоем осадка
   Технологическая схема очистки шахтной воды с использованием тонкослойных отстойников
   Технологическая схема очистки шахтной воды с использованием выработанного пространства
Технологические схемы очистки от взвешенных веществ и обеззараживания шахтных вод, проверенные в опытно-промышленных условиях
   Технологическая схема очистки шахтной воды с использованием фильтров с восходящим потоком
   Технологическая схема очистки шахтной воды с использованием виброфильтров
Литература
Приложение. Типовые схемы и методика расчета усреднителей шахтных вод
Утверждён:28.11.1984 Министерство угольной промышленности СССР (USSR Ministry of the Coal Industry )
Расположен в:Техническая документация Экология ГОРНОЕ ДЕЛО И ПОЛЕЗНЫЕ ИСКОПАЕМЫЕ Горное дело и открытые горные работы Строительство Справочные документы Технологические карты Горно-вскрышные работы
Заменяет собой:
  • «Технологические схемы очистки от взвешенных веществ и обеззараживания шахтных вод» (Издание 1977 года)
Нормативные ссылки:

© 2013 Ёшкин Кот :-) Карта сайта