| ||||||||||||||||||||||||||||||||||
Скачать ГОСТ 32945-2014 Дороги автомобильные общего пользования. Знаки дорожные. Технические требованияДата актуализации: 10.08.2017
|
| Обозначение: | ГОСТ 32945-2014 |
| Обозначение англ: | GOST 32945-2014 |
| Статус: | введен впервые |
| Название рус.: | Дороги автомобильные общего пользования. Знаки дорожные. Технические требования |
| Название англ.: | Automobile roads of the general use. Road signs. Technical requirements |
| Дата добавления в базу: | 01.02.2017 |
| Дата актуализации: | 05.05.2017 |
| Дата введения: | 08.09.2016 |
| Область применения: | Стандарт распространяется на вновь устанавливаемые дорожные знаки, предназначенные для информирования участников дорожного движения об условиях, направлениях и режимах движения на автомобильных дорогах общего пользования, а также на материалы, применяемые для изготовления световозвращающих поверхностей (далее-световозвращающие материалы) для технических средств организации дорожного движения. |
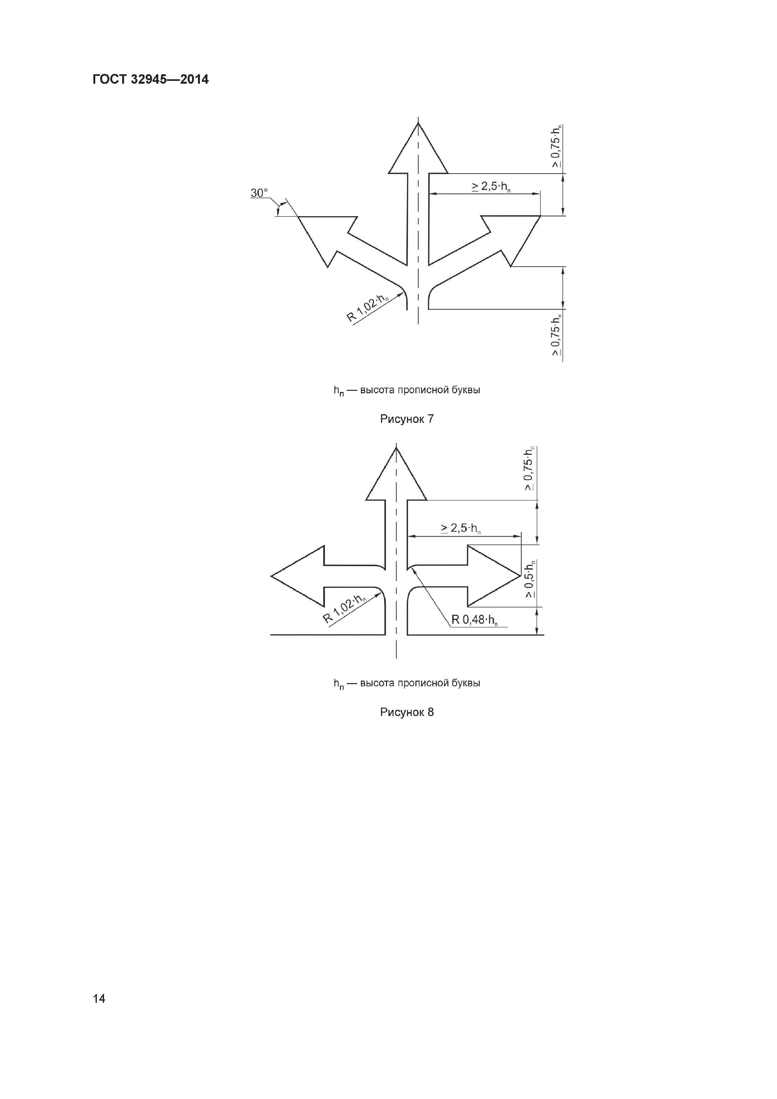
| Оглавление: | 1 Область применения 2 Нормативные ссылки 3 Термины и определения 4 Классификация, характеристика, основные параметры и размеры дорожных знаков 4.1 Классификация дорожных знаков 4.2 Характеристика дорожных знаков 4.3 Основные параметры изображений дорожных знаков 4.4 Размеры изображений дорожных знаков 4.5 Знаки индивидуального проектирования 4.6 Размещение знаков на фоновых щитах 5 Классификация световозвращающих материалов 6 Общие технические требования 6.1 Требования к материалам для дорожных знаков со световозвращающим изображением лицевой поверхности 6.2 Требования к дорожным знакам 6.3 Специальные требования к знакам с внутренним и внешним освещением 6.4 Комплектность 6.5 Маркировка 6.6 Упаковка 7 Транспортирование и хранение 8 Указания по эксплуатации 9 Гарантии изготовителя Приложение А (обязательное) Виды и размеры дорожных знаков стандартной формы Приложение Б (обязательное) Шрифт на масштабной сетке Приложение В (справочное) Примеры компоновки знаков индивидуального проектирования Приложение Г (обязательное) Транслитерация букв белорусского, казахского и русского алфавитов буквами латиницы Приложение Д (обязательное) Сокращение служебных слов на белорусском, казахском, русском и английском языках Приложение Е (обязательное) Графики цветовых областей изображений дорожных знаков в колориметрической системе МКО 1931 г Библиография |
| Разработан: | МТК 418 Дорожное хозяйство Республиканское дочернее унитарное предприятие Белорусский дорожный научно-исследовательский институт БелдорНИИ |
| Утверждён: | 30.09.2014 Межгосударственный Совет по стандартизации, метрологии и сертификации (Inter-Governmental Council on Standardization, Metrology, and Certification 70-П) 31.08.2016 Федеральное агентство по техническому регулированию и метрологии (991-ст) |
| Издан: | Стандартинформ (2016 г. ) |
| Расположен в: | |
| Нормативные ссылки: |
|











































































