Скачать МУ 5994-91 Методические указания по ионохроматографическому измерению концентраций оксидов азота, азотной кислоты, серной кислоты, диоксида серы, хлороводорода, фтороводорода, о-фосфорной кислоты, аммиака в воздухе рабочей зоныДата актуализации: 10.08.2017 МУ 5994-91
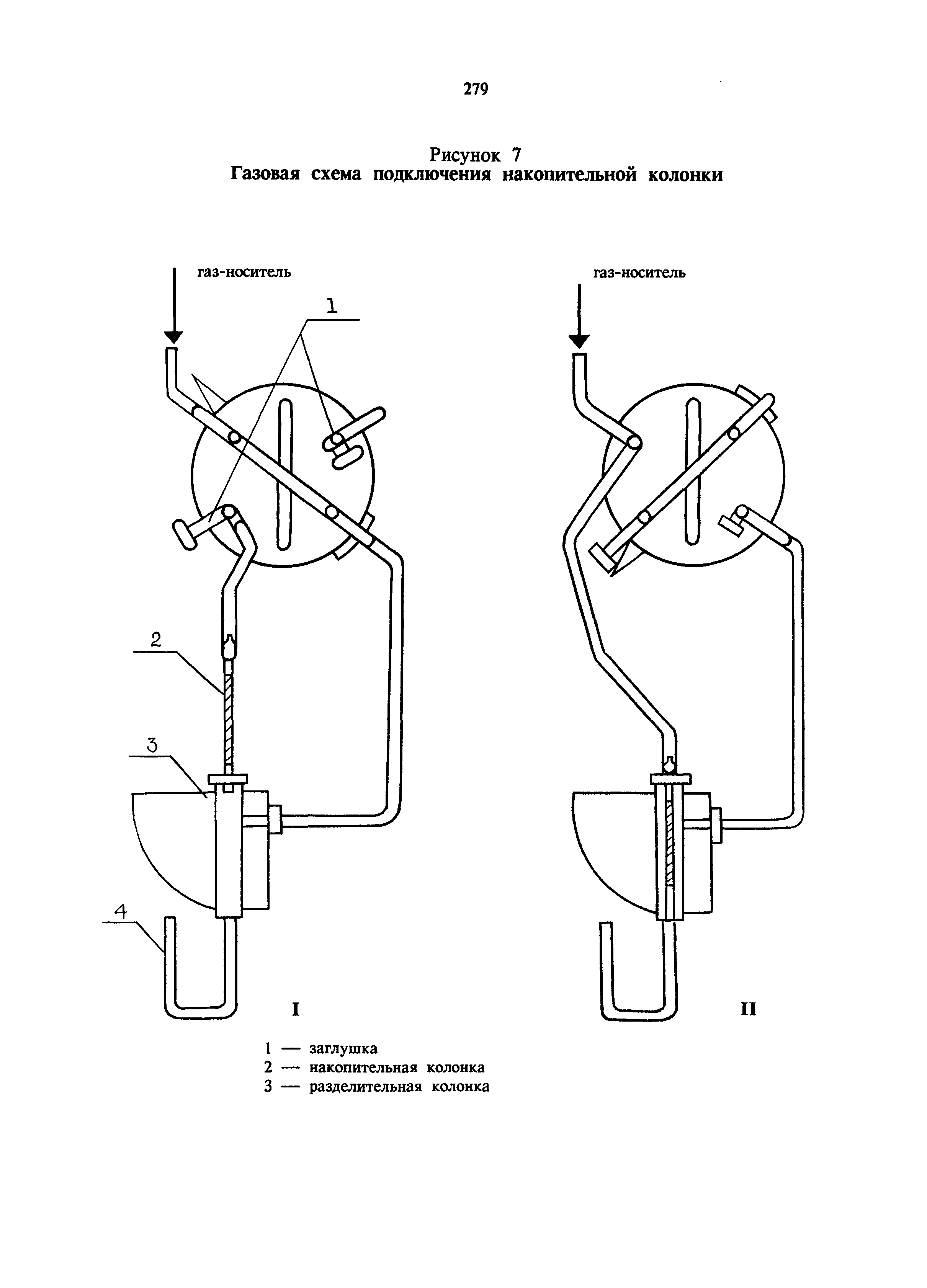
Методические указания по ионохроматографическому измерению концентраций оксидов азота, азотной кислоты, серной кислоты, диоксида серы, хлороводорода, фтороводорода, о-фосфорной кислоты, аммиака в воздухе рабочей зоныОбозначение: | МУ 5994-91 | Обозначение англ: | MU 5994-91 | Статус: | не установлен срок действия | Название рус.: | Методические указания по ионохроматографическому измерению концентраций оксидов азота, азотной кислоты, серной кислоты, диоксида серы, хлороводорода, фтороводорода, о-фосфорной кислоты, аммиака в воздухе рабочей зоны | Дата добавления в базу: | 01.02.2017 | Дата актуализации: | 05.05.2017 | Область применения: | Методические указания по измерению концентраций вредных веществ в воздухе рабочей зоны предназначены для санитарно-эпидемиологических станций и санитарных лабораторий промышленных предприятий при осуществлении контроля за содержанием вредных веществ в воздухе рабочей зоны, а также научно-исследовательских институтов системы здравоохранения России и других заинтересованных министерств и ведомств. | Оглавление: | Характеристика метода Приборы, аппаратура, посуда Реактивы, растворы и материалы Приготовление элюентов Приготовление стандартных растворов Отбор проб Подготовка к измерению Проведение измерения Расчет концентрации вредных веществ Приложение 1 (справочное). Приведение объема воздуха к условиям по ГОСТ 12.1.016-79 Приложение 2 (справочное). Коэффициент К для приведения объема воздуха к условиям по ГОСТ 12.1.016-79 Приложение 3 Вещества, определяемые по ранее утвержденным и опубликованным Методическим указаниям Рисунки | Разработан: | ВНИИМ им. Д.И. Менделеева НПО Химавтоматика НИИ охраны труда ВЦСПС
| Утверждён: | 10.10.1991 Заместитель Главного государственного санитарного врача СССР
| Расположен в: |
| Нормативные ссылки: | |
                                
|