Информационная система
«Ёшкин Кот»

Скачать базу одним архивом
Скачать обновления
История создания базы
Карта сайта

Скачать МУ 5959-91 Методические указания по измерению концентраций динатриевой соли диэтилового эфира-N-(гамма-децилоксипропил)-N-бета-карбокси-бета-сульфопропионил аспарагиновой кислоты (смачиватель СВ-1147) в воздухе рабочей зоны методом пламенной фотометрии

Дата актуализации: 10.08.2017

МУ 5959-91

Методические указания по измерению концентраций динатриевой соли диэтилового эфира-N-(гамма-децилоксипропил)-N-бета-карбокси-бета-сульфопропионил аспарагиновой кислоты (смачиватель СВ-1147) в воздухе рабочей зоны методом пламенной фотометрии

Обозначение: МУ 5959-91
Обозначение англ: MU 5959-91
Статус:не установлен срок действия
Название рус.:Методические указания по измерению концентраций динатриевой соли диэтилового эфира-N-(гамма-децилоксипропил)-N-бета-карбокси-бета-сульфопропионил аспарагиновой кислоты (смачиватель СВ-1147) в воздухе рабочей зоны методом пламенной фотометрии
Дата добавления в базу:01.02.2017
Дата актуализации:05.05.2017
Область применения:Методические указания по измерению концентраций вредных веществ в воздухе рабочей зоны предназначены для санитарно-эпидемиологических станций и санитарных лабораторий промышленных предприятий при осуществлении контроля за содержанием вредных веществ в воздухе рабочей зоны, а также научно-исследовательских институтов системы здравоохранения России и других заинтересованных министерств и ведомств.
Оглавление:Характеристика метода
Приборы, аппаратура, посуда
Реактивы, растворы и материалы
Отбор пробы воздуха
Подготовка к измерению
Проведение измерения
Расчет концентрации
Приложение 1 (справочное). Приведение объема воздуха к условиям по ГОСТ 12.1.016-79
Приложение 2 (справочное). Коэффициент К для приведения объема воздуха к условиям по ГОСТ 12.1.016-79
Приложение 3 Вещества, определяемые по ранее утвержденным и опубликованным Методическим указаниям
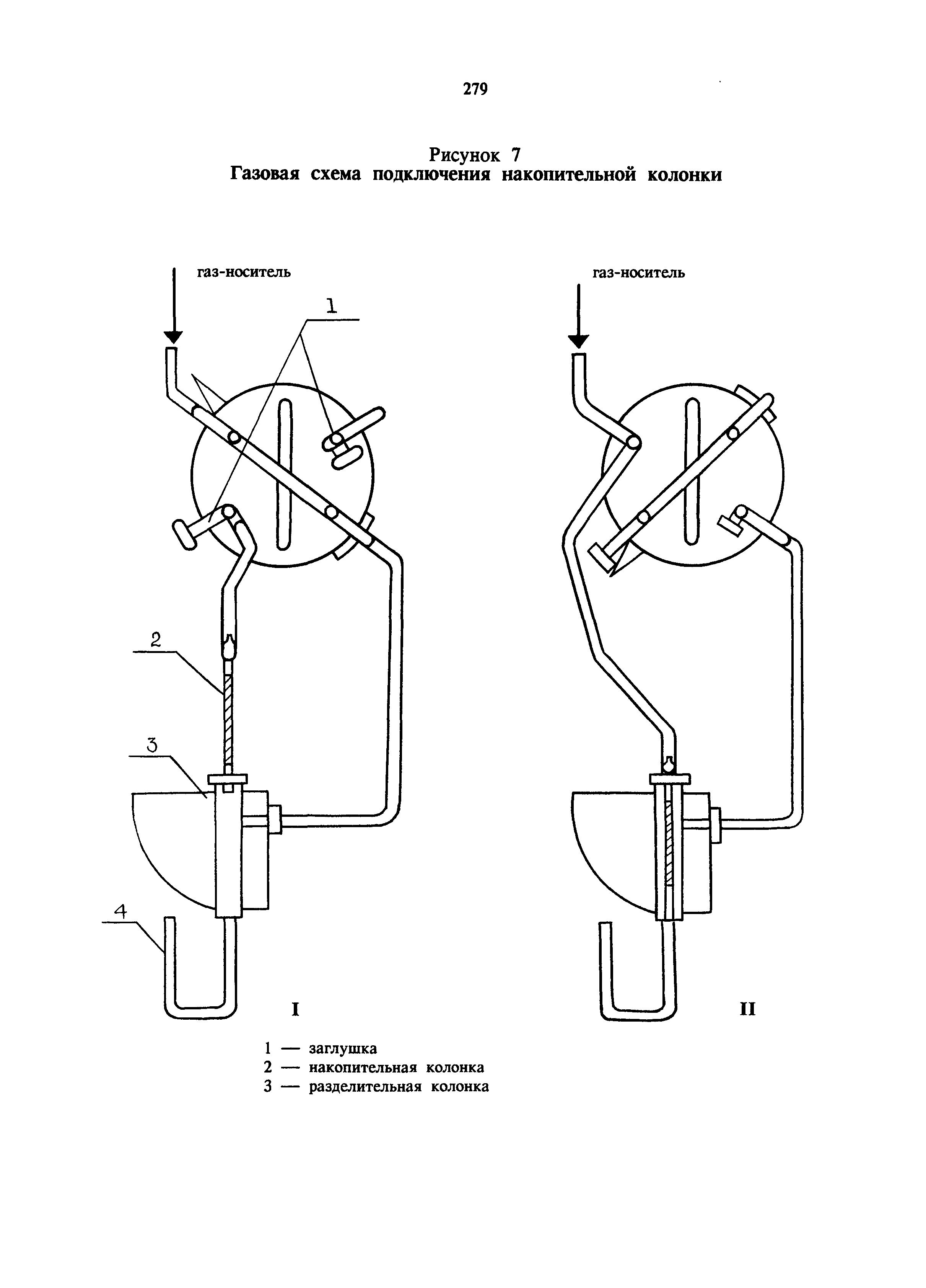
Рисунки
Разработан: НПО Ярсинтез
Утверждён:10.10.1991 Заместитель Главного государственного санитарного врача СССР
Расположен в:Техническая документация Экология ОХРАНА ОКРУЖАЮЩЕЙ СРЕДЫ, ЗАЩИТА ЧЕЛОВЕКА ОТ ВОЗДЕЙСТВИЯ ОКРУЖАЮЩЕЙ СРЕДЫ. БЕЗОПАСНОСТЬ Качество воздуха Атмосфера рабочей зоны
Нормативные ссылки:
МУ 5959-91МУ 5959-91МУ 5959-91МУ 5959-91МУ 5959-91МУ 5959-91МУ 5959-91МУ 5959-91МУ 5959-91МУ 5959-91МУ 5959-91МУ 5959-91МУ 5959-91МУ 5959-91МУ 5959-91МУ 5959-91МУ 5959-91МУ 5959-91МУ 5959-91МУ 5959-91МУ 5959-91МУ 5959-91МУ 5959-91МУ 5959-91МУ 5959-91

© 2013 Ёшкин Кот :-) Карта сайта