Информационная система
«Ёшкин Кот»

Скачать базу одним архивом
Скачать обновления
История создания базы
Карта сайта

Скачать ГОСТ Р 56567-2015 Стеллажи сборно-разборные. Нормы расчета

Дата актуализации: 10.08.2017

ГОСТ Р 56567-2015

Стеллажи сборно-разборные. Нормы расчета

Обозначение: ГОСТ Р 56567-2015
Обозначение англ: GOST R 56567-2015
Статус:введен впервые
Название рус.:Стеллажи сборно-разборные. Нормы расчета
Название англ.:Adjustable pallet racking systems. Design code
Дата добавления в базу:01.02.2017
Дата актуализации:05.05.2017
Дата введения:01.07.2016
Область применения:Стандарт устанавливает основы расчета конструкций стационарных фронтальных сборно-разборных стеллажей, предназначенных для хранения тарных и штучных грузов, несущие элементы которых изготовлены из стали.
Оглавление:1 Область применения
2 Нормативные ссылки
3 Термины и определения
4 Обозначения и сокращения
5 Исходные данные для расчета
   5.1 Требования
   5.2 Методы расчета
   5.3 Учет особенностей конструкции
   5.4 Требования к элементам, предотвращающим выход из зацепления кронштейна балки и стойки
6 Воздействия и комбинации воздействий
   6.1 Основные положения
   6.2 Постоянные воздействия
   6.3 Переменные нагрузки и воздействия
   6.4 Случайные нагрузки (ударные воздействия)
   6.5 Ветровые нагрузки
   6.6 Снеговые нагрузки
   6.7 Сейсмические нагрузки
7 Коэффициенты и правила сочетания нагрузок
   7.1 Основные положения
   7.2 Сочетание воздействий для предельного состояния по несущей способности
   7.3 Сочетание воздействий для предельного состояния по эксплуатационной пригодности
   7.4 Коэффициенты надежности по нагрузке
   7.5 Коэффициенты надежности по материалу
   7.6 Устойчивость против опрокидывания
   7.7 Крепление стеллажей к строительным конструкциям
8 Сталь
   8.1 Основные положения
   8.2 Средний предел текучести профилей
   8.3 Специальный отбор производственного материала
   8.4 Ударная вязкость
   8.5 Допуски по размерам
   8.6 Долговечность
9 Анализ конструкции
   9.1 Моделирование конструкции для анализа и расчета, основные допущения
   9.2 Расчет свойств сечений
   9.3 Балки
   9.4 Расчет балок
   9.5 Конструкция кронштейнов балок
   9.6 Балки, подверженные изгибу и кручению
   9.7 Сжатие, растяжение и изгиб элементов конструкции
   9.8 Расчет стыковых соединений стоек
   9.9 Расчет подпятников
   9.10 Материалы пола
   9.11 Расчет межрамных связей
10 Статический расчет стеллажей
   10.1 Основные положения
   10.2 Процедура расчета
   10.3 Расчет стеллажей с крестовыми раскосами жесткости и без них в Y-направлении
   10.4 Методы проведения статического расчета
   10.5 Упрощенные методы расчета устойчивости в Y-направлении
   10.6 Расчет стоек
11 Предельные состояния эксплуатационной пригодности
   11.1 Основные положения
   11.2 Предельные состояния эксплуатационной пригодности стеллажей
12 Маркировка стеллажей
   12.1 Идентификация технических характеристик стеллажей
13 Методики испытания и оценка результатов
   13.1 Основные положения
   13.2 Требования к испытаниям
   13.3 Расшифровка результатов испытания
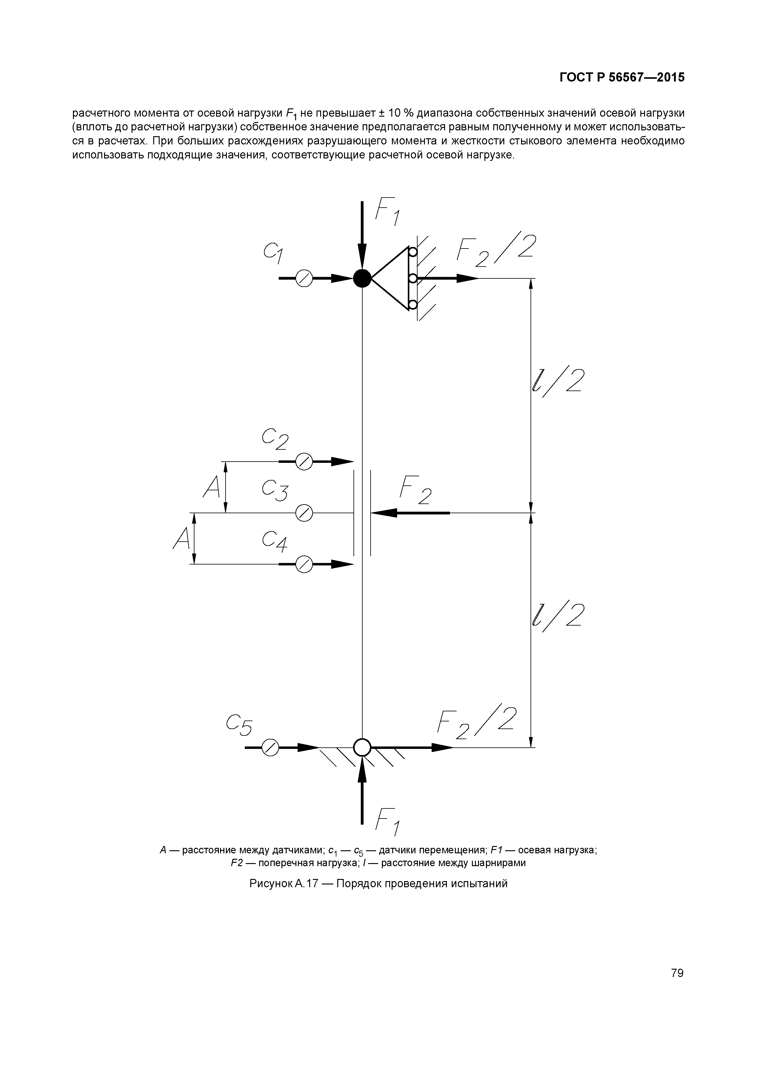
Приложение А (обязательное) Методы испытаний
Приложение В (справочное) Метод увеличенных моментов для оценки устойчивости в Х-направлении
Приложение С (справочное) Примерные выражения для расчета типового стеллажа в Х-направлении
Приложение D (справочное) Предпосылки возможности применения материалов с низким отношением fu/fy (холодноформованная сталь)
Приложение Е (справочное) Неточности при позиционировании грузов
Приложение F (справочное) Эквивалентные нагрузки на балки
Приложение G (справочное) Упрощенный метод оценки устойчивости в Y-направлении при условии равномерного распределения нагрузок по высоте рамы
Приложение Н (справочное) Производственный контроль
Приложение ДА (справочное) Сопоставление структуры настоящего стандарта со структурой примененного в нем европейского стандарта ЕН 15512:2009
Библиография
Разработан: ООО ВИАС
Утверждён:14.09.2015 Федеральное агентство по техническому регулированию и метрологии (1339-ст)
Издан: Стандартинформ (2015 г. )
Расположен в:Техническая документация Электроэнергия ПОДЪЕМНО-ТРАНСПОРТНОЕ ОБОРУДОВАНИЕ Оборудование для хранения Экология ПОДЪЕМНО-ТРАНСПОРТНОЕ ОБОРУДОВАНИЕ Оборудование для хранения
Нормативные ссылки:
ГОСТ Р 56567-2015ГОСТ Р 56567-2015ГОСТ Р 56567-2015ГОСТ Р 56567-2015ГОСТ Р 56567-2015ГОСТ Р 56567-2015ГОСТ Р 56567-2015ГОСТ Р 56567-2015ГОСТ Р 56567-2015ГОСТ Р 56567-2015ГОСТ Р 56567-2015ГОСТ Р 56567-2015ГОСТ Р 56567-2015ГОСТ Р 56567-2015ГОСТ Р 56567-2015ГОСТ Р 56567-2015ГОСТ Р 56567-2015ГОСТ Р 56567-2015ГОСТ Р 56567-2015ГОСТ Р 56567-2015ГОСТ Р 56567-2015ГОСТ Р 56567-2015ГОСТ Р 56567-2015ГОСТ Р 56567-2015ГОСТ Р 56567-2015ГОСТ Р 56567-2015ГОСТ Р 56567-2015ГОСТ Р 56567-2015ГОСТ Р 56567-2015ГОСТ Р 56567-2015ГОСТ Р 56567-2015ГОСТ Р 56567-2015ГОСТ Р 56567-2015ГОСТ Р 56567-2015ГОСТ Р 56567-2015ГОСТ Р 56567-2015ГОСТ Р 56567-2015ГОСТ Р 56567-2015ГОСТ Р 56567-2015ГОСТ Р 56567-2015ГОСТ Р 56567-2015ГОСТ Р 56567-2015ГОСТ Р 56567-2015ГОСТ Р 56567-2015ГОСТ Р 56567-2015ГОСТ Р 56567-2015ГОСТ Р 56567-2015ГОСТ Р 56567-2015ГОСТ Р 56567-2015ГОСТ Р 56567-2015ГОСТ Р 56567-2015ГОСТ Р 56567-2015ГОСТ Р 56567-2015ГОСТ Р 56567-2015ГОСТ Р 56567-2015ГОСТ Р 56567-2015ГОСТ Р 56567-2015ГОСТ Р 56567-2015ГОСТ Р 56567-2015ГОСТ Р 56567-2015ГОСТ Р 56567-2015ГОСТ Р 56567-2015ГОСТ Р 56567-2015ГОСТ Р 56567-2015ГОСТ Р 56567-2015ГОСТ Р 56567-2015ГОСТ Р 56567-2015ГОСТ Р 56567-2015ГОСТ Р 56567-2015ГОСТ Р 56567-2015ГОСТ Р 56567-2015ГОСТ Р 56567-2015ГОСТ Р 56567-2015ГОСТ Р 56567-2015ГОСТ Р 56567-2015ГОСТ Р 56567-2015ГОСТ Р 56567-2015ГОСТ Р 56567-2015ГОСТ Р 56567-2015ГОСТ Р 56567-2015ГОСТ Р 56567-2015ГОСТ Р 56567-2015ГОСТ Р 56567-2015ГОСТ Р 56567-2015ГОСТ Р 56567-2015ГОСТ Р 56567-2015ГОСТ Р 56567-2015ГОСТ Р 56567-2015ГОСТ Р 56567-2015ГОСТ Р 56567-2015ГОСТ Р 56567-2015ГОСТ Р 56567-2015ГОСТ Р 56567-2015ГОСТ Р 56567-2015ГОСТ Р 56567-2015ГОСТ Р 56567-2015ГОСТ Р 56567-2015ГОСТ Р 56567-2015ГОСТ Р 56567-2015ГОСТ Р 56567-2015ГОСТ Р 56567-2015

© 2013 Ёшкин Кот :-) Карта сайта