Информационная система
«Ёшкин Кот»

Скачать базу одним архивом
Скачать обновления
История создания базы
Карта сайта

Скачать МИ 641-84 Государственная система обеспечения единства измерений. Методические указания. Расчет значений критериев качества поверки средств измерений методами программного моделирования

Дата актуализации: 10.08.2017

МИ 641-84

Государственная система обеспечения единства измерений. Методические указания. Расчет значений критериев качества поверки средств измерений методами программного моделирования

Обозначение: МИ 641-84
Обозначение англ: MI 641-84
Статус:действует
Название рус.:Государственная система обеспечения единства измерений. Методические указания. Расчет значений критериев качества поверки средств измерений методами программного моделирования
Дата добавления в базу:12.02.2016
Дата актуализации:05.05.2017
Область применения:Методические указания предназначены для использования при разработке и экспертизе нормативно-технических документов (НТД), удовлетворяющих требованиям ГОСТ 8.042-83 "ГСИ. НТД на методики поверки средств измерений" и разработке стандартов на поверочные схемы (ГОСТ 8061—80). Методические указания устанавливают методы и программы расчета на универсальных цифровых ЭВМ значений критериев качества поверки, регламентированных МИ 187—79, МИ 188—79 (приложение 1) в заданных точках диапазона измерений без предварительного установления аналитических зависимостей между параметрами методики поверки и значениями критериев качества.
Оглавление:1 Общие указания
2 Подготовка исходных данных
3 Программирование задания
4 Решение задачи на ЭВМ
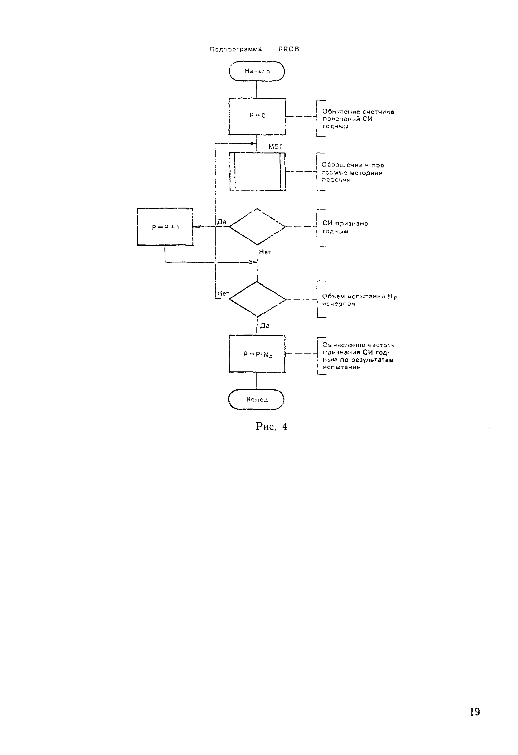
Приложение 1 (справочное). Критерии качества поверки СИ и описание алгоритма их расчета методом программного моделирования
Приложение 2. Комплекс программ расчета критериев качества поверки средств измерений
Приложение 3 (справочное). Сообщения комплекса программ
Приложение 4 (справочное). Примеры выполнения расчетов критериев качества поверки СИ методом программного моделирования
Разработан: ВНИИМС
Утверждён:30.11.1984 ВНИИМС Госстандарта России (VNIIMS, Gosstandart of Russia 16)
Издан: Издательство стандартов (1985 г. )
Расположен в:Техническая документация Экология МЕТРОЛОГИЯ И ИЗМЕРЕНИЯ. ФИЗИЧЕСКИЕ ЯВЛЕНИЯ Метрология и измерения в целом
Нормативные ссылки:
МИ 641-84МИ 641-84МИ 641-84МИ 641-84МИ 641-84МИ 641-84МИ 641-84МИ 641-84МИ 641-84МИ 641-84МИ 641-84МИ 641-84МИ 641-84МИ 641-84МИ 641-84МИ 641-84МИ 641-84МИ 641-84МИ 641-84МИ 641-84МИ 641-84МИ 641-84МИ 641-84МИ 641-84МИ 641-84МИ 641-84МИ 641-84МИ 641-84МИ 641-84МИ 641-84МИ 641-84МИ 641-84МИ 641-84МИ 641-84МИ 641-84МИ 641-84МИ 641-84МИ 641-84МИ 641-84МИ 641-84МИ 641-84МИ 641-84МИ 641-84МИ 641-84МИ 641-84МИ 641-84МИ 641-84МИ 641-84МИ 641-84МИ 641-84МИ 641-84МИ 641-84МИ 641-84МИ 641-84МИ 641-84МИ 641-84МИ 641-84МИ 641-84

© 2013 Ёшкин Кот :-) Карта сайта