Информационная система
«Ёшкин Кот»

Скачать базу одним архивом
Скачать обновления
История создания базы
Карта сайта

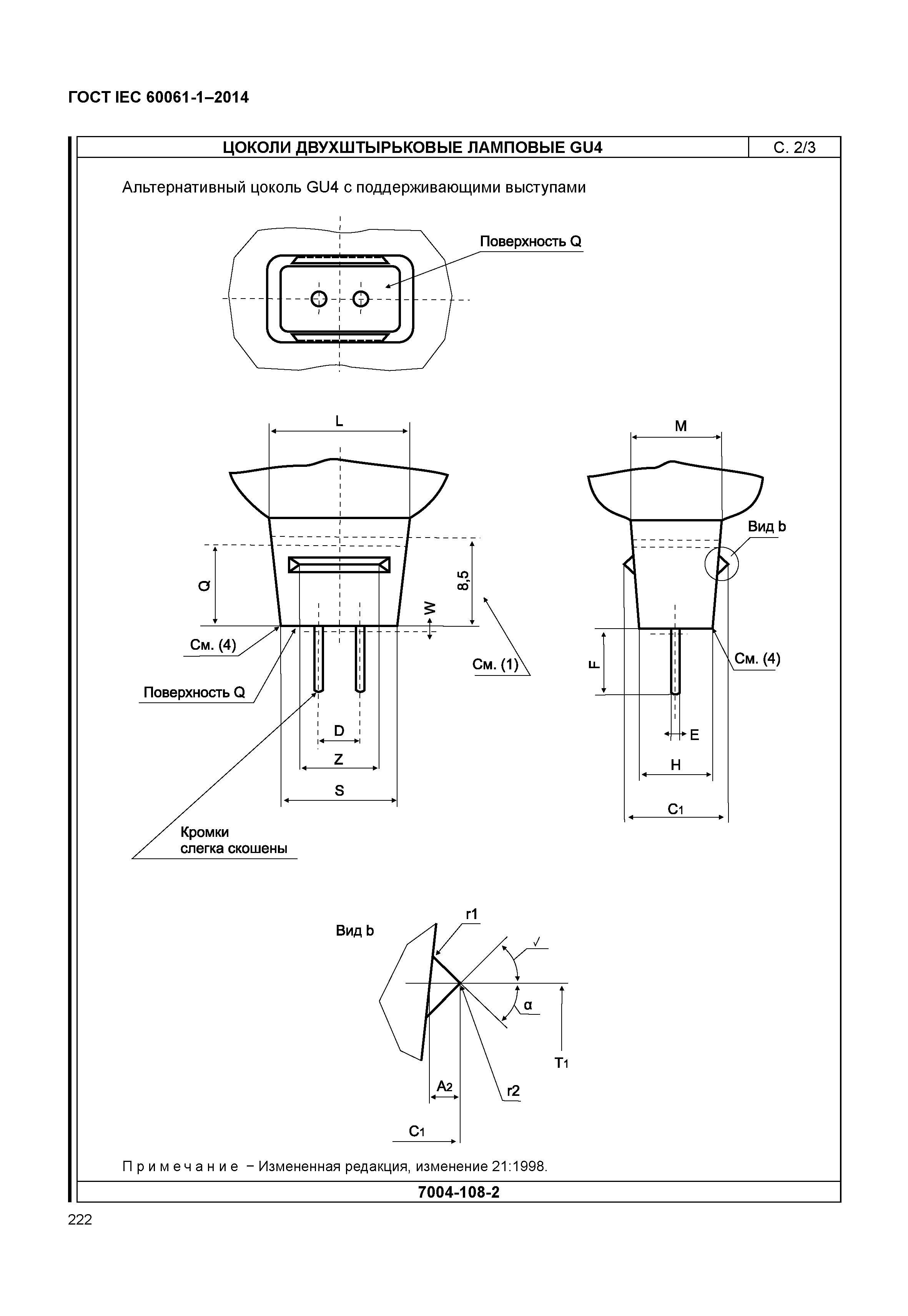
Скачать ГОСТ IEC 60061-1-2014 Цоколи и патроны для источников света с калибрами для проверки взаимозаменяемости и безопасности. Часть 1. Цоколи

Дата актуализации: 10.08.2017

ГОСТ IEC 60061-1-2014

Цоколи и патроны для источников света с калибрами для проверки взаимозаменяемости и безопасности. Часть 1. Цоколи

Обозначение: ГОСТ IEC 60061-1-2014
Обозначение англ: 60061-1-2014
Статус:взамен
Название рус.:Цоколи и патроны для источников света с калибрами для проверки взаимозаменяемости и безопасности. Часть 1. Цоколи
Название англ.:Lamp caps and holders for light sources together with gauges for the control of interchangeability and safety. Part 1. Lamp cap
Дата добавления в базу:12.02.2016
Дата актуализации:05.05.2017
Дата введения:01.01.2016
Разработан: ГУП Республики Мордовия НИИИС им. А.Н. Лодыгина
Утверждён:14.11.2014 Межгосударственный Совет по стандартизации, метрологии и сертификации (Inter-Governmental Council on Standardization, Metrology, and Certification 72-П)
06.05.2015 Федеральное агентство по техническому регулированию и метрологии (344-ст)
Издан: Стандартинформ (2015 г. )
Расположен в:Техническая документация Электроэнергия ЭЛЕКТРОТЕХНИКА Светотехнические изделия Цоколи и патроны для ламп Экология ЭЛЕКТРОТЕХНИКА Светотехнические изделия Цоколи и патроны для ламп Строительство Стандарты Другие государственные стандарты, применяемые в строительстве Электротехника
Заменяет собой:
Нормативные ссылки:
ГОСТ IEC 60061-1-2014ГОСТ IEC 60061-1-2014ГОСТ IEC 60061-1-2014ГОСТ IEC 60061-1-2014ГОСТ IEC 60061-1-2014ГОСТ IEC 60061-1-2014ГОСТ IEC 60061-1-2014ГОСТ IEC 60061-1-2014ГОСТ IEC 60061-1-2014ГОСТ IEC 60061-1-2014ГОСТ IEC 60061-1-2014ГОСТ IEC 60061-1-2014ГОСТ IEC 60061-1-2014ГОСТ IEC 60061-1-2014ГОСТ IEC 60061-1-2014ГОСТ IEC 60061-1-2014ГОСТ IEC 60061-1-2014ГОСТ IEC 60061-1-2014ГОСТ IEC 60061-1-2014ГОСТ IEC 60061-1-2014ГОСТ IEC 60061-1-2014ГОСТ IEC 60061-1-2014ГОСТ IEC 60061-1-2014ГОСТ IEC 60061-1-2014ГОСТ IEC 60061-1-2014ГОСТ IEC 60061-1-2014ГОСТ IEC 60061-1-2014ГОСТ IEC 60061-1-2014ГОСТ IEC 60061-1-2014ГОСТ IEC 60061-1-2014ГОСТ IEC 60061-1-2014ГОСТ IEC 60061-1-2014ГОСТ IEC 60061-1-2014ГОСТ IEC 60061-1-2014ГОСТ IEC 60061-1-2014ГОСТ IEC 60061-1-2014ГОСТ IEC 60061-1-2014ГОСТ IEC 60061-1-2014ГОСТ IEC 60061-1-2014ГОСТ IEC 60061-1-2014ГОСТ IEC 60061-1-2014ГОСТ IEC 60061-1-2014ГОСТ IEC 60061-1-2014ГОСТ IEC 60061-1-2014ГОСТ IEC 60061-1-2014ГОСТ IEC 60061-1-2014ГОСТ IEC 60061-1-2014ГОСТ IEC 60061-1-2014ГОСТ IEC 60061-1-2014ГОСТ IEC 60061-1-2014ГОСТ IEC 60061-1-2014ГОСТ IEC 60061-1-2014ГОСТ IEC 60061-1-2014ГОСТ IEC 60061-1-2014ГОСТ IEC 60061-1-2014ГОСТ IEC 60061-1-2014ГОСТ IEC 60061-1-2014ГОСТ IEC 60061-1-2014ГОСТ IEC 60061-1-2014ГОСТ IEC 60061-1-2014ГОСТ IEC 60061-1-2014ГОСТ IEC 60061-1-2014ГОСТ IEC 60061-1-2014ГОСТ IEC 60061-1-2014ГОСТ IEC 60061-1-2014ГОСТ IEC 60061-1-2014ГОСТ IEC 60061-1-2014ГОСТ IEC 60061-1-2014ГОСТ IEC 60061-1-2014ГОСТ IEC 60061-1-2014ГОСТ IEC 60061-1-2014ГОСТ IEC 60061-1-2014ГОСТ IEC 60061-1-2014ГОСТ IEC 60061-1-2014ГОСТ IEC 60061-1-2014ГОСТ IEC 60061-1-2014ГОСТ IEC 60061-1-2014ГОСТ IEC 60061-1-2014ГОСТ IEC 60061-1-2014ГОСТ IEC 60061-1-2014ГОСТ IEC 60061-1-2014ГОСТ IEC 60061-1-2014ГОСТ IEC 60061-1-2014ГОСТ IEC 60061-1-2014ГОСТ IEC 60061-1-2014ГОСТ IEC 60061-1-2014ГОСТ IEC 60061-1-2014ГОСТ IEC 60061-1-2014ГОСТ IEC 60061-1-2014ГОСТ IEC 60061-1-2014ГОСТ IEC 60061-1-2014ГОСТ IEC 60061-1-2014ГОСТ IEC 60061-1-2014ГОСТ IEC 60061-1-2014ГОСТ IEC 60061-1-2014ГОСТ IEC 60061-1-2014ГОСТ IEC 60061-1-2014ГОСТ IEC 60061-1-2014ГОСТ IEC 60061-1-2014ГОСТ IEC 60061-1-2014ГОСТ IEC 60061-1-2014ГОСТ IEC 60061-1-2014ГОСТ IEC 60061-1-2014ГОСТ IEC 60061-1-2014ГОСТ IEC 60061-1-2014ГОСТ IEC 60061-1-2014ГОСТ IEC 60061-1-2014ГОСТ IEC 60061-1-2014ГОСТ IEC 60061-1-2014ГОСТ IEC 60061-1-2014ГОСТ IEC 60061-1-2014ГОСТ IEC 60061-1-2014ГОСТ IEC 60061-1-2014ГОСТ IEC 60061-1-2014ГОСТ IEC 60061-1-2014ГОСТ IEC 60061-1-2014ГОСТ IEC 60061-1-2014ГОСТ IEC 60061-1-2014ГОСТ IEC 60061-1-2014ГОСТ IEC 60061-1-2014ГОСТ IEC 60061-1-2014ГОСТ IEC 60061-1-2014ГОСТ IEC 60061-1-2014ГОСТ IEC 60061-1-2014ГОСТ IEC 60061-1-2014ГОСТ IEC 60061-1-2014ГОСТ IEC 60061-1-2014ГОСТ IEC 60061-1-2014ГОСТ IEC 60061-1-2014ГОСТ IEC 60061-1-2014ГОСТ IEC 60061-1-2014ГОСТ IEC 60061-1-2014ГОСТ IEC 60061-1-2014ГОСТ IEC 60061-1-2014ГОСТ IEC 60061-1-2014ГОСТ IEC 60061-1-2014ГОСТ IEC 60061-1-2014ГОСТ IEC 60061-1-2014ГОСТ IEC 60061-1-2014ГОСТ IEC 60061-1-2014ГОСТ IEC 60061-1-2014ГОСТ IEC 60061-1-2014ГОСТ IEC 60061-1-2014ГОСТ IEC 60061-1-2014ГОСТ IEC 60061-1-2014ГОСТ IEC 60061-1-2014ГОСТ IEC 60061-1-2014ГОСТ IEC 60061-1-2014ГОСТ IEC 60061-1-2014ГОСТ IEC 60061-1-2014ГОСТ IEC 60061-1-2014ГОСТ IEC 60061-1-2014ГОСТ IEC 60061-1-2014ГОСТ IEC 60061-1-2014ГОСТ IEC 60061-1-2014ГОСТ IEC 60061-1-2014ГОСТ IEC 60061-1-2014ГОСТ IEC 60061-1-2014ГОСТ IEC 60061-1-2014ГОСТ IEC 60061-1-2014ГОСТ IEC 60061-1-2014ГОСТ IEC 60061-1-2014ГОСТ IEC 60061-1-2014ГОСТ IEC 60061-1-2014ГОСТ IEC 60061-1-2014ГОСТ IEC 60061-1-2014ГОСТ IEC 60061-1-2014ГОСТ IEC 60061-1-2014ГОСТ IEC 60061-1-2014ГОСТ IEC 60061-1-2014ГОСТ IEC 60061-1-2014ГОСТ IEC 60061-1-2014ГОСТ IEC 60061-1-2014ГОСТ IEC 60061-1-2014ГОСТ IEC 60061-1-2014ГОСТ IEC 60061-1-2014ГОСТ IEC 60061-1-2014ГОСТ IEC 60061-1-2014ГОСТ IEC 60061-1-2014ГОСТ IEC 60061-1-2014ГОСТ IEC 60061-1-2014ГОСТ IEC 60061-1-2014ГОСТ IEC 60061-1-2014ГОСТ IEC 60061-1-2014ГОСТ IEC 60061-1-2014ГОСТ IEC 60061-1-2014ГОСТ IEC 60061-1-2014ГОСТ IEC 60061-1-2014ГОСТ IEC 60061-1-2014ГОСТ IEC 60061-1-2014ГОСТ IEC 60061-1-2014ГОСТ IEC 60061-1-2014ГОСТ IEC 60061-1-2014ГОСТ IEC 60061-1-2014ГОСТ IEC 60061-1-2014ГОСТ IEC 60061-1-2014ГОСТ IEC 60061-1-2014ГОСТ IEC 60061-1-2014ГОСТ IEC 60061-1-2014ГОСТ IEC 60061-1-2014ГОСТ IEC 60061-1-2014ГОСТ IEC 60061-1-2014ГОСТ IEC 60061-1-2014ГОСТ IEC 60061-1-2014ГОСТ IEC 60061-1-2014ГОСТ IEC 60061-1-2014ГОСТ IEC 60061-1-2014ГОСТ IEC 60061-1-2014ГОСТ IEC 60061-1-2014ГОСТ IEC 60061-1-2014ГОСТ IEC 60061-1-2014ГОСТ IEC 60061-1-2014ГОСТ IEC 60061-1-2014ГОСТ IEC 60061-1-2014ГОСТ IEC 60061-1-2014ГОСТ IEC 60061-1-2014ГОСТ IEC 60061-1-2014ГОСТ IEC 60061-1-2014ГОСТ IEC 60061-1-2014ГОСТ IEC 60061-1-2014ГОСТ IEC 60061-1-2014ГОСТ IEC 60061-1-2014ГОСТ IEC 60061-1-2014ГОСТ IEC 60061-1-2014ГОСТ IEC 60061-1-2014ГОСТ IEC 60061-1-2014ГОСТ IEC 60061-1-2014ГОСТ IEC 60061-1-2014ГОСТ IEC 60061-1-2014ГОСТ IEC 60061-1-2014ГОСТ IEC 60061-1-2014ГОСТ IEC 60061-1-2014ГОСТ IEC 60061-1-2014ГОСТ IEC 60061-1-2014ГОСТ IEC 60061-1-2014ГОСТ IEC 60061-1-2014ГОСТ IEC 60061-1-2014ГОСТ IEC 60061-1-2014ГОСТ IEC 60061-1-2014ГОСТ IEC 60061-1-2014ГОСТ IEC 60061-1-2014ГОСТ IEC 60061-1-2014ГОСТ IEC 60061-1-2014ГОСТ IEC 60061-1-2014ГОСТ IEC 60061-1-2014ГОСТ IEC 60061-1-2014ГОСТ IEC 60061-1-2014ГОСТ IEC 60061-1-2014ГОСТ IEC 60061-1-2014ГОСТ IEC 60061-1-2014ГОСТ IEC 60061-1-2014ГОСТ IEC 60061-1-2014ГОСТ IEC 60061-1-2014ГОСТ IEC 60061-1-2014ГОСТ IEC 60061-1-2014ГОСТ IEC 60061-1-2014ГОСТ IEC 60061-1-2014ГОСТ IEC 60061-1-2014ГОСТ IEC 60061-1-2014ГОСТ IEC 60061-1-2014ГОСТ IEC 60061-1-2014ГОСТ IEC 60061-1-2014ГОСТ IEC 60061-1-2014ГОСТ IEC 60061-1-2014ГОСТ IEC 60061-1-2014ГОСТ IEC 60061-1-2014ГОСТ IEC 60061-1-2014ГОСТ IEC 60061-1-2014ГОСТ IEC 60061-1-2014ГОСТ IEC 60061-1-2014ГОСТ IEC 60061-1-2014ГОСТ IEC 60061-1-2014ГОСТ IEC 60061-1-2014ГОСТ IEC 60061-1-2014ГОСТ IEC 60061-1-2014ГОСТ IEC 60061-1-2014ГОСТ IEC 60061-1-2014ГОСТ IEC 60061-1-2014ГОСТ IEC 60061-1-2014ГОСТ IEC 60061-1-2014ГОСТ IEC 60061-1-2014ГОСТ IEC 60061-1-2014ГОСТ IEC 60061-1-2014ГОСТ IEC 60061-1-2014ГОСТ IEC 60061-1-2014ГОСТ IEC 60061-1-2014ГОСТ IEC 60061-1-2014ГОСТ IEC 60061-1-2014ГОСТ IEC 60061-1-2014ГОСТ IEC 60061-1-2014ГОСТ IEC 60061-1-2014ГОСТ IEC 60061-1-2014ГОСТ IEC 60061-1-2014ГОСТ IEC 60061-1-2014ГОСТ IEC 60061-1-2014ГОСТ IEC 60061-1-2014ГОСТ IEC 60061-1-2014ГОСТ IEC 60061-1-2014ГОСТ IEC 60061-1-2014ГОСТ IEC 60061-1-2014ГОСТ IEC 60061-1-2014ГОСТ IEC 60061-1-2014ГОСТ IEC 60061-1-2014ГОСТ IEC 60061-1-2014ГОСТ IEC 60061-1-2014ГОСТ IEC 60061-1-2014ГОСТ IEC 60061-1-2014ГОСТ IEC 60061-1-2014ГОСТ IEC 60061-1-2014ГОСТ IEC 60061-1-2014ГОСТ IEC 60061-1-2014ГОСТ IEC 60061-1-2014ГОСТ IEC 60061-1-2014ГОСТ IEC 60061-1-2014ГОСТ IEC 60061-1-2014ГОСТ IEC 60061-1-2014ГОСТ IEC 60061-1-2014ГОСТ IEC 60061-1-2014ГОСТ IEC 60061-1-2014ГОСТ IEC 60061-1-2014ГОСТ IEC 60061-1-2014ГОСТ IEC 60061-1-2014ГОСТ IEC 60061-1-2014ГОСТ IEC 60061-1-2014ГОСТ IEC 60061-1-2014ГОСТ IEC 60061-1-2014ГОСТ IEC 60061-1-2014ГОСТ IEC 60061-1-2014ГОСТ IEC 60061-1-2014ГОСТ IEC 60061-1-2014ГОСТ IEC 60061-1-2014ГОСТ IEC 60061-1-2014ГОСТ IEC 60061-1-2014ГОСТ IEC 60061-1-2014ГОСТ IEC 60061-1-2014ГОСТ IEC 60061-1-2014ГОСТ IEC 60061-1-2014ГОСТ IEC 60061-1-2014ГОСТ IEC 60061-1-2014ГОСТ IEC 60061-1-2014ГОСТ IEC 60061-1-2014ГОСТ IEC 60061-1-2014ГОСТ IEC 60061-1-2014ГОСТ IEC 60061-1-2014ГОСТ IEC 60061-1-2014ГОСТ IEC 60061-1-2014ГОСТ IEC 60061-1-2014ГОСТ IEC 60061-1-2014ГОСТ IEC 60061-1-2014ГОСТ IEC 60061-1-2014ГОСТ IEC 60061-1-2014ГОСТ IEC 60061-1-2014ГОСТ IEC 60061-1-2014ГОСТ IEC 60061-1-2014ГОСТ IEC 60061-1-2014ГОСТ IEC 60061-1-2014ГОСТ IEC 60061-1-2014ГОСТ IEC 60061-1-2014ГОСТ IEC 60061-1-2014ГОСТ IEC 60061-1-2014ГОСТ IEC 60061-1-2014ГОСТ IEC 60061-1-2014ГОСТ IEC 60061-1-2014ГОСТ IEC 60061-1-2014ГОСТ IEC 60061-1-2014ГОСТ IEC 60061-1-2014

© 2013 Ёшкин Кот :-) Карта сайта