Информационная система
«Ёшкин Кот»

Скачать базу одним архивом
Скачать обновления
История создания базы
Карта сайта

Скачать РТМ 24.022.04-72 Турбины гидравлические. Расчет на прочность спиральных камер

Дата актуализации: 10.08.2017

РТМ 24.022.04-72

Турбины гидравлические. Расчет на прочность спиральных камер

Обозначение: РТМ 24.022.04-72
Обозначение англ: RTM 24.022.04-72
Статус:cправочные материалы, мп, тпр
Название рус.:Турбины гидравлические. Расчет на прочность спиральных камер
Дата добавления в базу:12.02.2016
Дата актуализации:05.05.2017
Область применения:Руководящие технические материалы устанавливают методы расчета на прочность спиральных камер и статоров гидротурбин, не подкрепленных железобетонным блоком и подкрепленных со стороны статора железобетонным поясом.
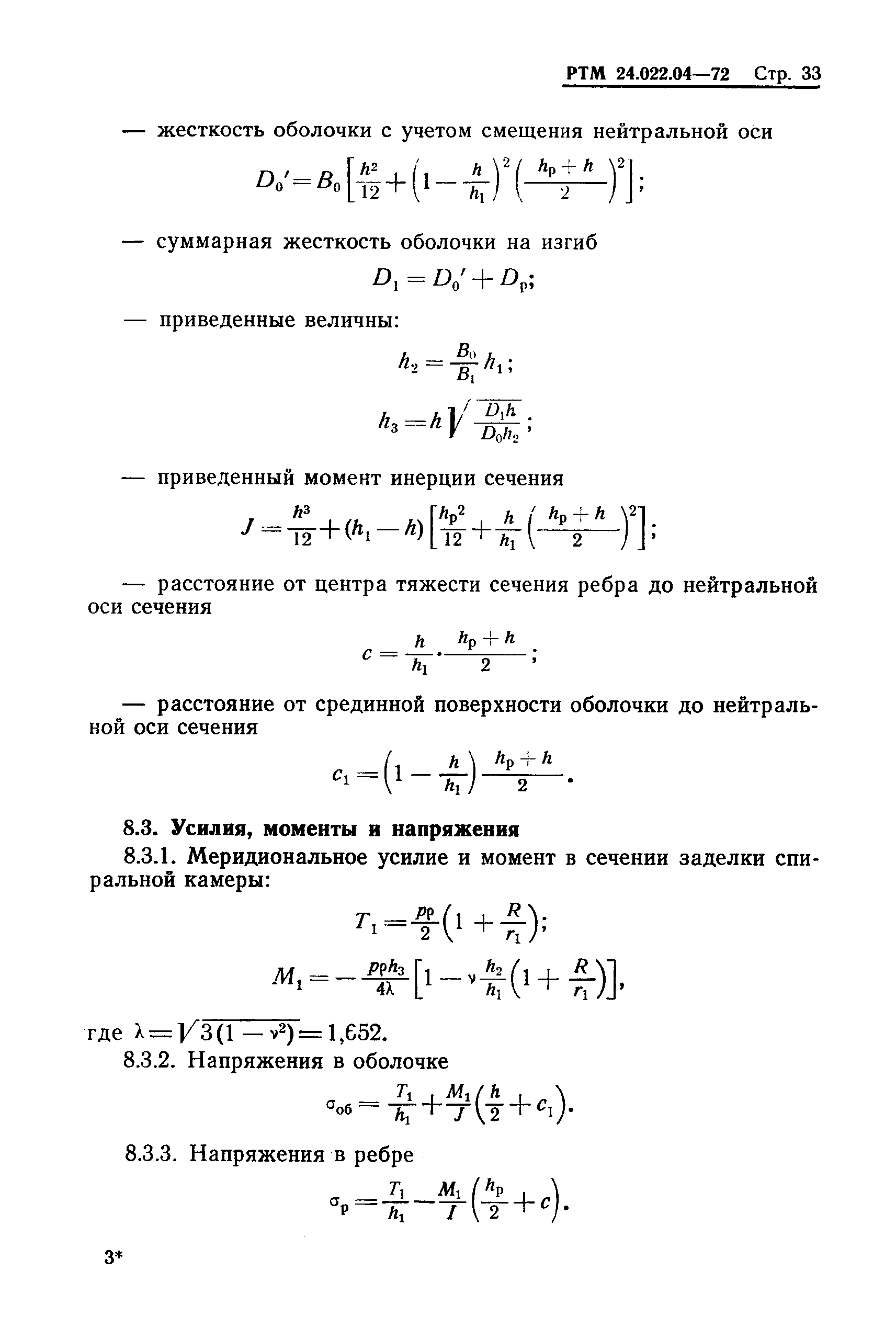
Оглавление:1. Расчетная схема статора и спиральной камеры, не подкрепленных железобетонным блоком
2. Расчетная схема статора и спиральной камеры, подкрепленных со стороны статора железобетонным поясом
3. Подготовка исходных данных для расчета на ЭЦВМ
4. Примеры расчета
5. Основные предпосылки схемы расчета ЛМЗ и допускаемые напряжения
6. Предварительный выбор толщин и марок материалов листов спиральной камеры
7. Расчет круговых сечений спиральной камеры
8. Расчет круговых сечений спиральной камеры с учетом ребер
9. Расчет овальных сечений спиральной камеры
10. Коэффициент цикличности
11. Расчет статора, не подкрепленного железобетоном, на несимметричную нагрузку
12. Расчет забетонированного статора
13. Примеры расчета спиральной камеры
14. Примеры расчета статоров
Литература
Разработан: НПО ЦКТИ им. И.И. Ползунова
Ленинградский металлический завод им. XXII съезда КПСС
Харьковский турбинный завод им. С.М. Кирова
Утверждён:06.04.1972 Министерство тяжелого, энергетического и транспортного машиностроения СССР (ПС-002/6019)
Расположен в:Техническая документация Экология ЭНЕРГЕТИКА И ТЕПЛОТЕХНИКА Электростанции в целом Строительство Нормативные документы Отраслевые и ведомственные нормативно-методические документы Проектирование и строительство объектов энергетического комплекса
РТМ 24.022.04-72РТМ 24.022.04-72РТМ 24.022.04-72РТМ 24.022.04-72РТМ 24.022.04-72РТМ 24.022.04-72РТМ 24.022.04-72РТМ 24.022.04-72РТМ 24.022.04-72РТМ 24.022.04-72РТМ 24.022.04-72РТМ 24.022.04-72РТМ 24.022.04-72РТМ 24.022.04-72РТМ 24.022.04-72РТМ 24.022.04-72РТМ 24.022.04-72РТМ 24.022.04-72РТМ 24.022.04-72РТМ 24.022.04-72РТМ 24.022.04-72РТМ 24.022.04-72РТМ 24.022.04-72РТМ 24.022.04-72РТМ 24.022.04-72РТМ 24.022.04-72РТМ 24.022.04-72РТМ 24.022.04-72РТМ 24.022.04-72РТМ 24.022.04-72РТМ 24.022.04-72РТМ 24.022.04-72РТМ 24.022.04-72РТМ 24.022.04-72РТМ 24.022.04-72РТМ 24.022.04-72РТМ 24.022.04-72РТМ 24.022.04-72РТМ 24.022.04-72РТМ 24.022.04-72РТМ 24.022.04-72РТМ 24.022.04-72РТМ 24.022.04-72РТМ 24.022.04-72РТМ 24.022.04-72РТМ 24.022.04-72РТМ 24.022.04-72РТМ 24.022.04-72РТМ 24.022.04-72РТМ 24.022.04-72РТМ 24.022.04-72РТМ 24.022.04-72РТМ 24.022.04-72РТМ 24.022.04-72РТМ 24.022.04-72РТМ 24.022.04-72РТМ 24.022.04-72РТМ 24.022.04-72

© 2013 Ёшкин Кот :-) Карта сайта