Информационная система
«Ёшкин Кот»

Скачать базу одним архивом
Скачать обновления
История создания базы
Карта сайта

Скачать РТМ 24.021.16-74 Выбор характеристик и расчет тепловых схем турбоустановок АЭС с водоохлаждаемыми реакторами

Дата актуализации: 10.08.2017

РТМ 24.021.16-74

Выбор характеристик и расчет тепловых схем турбоустановок АЭС с водоохлаждаемыми реакторами

Обозначение: РТМ 24.021.16-74
Обозначение англ: RTM 24.021.16-74
Статус:cправочные материалы, мп, тпр
Название рус.:Выбор характеристик и расчет тепловых схем турбоустановок АЭС с водоохлаждаемыми реакторами
Дата добавления в базу:12.02.2016
Дата актуализации:05.05.2017
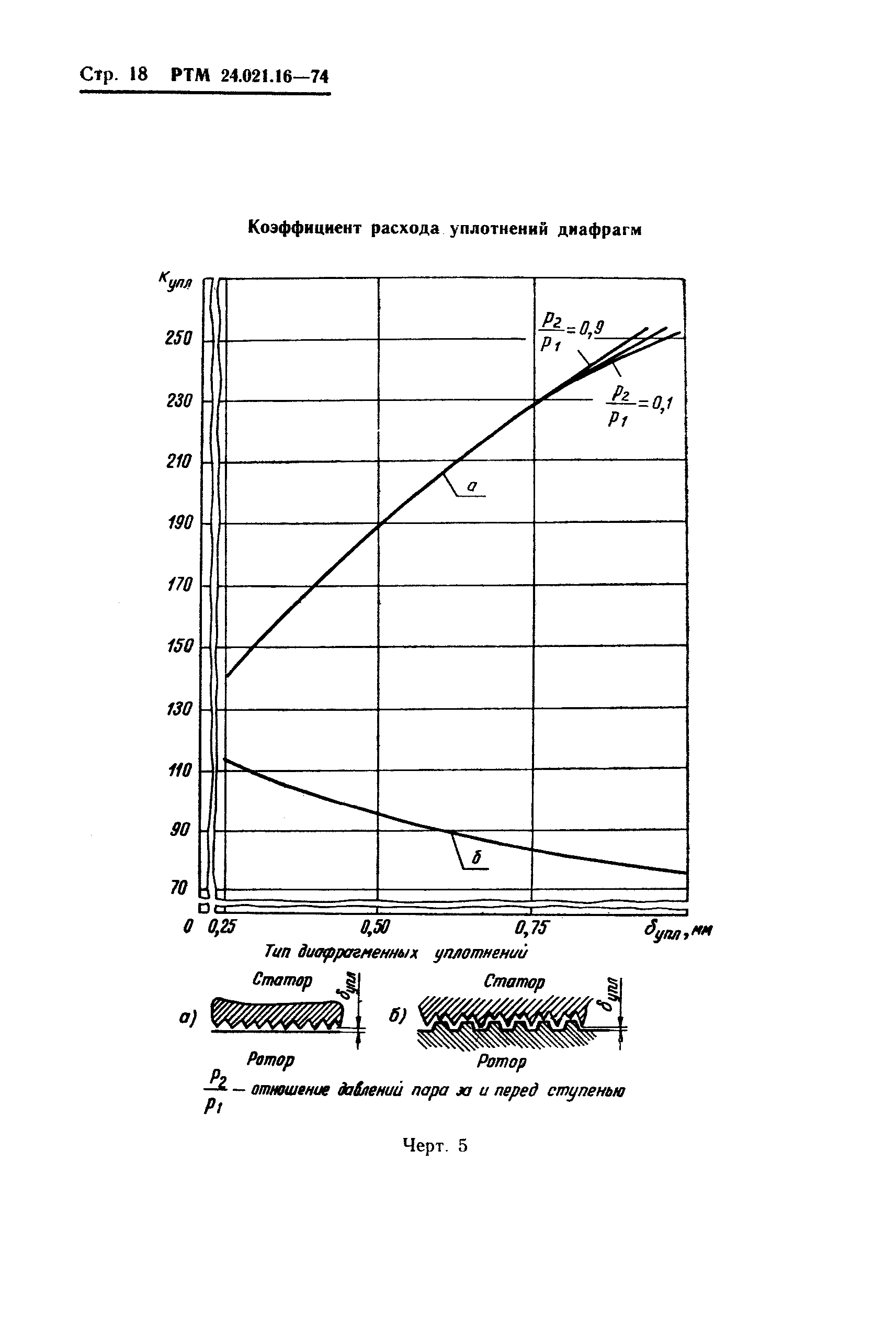
Область применения:В настоящем техническом материале изложена методика выбора структуры и параметров тепловых схем в связанных с ними характеристик турбоустановок АЭС с водоохлаждаемыми реакторами на стадиях, предшествующих техническому проектированию.
Оглавление:1. Условные обозначения
2. Общие положения
3. Расчет проточной части
4. Расчет внутреннего относительного КПД турбины
5. Расчет тепловой схемы
6. Выбор оптимальной температуры питательной воды
7. Выбор параметров системы внешней сепарации и промежуточного перегрева пара
8. Описание комплекса программ для выбора характеристик турбоустановок АЭС
Приложение 1 (справочное). Пример расчета
Приложение 2 (справочное). Основные стоимостные характеристики
Приложение 3. Литература
Разработан: НПО ЦКТИ им. И.И. Ползунова
Утверждён:26.12.1974 Министерство тяжелого, энергетического и транспортного машиностроения СССР (ПС-002/18302)
Издан: НПО ЦКТИ (1975 г. )
Расположен в:Техническая документация Экология ЭНЕРГЕТИКА И ТЕПЛОТЕХНИКА Электростанции в целом Строительство Нормативные документы Отраслевые и ведомственные нормативно-методические документы Проектирование и строительство объектов энергетического комплекса
Нормативные ссылки:
РТМ 24.021.16-74РТМ 24.021.16-74РТМ 24.021.16-74РТМ 24.021.16-74РТМ 24.021.16-74РТМ 24.021.16-74РТМ 24.021.16-74РТМ 24.021.16-74РТМ 24.021.16-74РТМ 24.021.16-74РТМ 24.021.16-74РТМ 24.021.16-74РТМ 24.021.16-74РТМ 24.021.16-74РТМ 24.021.16-74РТМ 24.021.16-74РТМ 24.021.16-74РТМ 24.021.16-74РТМ 24.021.16-74РТМ 24.021.16-74РТМ 24.021.16-74РТМ 24.021.16-74РТМ 24.021.16-74РТМ 24.021.16-74РТМ 24.021.16-74РТМ 24.021.16-74РТМ 24.021.16-74РТМ 24.021.16-74РТМ 24.021.16-74РТМ 24.021.16-74РТМ 24.021.16-74РТМ 24.021.16-74РТМ 24.021.16-74РТМ 24.021.16-74РТМ 24.021.16-74РТМ 24.021.16-74РТМ 24.021.16-74РТМ 24.021.16-74РТМ 24.021.16-74РТМ 24.021.16-74РТМ 24.021.16-74РТМ 24.021.16-74РТМ 24.021.16-74РТМ 24.021.16-74РТМ 24.021.16-74РТМ 24.021.16-74РТМ 24.021.16-74РТМ 24.021.16-74РТМ 24.021.16-74РТМ 24.021.16-74РТМ 24.021.16-74РТМ 24.021.16-74РТМ 24.021.16-74РТМ 24.021.16-74РТМ 24.021.16-74РТМ 24.021.16-74РТМ 24.021.16-74РТМ 24.021.16-74РТМ 24.021.16-74РТМ 24.021.16-74РТМ 24.021.16-74РТМ 24.021.16-74РТМ 24.021.16-74РТМ 24.021.16-74РТМ 24.021.16-74РТМ 24.021.16-74РТМ 24.021.16-74РТМ 24.021.16-74РТМ 24.021.16-74РТМ 24.021.16-74

© 2013 Ёшкин Кот :-) Карта сайта