Информационная система
«Ёшкин Кот»

Скачать базу одним архивом
Скачать обновления
История создания базы
Карта сайта

Скачать Р 78.36.038-2013 Построение и техническое обслуживание локально-вычислительной сети в пределах пункта централизованной охраны

Дата актуализации: 10.08.2017

Р 78.36.038-2013

Построение и техническое обслуживание локально-вычислительной сети в пределах пункта централизованной охраны

Обозначение: Р 78.36.038-2013
Обозначение англ: R 78.36.038-2013
Статус:действует
Название рус.:Построение и техническое обслуживание локально-вычислительной сети в пределах пункта централизованной охраны
Дата добавления в базу:21.05.2015
Дата актуализации:05.05.2017
Область применения:Рекомендации предназначены для инженерно-технических работников вневедомственной охраны и электромонтеров охранно-пожарной сигнализации
Оглавление:1. Термины и определения
2. Перечень сокращений
3. Введение
4. Концепция построения, назначение и типы сетей
   4.1 Коммуникационное оборудование вычислительных сетей
   4.2 Среды передачи информации
      4.2.1 Кабели на основе витых пар
      4.2.2 Коаксиальные кабели
      4.2.3 Оптоволоконные кабели
      4.2.4 Бескабельные каналы связи
5. Сетевое оборудование и программные средства
   5.1 Уровни сетевой архитектуры
      5.1.1 Аппаратура ЛВС
      5.1.2 Сетевые программные средства
   5.2 Стандартные локальные сети. Сети Ethernet и Fast Ethernet
6. Типовой вариант аппаратно-программной платформы ЛВС
7. Проектирование ЛВС Ethernet на ПЦО
   7.1 Выбор размера сети и ее структуры
   7.2 Выбор оборудования
   7.3 Размещение
   7.4 Электропитание и защитное заземление
   7.5 Грозозащита линий локальной вычислительной сети
   7.6 Пути и методы защиты информации в системах обработки данных
      7.6.1 Пути и методы защиты информации в ЛВС ПЦО
      7.6.2 Основные угрозы ЛВС ПЦО и меры по борьбе с ними
      7.6.3 Пути и средства защиты информации
      7.6.4 Вредоносные программы и борьба с ними
      7.6.5 Использование межсетевого экрана
      7.6.6 Применение технологии трансляции сетевых адресов
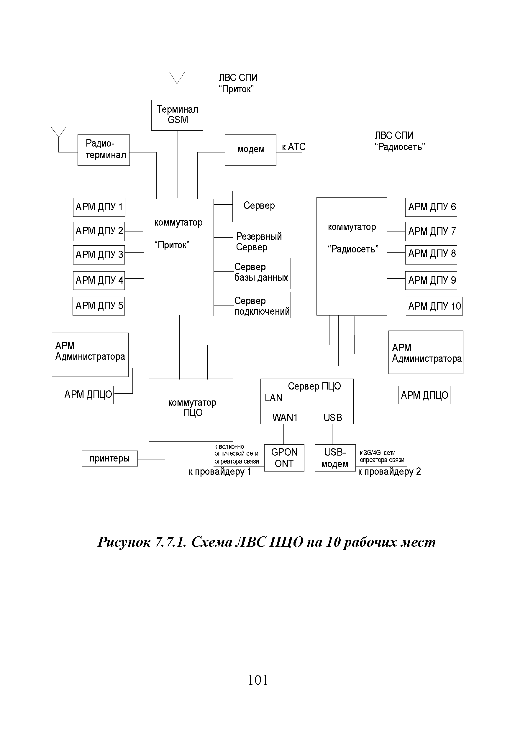
   7.7 Пример проектирования сети ПЦО на 10 рабочих мест
8. Техническое обслуживание и устранение неисправностей ЛВС ПЦО
   8.1 Техническое обслуживание
   8.2 Нормы трудозатрат по техническому обслуживанию и ремонту ЛВС ПЦО
   8.3 Устранение неисправностей ЛВС ПЦО
      8.3.1 Аппаратура для поиска неисправностей в ЛВС и тестирования ЛВС ПЦО
      8.3.2 Программные средства для поиска неисправностей в сети
      8.3.3 Поиск и устранение сбоев в волоконно-оптической линии связи
    8.3.4 Программные средства для поиска неисправностей в ЛВС ПЦО
Приложение А. Стандартные сегменты Ethernet и Fast Ethernet
   А.1 Аппаратура 10ВАSЕ5
   А.2 Аппаратура 10ВАSЕ2
   А.3 Аппаратура 10ВАSЕ-Т
   А.4 Аппаратура 10ВАSЕ-IТ
   А.5 Аппаратура 100ВАSЕ-ТХ.
   А.6 Аппаратура 100ВАSЕ-Т4
   А.7 Аппаратура 100ВАSЕ-FХ
Приложение Б. Прокладывание локальной сети
   Б.1 Прокладывание локальной сети 10ВASE2
   Б.2 Монтаж разъемов ВС
   Б.3 Общая схема подключений
   Б.4 Установка Т-коннекторов
   Б.5 Установка терминаторов
   Б.6 Переходы прямые
   Б.7 Прокладывание локальной сети 10ВASEТ
   Б.8 Общая схема подключений
   Б.9 Монтаж разъемов RJ-45 на кабеле Раth согd
   Б.10 Обжимной инструмент
   Б.11 Защитные колпачки
   Б.12 Разъем RJ-45
   Б.13 Последовательность монтажа разъема
   Б.14 Монтаж сетевых розеток
   Б.15 Монтаж разъема RJ-45 если нет обжимного инструмента
   Б.16 Прямое соединение двух компьютеров по схеме "точка—точка"
Литература
Разработан: ФКУ НИЦ Охрана МВД России
Утверждён:03.12.2013 ГУВО МВД России (Security Guard Service Administration at the Russian Federation Ministry of Internal Affairs )
Издан: ФКУ НИЦ Охрана МВД России (2013 г. )
Расположен в:Техническая документация Экология ОХРАНА ОКРУЖАЮЩЕЙ СРЕДЫ, ЗАЩИТА ЧЕЛОВЕКА ОТ ВОЗДЕЙСТВИЯ ОКРУЖАЮЩЕЙ СРЕДЫ. БЕЗОПАСНОСТЬ Системы аварийной сигнализации и оповещения Строительство Нормативные документы Нормативные документы органов надзора Нормативные документы Государственной противопожарной службы и вневедомственной охраны МВД
Р 78.36.038-2013Р 78.36.038-2013Р 78.36.038-2013Р 78.36.038-2013Р 78.36.038-2013Р 78.36.038-2013Р 78.36.038-2013Р 78.36.038-2013Р 78.36.038-2013Р 78.36.038-2013Р 78.36.038-2013Р 78.36.038-2013Р 78.36.038-2013Р 78.36.038-2013Р 78.36.038-2013Р 78.36.038-2013Р 78.36.038-2013Р 78.36.038-2013Р 78.36.038-2013Р 78.36.038-2013Р 78.36.038-2013Р 78.36.038-2013Р 78.36.038-2013Р 78.36.038-2013Р 78.36.038-2013Р 78.36.038-2013Р 78.36.038-2013Р 78.36.038-2013Р 78.36.038-2013Р 78.36.038-2013Р 78.36.038-2013Р 78.36.038-2013Р 78.36.038-2013Р 78.36.038-2013Р 78.36.038-2013Р 78.36.038-2013Р 78.36.038-2013Р 78.36.038-2013Р 78.36.038-2013Р 78.36.038-2013Р 78.36.038-2013Р 78.36.038-2013Р 78.36.038-2013Р 78.36.038-2013Р 78.36.038-2013Р 78.36.038-2013Р 78.36.038-2013Р 78.36.038-2013Р 78.36.038-2013Р 78.36.038-2013Р 78.36.038-2013Р 78.36.038-2013Р 78.36.038-2013Р 78.36.038-2013Р 78.36.038-2013Р 78.36.038-2013Р 78.36.038-2013Р 78.36.038-2013Р 78.36.038-2013Р 78.36.038-2013Р 78.36.038-2013Р 78.36.038-2013Р 78.36.038-2013Р 78.36.038-2013Р 78.36.038-2013Р 78.36.038-2013Р 78.36.038-2013Р 78.36.038-2013Р 78.36.038-2013Р 78.36.038-2013Р 78.36.038-2013Р 78.36.038-2013Р 78.36.038-2013Р 78.36.038-2013Р 78.36.038-2013Р 78.36.038-2013Р 78.36.038-2013Р 78.36.038-2013Р 78.36.038-2013Р 78.36.038-2013Р 78.36.038-2013Р 78.36.038-2013Р 78.36.038-2013Р 78.36.038-2013Р 78.36.038-2013Р 78.36.038-2013Р 78.36.038-2013Р 78.36.038-2013Р 78.36.038-2013Р 78.36.038-2013Р 78.36.038-2013Р 78.36.038-2013Р 78.36.038-2013Р 78.36.038-2013Р 78.36.038-2013Р 78.36.038-2013Р 78.36.038-2013Р 78.36.038-2013Р 78.36.038-2013Р 78.36.038-2013Р 78.36.038-2013Р 78.36.038-2013Р 78.36.038-2013Р 78.36.038-2013Р 78.36.038-2013Р 78.36.038-2013Р 78.36.038-2013Р 78.36.038-2013Р 78.36.038-2013Р 78.36.038-2013Р 78.36.038-2013Р 78.36.038-2013Р 78.36.038-2013Р 78.36.038-2013Р 78.36.038-2013Р 78.36.038-2013Р 78.36.038-2013Р 78.36.038-2013Р 78.36.038-2013Р 78.36.038-2013Р 78.36.038-2013Р 78.36.038-2013Р 78.36.038-2013Р 78.36.038-2013Р 78.36.038-2013Р 78.36.038-2013Р 78.36.038-2013Р 78.36.038-2013Р 78.36.038-2013Р 78.36.038-2013Р 78.36.038-2013Р 78.36.038-2013Р 78.36.038-2013Р 78.36.038-2013Р 78.36.038-2013Р 78.36.038-2013Р 78.36.038-2013Р 78.36.038-2013Р 78.36.038-2013Р 78.36.038-2013Р 78.36.038-2013Р 78.36.038-2013Р 78.36.038-2013Р 78.36.038-2013Р 78.36.038-2013Р 78.36.038-2013Р 78.36.038-2013Р 78.36.038-2013Р 78.36.038-2013Р 78.36.038-2013Р 78.36.038-2013Р 78.36.038-2013Р 78.36.038-2013Р 78.36.038-2013Р 78.36.038-2013Р 78.36.038-2013Р 78.36.038-2013Р 78.36.038-2013Р 78.36.038-2013Р 78.36.038-2013Р 78.36.038-2013Р 78.36.038-2013Р 78.36.038-2013Р 78.36.038-2013Р 78.36.038-2013Р 78.36.038-2013Р 78.36.038-2013Р 78.36.038-2013Р 78.36.038-2013Р 78.36.038-2013Р 78.36.038-2013Р 78.36.038-2013Р 78.36.038-2013Р 78.36.038-2013Р 78.36.038-2013Р 78.36.038-2013Р 78.36.038-2013Р 78.36.038-2013Р 78.36.038-2013Р 78.36.038-2013Р 78.36.038-2013Р 78.36.038-2013Р 78.36.038-2013Р 78.36.038-2013Р 78.36.038-2013Р 78.36.038-2013Р 78.36.038-2013Р 78.36.038-2013Р 78.36.038-2013Р 78.36.038-2013Р 78.36.038-2013Р 78.36.038-2013Р 78.36.038-2013Р 78.36.038-2013Р 78.36.038-2013Р 78.36.038-2013Р 78.36.038-2013Р 78.36.038-2013Р 78.36.038-2013Р 78.36.038-2013Р 78.36.038-2013Р 78.36.038-2013Р 78.36.038-2013Р 78.36.038-2013Р 78.36.038-2013

© 2013 Ёшкин Кот :-) Карта сайта