Информационная система
«Ёшкин Кот»

Скачать базу одним архивом
Скачать обновления
История создания базы
Карта сайта

Скачать ТТК К-4-22-10 Установка анкерно-угловых двухстоечных железобетонных опор УБ 110-9 и УБ 220-9 автомобильным краном К-162 и трактором

Дата актуализации: 10.08.2017

ТТК К-4-22-10

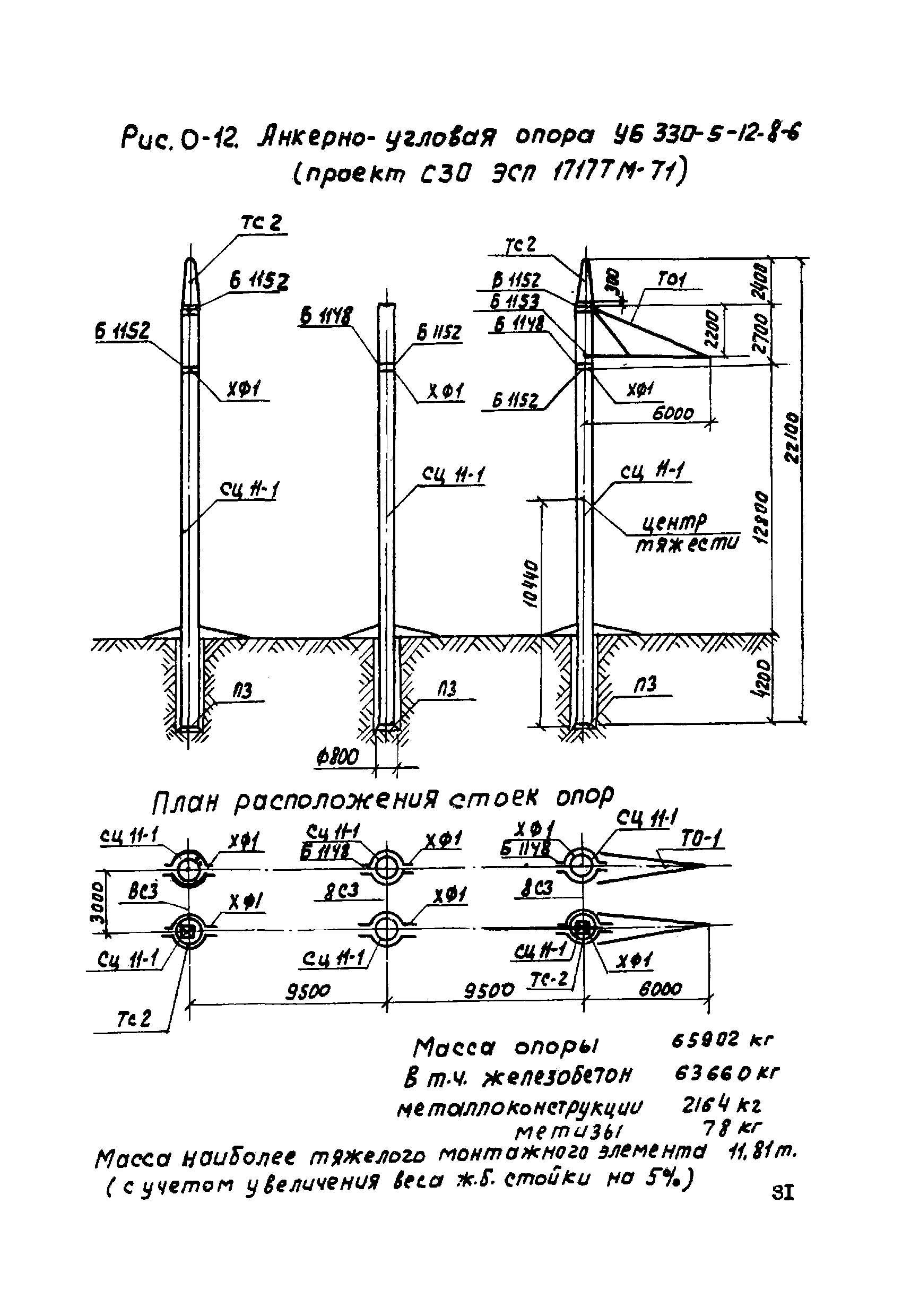
Установка анкерно-угловых двухстоечных железобетонных опор УБ 110-9 и УБ 220-9 автомобильным краном К-162 и трактором

Обозначение: ТТК К-4-22-10
Обозначение англ: К-4-22-10
Статус:не установлен срок действия
Название рус.:Установка анкерно-угловых двухстоечных железобетонных опор УБ 110-9 и УБ 220-9 автомобильным краном К-162 и трактором
Дата добавления в базу:01.10.2014
Дата актуализации:05.05.2017
Область применения:Технологическая карта разработана на установку двухстоечных анкерно-угловых опор УБ 110-9 и УБ 220-9 автомобильным краном К-162 и трактором
Оглавление:1 Область применения
2 Организация и технология строительного процесса
3 Технико-экономические показатели на установку одной опоры
4 Материально-технические ресурсы (для одного звена)
Разработан: Институт Оргэнергострой
Утверждён: Институт Оргэнергострой
Расположен в:Техническая документация Строительство Справочные документы Технологические карты Линии электропередачи
Нормативные ссылки:
ТТК К-4-22-10ТТК К-4-22-10ТТК К-4-22-10ТТК К-4-22-10ТТК К-4-22-10ТТК К-4-22-10ТТК К-4-22-10ТТК К-4-22-10ТТК К-4-22-10ТТК К-4-22-10ТТК К-4-22-10ТТК К-4-22-10ТТК К-4-22-10ТТК К-4-22-10ТТК К-4-22-10ТТК К-4-22-10ТТК К-4-22-10ТТК К-4-22-10ТТК К-4-22-10ТТК К-4-22-10ТТК К-4-22-10ТТК К-4-22-10ТТК К-4-22-10ТТК К-4-22-10ТТК К-4-22-10ТТК К-4-22-10ТТК К-4-22-10ТТК К-4-22-10ТТК К-4-22-10ТТК К-4-22-10ТТК К-4-22-10ТТК К-4-22-10ТТК К-4-22-10ТТК К-4-22-10ТТК К-4-22-10ТТК К-4-22-10ТТК К-4-22-10ТТК К-4-22-10ТТК К-4-22-10ТТК К-4-22-10ТТК К-4-22-10ТТК К-4-22-10ТТК К-4-22-10ТТК К-4-22-10ТТК К-4-22-10ТТК К-4-22-10ТТК К-4-22-10ТТК К-4-22-10ТТК К-4-22-10ТТК К-4-22-10

© 2013 Ёшкин Кот :-) Карта сайта