| ||||||||||||||||||||||||||||||||||||
Скачать ГОСТ 25346-2013 Основные нормы взаимозаменяемости. Характеристики изделий геометрические. Система допусков на линейные размеры. Основные положения, допуски, отклонения и посадкиДата актуализации: 10.08.2017
|
| Обозначение: | ГОСТ 25346-2013 |
| Обозначение англ: | GOST 25346-2013 |
| Статус: | взамен |
| Название рус.: | Основные нормы взаимозаменяемости. Характеристики изделий геометрические. Система допусков на линейные размеры. Основные положения, допуски, отклонения и посадки |
| Название англ.: | Basic norms of interchangeability. Geometrical product specifications. Сode system for tolerances on linear sizes. General provisions, tolerances, deviations and fits |
| Дата добавления в базу: | 21.05.2015 |
| Дата актуализации: | 05.05.2017 |
| Дата введения: | 01.07.2015 |
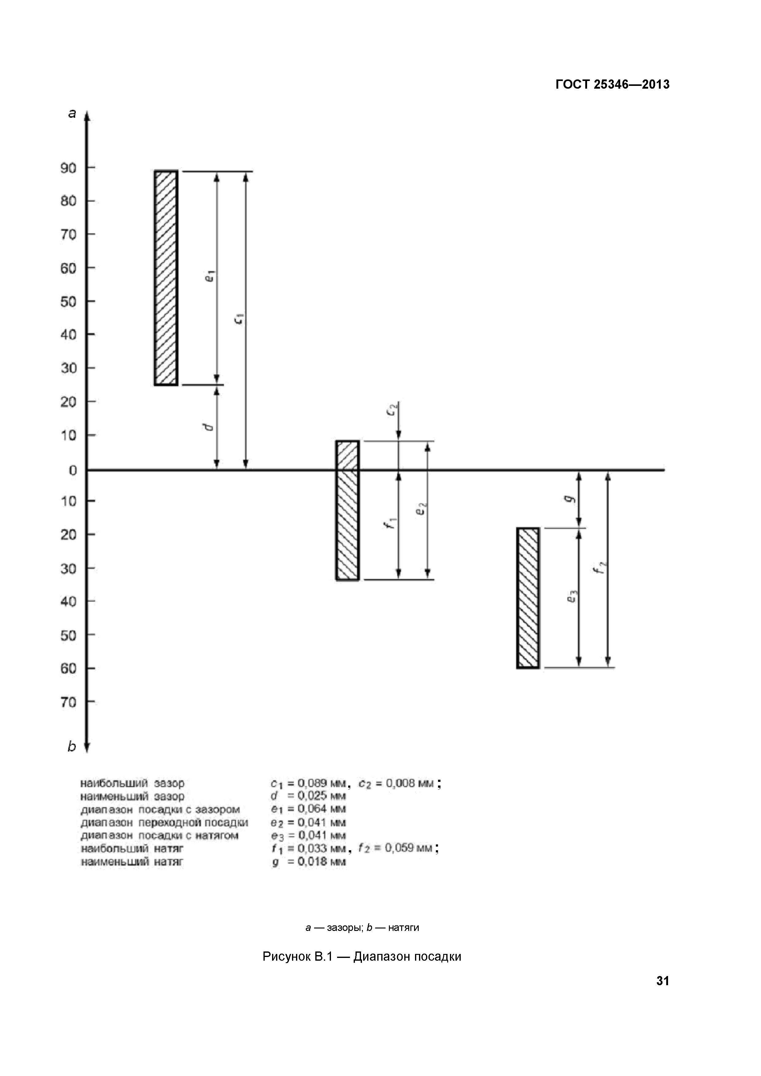
| Область применения: | Стандарт устанавливает систему допусков ИСО на линейные размеры следующих геометрических элементов: a) цилиндр; b) две параллельные противолежащие плоскости. В стандарте изложены основные положения и терминология, относящиеся к этой системе допусков и приведены классы допусков предпочтительного применения. Стандарт также содержит термины и определения, относящиеся к посадкам, образуемым двумя размерными элементами, без ограничения ориентации и месторасположения этих элементов, и поясняет понятия "основной вал" и "основное отверстие". |
| Оглавление: | 1 Область применения 2 Нормативные ссылки 3 Термины и определения 3.1 Основные термины 3.2 Термины, связанные с допусками и отклонениями 3.3 Термины, связанные с посадками 3.4 Термины, связанные с системой посадок ИСО 4 Система допусков ИСО на линейные размеры 4.1 Основные понятия и обозначения 4.2 Обозначение класса допуска (правила написания) 4.3 Определение предельных отклонений (правила прочтения) 5 Система посадок ИСО 5.1 Общие положения 5.2 Общие сведения о посадках 5.3 Выбор посадки Приложение А (справочное) дополнительные сведения о системе допусков и посадок ИСО и устаревшие правила Приложение В (справочное) Примеры определения посадок и классов допуска Приложение Д.А (справочное) Приложение С ИСО 286-1:2010, не включенное в настоящий стандарт Приложение С (справочное) Связь с матричной моделью GPS Приложение Д.Б (справочное) Перечень технических отклонений Библиография |
| Разработан: | ОАО НИИизмерения |
| Утверждён: | 14.11.2013 Межгосударственный Совет по стандартизации, метрологии и сертификации (Inter-Governmental Council on Standardization, Metrology, and Certification 44-2013) 18.02.2014 Федеральное агентство по техническому регулированию и метрологии (28-ст) |
| Издан: | Стандартинформ (2014 г. ) |
| Расположен в: | |
| Заменяет собой: | |
| Нормативные ссылки: |










































