Информационная система
«Ёшкин Кот»

Скачать базу одним архивом
Скачать обновления
История создания базы
Карта сайта

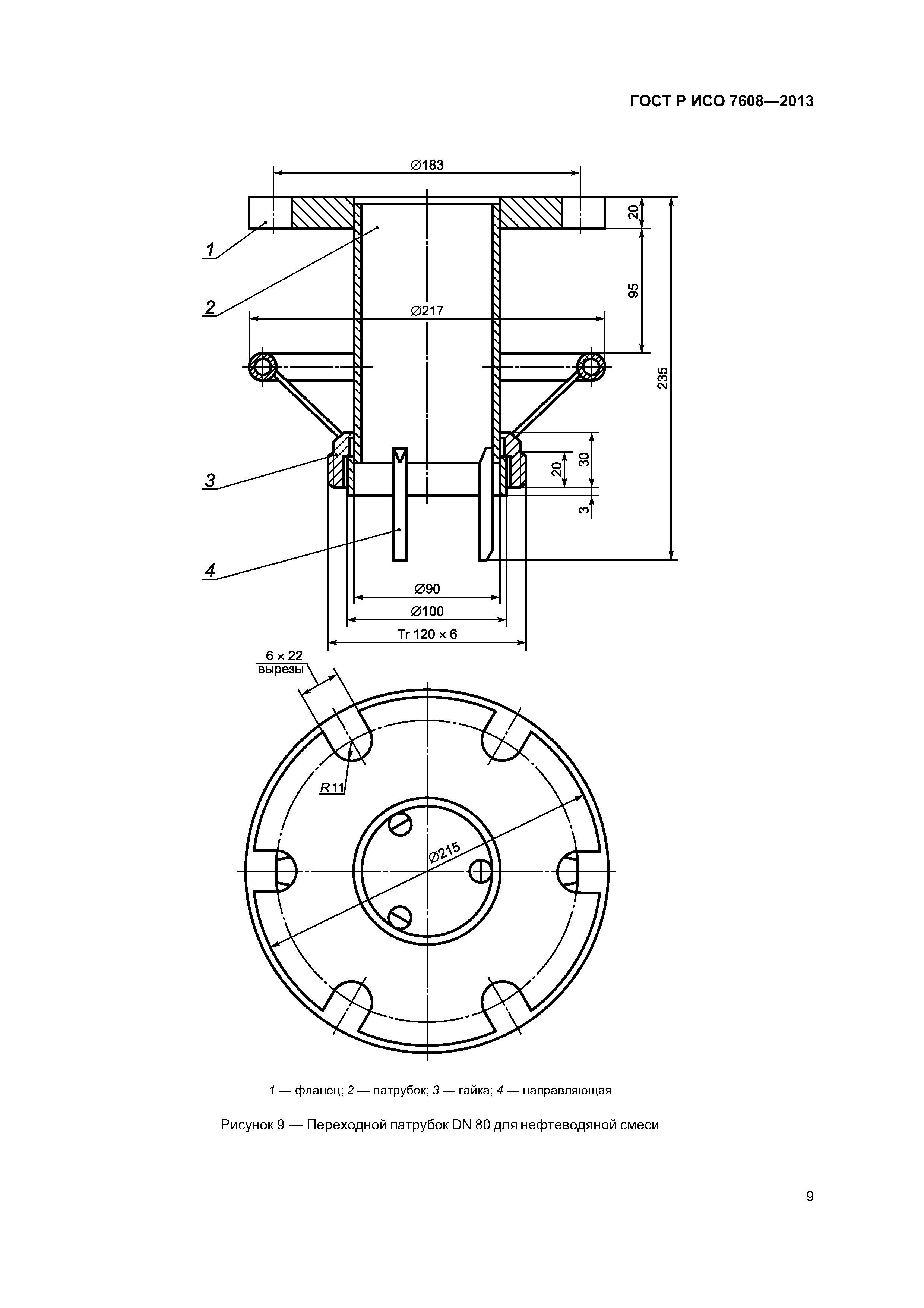
Скачать ГОСТ Р ИСО 7608-2013 Судостроение. Судоходство по внутренним водным путям. Соединения для слива нефтеводяной смеси и сточных вод

Дата актуализации: 10.08.2017

ГОСТ Р ИСО 7608-2013

Судостроение. Судоходство по внутренним водным путям. Соединения для слива нефтеводяной смеси и сточных вод

Обозначение: ГОСТ Р ИСО 7608-2013
Обозначение англ: GOST R ISO 7608-2013
Статус:действует
Название рус.:Судостроение. Судоходство по внутренним водным путям. Соединения для слива нефтеводяной смеси и сточных вод
Название англ.:Shipbuilding. Inland navigation. Couplings for disposal of oily mixture and sewage water
Дата добавления в базу:01.10.2014
Дата актуализации:05.05.2017
Дата введения:01.01.2014
Область применения:Стандарт устанавливает требования Международной конвенции по предотвращению загрязнений с судов (МАРПОЛ 73/78) с поправками.
Оглавление:1 Область применения
2 Нормативные ссылки
3 Классификация
4 Конструкция соединений
   4.1 Фланцевое соединение(тип 1)
   4.2 Быстроразъемное соединение (тип 2)
   4.3 Соединение фланец-наконечник (тип 3)
   4.4 Соединение фланец-втулка (тип4)
5 Технические требования
6 Применяемые материалы
7 Обозначение
Приложение ДА (справочное) Сведения о соответствии ссылочных международных стандартов национальным стандартам Российской Федерации
Разработан: НИИ по стандартизации и сертификации Лот ФГУП ЦНИИ им. акад. А.Н. Крылова
Утверждён:28.08.2013 Федеральное агентство по техническому регулированию и метрологии (657-ст)
Издан: Стандартинформ (2014 г. )
Расположен в:Техническая документация Электроэнергия СУДОСТРОЕНИЕ И МОРСКИЕ СООРУЖЕНИЯ Суда внутренней навигации Судостроение и морские сооружения в целом Системы трубопроводов Экология СУДОСТРОЕНИЕ И МОРСКИЕ СООРУЖЕНИЯ Суда внутренней навигации Судостроение и морские сооружения в целом Системы трубопроводов
ГОСТ Р ИСО 7608-2013ГОСТ Р ИСО 7608-2013ГОСТ Р ИСО 7608-2013ГОСТ Р ИСО 7608-2013ГОСТ Р ИСО 7608-2013ГОСТ Р ИСО 7608-2013ГОСТ Р ИСО 7608-2013ГОСТ Р ИСО 7608-2013ГОСТ Р ИСО 7608-2013ГОСТ Р ИСО 7608-2013ГОСТ Р ИСО 7608-2013ГОСТ Р ИСО 7608-2013ГОСТ Р ИСО 7608-2013ГОСТ Р ИСО 7608-2013ГОСТ Р ИСО 7608-2013ГОСТ Р ИСО 7608-2013ГОСТ Р ИСО 7608-2013ГОСТ Р ИСО 7608-2013ГОСТ Р ИСО 7608-2013

© 2013 Ёшкин Кот :-) Карта сайта