Информационная система
«Ёшкин Кот»

Скачать базу одним архивом
Скачать обновления
История создания базы
Карта сайта

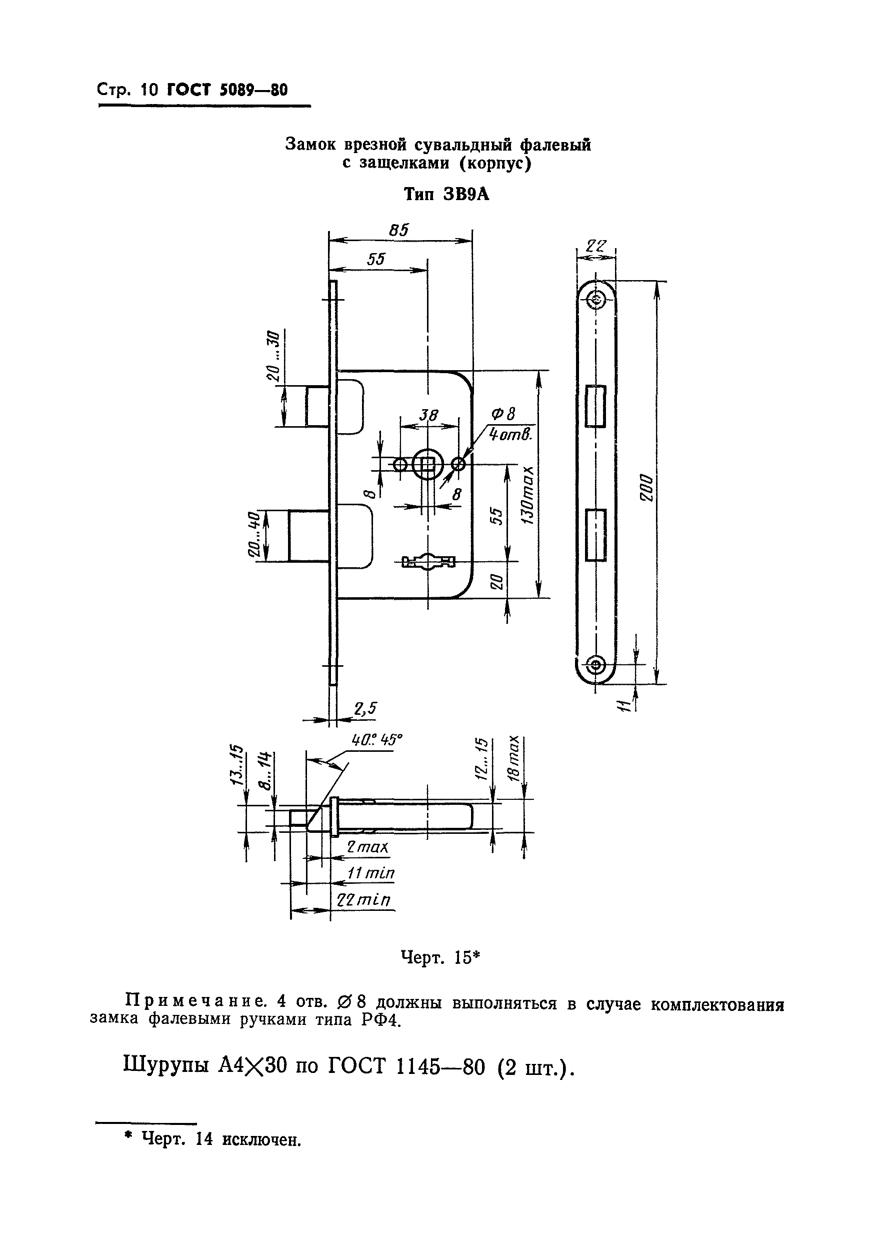
Скачать ГОСТ 5089-80 Замки и защелки для дверей. Типы и основные размеры

Дата актуализации: 10.08.2017

ГОСТ 5089-80

Замки и защелки для дверей. Типы и основные размеры

Обозначение: ГОСТ 5089-80
Обозначение англ: GOST 5089-80
Статус:заменен
Название рус.:Замки и защелки для дверей. Типы и основные размеры
Название англ.:Door locks and latches. Types and basic dimensions
Дата добавления в базу:01.10.2014
Дата актуализации:05.05.2017
Дата введения:01.01.1992
Область применения:Стандарт распространяется на замки и защелки для деревянных дверей, применяемых в массовом строительстве жилых и общественных зданий.
Оглавление:Приложение 1 (обязательное) Цилиндровые механизмы к замкам, фалевые ручки и запорные планки к замкам и защелкам, накладки и заготовки ключей для замков
Приложение 2 (рекомендуемое) Ключ для цилиндрового механизма
Приложение 3 (обязательное) Марки замков и защелок
Разработан: Министерство промышленности строительных материалов СССР
Государственный комитет по гражданскому строительству и архитектуре при Госстрое СССР
Утверждён:29.12.1979 Государственный комитет СССР по делам строительства (251)
Издан: Издательство стандартов (1986 г. )
Расположен в:Техническая документация
Список изменений:
Заменяет собой:
  • ГОСТ 5089-73 «Замки и защелки для дверей. Типы и основные размеры»
Чем заменён:
Нормативные ссылки:
ГОСТ 5089-80ГОСТ 5089-80ГОСТ 5089-80ГОСТ 5089-80ГОСТ 5089-80ГОСТ 5089-80ГОСТ 5089-80ГОСТ 5089-80ГОСТ 5089-80ГОСТ 5089-80ГОСТ 5089-80ГОСТ 5089-80ГОСТ 5089-80ГОСТ 5089-80ГОСТ 5089-80ГОСТ 5089-80ГОСТ 5089-80ГОСТ 5089-80ГОСТ 5089-80ГОСТ 5089-80ГОСТ 5089-80ГОСТ 5089-80ГОСТ 5089-80ГОСТ 5089-80ГОСТ 5089-80ГОСТ 5089-80ГОСТ 5089-80ГОСТ 5089-80ГОСТ 5089-80ГОСТ 5089-80ГОСТ 5089-80ГОСТ 5089-80ГОСТ 5089-80ГОСТ 5089-80ГОСТ 5089-80ГОСТ 5089-80ГОСТ 5089-80ГОСТ 5089-80ГОСТ 5089-80ГОСТ 5089-80ГОСТ 5089-80ГОСТ 5089-80ГОСТ 5089-80ГОСТ 5089-80ГОСТ 5089-80

Текстовое изменение Поправка

Поправка

© 2013 Ёшкин Кот :-) Карта сайта