Информационная система
«Ёшкин Кот»

Скачать базу одним архивом
Скачать обновления
История создания базы
Карта сайта

Скачать МСН 260-71/ММСС СССР Указания по применению и расчету воздуховодов круглого сечения индустриальных конструкций

Дата актуализации: 10.08.2017

МСН 260-71/ММСС СССР

Указания по применению и расчету воздуховодов круглого сечения индустриальных конструкций

Обозначение: МСН 260-71/ММСС СССР
Обозначение англ: MSN 260-71/ММСС СССР
Статус:действует
Название рус.:Указания по применению и расчету воздуховодов круглого сечения индустриальных конструкций
Дата добавления в базу:01.10.2014
Дата актуализации:05.05.2017
Область применения:Указания содержат данные для определения сопротивлений сети, состоящей из унифицированных деталей воздуховодов, изготовляемых организациями ММСС СССР
Оглавление:1. Общая часть
2. Технические характеристики унифицированных деталей
3. Расчет сети
Приложение 1. Размеры прямых участков с ответвлениями
Приложение 2. Размеры шайб переходных
Приложение 3. Размеры отводов
Приложение 4. Коэффициенты сопротивления узла ответвления на режиме всасывания
Приложение 5. Коэффициенты сопротивления узла ответвления на режиме нагнетания
Приложение 6. Пример расчета сети воздуховодов круглого сечения индустриальных конструкций
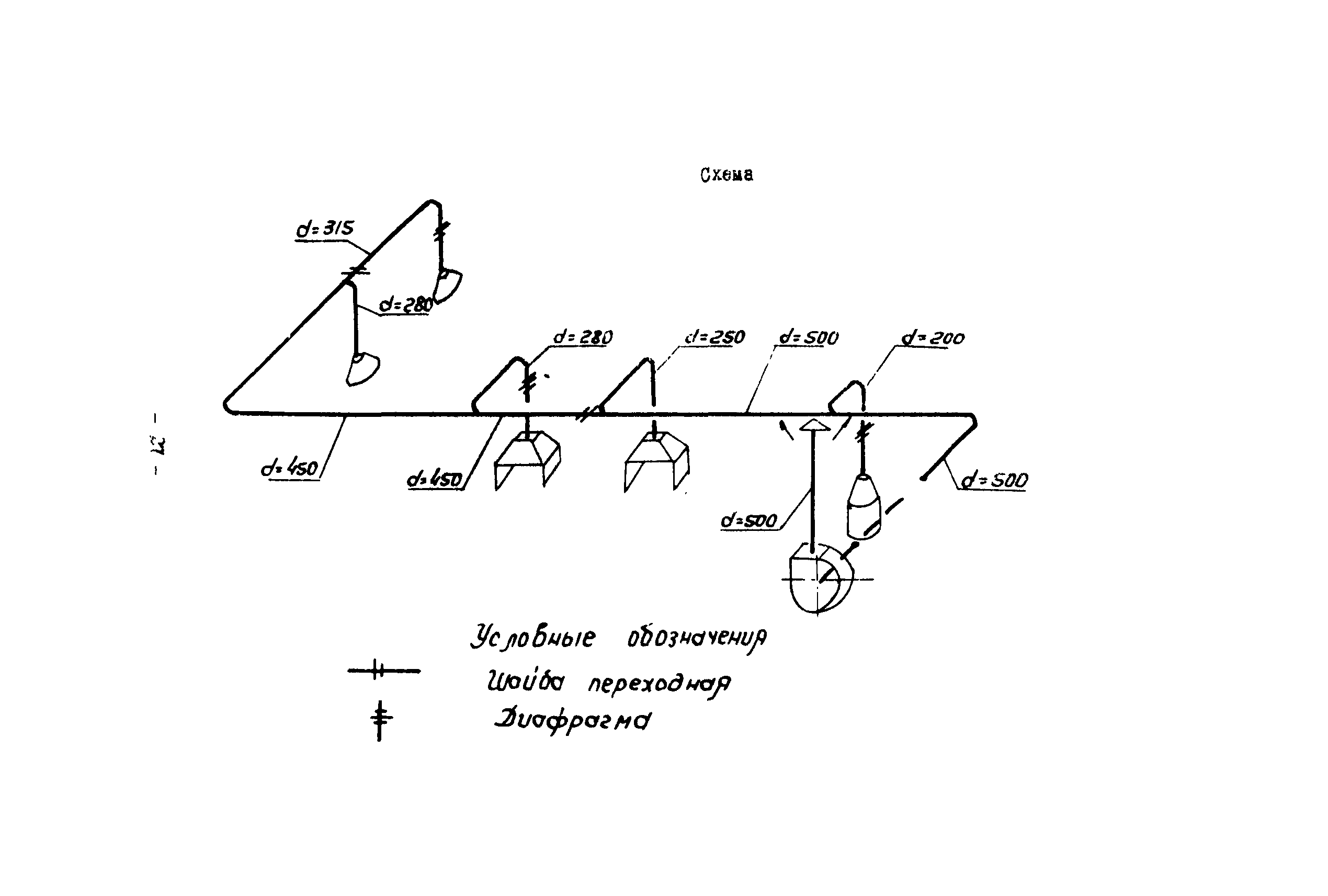
Приложение 7. Пример графического изображения воздуховодов круглого сечения индустриальных конструкций
Разработан: ВНИИГС
Институт Проектпромвентиляция Главсантехмонтажа
Утверждён:29.01.1971 Главмонтажавтоматика Минмонтажспецстроя СССР
Издан: ЦБТИ (1971 г. )
Расположен в:Техническая документация Экология СТРОИТЕЛЬНЫЕ МАТЕРИАЛЫ И СТРОИТЕЛЬСТВО Установки в зданиях Установки в зданиях прочие Строительство Справочные документы Директивные письма, положения, рекомендации и др.
Нормативные ссылки:
МСН 260-71/ММСС СССРМСН 260-71/ММСС СССРМСН 260-71/ММСС СССРМСН 260-71/ММСС СССРМСН 260-71/ММСС СССРМСН 260-71/ММСС СССРМСН 260-71/ММСС СССРМСН 260-71/ММСС СССРМСН 260-71/ММСС СССРМСН 260-71/ММСС СССРМСН 260-71/ММСС СССРМСН 260-71/ММСС СССРМСН 260-71/ММСС СССРМСН 260-71/ММСС СССРМСН 260-71/ММСС СССРМСН 260-71/ММСС СССРМСН 260-71/ММСС СССРМСН 260-71/ММСС СССРМСН 260-71/ММСС СССРМСН 260-71/ММСС СССРМСН 260-71/ММСС СССРМСН 260-71/ММСС СССРМСН 260-71/ММСС СССРМСН 260-71/ММСС СССРМСН 260-71/ММСС СССРМСН 260-71/ММСС СССРМСН 260-71/ММСС СССРМСН 260-71/ММСС СССРМСН 260-71/ММСС СССР

© 2013 Ёшкин Кот :-) Карта сайта