Информационная система
«Ёшкин Кот»

Скачать базу одним архивом
Скачать обновления
История создания базы
Карта сайта

Скачать РД 24.031.121-2012 Оснащение паровых стационарных котлов устройствами для отбора проб пара и воды

Дата актуализации: 10.08.2017

РД 24.031.121-2012

Оснащение паровых стационарных котлов устройствами для отбора проб пара и воды

Обозначение: РД 24.031.121-2012
Обозначение англ: RD 24.031.121-2012
Статус:действует
Название рус.:Оснащение паровых стационарных котлов устройствами для отбора проб пара и воды
Дата добавления в базу:01.10.2014
Дата актуализации:05.05.2017
Область применения:Методические указания являются рекомендуемыми к применению на предприятиях отрасли, занимающихся изготовлением энергетического оборудования, а также на ТЭС и в промышленных котельных.
Оглавление:1. Область применения
2. Нормативные ссылки
3. Обозначения и сокращения
4 Основные нормативные положения
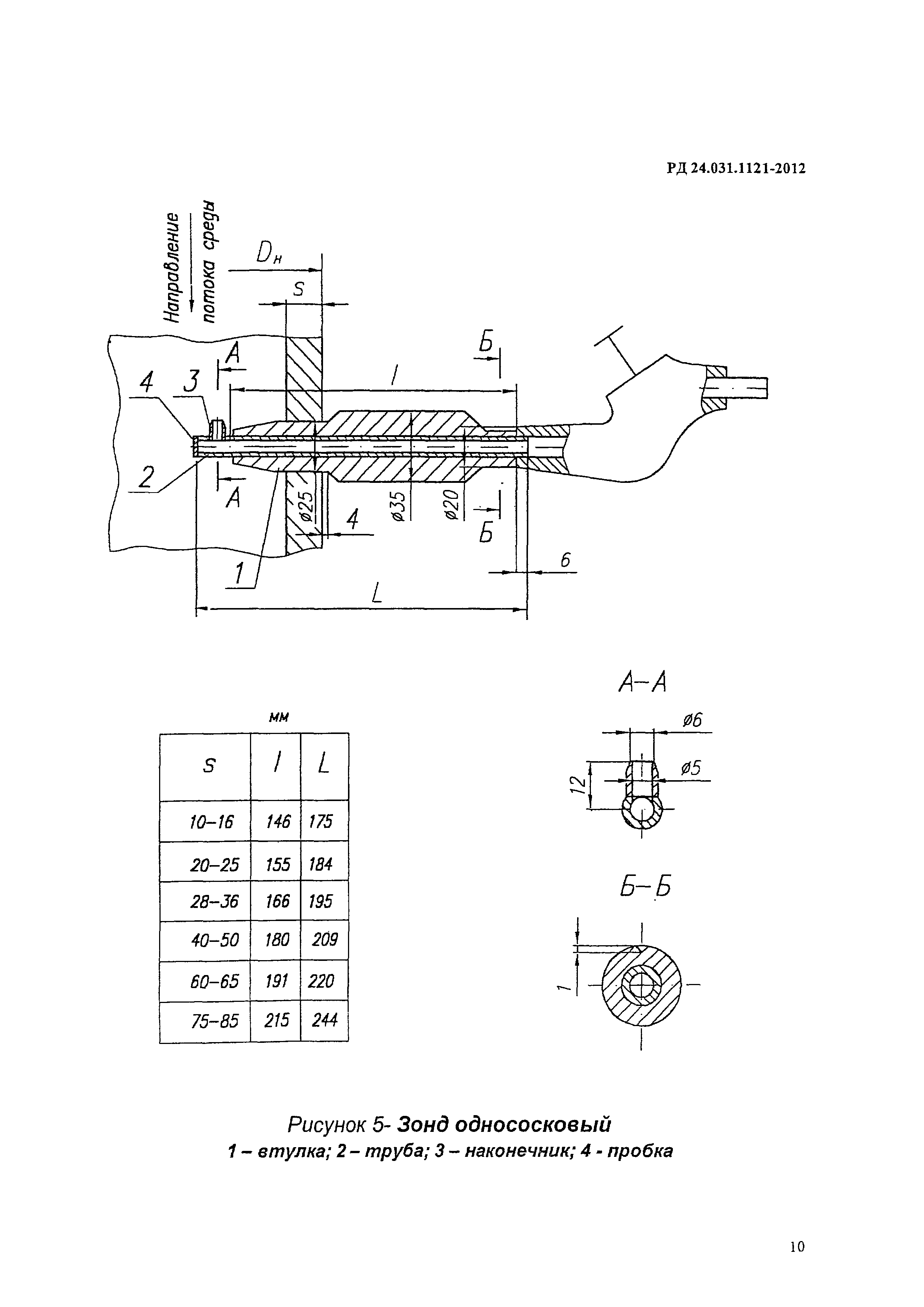
   4.1. Типы и конструкции устройств для отбора проб пара и воды и указания по их установке
   4.2. Оборудование пробоотборных линий
   4.3. Схемы отбора проб пара и воды
Приложение А (обязательное). Методика расчета зонда со смесителем - трубой Вентури
Приложение Б. Методика расчета зонда щелевого со смесителем
Разработан: ОАО НПО ЦКТИ
Утверждён:17.09.2012 ОАО НПО ЦКТИ (330)
Издан: ОАО НПО ЦКТИ (2012 г. )
Расположен в:Техническая документация Экология ЭНЕРГЕТИКА И ТЕПЛОТЕХНИКА Газовые и паровые турбины. Паровые двигатели Строительство Справочные документы Директивные письма, положения, рекомендации и др.
Заменяет собой:
Нормативные ссылки:
РД 24.031.121-2012РД 24.031.121-2012РД 24.031.121-2012РД 24.031.121-2012РД 24.031.121-2012РД 24.031.121-2012РД 24.031.121-2012РД 24.031.121-2012РД 24.031.121-2012РД 24.031.121-2012РД 24.031.121-2012РД 24.031.121-2012РД 24.031.121-2012РД 24.031.121-2012РД 24.031.121-2012РД 24.031.121-2012РД 24.031.121-2012РД 24.031.121-2012РД 24.031.121-2012РД 24.031.121-2012РД 24.031.121-2012РД 24.031.121-2012РД 24.031.121-2012РД 24.031.121-2012РД 24.031.121-2012РД 24.031.121-2012РД 24.031.121-2012РД 24.031.121-2012РД 24.031.121-2012РД 24.031.121-2012РД 24.031.121-2012РД 24.031.121-2012РД 24.031.121-2012РД 24.031.121-2012РД 24.031.121-2012РД 24.031.121-2012РД 24.031.121-2012РД 24.031.121-2012РД 24.031.121-2012РД 24.031.121-2012

© 2013 Ёшкин Кот :-) Карта сайта