Информационная система
«Ёшкин Кот»

Скачать базу одним архивом
Скачать обновления
История создания базы
Карта сайта

Скачать ОСТ 34-42-506-80 Детали и элементы трубопроводов АЭС Ру<=4 МПа (40 кгс/см2). Соединения сварные для измерительных диафрагм Dу от 150 до 1200 мм. Конструкция и размеры

Дата актуализации: 10.08.2017

ОСТ 34-42-506-80

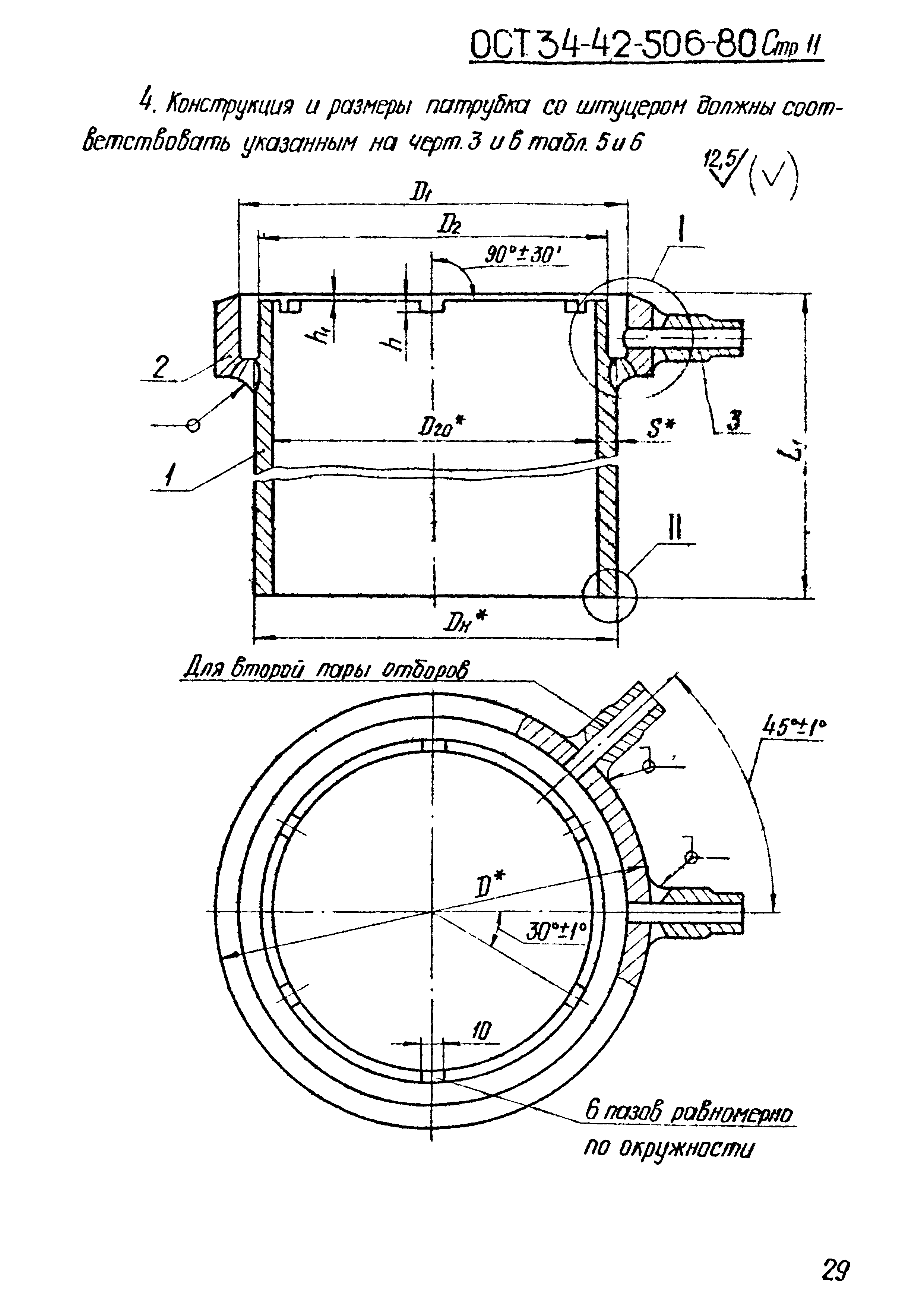
Детали и элементы трубопроводов АЭС Ру<=4 МПа (40 кгс/см2). Соединения сварные для измерительных диафрагм Dу от 150 до 1200 мм. Конструкция и размеры

Обозначение: ОСТ 34-42-506-80
Обозначение англ: OST 34-42-506-80
Статус:не определен законодательством
Название рус.:Детали и элементы трубопроводов АЭС Ру<=4 МПа (40 кгс/см2). Соединения сварные для измерительных диафрагм Dу от 150 до 1200 мм. Конструкция и размеры
Дата добавления в базу:01.10.2014
Дата актуализации:05.05.2017
Дата введения:30.06.2003
Область применения:Стандарт распространяется на сварные соединения для измерительных диафрагм трубопроводов из коррозионностойкой стали атомных электростанций
Разработан: ПТИ Энергомонтажпроект Минэнерго СССР
Утверждён:09.10.1980 Министерство энергетики и электрификации СССР (USSR Ministry of Energy and Electrical Power 340)
Принят: ВГПИ Теплоэлектропроект (Teploelektroproject VGPI )
Главное производственно-техническое управление по строительству Минэнерго СССР
Расположен в:Техническая документация Экология ЭНЕРГЕТИКА И ТЕПЛОТЕХНИКА Атомная энергетика Атомная энергетика, прочие аспекты ГИДРАВЛИЧЕСКИЕ И ПНЕВМАТИЧЕСКИЕ СИСТЕМЫ И КОМПОНЕНТЫ ОБЩЕГО НАЗНАЧЕНИЯ Трубопроводы и их компоненты Чугунные и стальные трубы
Нормативные ссылки:
ОСТ 34-42-506-80ОСТ 34-42-506-80ОСТ 34-42-506-80ОСТ 34-42-506-80ОСТ 34-42-506-80ОСТ 34-42-506-80ОСТ 34-42-506-80ОСТ 34-42-506-80ОСТ 34-42-506-80ОСТ 34-42-506-80ОСТ 34-42-506-80ОСТ 34-42-506-80ОСТ 34-42-506-80ОСТ 34-42-506-80ОСТ 34-42-506-80ОСТ 34-42-506-80ОСТ 34-42-506-80ОСТ 34-42-506-80ОСТ 34-42-506-80ОСТ 34-42-506-80ОСТ 34-42-506-80ОСТ 34-42-506-80ОСТ 34-42-506-80ОСТ 34-42-506-80ОСТ 34-42-506-80

© 2013 Ёшкин Кот :-) Карта сайта