Информационная система
«Ёшкин Кот»

Скачать базу одним архивом
Скачать обновления
История создания базы
Карта сайта

Скачать МУ 4164-86 Методические указания по полярографическому измерению концентраций о- и п-анизидина (п-аминоанизола) в воздухе рабочей зоны

Дата актуализации: 10.08.2017

МУ 4164-86

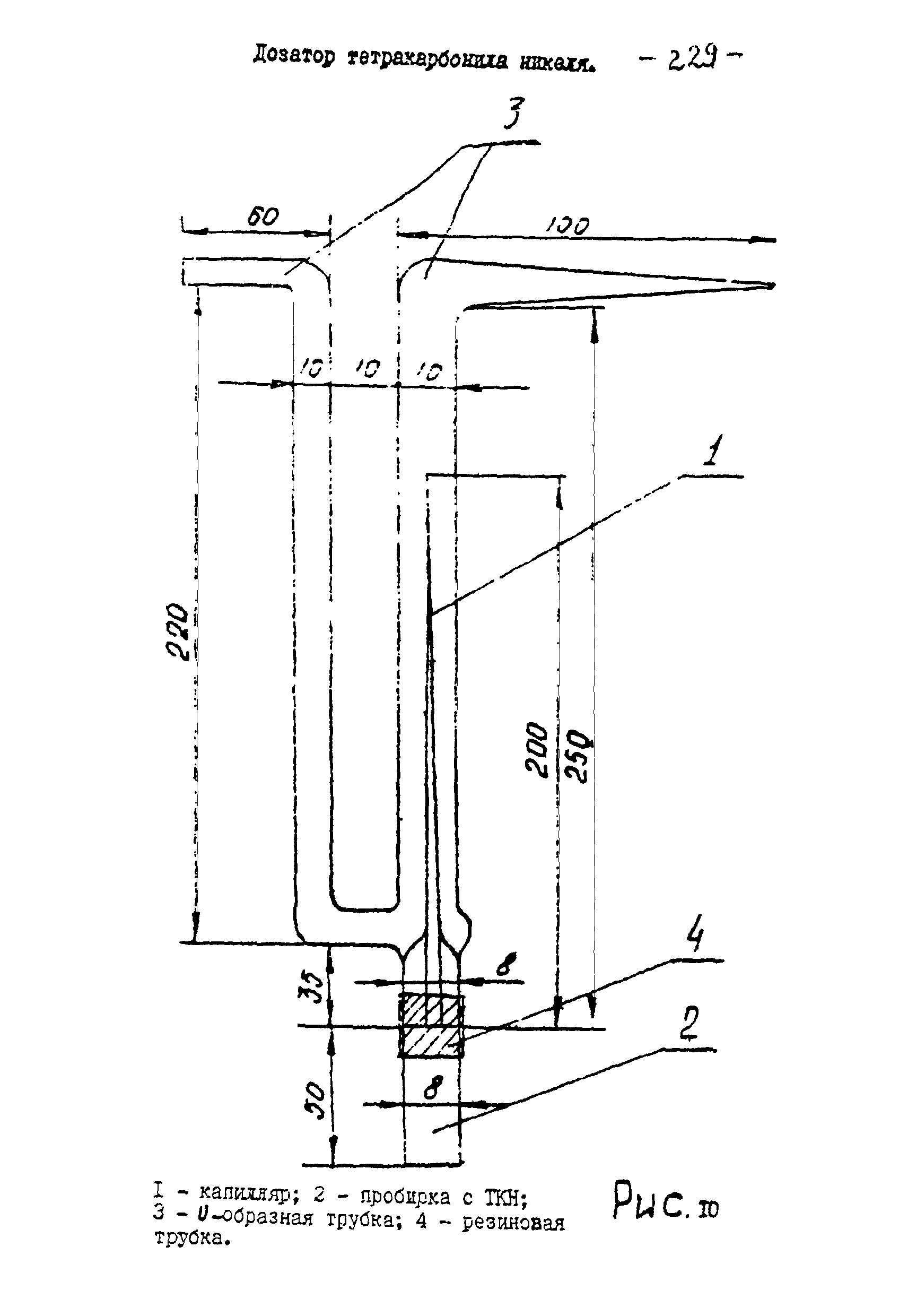
Методические указания по полярографическому измерению концентраций о- и п-анизидина (п-аминоанизола) в воздухе рабочей зоны

Обозначение: МУ 4164-86
Обозначение англ: MU 4164-86
Статус:действует
Название рус.:Методические указания по полярографическому измерению концентраций о- и п-анизидина (п-аминоанизола) в воздухе рабочей зоны
Дата добавления в базу:01.10.2014
Дата актуализации:05.05.2017
Область применения:Методические указания распространяются на измерение содержание вредных веществ в воздухе промышленных помещений при санитарном контроле.
Оглавление:1. Характеристика метода
2. Реактивы, растворы и материалы
3. Приборы и посуда
4. Проведение измерения
Приложение 1. Приведение объема воздуха к стандартным условиям
Приложение 2. Коэффициенты для приведения воздуха к стандартным условиям
Приложение 3. Перечень учреждений, представивших методические указания
Приложение 4. Вещества, определяемые по ранее утвержденным Методическим указаниям
Разработан: Ангарский НИИ ГТиПЗ
Утверждён:06.11.1986 Заместитель Главного государственного санитарного врача СССР
Расположен в:Техническая документация Экология ОХРАНА ОКРУЖАЮЩЕЙ СРЕДЫ, ЗАЩИТА ЧЕЛОВЕКА ОТ ВОЗДЕЙСТВИЯ ОКРУЖАЮЩЕЙ СРЕДЫ. БЕЗОПАСНОСТЬ Качество воздуха Атмосфера рабочей зоны
Нормативные ссылки:
МУ 4164-86МУ 4164-86МУ 4164-86МУ 4164-86МУ 4164-86МУ 4164-86МУ 4164-86МУ 4164-86МУ 4164-86МУ 4164-86МУ 4164-86МУ 4164-86МУ 4164-86МУ 4164-86МУ 4164-86МУ 4164-86МУ 4164-86МУ 4164-86МУ 4164-86МУ 4164-86МУ 4164-86МУ 4164-86МУ 4164-86МУ 4164-86МУ 4164-86МУ 4164-86МУ 4164-86МУ 4164-86МУ 4164-86МУ 4164-86МУ 4164-86МУ 4164-86

© 2013 Ёшкин Кот :-) Карта сайта