| ||||||||||||||||||||||||||||||||||
Скачать ГОСТ 30851.2.2-2002 Соединители электрические бытового и аналогичного назначения. Часть 2-2. Дополнительные требования к вилкам и розеткам для взаимного соединения в приборах и методы испытанийДата актуализации: 10.08.2017
|
| Обозначение: | ГОСТ 30851.2.2-2002 |
| Обозначение англ: | GOST 30851.2.2-2002 |
| Статус: | действует |
| Название рус.: | Соединители электрические бытового и аналогичного назначения. Часть 2-2. Дополнительные требования к вилкам и розеткам для взаимного соединения в приборах и методы испытаний |
| Название англ.: | Appliance couplers for household and similar general purposes. Part 2-2. Particular requirements for interconnection couplers for household and similar equipment. Requirements and methods of tests |
| Дата добавления в базу: | 01.10.2014 |
| Дата актуализации: | 05.05.2017 |
| Дата введения: | 01.01.2014 |
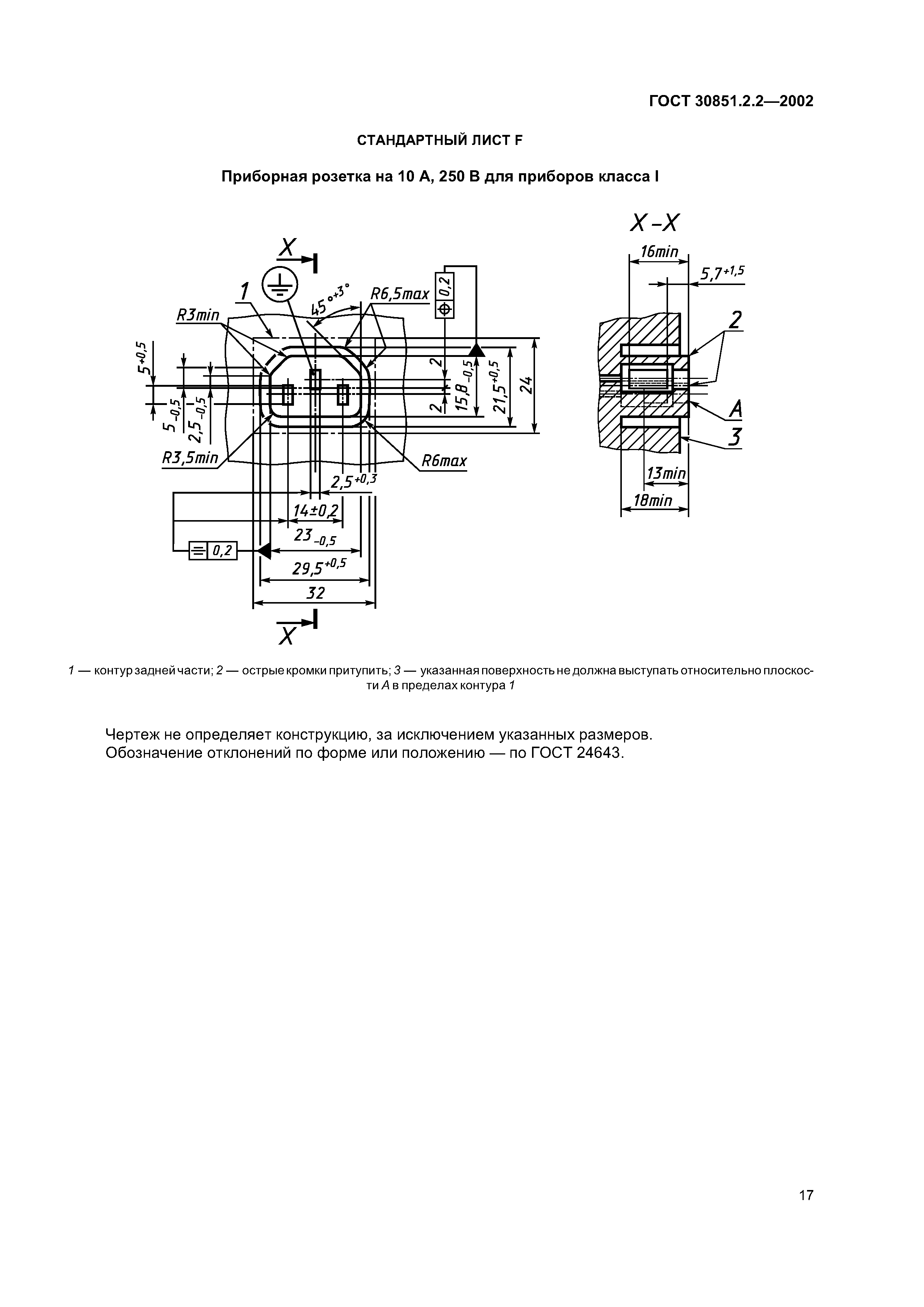
| Область применения: | Стандарт распространяется на вилки и розетки, предназначенные для присоединения гибкого провода с заземляющим контактом к бытовым и аналогичным приборам классов I и II на номинальное напряжение не выше 250 В, номинальный ток не более 16 А и частоту 50 или 60 Гц. |
| Оглавление: | 1 Область применения 2 Нормативные ссылки 3 Определения 4 Общие требования 5 Общие требования к испытаниям 6 Номинальные значения 7 Классификация 8 Маркировка 9 Размеры и их соответствие 10 Защита от поражения электрическим током 11 Заземление 12 Зажимы и выводы 13 Конструкция 14 Влагостойкость 15 Сопротивление и электрическая стойкость изоляции 16 Усилия сочленения и расчленения соединителей 17 Работоспособность контактов 18 Нагревостойкость соединителей, предназначенных для работы при средних и высоких температурах 19 Отключающая способность 20 Нормальные условия эксплуатации 21 Превышение температуры 22 Шнуры и их присоединение 23 Механическая прочность 24 Стойкость к нагреву и старению 25 Винты, токоведущие части и соединения 26 Пути утечки, воздушные зазоры и расстояние по изоляции 27 Теплостойкость, огнестойкость и трекингостойкость 28 Коррозиестойкость Приложение А (обязательное) Дополнительные требования, учитывающие потребности экономики страны и требования государственных стандартов на электротехнические изделия Приложение В (справочное) Библиография |
| Разработан: | АООТ НИИЭлектроаппарат |
| Утверждён: | 06.11.2002 Межгосударственный Совет по стандартизации, метрологии и сертификации (Inter-Governmental Council on Standardization, Metrology, and Certification 22) 15.11.2012 Федеральное агентство по техническому регулированию и метрологии (846-ст) |
| Издан: | Стандартинформ (2013 г. ) |
| Расположен в: | |
| Нормативные ссылки: |
|






























