Скачать ГОСТ Р 54822-2011 Воздухонагреватели газовые бытовые отопительные с принудительной конвекцией и вспомогательным вентилятором горелок с номинальной тепловой мощностью не более 70 кВт. Общие технические требования и методы испытанийДата актуализации: 10.08.2017 ГОСТ Р 54822-2011
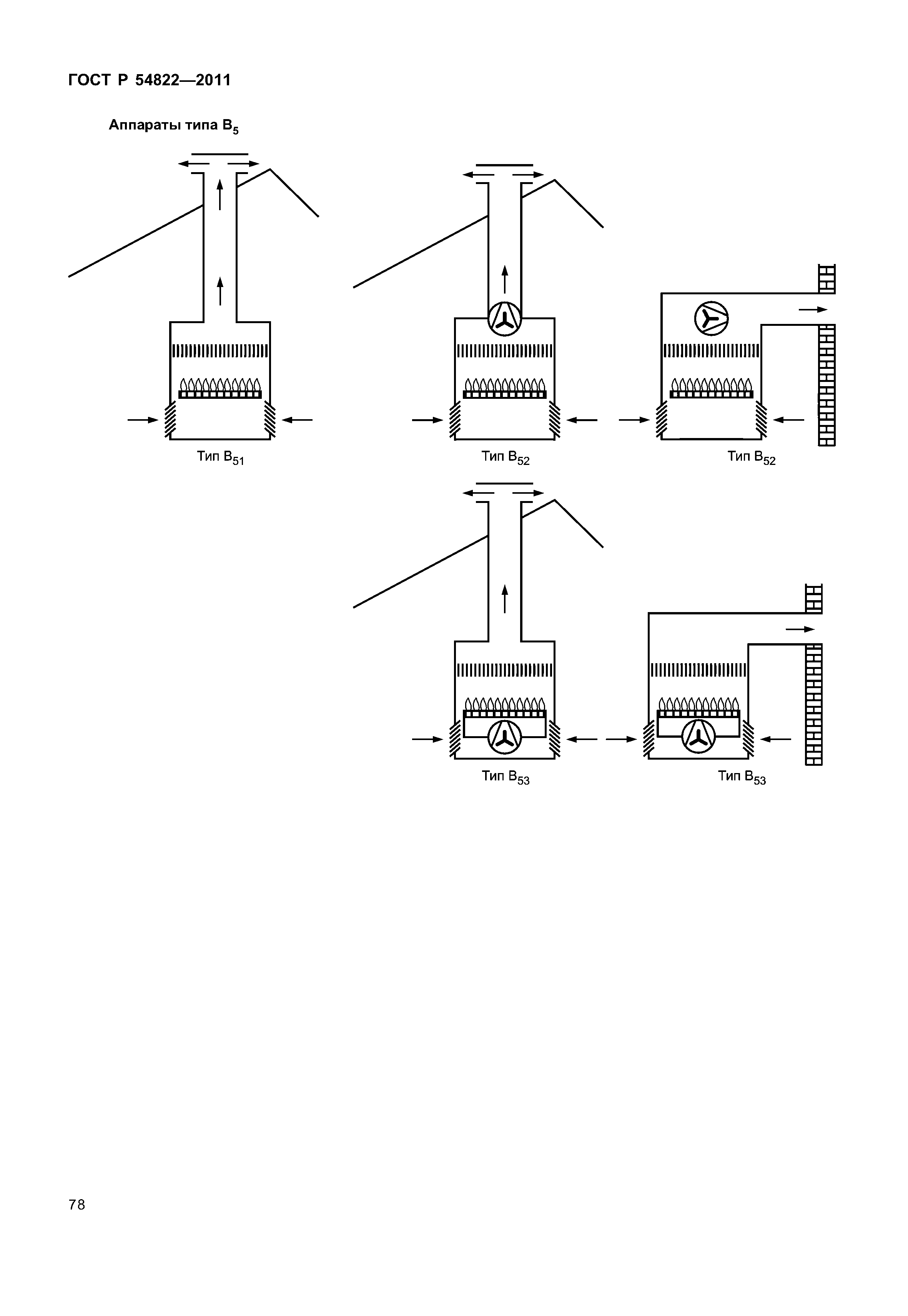
Воздухонагреватели газовые бытовые отопительные с принудительной конвекцией и вспомогательным вентилятором горелок с номинальной тепловой мощностью не более 70 кВт. Общие технические требования и методы испытанийОбозначение: | ГОСТ Р 54822-2011 | Обозначение англ: | GOST R 54822-2011 | Статус: | действует | Название рус.: | Воздухонагреватели газовые бытовые отопительные с принудительной конвекцией и вспомогательным вентилятором горелок с номинальной тепловой мощностью не более 70 кВт. Общие технические требования и методы испытаний | Название англ.: | Domestic gas-fired forced convection air heaters for space heating, with fan-assisted burners not exceeding a net heat input of 70 kW. The general technical requirements and test methods | Дата добавления в базу: | 01.10.2014 | Дата актуализации: | 05.05.2017 | Дата введения: | 01.01.2013 | Область применения: | Стандарт устанавливает требования безопасности и энергоэффективности, методы испытаний бытовых отопительных газовых воздухонагревателей с принудительной конвекцией и вспомогательным вентилятором, обеспечивающим подачу воздуха для горения и/ или отвод продуктов сгорания (далее - аппараты). Стандарт распространяется на аппараты типов B12, B12AS, B12BS, В13, В13АS, B13BS, B14, B14АS, B14BS, B22, B23, B42, B42АS, B42BS, B43, B43АS, B43BS, B44, B44АS, B44BS, B52, B53, C12, C13, C32, C33, C62 и C63 с тепловой мощностью не более 70 кВт, предназначенные для использования, как правило, в одном блоке жилого дома. | Оглавление: | 1 Область применения 2 Нормативные ссылки 3 Термины и определения 3.1 Аппарат и его составные части 3.2 Устройства регулирования, управления и безопасности 3.3 Эксплуатация аппарата 3.4 Газы 3.5 Условия эксплуатации и проведения измерений 3.6 Маркировка аппарата и упаковка 4 Классификация 4.1 Классификация газов 4.2 Классификация в соответствии с используемыми газами 4.3 Классификация в соответствии со способом отвода продуктов сгорания 5 Требования к конструкции и проектированию 5.1 Общие положения 5.2 Устройства регулирования, управления и безопасности 5.3 Устройства зажигания 5.4 Система контроля пламени 5.5 Образование пускового пламени 5.6 Образование основного пламени 5.7 Основная горелка 5.8 Устройство дистанционного управления 5.9 Термостаты и устройства, контролирующие температуру воздуха 5.10 Штуцера для измерения давления газа 6 Эксплуатационные требования 6.1 Безопасность эксплуатации 6.2 Коэффициент полезного действия 7 Методы испытаний 7.1 Общие положения 7.2 Конструкция и проектирование 7.3 Безопасность эксплуатации 7.4 Коэффициент полезного действия 8 Маркировка и руководство по эксплуатации 8.1 Маркировка аппарата 8.2 Маркировка упаковки 8.3 Применение символов для маркировки и упаковки аппарата 8.4 Руководства по эксплуатации Рисунок 1. Примеры типовых схем установки клапанов в газовом тракте Рисунок 2. Система испытательных труб для аппаратов типа С6 Рисунок 3. Система испытательных труб для аппаратов типа С6- положение ограничителя . Рисунок 4. Система испытательных труб для аппаратов типа С6 - конструкция ограничителя Рисунок 5. Стенд для испытания аппарата при ненормальной тяге Рисунок 6. Стенд для испытаний аппаратов типа С1 Рисунок 7. Стенд для испытаний аппаратов типа С3 - плоская крыша Рисунок 8. Стенд для испытаний аппаратов типа С3 - наклонная крыша Рисунок 9. Пробоотборник для аппаратов типа С6 Рисунок 10. Система испытательных труб для аппаратов типа С6 при рециркуляции Рисунок 11. Положения датчиков при проведении испытаний защиты от перегрева Рисунок 12. Аппаратура для испытаний устройства безопасности, контролирующего поступление продуктов сгорания в помещение (аппараты типов В12, В13 и В143) Рисунок 13. Пробоотборник для аппаратов типов В2, В3, В, С32 и С33 с диаметром выпускного отверстия дымохода 100 мм и более Рисунок 14. Положение пробоотборника для аппаратов типов В12, В13, В14, С32и С33 с диаметром выпускного отверстия дымохода 100 мм и более Рисунок 15. Пробоотборник для аппаратов типов В12, В13, В14, С32 и С33 с диаметром выпускного отверстия дымохода менее 100 мм Рисунок 16. Пробоотборник для аппаратов типов С12 и С13 Рисунок 17. Положение пробоотборника для аппаратов типов С12 и С13 Рисунок 18. Средняя удельная теплоемкость сухих продуктов сгорания Приложение А (обязательное) Требования и методы испытаний дымовой трубы для аппаратов типа С6 Приложение В (рекомендуемое) Классификация аппаратов в соответствии с отводом продуктов сгорания Приложение ДА (обязательное) Дополнительные требования к воздухонагревателям газовым бытовым отопительным с принудительной конвекцией и вспомогательным вентилятором горелок с тепловой мощностью не более 70 кВт Приложение ДБ (справочное) Сведения о соответствии ссылочных национальных и межгосударственных стандартов международным и европейским региональным стандартам, использованным в качестве ссылочных в примененном европейском региональном стандарте Библиография | Разработан: | ФГУП ВНИИНМАШ ООО СИЦ ЭТИГАЗ
| Утверждён: | 13.12.2011 Федеральное агентство по техническому регулированию и метрологии (1214-ст)
| Издан: | Стандартинформ (2013 г. )
| Расположен в: |
| Нормативные ссылки: | |
                                                                                    
|