Информационная система
«Ёшкин Кот»

Скачать базу одним архивом
Скачать обновления
История создания базы
Карта сайта

Скачать Часть II Книга 2. Задвижки из углеродистой и коррозионно-стойкой сталей

Дата актуализации: 10.08.2017

Часть II

Книга 2. Задвижки из углеродистой и коррозионно-стойкой сталей

Обозначение: Часть II
Обозначение англ: Часть II
Статус:действует
Название рус.:Книга 2. Задвижки из углеродистой и коррозионно-стойкой сталей
Дата добавления в базу:01.09.2013
Дата актуализации:05.05.2017
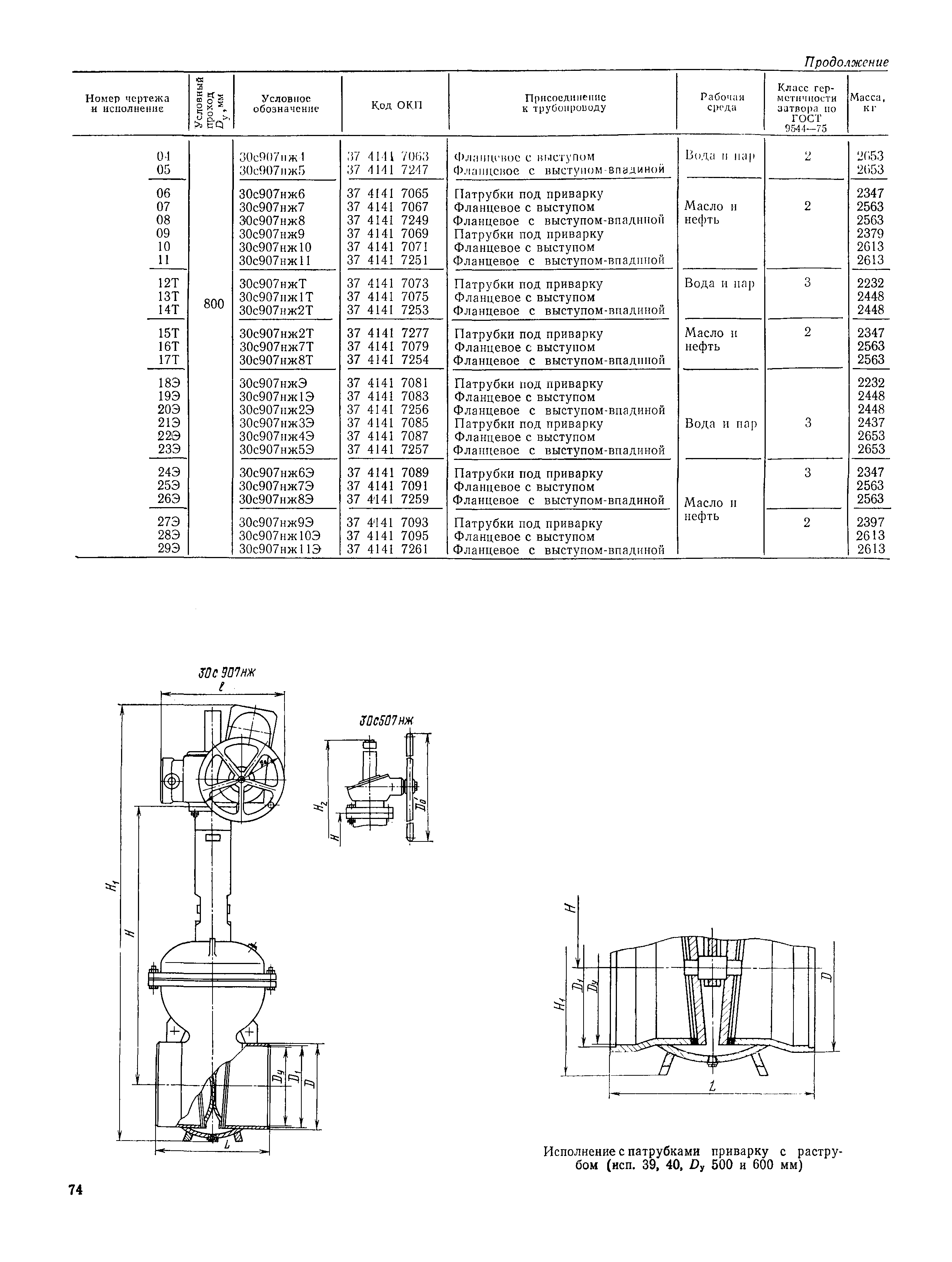
Область применения:Каталог содержит описание серийно изготовляемых задвижек из углеродистой и коррозионно-стойкой сталей. Каталог предназначен для инженерно-технических работников проектных организаций, проектирующих предприятий, на которых применяют промышленную трубопроводную арматуру; предприятий, изготавливающих и эксплуатирующих эту арматуру, а также работников плановых и сбытовых организаций.
Оглавление:Введение
Общие сведения
Задвижки из углеродистой и коррозионно-стойкой сталей
Таблица значений коэффициента гидравлического сопротивления для задвижек
Приложение. Опросный лист
Разработан: ЦКБА
ЦИНТИхимнефтемаш
Утверждён: ЦКБА
Издан: ЦИНТИХИМНЕФТЕМАШ (1990 г. )
Расположен в:Техническая документация Строительство Справочные документы Каталоги
Часть IIЧасть IIЧасть IIЧасть IIЧасть IIЧасть IIЧасть IIЧасть IIЧасть IIЧасть IIЧасть IIЧасть IIЧасть IIЧасть IIЧасть IIЧасть IIЧасть IIЧасть IIЧасть IIЧасть IIЧасть IIЧасть IIЧасть IIЧасть IIЧасть IIЧасть IIЧасть IIЧасть IIЧасть IIЧасть IIЧасть IIЧасть IIЧасть IIЧасть IIЧасть IIЧасть IIЧасть IIЧасть IIЧасть IIЧасть IIЧасть IIЧасть IIЧасть IIЧасть IIЧасть IIЧасть IIЧасть IIЧасть IIЧасть IIЧасть IIЧасть IIЧасть IIЧасть IIЧасть IIЧасть IIЧасть IIЧасть IIЧасть IIЧасть IIЧасть IIЧасть IIЧасть IIЧасть IIЧасть IIЧасть IIЧасть IIЧасть IIЧасть IIЧасть IIЧасть IIЧасть IIЧасть IIЧасть IIЧасть IIЧасть IIЧасть IIЧасть IIЧасть IIЧасть IIЧасть IIЧасть IIЧасть IIЧасть IIЧасть IIЧасть IIЧасть IIЧасть IIЧасть IIЧасть IIЧасть IIЧасть IIЧасть IIЧасть IIЧасть IIЧасть IIЧасть IIЧасть IIЧасть IIЧасть IIЧасть IIЧасть IIЧасть IIЧасть IIЧасть IIЧасть IIЧасть IIЧасть IIЧасть IIЧасть IIЧасть IIЧасть IIЧасть IIЧасть IIЧасть IIЧасть IIЧасть IIЧасть IIЧасть IIЧасть IIЧасть IIЧасть IIЧасть IIЧасть IIЧасть IIЧасть IIЧасть IIЧасть IIЧасть IIЧасть IIЧасть IIЧасть IIЧасть IIЧасть IIЧасть IIЧасть IIЧасть IIЧасть IIЧасть IIЧасть IIЧасть IIЧасть IIЧасть IIЧасть IIЧасть IIЧасть IIЧасть IIЧасть IIЧасть IIЧасть IIЧасть IIЧасть IIЧасть IIЧасть IIЧасть II

© 2013 Ёшкин Кот :-) Карта сайта