Информационная система
«Ёшкин Кот»

Скачать базу одним архивом
Скачать обновления
История создания базы
Карта сайта

Скачать Рекомендации Расчет и конструирование индустриальных конструкций первых нежилых этажей крупнопанельных зданий

Дата актуализации: 10.08.2017

Рекомендации

Расчет и конструирование индустриальных конструкций первых нежилых этажей крупнопанельных зданий

Обозначение: Рекомендации
Обозначение англ: Recommendations
Статус:cправочные материалы, мп, тпр
Название рус.:Расчет и конструирование индустриальных конструкций первых нежилых этажей крупнопанельных зданий
Дата добавления в базу:01.09.2013
Дата актуализации:05.05.2017
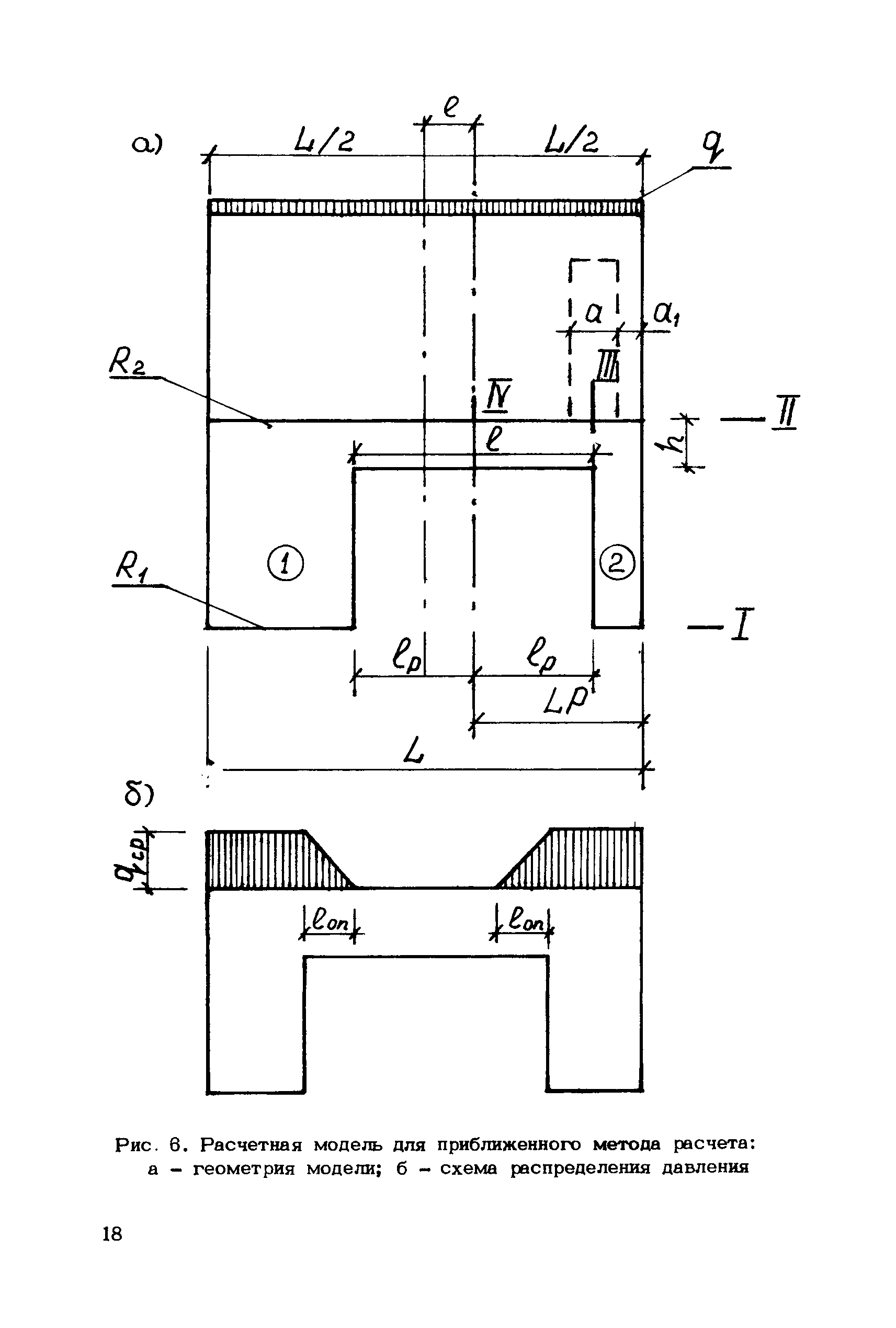
Область применения:В Рекомендациях рассмотрены расчет и конструирование каркасных первых нежилых этажей с переходной конструкцией в виде балочной клетки при соосном и несоосном со стенами типовых этажей расположения колонн в первом этаже в полносборном и сборно-монолитном вариантах. Каркасный вариант с переходной конструкцией в виде сборно-монолитного "стола" наименее экономичен для массового применения не рекомендуется и в данной работе не рассматривается.
Оглавление:Введение
1. Общие положения
2. Область рационального применения индустриальных конструкций первых нежилых этажей
3. Панельные конструкции первых нежилых этажей
   3.1. Конструирование
   3.2. Расчет конструкций
   3.3. Армирование конструкций
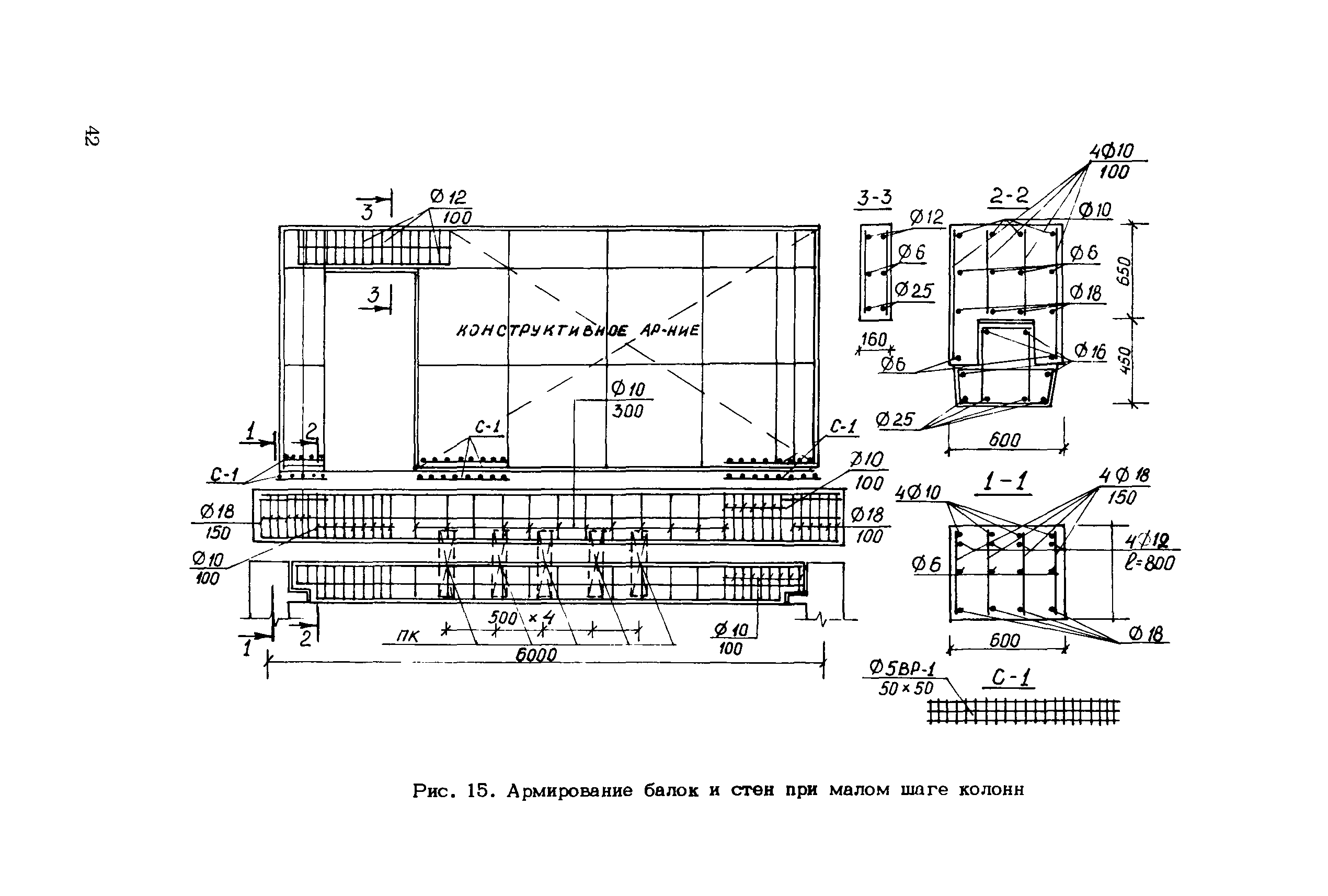
4. Каркасные конструкции первых нежилых этажей
   4.1. Конструирование
   4.2. Расчет конструкций
   4.3. Армирование конструкций
5. Технико-экономическая оценка индустриальных конструкций первых нежилых этажей
Приложение. Примеры расчета
   К разделу 3
   К разделу 4
Литература
Разработан: ЦНИИЭП жилища
Утверждён:27.09.1990 ЦНИИЭП жилища (TsNIIEPzhilishcha 20)
Издан: ЦНИИЭПжилища (1990 г. )
Расположен в:Техническая документация Экология ГРАЖДАНСКОЕ СТРОИТЕЛЬСТВО Гражданское строительство в целом Строительство Справочные документы Директивные письма, положения, рекомендации и др.
Нормативные ссылки:
Рекомендации Рекомендации Рекомендации Рекомендации Рекомендации Рекомендации Рекомендации Рекомендации Рекомендации Рекомендации Рекомендации Рекомендации Рекомендации Рекомендации Рекомендации Рекомендации Рекомендации Рекомендации Рекомендации Рекомендации Рекомендации Рекомендации Рекомендации Рекомендации Рекомендации Рекомендации Рекомендации Рекомендации Рекомендации Рекомендации Рекомендации Рекомендации Рекомендации Рекомендации Рекомендации Рекомендации Рекомендации Рекомендации Рекомендации Рекомендации Рекомендации Рекомендации Рекомендации Рекомендации Рекомендации Рекомендации Рекомендации Рекомендации Рекомендации Рекомендации Рекомендации Рекомендации Рекомендации Рекомендации Рекомендации Рекомендации Рекомендации Рекомендации Рекомендации Рекомендации Рекомендации Рекомендации Рекомендации Рекомендации Рекомендации Рекомендации Рекомендации Рекомендации Рекомендации Рекомендации Рекомендации Рекомендации Рекомендации Рекомендации

© 2013 Ёшкин Кот :-) Карта сайта