Скачать ГОСТ Р ИСО 1496-5-2012 Контейнеры грузовые серии 1. Технические требования и методы испытаний. Часть 5. Контейнеры–платформы и контейнеры на базе платформДата актуализации: 10.08.2017 ГОСТ Р ИСО 1496-5-2012
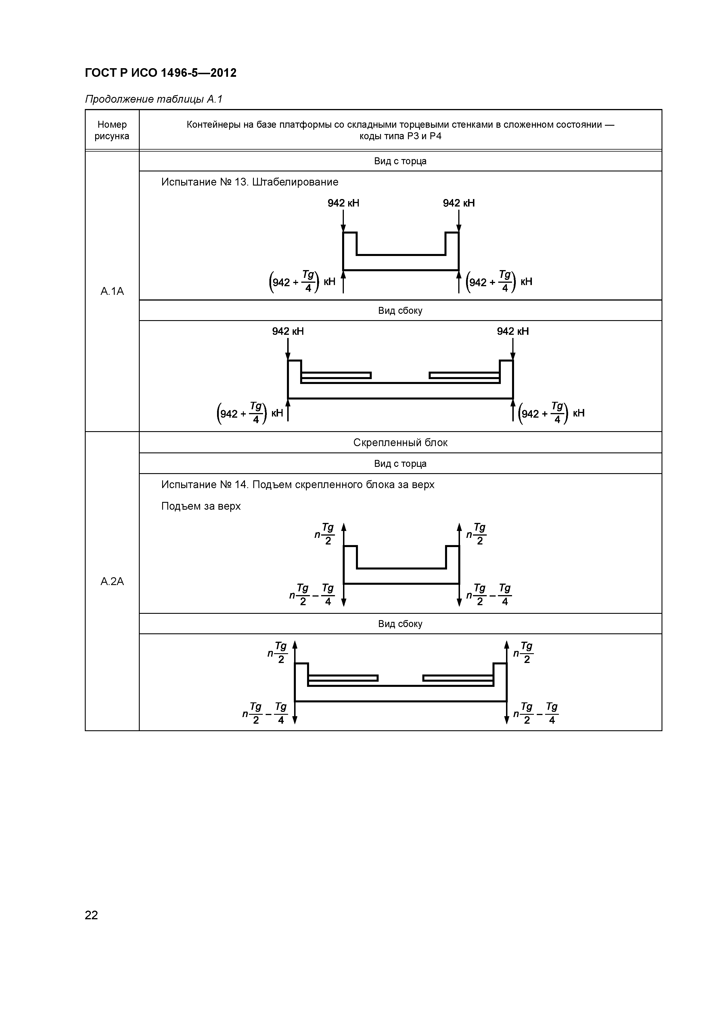
Контейнеры грузовые серии 1. Технические требования и методы испытаний. Часть 5. Контейнеры–платформы и контейнеры на базе платформОбозначение: | ГОСТ Р ИСО 1496-5-2012 | Обозначение англ: | GOST R ISO 1496-5-2012 | Статус: | действует | Название рус.: | Контейнеры грузовые серии 1. Технические требования и методы испытаний. Часть 5. Контейнеры–платформы и контейнеры на базе платформ | Название англ.: | Series 1 freight containers. Specification and testing. Part 5. Platform and platform-based containers | Дата добавления в базу: | 01.10.2014 | Дата актуализации: | 05.05.2017 | Дата введения: | 01.07.2013 | Область применения: | Стандарт распространяется на крупнотоннажные контейнеры-платформы и контейнеры на базе платформ серии 1 ИСО и устанавливает основные технические требования и методы испытаний контейнеров 1ААА, 1АА, 1А, 1АХ, 1ВВВ, 1ВВ, 1В, 1ВХ, 1СС, 1С, 1СХ, предназначенных для международного обмена и перевозки железнодорожным, морским и автомобильным транспортом, включая передачу между этими видами транспорта с определенными ограничениями (например, когда в груженом состоянии контейнеры не должны устанавливаться в штабели или подниматься при помощи обычных спредеров). | Оглавление: | 1 Область применения 2 Нормативные ссылки 3 Термины и определения 4 Размеры и масса 5 Технические требования 5.1 Общие положения 5.2 Пакет складных контейнеров (модуль) со сложенными торцами 5.3 Угловые фитинги 5.4 Конструкция основания 5.5 Торцевая конструкция (только для контейнеров на базе платформ) 5.6 Боковая конструкция (только для контейнеров на базе платформ) 5.7 Стенки и устройства для крепления груза 5.8 Двери 5.9 Требования к факультативным устройствам 6 Испытания 6.1 Общие положения 6.2 Испытание № 1. Штабелирование 6.3 Испытание № 2. Подъем за четыре верхних угловых фитинга 6.4 Испытание № 3. Подъем за четыре нижних угловых фитинга 6.5 Испытание № 4. Жесткость конструкции (продольная) 6.6 Испытание № 5. Прочность торцевых стенок (при наличии) 6.7 Испытание № 6. Прочность крыши (при наличии) 6.8 Испытание № 7. Прочность пола 6.9 Испытание № 8. Жесткость (поперечная) (не распространяется на контейнеры-платформы) 6.10 Испытание № 9. Жесткость (продольная) (не распространяется на контейнеры-платформы) 6.11 Испытание № 10. Подъем с использованием вилочных проемов (при наличии) 6.12 Испытание № 11. Подъем за подхватные устройства в основании контейнера (при наличии) 6.13 Испытание № 12. Водонепроницаемость (где предусмотрено) 7 Испытания контейнеров на базе платформ с неполным верхом в сложенном состоянии (коды типа Р3 и Р4), а также скрепленного блока из таких контейнеров 7.1 Общие положения 7.2 Испытание № 13. Штабелирование (только для кодов типа Р3 и Р4) 7.3 Испытание № 14. Подъем скрепленного блока за верх Приложение А (обязательное) Схематическое изображение мест приложения и значений сил для контейнеров-платформ и на базе платформ Приложение В (обязательное) Требования к опорным (контактным) площадкам в конструкции основания контейнеров Приложение С (обязательное) Размеры вилочных проемов (при наличии) Приложение D (справочное) Размеры пазов и площадок для подхватных устройств в основании контейнера (при наличии) Приложение Е (обязательное) Размеры паза (несквозной тоннель) для установки контейнера на полуприцепе с передней балкой типа «шея гуся (при наличии) Приложение F (обязательное) Системы крепления для платформ и контейнеров на базе платформ Приложение G (справочное) Размеры существующих контейнеров на базе платформ (1СС, 1С и 1СХ) (типы кодов с Р1 по Р4) для перевозки малых мультимодальных контейнеров Приложение ДА (справочное) Сведения о соответствии ссылочных международных стандартов ссылочным национальным стандартам Российской Федерации | Разработан: | ЗАО ПромтрансНИИпроект
| Утверждён: | 19.09.2012 Федеральное агентство по техническому регулированию и метрологии (366-ст)
| Издан: | Стандартинформ
| Расположен в: |
| Нормативные ссылки: | |
                                     
|