Информационная система
«Ёшкин Кот»

Скачать базу одним архивом
Скачать обновления
История создания базы
Карта сайта

Скачать Рекомендации по проектированию крупнопанельных зданий для сейсмических районов

Дата актуализации: 10.08.2017

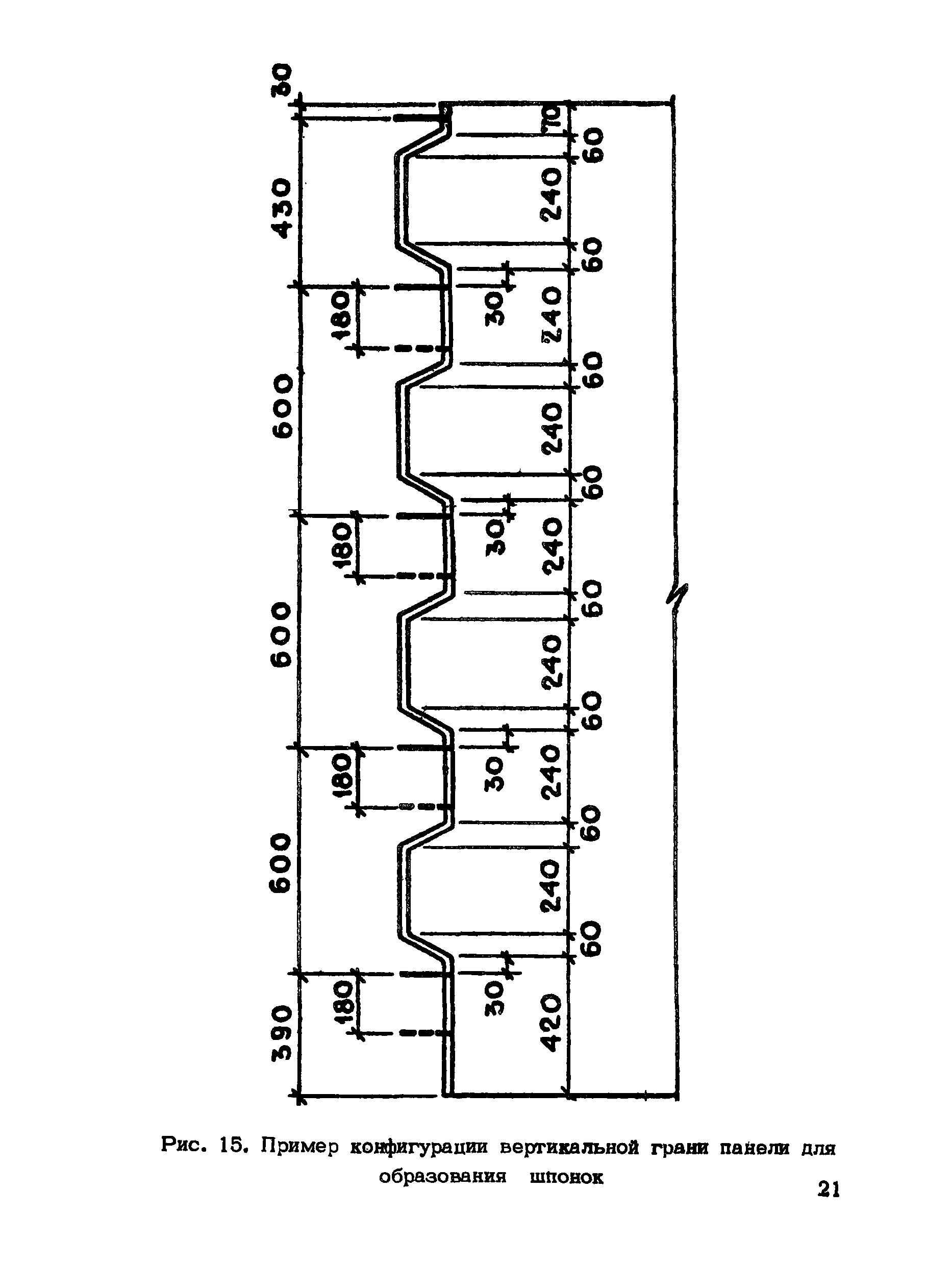
Рекомендации по проектированию крупнопанельных зданий для сейсмических районов

Статус:cправочные материалы, мп, тпр
Название рус.:Рекомендации по проектированию крупнопанельных зданий для сейсмических районов
Дата добавления в базу:01.09.2013
Дата актуализации:05.05.2017
Область применения:Рекомендации предназначены для проектирования крупнопанельных жилых зданий в сейсмических районах
Оглавление:1. Общие положения
2. Типизация объемно-планировочных решений крупнопанельных зданий для сейсмических районов
3. Конструкции подземной части здания
4. Стены
5. Перекрытия
6. Стыки и связи
Разработан: ЦНИИЭП жилища
Утверждён: ЦНИИЭП жилища (TsNIIEPzhilishcha )
Издан: ЦНИИЭПжилища (1985 г. )
Расположен в:Техническая документация Экология СТРОИТЕЛЬНЫЕ МАТЕРИАЛЫ И СТРОИТЕЛЬСТВО Строительство Общественные здания Строительство Справочные документы Директивные письма, положения, рекомендации и др.

© 2013 Ёшкин Кот :-) Карта сайта