Информационная система
«Ёшкин Кот»

Скачать базу одним архивом
Скачать обновления
История создания базы
Карта сайта

Скачать Раздел 8 Технологическая часть

Дата актуализации: 10.08.2017

Раздел 8

Технологическая часть

Обозначение: Раздел 8
Обозначение англ: Раздел 8
Статус:действует
Название рус.:Технологическая часть
Дата добавления в базу:01.09.2013
Дата актуализации:05.05.2017
Область применения:Инструкция устанавливает состав и правила оформления рабочих чертежей технологической части проектов общественных зданий и сооружений, а также встроенно-пристроенных в жилые здания предприятий общественного обслуживания
Оглавление:1. Область применения
2. Состав основного комплекта рабочих чертежей и общие правила их оформления
3. Общие данные (заглавный лист). Спецификация
4. Планы
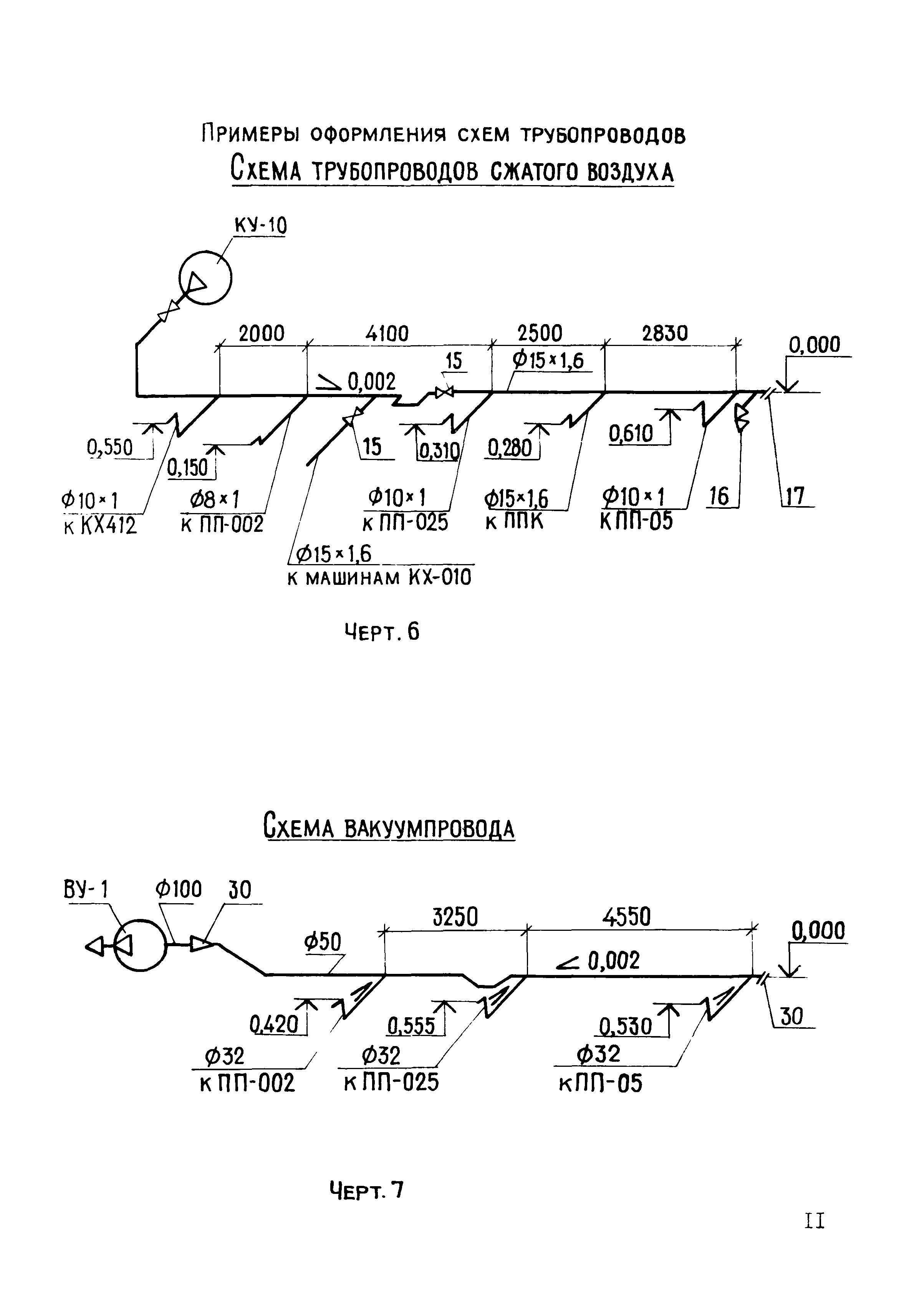
5. Планы и схемы технологических трубопроводов
6. Планы мест подвода инженерных коммуникаций к технологическому оборудованию
7. Чертежи общих видов нетиповых конструкций и нестандартного оборудования
Приложение 1. Перечень введенных в действие и утвержденных стандартов Системы проектной документации для строительства (CGLC) и стандартов ЕСКД с условными графическими обозначениями электрооборудования
Разработан: ЦНИИЭП жилища
Утверждён:08.08.1979 Государственный комитет по гражданскому строительству и архитектуре при Госстрое СССР (171)
Принят:23.05.1979 Отдел типового проектирования и организации проектно-изыскательских работ Госстроя СССР (2/2-194)
Расположен в:Техническая документация Строительство Нормативные документы Документы Системы нормативных документов в строительстве Организационно-методические нормативные документы к.11 Инженерные изыскания для строительства и проектирование
Нормативные ссылки:
Раздел 8Раздел 8Раздел 8Раздел 8Раздел 8Раздел 8Раздел 8Раздел 8Раздел 8Раздел 8Раздел 8Раздел 8Раздел 8Раздел 8Раздел 8Раздел 8Раздел 8Раздел 8Раздел 8Раздел 8Раздел 8Раздел 8

© 2013 Ёшкин Кот :-) Карта сайта