Информационная система
«Ёшкин Кот»

Скачать базу одним архивом
Скачать обновления
История создания базы
Карта сайта

Скачать МУ 1587-77 Методические указания на фотометрическое определение орто- и пара-толуидина в воздухе

Дата актуализации: 10.08.2017

МУ 1587-77

Методические указания на фотометрическое определение орто- и пара-толуидина в воздухе

Обозначение: МУ 1587-77
Обозначение англ: MU 1587-77
Статус:действует
Название рус.:Методические указания на фотометрическое определение орто- и пара-толуидина в воздухе
Дата добавления в базу:01.10.2014
Дата актуализации:05.05.2017
Область применения:Методические указания распространяются на определение содержания вредных веществ в воздухе промышленных помещений при санитарном контроле
Оглавление:1. Общая часть
2. Реактивы и аппаратура
3. Отбор пробы воздуха
4. Описание определения
Приложение 1. Приведение объема воздуха к стандартным условиям
Приложение 2. Коэффициенты для приведения объема воздуха у стандартным условиям
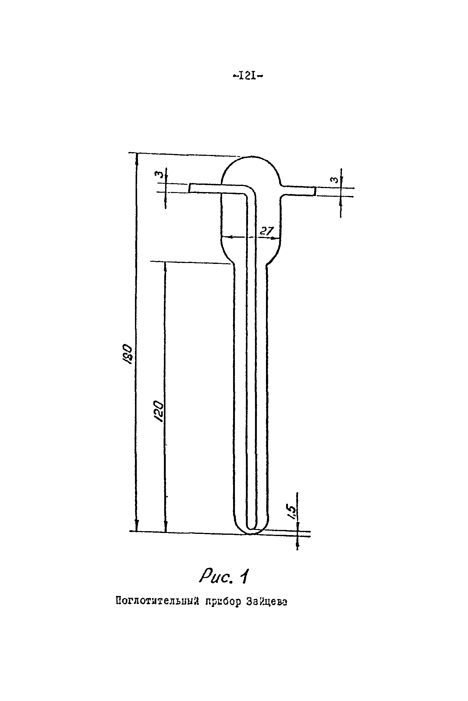
Приложение 3. Поглотительные приборы и дозирующее устройство
Приложение 4. Перечень учреждений, представивших методические указания в данный сборник
Утверждён:31.01.1977 Заместитель Главного государственного санитарного врача СССР
Расположен в:Техническая документация Экология ОХРАНА ОКРУЖАЮЩЕЙ СРЕДЫ, ЗАЩИТА ЧЕЛОВЕКА ОТ ВОЗДЕЙСТВИЯ ОКРУЖАЮЩЕЙ СРЕДЫ. БЕЗОПАСНОСТЬ Качество воздуха Атмосфера рабочей зоны
Нормативные ссылки:
МУ 1587-77МУ 1587-77МУ 1587-77МУ 1587-77МУ 1587-77МУ 1587-77МУ 1587-77МУ 1587-77МУ 1587-77МУ 1587-77МУ 1587-77МУ 1587-77МУ 1587-77МУ 1587-77МУ 1587-77МУ 1587-77МУ 1587-77МУ 1587-77МУ 1587-77МУ 1587-77МУ 1587-77МУ 1587-77МУ 1587-77МУ 1587-77МУ 1587-77МУ 1587-77МУ 1587-77

© 2013 Ёшкин Кот :-) Карта сайта