Информационная система
«Ёшкин Кот»

Скачать базу одним архивом
Скачать обновления
История создания базы
Карта сайта

Скачать ГОСТ 21.601-2011 Система проектной документации для строительства. Правила выполнения рабочей документации внутренних систем водоснабжения и канализации

Дата актуализации: 10.08.2017

ГОСТ 21.601-2011

Система проектной документации для строительства. Правила выполнения рабочей документации внутренних систем водоснабжения и канализации

Обозначение: ГОСТ 21.601-2011
Обозначение англ: GOST 21.601-2011
Статус:действует
Название рус.:Система проектной документации для строительства. Правила выполнения рабочей документации внутренних систем водоснабжения и канализации
Название англ.:System of design documents for construction. Rules for execution of working documents of internal water and sewerage systems
Дата добавления в базу:01.10.2014
Дата актуализации:05.05.2017
Дата введения:01.05.2013
Область применения:Стандарт устанавливает состав и правила оформления рабочей документации внутренних систем водоснабжения (в том числе бытового горячего водоснабжения) и канализации зданий и сооружений различного назначения. Стандарт не распространяется на правила оформления технологической рабочей документации сооружений водоподготовки и очистки сточных вод.
Оглавление:1 Область применения
2 Нормативные ссылки
3 Термины и определения
4 Общие положения
5 Общие данные по рабочим чертежам
6 Чертежи систем
   6.1 Планы систем
   6.2 Схемы систем
7 Чертежи установок систем
8 Эскизные чертежи общих видов нетиповых изделий
9 Спецификация оборудования, изделий и материалов
10 Опросные листы и габаритные чертежи
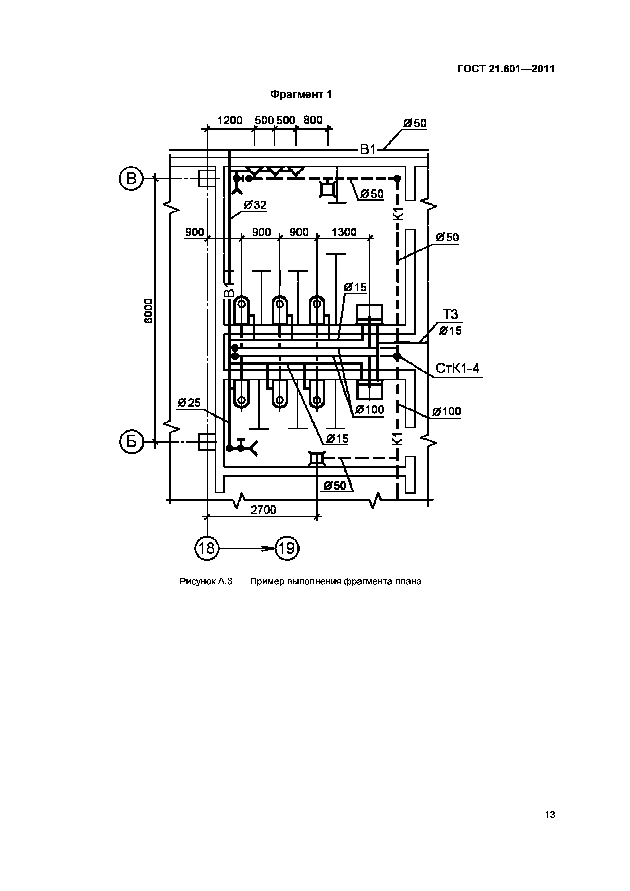
Приложение А (справочное) Примеры выполнения планов систем
Приложение Б (справочное) Примеры выполнения схем систем
Приложение В (справочное) Примеры выполнения планов и разрезов установок систем
Приложение Г (справочное) Пример выполнения схемы установки
Приложение Д (справочное) Пример выполнения спецификации установки системы
Разработан: ОАО ЦНС
Утверждён:08.12.2011 МНТКС (MNTKS 39)
11.10.2012 Федеральное агентство по техническому регулированию и метрологии (482-ст)
Издан: Стандартинформ (2013 г. )
Расположен в:Техническая документация Электроэнергия ОБЩИЕ ПОЛОЖЕНИЯ. ТЕРМИНОЛОГИЯ. СТАНДАРТИЗАЦИЯ. ДОКУМЕНТАЦИЯ Технические чертежи Строительные чертежи Экология ОБЩИЕ ПОЛОЖЕНИЯ. ТЕРМИНОЛОГИЯ. СТАНДАРТИЗАЦИЯ. ДОКУМЕНТАЦИЯ Технические чертежи Строительные чертежи Строительство Нормативные документы Документы Системы нормативных документов в строительстве Организационно-методические нормативные документы к.11 Инженерные изыскания для строительства и проектирование
Заменяет собой:
Нормативные ссылки:
ГОСТ 21.601-2011ГОСТ 21.601-2011ГОСТ 21.601-2011ГОСТ 21.601-2011ГОСТ 21.601-2011ГОСТ 21.601-2011ГОСТ 21.601-2011ГОСТ 21.601-2011ГОСТ 21.601-2011ГОСТ 21.601-2011ГОСТ 21.601-2011ГОСТ 21.601-2011ГОСТ 21.601-2011ГОСТ 21.601-2011ГОСТ 21.601-2011ГОСТ 21.601-2011ГОСТ 21.601-2011ГОСТ 21.601-2011ГОСТ 21.601-2011ГОСТ 21.601-2011ГОСТ 21.601-2011ГОСТ 21.601-2011ГОСТ 21.601-2011ГОСТ 21.601-2011ГОСТ 21.601-2011

© 2013 Ёшкин Кот :-) Карта сайта