Информационная система
«Ёшкин Кот»

Скачать базу одним архивом
Скачать обновления
История создания базы
Карта сайта

Скачать Типовой проект 903-1-289.91 Альбом 1. Пояснительная записка

Дата актуализации: 10.08.2017

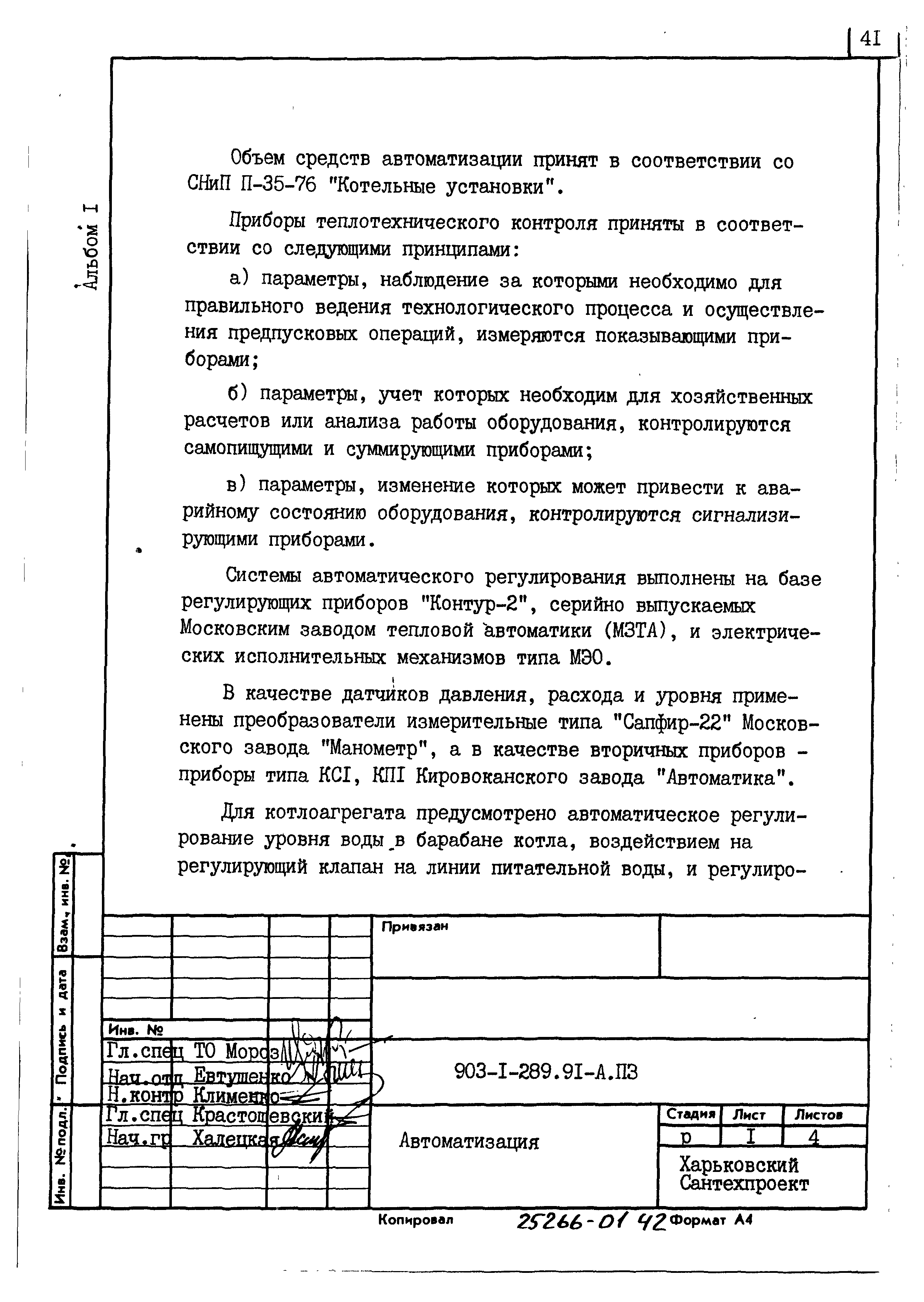
Типовой проект 903-1-289.91

Альбом 1. Пояснительная записка

Обозначение: Типовой проект 903-1-289.91
Обозначение англ: 903-1-289.91
Статус:не определен законодательством
Название рус.:Альбом 1. Пояснительная записка
Дата добавления в базу:01.09.2013
Дата актуализации:05.05.2017
Дата введения:22.08.1991
Оглавление:1. Решения тепломеханические
2. Топливоподача
3. Золошлакоудаление
4. Водоподготовка
5. Автоматизация
6. Связь и сигнализация
7. Электрооборудование силовое
8. Электроосвещение
9. Решения архитектурно-строительные
10. Отопление и вентиляция
11. Водоснабжение и канализация
12. Основные положения по организации строительства
13. Качественные характеристики и технико-экономические показатели проекта
Разработан: Харьковский Сантехпроект
Утверждён:22.08.1991 Сантехниипроект (25)
Издан: АПП ЦИТП (1992 г. )
Расположен в:Техническая документация Строительство Справочные документы Типовые строительные конструкции, изделия и узлы Общероссийский строительный каталог Промышленные предприятия, здания и сооружения Здания и сооружения санитарно-технические Теплоснабжение Котельные установки Закрытые системы теплоснабжения Топливо - каменные и бурые угли
Заменяет собой:
Типовой проект 903-1-289.91Типовой проект 903-1-289.91Типовой проект 903-1-289.91Типовой проект 903-1-289.91Типовой проект 903-1-289.91Типовой проект 903-1-289.91Типовой проект 903-1-289.91Типовой проект 903-1-289.91Типовой проект 903-1-289.91Типовой проект 903-1-289.91Типовой проект 903-1-289.91Типовой проект 903-1-289.91Типовой проект 903-1-289.91Типовой проект 903-1-289.91Типовой проект 903-1-289.91Типовой проект 903-1-289.91Типовой проект 903-1-289.91Типовой проект 903-1-289.91Типовой проект 903-1-289.91Типовой проект 903-1-289.91Типовой проект 903-1-289.91Типовой проект 903-1-289.91Типовой проект 903-1-289.91Типовой проект 903-1-289.91Типовой проект 903-1-289.91Типовой проект 903-1-289.91Типовой проект 903-1-289.91Типовой проект 903-1-289.91Типовой проект 903-1-289.91Типовой проект 903-1-289.91Типовой проект 903-1-289.91Типовой проект 903-1-289.91Типовой проект 903-1-289.91Типовой проект 903-1-289.91Типовой проект 903-1-289.91Типовой проект 903-1-289.91Типовой проект 903-1-289.91Типовой проект 903-1-289.91Типовой проект 903-1-289.91Типовой проект 903-1-289.91Типовой проект 903-1-289.91Типовой проект 903-1-289.91Типовой проект 903-1-289.91Типовой проект 903-1-289.91Типовой проект 903-1-289.91Типовой проект 903-1-289.91Типовой проект 903-1-289.91Типовой проект 903-1-289.91Типовой проект 903-1-289.91Типовой проект 903-1-289.91Типовой проект 903-1-289.91Типовой проект 903-1-289.91Типовой проект 903-1-289.91Типовой проект 903-1-289.91Типовой проект 903-1-289.91Типовой проект 903-1-289.91Типовой проект 903-1-289.91Типовой проект 903-1-289.91Типовой проект 903-1-289.91Типовой проект 903-1-289.91Типовой проект 903-1-289.91Типовой проект 903-1-289.91Типовой проект 903-1-289.91Типовой проект 903-1-289.91Типовой проект 903-1-289.91Типовой проект 903-1-289.91Типовой проект 903-1-289.91Типовой проект 903-1-289.91Типовой проект 903-1-289.91Типовой проект 903-1-289.91Типовой проект 903-1-289.91Типовой проект 903-1-289.91Типовой проект 903-1-289.91Типовой проект 903-1-289.91Типовой проект 903-1-289.91Типовой проект 903-1-289.91Типовой проект 903-1-289.91Типовой проект 903-1-289.91Типовой проект 903-1-289.91Типовой проект 903-1-289.91Типовой проект 903-1-289.91Типовой проект 903-1-289.91Типовой проект 903-1-289.91Типовой проект 903-1-289.91Типовой проект 903-1-289.91Типовой проект 903-1-289.91

© 2013 Ёшкин Кот :-) Карта сайта