Информационная система
«Ёшкин Кот»

Скачать базу одним архивом
Скачать обновления
История создания базы
Карта сайта

Скачать Типовой проект 707-2-20с.85 Альбом III. Нестандартизированное оборудование. Системы объемоуказания

Дата актуализации: 10.08.2017

Типовой проект 707-2-20с.85

Альбом III. Нестандартизированное оборудование. Системы объемоуказания

Обозначение: Типовой проект 707-2-20с.85
Обозначение англ: 707-2-20с.85
Статус:заменен
Название рус.:Альбом III. Нестандартизированное оборудование. Системы объемоуказания
Дата добавления в базу:01.09.2013
Дата актуализации:05.05.2017
Дата введения:16.12.1993
Оглавление:Содержание альбома
КИП-0100000ВО Блок верхний. Чертеж общего вида
КИП-0100000ГЧ Блок верхний. Габаритный чертеж
КИП-0101000СБ Кожух защитный. Сборочная единица
КИП-0100001 Ролик Ф 350
КИП-0100002 Ось
КИП-0100003 Крышка
КИП-0100004 Плита
КИП-0101001 Стенка кожуха
КИП-0102000СБ Кронштейн. Сборочная единица
КИП-0100000 Блок верхний
06 КИП-0200000ВО Водило. Чертеж общего вида
06 КИП-0200001 Скоба
06 КИП-0200002 Серьга
06 КИП-0200003 Штифт
06 КИП-0200004 Скоба направляющая
06 КИП-0200000ГЧ Водило. Габаритный чертеж
06 КИП-0200005 Подвеска
06 КИП-0200006 Предохранитель
06 КИП-0200000 Водило
06 КИП-0300000ВО Блок средний. Чертеж общего вида
06 КИП-0300000ГЧ Блок средний. Габаритный чертеж
06 КИП-0301000СБ Кронштейн I. Сборочная единица
06 КИП-0302000СБ Кронштейн II. Сборочная единица
06 КИП-0300001 Ось
06 КИП-0301001 Плита
06 КИП-0300000 Блок средний
06 КИП-0400000ВО Блок натяжной. Чертеж общего вида
06 КИП-0400002 Груз
06 КИП-0400003 Щека рычага правая
06 КИП-0400000ГЧ Блок натяжной. Габаритный чертеж
06 КИП-0401000СБ Кронштейн. Сборочная единица
06 КИП-0400001 Ось L = 145
06 КИП-0400004 Ось L = 110
06 КИП-0400000 Блок натяжной
КИП-0500000ВО Блок приямка №1. Чертеж общего вида
КИП-0500000ГЧ Блок приямка №1. Габаритный чертеж
КИП-0500002 Ось
КИП-0500001 Плита
КИП-0501000СБ Кронштейн. Сборочная единица
КИП-0501001 Плита
КИП-0500000 Блок приямка №1
КИП-0600000ВО Блок приямка №2. Чертеж общего вида
КИП-0601000СБ Кронштейн. Сборочная единица
КИП-0600001 Ролик Ф 200
КИП-0600000ГЧ Блок приямка №2. Габаритный чертеж
КИП-0601001 Плита
КИП-0600002 Крышка
КИП-0600003 Ось
КИП-0600000 Блок приямка №2
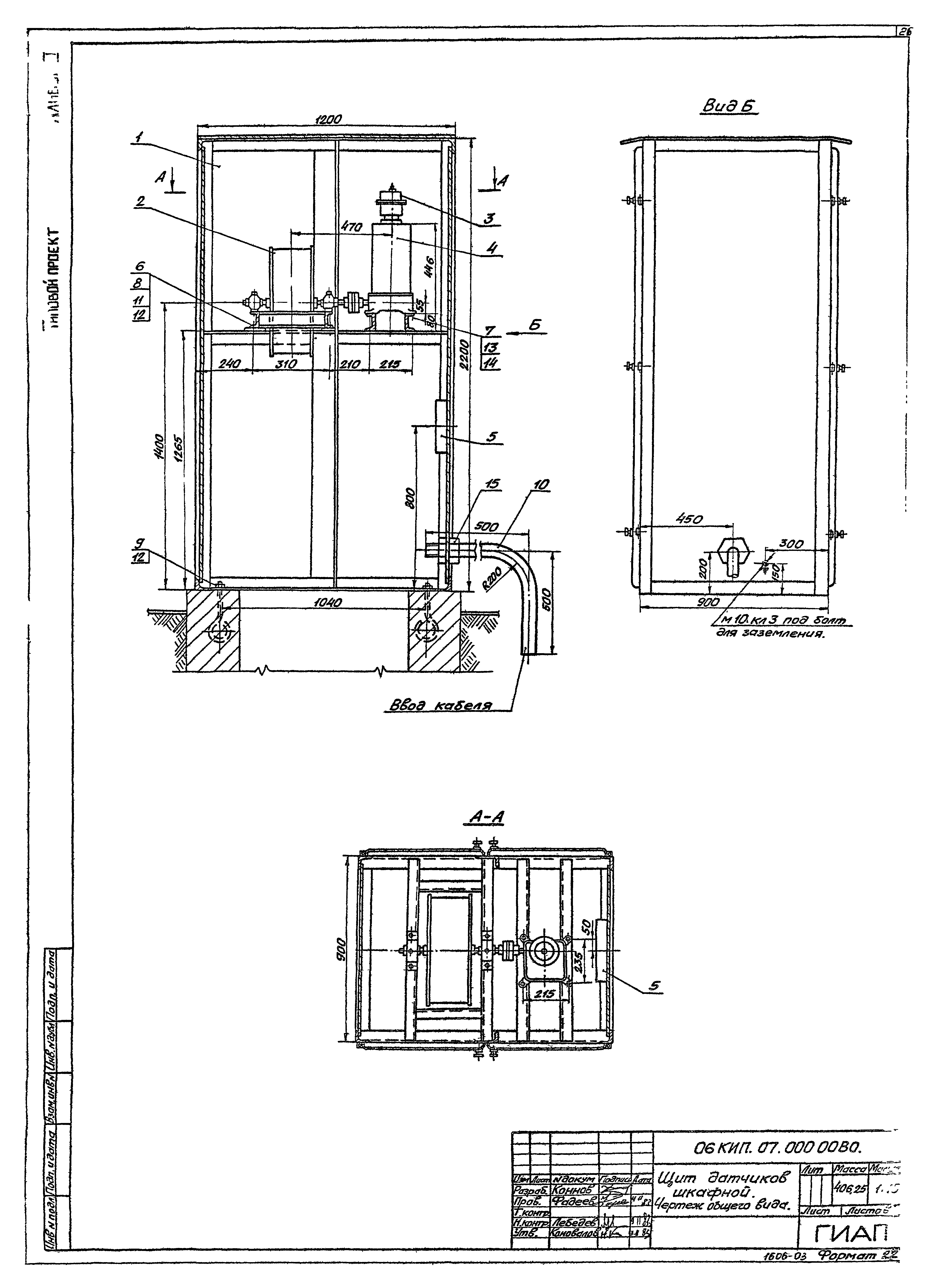
06 КИП-0700000ВО Щит датчиков шкафной. Чертеж общего вида
06 КИП-0700001 Шайба косая 12
06 КИП-0700002 Шайба косая 10
06 КИП-0700000 Щит датчиков шкафной
КИП-0800000ВО Корпус щита. Чертеж общего вида
КИП-0801000СБ Каркас щита. Сборочная единица
КИП-0801001 Петля
КИП-0800001 Рукоятка
КИП-0800002 Банка (заготовка)
КИП-0800003 Петля
КИП-0800000ГЧ Корпус щита. Габаритный чертеж
КИП-0800004 Дверь 2120х565х30 (развертка)
КИП-0800005 Палец
КИП-0800000 Корпус щита
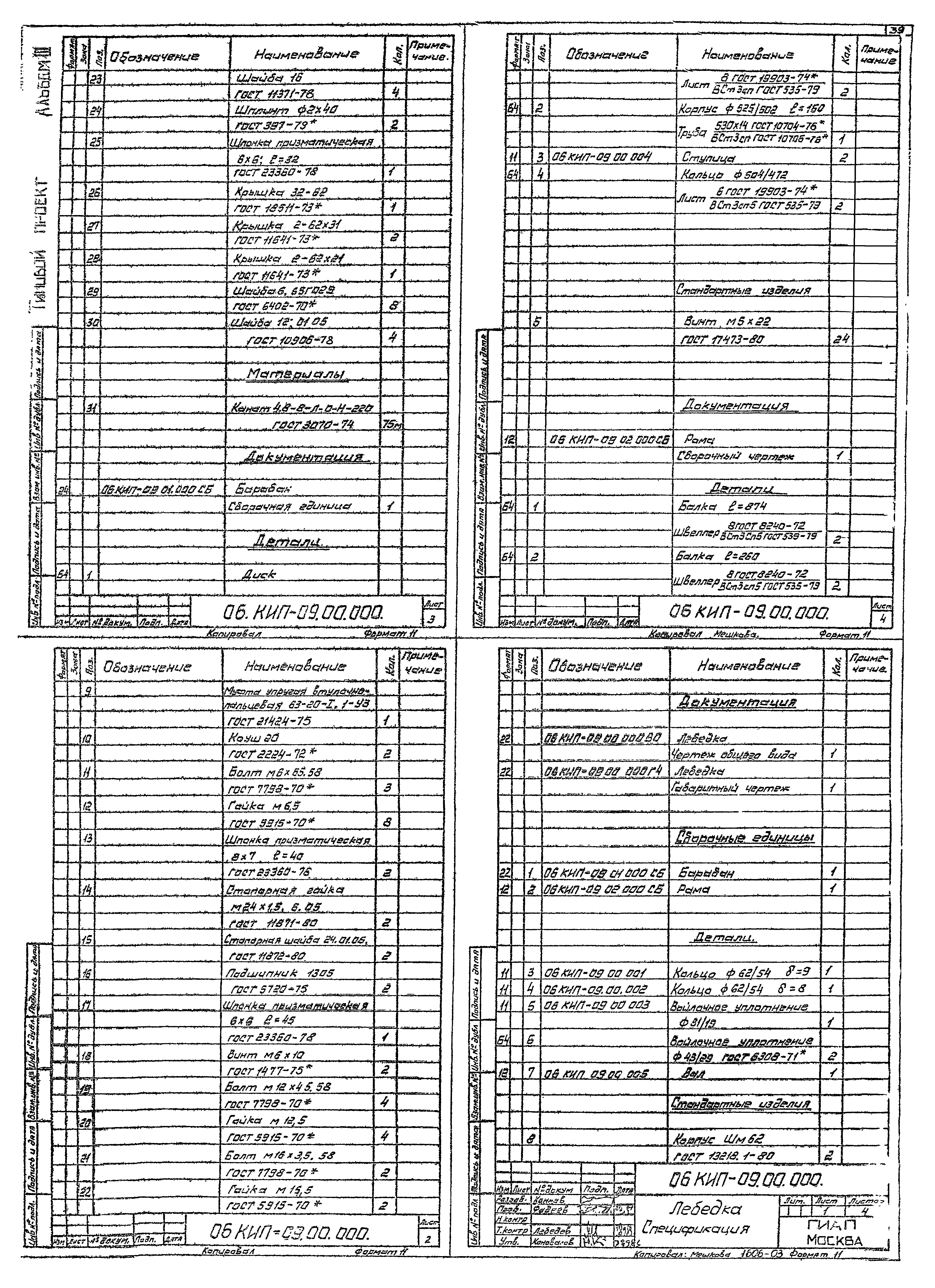
06 КИП-0900000ВО Лебедка. Чертеж общего вида
06 КИП-0901000СБ Барабан. Сборочная единица
06 КИП-0900001 Кольца 62/54 б = 9
06 КИП-0900002 Кольца 62/54 б = 8
06 КИП-0900003 Войлочное уплотнение Ф31/19
06 КИП-0900004 Ступица
06 КИП-0900005 Вал
06 КИП-0902000СБ Рама лебедки. Сборочная единица
06 КИП-0900000ГЧ Лебедка. Габаритный чертеж
06 КИП-0900000 Лебедка
КИП-1000000ВО Установка сельсина-датчика БД-1404. Чертеж общего вида
КИП-1001000СБ Корпус. Сборочная единица
КИП-1000001 Палец
КИП-1000002 Валик
КИП-1000003 Скоба
КИП-1000004 Полумуфта
КИП-1000005 Полумуфта
КИП-1000006 Гайка специальная М4
КИП-1000000ГЧ Установка сельсина-датчика БД-1404. Габаритный чертеж
КИП-1000000 Установка сельсина-датчика БД-1404
06 КИП-1100000ВО Сельсин-приемник. Чертеж общего вида
06 КИП-1101000СБ Кронштейн. Сборочная единица
06 КИП-1102000СБ Стрелка. Сборочная единица
06 КИП-1101001 Циферблат
06 КИП-1101002 Переходник
06 КИП-1101003 Стойка
06 КИП-1101004 Гайка специальная
06 КИП-1101005 Скоба
06 КИП-1100000ГЧ Сельсин-приемник. Габаритный чертеж
06 КИП-1100000 Сельсин-приемник
06 КИП-1200000ВО Установка датчиков в утепленной будке. Чертеж общего вида
06 КИП-1201000СБ Опора под аппарат. Сборочная единица
06 КИП-1200000ГЧ Опора под аппарат. Габаритный чертеж
06 КИП-1200001 Шайба косая 12
06 КИП-1200000 Установка датчиков в утепленной будке
06 КИП-1300000ВО Установка ртутного термометра. Чертеж общего вида
06 КИП-1300000 Установка ртутного термометра
06 КИП-1400000 Сигнализация и объемоуказание. Вариант с утепленной будкой
06 КИП-1400000ВО Сигнализация и объемоуказание. Вариант с утепленной будкой. Чертеж общего вида
Разработан: ГИАП
Утверждён:17.05.1984 Министерство по производству минеральных удобрений СССР (USSR Ministry of Mineral Fertilizer Production 25-89)
Расположен в:Техническая документация Строительство Справочные документы Типовые строительные конструкции, изделия и узлы Общероссийский строительный каталог Промышленные предприятия, здания и сооружения Предприятия, здания и сооружения складские Газгольдеры
Чем заменён:
Типовой проект 707-2-20с.85Типовой проект 707-2-20с.85Типовой проект 707-2-20с.85Типовой проект 707-2-20с.85Типовой проект 707-2-20с.85Типовой проект 707-2-20с.85Типовой проект 707-2-20с.85Типовой проект 707-2-20с.85Типовой проект 707-2-20с.85Типовой проект 707-2-20с.85Типовой проект 707-2-20с.85Типовой проект 707-2-20с.85Типовой проект 707-2-20с.85Типовой проект 707-2-20с.85Типовой проект 707-2-20с.85Типовой проект 707-2-20с.85Типовой проект 707-2-20с.85Типовой проект 707-2-20с.85Типовой проект 707-2-20с.85Типовой проект 707-2-20с.85Типовой проект 707-2-20с.85Типовой проект 707-2-20с.85Типовой проект 707-2-20с.85Типовой проект 707-2-20с.85Типовой проект 707-2-20с.85Типовой проект 707-2-20с.85Типовой проект 707-2-20с.85Типовой проект 707-2-20с.85Типовой проект 707-2-20с.85Типовой проект 707-2-20с.85Типовой проект 707-2-20с.85Типовой проект 707-2-20с.85Типовой проект 707-2-20с.85Типовой проект 707-2-20с.85Типовой проект 707-2-20с.85Типовой проект 707-2-20с.85Типовой проект 707-2-20с.85Типовой проект 707-2-20с.85Типовой проект 707-2-20с.85Типовой проект 707-2-20с.85Типовой проект 707-2-20с.85Типовой проект 707-2-20с.85Типовой проект 707-2-20с.85Типовой проект 707-2-20с.85Типовой проект 707-2-20с.85Типовой проект 707-2-20с.85Типовой проект 707-2-20с.85Типовой проект 707-2-20с.85Типовой проект 707-2-20с.85Типовой проект 707-2-20с.85Типовой проект 707-2-20с.85Типовой проект 707-2-20с.85Типовой проект 707-2-20с.85Типовой проект 707-2-20с.85Типовой проект 707-2-20с.85

© 2013 Ёшкин Кот :-) Карта сайта