Скачать Типовые проектные решения 407-03-331.83 Альбом II. Строительная частьДата актуализации: 10.08.2017 Типовые проектные решения 407-03-331.83
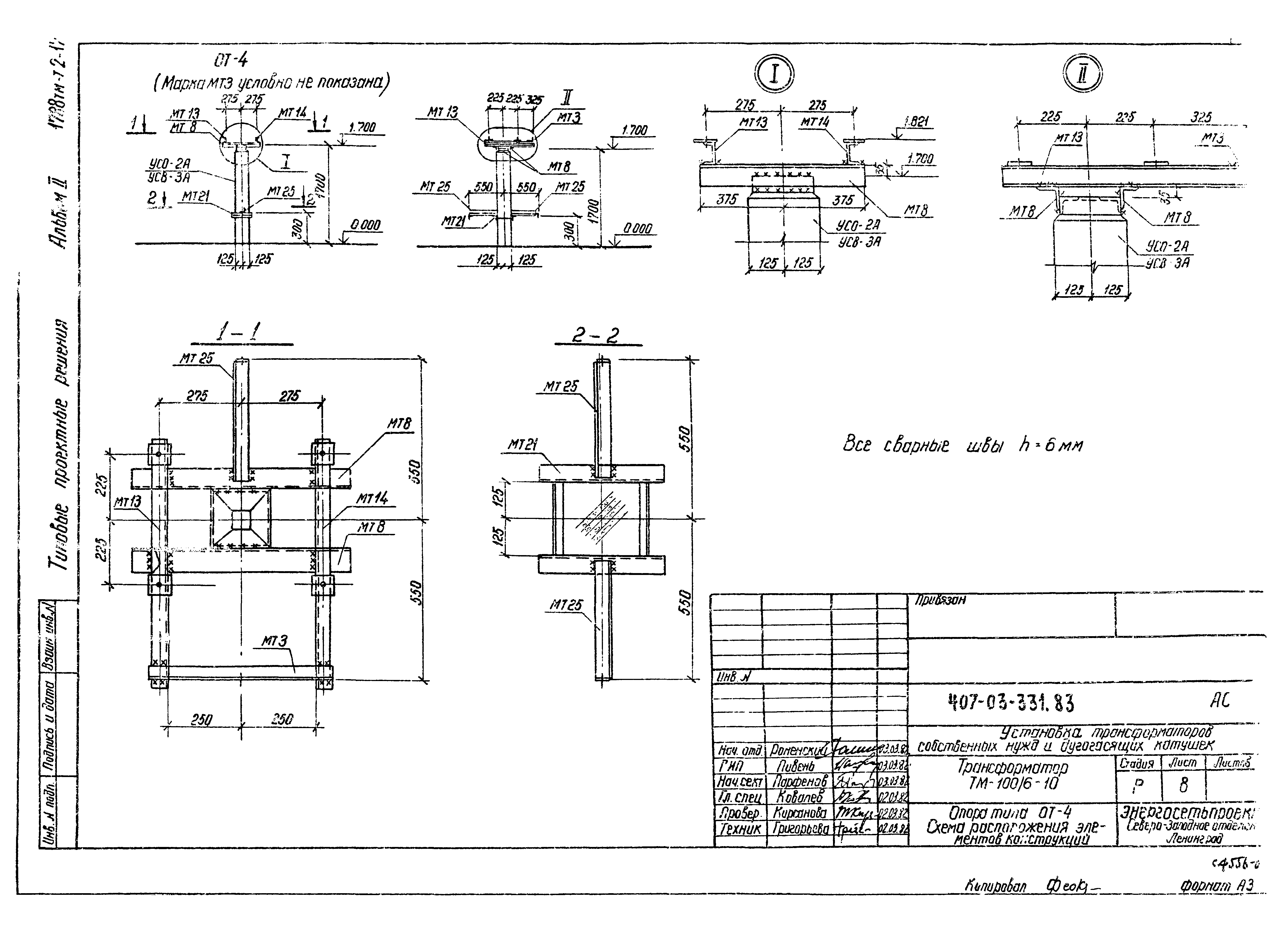
Альбом II. Строительная частьОбозначение: | Типовые проектные решения 407-03-331.83 | Обозначение англ: | 407-03-331.83 | Статус: | cправочные материалы, мп, тпр | Название рус.: | Альбом II. Строительная часть | Дата добавления в базу: | 01.10.2014 | Дата актуализации: | 05.05.2017 | Оглавление: | Содержание альбома Чертежи основного комплекта марки АС Общие данные Трансформатор ТМ-25/6-10. Опора типа ОТ-1. Схема расположения элементов конструкций Трансформатор ТМ-25/6-10. Опора типа ОТ-1. Спецификация элементов конструкций Трансформатор ТМ-40/6-10. Опора типа ОТ-2. Схема расположения элементов конструкций Трансформатор ТМ-40/6-10. Опора типа ОТ-2. Спецификация элементов конструкций Трансформатор ТМ-63/6-10. Опора типа ОТ-3. Схема расположения элементов конструкций Трансформатор ТМ-63/6-10. Опора типа ОТ-3. Спецификация элементов конструкций Трансформатор ТМ-100/6-10. Опора типа ОТ-4. Схема расположения элементов конструкций Трансформатор ТМ-100/6-10. Опора типа ОТ-4. Спецификация элементов конструкций Трансформатор ТМ-160/6-10. Опора типа ОТ-5. Схема расположения элементов конструкций Трансформатор ТМ-160/6-10. Опора типа ОТ-5. Спецификация элементов конструкций Трансформатор ТМ-250/6-10. Опора типа ОТ-6. Схема расположения элементов конструкций Трансформатор ТМ-250/6-10. Опора типа ОТ-6. Спецификация элементов конструкций Трансформатор ТМ-400/6-10. Опора типа ОТ-7. Схема расположения элементов конструкций Трансформатор ТМ-400/6-10. Опора типа ОТ-7. Спецификация элементов конструкций Трансформатор ТМ-630/6-10. Опора типа ОТ-8. Схема расположения элементов конструкций Трансформатор ТМ-630/6-10. Опора типа ОТ-8. Спецификация элементов конструкций Трансформатор ТМ-1000/6-10. Опора типа ОТ-9. Схема расположения элементов конструкций Трансформатор ТМ-1000/6-10. Опора типа ОТ-9. Спецификация элементов конструкций Заземляющие реакторы РЗДСОМ-115/6У1; РЗДСОМ-230/6У1; РЗДСОМ-190/10У1. Опоры типов ОТ-10 и ОТ-11. Схема расположения элементов конструкций Заземляющие реакторы РЗДСОМ-115/6У1; РЗДСОМ-230/6У1; РЗДСОМ-190/10У1. Опоры типов ОТ-10 и ОТ-11. Спецификация элементов конструкций Заземляющие реакторы РЗДСОМ-460/6У1; РЗДСОМ-380/10У1; РЗДСОМ-760/10У1; РЗДСОМ-920/6У. Опоры типов ОТ-12 и ОТ-13. Схема расположения элементов конструкций Заземляющие реакторы РЗДСОМ-460/6У1; РЗДСОМ-380/10У1; РЗДСОМ-760/10У1; РЗДСОМ-920/6У. Опоры типов ОТ-12 и ОТ-13. Спецификация элементов конструкций Заземляющие реакторы РЗДСОМ-310/35У1; РЗДСОМ-620/35У1. Опора типа ОТ-14. Схема расположения элементов конструкций Заземляющие реакторы РЗДСОМ-310/35У1; РЗДСОМ-620/35У1. Опора типа ОТ-14. Спецификация элементов конструкций Заземляющий реактор РЗДСОМ-1240/35У1. Опора типа ОТ-15. Схема расположения элементов конструкций Заземляющий реактор РЗДСОМ-1240/35У1. Опора типа ОТ-15. Спецификация элементов конструкций Заземляющий реактор РЗДСОМ-1520/10У1. Опора типа ОТ-16. Схема расположения элементов конструкций Заземляющий реактор РЗДСОМ-1520/10У1. Опора типа ОТ-16. Спецификация элементов конструкций Однополюсный разъединитель РНД3-2-35/1000У1 с приводом ПР-У1. Опоры типов ОТ-17 и ОТ-18. Схема расположения элементов конструкций Однополюсный разъединитель РНД3-2-35/1000У1 с приводом ПР-У1. Опоры типов ОТ-17 и ОТ-18. Спецификация элементов конструкций Опорные изоляторы ОНШ-3,5-2000-I, ИОС-35-500IУ1. Опора типа ОТ-19. Схема расположения элементов конструкций Опорные изоляторы ОНШ-3,5-2000-I, ИОС-35-500IУ1. Опора типа ОТ-19. Спецификация элементов конструкций Приямок маслоприемника Типы закреплений опор в грунте ОРУ 110 кВ. Узел крепления консоли для гирлянды изоляторов на линейном портале ОРУ 220 кВ. Узел крепления консоли для гирлянды изоляторов на линейном портале Стальные изделия Марка МТ1 Марка МТ (МТ2 - МТ6) Марка МТ (МТ7, МТ8, МТ50, МТ56, МТ62) Марка МТ (МТ9 - МТ16) Марка МТ (МТ17 - МТ20) Марка МТ21 Марка МТ (МТ22 - МТ26) Марка МТ (МТ27 - МТ33) Марка МТ (МТ34 - МТ36) Марка МТ37 Марка МТ (МТ38 - МТ42) Марка МТ (МТ43, МТ44) Марка МТ45 Марка МТ46 Марка МТ47 Марка МТ48 Марка МТ49 Марка МТ51 Марка МТ52 Марка МТ53 Марка МТ54 Марка МТ55 Марка МТ57 Марка МТ (МТ58, МТ59) Марка МТ60 Марка МТ61 АС.ВМ Ведомость материалов | Разработан: | Северо-западное отделение института Энергосетьпроект
| Утверждён: | 08.12.1982 Минэнерго СССР (USSR Minenergo 37)
| Расположен в: |
| Заменяет собой: | - Типовые проектные решения 407-0-155
|
                                                                        
|