Скачать Рекомендации по проектированию структурных конструкцийДата актуализации: 10.08.2017
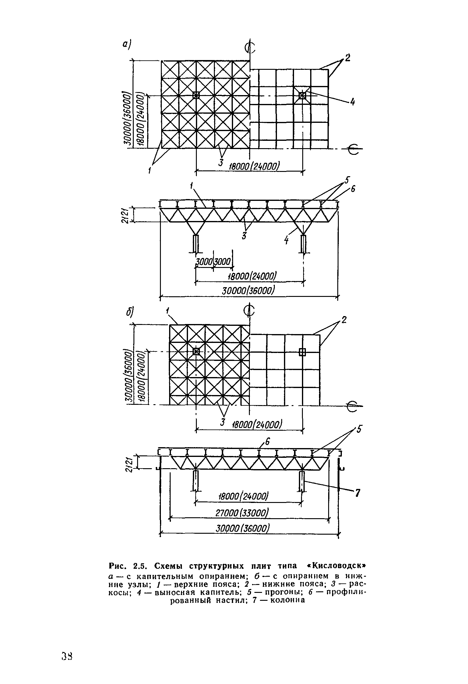
Рекомендации по проектированию структурных конструкцийСтатус: | cправочные материалы, мп, тпр | Название рус.: | Рекомендации по проектированию структурных конструкций | Дата добавления в базу: | 01.09.2013 | Дата актуализации: | 05.05.2017 | Область применения: | Документ содержит положения по проектированию структурных конструкций, в том числе возводимых в сейсмических районах и районах с низкими температурами, а также при наличии вибрационных нагрузок. Даны рекомендации по выбору стержневых схем, узловых сопряжений и назначению оптимальных параметров структурных плит, изложены способы приближенных расчетов стержневой системы, а также расчетов с применением ЭВМ. Приведены наиболее характерные конструктивные решения структур массового и индивидуального применения. Освещены основные способы изготовления и монтажа, а также оценки экономической эффективности структурных конструкций. Даны примеры расчетов, методика моделирования и натурного эксперимента, проводимых на стадии проектирования, а также сведения в области развития конструктивных форм и методов расчета за рубежом. Для инженерно-технических работников проектных и научно-исследовательских организаций. | Оглавление: | Предисловие 1. Стержневые схемы структур, их узловые сопряжения, рекомендации по назначению оптимальных параметров Характеристика структур Схемы структурных конструкций и их членение на отправочные марки Классификация узлов структурных конструкций Регулирование усилий в структурных плитах Границы назначения оптимальной по расходу материала высоты структурной плиты Основные положения по оптимальному проектированию структур 2. Конструкции структурных плит Общая часть Опирание структурных плит Структурные конструкции из стержневых элементов на одну ячейку Структурные конструкции типа "Кисловодск" Структурные конструкции из унифицированного сортамента системы "МАрхИ" Структурные конструкции с длинноразмерными поясами Типовые структурные конструкции из прокатных профилей системы "ЦНИИСК" Модификации типовых конструкций из прокатных профилей Структурные плиты из плоских ферм Структурные плиты из объемных стержневых пирамид Складываемые структурные конструкции Структурные плиты с включением неметаллических элементов Структурные конструкции с металлическими и деревянными элементами Структурные конструкции с применением железобетонных плит Особенности проектирования структурных конструкций для сейсмических районов и при наличии крышных вентиляторов Подбор сечений элементов структур Расчет на прочность и устойчивость Расчет по деформациям 3. Способы приближенного расчета Цель, задачи и основные предпосылки приближенного расчета Формулы упругих характеристик при аппроксимации стержневой системы ортотропной пластиной Методика расчета структур как трехслойной пластины со средним слоем конечной жесткости Влияние жесткости узлов на распределение внутренних усилий Расчет структурных конструкций с узловыми эксцентриситетами Оценка влияния податливости узловых сопряжений на напряженно-деформированное состояние конструкции Расчет сжатых стержней структуры на устойчивость Расчет структурной конструкции как перекрестной системы Особенности приближенного расчета многопролетных структур Расчет структурных конструкций на вертикальные сейсмические воздействия 4. Расчет структур с применением ЭВМ Общие положения Расчет структурных плит методом перемещений Матрица жесткости элемента конструкции Общая матрица жесткости конструкции Расчет на температурные воздействия Учет геометрической нелинейности работы элементов в упругой стадии Учет геометрической нелинейности работы конструкции в целом Особенности построения алгоритма расчета Использование сложной основной системы Применение метода сил при сложной основной системе Применение метода перемещений при сложной основной системе Расчет неразрезных и других сложных в плане структурных плит с выделением подсистем Расчет предварительно-напряженных структурных плит Расчет структур, напряженных затяжками Расчет структур, напряженных осадкой опор Расчет структурных плит при упругопластической работе материала 5. Расчет структур на сейсмические, вибрационные и огневые воздействия Особенности расчета структур, возводимых в сейсмических районах Общие положения Определение вертикальных сейсмических нагрузок Определение горизонтальных сейсмических нагрузок Распределение сейсмических нагрузок и проверка напряженно-деформированного состояния конструкций Особенности расчета при наличии вибрационных нагрузок от крышных вентиляторов Расчет структур на огнестойкость Основные положения расчета Методика расчета на ЭВМ на температурные воздействия при пожаре 6. Изготовление и монтаж структурных конструкций Общие положения Изготовление структурных конструкций с элементами размером на одну ячейку Изготовление структурных конструкций с длинноразмерными элементами Изготовление структурных конструкций укрупненными элементами Монтаж структурных плит крупными блоками Оптимизация параметров конвейерной сборки и крупноблочного монтажа структурных конструкций 7. Оценка экономической эффективности структурных конструкций на стадии проектирования Показатели массы для вариантов конструктивных решений Трудоемкость изготовления структурных конструкций Оптимизационный расчет размеров ячейки и высоты структурных плит по минимуму приведенных затрат Общие положения Экономическая оценка качества проекта Определение характеристик основных несущих конструкций покрытия Минимизация приведенных затрат Оценка потерь приведенных затрат Порядок оптимизационного расчета Приложение 1. Примеры оптимизационных расчетов геометрических параметров структурных плит Приложение 2. Примеры определения несущей способности структурных плит Приложение 3. Пример проектирования структурного покрытия производственного здания Приложение 4. Пример определения сейсмических нагрузок для одноэтажного промышленного здания со структурным покрытием Приложение 5. Экспериментальные исследования при проектировании структурных конструкций Приложение 6. Развитие конструктивных форм, методов расчета и экспериментальных исследований структурных конструкций за рубежом | Разработан: | НИИСП Госстроя УССР ЦНИИСК им. В.А. Кучеренко КИСИ Минвуза Украинской ССР ГПИ Укрпроектстальконструкция
| Утверждён: | ЦНИИСК им. В.А. Кучеренко Госстроя СССР
| Издан: | Стройиздат (1984 г. )
| Расположен в: |
|
                                                                                                                                                                                                                                                                                                     
|