Информационная система
«Ёшкин Кот»

Скачать базу одним архивом
Скачать обновления
История создания базы
Карта сайта

Скачать МИ 2077-90 Рекомендация. ГСИ. Микрометры со вставками. Методика поверки

Дата актуализации: 10.08.2017

МИ 2077-90

Рекомендация. ГСИ. Микрометры со вставками. Методика поверки

Обозначение: МИ 2077-90
Обозначение англ: MI 2077-90
Статус:действует
Название рус.:Рекомендация. ГСИ. Микрометры со вставками. Методика поверки
Дата добавления в базу:01.09.2013
Дата актуализации:05.05.2017
Область применения:Рекомендация распространяется на микрометры со вставками типов МВМ, МВТ и МВП по ГОСТ 4380 и устанавливает методику их первичной и периодической поверок.
Оглавление:1 Операции и средства поверки
2 Требования безопасности
3 Условия поверки и подготовка к ней
4 Проведение поверки
5 Оформление результатов поверки
Приложение 1
Приложение 2
Приложение 3
Приложение 4
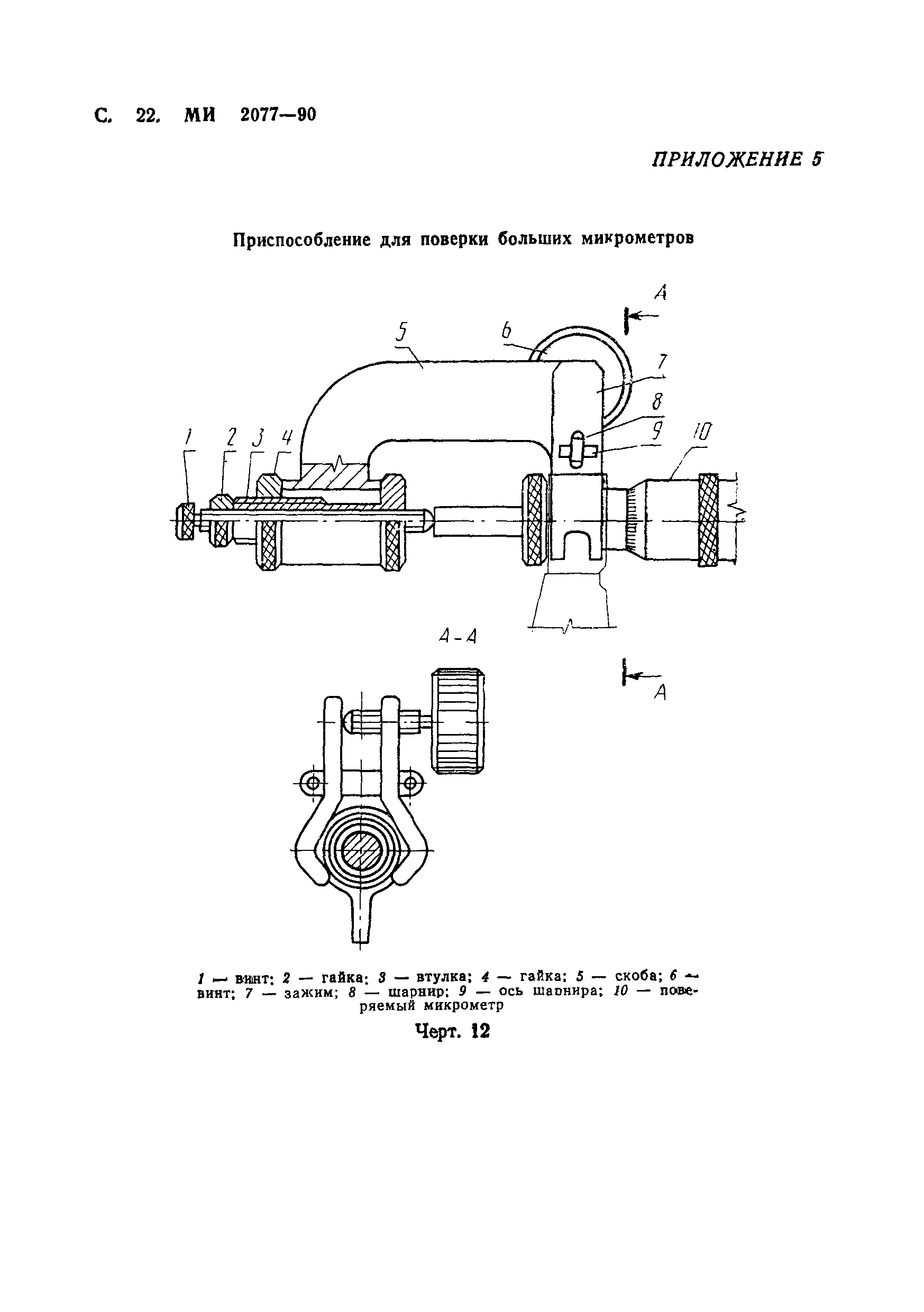
Приложение 5
Приложение 6
Приложение 7
Приложение 8
Приложение 9
Приложение 10
Приложение 11
Приложение 12
Приложение 13
Разработан: Министерство станкостроительной и инструментальной промышленности
Утверждён:10.04.1990 НПО ВНИИМ им. Д.И. Менделеева
Расположен в:Техническая документация Экология МЕТРОЛОГИЯ И ИЗМЕРЕНИЯ. ФИЗИЧЕСКИЕ ЯВЛЕНИЯ Метрология и измерения в целом Строительство Нормативные документы Нормативные документы органов надзора Нормативные документы Комитета Российской Федерации по стандартизации, метрологии и сертификации
Список изменений:
Заменяет собой:
  • ГОСТ 8.004-71 «ГСИ. Микрометры со вставками. Методы и средства поверки»
Нормативные ссылки:
МИ 2077-90МИ 2077-90МИ 2077-90МИ 2077-90МИ 2077-90МИ 2077-90МИ 2077-90МИ 2077-90МИ 2077-90МИ 2077-90МИ 2077-90МИ 2077-90МИ 2077-90МИ 2077-90МИ 2077-90МИ 2077-90МИ 2077-90МИ 2077-90МИ 2077-90МИ 2077-90МИ 2077-90МИ 2077-90МИ 2077-90МИ 2077-90МИ 2077-90МИ 2077-90МИ 2077-90МИ 2077-90МИ 2077-90МИ 2077-90МИ 2077-90МИ 2077-90МИ 2077-90МИ 2077-90МИ 2077-90

Текстовое изменение № 1 от 01.08.1993

№ 1№ 1№ 1№ 1

© 2013 Ёшкин Кот :-) Карта сайта