Информационная система
«Ёшкин Кот»

Скачать базу одним архивом
Скачать обновления
История создания базы
Карта сайта

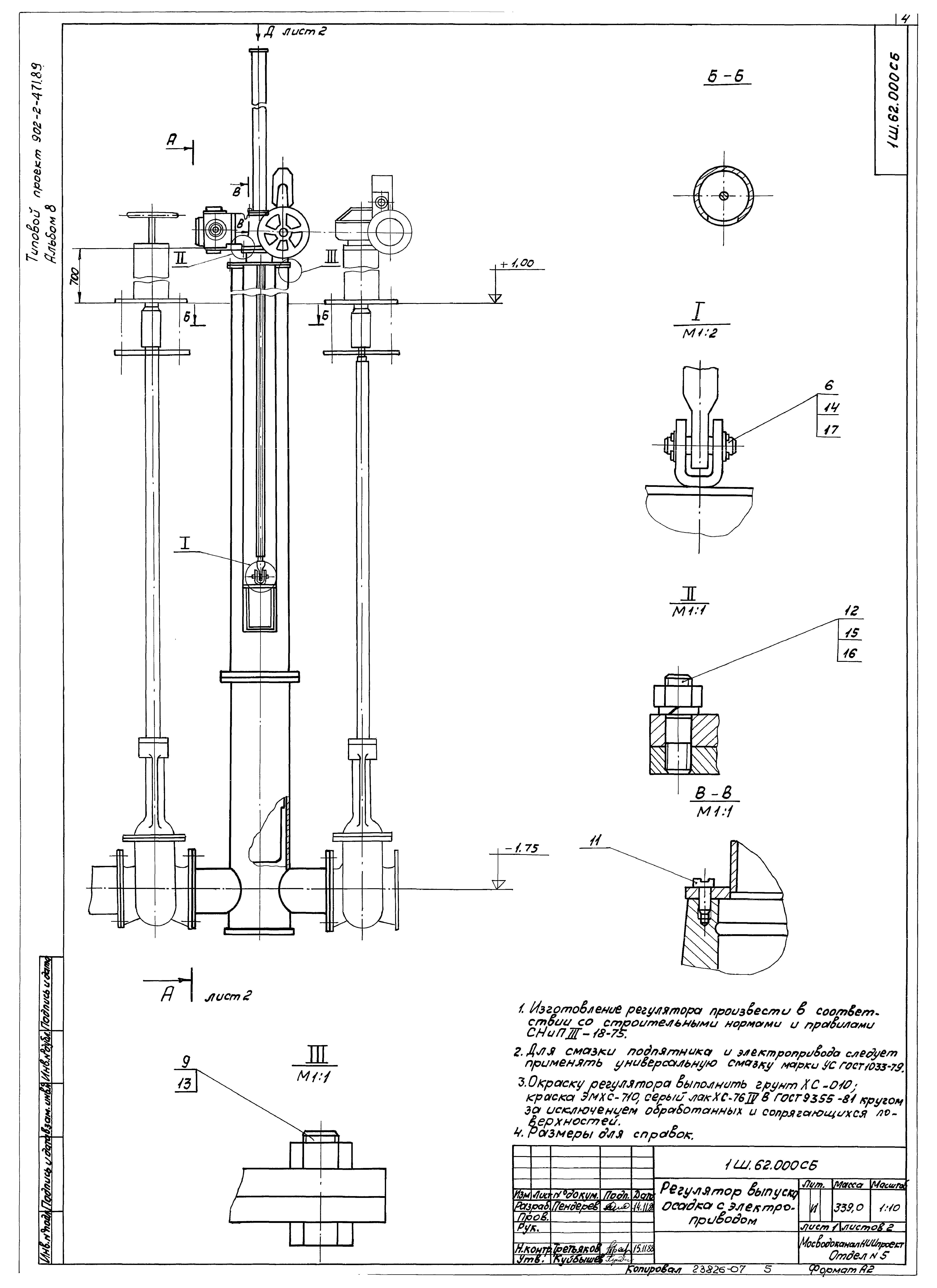
Скачать Типовой проект 902-2-471.89 Альбом 8. Нестандартизированное оборудование. Регулятор выпуска осадка с электроприводом

Дата актуализации: 10.08.2017

Типовой проект 902-2-471.89

Альбом 8. Нестандартизированное оборудование. Регулятор выпуска осадка с электроприводом

Обозначение: Типовой проект 902-2-471.89
Обозначение англ: 902-2-471.89
Статус:не определен законодательством
Название рус.:Альбом 8. Нестандартизированное оборудование. Регулятор выпуска осадка с электроприводом
Дата добавления в базу:01.09.2013
Дата актуализации:05.05.2017
Дата введения:12.05.1989
Оглавление:Титульный лист
Содержание альбома
1Ш.62.000СБ Регулятор выпуска осадка с электроприводом
1Ш.62.000ВП Ведомость покупных изделий
1Ш.62.000 Регулятор выпуска осадка с электроприводом. Спецификация
1Ш.62.000СБ Регулятор выпуска осадка с электроприводом
1Ш.62.100СБ Колпак
1Ш.62.100 Колпак. Спецификация
1Ш.62.101 Фланец
1Ш.62.200СБ Подпятник
1Ш.62.200 Подпятник. Спецификация
1Ш.62.210СБ Основание
1Ш.62.210 Основание. Спецификация
1Ш.62.211 Плита
1Ш.62.220 Корпус. Спецификация
1Ш.62.221 Бобышка
1Ш.62.220СБ Корпус
1Ш.62.222 Обечайка
1Ш.62.223 Фланец
1Ш.62.224 Фланец
1Ш.62.201 Втулка кулачковая
1Ш.62.202 Кольцо
1Ш.62.203 Гайка
1Ш.62.300СБ Направляющая
1Ш.62.300 Направляющая. Спецификация
1Ш.62.301 Фланец
1Ш.62.302 Патрубок
1Ш.62.400 Корпус. Спецификация
1Ш.62.400СБ Корпус
1Ш.62.401 Патрубок
1Ш.62.500 Водослив подвижной. Спецификация
1Ш.62.501 Стенка боковая
1Ш.62.500СБ Водослив подвижной
1Ш.62.502 Обечайка
1Ш.62.002 Штанга винтовая
1Ш.62.503 Ушко
1Ш.62.504 Пластина
1Ш.62.505 Порог
1Ш.62.001 Ось
Разработан: МосводоканалНИИпроект
Утверждён:28.04.1989 Мосгорисполком (Mosgorispolkom 890р)
Расположен в:Техническая документация Строительство Справочные документы Типовые строительные конструкции, изделия и узлы Общероссийский строительный каталог Промышленные предприятия, здания и сооружения Здания и сооружения санитарно-технические Канализация Сооружения механической очистки Отстойники Отстойники радиальные первичные
Типовой проект 902-2-471.89Типовой проект 902-2-471.89Типовой проект 902-2-471.89Типовой проект 902-2-471.89Типовой проект 902-2-471.89Типовой проект 902-2-471.89Типовой проект 902-2-471.89Типовой проект 902-2-471.89Типовой проект 902-2-471.89Типовой проект 902-2-471.89Типовой проект 902-2-471.89Типовой проект 902-2-471.89Типовой проект 902-2-471.89Типовой проект 902-2-471.89Типовой проект 902-2-471.89Типовой проект 902-2-471.89Типовой проект 902-2-471.89Типовой проект 902-2-471.89Типовой проект 902-2-471.89

© 2013 Ёшкин Кот :-) Карта сайта