Информационная система
«Ёшкин Кот»

Скачать базу одним архивом
Скачать обновления
История создания базы
Карта сайта

Скачать Р 18-76/НИИЖБ Рекомендации по определению неплоскостности и неперпендикулярности граней контрольных образцов бетона

Дата актуализации: 10.08.2017

Р 18-76/НИИЖБ

Рекомендации по определению неплоскостности и неперпендикулярности граней контрольных образцов бетона

Обозначение: Р 18-76/НИИЖБ
Обозначение англ: R 18-76/НИИЖБ
Статус:не действует
Название рус.:Рекомендации по определению неплоскостности и неперпендикулярности граней контрольных образцов бетона
Дата добавления в базу:01.09.2013
Дата актуализации:05.05.2017
Область применения:Документ содержит основные положения по определению неплоскостности и неперпендикулярности граней контрольных образцов бетона по которым определяется его прочность.
Оглавление:Предисловие
1. Общие положения
2. Определение неплоскостности и неперпендикулярности граней кубов с ребрами 100 и 150 мм
3. Определение неплоскостности и неперпендикулярности граней кубов с ребрами 200 и 300 мм
4. Определение неплоскостности и неперпендикулярности граней цилиндров и призм
Приложение 1.Примеры обработки результатов измерений кубов с ребрами 100 и 150 мм
Приложение 2. Примеры обработки результатов измерений кубов с ребром 200 мм
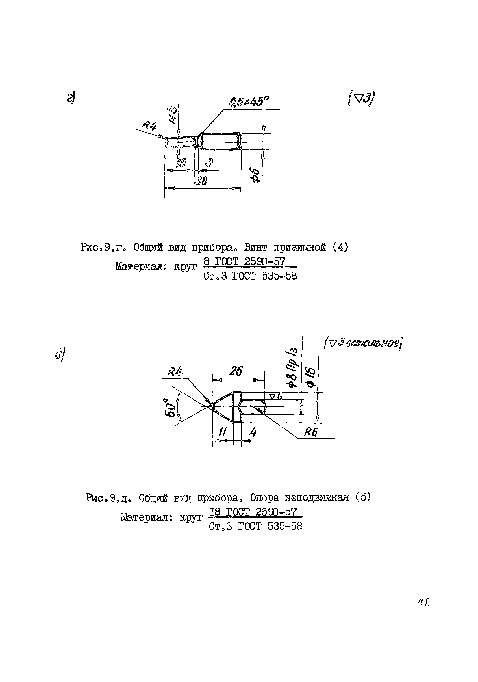
Приложение 3. Прибор для определения неплоскостности и неперпендикулярности граней кубов с ребрами 100 и 150 мм
Приложение 4. Прибор для определения неплоскостности граней кубов с ребром 200 мм
Приложение 5. Угольник для определения неперпендикулярности граней кубов с ребрами 200 и 300 мм
Разработан: НИИЖБ Госстроя СССР
Утверждён:10.10.1977 НИИЖБ Госстроя СССР (NIIZhB, USSR Gosstroy )
Расположен в:Техническая документация Экология СТРОИТЕЛЬНЫЕ МАТЕРИАЛЫ И СТРОИТЕЛЬСТВО Строительные материалы Бетон и изделия из бетона Строительство Справочные документы Директивные письма, положения, рекомендации и др.
Нормативные ссылки:
Р 18-76/НИИЖБР 18-76/НИИЖБР 18-76/НИИЖБР 18-76/НИИЖБР 18-76/НИИЖБР 18-76/НИИЖБР 18-76/НИИЖБР 18-76/НИИЖБР 18-76/НИИЖБР 18-76/НИИЖБР 18-76/НИИЖБР 18-76/НИИЖБР 18-76/НИИЖБР 18-76/НИИЖБР 18-76/НИИЖБР 18-76/НИИЖБР 18-76/НИИЖБР 18-76/НИИЖБР 18-76/НИИЖБР 18-76/НИИЖБР 18-76/НИИЖБР 18-76/НИИЖБР 18-76/НИИЖБР 18-76/НИИЖБР 18-76/НИИЖБР 18-76/НИИЖБР 18-76/НИИЖБР 18-76/НИИЖБР 18-76/НИИЖБР 18-76/НИИЖБР 18-76/НИИЖБР 18-76/НИИЖБР 18-76/НИИЖБР 18-76/НИИЖБР 18-76/НИИЖБР 18-76/НИИЖБР 18-76/НИИЖБР 18-76/НИИЖБР 18-76/НИИЖБР 18-76/НИИЖБР 18-76/НИИЖБР 18-76/НИИЖБР 18-76/НИИЖБР 18-76/НИИЖБР 18-76/НИИЖБР 18-76/НИИЖБ

© 2013 Ёшкин Кот :-) Карта сайта