Информационная система
«Ёшкин Кот»

Скачать базу одним архивом
Скачать обновления
История создания базы
Карта сайта

Скачать МУ 2737-83 Методические указания по фотометрическому определению фосфиноксида разнорадикального С5 - С9 и триизоамилфосфиноксида в воздухе

Дата актуализации: 10.08.2017

МУ 2737-83

Методические указания по фотометрическому определению фосфиноксида разнорадикального С5 - С9 и триизоамилфосфиноксида в воздухе

Обозначение: МУ 2737-83
Обозначение англ: MU 2737-83
Статус:действует
Название рус.:Методические указания по фотометрическому определению фосфиноксида разнорадикального С5 - С9 и триизоамилфосфиноксида в воздухе
Дата добавления в базу:01.10.2014
Дата актуализации:05.05.2017
Область применения:Методические указания распространяются на определение содержания вредных веществ в воздухе промышленных помещений при санитарном контроле.
Оглавление:I Общая часть
II Реактивы и аппаратура
III Отбор пробы воздуха
IV Описание определения
Приложение 1. Формула для приведения объема воздуха к стандартным условиям
Приложение 2. Таблица коэффициентов для приведения объема воздуха к стандартным условиям
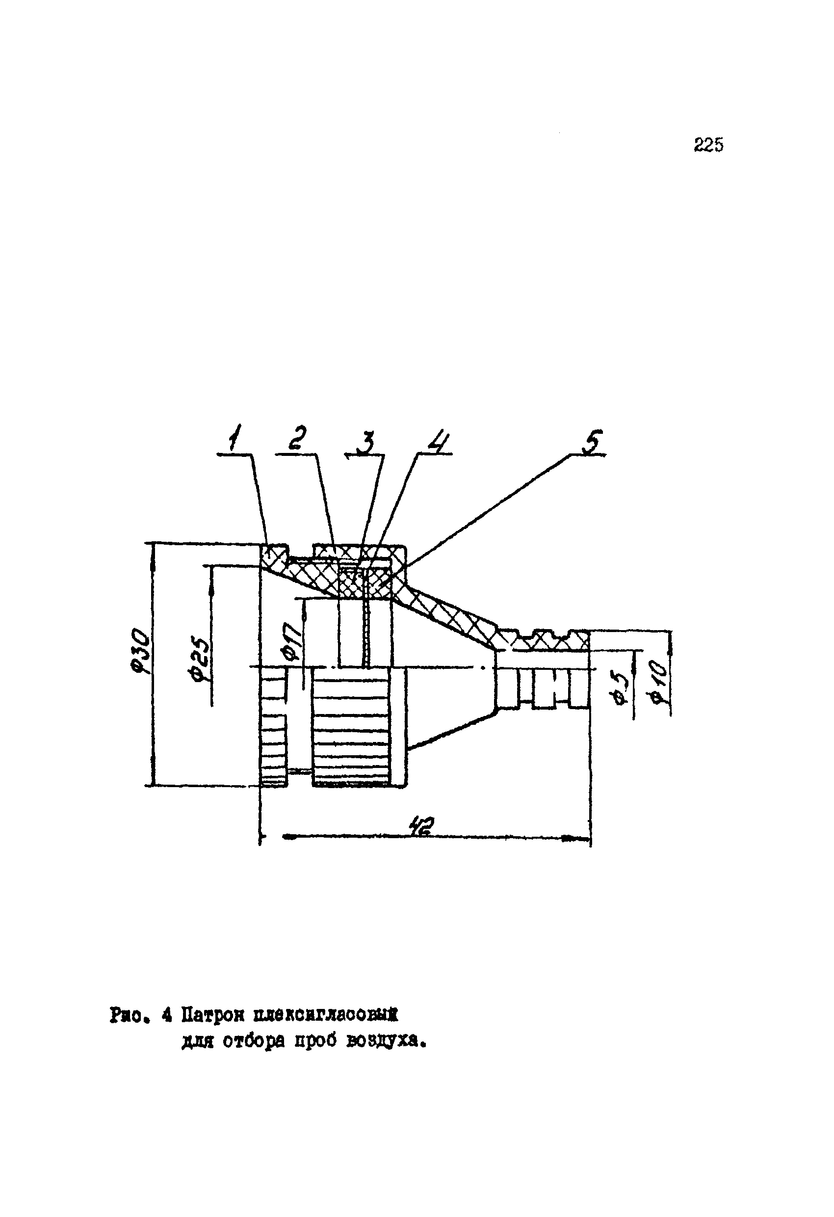
Приложение 3. Рисунки к сборнику № 18
Приложение 4. Перечень учреждений, представивших методические указания в данный сборник
Утверждён:21.04.1983 Заместитель Главного государственного санитарного врача СССР
Расположен в:Техническая документация Экология ОХРАНА ОКРУЖАЮЩЕЙ СРЕДЫ, ЗАЩИТА ЧЕЛОВЕКА ОТ ВОЗДЕЙСТВИЯ ОКРУЖАЮЩЕЙ СРЕДЫ. БЕЗОПАСНОСТЬ Качество воздуха Атмосфера рабочей зоны Строительство Нормативные документы Нормативные документы органов надзора Нормативные документы Госкомсанэпиднадзора и Минздрава Российской Федерации
Нормативные ссылки:
МУ 2737-83МУ 2737-83МУ 2737-83МУ 2737-83МУ 2737-83МУ 2737-83МУ 2737-83МУ 2737-83МУ 2737-83МУ 2737-83МУ 2737-83МУ 2737-83МУ 2737-83МУ 2737-83МУ 2737-83МУ 2737-83МУ 2737-83МУ 2737-83МУ 2737-83МУ 2737-83МУ 2737-83МУ 2737-83МУ 2737-83МУ 2737-83МУ 2737-83

© 2013 Ёшкин Кот :-) Карта сайта