Информационная система
«Ёшкин Кот»

Скачать базу одним архивом
Скачать обновления
История создания базы
Карта сайта

Скачать РМ 38.14.008-94 Вентиляторы радиальные (центробежные) и осевые. Эксплуатация и ремонт

Дата актуализации: 10.08.2017

РМ 38.14.008-94

Вентиляторы радиальные (центробежные) и осевые. Эксплуатация и ремонт

Обозначение: РМ 38.14.008-94
Обозначение англ: RM 38.14.008-94
Статус:не действует
Название рус.:Вентиляторы радиальные (центробежные) и осевые. Эксплуатация и ремонт
Дата добавления в базу:01.09.2013
Дата актуализации:05.05.2017
Область применения:Документ распространяется на радиальные (центробежные) и осевые вентиляторы, применяемые в системах вентиляции нефтеперерабатывающих и нефтехимических предприятий
Оглавление:Предисловие
1. Область применения
2. Основные требования по эксплуатации
3. Технические требования при ревизии, отбраковке и ремонте деталей вентиляторов
   3.1 Основные положения по ремонту
   3.2. Рабочее колесо
   3.3. Корпус
   3.4. Вал
   3.5. Шкивы и приводные ремни
   3.6. Соединительные муфты
   3.7. Шпоночные соединения
   3.8. Подшипники качения
4. Основные требования по сборке и монтажу вентиляторов
5. Контрольные испытания и сдача в эксплуатацию
   5.1 Прочностные испытания рабочего колеса
   5.2. Аэродинамические испытания параметров номинального режима
   5.3. Вибрационные испытания
   5.4. Проверка сопротивления заземлению
   5.5. Оборудование и средства измерения
   5.6. Обкаточные испытания
6. Защитные покрытия
Приложения:
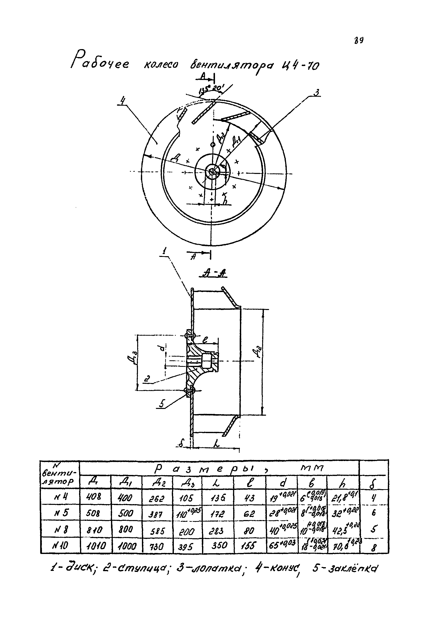
   1. Характеристики вентиляторов:
      В-Ц4-70
      В-Ц4-75
      Ц9-55(ЦВ-55)
      Ц9-57( СТД-57)
      ЦI3-50
      В-ЦI4-46
      ЭВР
      ВРС
      Ц6-45
      ЦI7-40
      ВВЛ
      В-06-300
      В-06-320
      МЦ
2. Журнал учета текущего и капитального ремонтов взрывозащищенных вентиляторов
3. Методика проведения аэродинамических испытаний вентиляторов в составе вентиляционных систем
4 Перечень оборудования и средств измерения, необходимых при испытаниях вентиляторов
Перечень использованных источников
Разработан: ВНИКТИнефтехимоборудование
Утверждён:17.08.1994 Министерство топлива и энергетики РФ (Russian Federation Ministry of Fuel and Energy )
Расположен в:Техническая документация Экология ДОБЫЧА И ПЕРЕРАБОТКА НЕФТИ, ГАЗА И СМЕЖНЫЕ ПРОИЗВОДСТВА Оборудование для нефтяной и газовой промышленности Оборудование для нефтяной и газовой промышленности прочее
Нормативные ссылки:
РМ 38.14.008-94РМ 38.14.008-94РМ 38.14.008-94РМ 38.14.008-94РМ 38.14.008-94РМ 38.14.008-94РМ 38.14.008-94РМ 38.14.008-94РМ 38.14.008-94РМ 38.14.008-94РМ 38.14.008-94РМ 38.14.008-94РМ 38.14.008-94РМ 38.14.008-94РМ 38.14.008-94РМ 38.14.008-94РМ 38.14.008-94РМ 38.14.008-94РМ 38.14.008-94РМ 38.14.008-94РМ 38.14.008-94РМ 38.14.008-94РМ 38.14.008-94РМ 38.14.008-94РМ 38.14.008-94РМ 38.14.008-94РМ 38.14.008-94РМ 38.14.008-94РМ 38.14.008-94РМ 38.14.008-94РМ 38.14.008-94РМ 38.14.008-94РМ 38.14.008-94РМ 38.14.008-94РМ 38.14.008-94РМ 38.14.008-94РМ 38.14.008-94РМ 38.14.008-94РМ 38.14.008-94РМ 38.14.008-94РМ 38.14.008-94РМ 38.14.008-94РМ 38.14.008-94РМ 38.14.008-94РМ 38.14.008-94РМ 38.14.008-94РМ 38.14.008-94РМ 38.14.008-94РМ 38.14.008-94РМ 38.14.008-94РМ 38.14.008-94РМ 38.14.008-94РМ 38.14.008-94РМ 38.14.008-94РМ 38.14.008-94РМ 38.14.008-94РМ 38.14.008-94РМ 38.14.008-94РМ 38.14.008-94РМ 38.14.008-94РМ 38.14.008-94РМ 38.14.008-94РМ 38.14.008-94РМ 38.14.008-94РМ 38.14.008-94РМ 38.14.008-94РМ 38.14.008-94РМ 38.14.008-94РМ 38.14.008-94РМ 38.14.008-94РМ 38.14.008-94РМ 38.14.008-94РМ 38.14.008-94РМ 38.14.008-94РМ 38.14.008-94РМ 38.14.008-94РМ 38.14.008-94РМ 38.14.008-94РМ 38.14.008-94РМ 38.14.008-94РМ 38.14.008-94РМ 38.14.008-94РМ 38.14.008-94РМ 38.14.008-94РМ 38.14.008-94РМ 38.14.008-94РМ 38.14.008-94РМ 38.14.008-94РМ 38.14.008-94РМ 38.14.008-94РМ 38.14.008-94РМ 38.14.008-94РМ 38.14.008-94РМ 38.14.008-94РМ 38.14.008-94РМ 38.14.008-94РМ 38.14.008-94РМ 38.14.008-94РМ 38.14.008-94РМ 38.14.008-94РМ 38.14.008-94РМ 38.14.008-94РМ 38.14.008-94РМ 38.14.008-94РМ 38.14.008-94РМ 38.14.008-94РМ 38.14.008-94РМ 38.14.008-94РМ 38.14.008-94РМ 38.14.008-94РМ 38.14.008-94РМ 38.14.008-94РМ 38.14.008-94РМ 38.14.008-94РМ 38.14.008-94РМ 38.14.008-94РМ 38.14.008-94РМ 38.14.008-94РМ 38.14.008-94РМ 38.14.008-94РМ 38.14.008-94РМ 38.14.008-94РМ 38.14.008-94РМ 38.14.008-94РМ 38.14.008-94РМ 38.14.008-94РМ 38.14.008-94РМ 38.14.008-94РМ 38.14.008-94РМ 38.14.008-94РМ 38.14.008-94РМ 38.14.008-94РМ 38.14.008-94РМ 38.14.008-94РМ 38.14.008-94РМ 38.14.008-94РМ 38.14.008-94РМ 38.14.008-94РМ 38.14.008-94РМ 38.14.008-94РМ 38.14.008-94РМ 38.14.008-94РМ 38.14.008-94РМ 38.14.008-94РМ 38.14.008-94РМ 38.14.008-94РМ 38.14.008-94РМ 38.14.008-94РМ 38.14.008-94РМ 38.14.008-94РМ 38.14.008-94РМ 38.14.008-94РМ 38.14.008-94РМ 38.14.008-94РМ 38.14.008-94РМ 38.14.008-94РМ 38.14.008-94РМ 38.14.008-94РМ 38.14.008-94РМ 38.14.008-94РМ 38.14.008-94РМ 38.14.008-94РМ 38.14.008-94РМ 38.14.008-94РМ 38.14.008-94РМ 38.14.008-94РМ 38.14.008-94РМ 38.14.008-94РМ 38.14.008-94РМ 38.14.008-94РМ 38.14.008-94РМ 38.14.008-94РМ 38.14.008-94РМ 38.14.008-94РМ 38.14.008-94РМ 38.14.008-94РМ 38.14.008-94РМ 38.14.008-94РМ 38.14.008-94РМ 38.14.008-94РМ 38.14.008-94РМ 38.14.008-94РМ 38.14.008-94РМ 38.14.008-94РМ 38.14.008-94РМ 38.14.008-94РМ 38.14.008-94РМ 38.14.008-94

© 2013 Ёшкин Кот :-) Карта сайта